Расчет балочной клетки перекрытия и колонны
Федеральное агентство по
образованию
ГОУ ВПО «Сибирская
государственная
автомобильно-дорожная
академия (СибАДИ)»
Кафедра строительных
конструкций
Расчетно-графическая
работа по курсу
«Металлические
конструкции»
Расчет балочной клетки
перекрытия и колонны
Выполнила студентка ПГС 08Z1
Елисеенко Надежда Николаевна
Омск-2012
Состав работы
Расчетно-графическая работа включает расчет и конструирование
стальных несущих конструкций балочной клетки рабочей площадки и колонн,
поддерживающих междуэтажные перекрытия и покрытие. Выполнена на основе задания
согласно шифру 012,
Материал несущих конструкций балочной клетки - сталь С235;
бетон фундамента - В12,5 (М-150); настил из сборных железобетонных (нетиповых)
плит толщиной 0,3 м (вместе с конструкцией пола).
В расчетно-графической работе решены следующие вопросы:
1. Компоновка перекрытия.
2. Второстепенная балка перекрытия.
2.1. Подбор сечения и проверка прочности балки.
2.2. Проверка жесткости балки.
3. Главная балка рабочей площадки.
3.1. Подбор сечения балки в виде сварного двутавра.
3.2. Конструирование балки переменного сечения. Эпюра
материалов.
.3. Проверка прочности балки по касательным и
приведенным напряжениям.
.4. Расчет сварных швов, прикрепляющих пояса к стене
балки.
.5. Проверка общей устойчивости.
.6. Местная устойчивость стенки балки.
.7. Расчет опорного ребра главной балки.
. Центрально-сжатая колонна.
4.1. Подбор сечения.
4.2. Расчет колонны на устойчивость.
.3. Проверка местной устойчивости элементов колонны.
Исходные данные согласно заданию шифр 012:
Главная балка 1 = 17,4 м; второстепенная балка 2
= 6,0 м; нормативная нагрузка на междуэтажное перекрытие постоянная
= 280*9,81 = 2745,8 Па - по заданию;
= 300*9,81 = 2943 Па - по заданию;
=60*9,81 = 588,6 Па - по заданию;
= 500*9,81 = 4905 Па - по заданию;
= 80*9,81=784,8 Па - полное расчетное значение снеговой нагрузки [2, табл. 4];
число этажей nэт = 4; высота от пола до низа
главной балки H = 5,4 м;
высота перекрытия Hперекр = 1,8 м;
район строительства - город Астрахань Российской Федерации.
1.
Компоновка перекрытия
Общая схема
Угловая ячейка рабочей площадки
Размеры ячейки L1=17,4 м (вдоль главной балки) и L2=6,0
м (вдоль второстепенной балки) приняты согласно шифру задания 577. Шаг
второстепенных балок принят в пределах 2000-5000 мм, то есть а=2900 мм и он
целое число n=6 раз укладывается по длине L1=n∙a=2,9·6=17,4 м.
2. Второстепенная балка перекрытия
.1 Подбор сечения
Второстепенные балки междуэтажного перекрытия проектируем
прокатными двутаврового симметричного профиля.
Конструктивная схема второстепенной балки
Расчетная схема
z = 250 мм - глубина заделки второстепенной балки
в стену;
- ширина пояса главной балки;
- расчетный пролет второстепенной балки
Нормативную нагрузку на единицу длины второстепенной балки
определяем по формуле [5]
Расчетная нагрузка на единицу длины (без учета собственного веса
балки)
,
где
и
- постоянные и временные равномерно распределенные нормативные
нагрузки (по табл.2 задания);
=1,2 и
=1,2 - коэффициенты надежности по нагрузке
соответственно для постоянной и временной нагрузок [2, табл.1, п. 3.7].
Максимальный расчетный изгибающий момент в середине балки по длине
(с ориентировочным учетом собственного веса балки)
=
,
где ψ =1,03-1,05=1,04 - коэффициент,
учитывающий вес балки.
Расчет на прочность прокатных балок, изгибаемых в одной из
главных плоскостей, производится по изгибающему моменту по формуле
=
.
Требуемый момент сопротивления поперечного сечения
определяется как
,
где
=196546,57 - максимальный расчетный изгибающий момент в Н×м;
=1,1 - коэффициент условия работы [1, табл.6*];
=230·106 Па - расчетное сопротивление стали растяжению,
сжатию, изгибу по пределу текучести по табл.51*[1]; =1,07 -
коэффициент, учитывающий возможность развития пластических деформаций в
разрезной балке сплошного сечения из стали с пределом текучести
до 580 МПа (5900 кгс/см2), для
балок симметричного двутаврового профиля принимаем по табл.66 прил. 5 [1].
В первом приближении с принято в зависимости от
,
где Af - площадь пояса (полки) двутавра; Aw
- площадь стенки двутавра.
По сортаменту прокатных двутавровых профилей прил. 3 [5]
подбираем сечение балки, выполняя условия:
. По конструктивным требованиям ширина пояса
мм. По указанным условиям подбираем № 36
двутавр по ГОСТу и выписываем все геометрические характеристики:
=360 - высота балки (мм),=145 - ширина полки (мм),=7,5 - толщина
стенки(мм),=12,3 - толщина полки(мм),
=476,76 - вес погонного метра (Н/м),
=13380 - момент инерции (см4),
=743 - момент сопротивления (см3).
Уточняем максимальный момент в сечении второстепенной балки
(за счет фактической величины собственного веса)
,
где
=1,05 - коэффициент надежности по нагрузке
для собственного веса стальной балки [2, табл. 1].
Производим проверку прочности по нормальным напряжениям
,
где
с*=1,095 - коэффициент,
принимаемый по табл.66 [1], путем интерполяции для действительного отношения
(площади пояса и стенки по сортаменту).
То есть двутавр №36 прошёл проверку прочности по нормальным
напряжениям.
2.2 Проверка жесткости балки
Проверка жесткости выполняем по второму предельному состоянию.
Полученный относительный прогиб является мерой жесткости балки и
не должен превышать нормативного, зависящего от назначения балки
,
где
=1/250=0,004 - предельно допустимая
величина относительного прогиба второстепенной балки по прил. 2 [5].
Для однопролетной балки, нагруженной равномерно
распределенной нагрузкой,
Определение максимального прогиба проводится по формуле
,
где Е=2,06·1011 Па - модуль упругости по табл. 63 прил.
3
.
Так как условие
выполняется 0,006/6,025=0,001<0,004, то принимаем сечение из
условия жесткости в виде двутавра №36 для второстепенной балки.
3. Главная балка рабочей площадки
.1 Подбор сечения балки в виде сварного двутавра
Главную балку проектируют в виде сварного двутавра с изменяющейся
по длине балки шириной полок.
Для определения силы F определяем грузовую площадь Агр.
балочная клетка перекрытие колонна
= 6,025*2.9 = 17,47 м2.
Сила F складывается из сосредоточенной нагрузки от постоянной и
временной нагрузок, от собственного веса второстепенной балки и от
ориентировочного собственного веса главной балки.
где последнее слагаемое учитывает ориентировочный вес главной
балки.
Для принятой расчётной схемы из условия равновесия определяются
реакции опор, находятся максимальные расчётные изгибающий момент и поперечная
сила.
Конструктивная схема главной балки
z =400 мм - глубина заделки главной балки в стену;k
=400 мм - высота сечения колонны;o,г.б =17.7 м - расчетный пролет
главной балки
Начинаем компоновку сечения балки с определения высоты стенки
балки, от которой зависят все остальные параметры балки.
Высота стенки:
. Минимальная высота из условия жёсткости
,
где
=1/400 - предельно допустимая величина
относительного прогиба главной балки;
- среднее значение коэффициента надежности по нагрузке,
.
. Оптимальная высота из условия минимального расхода стали
,
где
- требуемый момент сопротивления главной
балки;
=0,012 м - толщина стенки.
Толщина стенки:
.
= 8-16 мм=12 мм из конструктивных
требований.
. Толщина стенки определяется по эмпирической формуле (hстmin
в м)
, мм
.
- минимальная толщина из условия
прочности стенки на действие поперечной силы
в виде
,
где
расчетное сопротивление материала сдвигу
[1, табл. 1*].
Назначаем размеры стенки балки так, чтобы
и
соответствовали сортаменту на прокатную сталь (прил. 1).
Принято hст = 1420 мм и tст = 12 мм.
Установив размеры стенки балки, определяем толщину и ширину
полки.
Толщина полок назначается из конструктивных требований:
1.
, то есть от 6 до 18 мм.
.
.
Ширина полок:
1.Из условия закрепления второстепенных балок
.
.
.Из условия местной устойчивости сжатого пояса
Размеры полки должны соответствовать сортаменту на прокатную
сталь. Окончательно принято tп = 12 мм и bп = 180 мм.
После подбора сечения проводим проверку прочности принятого
сечения по нормальным напряжениям:
,
где
- фактический момент сопротивления
главной балки, определяем как
;
;
фактический момент инерции сечения относительно оси x-x.
Сечение подобрано удовлетворительно, запас прочности не превышает
30 %. Меньший % не получается, так как приняли min bп = 180 мм:
.2 Конструирование балки переменного сечения. Эпюра материалов
В целях экономии стали для сварных балок широко применяют
изменение сечения балки по длине за счет сужения поясов на приопорных участках
(рис. б) согласно эпюре изгибающих моментов.
Ширину пояса на приопорных участках принимают в пределах
(0,5-0,6)
, что соответствует 90 мм и 108 мм, но не
менее 100 мм. Поэтому принимаем b`п= 100 мм.
Сечение главной балки:
а)полное б)
уменьшенное
Для определения мест изменения сечения и оценки несущей
способности балки строим эпюру материалов и план балки.
Для построения эпюры материалов для полного и уменьшенного сечений
вычисляем максимальный изгибающий момент, который сечение может выдержать:
максимальный момент для сечения с полкой шириной
=180мм
;
максимальный момент для сечения с полкой шириной
=100мм
,
где
- момент инерции относительно оси x-x сечения с полкой шириной
.
Значения моментов
и
откладываем на эпюре изгибающих моментов.
Точки 1 и 2 - места теоретического изменения сечения (точки пересечения
с изгибающим моментом). На участке между
точками 1 и 2 сечение балки принимается с полной шириной
.
Переход от широкой полки к узкой делается плавным, уклон скоса не
более 1:5. Положение точек
и
по отношению к точкам 1 и 2 будет
определяться величиной
.
Построение эпюры материалов
По учебнику В.В.Горева [3, с. 252] сечение главной балки
выгодно менять на расстоянии lг.б./6 = 17,4/6 = 2,9 м от опоры.
По учебнику Е.И.Беленя [4, с. 167] действующий в этом месте
момент находим по формуле (7.28) из [4] в виде
что меньше, чем M2 =
Н·м.
Следовательно, расстояние 2,9 м изменения сечения пояса (полки)
главной балки выбрано верно.
3.3 Проверка прочности балки по касательным и приведенным
напряжениям
Проверку проводим в наиболее опасных сечениях - в местах
изменения сечения и неблагоприятных сочетаний изгибающих моментов и
перерезывающих сил.
Наибольшие касательные напряжения возникают в середине
стенки, в сечении с максимальной поперечной силой
.
где
- статический момент полсечения на опоре
.
Условие прочности по касательным напряжениям выполнено.
Проверка по приведенным напряжениям выполняется на уровне поясных
швов.
где напряжения вычислили по формулам
;
,
где
и
- соответственно, изгибающий момент и поперечная сила,
вычисленные ранее для места изменения сечения главной балки;
- статический момент отсеченной части сечения
.
.4 Расчет сварных швов, прикрепляющих пояса к
стенке
Расчетное усилие, приходящееся на поясной шов длиной
см (или сдвигающая сила пояса
относительно стенки)
.
Минимальный катет одностороннего шва из условия среза по металлу
шва (1)
.
Из условия среза по металлу границы сплавления (2)
,
где
=0,7,
=1 - коэффициенты, учитывающие вид сварки и положение шва,
определяются по п. 11.2* и табл. 34* [1];
=1,
=1 - коэффициенты условия работы шва по п.
11.2* [1];
=180·106 Па - расчетное
сопротивление металла шва сварных соединений с угловыми швами по табл. 56
(электрод Э 42);
=0,45·360·106 =162·106 Па - расчетное
сопротивление угловых швов срезу по металлу границы сплавления по табл. 3 [1].
При двусторонних швах размер катета уменьшается вдвое.
За расчетный катет шва принимается больший из двух полученных
при выполнении следующих конструктивных требований:
где
=7 мм -минимальный катет шва, принимаемый
по табл. 38*
.
Принят kf = 9 мм, так как расчётные значения меньше
(2,11 мм).
После установки вида шва (односторонний или двусторонний) и
размера катета укажем вид сварки, электроды, положение шва при сварке.
Вид сварки - ручная.
Шов двухсторонний.
Электроды Э-42.
Положение сварного шва - горизонтальный.
3.5 Проверка общей устойчивости
Устойчивость балок симметричного двутаврового сечения на участке
между связями (второстепенными балками) не требуется проверять, если
выполняется условие
,
где
=2,9 м - наибольшая свободная длина до
закрепления второстепенных балок;
= 1,420+ 0,012 = 1,432 м - расстояние между осями поясных листов.
При невыполнении условия расчет на устойчивость балки,
изгибаемой в плоскости стенки, следует выполнять по п. 5.15 [1].
При невыполнении условий изменяем ширину узкой полки,
проводим перерасчет.
Условие выполнено.
3.6 Местная устойчивость стенки балки
В местах приложения больших сосредоточенных неподвижных нагрузок в
главной балке устанавливаем поперечные ребра жесткости на всю высоту стенки.
- ширина выступающей части ребра.
;
- толщина ребра.

,
.
Принимаем tp = 6 мм.
3.7 Расчет опорного ребра главной балки
Размер опорного ребра определяется из расчета на смятие торца
ребра при
(условие выполняется).
,
где
= Run/m = 360·106/1,025
= 351·106 Па - расчетное сопротивление прокатной стали смятию (при
наличии пригонки) [1, табл.1*];
=222160 Н - максимальная поперечная сила на опоре;
- требуемая площадь опорного ребра на смятие.
Ширина опорного ребра
.
Толщина опорного ребра определяется из условия прочности ребра на
смятие
.
Принимаем top = tcm = 6 мм.
Высота опорного ребра
.
Участок балки, укрепленный опорным ребром, следует
рассчитывать на продольный изгиб из плоскости как условную стойку (опорный
стержень), нагруженную опорной реакцией.
Проверку опорной стойки балки на устойчивость (как условного
опорного стержня, включающего в площадь расчетного сечения опорного ребра и
часть стенки балки) выполняем по формуле (соблюдается)
,
где
- расчетная условная площадь сечения
центрально-сжатого элемента,
;
=0,135 - коэффициент продольного изгиба стойки принимаем по табл.
72 [1], он зависит от гибкости
= 220:
;
- радиус инерции равен
.
Нижний торец опорного ребра должен быть отфрезерован.
4. Центрально-сжатая колонна
.1 Подбор сечения
В работе требуется произвести расчет колонны нижнего этажа
многоэтажного производственного здания. Предполагается, что колонна работает на
центральное сжатие, а ветровые нагрузки воспринимаются системой вертикальных
связей. Угол a< 25° - для снеговой нагрузки.
Конструктивная схема Расчетная
схема
- расчетная длина стержня колонны при условии шарнирного
закрепления на фундаменте
,
где Н= 5.4 м - высота этажа от пола до низа главной балки
(см.задание);z»700 мм - высота
заделки от обреза фундамента до уровня пола 1-го этажа; hг.б -
высота главной балки.
Задаемся типом сечения - двутавровое сварное.
Для определения расчетной продольной силы в наиболее
нагруженном сечении колонны N определяем грузовую площадь Агр.
,1=17,4 м, L2= 6,0 м - по заданию
Расчетная продольная сила N
(104,4 * (2745,8 * 1,2 + 4905 * 1,2) +17,4 * 21,3610 3 *
78500 * 1,05 + 48,6*9,81/2,9* 104,4 * 1,05)*3+
+ 104,4 * (2943 + 588,6 * 1,2 + 784,8) + 9,634 * 1000 * 1,05
* 4
где Агр= 104,4 м2 - грузовая площадь;
=
Н/м2 - см. расчет
второстепенной балки;
= 17,4 м - по заданию;
= 6,0 м - по заданию;
=
= 2*0,18*0,012 + 0,012*1,420 = 21,36·10-3 м2
- площадь сечения главной балки;
- объемный вес металла, равный 78500 Н/м3;
= 48,6 кг/м - линейная плотность металла второстепенной балки по
сортаменту;
= 3 - количество этажей по заданию;
= 280*9,81 = 2745,8 Па - по заданию;
= 300*9,81 = 2943 Па - по заданию;
=60*9,81 = 588,6 Па - по заданию;
= 500*9,81 = 4905 Па - по заданию;
= 80*9,81=784,8 Па - полное расчетное значение снеговой нагрузки [2, табл. 4];
- средняя высота колонны в пределах одного этажа;
;
= 5,4 + 1,8 = 7,2 м - высота этажа по заданию;
= 0,012 + 1,420 + 0,012 = 1,434 м - высота главной балки по
расчету;
Н/м - ориентировочный вес погонного метра стержня колонны.
Требуемая площадь сечения колонны определяется из условия
устойчивости центрально-сжатого стержня.
Расчетное сечение:
,
где j = 0,612 - коэффициент продольного изгиба для
предварительного расчета принимаем (при l=90) по табл. 72 [1].
Размеры полок и стенки должны отвечать конструктивным
требованиям:
1.
- площадь сечения одной полки;
- площадь сечения стенки.
.
.
.
; отсюда
,
4.2 Расчет колонны на устойчивость
Для принятых размеров сечения колонны определяем его
фактические геометрические характеристики.
Площадь сечения:
.
Моменты инерции относительно центральных осей
;
.
Из полученных значений моментов инерции устанавливаем меньшее
= Ix = 8·10-5 м4.
Определение минимального радиуса инерции сечения
.
Гибкость стержня колонны
, но не более 120. Соблюдено.
В зависимости от lmax = 65,54 определяем коэффициент
продольного изгиба jmin = 0,78 по табл. 72 [1] проведя интерполяцию 2-х соседних значений.
Проверка устойчивости выполняется по формуле
.
Условие выполнено.
.3 Проверка местной устойчивости элементов
колонны
Для стенки колонны условие соблюдено:
при
;
где
- приведенная гибкость.
Для полки колонны условие соблюдено:
,
где
;
.
5. База колонны с траверсами
.1 Определение размеров опорной плиты
Расчетная продольная сила N в колонне на уровне базы
определяет размеры опорной плиты колонны.
Требуемая площадь опорной плиты, обеспечивающая передачу
усилия от колонны на фундамент:
,
где Rв - расчетное сопротивление бетона осевому
сжатию по 1 группе предельных состояний, принимаемое равным 0,765 кН/см2
для класса бетона В12,5; gф - коэффициент увеличения Rв в
зависимости от соотношения площади верхнего обреза фундамента и рабочей площади
опорной плиты Аф и Апл.
Принимаем
,
.
Опорная плита принимается квадратной
.
Уточнив по сортаменту размеры плиты, принимаем размеры сторон
500мм и определяем фактическое реактивное давление со стороны фундамента:
.
.2 Расчет траверс опорной плиты и ребер жесткости
Задавшись толщиной траверс tтр=10-14 мм принимаем tтр=14мм,
определяем высоту траверс из условия прочности сварных швов, прикрепляющих
траверсы к стержню колонны:
- при срезе по металлу шва:
;
-
при срезе по металлу границы сплавления:
,
при этом kш принимать

Принимаем 65см
Все обозначения см. разд. 3.4. Полученная hтр не
должна превышать
(мм).
Для равномерной передачи нагрузки от колонны на опорную плиту базы
кроме траверс устанавливают ребра жесткости высотой
толщиной
=12 мм.
5.3 Определение толщины опорной плиты
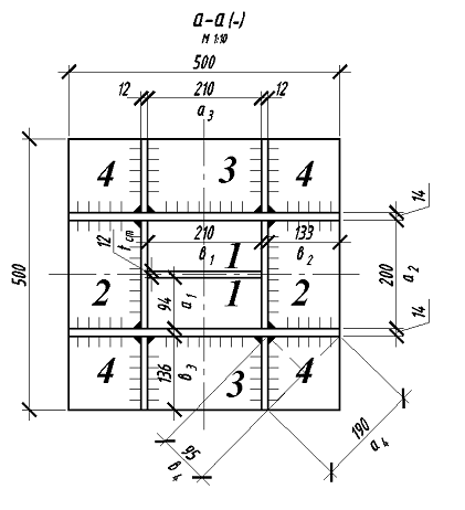
Для определения толщины плиты базы находим изгибающие моменты
на участках 1, 2, 3, 4. Каждый участок рассматривается как свободно опертая
пластина на ребра, траверсы или стержень колонны и загруженная равномерно
распределенной нагрузкой реактивным давлением со стороны фундамента на полосе
шириной 1см.
=942,93н/см2.
Участок 1 - будет изгибаться как пластина, опертая по четырем
сторонам (на четыре канта). Изгибающий момент в такой пластине
=,
где а1 - меньшая сторона контура; a - коэффициент, зависящий от отношения
более длинной стороны в1 к более короткой а1 [4,табл. 8.6].
Участки 2 и 3 - по трем сторонам(на три канта)
;
,
где b - коэффициент,
зависящий от отношения закрепленной стороны пластинки вi к свободной
аi [5, табл. 8.].
При отношении сторон аi/вi> 2 плита рассчитывается
как консоль
.
Участок 4 - опирается по двум сторонам. Момент определяется
как для пластинки, опертой по трем сторонам, но с условными размерами а4
и в4.
.
По наибольшему из найденных моментов определяется момент
сопротивления плиты шириной 1 см.
|
|
a
|
|
|
a1
|
94
|
b1
|
210
|
b/а
|
2,23
|
0,125
|
M1
|
=0,125*963,9*210*210*103
|
53135000
|
|
b2
|
133
|
a2
|
200
|
b/а
|
1,50
|
0,128
|
M2
|
=0,128*963,9*200*200*103
|
49352000
|
|
b3
|
136
|
a3
|
210
|
b/а
|
1,54
|
0,128
|
M3
|
=0,128*963,9*210*210*103
|
54410000
|
|
b4
|
95
|
a4
|
190
|
b/а
|
2,00
|
0,132
|
M4
|
=0,132*963,9*190*190*103
|
45932000
|
|
|
|
|
|
|
|
|
|
54410000
|
,
а по нему требуемая толщина плиты
.
Обычно толщину плиты принимают в пределах 20-40 мм.
При большей толщине плиты (> 40) необходимо уменьшить (за счет постановки дополнительных
ребер) изгибающий момент в наиболее загруженной пластинке.
Библиографический список
1.
СНиП II-23-81*.Стальные конструкции/Госстрой СССР. - М.: ЦИТП
Госстроя СССР, 1990.
.
СНиП 2.01.07-85*. Нагрузки и воздействия/Госстрой России. - М.: ГУП
ЦПП Госстроя России, 2003.
.
Металлические конструкции: В 3т. Т.1. Элементы стальных конструкций: Учеб.
пособие для строительных вузов/ В.В. Горев, Б.Ю. Уваров, В.В. Уваров, В.В.
Филиппов и др.; Под ред. В.В.Горева. - М.: Высш.шк., 1997.
.
Металлические конструкции. Общий курс: Учебник для вузов/ Е.И.Беленя,
В.А.Балдин, Г.С.Ведеников и др.; Под общ. ред. Е.И. Беленя. - 6-е изд.,
перераб. и доп. - М.: Стройиздат, 1986.
.
Расчет и конструирование балочной клетки перекрытия и колонны: Методические
указания к расчетно-графической работе по курсу «Металлические
конструкции»/Сост.: Н.Н. Разливкина, И.М. Ивасюк, Р.М. Кононова.−Омск:
Изд-во СибАДИ, 2006.− 32 с.