Силовые трансформаторы
Силовые
трансформаторы
СОДЕРЖАНИЕ
1.
Общие сведения
.1
Элементы конструкции трансформаторов
.2
Элементы охлаждения силовых трансформаторов
.3
Двухобмоточные трансформаторы
.4
Трехобмоточные трансформаторы
.5
Трансформаторы с расщепленными обмотками низшего напряжения
.6
Особенности конструкции и режимы работы автотрансформаторов
.7
Защита трансформаторов
.
Эксплуатация трансформаторов
.1
Нагрузочная способность трансформаторов
.2
Коэффициент полезного действия трансформаторов
.3
Регулирование напряжения трансформаторов
.4
Режимы работы трансформаторов
.4.1
Нормальные режимы
.4.2.
Параллельная работа трансформатора
.4.3
Включение и отключение трансформатора
.5
Определение групп соединения обмоток
.6
Фазировка трансформаторов
.7
Техническое обслуживание трансформаторов
.8
Диагностика состояния трансформаторов
.9
Ремонт трансформаторов
.10
Сушка трансформаторов
.11
Испытания трансформаторов
Литература
1.
ОБЩИЕ СВЕДЕНИЯ
Силовые трансформаторы предназначены для
преобразования электроэнергии переменного тока одного напряжения в другое. В
городских распределительных сетях применяются, как правило, трансформаторы,
понижающие напряжение до значений, целесообразных и допустимых по условиям
подвода электроэнергии к потребителям.
По числу фаз трансформаторы разделяются на
однофазные и трехфазные, по количеству обмоток различного напряжения - на
двухобмоточные и трехобмоточные. Существуют также трансформаторы с
расщепленными обмотками, обычно имеющие две одинаковые обмотки низшего
напряжения.
Наибольшее распространение получили трехфазные
трансформаторы, так как в них потери на 12-15% ниже, а расход активных
материалов и стоимость на 20-25% меньше, чем в группе трех однофазных
трансформаторов такой же суммарной мощности.
Трехфазные трансформаторы на напряжение 220кВ
изготовляют мощностью до 1000 МВА, на 330кВ - 1250 МВА, на 500кВ - 1000МВА,
Предельная единичная мощность трансформаторов ограничивается массой, размерами,
условиями транспортировки.
Однофазные трансформаторы применяются, если
невозможно изготовление трехфазных трансформаторов необходимой мощности или
затруднена их транспортировка. Наибольшая мощность группы однофазных
трансформаторов напряжением 500кВ - 3 * 533МВА, напряжением 750кВ - 3 * 417МВА,
напряжением 1150кВ - 3 * 667МВА.
Условные обозначения понижающих и повышающих
трансформаторов и автотрансформаторов в схемах электрических систем
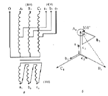
электроснабжения показаны на рисунке 1.
Рисунок 1 - Условные обозначения трансформаторов
и автотрансформаторов на схемах: а, б - двухобмоточные нерегулируемые; в -
регулируемый; г - трехобмоточный регулируемый; д - автотрансформатор; е, ж -
регулируемый и нерегулируемый двухобмоточные трансформаторы с расщепленной
обмоткой низшего напряжения.
Основными электрическими параметрами
трансформаторов являются:
· номинальная мощность, то есть значение полной
мощности, на которую непрерывно в течение всего срока службы может быть
нагружен трансформатор при номинальном напряжении и номинальных температурных
условиях окружающей среды:
- для двухобмоточного трансформатора - это
мощность каждой из его обмоток;
для автотрансформаторов - номинальная мощность
каждой из сторон, имеющих между собой автотрансформаторную связь («проходная
мощность»);
· номинальные напряжения обмоток, соответствующие
напряжения холостого хода (напряжения первичной и вторичной обмоток при
холостом ходе трансформатора):
- для трехобмоточного трансформатора - это его
линейное (междуфазное) напряжение;
для однофазного трансформатора, предназначенного
для включения в трехфазную группу, соединенную в звезду, - это U
/ √3.
· номинальный ток обмотки - ток, определяемый по
номинальной мощности и номинальному напряжению обмотки;
· напряжение короткого замыкания,
характеризующее полное сопротивление трансформатора и определяющее величину
падение напряжения в его обмотках;
· номинальный ток холостого хода,
характеризующий потери электрической мощности на намагничивание магнитопровода
трансформатора (потери в стали);
· потери холостого хода (потери в меди),
соответствующие режиму полной нагрузки трансформатора и характеризующие
экономичность его работы;
· потери короткого замыкания (потери в
стали на вихревые токи и перемагничивание), соответствующие режиму работы при
номинальном напряжении и также являющиеся одним из показателей экономичности
работы трансформатора;
· схемы соединения обмоток:
- звезда;
звезда с выведенной нейтралью;
треугодьник.
Обмотки ВН напряжением 35кВ и выше соединяют в
звезду, так как при этом удешевляется междувитковая изоляция, которую можно
выполнять из расчета на фазное, а не на линейное напряжение.
Соединение в звезду обмотки ВН позволяет
выполнять внутреннюю изоляцию из расчета фазной ЭДС, то есть в √3 раз
меньше линейной.
Обмотки НН напряжением 6 - 10кВ чаще соединяют в
треугольник, что позволяет уменьшить сечение обмотки, рассчитав сечение обмотки
на фазный (I/ √ 3), а не
на линейный ток.
Кроме того, при соединении обмотки
трансформатора в треугольник создается замкнутый контур для токов высоких
гармоник, кратный трем, которые при этом не выходят во внешнюю сеть, вследствие
чего улучшается симметрия напряжения на нагрузке.
· группа соединения обмоток определяется углом,
отчитываемым по часовой стрелке от вектора первичного напряжения к одноименному
вектору вторичного напряжения.
В трехфазном трансформаторе применением разных
способов соединений обмоток можно образовать двенадцать различных групп
соединений, причем при схемах соединения обмоток звезда - звезда мы может
получить любую четную группу (0, 2, 4, 6, 8, 10), а при схеме звезда -
треугольник или треугольник - звезда любую нечетную группу (1, 3, 5, 7, 9, 11).
Рисунок 2 - Принципиальные схемы
трансформаторов: а - двухобмоточного; б - трехобмоточного; в - с -
расщепленными обмотками низкого напряжения.
На рисунке 3 показано соединение обмоток группы
однофазных трансформаторов ОРЦ-533000/ 500, предназначенных для энергоблока
1200МВт. Каждая фаза трансформатора выполнена на двухстержневом магнитопроводе.
Соединение обмоток, расположенных на первом стержне, образует схему треугольник
- звезда с выведенной нейтралью - 11, а на втором звезда - звезда с выведенной
нейтралью - 0 (или 12).
Соединение обмоток в звезду с выведенной нулевой
точкой применяется в том случае, когда нейтраль обмотки должна быть заземлена.
Рисунок 3 - Соединение обмоток и векторные
диаграммы напряжений однофазных трансформаторов для присоединения к
шестифазному генератору
Эффективное заземление нейтрали обмотки обмоток
ВН обязательно в трансформаторах 330кВ и выше и во всех классах
автотрансформаторах. Системы 110, 150 и 220кВ также работают с
эффективно-заземленной нейтралью, однако для уменьшения токов однофазного КЗ
нейтрали части могут быть разземлены. Так как изоляция нулевых выводов не
рассчитаны на полное напряжение, то в режиме разземления нейтрали необходимо
снизить возможные перенапряжения путем присоединения разрядников к нулевой
точке трансформатора (рисунок 4). Нейтраль заземляется же на вторичных обмотках
трансформаторов, питающих четырехпроводные сети 380/ 220 и 220/ 127В. Нейтрали
обмоток при напряжении 10 - 35кВ не заземляются или заземляются через
дугогасящую катушку для компенсации емкостных токов.
Рисунок 4 - Способы заземления нейтралей
трансформаторов:
а - у трансформаторов 110 - 220кВ без РПН; б - у
трансформаторов 330 - 750кВ без РПН;
в - у трансформаторов 110кВ с встроенным
устройством РПН; г - у автотрансформаторов;
д - у трансформаторов 150 - 220кВ с РПН; е - у
трансформаторов 330 - 500кВ с РПН.
Условные обозначения трансформаторов состоят из
двух частей:
1) число фаз - для однофазных трансформаторов
используется буква О, для трехфазных - буква Т;
2) вид охлаждения:
- для масляных трансформаторов:
· при естественной циркуляции воздуха и масла используется
буква М;
· при принудительной циркуляции
воздуха (вентиляторы) и масла (насосы) - буквы ДЦ;
· при принудительной охлаждающей масло
воды и естественной циркуляции масла - буквы МВ;
· при принудительной циркуляции
воздуха (вентиляторы) и естественной циркуляции масла - буква Д;
· при принудительной циркуляции
охлаждающей воды и масла - буква Ц;
- для сухих трансформаторов (с воздушным
охлаждением) вторая буква обозначения - С;
) вид исполнения:
· для трехобмоточных трансформаторов используется
буква Т (третья буква в обозначении);
· для трансформаторов с регулировкой
напряжения под нагрузкой - буква Н;
· для трансформаторов с расщепленной
обмоткой низшего напряжения - буква Р (ставится после буквы, обозначающей число
фаз);
· для автотрансформаторов - буква А на
первом месте.
1.1 Элементы конструкции трансформаторов
Основными элементами конструкций масляных
трансформаторов и автотрансформаторов являются: магнитопровод, обмотки с
отводами и элементами изоляции, бак с расширителем.
Кроме того, трансформаторы снабжаются различными
вспомогательными устройствами: охлаждения, переключение ответвлений, защита
масла от воздействий окружающей среды, контроля и сигнализации, а также
вводами.
Магнитопровод трансформатора
выполняет функции магнитной системы и одновременно его конструктивной и
механической основы. В конструкции магнитопровода различают активную часть,
непосредственно проводящая магнитный поток, и неактивную часть, придающую
магнитному проводу необходимую жесткость и являющуюся остовом для установки и
крепления на нём различных деталей.
В современных трансформаторах применяется
холоднокатаная электрическая сталь марок 3413, 3416, обладающая более низкими
удельными потерями и повышенной проницаемостью, что позволило увеличить
индукцию в стали и уменьшить в несколько раз потери и ток холостого хода (ХХ).
Рисунок 5 - Концентрическое расположение обмоток
на стержне магнитопровода
Для снижения потерь от вихревых токов листы
стали, толщина которых выбирается в пределах 0.35 - 0.5 мм, изолируются друг от
друга жаростойкими покрытиями, или лаковыми плёнками, или тем и другим
одновременно. Толщинам электроизоляционных покрытий 4 - 5 мкм вместо 20 - 30
мкм в прошлом, когда поверхность пластин оклеивалась бумагой.
Магнитная цепь магнитопровода состоит из
вертикальных стержней и перекрывающих их сверху и снизу ярм.
Неактивная часть магнитопровода состоит из
деталей и узлов, обеспечивающих в процессе работы трансформатора плотное
прилегание листов стали друг к другу и разрушающих активную часть от внешних
механических нагрузок.
Для разгрузки активной части от внешних
механических нагрузок верхние и нижние ярмовые балки связывают между собой
шпильками или пластинами. Благодаря этим шпилькам (пластинам) механические
нагрузки, например, при подъёме и транспортировке магнитопровода воспринимаются
ярмовыми балками и не воздействуют на активную часть магнитопровода.
Рисунок 6 - Растягивающие и сжимающие радиальные
усилия, действующие на обмотки при их концентрическом
расположении
При работе трансформатора на механических частях
его магнитопровода наводятся электрические заряды. Чтобы избежать разрядов
внутри бака, активная сталь и ярмовые балки заземляются при помощи медной
ленты, соединяющей крайний пакет активной стали с ярмовой балкой и проходящей
далее к заземляющему баку.
Обмотки трансформаторов
средней и большой мощности выполняются из медного провода прямоугольного
сечения, изолированного кабельной бумагой. Они имеют цилиндрическую форму и располагаются
на стержнях магнитопровода концентрически (рисунок 5).
Обмотки трансформаторов должны обладать
необходимой:
· электрической плотностью;
· термической плотностью;
· механической плотностью.
Это требование вызвано тем, что при прохождении
по концентрическим обмоткам токов КЗ они испытывают большие радиальные усилия,
стремящиеся растянуть радиально наружную и, наоборот, сжать внутреннюю обмотку
(рисунок 6).
Кроме того, в осевом направлении концентрические
обмотки также испытывают усилия, сжимающие обмотки по их высоте. В симметричных
обмотках усилия малы. Однако при несимметрии (неодинаковой высоте обмотки и
неравномерном распределении витков с током по высоте) снижающие усилия могут
достичь опасных значений.
Рисунок 7 - Винтовая однозаходная обмотка:
- наружной слой обмотки;
- охлаждающий масляный канал;
- выравнивающие бумажно-бакелитовые опорные
кольца с торцов обмотки;
- внутренний слой обмотки;
- буковая рейка
Для придания обмоткам механической прочности их
расклинивают в радиальном направлении деревянными планками, рейками,
прокладками. В осевом направлении обмотки прессуют прессующими кольцами.
Прессующие кольца изолируются от обмотки.
По характеру намотки провода концентрированные
обмотки делят на: 1/ цилиндрические - ее витки плотно прижаты друг к другу
(показана на рисунке 7).
Она намотана на бумажно-бакелитовом цилиндре.
Наружный слой 1 переходит во внутренний слой 4 снизу. Между слоями обмотка
имеется масляный канал, образованный при помощи реек 5 и обеспечивающий как
дополнительную изоляцию, так и доступ к обмотке охлаждающего масла. По своим
конструктивным данным обмотка недостаточно стойка к токам КЗ, поэтому
применение ее ограничено трансформаторами небольшой емкости.
/ винтовые - состоят из ряда витков, которые
следуют одни за другими по винтовой линии, как в однозаходном винте (рисунок 8,
а). Между витками установлены изоляционные (дистанционные) прокладки.
Механическую прочность в радиальном направлении придают обмотке деревянные
расклинивающие рейки, идущие по всей ее высоте. Наличие масляных каналов между
витками обеспечивает высокую электрическую прочность обмотки.
Рисунок 8 - Двухслойная цилиндрическая обмотка с
двумя параллельными вводами: а - виток обмотки из одного провода; б - обмотка
из восьми параллельных проводов; 1 - витки обмотки; 2 - сегмент; 3 - торцевое
опорное кольцо; 4 - буковая рейка; 5 - бумажно-бакелитовый цилиндр; 6 - вывод
проводников обмотки; 7 - изолирующая прокладка.
Винтовые обмотки чаще всего изготавливаются из
нескольких параллельных проводов в витке (рисунок 8,б).
Параллельные провода обмотки, расположенные
концентрически (на разном расстоянии от оси обмотки), имеют разные активные и
индуктивные сопротивления. Для равномерного распространения тока между
параллельными проводами их сопротивления выравнивают транспозицией, то есть
перекладкой проводов, в результате которой каждый провод попеременно занимает
различные положения. У винтовой обмотки обычно делают одну общую и две
групповые транспозиции.
3/ непрерывные спиральные - составляются из ряда
последовательно соединительных дисков (катушек), намотанных по спирали (рисунок
9). Переход провода из одной катушки в другую выполняется без нарушения его
целостности, без паек. Между катушками устанавливаются прокладки из
электрокартона. Обмотка обладает высокой электрической и механической
прочностью, хорошим охлаждением. Они применяются в трансформаторах напряжением
до 220кВ.
4/ переплетенные (петлевые) - применяется в
трансформаторах напряжением 500кВ и выше. В процессе ее намотки витки смежных
катушек (секций) переплетаются между собой, что обеспечивает необходимый
уровень импульсной прочности изоляции и высокую динамическую стойкость обмотки
при КЗ.
Отводы от обмоток. Напряжение
трансформаторов регулируют переключением регулирующих ответвлений от обмоток.
При расположении ответвлений с наружной стороны обмотки их выполняют в виде
петель из того же провода, что и витки обмотки. Внутреннее ответвление выполняют
из полос ленточной меди, припаиваемых к проводам обмотки.
Ответвления соединяются с переключателями и
вводами трансформаторов при помощи отводов, изготовляемых из гибкого медного
провода и медных стержней.
Отводы надежно изолируются от бака, ярмовых
балок, обмоток и других отводов. При ремонтах не допускается нарушение
установленных расстояний отводов от заземленных частей и собственной обмотки.
Отводы надежно изолируются от бака, ярмовых
балок, обмоток и других отводов. При ремонтах не допускается нарушение
установленных расстояний отводов от заземленных частей и собственной обмотки.
Рисунок 9 - Непрерывная спиральная обмотка
Изоляция является
важным элементов конструкция масляных трансформаторов. Различают внутреннюю и
внешнюю изоляцию трансформатора. Внутренняя изоляция (изоляция токоведущих
частей, находящихся в баке) подразделяется на:
· главную изоляцию - изоляцию обмоток от
заземленных частей и других обмоток;
· продольную изоляцию - изоляцию между витками,
слоями и катушками одной и той же обмотки,
· изоляцию отводов и переключателей.
Продольная изоляция обмоток между витками
обеспечивается изоляцией самого обмоточного провода. Усиление этой изоляции
производится только на входных витках катушек фазных обмоток.
Междуслойная изоляция выполняется из кабельной
бумаги, электрокартона или путем оставления между слоями обмотки масляного
канала.
Междукатушечная изоляция выполняется с помощью
электрокартонных шайб и радиальных масляных каналов.
К внешней изоляции трансформатора относят
наружную изоляцию - вводы и воздушные промежутки, отделяющие вводы друг от
друга и от заземленных частей.
Рисунок 10 - Съемный ввод на напряжение 35кВ
- фарфоровый изолятор; 2 - токоведущий стержень;
3 - гайка; 4 - втулка; 5 - резиновое
кольцо; 6 - колпак; 7 - болт, закрывающий отверстие для выхода воздуха; 8 -
резиновая шайба; 9 - уплотнение; 10 - кулачок; 11 - шпилька; 12 - накидной
фланец; 13 - крышка бака; 14 -
отвод
Вводы служат
для подачи напряжения к обмоткам трансформатора.
На напряжение 35кВ и ниже применяются съемные
вводы (рисунок 10). Отвод 14 проходит внутри фарфорового изолятора 1, который
крепится к крышке бака 13 накидным фланцем 12 с кулачками 10. Внутреннюю
полость изолятора заполняет масло из бака. Верхняя торцевая часть изолятора
уплотняется резиновым кольцом 5 и шайбой 8. Достоинство съемных вводов состоит
в удобстве замены фарфоровых изоляторов при их повреждениях. Для этого
достаточно снять колпак 6 и кулачки 10.
На напряжение 110кВ и выше применяются
маслонаполненные герметические, негерметические и маслоподпорные вводы. На
рисунке 10 показан маслонаполненный ввод герметичный ввод 110кВ. Токоведущая
система ввода представляет собой соединительную трубу 3 (при помощи
соединительной трубы стягиваются основные части ввода) с контактным зажимом 1
сверху и экранированным узлом снизу. Внутри трубы проходит гибкий отвод от
обмотки.
Изоляция ввода состоит из двух фарфоровых
покрышек 4 и 9, закрепленных на металлической втулке 7, изоляционного остова 5,
намотанного из бумаги, и заполняющего ввод масла. Между слоями бумаги остова
проложены уравнительные обкладки из фольги для выравнивания электрического поля
внутри ввода и на его поверхности. Две последние обкладки используются в
качестве измерительных конденсаторов. К ним подключаются приспособления для
измерения напряжения (ПИН). Масло в герметичных вводах не имеет сообщения с
окружающей средой. Компенсация температурных изменений объема масла
осуществляется компенсатором давления 2, внутри которого размещены сильфоны.
Давление во вводе контролируется при помощи манометра, подключаемого к вентилю
8. Негерметичные ввода вводы имеют маслорасширители. Заполняющее вводы масло
сообщается с окружающей средой через масляный затвор и осушитель воздуха.
Защита оболочек трансформаторов от атмосферных
перенапряжений выполняется различными устройствами емкостной защиты. К таким
устройствам относят экраны, емкостные кольца и экранирующие витки.
Экраны (незамкнутые цилиндры из немагнитного
металла) укладывают под внутренний слой обмотки ВН и подключают к линейному
вводу. Экранами снабжаются трансформаторы напряжением 35кВ и ниже.
Рисунок 11 - Маслонаполненный герметичный ввод
110кВ
- контактный зажим; 2 - компенсатор давления; 3
- соединительная труба; 4, 9 - верхняя и нижняя фарфоровые покрышки; 5 -
изоляционный остов; 6 - измерительный вывод; 7 - соединительная втулка; 8 -
вентиль к манометру; 10 - бумажно-бакелитовый цилиндр; 11 - гетинаксовая шайба;
12 - кольцевая резиновая прокладка; 13 -латунный стакан; 14 - экран.
Трансформаторы напряжением 110-220кВ имеют
устройство емкостной защиты. В схему входят незамкнутое металлическое
изолированное кольцо, расположенное с торца обмотки, и несколько незамкнутых
экранирующих витков.
Бак масляного трансформатора
представляет собой резервуар, внутри которого устанавливается активная часть.
Баки трансформаторов малой и средней мощности закрываются сверху крышками.
Крышка служит основанием для установки на ней вводов, расширителя, выхлопной
трубы, контрольно-сигнальных и других устройств. На стенке бака укрепляют
охлаждающие устройства - радиаторы.
В бак помещают активную часть трансформатора
вместе с отводами и переключающими устройствами для регулирования напряжения.
Конструкция бака с нижним разъемом обеспечивает
доступ к активной части трансформатора при снятии колокола, исключая тем, самым
подъем самой активной части.
Основные конструктивные узлы трансформаторов
показаны на рисунке12.
Расширитель (рисунок
13) соединяется с баком трансформатора и обеспечивает заполнение его маслом при
изменениях объема масла вследствие колебаний температуры. Объем расширителя
составляет 9,5 - 10% объема масла в трансформаторе и системе охлаждения.
Расширитель представляет собой цилиндрический
сосуд, служащий для уменьшения площади соприкосновения масла с воздухом.
Сообщение внутреннего объема расширителя с атмосферой осуществляется через
трубу 14, заканчивающуюся силикагелевым воздухоосушителем 15 (предназначен для
предотвращения резкого снижения изоляционных свойств масла).
Силикагель поглощает влагу из всасываемого
воздуха. При резких колебаниях нагрузки силикагелевый фильтр полностью не
осушает воздух, поэтому постепенно влажность воздуха в расширителе повышается.
Для предотвращения этого применяются герметичные баки с газовой подушкой из
инертного газа или свободное пространство в расширителе заполняется инертным газом
(азотом), поступающим из специальных эластичных емкостей. Возможно применение
специальной пленки - мембраны на границе масло - воздух. К расширителю приварен
отстойник 16, в котором накапливаются вода и осадки, попадающие в масло.
Расширитель связан газоотводными трубами с высоко расположенными точками
колокола для отвода газов, которые могут там накапливаться.
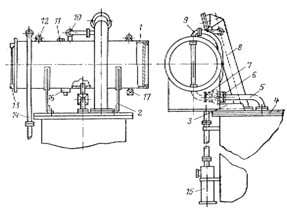
Рисунок 12 - Трансформатор трехфазный
трехобмоточный ТДТН - 16000/110 - 80У1:
- бак; 2 - шкаф автоматического управления
дутьем; 3 - термосифонный фильтр; 4 - ввод ВН; 5 - ввод НН; 6 - ввод СН; 7 -
установка трансформаторов тока 110кВ; 8 - установка трансформаторов тока 35кВ;
9 - ввод 0 ВН; 10 - ввод 0 СН; 11 - расширитель; 12 - маслоуровень стрелочный;
13 - клапан предохранительный; 14 - привод регулятора напряжения; 15 -
элетродвигатель системы охлаждения; 16 - радиатор; 17 - каретка с катками.
Рисунок 13 - Расширитель и выхлопная труба
трансформатора:
- расширитель; 2 - опорные пластины; 3 -
крепящие уголки; 4 - крышка; 5 - маслопровод; 6 - газовое реле; 7 - плоский
кран; 8 - выхлопная труба; 9 - патрубок для присоединения воздухоосушителя; 10
- газоотводные трубы; 11 - пробка; 12 - кольцо для подъема расширителя; 13 -
маслоуказатель; 14 - труба для подключения воздухоосушителя; 15 -
воздухоосушитель; 16 - отстойник; 17 - пробка или вентиль для спуска и заливки
масла
К баку трансформатора крепится термосифонный
фильтр, заполненный силикагелем или другим веществом, поглощающим
продукты окисления масла. При циркуляции масла через фильтр происходит
непрерывная регенерация его. В маслопровод, соединяющий расширитель с баком,
встраивается газовое реле 6, реагирующее на внутренние повреждения,
сопровождающиеся выделением газов, а также на понижение уровня масла. Газовые
реле применяются двух типов: поплавковые и чашечные. Для контроля за работой
трансформатора предусматриваются контрольно-измерительные и защитные
устройства. К контрольным устройствам относятся:
маслоуказатель - устанавливается на расширителе;
термометр - устанавливается на крышке бака.
К защитным устройствам относятся реле понижения
уровня масла и газовое реле.
На мощных трансформаторах 330 - 750кВ
дополнительно применяются устройства контроля изоляции вводов (КИВ) и
манометры, контролирующие давление масла в герметичных вводах ВН.
.2 Системы охлаждения силовых трансформаторов
При работе трансформатора происходит нагрев
обмоток и магнитопровода за счет потерь энергии в них. Предельный нагрев частей
трансформатора ограничивается изоляцией, срок службы которой зависит от
температуры нагрева. Чем больше мощность трансформатора, тем интенсивнее должна
быть система охлаждения.
Естественное воздушное охлаждение
трансформаторов осуществляется путем естественной конвенции воздуха и частично
лучеиспускания в воздухе. Такие трансформаторы получили название «сухих».
Условно принято обозначать естественное воздушное охлаждение:
при открытом исполнении - С;
при защитном исполнении - СЗ;
при герметизированном исполнении - СГ;
с принудительной циркуляцией воздуха - СД.
Допустимое превышение температуры обмотки сухого
трансформатора над температурой охлаждающей среды зависит от класса
нагревостойкости изоляции и согласно ГОСТ 11677 - 85 должно быть не более:
60°С - класс А;
75°С - класс Е;
80°С - класс В;
100°С - класс F;
125°С - класс H.
Данная система охлаждения малоэффективна,
поэтому применяется для трансформаторов мощностью до 1600кВА при напряжении до
15кВ.
Естественное масляное охлаждение (М) выполняется
для трансформаторов мощностью до 16000кВА включительно. В таких трансформаторах
тепло, выделяемое в обмотках и магнитопроводе, передается окружающему маслу,
которое, циркулируя по баку и радиальным трубам, передает его окружающему
воздуху. При номинальной нагрузке трансформатора температура масла в верхних,
наиболее нагретых слоях не должна превышать + 95С.
Для улучшения отдачи тепла в окружающую среду
бак транс
форматора снабжается ребрами, охлаждающими
трудами или радиаторами в зависимости от мощности.
Масляное охлаждение с дутьем и естественной
циркуляцией масла (Д) применяется для более мощных трансформаторов. В этом
случае в навесных охладителях из радиальных труб помещаются вентиляторы.
Вентилятор засасывает воздух снизу и обдувает верхнюю часть труб. Пуск и
останов вентиляторов могут осуществляться автоматически в зависимости от
нагрузки и температуры нагрева масла.
Трансформаторы с таким охлаждением могут работать
при полностью отключенном дутье, если нагрузка не превышает 100% номинальной
мощности, а температура верхних слоев масла не более + 55°С,
также при минусовых температурах окружающего воздуха и при температуре масла не
выше + 45°С независимо от нагрузки.
Максимально допустимая температура масла в
верхних слоях при работе с номинальной нагрузкой + 95°С.
Форсированный обдув радиальных труб улучшает
условия охлаждения масла, а, следовательно, обмоток и магнитопровода
транс-форматора, что позволяет изготовлять такие трансформаторы мощностью до
80000кВА.
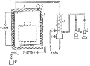
Масляное охлаждение с дутьем и принудительной
циркуляцией масла через воздушные охладители (ДЦ) применяется для
трансформаторов мощностью 63000кВА и более.
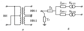
Рисунок 14 - Принципиальная схема охлаждения
системы ДЦ: 1 - бак трансформатора; 2 - электронасос; 3 - адсордный фильтр; 4 -
охладитель; 5 - вентиляторы обдува
Охладители состоят из системы тонких ребристых
трубок, обдуваемых снаружи вентилятором. Электронасосы, встроенные в
маслопроводы, создают непрерывную принудительную циркуляцию масла через
охладители (рисунок 14).
Благодаря большой скорости циркуляции масла,
развитой поверхности охлаждения и интенсивному дутью охладители обладают
большой теплоотдачей и компактностью. Переход к такой системе охлаждения
позволяет значительно уменьшить габариты трансформаторов.
Охладители могут устанавливаться вместе с
трансформатором на одном фундаменте или на отдельных фундаментах рядом с баком
трансформатора.
В трансформаторах с направленным потоком масла
(НДЦ) интенсивность охлаждения повышается, что позволяет увеличить допустимые
температуры обмоток.
Масляно-водяное охлаждение с принудительной
циркуляцией масла (Ц) принципиально устроено так же, как система ДЦ, но в
отличие от последнего охладители состоят из трубок, по которым циркулирует
вода, а между трубками движется масло.
Температура масла на входе в маслоохладитель не
должна превышать + 70°С.
Чтобы предотвратить попадание воды в масляную
систему трансформатора, давление масла в маслоохладителях должно превышать
давление циркулирующей в них воды не менее чем на 0, 02МПа (2 Н/ см2).
Эта система охлаждения эффективна, но имеет более сложное конструктивное
выполнение и применяется на мощных трансформаторах (160 МВА и более).
Масляно-водяное охлаждение с направленным
потоком масла (НЦ) применяются для трансформаторов мощностью 630 МВА и более.
На трансформаторах с системами охлаждения ДЦ и Ц
устройства принудительной циркуляции масла должны автоматически включаться
одновременно с включением трансформатора и работать непрерывно независимо от
нагрузки трансформаторов. В то же время число включаемых в работу охладителей
определяется нагрузкой трансформатора. Такие трансформаторы должны иметь
сигнализацию о прекращении циркуляции масла, охладителей воды или об останове
вентилятора.
Следует отметить, что ведутся разработки новых
конструкций трансформаторов с обмотками, охлаждаемыми до очень низких
температур. Металл при низких температурах обладает сверхпроводимостью, что
позволяет резко уменьшить сечение обмоток. Трансформаторы с использованием
принципа сверхпроводимости (криогенные трансформаторы) будут иметь малую
транспортировочную массу при мощностях 1000МВА и выше.
.3 Двухобмоточные трансформаторы
При расчетах режимов трехфазных электрических
сетей с равномерной загрузкой фаз трансформаторы в расчетных схемах
представляются схемой замещения для одной фазы.
Обмотки трансформатора расположены на общем
магнитопроводе. Поэтому схема состоит из контуров первичной и вторичной
обмоток, связанных взаимной индукцией (рисунок 15).
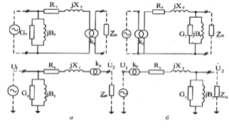
Рисунок 15 - Схемы замещения двухобмоточных
трансформаторов: а - схема замещения отдельных обмоток; б - схемы замещения
обмоток приведенного трансформатора; в - Т - образная схема замещения
Наличие магнитной связи между обмотками
затрудняет исследование режимов работы трансформатора и электрической сети в
целом. Поэтому в расчетах удобно эту связь заменять на электрическую. В этом
случае анализ режимов упрощается и сводится к расчетам относительно простой
электрической цепи. Эта схема, в которой магнитная связь между обмотками
заменена электрической, называется схемой замещения трансформатора.
В основе такой схемы лежит представление о том,
что действие потоков рассеяния Фσ1
и Фσ2
эквивалентно
действию индуктивных сопротивлений обмоток Х1 и Х2 , по
которым текут токи I1
и I2.
В соответствии с этим можно представить трансформатор в виде схемы,
изображенной на рисунке 15, а. Здесь каждая из обмоток трансформатора заменена
катушкой, имеющей активное и индуктивное сопротивление действительной обмотки,
и магнитосвязанными обмотками с трансформацией k
= W1
/ W2
без потоков рассеяния и без активного сопротивления.
Если выполнить приведенные вторичные обмотки к
первичной с учетом трансформации k
= W1 /
W2
(рисунок 15, б) то в результате будут уравновешены ЭДС Е1 и Е2́
,
что позволяет объединить обмотки CD
и cd в одну, называемую
намагничивающей ветвью схемы замещения (рисунок 15, в).
В итоге сформирована Т - образная схема, которая
является наиболее точной схемой замещения двухобмоточного трансформатора
(рисунок 15, в).
Схема имеет:
· продольные элементы - представлены активными и
индуктивными сопротивлениями одной фазы первичной обмотки (R1
и X1)
и вторичной обмотки (R2́
и X2́);
· поперечную ветвь - ветвь
намагничивания трансформатора, представлена в виде активной Gт
и индуктивной Вт проводимостей, определяющих активную Іа
и реактивную Іμ
слагающие
намагничивающего
тока
Іх
трансформатора.
Рисунок 16 - Различные отображения Г - образных
схем замещения двухобмоточного трансформатора: а - прямая схема; б - обратная
схема
Активная слагающая ветвь обусловлена потерями
мощности в стали трансформатора, реактивная - определяет намагничивающий поток
взаимоиндукции обмоток трансформатора.
Т - образная схема замещения неудобна для
выполнения электрических расчетов сетей, поскольку даже при питании всего одной
нагрузки через двухобмоточный трансформатор схема состоит из двух контуров.
Поэтому при расчетах режимов электрических сетей двухобмоточные трансформаторы
с достаточной точностью замещают более простыми Г - образными схемами замещения
(рисунок 16) - прямой и обратной в зависимости от подключения ветви
проводимостей (рисунок 16, а, б).
В данной схеме ветвь намагничивания, в отличии
от Т- образной схемы, обычно подключают с первичной стороны, то есть с той, с
которой трансформатор получает электроэнергию от источника (прямая схема): для
понижающих трансформаторов - со стороны ВН, для повышающих трансформаторов - со
стороны НН. Иногда для частичной компенсации погрешностей, вносимой применением
Г - образной схемы, а также при реверсной работе электропередачи один из транс-
Форматоров, например, понижающий, включают по
прямой схеме, а второй - по обратной (рисунок 17).
Активное и реактивное сопротивление схемы равны
сумме сопротивлений обеих обмоток трансформаторов, приведенных к одному
напряжению. Если схема приведена к высшему напряжению, сопротивление обмоток
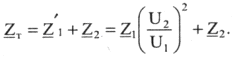
(сквозное сопротивление) трансформаторов (рисунок 17) определяется в виде:
(1.1)
- полное
сопротивление вторичной обмотки трансформатора, приведенное к первичному
напряжению.
Рисунок 17 - Схема замещения электропередачи с
прямой и обратной Г - образными схемами замещения соответственно понижающего и
повышающего трансформатора
Если схема приведена к низшему напряжению, то
(1.2)
Эти суммарные сопротивления обмоток обычно
называют сопротивлениями (активным и индуктивным) трансформатора.
Активная проводимость Gт
обусловлена
потерями активной мощности в стали трансформатора на перемагничивание
(гистерезис) и вихревые токи, реактивная проводимость Вт - намагничивающей
сталь мощностью.
Поскольку наличие этих проводимостей связано с
токами холостого хода Іх
(в основном намагничивающего тока), в приближенных расчетах в Г - образной схеме
замещения проводимость (ветвь намагничивания) равной потерям мощности холостого
хода трансформатора (рисунок 18, а).
Первое слагаемое ∆Рх - потери активной
мощности в стали трансформатора, паспортная величина; второе - намагничивающая
мощность трансформатора, принимаемая равной
Рисунок 18 - Упрощенные схемы замещения
двухобмоточных трансформаторов: а - с учетом и б - без учета поперечной ветви.
Используя схемы замещения, где ветвь
намагничивания заменена мощностью потерь холостого хода, допустимо при
напряжении до 220кВ включительно.
При расчетах режимов местных (распределительных)
сетей 6 - 35кВ влиянием проводимостей трансформаторов пренебрегают и используют
простейшую схему замещения, состоящую только из последовательно соединенных
активного и индуктивного сопротивлений (рисунок 18, б).
В технико-экономических расчетах, связанных с
расчетом и анализом потерь электроэнергии в распределительных сетях, потери
мощности холостого хода необходимо учитывать, так как они соизмеримы с
нагрузочными потерями.
В схемах замещения (рисунок 16 - 18) включен
идеальный трансформатор, не обладающий сопротивлениями, а только показывающий
наличие трансформации, то есть преобразование (понижение или повышение)
напряжения переменного тока одного класса в другой.
Количественно значение такой трансформации
характеризуется отношением напряжений на зажимах трансформатора в режиме
холостого хода:
k = W1
/ W2 =
U1
ном /
U2
ном (1.4)
Такие схемы применяют при расчете режимов
электрических сетей с учетом их фактических напряжении.
Если рассматриваются связанные трансформаторами
сети, параметры которых приведены к одному классу напряжения, то идеальный
трансформатор не учитывается.
Параметры схемы замещения двухобмоточных
трансформаторов определяются по каталожным данным, составленным по результатам
опытов холостого хода и короткого замыкания.
Активные и реактивные сопротивления одной фазы
трансформатора определяют по результатам опыта короткого замыкания.
Коротким замыканием называется режим работы
трансформатора, при котором первичная обмотка присоединена к сети, а вывода
вторичной обмотки соединены накоротко (напряжение U2
= 0). Короткое замыкание при номинальном первичном напряжении является
аварийным режимом, при котором токи в обмотках превышают номинальные в 10 - 15
раз, и опасно для трансформатора.
Опыт короткого замыкания проводится по схеме,
приведенной на рисунке 19, а. Напряжение подводимое к трансформатору, плавно
повышается от нуля до значения, при котором токи в обмотках трансформатора
равны номинальным. Это и есть напряжение короткого замыкания uк,
и обычно оно выражается в процентах номинального напряжения:
(1.5)
и составляет для силовых трансформаторов около
3-13%.
Рисунок 19 - Принципиальные схемы опытов
короткого замыкания (а) и холостого хода (б) двухобмоточного трансформатора
(применительно к одной фазе).
Ваттметр W
показывает потери актив-ной мощности ∆Рк в обмотках и в стали
трансформатора. Потери в стали незначи-тельны из-за малости приложенного
напряжения uк, и
в опыте короткого замыка-ния все потери активной мощности практи-чески целиком
расходуются на нагрев его моток и могут быть приравнены к номи-нальным потерям
в обмотках трансфор-матора ∆Рк ≈ ∆Рном.
Поэтому можно принять с точностью, достаточной для инженерных расчетов, что в
опыте короткого замыкания
(1.6)
Принимая потери мощности в кило-ваттах (кВт),
напряжение в киловольтах (кВ), а номинальную мощность трансфор-матора в
мегавольтамперах (МВА), полу-чим сопротивление, Ом,
(1.7)
Или, перейдя к потерям мощности в трех фазах ∆Рк
= 3 ∆Ркф, линейному напря-жению Uном
=√Uномф
и номинальной мощности трехфазного трансформатора Sном
=
3 Sномф,
определим активное сопротивление обмоток двухобмоточного трансформатора, Ом, в
виде
(1.8)
Индуктивное сопротивление трансформатора Хт
определяется напряжением короткого замыкания uк
Из (1.5) можно определить полное сопротивление трансформатора, Ом,
Для трансформаторов достаточно большой мощности
(выше 1000кВА) Хт >> Rт,
то есть треугольник сопротивлений вырождается в прямую. Поэтому для мощных
трансформаторов с достаточной точностью можно принять
Если напряжение короткого замыкания выразить в
относительных единицах, приняв за базисные номинальные параметры трансформатора,
получим:
или, при домножении выражения
на множитель Sном
/ U2ном,
размерностью Ом -1, имеем
Таким образом, напряжение короткого замыкания
характеризует внутреннее сопротивление трансформатора, влияющее на падение
напряжения и ток короткого замыкания.
В схеме замещения сопротивления Rт
и Xт
не зависят от kт,
хотя в действительности такая зависимость имеется.
При переводе трансформатора на работу с
основного ответвления на любое другое его сопротивления изменяется
незначительно, и поэтому в ряде случаев его можно считать неизменном. Однако
значительном изменении kт
(а
соответственно и количества витков обмоток) сопротивление трансформаторов
рассчитывают для реального положения переключателя.
Проводимости схемы замещения трансформатора
определяют по результатам опыта холостого хода.
Опыт холостого хода выполняют по схеме рисунка
19, б. К первичной обмотке (при разомкнутой вторичной) подводится номинальное
напряжение. Показания ваттметра W
определяют суммарные потери активной мощности в первичной обмотке и стальном
магнитопроводе трансформатора. Так как ток холостого хода очень мал (составляет
от 0, 7 до 3, 0% номинального значения), потери мощности в активном
сопротивлении первичной обмотки незначительны. Применяя Г-образную схему
замещения, все потери холостого хода как бы переносят в стальной сердечник, а
потери в стали с небольшой погрешностью приравнивают к общим потерям холостого
хода:
∆Рст ≈ ∆Рх.
Для одной фазы трансформатора:
Отсюда, перейдя к параметрам трехфазного
трансформатора, получим
Так как потери холостого хода ∆Рст
измеряются в киловаттах, напряжение Uном
в киловольтах, формула (1. 15) приобретает следующий вид (Gт
в Ом -1):
Активная составляющая тока холостого хода,
отражающая потери в стальном магнитопроводе, меньше реактивной в 5-7 раз. Если
ориентировочно принять реактивную составляющую равной всему току холостого
хода: Iμ
= IХ,
то можно определить реактивную проводимость Вт ветви намагничивания
из следующего соотношения:
Откуда, аналогично выражению (1. 16) реактивная
проводимость ветви намагничивания трансформатора, См, определяют в виде:
где IХ
-
ток холостого хода, %; Sном
-
номинальная мощность трансформатора, кВА.
В расчетных выражениях сопротивлений и
проводимостей номинальные напряжения принимают в соответствии с тем, к какому
напряжению (высшему или низшему) необходимо привести параметры схемы замещения
трансформатора.
При расчете режимов электрических сетей за
расчетное напряжение принимают номинальное напряжение той обмотки
трансформатора, которая непосредственно присоединена к линии.
Сопротивления Rт
и Xт,
отнесенные к высшему напряжению, будут иметь значения (UВН/
UНН)2
раз большими, а проводимости ВТ и GТ
в (UВН/
UНН)2
раз меньшими, чем если бы схема замещения трансформатора была приведена к
низшему напряжению.
Номинальные величины мощности (SНОМ),
потерь мощности (∆РК, ∆РХ), напряжений (UНОМ,
uК)
и тока (IК)
даны в паспорте трансформатора:
для однофазного - фазными значениями;
для трехфазного - суммарной мощностью трех фаз,
междуфазными напряжениями и фазным значением тока.
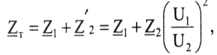
.4 Трехобмоточные трансформаторы
На понижающих подстанциях, питающих
электрические сети 10 (6) и 35кВ, устанавливают трехобмоточные трансформаторы с
трансформациями 110 - 220/35/6 - 10кВ. Электрические сети напряжением 6-10кВ
предназначены для электроснабжения близлежащих потребителей (удаленность до
10-15км). Сети 35кВ могут питать нагрузки в радиусе до 40-60км. Если нагрузки
этих сетей соизмеримы (то есть отличие не более чем в 4-5 раз), может оказаться
экономически целесообразно применять трехобмоточный трансформатор с двумя
вторичными обмотками (рисунок, 21, а) вместо двухобмоточных 110-220/ 6-10 и
110-220/ 35кв (рисунок, 21, б) для раздельного питания распределительных сетей.
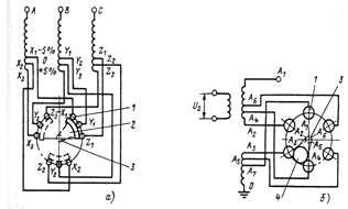
Рисунок 20 - Схемы соединения обмоток
трехобмоточного трансформатора звезда с нулем - звезда - треугольник (а) и
соответствующие векторные диаграммы напряжений (б)
В последние годы отечественные трехобмоточные
трансформаторы изготавливают с обмотками ВН, СН и НН одинаковой мощности
(100%). Ранее выпускались такие трехобмоточные трансформаторы, у которых
обмотки НН и СН могли иметь мощность в 1,5 раза меньшую, нежели мощность
обмотки ВН.
Рисунок 21 - Схемы подстанций с тремя
номинальными напряжениями: а - трехобмоточный трансформатор; б - два
двухобмоточных трансформатора
Схема замещения трехобмоточного трансформатора
одной фазы представляет трехлучевую звезду (рисунок 22). Параметры этой схемы -
активные RВ,
RС ,
RН
и индуктивные ХВ, ХС , ХН сопротивления
обмоток ВН, СН, НН - приведены к напряжению первичной обмотки трансформатора.
Ветвь намагничивания включена на первичных зажимах схемы замещения
трансформатора. Ее параметры определяют так же, как и для двухобмоточных
трансформаторов по формулам (1.16) и (1.18).
В соответствии с этой схемой замещения для
трехобмоточного трансформатора, в отличие от двухобмоточного, нужно определить
сопротивление каждой обмотки в отдельности по данным опытов короткого
замыкания.
В этом опыте одна из обмоток подключена к
источнику питания, вторая замкнута накоротко, третья разомкнута (рисунок 23).
Это позволяет при расчете сопротивлений рассматривать схему замещения
трехобмоточного трансформатора как два соединенных луча. В опытах короткого
замыкания замеряют потери активной мощности ∆РКВ - С,
∆РКВ - Н, ∆РКС - Н и
напряжения короткого замыкания UКВ
- С ,UКВ
- Н, UКС
- Н на каждую пару обмоток (лучей схемы замещения).
Так, например, при замыкании накоротко обмотки СН и включении трансформатора
через обмотку ВН (рисунок 23, а) можно замерить потери мощности ∆РКВ
- Си напряжения короткого замыкания UКВ
- Н. Аналогично из опытов двух других пар обмоток
(рисунок 23, б, в) определяют соответствующие потери мощности и напряжения
короткого замыкания.
Рисунок 22 - Схемы замещения трехобмоточного
трансформатора: а - с учетом и б - без учета трансформации
Результаты опытов короткого замыкания позволяют
сформулировать системы линейных уравнений следующего вида:
∆РКВ + ∆РКС
= ∆РКВ - С
∆РКВ + ∆РКН
= ∆РКВ - Н
∆РКС + ∆РКН
= ∆РКС - Н
UКВ
+
UКС
= UКВ
- С
UКВ
+ UКН
= UКВ
- Н
UКС
+ UКН
= UКС
- Н
Решая уравнения (1. 19) относительно ∆РКВ
, ∆РКС, ∆РКН, получаем:
∆РКВ = 1/ 2 (∆РКВ
- С + ∆РКВ - Н + ∆РКС -
Н)
∆РКС = 1/ 2 (∆РКВ
- С + ∆РКС - Н + ∆РКВ -
Н)
∆РКН = 1/ 2 (∆РКВ
- Н + ∆РКС- Н + ∆РКВ -
С)
Рисунок 23 - Схемы трех опытов короткого
замыкания трехобмоточного трансформатора
Аналогично из систем уравнений (1. 20) найдем:
UКВ
=
1/ 2 (UКВ
- С + UКВ
- Н + UКС
- Н)
UКС
=
1/ 2 (UКВ
- С + UКС
- Н + UКВ
- Н)
UКН
= 1/ 2 (UКВ
- Н + UКС
- Н + UКВ
- С).
В общем случае активные и реактивные
сопротивления обмоток трехобмоточных трансформаторов определяют по тем же
формулам вида (1. 8) и (1. 11), что и для двухобмоточных трансформаторов.
Реактивное сопротивление ХС или ХН,
соответствующие обмотке, расположенной между двумя другими обмотками, благодаря
их взаимному влиянию обычно имеет величину, близкую к нулю, либо небольшое
отрицательное значение и в практических расчетах принимается равным нулю.
Для определения величин UКВ,
UКС,
UКН
в каталогах на трехобмоточные трансформаторы всегда указаны три нормированных
(приведенных к номинальной мощности) значения напряжения короткого замыкания и
одно (∆РКВ - С или ∆РКВ - Н)
или три значения потерь короткого замыкания (∆РКВ - С,
∆РКВ - Н, ∆РКС - Н) в
зависимости от типа трансформатора.
Если заданы потери короткого замыкания на одну
пару обмоток , то активные сопротивления могут быть найдены в предположении,
что эти сопротивления, приведенные к одной ступени трансформации, обратно
пропорциональны номинальным мощностям соответствующих обмоток.
Для трансформаторов с одинаковыми мощностями
обмоток суммарные потери короткого замыкания на пару обмоток поровну распределяются
между соответствующими, то есть в этом случае, активные сопротивления лучей
схемы замещения вычисляют по формуле:
Если в трехобмоточном трансформаторе одна из
обмоток имеет мощность меньше номинальной (соотношение SВН/
SСН/
SНН =
100/ 100/ 66,7% или 100/ 66,7/ 100%), то активные сопротивления лучей схемы
замещения для обмоток с номинальной мощностью 100% определяются аналогично
предыдущему случаю:
Величину активного сопротивления луча схемы
замещения соответствующей обмотки с меньшей мощностью (66,7%), приведенную к
номинальной мощности трансформатора, учитывая обратную пропорциональность
сопротивлений и мощностей обмоток:
откуда
Трансформаторы с высшего на среднее и низшее
напряжения учитывают (рисунок, 22, а) соответствующими идеальными
трансформаторами с параметрами
Расчет режимов электрических сетей, приведенных
к одному номинальному напряжению, выполняют с учетом схемы замещения,
представленной на рисунке 22, б.
.5 Трансформаторы с расщепленной обмоткой
низшего напряжения
На электростанциях и крупных подстанциях районов
электрических сетей и систем электроснабжения промышленных предприятий
устанавливают трансформаторы или трехфазные группы с расщепленными на две (или
более) обмотки низшего напряжения, что позволяет присоединять к одному
трансформатору два и более генераторов или независимых нагрузок одного или
разных классов напряжений (условные обозначения таких трансформаторов приведены
на рисунке 1, е, ж).
Трансформаторы с расщепленной обмоткой НН
являются разновидностью двухобмоточного трансформатора. В таком трансформаторе
обмотка НН выполнена из двух или более обмоток, расположенных симметрично по
отношению к обмотке ВН (рисунок 24). Номинальные напряжения ветвей одинаковы, а
мощности их составляют часть номинальной мощности трансформатора и в сумме
равны мощности обмотки ВН. В этом состоит отличие трансформаторов с
расщепленными обмотками от трехобмоточных трансформаторов, у которых суммарная
мощность обмоток СН и НН всегда больше мощности обмоток ВН.
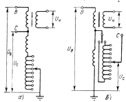
На рисунке 25, а представлена схема соединений
обмоток для одной фазы трехфазного двухобмоточного трансформатора с
расщепленной обмоткой НН на две ветви. Схема его замещения имеет вид
трехлучевой звезды (рисунок 25, б), где RНН
1,
RНН 2,
XНН 1,
XНН 2 -
активные и индуктивные сопротивления расщепленных обмоток НН, приведенные к
напряжению обмотки ВН. С достаточной для практических расчетов точностью такой
трансформатор можно рассматривать как два независимых трансформатора,
питающихся от общей сети ВН. Мощность каждой обмотки НН равна половине мощности
обмотки ВН, то есть половине номинальной мощности трансформатора.
Соответственно представлены соотношения для сопротивлений:
Рисунок 24 - Устройство трехобмоточного
трансформатора (а) и двухобмоточного трансформатора с расщепленной обмоткой НН
(б)
Рисунок 25 - Двухобмоточный трансформатор с
расщепленными обмотками НН: а - соединение обмоток трансформатора; б - схема
замещения
При параллельном соединении обмоток НН
трансформатор с расщепленными обмотками будет работать как обычный
двухобмоточный. При этом сопротивления трансформатора между выводами обмотки ВН
и общим выводом НН-1 и НН-2 будут равны сопротивлениям RОБЩ
и XОБЩ,
отнесенным к номинальной мощности трансформатора:
именуемыми общими, или сквозными,
сопротивлениями трансформатора.
С учетом (1.26) имеем:
Индуктивное сопротивление обмотки ВН применяют
равным нулю, то есть можно считать XОБЩ
целиком
сосредоточенным в обмотках НН, включенных параллельно. Учитывая при этом, что XНН
1=
XНН 2,
из (1. 27) получим
Приведенные соответствия действительны только
для групп однофазных трансформаторов, расщепленные обмотки которых можно
рассматривать как обмотки отдельных трансформаторов. Коэффициент расщепления
(отношение сопротивлений короткого замыкания между расщепленными обмотками к
сопротивлению короткого замыкания между обмоткой ВН и параллельно соединенными
расщепленными обмотками) для однофазных трансформаторов равен 4.
Связь напряжений обмоток высшего и низшего
напряжений учитывается идеальными трансформаторами с коэффициентами
трансформации (рисунок 25, б)
Проводимости трансформаторов с расщепленными
обмотками определяются так же, как и для двухобмоточных трансформаторов по
формулам (1.16) и (1.18).
Применение трансформаторов с расщепленными
обмотками НН, обладающими повышенными значениями индуктивных сопротивлений
(смотреть (1.29) и (1.30)), способствует снижению мощности короткого замыкания
на шинах НН почти вдвое, что позволяет во многих случаях обойтись без
токоограничивающих реакторов.
В настоящее время трехфазные двухобмоточные
трансформаторы с расщепленными обмотками НН является основным типом
трансформаторов мощных приемных подстанций напряжением 110-220кВ.
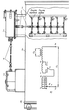
1.6 Особенности конструкции и режимы работы
автотрансформаторов
В установках 110кВ и выше широкое применение
находят автотрансформаторы большой мощности. Объясняется это рядом преимуществ,
которые они имеют по сравнению с трансформаторами.
Автотрансформатор представляет собой
многообмоточный трансформатор, у которого две обмотки связаны магнитно и
электрически.
В энергосистемах нашли применение трехобмоточные
трансформаторы - трехфазные и однофазные, собираемые в трехфазные группы.
Однофазный автотрансформатор имеет электрически
связанные обмотки ОВ и ОС (рисунок 26). Часть обмотки, заключенная между
выводами В и С, называется последовательной, а между С и О - общей.
При работе автотрансформатора в режиме понижения
напряжения в последовательной обмотке проходит ток I,
который, создавая магнитный поток, наводит в общей обмотке ток I0.
Ток нагрузки вторичной обмотки Ic
складывается из тока Iв,
проходящего благодаря гальванической (электрической) связи обмоток, и тока I0,
этих обмоток: IC
= IB
+ I0,
откуда I0
= IC
-
IB.
Полная мощность, передаваемая
автотрансформатором первичной сети во вторичную, называется проходной.
Если пренебречь потерями в сопротивлениях
обмоток автотрансформатора, можно записать следующее выражение:
S = UB
IB
≈
UC
IC.
Преобразуя правую часть выражения, получаем:
S = UB IB =
[(UB - Uс)
+ Uс]
Iв
= (UB - Uс)
IB + UC IB
где (UB
- Uс)
IB
=
ST
-
трансформаторная мощность, передаваемая магнитным путём из первичной обмотки во
вторичную;
UC*IB
= SЭ -
электрическая мощность, передаваемую из первичной обмотки во вторичную за счёт
их гальванической связи, без трансформации.
Рисунок 26 - Схема однофазного автотрансформатора
Рисунок 27 - Схемы соединения обмоток
автотрансформатора (а) и соответствующие векторные диаграммы напряжений (б)
Эта мощность не нагружает общей обмотки, потому
что ток IB
последовательной обмотки проходит на вывод С, минуя обмотку ОС.
В номинальном режиме проходная мощность является
номинальном мощностью автотрансформатора S
= SНОМ,
а трансформаторная мощность - типовой мощностью
ST
=
SТИП.
Размеры магнитопровода, а следовательно, его
масса, определяется трансформаторной (типовой) мощностью, которая составляет
лишь часть номинальной мощности:
где nBC
= UB / UC
- коэффициент трансформации; kВЫГ
- коэффициент выгодности или коэффициент типовой мощности.
Из формулы (1. 33) следует, что чем ближе UB
к UC, тем меньше kВЫГ
и меньшую долю номинальной составляет типовая мощность, Это означает, что
размеры автотрансформатора, его масса, расход активных материалов уменьшаются
по сравнению с трансформатором одинаковой номинальной мощности.
Наиболее целесообразно применение
автотрансформаторов при сочетании напряжений 220 / 110; 330/ 150; 500/ 220;
750/ 330.
Из схемы (рисунок 26) видно, что мощность
последовательной обмотки
мощность общей обмотки
Таким образом, обмотки и магнитопровод
автотрансформатора рассчитываются на типовую мощность, которую называют
расчетной мощностью.
Рисунок 28 - Принципиальные схемы трехобмоточных
автотрансформаторов: а - однофазного; б - трехфазной группы
автотрансформаторов.
Какая бы мощность ни подводилась к зажимам В или
С, последовательную и общую обмотки загружать больше чем SТИП
нельзя. Этот вывод особенно важен при рассмотрении комбинированных режимов
работы автотрансформатора. Такие режимы возникают, если имеется третья обмотка,
связанная с автотрансформаторными обмотками только магнитным путем.
Третья обмотка автотрансформатора (обмотка НН)
используется для питания нагрузки, для присоединения источников активной или
реактивной мощности (генераторов и синхронных компенсаторов), а в некоторых
случаях служит лишь для компенсации токов третьих гармоник.
Мощность обмотки НН SН
не может быть больше SТИП,
так как иначе размеры автотрансформаторы будут определиться мощностью этой
обмотки. Номинальная мощность обмотки НН указывается в паспортных данных
автотрансформатора.
На рисунке 28 изображена схема соединений
обмоток трехобмоточного трансформатора. Обмотка высшего напряжения (ВН) 1
состоит из двух обмоток общей и последовательной. Обмотка среднего напряжения
(СН) 2 является частью обмотки ВН и называется общей обмоткой, а остальная
часть обмотки ВН - последовательной обмоткой. Третья обмотка 3 представляет
собой обмотку низшего напряжения (НН) и связана с другими обмотками только
магнитно.
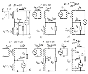
Рассмотрим режимы работы трехобмоточных автотрансформаторов
с обмотками ВН, СН, НН (рисунок 29).
Рисунок 29 - Распределение токов в обмотках
автотрансформатора в различных режимах: а, б - автотрансформаторные режимы; в,
г - трансформаторные режимы; д, е - комбинированные режимы
В автотрансформаторных режимах (рисунок 29, а,
б) возможна передача номинальной мощности SНОМ
из
обмотки ВН в обмотку СН или наоборот. В обоих обмотках в общей обмотке проходит
разность токов
,
а поэтому последовательная и общая обмотки
загружены типовой мощностью, что допустимо.
В трансформаторных режимах (рисунок 29, в, г)
возможна передача из обмотки НН в обмотку СН или ВН, причем обмотку НН можно
загрузить не более чем на SТИП.
Условия допустимости режима НН → ВН или НН → СН:
Если происходит трансформация SТИП
из
НН в СН, то общая обмотка загружена такой же мощностью и дополнительная
передача мощности из ВН в СН невозможна, хотя последовательная обмотка не
загружена.
В трансформаторном режиме передачи мощности SТИП
из
обмотки НН в ВН (рисунок 29, г) общая и последовательная обмотки загружены не
полностью:
поэтому возможно дополнительно передать из
обмотки СН в ВН некоторую мощность (смотреть пояснения к рисунку 29, е).
В комбинированных режимах передачи мощности
автотрансформаторным путем ВН → СН и трансформаторным путем НН → СН
(рисунок 29, д) ток в последовательной обмотке
где PВ
, QВ -
активная и реактивная мощности, передаваемые из обмотки ВН в СН.
Нагрузка последовательной обмотки
Отсюда видно, что даже при передаче номинальной
мощности SВ
= SНОМ последовательная
обмотка не будет перегружена.
В общей обмотке токи автотрансформаторного и
трансформаторного режимов направлены одинаково:
Нагрузка общей обмотки
Подставляя значения токов и производя
преобразования, получаем:
где PН,
QН -
активная и реактивная мощности, передаваемые из обмотки НН в СН.
Таким образом, комбинированный режим НН →
СН, ВН → СН ограничивается загрузкой общей обмотки и может быть допущен
при условии
Рисунок 30 - Схема включения трансформаторов
тока для контроля нагрузки автотрансформаторов
Если значения cos
φ на стороне ВН и НН
незначительно отличаются друг от друга, то кажущиеся мощности можно складывать
алгебраически и (1. 35) упрощается
В комбинированном режиме передачи мощности из
обмоток НН и СН в обмотку ВН распределение токов показано на рисунке 29, е. В
общей обмотке ток автотрансформаторного режима направлен встречно току
трансформаторного режима, поэтому загрузка обмотки значительно меньше
допустимой и в пределе может быть равна нулю. В последовательной обмотке токи
складываются, что может вызывать ее перегрузку. Этот режим ограничивается
загрузкой последовательной обмотки
где PС
, QС -
активная и реактивная мощности на стороне СН; PН
, QН -
активная и реактивная мощности на стороне НН. Комбинированный режим НН →
ВН, ВН → ВН допустим, если
Если значения cos
φ на стороне СН и НН
незначительно отличаются друг от друга, то (1. 38) упрощается
Возможны другие комбинированные режимы: передача
мощности из обмотки СН в обмотки СН и НН. В этих случаях направления токов в
обмотках изменяются на обратные по сравнению с рисунком 29, д, е, но
приведенные рассуждения и расчетные формулы (1. 35) - (1. 40) остаются
неизменными.
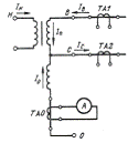
Во всех случаях надо контролировать загрузку
обмоток автотрансформатора. Ток в последовательной обмотке может
контролироваться трансформатором тока ТА1, так как IП
=
IВ
(рисунок 30). Трансформатор тока ТА2 контролирует ток на выводе обмотки СН, а
для контроля тока в общей обмотке необходим трансформатор тока ТА0, встроенный
непосредственно в эту обмотку. Допустимая нагрузка общей обмотки указывается в
паспортных данных автотрансформатора.
Выводы, сделанные для однофазного трансформатора
[формулы (1. 33) - (1. 40)], справедливы и для трехфазного трансформатора,
схема которого показана на рисунке 31. Обмотки ВН и СН соединяются в звезду с
выведенной нулевой точкой, обмотки НН - в треугольник.
Рисунок 31 - Схема трехфазного трехобмоточного
автотрансформатора
К особенностям конструкции автотрансформаторов
следует отнести необходимость глухого заземления нейтрали, общей для обмоток ВН
и СН.
Объясняется это следующим. Если в системе с
эффективно-заземленной нейтралью включить понижающий автотрансформатор с
незаземленной нейтралью, то при замыкании на землю одной
фазы в сети СН на последовательную обмотку этой
фазы будет воздействовать полное напряжение
вместо
Напряжение выводов обмотки СН возрастает до UВ,
резко увеличится напряжение, приложенное к обмоткам неповрежденных фаз.
Аналогичная картина наблюдается в случае присоединения повышающего
автотрансформатора с незаземленной нейтралью к системе с эффективно-заземленной
нейтралью.
Такие перенапряжения недопустимы, поэтому
нейтрали всех автотрансформаторов глухо заземляются. В этом случае заземления
на линии со стороны ВН или СН не вызывает опасных перенапряжений, однако в
системах ВН и СН возрастают токи однофазного КЗ.
В отличие от трансформатора, где вся мощность с
первичной обмотки ВН передается на вторичную обмотку СН магнитным полем, в
автотрансформаторе часть мощности передается непосредственно - без
трансформации, через электрическую (контактную) связь между последовательной и
общей обмотками (электрическую мощность):
SЭЛ
= √3 * UСНОМ
* IВНОМ,
а также с помощью пронизывающего их магнитного
потока, то есть магнитным путем (трансформаторная мощность):
Сумма трансформаторной и электрической мощностей
равна проходной мощности автотрансформатора:
Под номинальной мощностью автотрансформатора
понимается предельная мощность, которая может быть передана через
автотрансформатор по обмоткам ВН и СН, имеющим между собой автотрансформаторную
связь. Для отечественных автотрансформаторов мощности обмоток ВН и СН одинаковы
и равны номинальной или проходной. Следовательно,
В общей обмотке протекает разность токов сетей
ВН и СН. Поэтому эту обмотку рассчитывают на ток, меньший номинального тока
автотрансформатора, определяемого на стороне ВН, и она может иметь меньшую
площадь сечения, чем обмотка того же напряжения двухобмоточного трансформатора.
Меньшую площадь имеет и магнитопровод автотрансформатора. В результате, чем
ближе к единице коэффициент трансформации
kВС
= k = UВН/
UСН
= IСН/
IВН,
тем меньше расход активных материалов и
приблизительно - стоимость автотрансформатора. Поэтому понижающие
автотрансформаторы оказываются дешевле трансформаторов равной номинальной
мощности, а применение автотрансформаторов взамен трансформаторов становится
тем выгоднее, чем ближе друг к другу напряжения UВН
и UСН.
Мощность общей части обмоток второго
автотрансформатора (рисунок 28)
где αВ
-
так называемый коэффициент выгодности.
Для характеристики автотрансформаторов введено
также понятие типовой мощности, на которую рассчитывается последовательная
обмотка:
Типовая мощность отражает экономическую сторону
конструкции автотрансформаторов, то есть расход активных материалов. Различие
технико-экономических показателей трансформаторов и автотрансформаторов зависит
от соотношения между номинальной и типовой (расчетной) мощностями, то есть от
коэффициента выгодности αВ
.
Поскольку
то очевидно, что преимущество автотрансформатора
проявляются в большой степени тогда, когда с его помощью связываются сети более
близких напряжений.
Мощность обмотки НН, обычно равную 50%
номинальной мощности автотрансформатора, рассчитывают на передачу типовой
мощности
В отдельных автотрансформаторах мощность обмотки
НН составляет 20, 25 и 40% и не равна типовой мощности. В этом случае
коэффициент выгодности αВ
=
(1 - UСН/
UВН)
не равен отношению α = SНН/
SВН,
именуемый в дальнейшем коэффициентом приведения (пересчета).
Обмотка НН соединяется в треугольник, что
способствует подавлению третьей гармоники фазных ЭДС, предотвращая их появления
в линиях. Третья обмотка (НН) предназначена для питания нагрузок, расположенных
в районе рассматриваемой ПС, а также для подключения компенсирующих реактивную
мощность устройств. Номинальное напряжение третьей обмотки в зависимости от
удаленности нагрузок может быть 6, 6, 11 и 38, 5кВ.
Наличие электрической связи между обмотками ВН и
СН обуславливает возможность применения автотрансформаторов только в сетях с
глухо заземленной нейтралью, то тесть в сетях 110кВ и выше, а сами
автотрансформаторы изготавливают с высшим напряжением не менее 150кВ и средним
110кВ. При отсутствии заземления нейтрали и замыканий на землю одной фазы в
сети ВН потенциал относительно земли двух других фаз сети СН повысится до
недопустимого значения.
Расчетная схема замещения трехобмоточного
автотрансформатор, представляющая собой трехлучевую звезду с сопротивлениями
обмоток ВН - RВ,
XВ,
СН - RС,
XС,
НН - RН,
XН,
аналогична схеме замещения трехобмоточного трансформатора (рисунок 22).
Автотрансформаторы, как и трехобмоточные трансформаторы, характеризуются
потерями активной мощности (∆РХ) и токами холостого хода (IX
= Iμ). Сопротивления
обмоток автотрансформаторов, так же как и трансформаторов определяют по
табличным данным трех опытов короткого замыкания (рисунок 23).
Паспортные таблицы параметров
автотрансформаторов содержат потери короткого замыкания на три пары обмоток (∆РКВ-С,
∆РКВ-Н, ∆РКС-Н) или на
одну пару обмоток (∆РКВ-Н). Указывают также и
значения напряжения короткого замыкания (uКВ-С,
uКВ-Н,
uКС-Н).
Причем величину ∆РКВ-С, uКВ-С
дают
отнесенными к номинальной мощности, а две пары других параметров в ряде случаев
указывают приведенными к мощности НН или типовой мощности. Эта особенность
записи параметров автотрансформаторов отражает условия выполнения опытов
короткого замыкания.
При коротком замыкании обмотки ВН, мощность
которой меньше номинальной SНОМ
автотрансформатора, поднимается до значения, определяющего в этой обмотке ток,
соответствующий номинальной мощности SНН
обмотки НН, а не номинальной мощности автотрансформатора SНОМ.
При коротком замыкании на стороне СН напряжение на стороне ВН может подняться
до значения, при котором ток в последовательной обмотке достигает значения,
определяющего номинальную мощность автотрансформатора.
В связи с этим паспортные данные
автотрансформаторов на пару обмоток ∆РКВ-С
приводятся отнесенными к номинальной мощности автотрансформатора, а значения ∆РКВ-Н,
∆РКС-Н (обозначим его ∆РЌ́́́́
)
- к номинальной мощности обмотки НН:
которые необходимо пересчитать к номинальной
мощности автотрансформатора:
Взяв отношение выражений (1. 48) и (1. 49),
получим:
Учитывая, что
определяют сопротивления автотрансформатора по
формулам:
Напряжения короткого замыкания uКВ-Н
и uКС-Н
, отнесенные к номинальной мощности третьей обмотки
должны быть приведены к номинальной мощности
автотрансформатора:
Если выполнить деление выражений (1. 52) на
соответствующие величины (1.53), то получим значения, приведенные к номинальной
мощности автотрансформатора:
Рисунок 32 - Принципиальные схемы
автотрансформатора с РПН в нейтрали обмоток (а), на стороне СН (б), на стороне
ВН (в)
Трехобмоточные автотрансформаторы имеют
несколько вариантов регулирования напряжения под нагрузкой (РПН):
в нейтрали обмоток ВН и СН (рисунок 32, а);
на выводах обмотки СН (рисунок 32, б);
со стороны ВН (рисунок 32, в).
При задании трансформации идеальными
трансформаторами в схеме замещения следует учитывать расположенные РПН. Для
автотрансформатора с РПН в общей нейтрали обмоток коэффициенты трансформации
определяются следующим образом:
В случае автотрансформаторов с РПН только на
ступени СН:
При установке РПН на стороне ВН определим
коэффициенты трансформации в виде
В этих выражениях δU
- добавочное напряжение при переходе на ответвления, при которых коэффициент
трансформации отличается от номинального.
Рисунок 33 - Схемы замещения трехобмоточного
автотрансформатора: при направлении потока ВН - СН (а) и СН - ВН (б)
Подводя итог, можно отметить следующие
преимущества автотрансформаторов по сравнению с трансформаторами той же
мощности:
· меньший расход меди, стали, изоляционных
материалов;
· меньшая масса, а следовательно,
меньшие габариты, что позволяет создать автотрансформаторы больших номинальных
мощностей, чем трансформаторы;
· меньшие потери и больший КПД;
· более легкие условия охлаждения.
Недостатки автотрансформаторов:
· необходимость глухого заземления нейтрали, что
приводит к увеличению токов однофазного КЗ;
· сложность регулирования напряжения;
· опасность перехода атмосферных
перенапряжений вследствие электрической связи обмоток ВН и СН.
1.7 Защита трансформаторов
Для трансформаторов должны быть предусмотрены
устройства релейной защиты от следующих видов повреждений и ненормальных
режимов работы:
· замыкание между фазами внутри кожуха
трансформатора и на наружных выводах обмоток;
· замыкание между витками одной фазы в
обмотках;
· замыкание на землю обмоток или их
наружных выводов;
· многофазные замыкания в обмотках и
на выводах;
· токи в обмотках, обусловленные
перегрузкой;
· понижение уровня масла;
· частичный пробой изоляции вводов
500кВ;
· повреждение магнитопровода
трансформаторов, приводящее к появлению местного нагрева и «пожару стали».
Защита от повреждений:
· токовая отсечка без выдержки времени,
устанавливаемая со стороны питания и охватывающая
часть обмотки трансформатора, если не
предусмотрена дифференциальная защита.
Токовая отсечка:
не является полноценной и охватывает своей зоной
действия лишь часть трансформатора;
не действует при витковых замыканиях и
замыканиях на землю в обмотке, работающей на сеть с малым током замыкания на
землю.
· продольная дифференциальная токовая защита без
выдержки времени на трансформаторах мощностью 6,3МВА и более, а также на
трансформаторах мощностью 4МВА при параллельной работе последних с целью
селективного отключения поврежденного трансформатора.
Продольная дифференциальная защита должна осуществляться
с применением специальных реле тока, отстроенных от бросков тока
намагничивания, переходных и установившихся токов небаланса, если при этом
обеспечивается требуемая чувствительность.
Продольная дифференциальная защита должна быть
выполнена так, чтобы в зону ее действия входили соединения трансформатора и со
сборными шинами.
Принцип действия дифференциальной защиты основан
на сравнении величины и направления токов до и после защищаемого объекта.
· газовая защита - весьма чувствительная защита от
внутренних повреждений трансформаторов.
Газовая защита от повреждений внутри кожуха,
сопровождающихся давлением газа, и от понижения уровня масла должна быть
предусмотрена:
для трансформаторов мощностью 6,3МВА и более;
для шунтирующих реакторов напряжением 500кВ;
для внутрицеховых понижающих трансформаторов
мощностью 630кВА и более;
для трансформаторов мощностью 1 - 4МВА.
Допускается выполнение газовой защиты с
действием отключающего элемента только на сигнал:
на трансформаторах, которые установлены в районах,
подверженных землетрясениям;
на внутрицеховых понижающих трансформаторах
мощностью 2,5МВА и менее, не имеющих выключателей со стороны высшего
напряжения.
Защита от коротких замыканий выполняется при
помощи:
· максимально - токовой защиты;
· максимальной защиты с блокировкой
минимального напряжения;
· токовой защиты нулевой
последовательности;
· защиты обратной последовательности.
Защита от перегрузок выполняется реагирующей на
ток (должна действовать на сигнал или производить автоматическим способом его
разгрузку).
В случаях присоединения трансформаторов к линиям
без выключателей для отключения повреждений в трансформаторе должно быть
предусмотрено одно из следующих мероприятий:
1. Установка короткозамыкателя для
искусственного замыкания на землю одной фазы (для сети с глухозаземленной
нейтралью) или двух фаз между собой (для сети с изолированной нейтралью) и,
если необходимо, отделителя, автоматически отключающегося в бестоковую паузу
АПВ линии. Короткозамыкатель должен быть установлен вне зоны дифференциальной
защиты трансформатора.
2. Установка на стороне высшего напряжения
понижающего трансформатора открытых плавких вставок, выполняющих функции
короткозамыкателя и отделителя, в сочетании с АПВ линии.
. Передача отключающего сигнала на
выключатель (или выключатели) линии; при этом, если необходимо, устанавливается
отделитель; для резервирования передачи отключающего сигнала допускается
установка короткозамыкателя.
. Установка предохранителей на стороне
высшего напряжения понижающего трансформатора.
Защиту от токов, обусловленных внешними
многофазными КЗ, следует устанавливать:
на двухобмоточных трансформаторах - со стороны
основного питания;
на многообмоточных трансформаторах,
присоединенных тремя и более выключателями, - со сторон трансформатора; допускается
не устанавливать защиту на одной из сторон трансформатора, а выполнять ее со
стороны основного питания так, чтобы она с меньшей выдержкой времени отключала
выключатели с той стороны, на которой защита отсутствует;
на понижающем двухобмоточном трансформаторе,
питающем раздельно работающие секции, - со стороны питания и со стороны каждой
секции;
при применении накладных трансформаторов тока на
стороне высшего напряжения - со стороны низшего напряжения на двухобмоточном
трансформаторе и со стороны низшего и среднего напряжений на трехобмоточном
трансформаторе.
Допускается защита от токов, обусловленных
внешними многофазными КЗ, предусматривать только для резервирования защит
смежных элементов и не предусматривать для действия при отказе основных защит
трансформаторов, если выполнения для такого действия приводит к значительному
усложнению защиты.
трансформатор обмотка нагрузочный
напряжение
2. ЭКСПЛУАТАЦИЯ ТРАНСФОРМАТОРОВ
.1 Нагрузочная способность трансформаторов
При выборе мощности трансформаторов нельзя
руководствоваться только их номинальной мощностью, так как в реальных условиях
температура охлаждающей среды, условия установки трансформатора могут быть
отличными от принятых. Нагрузка трансформатора меняется в течение суток, и если
мощность выбрать по максимальной нагрузке, то в периоды ее спада трансформатор
будет не загружен, то есть недоиспользована его мощность. Опыт эксплуатации
показывает, что трансформатор может работать часть суток с перегрузкой, если в
другую часть суток его нагрузка меньше номинальной. Критерием различных режимов
является износ изоляции трансформатора.
Рисунок 34 - Построение двухступенчатого графика
по суточному графику нагрузки трансформатора
Нагрузочная способность трансформатора - это
совокупность допустимых нагрузок и перегрузок.
Допустимая нагрузка - это длительная нагрузка,
при которой расчетный износ изоляции обмоток от нагрева не превосходит износ,
соответствующий нормальному режиму работы.
Перегрузка трансформатора - режим, при котором
расчетный износ изоляции обмоток превосходит износ, соответствующий
номинальному режиму работы (такой режим возникает, если нагрузка окажется
больше номинальной мощности трансформатора или температура охлаждающей среды
больше принятой расчетной).
Допустимые системные нагрузки трансформатора
больше его номинальной мощности возможны за счет неравномерности нагрузки в
течение суток.
На рисунке 34 изображен суточной график
нагрузки, из которого видно, что в ночное время, утренние и дневные часы
трансформатор недогружен, а во время вечернего максимума перегружен. При
недогрузке износ изоляции мал, а во время перегрузки значительно увеличиваться.
Максимально допустимая систематическая нагрузка определяется при условии, что
наибольшая температура обмотки + 140ْ Ñ,
íàèáîëüøàÿ
òåìïåðàòóðà
ìàñëà â
âåðõíèõ
ñëîÿõ + 95ْ Ñ è
èçíîñ
èçîëÿöèè çà
âðемя максимальной нагрузки такой же, как при
работе трансформатора при постоянной номинальной нагрузке, когда температура
наиболее нагретой точки не превышает + 98ْ Ñ (ÃÎÑÒ 14209 - 85).
Äëÿ ïîäñ÷åòà
äîïóñòèìîé
ñèñòåìàòè÷åñêîé
íàãðóçêè
äåéñòâèòåëüíûé
ãðàôèê ïðåîáðàçóåòñÿ
â
äâóõñòóïåí÷àòûé
(ñìîòðèòå
ðèñунок 34).
Коэффициент начальной нагрузки эквивалентного
графика определяется по выражению
где s1, s2, …, sm - значения нагрузки в
интервалах Δt1, Δt2, …, Δtm.
Коэффициент максимальной нагрузки в интервале
h = Δh1 + Δh2 + … + Δhp
Если К2`≥0, 9Кmax , то принимают К2`=К2,
если К2`<0, 9Кmax , то принимают К2=0, 9Кmax.
Зная среднюю температуру охлаждающей среды за
время действия графика (θохл),
систему охлаждения трансформатора (М, Д, ДЦ, Ц), по таблицам, приведенным в
ГОСТ 14209 - 85 (для трансформаторов до 100МВА), определяют допустимость
относительной нагрузки К2 и ее продолжительность.
Нагрузка более 1,5Sном
должна
быть согласована с заводом - изготовителем. Нагрузка более 2,0Sном
не
допускается.
Аварийная перегрузка разрешается в аварийных
случаях, например при выходе из строя параллельно включенного трансформатора.
Допустимая аварийная перегрузка определяется
предельно допустимыми температурами обмотки (140ْ Ñ äëÿ
òðàíñôîðìàòîðîâ
íàïðÿæåíèåì
âûøå 110ê è 160ْ Ñ
äëÿ
îñòàëüíûõ
òðàíñôîðìаторов)
и температурой масла в верхних слоях (115ْ Ñ).
Àâàðèéíûå
ïåðåãðóçêè
âûçûâàþò
ïîâûøåííûé
èçíîñ
âèòêîâîé
èçîëÿöèè,
÷òî ìîæåò ïðивести
к сокращению нормированного срока службы трансформатора, если повышенный износ
впоследствии не компенсирован нагрузкой с износом изоляции ниже нормального.
Значение допустимой аварийной перегрузки
определяется по ГОСТ 14209-85 в зависимости от начальной нагрузки К1,
температуры охлаждающей среды во время возникновения аварийной перегрузки θохл
и
длительности нагрузки. Максимальная аварийная перегрузка не должна превышать
2,0Sном .
При выборе трансформаторов, устанавливаемых на
подстанциях, по условиям аварийных перегрузок можно воспользоваться таблицей 1.
Точный расчет максимально допустимых нагрузок и
аварийных перегрузок, а также износ витковой изоляции производится на ЭВМ по
вспомогательным схемам, приведенным в ГОСТ 14209-85.
Допустимые нагрузки и аварийные перегрузки для
трансформаторов мощностью свыше 100МВА устанавливаются в инструкциях по
эксплуатации; для сухих трансформаторов и трансформаторов с негорючим жидким
диэлектриком - в стандартах или технических условиях на конкретные типы
трансформаторов (ГОСТ 14209-85).
Таблица
1
Допустимые аварийные перегрузки трансформаторов при
выборе их номинальной мощности для промышленных подстанций при предшествующей
нагрузке, не превышающей 0,8 (по ГОСТ 14209-85)
|
Продолжительность
перегрузки, ч
|
Эквивалентная
температура окружающего воздуха, ْ Ñ
|
|
-
10
|
0
|
+
10
|
+
20
|
+
30
|
|
М,
Д
|
ДЦ
|
М,
Д
|
ДЦ
|
М,
Д
|
ДЦ
|
М,
Д
|
ДЦ
|
М,
Д
|
ДЦ
|
|
0,5
|
2,
0
|
1,
8
|
2,
0
|
1,
8
|
2,
0
|
1,
7
|
2,
0
|
1,
6
|
2,
0
|
1,
5
|
|
1
|
2,
0
|
1,
7
|
2,
0
|
1,
7
|
2,
0
|
1,
6
|
2,
0
|
1,
5
|
1,
9
|
1,
5
|
|
2
|
2,
0
|
1,
6
|
1,
9
|
1,
6
|
1,
8
|
1,
5
|
1,
7
|
1,
4
|
1,
6
|
1,
4
|
|
4
|
1,
7
|
1,
5
|
1,
7
|
1,
5
|
1,
6
|
1,
4
|
1,
4
|
1,
4
|
1,
3
|
1,
3
|
|
6
|
1,
6
|
1,
5
|
1,
5
|
1,
5
|
1,
5
|
1,
4
|
1,
4
|
1,
4
|
1,
3
|
1,
3
|
|
8
|
1,
6
|
1,
5
|
1,
5
|
1,
5
|
1,
4
|
1,
4
|
1,
3
|
1,
4
|
1,
2
|
1,
3
|
|
12
|
1,
5
|
1,
5
|
1,
5
|
1,
5
|
1,
4
|
1,
4
|
1,
3
|
1,
4
|
1,
2
|
1,3
|
|
24
|
1,
5
|
1,
5
|
1,
5
|
1,
5
|
1,
4
|
1,
4
|
1,
3
|
1,
4
|
1,
2
|
1,3
|
.2 Коэффициент полезного действия
трансформаторов.
Коэффициент полезного действия (КПД) η
представляет
собой отношение активной мощности на выходе трансформатора Р2 к
активной мощности на входе трансформатора Р1
где ΣР
= Рх + β2
Рк - сумма потерь в трансформаторе.
В процессе работы трансформатора имеют место два
вида потерь:
электрические - потери, идущие на нагрев обмоток
трансформатора протекающими по ним токами:
Èç ôîðìóëû
(4) âèäíî, ÷òî ýëåêòðè÷åñêèå
ïîòåðè çàâèñÿò
îò çíà÷åíèé
ïåðâè÷íîãî I1
è âòîðè÷íîãî
I2
òîêîâ, òî åñòü
îò íàãðóçêè òðàíñôîðìàòîðà.
Äëÿ îïðåäåëåíèÿ
ýëåêòðè÷åñêèõ
ïîòåðü ïîëüçóþòñÿ
âûðàæåíèåì:

Ðê - ìîùíîñòü,
ïîòðåáëÿåìàÿ
òðàíñôîðìàòîðîì
â îïûòå êîðîòêîãî
çàìûêàíèÿ (ïðè
íîìèíàëüíûõ
òîêàõ â îáìîòêàõ).
Ýëåêòðè÷åñêèå
ïîòåðè íàçûâàþò
ïåðåìåííûìè,
òàê êàê èõ âåëè÷èíà
çàâèñèò îò íàãðóçêè
òðàíñôîðìàòîðà.
ìàãíèòíûå
- ïîòåðè â ìàãíèòîïðîâîäå
òðàíñôîðìàòîðà.
Ïðè ñòàáèëüíîì
íàïðÿæåíèè è
÷àñòîòå ìàãíèòíûé
ïîòîê ïðàêòè÷åñêè
ïîñòîÿíåí, ïîýòîìó
çíà÷åíèå ìàãíèòíûõ
ïîòåðü íåèçìåííî,
òî åñòü íå çàâèñèò
îò íàãðóçêè òðàíñôîðìàòîðà
è ðàâíî ïîòåðÿì
õîëîñòîãî õîäà
Ðõ .
Ìîùíîñòü
íà âûõîäå òðàíñôîðìàòîðà:
Ð2 = β
*
Síîì
* cosφ2
ãäå
Ðíîì
= I2
íîì
*
U2 íîì
*
√3 - íîìèíàëüíàÿ
ïîëíàÿ ìîùíîñòü
òðàíñôîðìàòîðà,
ÂÀ;
I2
íîì
è
U2 íîì
- ëèíåéíûå çíà÷åíèÿ
òîêà è íàïðÿæåíèÿ.
Ó÷èòûâàÿ,
÷òî Ð1 = Ð2 + 2Ð, ïîëó÷èì
ôîðìóëó:
Êàê âèäíî
èç ôîðìóëû (2. 7) ÊÏÄ
òðàíñôîðìàòîðà
çàâèñèò îò êîýôôèöèåíòîâ
íàãðóçêè β
è
ìîùíîñòè cosφ,
òî åñòü îò òîêà
íàãðóçêè è åå
õàðàêòåðà.
Íà ðèñóíêå
16 ïîêàçàíû ãðàôèêè
η
= ƒ (β) äëÿ ðàçëè÷íûõ
çíà÷åíèé cosφ.
Íàèáîëüøåå
çíà÷åíèå ÊÏÄ
ηmax
ñîîòâåòñòâóåò
íàãðóçêå β`,
ïðè
êîòîðîé ìàãíèòíûå
ïîòåðè ðàâíû ýëåêòðè÷åñêèì
Ðõ = (β`)2
*
Ðê, îòñþäà êîýôôèöèåíò
íàãðóçêè, ñîîòâåòñòâóþùèé
ìàêñèìàëüíîìó
ÊÏÄ:
β` = √Ðõ
/ Ðê
Îáû÷íî ÊÏÄ
òðàíñôîðìàòîðà
èìååò ìàêñèìàëüíîå
çíà÷åíèå ïðè
β`
= 0, 45 ÷ 0, 65.
ÊÏÄ òðàíñôîðìàòîðà
âûøå, ÷åì ÊÏÄ ýëåêòðè÷åñêèõ
ìàøèí, ÷òî îáúÿñíÿåòñÿ
îòñóòñòâèåì
ìåõàíè÷åñêèõ
ïîòåðü.
2.3 Ðåãóëèðîâàíèå
íàïðÿæåíèÿ òðàíñôîðìàòîðîâ
Äëÿ íîðìàëüíîé
ðàáîòû ïîòðåáèòåëåé
íåîáõîäèìî ïîääåðæàòü
îïðåäåëåííûé
óðîâåíü íàïðÿæåíèÿ
íà øèíàõ ïîäñòàíöèé.
 ýëåêòðè÷åñêèõ
ñåòÿõ ïðåäóñìàòðèâàþòñÿ
ñïîñîáû ðåãóëèðîâàíèÿ
íàïðÿæåíèÿ, îäíèì
èç êîòîðûõ ÿâëÿåòñÿ
èçìåíåíèå êîýôôèöèåíòà
òðàíñôîðìàöèè
òðàíñôîðìàòîðà.
Èçâåñòíî,
÷òî êîýôôèöèåíò
òðàíñôîðìàöèè
îïðåäåëÿåòñÿ
êàê îòíîøåíèå
ïåðâè÷íîãî íàïðÿæåíèÿ
êî âòîðè÷íîìó,
èëè
n = U1/
U2 =
w1
/ w2,
ãäå w1
è w2 -
÷èñëî âèòêîâ
ïåðâè÷íîé è âòîðè÷íîé
îáìîòîê ñîîòâåòñòâåííî.
Îòñþäà
U2
= U1 w2
/ w1.
Îáìîòêè
òðàíñôîðìàòîðîâ
ñíàáæàþòñÿ äîïîëíèòåëüíûìè
îòâåòâëåíèÿìè,
ñ ïîìîùüþ êîòîðûõ
ìîæíî èçìåíèòü
êîýôôèöèåíò
òðàíñôîðìàöèè.
Ïåðåêëþ÷åíèå
îòâåòâëåíèé
ìîæåò ïðîèñõîäèòü
áåç âîçáóæäåíèÿ
(ÏÁÂ), òî åñòü ïîñëå
îòêëþ÷åíèÿ âñåõ
îáìîòîê îò ñåòè
èëè ïîä íàãðóçêîé
(ÐÏÍ).
Óñòðîéñòâî
ÏÁÂ ïîçâîëÿåò
ðåãóëèðîâàòü
íàïðÿæåíèå â ïðåäåëàõ
± 5%, äëÿ ÷åãî òðàíñôîðìàòîðû
íåáîëüøîé ìîùíîñòè
êðîìå îñíîâíîãî
âûâîäà èìåþò
äâà îòâåòâëåíèÿ
îò îáìîòîê âûñøåãî
íàïðÿæåíèÿ: + 5% è
- 5% (ðèñóíîê 36,à). Åñëè
òðàíñôîðìàòîð
ðàáîòàë íà îñíîâíîì
âûâîäå 0 è íåîáõîäèìî
ïîâûñèòü íàïðÿæåíèå
íà âòîðè÷íîé
ñòîðîíå U2, òî, îòêëþ÷èâ
òðàíñôîðìàòîð,
ïðîèçâîäÿò ïåðåêëþ÷åíèå
íà îòâåòâëåíèå
- 5%, óìåíüøàÿ òåì
ñàìûì ÷èñëî âèòêîâ
w1.
Ðèñóíîê
36 - Ñõåìà ðåãóëèðîâàíèÿ
íàïðÿæåíèÿ ÏÁÂ:
à - îòâåòâëåíèÿ
âáëèçè íóëåâîé
òî÷êè ± 5% ñ òðåõôàçíûì
ïåðåêëþ÷àòåëåì
íà òðè ïîëîæåíèÿ;
á - îòâåòâëåíèÿ
â ñåðåäèíå îáìîòêè
± 2 ×
2,5% ñ
îäíîôàçíûìè
ïåðåêëþ÷àòåëÿìè
íà ïÿòü ïîëîæåíèé
(ôàçà À):
- íåïîäâèæíûé
êîíòàêò; 2 - ñåãìåíò
êîíòàêòíûé; 3
- âàë ïåðåêëþ÷àòåëÿ;
4 - êîíòàêòíûå
êîëüöà.
Íà òðàíñôîðìàòîðàõ
ñðåäíèõ è áîëüøèõ
ìîùíîñòåé ïðåäóñìàòðèâàþòñÿ
÷åòûðå îòâåòâëåíèÿ
±
2 × 2,5%, ïåðåêëþ÷åíèå
êîòîðûõ ïðîèçâîäèòñÿ
ñïåöèàëüíûìè
ïåðåêëþ÷àòåëÿìè
áàðàáàííîãî
òèïà, óñòàíîâëåíûìè
îòäåëüíî äëÿ êàæäîé
ôàçû (ðèñóíîê
36, á). Ðóêîÿòêà ïðèâîäà
ïåðåêëþ÷àòåëÿ
âûâåäåíà íà êðûøêó
òðàíñôîðìàòîðà.
Ïðè çàìûêàíèè
ðîëèêîì ïåðåêëþ÷àòåëÿ
êîíòàêòîâ À4
- À5 òðàíñôîðìàòîð
èìååò íîìèíàëüíûé
êîýôôèöèåíò
òðàíñôîðìàöèè.
Ïîëîæåíèå À3 -
À4 è À2 - À3 ñîîòâåòñòâóþò
óâåëè÷åíèþ êîýôôèöèåíòà
òðàíñôîðìàöèè
íà 2,5 è 5, à ïîëîæåíèÿ
À5 - À6 è À6 - À7
- óìåíüøåíèþ
íà 2,5 è 5%.
Ðèñóíîê
37 - Óñòðîéñòâî
ÐÏÍ òðàíñôîðìàòîðà:
à - ñõåìà
âêëþ÷åíèÿ ðåãóëèðóåìûõ
ñòóïåíåé; Ab - îñíîâíàÿ
îáìîòêà; bc - ñòåïåíü
ãðóáîé ðåãóëèðîâêè;
de - ñòåïåíü ïëàâíîé
ðåãóëèðîâêè; Ï
- ïåðåêëþ÷àòåëü;
È - èçáèðàòåëü;
á - ïåðåêëþ÷àþùåå
óñòðîéñòâî ÐÍÒ
- 13; 1 - ïåðåêëþ÷àòåëü;
2 - ãîðèçîíòàëüíûé
âàë; 3 - êîæóõ êîíòàêòîðîâ;
4 - âåðòèêàëüíûé
âàë; 5 - êîðîáêà ïðèâîäà;
6 - áàê òðàíñôîðìàòîðà.
Óñòðîéñòâî
ÏÁÂ íå ïîçâîëÿåò
ðåãóëèðîâàòü
íàïðÿæåíèå â òå÷åíèå
ñóòîê, òàê êàê
ýòî ïîòðåáîâàëî
áû ÷àñòîãî îòêëþ÷åíèÿ
òðàíñôîðìàòîðà
äëÿ ïðîèçâîäñòâà
ïåðåêëþ÷åíèé,
÷òî ïî óñëîâèÿì
ýêñïëóàòàöèè
ïðàêòè÷åñêè
íåäîïóñòèìî.
Îáû÷íî ÏÁ èñïîëüçóåòñÿ
òîëüêî äëÿ ñåçîííîãî
ðåãóëèðîâàíèÿ
íàïðÿæåíèÿ.
Ðåãóëèðîâàíèå
ïîä íàãðóçêîé
(ÐÏÍ) ïîçâîëÿåò
ïåðåêëþ÷àòü îòâåòâëåíèÿ
îáìîòêè òðàíñôîðìàòîðà
áåç ðàçðûâà öåïè.
Óñòðîéñòâî ÐÏÍ
ïðåäóñìàòðèâàåò
ðåãóëèðîâàíèå
íàïðÿæåíèÿ â ðàçëè÷íûõ
ïðåäåëàõ â çàâèñèìîñòè
îò ìîùíîñòè è
íàïðÿæåíèÿ òðàíñôîðìàòîðà
(îò ± 10 äî ± 16% ñòóïåíÿìè
ïðèáëèçèòåëüíî
ïî 1,5%).
Ðåãóëèðîâî÷íûå
ñòóïåíè âûïîëíÿþòñÿ
íà ñòîðîíå ÂÍ,
òàê êàê ìåíüøèé
ïî çíà÷åíèþ òîê
ïîçâîëÿåò îáëåã÷èòü
ïåðåêëþ÷àþùåå
óñòðîéñòâî. Äëÿ
ðàñøèðåíèÿ äèàïàçîíà
ðåãóëèðîâàíèÿ
áåç óâåëè÷åíèÿ
÷èñëà îòâåòâëåíèé
ïðèìåíÿþòñÿ ñòóïåíè
ãðóáîé è òîíêîé
ðåãóëèðîâêè (ðèñóíîê
37).
Íàèáîëüøèé
êîýôôèöèåíò
òðàíñôîðìàöèè
ïîëó÷àåòñÿ, åñëè
ïåðåêëþ÷àòåëü
Ï íàõîäèòñÿ â
ïîëîæåíèè II,
à èçáèðàòåëü
È - íà îòâåòâëåíèè
6. Íàèìåíüøèé
êîýôôèöèåíò
òðàíñôîðìàöèè
ïðè ïîëîæåíèè
ïåðåêëþ÷àòåëÿ
I, à èçáèðàòåëÿ
- íà îòâåòâëåíèè
1.
Íà ðèñóíêå
37, á ïîêàçàíà ñõåìà
ðàñïîëîæåíèÿ
ýëåìåíòîâ ïåðåêëþ÷àþùåãî
óñòðîéñòâà ÐÍÒ-13,
ïðèìåíÿåìîãî
íà òðàíñôîðìàòîðàõ
ñðåäíåé ìîùíîñòè
Ðèñóíîê
38 - Ñõåìà è ïîñëåäîâàòåëüíîñòü
ïåðåêëþ÷åíèé
óñòðîéñòâà ÐÏÍ
ñ òîêîîãðàíè÷èâàþùèìè
ñîïðîòèâëåíèÿìè
Ðèñóíîê
39
Ïåðåõîä ñ
îäíîãî îòâåòâëåíèÿ
ðåãóëèðóåìîé
îáìîòêè íà äðóãîå
îñóùåñòâëÿåòñÿ
òàê, ÷òîáû íå
ðàçðûâàòü òîê
íàãðóçêè è íå
çàìûêàòü íàêîðîòêî
âèòêè ýòîé îáìîòêè.
Ýòî äîñòèãàåòñÿ
â ñïåöèàëüíûõ
ïåðåêëþ÷àþùèõ
óñòðîéñòâàõ
ñ ðåàêòîðàìè
èëè ðåçèñòîðàìè.
Ñõåìà ñ ðåçèñòîðàìè
(ðèñóíîê 38) îáëàäàåò
ðÿäîì ïðåèìóùåñòâ
ïåðåä ñõåìîé ñ
ðåàêòîðàìè è
ïîëó÷àåò âñå
áîëåå øèðîêîå
ðàñïðîñòðàíåíèå.
Íà ðèñóíêå 38 ïîêàçàíû
ðåãóëèðîâî÷íàÿ
÷àñòü îáìîòêè
de è
ïåðåêëþ÷àþùåå
óñòðîéñòâî.
Ïîñëåäîâàòåëüíîñòü
ðàáîòû êîíòàêòîðîâ
è èçáèðàòåëåé
ïîêàçàíà â òàáëèöå
ê ðèñóíêó 38. Â èñõîäíîì
ïîëîæåíèè 0 òðàíñôîðìàòîð
ðàáîòàåò íà îòâåòâëåíèè
5, òîê íàãðóçêè
ïðîõîäèò ÷åðåç
êîíòàêò Ê1
 ïåðåêëþ÷àòåëÿõ
äàííîãî òèïà
èñïîëüçóþòñÿ
ìîùíûå ïðóæèíû,
îáåñïå÷èâàþùèå
ïåðåêëþ÷åíèå
êîíòàêòîâ êîíòàêòîðà
(< 0,15 ñ), ïîýòîìó òîêîîãðàíè÷èâàþùåå
ñîïðîòèâëåíèå
R1 è R2
ëèøü êðàòêîâðåìåííî
íàãðóæàþòñÿ
òîêîì, ÷òî ïîçâîëÿåò
óìåíüøèòü èõ
ãàáàðèòû. Êîíòàêòîðû
ðàçìåùàþòñÿ
â ãåðìåòèçèðîâàííîì
áàêå ñ ìàñëîì.
Óïðàâëåíèå ÐÏÍ
ìîæåò îñóùåñòâëÿòüñÿ
äèñòàíöèîííî
ñî ùèòà óïðàâëåíèÿ
âðó÷íóþ èëè àâòîìàòè÷åñêè.
Ðåãóëèðîâàíèå
íàïðÿæåíèÿ â àâòîòðàíñôîðìàòîðàõ
èìååò íåêîòîðóþ
îñîáåííîñòü.
Åñëè îòâåòâëåíèÿ
âûïîëíèòü â íåéòðàëüíîé
òî÷êå (ðèñóíîê
39, à), òî ýòî ïîçâîëÿåò
îáëåã÷èòü èçîëÿöèþ
ïåðåêëþ÷àþùåãî
óñòðîéñòâà è
ðàññ÷èòàòü åãî
íà ìåíüøèé òîê,
òàê êàê â îáùåé
îáìîòêå àâòîòðàíñôîðìàòîðà
ïðîõîäèò ðàçíîñòü
òîêîâ. Òàêîå ðåãóëèðîâàíèå
íàçûâàåòñÿ ñâÿçàííûì,
òî åñòü ïðè ïåðåêëþ÷åíèè
îòâåòâëåíèé
îäíîâðåìåííî
ìåíÿåòñÿ êîëè÷åñòâî
âèòêîâ ÂÍ è ÑÍ.
Ýòî ïðèâîäèò
ê ðåçêèì èçìåíåíèÿì
èíäóêöèè â ñåðäå÷íèêå
è êîëåáàíèÿõ
íàïðÿæåíèÿ íà
îáìîòêå ÍÍ.
Íåçàâèñèìîå
ðåãóëèðîâàíèå
â àâòîòðàíñôîðìàòîðå
ìîæíî îñóùåñòâëÿòü
ñ ïîìîùüþ ðåãóëèðóåìîé
îáìîòêè íà ëèíåéíîì
êîíöå ñðåäíåãî
íàïðÿæåíèÿ (ðèñóíîê
39, á).  ýòîì ñëó÷àå
ïåðåêëþ÷àþùåå
óñòðîéñòâî äîëæíî
áûòü ðàññ÷èòàíî
íà ïîëíûé íîìèíàëüíûé
òîê, à åãî èçîëÿöèÿ
- íà ïîëíîå íàïðÿæåíèå
ñðåäíåé îáìîòêè.
Ðèñóíîê
40 - Ñõåìà âêëþ÷åíèÿ
ïîñëåäîâàòåëüíîãî
ðåãóëèðîâî÷íîãî
òðàíñôîðìàòîðà
â öåïü àâòîòðàíñôîðìàòîðà
Òàêèå ïåðåêëþ÷àþùèå
óñòðîéñòâà íà
òîê 2000À ñ èçîëÿöèåé
êëàññîâ 110 è 220êÂ
ïîçâîëÿåò îáåñïå÷èòü
ÐÏÍ äëÿ àâòîòðàíñôîðìàòîðîâ
áîëüøèõ ìîùíîñòåé.
Ðåãóëèðîâàíèå
îñóùåñòâëÿåòñÿ
ñ ïîìîùüþ òðåõ
îäíîôàçíûõ ðåãóëÿòîðîâ,
èìåþùèõ ýëåêòðîïðèâîä
ñ àâòîìàòè÷åñêèì
óïðàâëåíèåì.
Äëÿ ðåãóëèðîâàíèÿ
íàïðÿæåíèÿ íà
ìîùíûõ òðàíñ-ôîðìàòîðàõ
è àâòîòðàíñôîðìàòîðàõ
ïðèìåíÿþòñÿ òàêæå
ïîñëåäîâàòåëüíûå
ðåãóëèðóåìûå
òðàíñôîðìàòîðû
(ðèñóíîê 40). Îíè
ñîñòîÿò èç ïîñëåäîâàòåëüíîãî
òðàíñôîðìàòîðà
2, êîòîðûé ââîäèò
äîáàâî÷íóþ ÝÄÑ
â îñíîâíóþ îáìîòêó
àâòîòðàíñôîðìàòîðà
1, è ðåãóëèðîâî÷íîãî
àâòîòðàíñôîðìàòîðà
3, êîòîðûé ìåíÿåò
ýòó ÝÄÑ. Ñ ïîìîùüþ
òàêèõ òðàíñôîðìàòîðîâ
ìîæíî èçìåíèòü
íå òîëüêî íàïðÿæåíèå
(ïðîäîëüíîå ðåãóëèðîâàíèå),
íî è åãî ôàçó
(ïîïåðå÷íîå ðåãóëèðîâàíèå).
Óñòðîéñòâî òàêèõ
òðàíñôîðìàòîðîâ
çíà÷èòåëüíî
ñëîæíåå, ÷åì ÐÏÍ,
ïîýòîìó îíè äîðîæå
è ïðèìåíåíèå
èõ îãðàíè÷åíî.
Ðèñóíîê
41 - Âêëþ÷åíèå ðåãóëèðîâî÷íîãî
òðàíñôîðìàòîðà
ñî ñòîðîíû ÍÍ
àâòîòðàíñôîðìàòîðà
Îäíèì èç
âèäîâ ïîñëåäîâàòåëüíûõ
ðåãóëèðîâî÷íûõ
òðàíñôîðìàòîðîâ
ÿâëÿþòñÿ ëèíåéíûå
ðåãóëÿòîðû, êîòîðûå
âêëþ÷àþòñÿ ïîñëåäîâàòåëüíî
â ëèíèþ èëè â öåïü
òðàíñôîðìàòîðà
áåç ÐÏÍ, îáåñïå÷èâàÿ
ðåãóëèðîâàíèå
íàïðÿæåíèÿ â ïðåäåëàõ
± 10 ÷
15%.
Øèðîêîå
ïðèìåíåíèå ëèíåéíûå
ðåãóëÿòîðû íàõîäÿò
ïîäñòàíöèÿõ
ñ àâòîòðàíñôîðìàòîðàìè
(ðèñóíîê 41).
Íà ñòîðîíå
ÑÍ ðåãóëèðîâàíèå
íàïðÿæåíèÿ îáåñïå÷èâàåòñÿ
âñòðîåííûì â
àâòîòðàíñôîðìàòîð
1 ÐÏÍ, à íà ñòîðîíå
ÍÍ óñòàíàâëèâàåòñÿ
ðåãóëèðîâî÷íûé
òðàíñôîðìàòîð
2, ñíàáæåííûé
àâòîìàòè÷åñêèì
ðåãóëèðîâàíèåì
íàïðÿæåíèÿ.
.4 Ðåæèìû ðàáîòû
òðàíñôîðìàòîðîâ
.4.1 Íîðìàëüíûå
ðåæèìû
Èñõîäíûì
äëÿ õàðàêòåðèñòèêè
íîðìàëüíûõ ðåæèìîâ
ÿâëÿåòñÿ íîìèíàëüíûé
ðåæèì, òî åñòü
òàêîé, ïðè êîòîðîì
ñîõðàíÿþòñÿ
íîìèíàëüíûå
çíà÷åíèÿ ÷àñòîòû,
íàïðÿæåíèÿ, òîêà
è íîìèíàëüíûå
óñëîâèÿ îõëàæäåíèÿ
ñðåäû è ìåñòà
óñòàíîâêè. Î÷åâèäíî,
÷òî â ïðîöåññå
ýêñïëóàòàöèè
âîçíèêàþò òå
èëè èíûå îòêëîíåíèÿ
îò íîìèíàëüíîãî
ðåæèìà.
Ïîâûøåíèå
òîêà ñâåðõ íîìèíàëüíîãî
çíà÷åíèÿ ïðèâîäèò
ê ïåðåãðóçêàì
òðàíñôîðìàòîðà,
êîòîðûå äåëÿòñÿ
íà äâå ãðóïïû:
ñèñòåìíûå (ïîâòîðÿþùèåñÿ)
è àâàðèéíûå. Äîïóñòèìîñòü
ïåðåãðóçîê îïðåäåëÿåòñÿ
íàãðóçî÷íîé
ñïîñîáíîñòüþ
òðàíñôîðìàòîðà,
çàëîæåííîé â
åãî êîíñòðóêöèþ.
Àâàðèéíûå
ïåðåãðóçêè áûâàþò
êðàòêîâðåìåííûå
è äëèòåëüíûå.
Êðàòêîâðåìåííûå
àâàðèéíûå ïåðåãðóçêè
ñâåðõ íîìèíàëüíîãî
òîêà ðåãëàìåíòèðóþòñÿ
òàáëèöåé 2.
Òàáëèöà
ïðèìåíèìà ê òðàíñôîðìàòîðàì
ñ ëþáîé ñèñòåìîé
îõëàæäåíèÿ, íåçàâèñèìî
îò çíà÷åíèÿ è
äëèòåëüíîñòè
ïðåäøåñòâóþùåé
íàãðóçêè, òåìïåðàòóðû
îêðóæàþùåé ñðåäû
è ìåñòà óñòàíîâêè
òðàíñôîðìàòîðà.
Äëèòåëüíûå
ïåðåãðóçêè ìàñëÿíûõ
òðàíñôîðìàòîðîâ
äîïóñêàþòñÿ
â ñîîòâåòñòâèè
ñî ñëåäóþùèì
ïðàâèëîì:
òðàíñôîðìàòîð
ìîæíî ïåðåãðóæàòü
íà 40% ñâåðõ íîìèíàëüíîãî
òîêà â òå÷åíèå
íå áîëåå ïÿòè
ñóòîê ïîäðÿä íà
âðåìÿ ìàêñèìóìîâ
íàãðóçêè îáùåé
ïðîäîëæèòåëüíîñòüþ
íå áîëåå øåñòè
÷àñîâ â ñóòêè
ïðè óñëîâèè, ÷òî
êîýôôèöèåíò
ïðåäøåñòâóþùåé
íàãðóçêè íå ïðåâûøàåò
0, 93.
Äëÿ ñóõèõ
òðàíñôîðìàòîðîâ
äëèòåëüíûå àâàðèéíûå
ïåðåãðóçêè óñòàíàâëèâàþòñÿ
çàâîäñêèìè èíñòðóêöèÿìè.
 ñîîòâåòñòâèè
ñ Ïðàâèëàìè òåõíè÷åñêîé
ýêñïëóàòàöèè
òîê â íåéòðàëè
ñóõîãî òðàíñôîðìàòîðà
íå äîëæåí ïðåâûøàòü
25% îò íîìèíàëüíîãî
òîêà îáìîòêè
òðàíñôîðìàòîðà.
Òàáëèöà
2
Ñèñòåìàòè÷åñêèå
ïåðåãðóçêè, â îòëè÷èè
îò àâàðèéíûõ,
íå ÿâëÿþòñÿ âûíóæäåííûìè
è äîïóñêàþòñÿ
ñîçíàòåëüíî,
èñõîäÿ èç ïîíÿòèÿ
íîðìàòèâíîãî
ñðîêà ñëóæáû
òðàíñôîðìàòîðà,
íàïðÿìóþ ñâÿçàííóþ
ñ íîðìàòèâíûì
èçíîñîì ïðîäîëüíîé
èçîëÿöèè îáìîòîê,
ðàññ÷èòûâàåìûì
äëÿ íîìèíàëüíîãî
ðåæèìà.
 ýêñïëóàòàöèè
ðåæèìû ðàáîòû
òðàíñôîðìàòîðà
îòëè÷àþòñÿ îò
íîìèíàëüíîãî,
ïðè÷åì â ïåðèîäû
ðàáîòû ñ íåäîãðóçîì
èçíîñ èçîëÿöèè
ïîíèæàåòñÿ ïî
ñðàâíåíèþ ñ ðàñ÷åòíûì,
è åñëè ïðè ýòîì
íå äîïóñêàòü
ïåðåãðóçîâ òðàíñôîðìàòîðà,
ñðîê ñëóæáû ìîæåò
çíà÷èòåëüíî
ïðåâûñèòü íîðìàòèâíûé,
÷òî ýêîíîìè÷åñêè
öåëåñîîáðàçíî.
Ïîýòîìó â ñëó÷àå
íåîáõîäèìîñòè
ìîæíî äîïóñêàòü
ïåðåãðóçêè òðàíñôîðìàòîðà,
íî òàêèå, ÷òîáû
ïîâûøåííûé èçíîñ
èçîëÿöèè â ÷àñû
ïåðåãðóçîê êîìïåíñèðîâàëñÿ
òàêèì åå íåäîèçíîñîì
â ÷àñû ïîíèæåííûõ
íàãðóçîê, ÷òî
ñðîê ñëóæáû èçîëÿöèè
îñòàâàëñÿ áû
áëèçêèì ê ðàñ÷åòíîìó.
Ñèñòåìàòè÷åñêèå
ïåðåãðóçêè ìîãóò
áûòü îáóñëîâëåíû
êàê íåäîãðóçêîé
ïî ñóòî÷íîìó
ãðàôèêó, òàê è
ñåçîííîé íåäîãðóçêîé.
Äîïóñòèìûå çíà÷åíèÿ
ñèñòåìíûõ ñóòî÷íûõ
ïåðåãðóçîê îïðåäåëÿþòñÿ
ïî ãðàôèêàì íàãðóçî÷íîé
ñïîñîáíîñòè,
â çàâèñèìîñòè
îò õàðàêòåðà
ñóòî÷íîãî ãðàôèêà
íàãðóçêè, òåìïåðàòóðû
îõëàæäàþùåé
ñðåäû, ïîñòîÿííîé
âðåìåíè íàãðåâà
òðàíñôîðìàòîðà
è âèäà ñèñòåìû
îõëàæäåíèÿ.
Ñåçîííûå
ñèñòåìàòè÷åñêèå
ïåðåãðóçêè ðåãëàìåíòèðóþòñÿ
ñëåäóþùèì ïðàâèëîì:
åñëè ìàêñèìóì
ñðåäíåãî ãðàôèêà
íàãðóçêè â ëåòíåå
âðåìÿ ìåíüøå íîìèíàëüíîé
òðàíñôîðìàòîðà,
òî â çèìíåå âðåìÿ
äîïóñêàåòñÿ
ïåðåãðóçêà òðàíñôîðìàòîðîâ
â ðàçìåðå 1% íà êàæäûé
1% ëåòíåé íåäîãðóçêè,
íî âñåãî íå áîëåå
÷åì íà 15%, ïðè÷åì
ñóììàðíàÿ ñèñòåìàòè÷åñêàÿ
ïåðåãðóçêà (ñóòî÷íàÿ
è ñåçîííàÿ) íå
äîëæíà ïðåâûøàòü
50%.
Íåíîðìàëüíûå
ðåæèìû ðàáîòû
òðàíñôîðìàòîðîâ
- ýòî ïîÿâëåíèå
â íèõ òîêîâ ñâåðõòîêîâ,
òî åñòü òîêîâ,
ïðåâûøàþùèõ
íîìèíàëüíûé
òîê îáìîòîê òðàíñôîðìàòîðà.
Ñâåðõòîêè
â òðàíñôîðìàòîðå
âîçíèêàþò ïðè:
· âíåøíèõ
êîðîòêèõ çàìûêàíèÿõ
- âûçûâàåòñÿ ïîâðåæäåíèåì
íà øèíàõ òðàíñôîðìàòîðà
èëè íåîòêëþ÷èâøåìñÿ
ïîâðåæäåíèåì
íà îòõîäÿùèõ
îò øèí ïðèñîåäèíåíèè.
Ïðè ýòîì
ïî òðàíñôîðìàòîðó
ïðîõîäÿò òîêè
êîðîòêîãî çàìûêàíèÿ,
êîòîðûå íàãðåâàþò
åãî îáìîòêè ñâåðõ
äîïóñòèìîãî
çíà÷åíèÿ, ÷òî
ìîæåò ïðèâåñòè
ê ïîâðåæäåíèþ
òðàíñôîðìàòîðà.
Ïîýòîìó òðàíñôîðìàòîðû
äîëæíû èìåòü
çàùèòó îò âíåøíèõ
êîðîòêèõ çàìûêàíèé,
îòêëþ÷àþùóþ
òðàíñôîðìàòîð
äëÿ ïðîòåêàþùåãî
ïî íåìó òîêà ïîâðåæäåíèÿ.
· ïåðåãðóçêàõ
- òðåáîâàíèÿ êî
âðåìåíè äåéñòâèÿ
çàùèòû îïðåäåëÿåòñÿ
òîëüêî íàãðåâîì
èçîëÿöèè îáìîòîê.
Ìàñëÿíûå
òðàíñôîðìàòîðû
äîïóñêàþò äëèòåëüíóþ
ïåðåãðóçêè ïî
òîêó íà 5%.
· êà÷àíèÿõ.
Ðàáîòà òðàíñôîðìàòîðà
ñ ïîâûøåííûì
ñâåðõ íîìèíàëüíîãî
íàïðÿæåíèåì ðåãëàìåíòèðóåòñÿ
ïðàâèëîì:
äîïóñêàåòñÿ
äëèòåëüíîå 5%-å
è êðàòêîâðåìåííîå
(íå áîëåå 6 ÷àñîâ
â ñóòêè) 10%-å ïîâûøåíèå
íàïðÿæåíèÿ ïðè
íàãðóçêå, íå ïðåâûøàþùåé
íîìèíàëüíóþ.
Ïðè íàãðóçêå,
íå ïðåâûøàþùåé
25% íîìèíàëüíîé,
äîïóñêàåòñÿ
äëèòåëüíîå ïîâûøåíèå
íàïðÿæåíèÿ äî
10% ñâåðõ íîìèíàëüíîãî.
Íåñèììåòðèÿ
íàãðóçêè èëè
ïàðàìåòðîâ ýëåêòðè÷åñêîé
ñåòè ÿâëÿåòñÿ
ïðè÷èíîé íåñèììåòðè÷íîãî
ðåæèìà ðàáîòû
òðàíñôîðìàòîðà,
äîïóñòèìîñòü
êîòîðîãî îïðåäåëÿåòñÿ
ðàñ÷åòîì. Ïðåäåëüíûì
ñëó÷àåì íåñèììåòðè÷íîãî
ðåæèìà ÿâëÿåòñÿ
ðàáîòà òðàíñôîðìàòîðà
äâóìÿ ôàçàìè
(àñèììåòðè÷íûé
ðåæèì). Íà ïðàêòèêå
äëÿ ðàáîòû äâóìÿ
ôàçàìè ïðèãîäíû
òîëüêî òðàíñôîðìàòîðû
ñ äâóìÿ ñõåìàìè
ñîåäèíåíèÿ îáìîòîê:
çâåçäà ñ çàçåìëåííîé
íåéòðàëüþ íà
ñòîðîíå ÂÍ è òðåóãîëüíèê
íà ñòîðîíå ÍÍ
ëèáî òðåóãîëüíèê
íà îáåèõ ñòîðîíàõ.
Ââèäó òîãî,
÷òî â çàçåìëÿþùåé
íåéòðàëè òðàíñôîðìàòîðà,
ðàáîòàþùåãî
äâóìÿ ôàçàìè,
ìîæåò â 1,73 ðàçà
ïðåâûñèòü òîê
òðàíñôîðìàòîðà,
òàêîé ðåæèì äîïóñòèì
ëèøü ïðè íàäåæíîì
çàçåìëåíèè íåéòðàëè,
ðàññ÷èòàííîì
íà äëèòåëüíîå
ïðîòåêàíèå óêàçàííîãî
òîêà. Ïîâðåæäåííóþ
ôàçó òðàíñôîðìàòîðà
äîïóñêàåòñÿ
îñòàâëÿòü ïîä
íàïðÿæåíèåì òîëüêî
â òîì ñëó÷àå, åñëè
ïîâðåæäåíèå ÿâëÿåòñÿ
îáðûâîì.
Ðàñïîëàãàåìàÿ
ìîùíîñòü òðàíñôîðìàòîðà
â íåñèììåòðè÷íîì
ðåæèìå óìåíüøàåòñÿ
ñ óâåëè÷åíèåì
àñèììåòðèè òîêîâ
è íàõîäèòñÿ â
ïðåäåëàõ îò 58 äî
66,7% åãî íîìèíàëüíîé
ìîùíîñòè. Äëÿ
ñíèæåíèÿ íåñèììåòðèè
òîêîâ ðåêîìåíäóåòñÿ
ïàðàëëåëüíî íåïîëíîôàçíîìó
òðàíñôîðìàòîðó
âêëþ÷àòü òðàíñôîðìàòîð,
ðàáîòàþùèé òðåìÿ
ôàçàìè. Ïðè ýòîì
ñëåäóåò ïîìíèòü,
÷òî ó ïîëíîôàçíîãî
òðàíñôîðìàòîðà
â íàèáîëüøåé
ñòåïåíè çàãðóæåíà
ôàçà, îòñóòñòâóþùàÿ
ó íåïîëíîôàçíîãî.
Ñóììàðíàÿ ðàñïîëàãàåìàÿ
ìîùíîñòü îáîèõ
òðàíñôîðìàòîðîâ
ìîæåò áûòü ïðè
ýòîì ïîâûøåíà
çà ñ÷åò óñòàíîâêè
íà íèõ íåîäèíàêîâûõ
êîýôôèöèåíòîâ
òðàíñôîðìàöèè:
ó ïîëíîôàçíîãî
ïîíèæàþùåãî
òðàíñôîðìàòîðà
îí äîëæåí áûòü
áîëüøå, ÷åì ó íåïîëíîôàçíîãî.
.4.2 Ïàðàëëåëüíàÿ
ðàáîòà òðàíñôîðìàòîðà
Äëÿ âêëþ÷åíèÿ
òðàíñôîðìàòîðîâ
ñ îäèíàêîâûìè
íîìèíàëüíûìè
íàïðÿæåíèÿìè
íà âñåõ ñòîðîíàõ
íà ïàðàëëåëüíóþ
ðàáîòó, íåîáõîäèìî
îáåñïå÷èòü ñîáëþäåíèå
ñëåäóþùèõ óñëîâèé:
· òîæäåñòâåííîñòü
ñõåì è ãðóïï ñîåäèíåíèÿ
îáìîòîê;
· ðàâåíñòâî
êîýôôèöèåíòîâ
òðàíñôîðìàöèè;
· ðàâåíñòâî
íàïðÿæåíèé êîðîòêîãî
çàìûêàíèÿ.
Íàèáîëåå
æåñòêèì ÿâëÿåòñÿ
ïåðâîå óñëîâèå.
Ïðè âêëþ÷åíèè
òðàíñôîðìàòîðîâ
íà ïàðàëëåëüíóþ
ðàáîòó òðàíñôîðìàòîðîâ
ñ ðàçíûìè ãðóïïàìè
ñîåäèíåíèé ìîæåò
ïðèâåñòè ê êàòàñòðîôè÷åñêèì
ïîñëåäñòâèÿì:
ïðè ýòîì ïî òðàíñôîðìàòîðàì
ìîãóò ïðîõîäèòü
óðàâíèòåëüíûå
òîêè, áëèçêèå
ê òîêàì òðåõôàçíîãî
êîðîòêîãî çàìûêàíèÿ
íà âûâîäàõ òðàíñôîðìàòîðà.
Ñëåäóåò
ïîä÷åðêíóòü, ÷òî
áûñòðîäåéñòâóþùèå
çàùèòû òðàíñôîðìàòîðîâ
- ïðîäîëüíûå äèôôåðåíöèàëüíûå
- íå ðåàãèðóþò
íà òîêè òðåõôàçíîãî
êîðîòêîãî çàìûêàíèÿ
è òðàíñôîðìàòîðû
áóäóò îòêëþ÷åíû
ðåçåðâíûìè ìàêñèìàëüíûìè
òîêîâûìè çàùèòàìè,
èìåþùèìè çíà÷èòåëüíûå
âûäåðæêè âðåìåíè.
Ýëåêòðîäèíàìè÷åñêèå
ñèëû, îáóñëîâëåííûå
óêàçàííûìè òîêàìè,
ìîãóò âûçâàòü:
· ñìåùåíèå
îáìîòîê è äðóãèå
ïîâðåæäåíèÿ òðàíñôîðìàòîðîâ;
· ïåðåãðåâ
îáìîòîê óðàâíèòåëüíûìè
òîêàìè.
Ïî ýòèì ïðè÷èíàì
ïðè âêëþ÷åíèè
òðàíñôîðìàòîðîâ
äàæå ñ îäèíàêîâûìè
ãðóïïàìè ñîåäèíåíèÿ
íà ïàðàëëåëüíóþ
ðàáîòó íåîáõîäèìî
âûïîëíÿòü ôàçèðîâêó.
Âòîðîå è
òðåòüå óñëîâèå
ìåíåå æåñòêèìè,
îäíàêî, íåîáõîäèìî
ó÷èòûâàòü òàêæå
îãðàíè÷åíèå
ïî óðàâíèòåëüíîìó
òîêó ìåæäó òðàíñôîðìàòîðàìè.
Ïîýòîìó äîïóñêàåòñÿ
ïàðàëëåëüíàÿ
ðàáîòà òðàíñôîðìàòîðîâ
ñ òàêèìè îòñòóïëåíèÿìè
îò äâóõ ïîñëåäíèõ
óñëîâèé, ïðè êîòîðûõ
íè îäíà îáìîòêà
òðàíñôîðìàòîðà
íå ïåðåãðóæàåòñÿ.
Ïîìèìî òîãî,
íåîáõîäèìî ó÷èòûâàòü
÷åòâåðòîå óñëîâèå
- ðåêîìåíäóåòñÿ
íå âêëþ÷àòü ïàðàëëåëüíî
òðàíñôîðìàòîðû,
ìîùíîñòè êîòîðûõ
ðàçëè÷àþòñÿ
áîëåå ÷åì â òðè
ðàçà.
Íåñîáëþäåíèå
ëþáîãî èç ïåðå÷èñëåííûõ
óñëîâèé (êðîìå
ïåðâîãî) ïðèâîäèò
ê âîçíèêíîâåíèþ
óðàâíèòåëüíîãî
òîêà, ïðîòåêàþùåãî
ìåæäó òðàíñôîðìàòîðàìè,
÷òî âëå÷åò çà
ñîáîé íåïðîïîðöèîíàëüíîå
èõ íîìèíàëüíûì
ìîùíîñòÿì ðàñïðåäåëåíèå
íàãðóçêè. Â ðåçóëüòàòå
ïðè íîìèíàëüíîé
çàãðóçêå îíîãî
èç òðàíñôîðìàòîðîâ
âòîðîé îêàçûâàåòñÿ
íåäîãðóæåííûì
è îáùàÿ ðàñïðåäåëèòåëüíàÿ
ìîùíîñòü òðàíñôîðìàòîðîâ
ñòàíîâèòñÿ íèæå
ñóììû èõ íîìèíàëüíûõ
ìîùíîñòåé.
.4.3 Âêëþ÷åíèå
è îòêëþ÷åíèå
òðàíñôîðìàòîðà
Âêëþ÷åíèå
òðàíñôîðìàòîðîâ,
êàê ïðàâèëî, ïðîèçâîäèòñÿ
ñî ñòîðîíû ïèòàíèÿ
íà õîëîñòîì õîäó
òîë÷êîì íà ïîëíîå
íàïðÿæåíèå ñåòè.
Ïðè òàêîì
âêëþ÷åíèè òðàíñôîðìàòîðà
âîçíèêàåò ïåðåõîäíîé
ïðîöåññ, îáóñëîâëåííûé
èçìåíåíèåì ìàãíèòíîãî
ïîòîêà â ñåðäå÷íèêå
îò íà÷àëüíîãî
çíà÷åíèÿ. Íà÷àëüíîå
(îñòàòî÷íîå) çíà÷åíèå
ïîòîêà ìîæåò
äîñòèãàòü ïîëîâèíû
åãî íîìèíàëüíîãî
çíà÷åíèÿ.
Ïðè áîëüøîì
îñòàòî÷íîì çíà÷åíèè
ïîòîêà, ñîâïàäàþùåì
ïî çíàêó ñ ïîòîêîì,
âîçíèêøèì ïðè
âêëþ÷åíèè, àìïëèòóäà
ñóììàðíîãî ïîòîêà
â ñåðäå÷íèêå
÷åðåç ïîëîâèíó
ïåðèîäà äîñòèãàåò
2,5-êðàòíîãî çíà÷åíèÿ
àìïëèòóäû íîðìàëüíîãî
çíà÷åíèÿ. Òàêîå
óâåëè÷åíèå ñóììàðíîãî
ïîòîêà ïðèâîäèò
ê íàñûùåíèþ ñòàëè
ìàãíèòîïðîâîäà
è çíà÷èòåëüíîìó,
äî 100 ðàç, âîçðàñòàíèþ
íàìàãíè÷èâàþùåãî
òîêà òðàíñôîðìàòîðà.
Äàííîå ÿâëåíèå
íàçûâàþò áðîñêîì
íàìàãíè÷èâàþùåãî
òîêà òðàíñôîðìàòîðà.
Íàìàãíè÷èâàþùèé
òîê ïðè ýòîì ìîæåò
çíà÷èòåëüíî
ïðåâûøàòü íîìèíàëüíûé
òîê òðàíñôîðìàòîðà,
îêàçûâàÿ íà ïîñëåäíèé
òàêîå æå âîçäåéñòâèå,
÷òî è òîê êîðîòêîãî
çàìûêàíèÿ.
Îòêëþ÷åíèå
òðàíñôîðìàòîðà
ïðîèçâîäèòñÿ
ñíà÷àëà ñî ñòîðîíû
íàãðóçêè ñ ïîìîùüþ
âûêëþ÷àòåëåé,
à çàòåì - ñî ñòîðîíû
ïèòàíèÿ. Äîïóñêàåòñÿ
ïðîèçâîäèòü îòêëþ÷åíèÿ
õîëîñòîãî õîäà
ñèëîâîãî òðàíñôîðìàòîðà
ðàçúåäèíèòåëÿìè,
åñëè ïîñëåäíèå
íà ýòî ðàññ÷èòàíû.
.5 Îïðåäåëåíèå
ãðóïï ñîåäèíåíèÿ
îáìîòîê òðàíñôîðìàòîðîâ
Òîæäåñòâåííîñòü
ãðóïï ñîåäèíåíèÿ
îáìîòîê òðàíñôîðìàòîðîâ
ÿâëÿþòñÿ îäíèì
èç óñëîâèé èõ
ïàðàëëåëüíîé
ðàáîòû. Îïðåäåëèòü
ãðóïïó ñîåäèíåíèÿ
îáìîòîê òðàíñôîðìàòîðîâ
ìîæíî íåñêîëüêèìè
ñïîñîáàìè:
· ïîñòðîåíèåì
âåêòîðíûõ äèàãðàìì
íàïðÿæåíèé;
· ïðèìåíåíèåì
«ïîëÿðîìåòðà» è
èñòî÷íèêà ïîñòîÿííîãî
òîêà;
· èñïîëüçîâàíèåì
äâóõ âîëüòìåòðîâ
è èñòî÷íèêà
ïåðåìåííîãî òîêà;
· èçìåðåíèåì
óãëà ìåæäó âåêòîðàìè
íàïðÿæåíèé.
Äëÿ ïîñòðîåíèÿ
âåêòîðíîé äèàãðàììû
ñíà÷àëà âû÷åð÷èâàþò
ñõåìû ñîåäèíåíèÿ
îáìîòîê îáîèõ
íàïðÿæåíèé, ïðåäñòàâëÿÿ
íà íèõ íà÷àëà
è êîíöû âñåõ ôàçíûõ
îáìîòîê, à çàòåì,
àíàëèçèðóÿ âçàèìíîå
ïîëîæåíèå ôàçíûõ
ÝÄÑ â îáìîòêàõ,
ñòðîÿò ñîîòâåòñòâóþùèå
èì òðåóãîëüíèêè
èëè çâåçäû íàïðÿæåíèé.
Ïî âçàèìíîìó
ïîëîæåíèþ âåêòîðîâ
îäíîèìåííûõ
ôàçíûõ íàïðÿæåíèé
îïðåäåëÿþò óãîë
ñäâèãà âåêòîðà
ïåðâè÷íîãî íàïðÿæåíèÿ
îòíîñèòåëüíî
âåêòîðà âòîðè÷íîãî.
Ñêàçàííîå èëëþñòðèðóåòñÿ
ðèñóíêîì 42, âûïîëíåííûì
äëÿ ãðóïïû çâåçäà/
òðåóãîëüíèê-3.
Ðèñóíîê
42 - Âåêòîðíûå äèàãðàììû
íàïðÿæåíèé òðàíñôîðìàòîðà
ñ ãðóïïîé ñîåäèíåíèÿ
îáìîòîê çâåçäà/
òðåóãîëüíèê-3
Ïðèìåíåíèå
ïîëÿðîìåòðà çàêëþ÷àåòñÿ
â ôèêñàöèè íàïðàâëåíèÿ
ÝÄÑ, íàâîäèìûõ
â îáìîòêàõ íèçøåãî
íàïðÿæåíèÿ â ìîìåíòû
âêëþ÷åíèÿ èñòî÷íèêà
ïîñòîÿííîãî
òîêà, ïðèñîåäèíåííîãî
ê îáìîòêå âûñøåãî
íàïðÿæåíèÿ. Ñõåìà
îïûòà äëÿ îäíîôàçíûõ
òðàíñôîðìàòîðîâ
ïðèâåäåíà íà
ðèñóíêå 43.
Ðèñóíîê
43 - Ñõåìà ïðîâåðêè
ãðóïïû ñîåäèíåíèÿ
îáìîòîê îäíîôàçíûõ
òðàíñôîðìàòîðîâ
 êà÷åñòâå
ôèêñèðóþùåãî
ïðèáîðà ïðèìåíÿåòñÿ
ìàãíèòîýëåêòðè÷åñêèé
âîëüòìåòð ñ ñîîòâåòñòâóþùèì
ïðåäåëîì èçìåðåíèÿ.
Èñòî÷íèê ïîñòîÿííîãî
òîêà äîëæåí èìåòü
íàïðÿæåíèå â ïðåäåëàõ
îò 2 äî 12 Â. Åñëè â
ìîìåíò çàìûêàíèÿ
êëþ÷à ñòðåëêà
ãàëüâàíîìåòðà
îòêëîíèòñÿ â
ñòîðîíó ïîëîæèòåëüíûõ
çíà÷åíèé, äåëàåòñÿ
çàêëþ÷åíèå î
ñîâïàäåíèè ïîëÿðíîñòè
âûâîäîâ à - õ ñ ïîëÿðíîñòüþ
âûâîäîâ À - Õ, ÷òî
ñîîòâåòñòâóåò
ãðóïïå ñîåäèíåíèÿ
îáìîòîê íîìåð
6.
Îïèñàííûé
îïûò îïèðàåòñÿ
íà ñëåäóþùåå
ïðàâèëî: çà íà÷àëî
âòîðè÷íîé îáìîòêè
îäíîôàçíîãî
òðàíñôîðìàòîðà
ïðèíèìàåòñÿ
òàêîé å¸ âûâîä,
èç êîòîðîãî òîê
âûòåêàåò, åñëè
â ýòîò ìîìåíò
âðåìåíè îí âòåêàåò
â ïåðâè÷íóþ îáìîòêó.
 ñëó÷àå
òðåõôàçíîãî
òðàíñôîðìàòîðà
èñòî÷íèê ïîñòîÿííîãî
òîêà ïîñëåäîâàòåëüíî
ïîäêëþ÷àåòñÿ
ê çàæèìàì ÀÂ,
ÂÑ, ÀÑ. Äëÿ êàæäîãî
âàðèàíòà ïîäêëþ÷åíèÿ
èñòî÷íèêà ôèêñèðóåòñÿ
ïîëÿðíîñòü îòêëîíåíèÿ
ñòðåëêè ïðèáîðà
â ìîìåíò çàìûêàíèÿ
êëþ÷à ïðè ïîî÷åðåäíîì
ïðèñîåäèíåíèè
ïðèáîðà ê âûâîäàì
àâ, âñ, àñ. Â ðåçóëüòàòå
îïûòà ïîëó÷àåòñÿ
äåâÿòü âàðèàíòîâ
îòêëîíåíèé ñòðåëêè
ïðèáîðà. Èñïîëüçóÿ
ñïåöèàëüíóþ òàáëèöó,
ïî ïîëó÷åííîìó
ñî÷åòàíèþ çíàêîâ
îòêëîíåíèé îïðåäåëÿþò
íîìåð ãðóïïû ñîåäèíåíèÿ
îáìîòîê. Äëÿ èëëþñòðàöèè,
íà ðèñóíêå 44 ïðèâåäåíà
ñõåìà îïûòà ðåçóëüòàòîâ
äëÿ òðàíñôîðìàòîðà
ñ ãðóïïîé ñîåäèíåíèÿ
îáìîòîê íîìåð
6.
Ðèñóíîê
44 -Ñõåìà è òàáëèöà
ðåçóëüòàòîâ ïðîâåðêè
ãðóïïû ñîåäèíåíèÿ
îáìîòîê òðåõôàçíîãî
òðàíñôîðìàòîðà
Íåñìîòðÿ
íà ïðîñòîòó, ðàññìàòðèâàåìûé
ìåòîä ÿâëÿåòñÿ
âåñüìà ãðîìîçäêèì,
ïîýòîìó íà ïðàêòèêå
ñòàðàþòñÿ ïðèìåíÿòü
åãî óïðîùåííûå
âàðèàíòû (òàáëèöà
3).
Ìåòîä äâóõ
âîëüòìåòðîâ íà
ïåðåìåííîì òîêå
ïðèìåíÿåòñÿ äëÿ
òðåõôàçíûõ òðàíñôîðìàòîðîâ.
Îí îñíîâàí íà
ñðàâíåíèè ðàñ÷åòíûõ
äàííûõ ñ ðåçóëüòàòàìè
çàìåðà íàïðÿæåíèé
ìåæäó îïðåäåëåííûìè
âûâîäàìè îáìîòîê
òðàíñôîðìàòîðà.
Äëÿ ýòîãî ñîåäèíÿþò
ìåæäó ñîáîé âûâîäû
à è À, ê îáìîòêå
ÂÍ ïîäâîäÿò òðåõôàçíîå
íàïðÿæåíèå (íå
áîëåå 380Â) è ïîñëåäîâàòåëüíî
èçìåðÿþò íàïðÿæåíèÿ
ìåæäó âûâîäàìè
â è Â, â è Ñ, ñ è Â.
Ïîëó÷åííûå çíà÷åíèÿ
ñðàâíèâàþòñÿ
ñ ïðåäâàðèòåëüíî
ðàññ÷èòàííûìè
äëÿ äàííîé ãðóïïû
ñîåäèíåíèÿ ïî
ôîðìóëàì ñïåöèàëüíîé
òàáëèöû 4. Ïðè ñîâïàäåíèè
çíà÷åíèé äåëàåòñÿ
çàêëþ÷åíèå î
íîìåðå ãðóïïû
ñîåäèíåíèÿ îáìîòîê.
 òàáëèöå
4 ïîä kë
ïîíèìàþò çíà÷åíèå
êîýôôèöèåíòà
òðàíñôîðìàöèè
ëèíåéíûõ íàïðÿæåíèé.
Òàáëèöà
3
Èçìåðåíèå
óãëà ìåæäó âåêòîðàìè
íàïðÿæåíèÿ ìîæåò
áûòü îñóùåñòâëåíî
ôàçîìåòðîì èëè
ôàçîóêàçàòåëåì.
Ôàçîìåòð èçìåðÿåò
óãîë ìåæäó âåêòîðàìè
äâóõ íàïðÿæåíèé
è îáû÷íî âêëþ÷àåòñÿ
ïî ñõåìå ðèñóíêà
45. Èçìåðåííîå çíà÷åíèå
óãëà ìåæäó âåêòîðàìè
íàïðÿæåíèé ÀÂ
è îïðåäåëÿåò íîìåð
ãðóïïû ñîåäèíåíèÿ
îáìîòîê òðàíñôîðìàòîðà.
Ðèñóíîê
45 - Ñõåìà ïðîâåðêè
ãðóïïû ñîåäèíåíèÿ
îáìîòîê ñ èñïîëüçîâàíèåì
ôàçîìåòðà
Ïðè èñïîëüçîâàíèè
ôàçîóêàçàòåëÿ
ïðèáîð ïîäêëþ÷àåòñÿ
â ñîîòâåòñòâèè
ñ ðèñóíêîì 46 è
óêàçûâàåò óãîë
ìåæäó âåêòîðàìè
ôàçíîãî íàïðÿæåíèÿ
À ïåðâè÷íîé îáìîòêè
è ëèíåéíîãî àâ
âòîðè÷íîé îáìîòêè.
Ïåðåñ÷åòîì îïðåäåëÿåòñÿ
óãîë ìåæäó îäíîèìåííûìè
âåêòîðàìè íàïðÿæåíèé,
îäíîçíà÷íî ñâÿçàííûé
ñ íîìåðîì ãðóïïû
ñîåäèíåíèÿ îáìîòîê.
.6 Ôàçèðîâêà
òðàíñôîðìàòîðîâ
Ôàçèðîâêà
çàêëþ÷àåòñÿ
â ïîäáîðå è ïðîâåðêå
òîæäåñòâåííîñòè
îäíîèìåííûõ
ôàç äâóõ ôàçèðóåìûõ
òðàíñôîðìàòîðîâ,
ïîäëåæàùèõ âêëþ÷åíèþ
íà ïàðàëëåëüíóþ
ðàáîòó. Ïîä òîæäåñòâåííîñòüþ
ôàç ïîíèìàþò
ñîâïàäåíèå óãëîâîãî
ñäâèãà èõ âåêòîðîâ
íàïðÿæåíèÿ. Íåîáõîäèìîñòü
ôàçèðîâêè âîçíèêàåò
â òåõ ñëó÷àÿõ,
êîãäà, â ïðîöåññå
ñáîðêè, ìîíòàæà
èëè ðåìîíòà, ôàçû
òðàíñôîðìàòîðà
ìîãëè áûòü ïåðåñòàâëåíû
ìåñòàìè.
Ôàçèðîâêà
òàêæå îáÿçàòåëüíà
ïåðåä ïåðâûì âêëþ÷åíèåì
òðàíñôîðìàòîðà
â ñåòü.
Òàáëèöà
4
Ðèñóíîê
46 - Ñõåìà ïðîâåðêè
ãðóïïû ñîåäèíåíèÿ
îáìîòîê ñ èñïîëüçîâàíèåì
ôàçîóêàçàòåëÿ
Ðàçëè÷àþò:
) ïðåäâàðèòåëüíóþ
ôàçèðîâêó - âûïîëíÿåòñÿ
â ïðîöåññå ðåìîíòà
èëè ìîíòàæà è
îñóùåñòâëÿåòñÿ
íà òðàíñôîðìàòîðå,
íå íàõîäÿùåìñÿ
ïîä íàïðÿæåíèåì.
Åå öåëü - ïðîâåðèòü
ïðàâèëüíîñòü
ñîåäèíåíèÿ ýëåìåíòîâ
ýëåêòðè÷åñêîé
ñõåìû òðàíñôîðìàòîðà
è ñîîòâåòñòâèå
ôàêòè÷åñêîãî
âûïîëíåíèÿ ñîåäèíåíèé
ìàðêèðîâêå èëè
îáîçíà÷åíèÿì,
íàíåñåííûì íà
âûâîäû òðàíñôîðìàòîðà.
) ôàçèðîâêó,
ïðîâîäÿùóþñÿ
íåïîñðåäñòâåííî
ïåðåä âêëþ÷åíèåì
òðàíñôîðìàòîðà
â ðàáîòó - íåîáõîäèìà
äëÿ ñîãëàñîâàíèÿ
ôàç òðàíñôîðìàòîðà
ñ ôàçàìè åãî
îøèíîâêè è ðàñïðåäåëèòåëüíîãî
óñòðîéñòâà â
öåëîì.
Òàêàÿ ôàçèðîâêà
âêëþ÷àåò â ñåáÿ
òðè îïåðàöèè:
· ïðîâåðêà
ïîñëåäîâàòåëüíîñòè
èçìåíåíèÿ íàïðÿæåíèÿ
(ïîðÿäêà ÷åðåäîâàíèÿ)
ôàç âêëþ÷àåìîãî
òðàíñôîðìàòîðà;
· ïðîâåðêà
ñîâïàäåíèÿ ôàç
îäíîèìåííûõ
íàïðÿæåíèé ôàçèðóåìûõ
÷àñòåé òðàíñôîðìàòîðà
(ïðîâåðêà ôàçîñîâïàäåíèÿ);
· ïðè îòñóòñòâèè
ôàçîñîâïàäåíèÿ
- ïîñòðîåíèå âåêòîðíîé
äèàãðàììû íàïðÿæåíèé
äëÿ îïðåäåëåíèÿ
ôàçíîãî ñäâèãà
âåêòîðîâ íàïðÿæåíèÿ
îäíîèìåííûõ
ôàç ôàçèðóåìûõ
òðàíñôîðìàòîðîâ
ñ öåëüþ ïðèâåäåíèÿ
ãðóïï ñîåäèíåíèÿ
òðàíñôîðìàòîðà
ê òîæäåñòâåííîìó
âèäó.
Ïðîâåðêà
ôàçîñîâïàäåíèÿ
ÿâëÿåòñÿ ïðè ôàçèðîâêå
îñíîâíîé îïåðàöèåé,
â êîòîðîé èñïîëüçóåòñÿ
ñëåäóþùåå ïîëîæåíèå:
ïðè îòñóòñòâèè
óãëîâîãî ñäâèãà
âåêòîðîâ äâóõ
îäèíàêîâûõ ïî
âåëè÷èíå íàïðÿæåíèé
ðàçíîñòü ïîòåíöèàëîâ
ìåæäó ñîîòâåòñòâóþùèìè
èì âûâîäàìè òðàíñôîðìàòîðà
ðàâíà íóëþ.
Îïåðàöèÿ
ñ÷èòàåòñÿ óñïåøíîé
è ôàçèðîâêà çàâåðøåííîé,
åñëè ïðè èçìåðåíèÿõ
çàôèêñèðîâàíû
íóëåâûå çíà÷åíèÿ
ðàçíîñòè ïîòåíöèàëîâ
ìåæäó òðåìÿ ïàðàìè
âûâîäîâ ôàçèðóåìûõ
òðàíñôîðìàòîðîâ.
 ïðîòèâíîì ñëó÷àå
íåîáõîäèìî îïðåäåëèòü
ïðè÷èíó îòñóòñòâèÿ
ôàçîñîâïàäåíèÿ
è óñòðàíèòü åå,
ïðèâåäÿ ãðóïïû
ñîåäèíåíèÿ òðàíñôîðìàòîðîâ
ê òîæäåñòâåííîìó
âèäó, äëÿ ÷åãî
è ðåêîìåíäóåòñÿ
ïîñòðîåíèå âåêòîðíîé
äèàãðàììû íàïðÿæåíèé.
Ïðîâåðêà
ñîâïàäåíèÿ ôàç
(ôàçèðîâêà) ìîæåò
ïðîâîäèòñÿ ëèáî:
· ïðÿìûìè
ìåòîäàìè, íåïîñðåäñòâåííî
íà íàõîäÿùåéñÿ
ïîä ðàáî÷èì íàïðÿæåíèåì
îøèíîâêå òðàíñôîðìàòîðà
- ìîæåò ïðîâîäèòüñÿ
òîëüêî íà èñïðàâíûõ
òðàíñôîðìàòîðàõ
ïðè óñëîâèè, ÷òî
íåðàâåíñòâî
íàïðÿæåíèé ôàçèðóåìûõ
òðàíñôîðìàòîðîâ
íå ïðåâûøàåò
10%.
Ïðîâîäèòñÿ
ôàçèðîâêà ñ èñïîëüçîâàíèåì
âîëüòìåòðîâ (êèëîâîëüòìåòðîâ)
èëè óêàçàòåëåé
ÂÍ ñî ñòîðîíû
ÍÍ.
· êîñâåííûìè
ìåòîäàìè ñ èñïîëüçîâàíèåì
òðàíñôîðìàòîðîâ
íàïðÿæåíèÿ, ïðèñîåäèíåííûõ
ê ôàçèðóåìûì
òðàíñôîðìàòîðàì.
Êîñâåííûå
ìåòîäû ìåíåå
íàãëÿäíû, íî áîëåå
áåçîïàñíû.
.7 Òåõíè÷åñêîå
îáñëóæèâàíèå
òðàíñôîðìàòîðîâ
Äëÿ îáåñïå÷åíèÿ
ïðîäîëæèòåëüíîé
è íàäåæíîé ðàáîòû
òðàíñôîðìàòîðîâ
íåîáõîäèìî îáåñïå÷èòü:
ñîáëþäåíèå
äîïóñòèìûõ òåìïåðàòóðíûõ
è íàãðóçî÷íûõ
ðåæèìîâ, óðîâíÿ
íàïðÿæåíèÿ;
ñîáëþäåíèå
õàðàêòåðèñòèê
èçîëÿöèè è òðàíñôîðìàòîðíîãî
ìàñëà â ïðåäåëàõ
óñòàíîâëåííûõ
íîðì;
ñîäåðæàíèå
â èñïðàâíîì ñîñòîÿíèè
óñòðîéñòâ îõëàæäåíèÿ,
ðåãóëèðîâêè íàïðÿæåíèÿ,
çàùèòû ìàñëà
è ò. ï.
Óñòàíîâêà
òðàíñôîðìàòîðîâ
äîëæíà îñóùåñòâëÿòüñÿ
â ñîîòâåòñòâèè
ñ ïðàâèëàìè óñòðîéñòâà
ýëåêòðîóñòàíîâîê
è íîðìàìè òåõíè÷åñêîãî
ïðîåêòèðîâàíèÿ
ïîäñòàíöèé.
Òðàíñïîðòèðîâàíèå,
ðàçãðóçêà, õðàíåíèå,
ìîíòàæ è ââîä
â ýêñïëóàòàöèþ
òðàíñôîðìàòîðîâ
äîëæíû âûïîëíÿòüñÿ
â ñîîòâåòñòâèè
ñ ðóêîâîäÿùèìè
äîêóìåíòàìè
(èíñòðóêöèÿìè)
çàâîäîâ-èçãîòîâèòåëåé.
Äëÿ óñòàíîâêè
òðàíñôîðìàòîðîâ
íà îòêðûòîì âîçäóõå
â ìàêðîêëèìàòè÷åñêèõ
ðàéîíàõ ñ õîëîäíûì
êëèìàòîì äîëæíû
ïðèìåíÿòüñÿ òðàíñôîðìàòîðû
ñïåöèàëüíîãî
èñïîëíåíèÿ (ÕË).
Âûáîð ïàðàìåòðîâ
òðàíñôîðìàòîðîâ
äîëæåí ïðîèçâîäèòüñÿ
â ñîîòâåòñòâèè
ñ ðåæèìàìè èõ
ðàáîòû. Ïðè ýòîì
äîëæíû áûòü ó÷òåíû
êàê äëèòåëüíûå
íàãðóçî÷íûå
ðåæèìû, òàê è êðàòêîâðåìåííûå
è òîë÷êîâûå íàãðóçêè,
à òàêæå âîçìîæíûå
â ýêñïëóàòàöèè
äëèòåëüíûå ïåðåãðóçêè.
Íà äâåðÿõ
òðàíñôîðìàòîðíûõ
ïóíêòîâ è êàìåð
ñíàðóæè è âíóòðè
äîëæíû áûòü óêàçàíû
ïîäñòàíöèîííûå
íîìåðà òðàíñôîðìàòîðîâ,
à ñ íàðóæíîé ñòîðîíû
íàíåñåíû åùå
è ïðåäóïðåäèòåëüíûå
çíàêè ñîãëàñíî
òðåáîâàíèÿì
ÄÍÀÎÏ 1.1.10-1.07-01.
Íà áàêàõ
òðàíñôîðìàòîðîâ
íàðóæíîé óñòàíîâêè
äîëæíû áûòü óêàçàíû
ñòàöèîíàðíûå
(ïîäñòàíöèîííûå)
íîìåðà.
Òðàíñôîðìàòîðû
íàðóæíîé óñòàíîâêè
äîëæíû áûòü îêðàøåíû
â ñâåòëûå öâåòà
êðàñêîé áåç ìåòàëëè÷åñêèõ
äîáàâîê, óñòîé÷èâîé
ê àòìîñôåðíûì
âîçäåéñòâèÿì
è âîçäåéñòâèþ
ìàñëà.
Íà ãðóïïàõ
îäíîôàçíûõ òðàíñôîðìàòîðîâ
ïîäñòàíöèîííûé
íîìåð óêàçûâàåòñÿ
íà ñðåäíåé ôàçå.
Íà áàêè ãðóïïû
îäíîôàçíûõ òðàíñôîðìàòîðîâ
íàíîñèòñÿ ðàñöâåòêà
ôàç.
Òðàíñôîðìàòîðû
äîëæíû áûòü óñòàíîâëåíû
òàê, ÷òîáû áûëè
îáåñïå÷åíû óäîáíûå
è áåçîïàñíûå
óñëîâèÿ äëÿ íàáëþäåíèÿ
çà óðîâíåì ìàñëà
áåç ñíÿòèÿ íàïðÿæåíèÿ.
Äëÿ íàáëþäåíèÿ
çà óðîâíåì ìàñëà
â ìàñëîóêàçàòåëÿõ
äîëæíî áûòü ïðåäóñìîòðåíî
îñâåùåíèå ìàñëîóêàçàòåëåé
â òåìíîå âðåìÿ
ñóòîê, åñëè îáùåãî
îñâåùåíèÿ íåäîñòàòî÷íî.
Óðîâåíü
ìàñëà â ðàñøèðèòåëå
íåðàáîòàþùåãî
òðàíñôîðìàòîðà
äîëæåí áûòü íà
îòìåòêå, ñîîòâåòñòâóþùåé
òåìïåðàòóðå ìàñëà
òðàíñôîðìàòîðà
íà äàííûé ìîìåíò.
Ïåðñîíàë,
îáñëóæèâàþùèé
òðàíñôîðìàòîðû,
äîëæåí âåñòè
íàáëþäåíèå çà
òåìïåðàòóðîé
âåðõíèõ ñëîåâ
ìàñëà ïî òåðìîñèãíàëèçàòîðàì
è òåðìîìåòðàì,
êîòîðûìè îáîðóäóþòñÿ
òðàíñôîðìàòîðû
ñ ðàñøèðèòåëåì,
à òàêæå ïî ïîêàçàòåëÿì
ìàíîâàêóóììåòðîâ
â ãåðìåòè÷åñêèõ
òðàíñôîðìàòîðàõ,
äëÿ êîòîðûõ â ñëó÷àå
ïîâûøåíèÿ äàâëåíèÿ
â áàêå âûøå 50êÏà
(0, 5 êãñ / ñì2) íàãðóçêà
òðàíñôîðìàòîðà
äîëæíà áûòü ñíèæåíà.
Ïîòðåáèòåëü,
êîòîðûé èìååò
íà áàëàíñå è
ñàìîñòîÿòåëüíî
îáñëóæèâàåò
ìàñëîíàïîëíåííîå
îáîðóäîâàíèå,
äîëæåí õðàíèòü
íåñíèæàåìûé
áàëàíñ èçîëÿöèîííîãî
ìàñëà â îáúåìå
íå ìåíåå 110% åìêîñòè
íàèáîëüøåãî
ìàñëîíàïîëíåííîãî
àïïàðàòà.
Äëÿ òðàíñôîðìàòîðîâ,
èìåþùèõ êàòêè,
â ôóíäàìåíòàõ
äîëæíû áûòü ïðåäóñìîòðåíû
íàïðàâëÿþùèå.
Äëÿ çàêðåïëåíèÿ
òðàíñôîðìàòîðà
íà íàïðàâëÿþùèõ
äîëæíû áûòü ïðåäóñìîòðåíû
óïîðû, óñòàíîâëåííûå
ñ îáåèõ ñòîðîí
òðàíñôîðìàòîðà.
Òðàíñôîðìàòîðû
ìàññîé äî 2 òîíí,
íå ñíàáæåííûå
êàòêàìè, äîïóñêàåòñÿ
óñòàíàâëèâàòü
íåïîñðåäñòâåííî
íà ôóíäàìåíòå.
Íà ôóíäàìåíòàõ
òðàíñôîðìàòîðîâ
äîëæíû áûòü ïðåäóñìîòðåíû
ìåñòà äëÿ óñòàíîâêè
äîìêðàòîâ, ïðèìåíÿåìûõ
äëÿ ñîçäàíèÿ óêëîíà
òðàíñôîðìàòîðîâ.
Óêëîí ìàñëÿíîãî
áàêà, íåîáõîäèìûé
äëÿ îáåñïå÷åíèÿ
ïîñòóïëåíèÿ ãàçà
ê ãàçîâîìó ðåëå,
äîëæåí ñîçäàâàòüñÿ
ïóòåì óñòàíîâêè
ïîäêëàäîê ïîä
êàòêè.
Òðàíñôîðìàòîðû
äîëæíû óñòàíàâëèâàòüñÿ
òàê, ÷òîáû îòâåðñòèå
âûõëîïíîé òðóáû
íå áûëî íàïðàâëåíî
íà áëèçêî óñòàíîâëåííîå
îáîðóäîâàíèå.
Äëÿ âûïîëíåíèÿ
ýòîãî òðåáîâàíèÿ
äîïóñêàåòñÿ
óñòàíîâêà çàãðàäèòåëüíîãî
ùèòà ïðîòèâ îòâåðñòèÿ
òðóáû.
Âäîëü ïóòåé
ïåðåêàòêè, à òàêæå
ó ôóíäàìåíòîâ
òðàíñôîðìàòîðîâ
ìàññîé áîëåå
20 òîíí äîëæíû áûòü
ïðåäóñìîòðåíû
àíêåðû, ïîçâîëÿþùèå
çàêðåïëÿòü çà
íèõ ëåáåäêè, íàïðàâëÿþùèå
áëîêè, ïîëèïëàñòû,
èñïîëüçóåìûå
ïðè ïåðåêàòêå
òðàíñôîðìàòîðîâ
â îáîèõ íàïðàâëåíèÿõ
íà ñîáñòâåííûõ
êàòêàõ. Â ìåñòàõ
èçìåíåíèÿ íàïðàâëåíèÿ
äâèæåíèÿ äîëæíû
áûòü ïðåäóñìîòðåíû
ïëîùàäêè äëÿ óñòàíîâêè
äîìêðàòîâ.
Ðàññòîÿíèå
â ñâåòó ìåæäó
îòêðûòî óñòàíîâëåííûìè
òðàíñôîðìàòîðàìè
äîëæíî áûòü íå
ìåíåå 1,25ì.
Óêàçàííîå
ðàññòîÿíèå ïðèíèìàåòñÿ
äî íàèáîëåå âûñòóïàþùèõ
÷àñòåé òðàíñôîðìàòîðîâ,
ðàñïîëîæåííûõ
íà âûñîòå ìåíåå
1, 9ì îò ïîâåðõíîñòè
çåìëè.
Äëÿ òðàíñôîðìàòîðîâ,
óñòàíîâëåííûõ
âíóòðè ïîìåùåíèé,
ðàññòîÿíèÿ â
ñâåòó îò íàèáîëåå
âûñòóïàþùèõ
÷àñòåé òðàíñôîðìàòîðîâ,
ðàñïîëîæåííûõ
íà âûñîòå ìåíåå
1,9ì îò ïîëà, äîëæíû
áûòü íå ìåíåå:
à) äî çàäíåé
è áîêîâûõ ñòåí
- 0, 3ì äëÿ òðàíñôîðìàòîðîâ
ìîùíîñòüþ äî
0, 4ÌÂÀ è 0, 6ì äëÿ òðàíñôîðìàòîðîâ
áîëüøåé ìîùíîñòè;
á) ñî ñòîðîíû
âõîäà äî ïîëîòíà
äâåðè èëè âûñòóïàþùèõ
÷àñòåé ñòåíû
- 0, 6ì äëÿ òðàíñôîðìàòîðîâ
ìîùíîñòüþ äî
0,4ÌÂÀ, 0,8ì - äëÿ òðàíñôîðìàòîðîâ
áîëåå 0,4 äî 1,6ÌÂÀ
è 1ì - äëÿ òðàíñôîðìàòîðîâ
ìîùíîñòüþ áîëåå
1,6ÌÂÀ.
Íåïîñðåäñòâåííî
çà äâåðüþ êàìåðû
äîïóñêàåòñÿ
óñòàíàâëèâàòü
íà âûñîòå 1,2ì áàðüåð
(äëÿ îñìîòðà òðàíñôîðìàòîðà
ñ ïîðîãà, áåç çàõîäà
â êàìåðó).
Ïîë êàìåð
ìàñëÿíûõ òðàíñôîðìàòîðîâ
äîëæåí èìåòü
óêëîí 2% â ñòîðîíó
ìàñëîïðèåìíèêà.
 êàìåðàõ
òðàíñôîðìàòîðîâ
ìîãóò óñòàíàâëèâàòüñÿ
îòíîñÿùèåñÿ
ê íèì ðàçúåäèíèòåëè,
ïðåäîõðàíèòåëè
è âûêëþ÷àòåëè
íàãðóçêè, ðàçðÿäíèêè
è äóãîãàñÿùèå
çàçåìëÿþùèå
ðåàêòîðû, à òàêæå
îáîðóäîâàíèå
ñèñòåìû îõëàæäåíèÿ.
Êàæäàÿ êàìåðà
ìàñëÿíûõ òðàíñôîðìàòîðîâ
äîëæíà èìåòü
îòäåëüíûé âûõîä
íàðóæó èëè â ñìåæíîå
ïîìåùåíèå ñ íåñãîðàåìûì
ïîëîì, ñòåíàìè
è ïåðåêðûòèåì,
íå ñîäåðæàùåå
îãíåîïàñíûõ
è âçðûâîîïàñíûõ
ïðåäìåòîâ, àïïàðàòîâ
è ïðîèçâîäñòâ.
Ãðàâèéíàÿ
çàñûïêà ìàñëîïðèåìíèêîâ
òðàíñôîðìàòîðîâ
äîëæíà ñîäåðæàòüñÿ
â ÷èñòîòå è ïðîìûâàòüñÿ
íå ðåæå îäíîãî
ðàçà â ãîä.
Ïðè çàãðÿçíåíèè
ãðàâèéíîé çàñûïêè
(ïûëüþ, ïåñêîì è
ò.ï.) èëè çàìàñëèâàíèè
ãðàâèÿ åãî ïðîìûâêà
äîëæíà ïðîâîäèòüñÿ,
êàê ïðàâèëî, âåñíîé
è îñåíüþ.
Ïðè îáðàçîâàíèè
íà ãðàâèéíîé
çàñûïêå òâåðäûõ
îòëîæåíèé îò
íåôòåïðîäóêòîâ
òîëùèíîé áîëåå
3ìì, ïîÿâëåíèè
ðàñòèòåëüíîñòè
èëè íåâîçìîæíîñòè
åãî ïðîìûâêè äîëæíà
îñóùåñòâëÿòüñÿ
çàìåíà ãðàâèÿ.
Íà êðûøêàõ
è áàêàõ òðàíñôîðìàòîðîâ
äîïóñêàåòñÿ
óñòàíîâêà âåíòèëüíûõ
ðàçðÿäíèêîâ íå
âûøå 35êÂ, ñîîòâåòñòâóþùèõ
òðåáîâàíèÿì
ÃÎÑÒ äëÿ ðàçðÿäíèêîâ,
óñòàíîâëåííûõ
íà êðûøêå áàêà.
Òðàíñôîðìàòîðû,
âïåðâûå ââîäèìûå
â ðàáîòó, ïðè îòñóòñòâèè
ñîîòâåòñòâóþùåãî
óêàçàíèÿ çàâîäà-èçãîòîâèòåëÿ
ìîãóò íå ïîäëåæàòü
âíóòðåííåìó
îñìîòðó.
Îñìîòð ñ
ðàñêðûòèåì òðàíñôîðìàòîðà
íåîáõîäèì â ñëó÷àå
íàðóæíûõ ïîâðåæäåíèé,
äîïóùåííûõ ïðè
òðàíñïîðòèðîâêå
èëè õðàíåíèè,
è âûçûâàþùèõ
ïðåäïîëîæåíèå
âîçìîæíîñòè
âíóòðåííèõ ïîâðåæäåíèé.
Òðàíñôîðìàòîðû,
îáîðóäîâàííûå
óñòðîéñòâàìè
ãàçîâîé çàùèòû,
äîëæíû áûòü óñòàíîâëåíû
òàêèì îáðàçîì,
÷òîáû êðûøêà
(ñúåìíàÿ ÷àñòü
áàêà) èìåëà ïîäúåì
ïî íàïðàâëåíèþ
ê ãàçîâîìó ðåëå
íå ìåíåå 1%, à ìàñëîïðîâîä
ê ðàñøèðèòåëþ
- íå ìåíåå 2%. Ïîëîñòü
âûïóñêíîé òðóáû
äîëæíà áûòü ñîåäèíåíà
ñ âîçäóøíîé ïîëîñòüþ
ðàñøèðèòåëÿ.
Ê ãàçîâîìó
ðåëå òðàíñôîðìàòîðà
äîëæåí áûòü îáåñïå÷åí
áåçîïàñíûé äîñòóï
äëÿ íàáëþäåíèÿ
è îòáîðà ïðîá
ãàçà áåç ñíÿòèÿ
íàïðÿæåíèÿ. Äëÿ
ýòîãî òðàíñôîðìàòîðû,
èìåþùèå âûñîòó
îò óðîâíÿ ãîëîâêè
ðåëüñà äî êðûøêè
áàêà 3ì è áîëåå,
äîëæíû ñíàáæàòüñÿ
ñòàöèîíàðíîé
ëåñòíèöåé.
Ïðè îáñëóæèâàíèè
òðàíñôîðìàòîðîâ
äîëæíû áûòü îáåñïå÷åíû
óäîáíûå è áåçîïàñíûå
óñëîâèÿ äëÿ íàáëþäåíèÿ
çà óðîâíåì ìàñëà,
ãàçîâûì ðåëå,
à òàêæå äëÿ îòáîðà
ïðîá ìàñëà.
Îñìîòð ðàñïîëîæåííûõ
íà âûñîòå ÷àñòåé
(3ì è âûøå) òðàíñôîðìàòîðîâ
IV ãàáàðèòà
è âûøå, íàõîäÿùèõñÿ
â ýêñïëóàòàöèè,
îñóùåñòâëÿþò
ñî ñòàöèîíàðíûõ
ñòðåìÿíîê ñ ó÷åòîì
òðåáîâàíèé ÏÁÝÝ.
Ïðè íîìèíàëüíîé
íàãðóçêå òðàíñôîðìàòîðà
òåìïåðàòóðà âåðõíèõ
ñëîåâ ìàñëà íå
äîëæíà ïðåâûøàòü:
ó òðàíñôîðìàòîðîâ
ñ ñèñòåìîé îõëàæäåíèÿ
ÄÖ (ïðèíóäèòåëüíàÿ
öèðêóëÿöèÿ âîçäóõà
è ìàñëà) - 75˚Ñ;
ó òðàíñôîðìàòîðîâ
ñ ñèñòåìîé îõëàæäåíèÿ
Ì (åñòåñòâåííàÿ
öèðêóëÿöèÿ âîçäóõà
è ìàñëà) è ä (ïðèíóäèòåëüíàÿ
öèðêóëÿöèÿ âîçäóõà
è åñòåñòâåííàÿ
öèðêóëÿöèÿ ìàñëà)
- 95˚Ñ;
ó òðàíñôîðìàòîðîâ
ñ ñèñòåìîé îõëàæäåíèÿ
Ö (ïðèíóäèòåëüíàÿ
öèðêóëÿöèÿ âîäû
è ìàñëà) òåìïåðàòóðà
ìàñëà íà âõîäå
â ìàñëîîõëàäèòåëü
äîëæíà áûòü íå
âûøå 70˚Ñ.
Íà òðàíñôîðìàòîðàõ
ñ ñèñòåìîé îõëàæäåíèÿ
Ä ýëåêòðîäâèãàòåëè
âåíòèëÿòîðîâ
äîëæíû àâòîìàòè÷åñêè
âêëþ÷àòüñÿ â
ñëó÷àå äîñòèæåíèÿ
òåìïåðàòóðû ìàñëà
55˚Ñ èëè íîìèíàëüíîé
íàãðóçêè íåçàâèñèìî
îò òåìïåðàòóðû
ìàñëà äî 45-50˚Ñ, åñëè
ïðè ýòîì òîê íàãðóçêè
ìåíüøå íîìèíàëüíîãî.
Âêëþ÷åíèå
òðàíñôîðìàòîðîâ
íà íîìèíàëüíóþ
íàãðóçêó äîïóñêàåòñÿ:
ñ ñèñòåìàìè
îõëàæäåíèÿ Ì
è Ä - ïðè ëþáîé ìèíóñîâîé
òåìïåðàòóðå âîçäóõà;
ñ ñèñòåìàìè
îõëàæäåíèÿ ÄÖ
è Ö - ïðè òåìïåðàòóðå
âîçäóõà íå íèæå
ìèíóñ 25˚Ñ.
 àâàðèéíûõ
óñëîâèÿõ äîïóñêàåòñÿ
âêëþ÷åíèå òðàíñôîðìàòîðîâ
íà ïîëíóþ íàãðóçêó
íåçàâèñèìî îò
òåìïåðàòóðû îêðóæàþùåé
ñðåäû.
Äëÿ êàæäîé
ýëåêòðîóñòàíîâêè
â çàâèñèìîñòè
îò ãðàôèêà íàãðóçêè,
ñ ó÷åòîì íàäåæíîñòè
ïèòàíèÿ ïîòðåáèòåëåé
è ìèíèìàëüíûõ
ïîòåðü ýíåðãèè,
äîëæíî áûòü îïðåäåëåíî
÷èñëî îäíîâðåìåííî
ðàáîòàþùèõ òðàíñôîðìàòîðîâ.
 ðàñïðåäåëèòåëüíûõ
ñåòÿõ íàïðÿæåíèåì
äî 15ê âêëþ÷èòåëüíî
äîëæíû áûòü îðãàíèçîâàíû
èçìåðåíèÿ íàãðóçîê
è íàïðÿæåíèÿ òðàíñôîðìàòîðîâ
íå ðåæå ÷åì äâà
ðàçà â ïåðâûé ãîä
ýêñïëóàòàöèè
(â ïåðèîä ìèíèìàëüíûõ
è ìàêñèìàëüíûõ
íàãðóçîê), à â äàëüíåéøåì
- ïðè íåîáõîäèìîñòè.
Ñðîê è ïåðèîäè÷íîñòü
èçìåðåíèé óñòàíàâëèâàåò
ëèöî, îòâåòñòâåííûé
çà ýëåêòðîõîçÿéñòâî.
Óñòðîéñòâà
ðåãóëèðîâêè íàïðÿæåíèÿ
ïîä íàãðóçêîé
(ÐÏÍ) òðàíñôîðìàòîðîâ
äîëæíû áûòü â
ðàáîòå è, êàê ïðàâèëî,
ñ àâòîìàòè÷åñêèì
óïðàâëåíèåì.
Ïî ðåøåíèþ ëèöà,
îòâåòñòâåííîãî
çà ýëåêòðîõîçÿéñòâî,
äîïóñêàåòñÿ
óñòàíîâêà íåàâòîìàòè÷åñêîãî
ðåæèìà ðåãóëèðîâêè
íàïðÿæåíèÿ ïóòåì
äèñòàíöèîííîãî
ïåðåêëþ÷åíèÿ
ÐÏÍ ñ ïóëüòà óïðàâëåíèÿ,
åñëè êîëåáàíèÿ
íàïðÿæåíèÿ â ñåòè
íàõîäÿòñÿ â ïðåäåëàõ,
óäîâëåòâîðÿþùèõ
òðåáîâàíèÿ ïîòðåáèòåëåé
ýëåêòðîýíåðãèè.
Ïðè íåîáõîäèìîñòè
îòêëþ÷åíèÿ ðàçúåäèíèòåëåì
(ðàçäåëèòåëåì)
òîêà õîëîñòîãî
õîäà íåíàãðóæåííîãî
òðàíñôîðìàòîðà,
îáîðóäîâàííîãî
óñòðîéñòâîì
ÐÏÍ, ïîñëå ñíÿòèÿ
íàãðóçêè íà ñòîðîíå
ïîòðåáèòåëÿ ïåðåêëþ÷àþùåå
óñòðîéñòâî äîëæíî
áûòü óñòàíîâëåíî
â ïîëîæåíèå, ñîîòâåòñòâóþùåå
íîìèíàëüíîìó
íàïðÿæåíèþ.
Âî âðåìÿ
ïåðåêëþ÷åíèé
ÐÏÍ ïðåáûâàíèå
ïåðñîíàëà âáëèçè
òðàíñôîðìàòîðà
çàïðåùàåòñÿ.
Ïåðåêëþ÷åíèå
óñòðîéñòâà ÐÏÍ
òðàíñôîðìàòîðà,
íàõîäÿùåãîñÿ
ïîä íàïðÿæåíèåì,
âðó÷íóþ ñ ìåñòà
(ðó÷êîé, êíîïêàìè
èëè êëþ÷àìè ïðèâîäà
ÐÏÍ) çàïðåùåíî.
Ïåðåêëþ÷àòåëüíûå
óñòðîéñòâà ÐÏÍ
òðàíñôîðìàòîðîâ
ðàçðåøåíî âêëþ÷àòü
â ðàáîòó ïðè òåìïåðàòóðå
âåðõíèõ ñëîåâ
ìàñëà ìèíóñ
20˚Ñ è âûøå äëÿ ïîãðóçî÷íûõ
ðåçèñòîðíûõ
óñòðîéñòâ ÐÏÍ
è òåìïåðàòóðû
îêðóæàþùåé ñðåäû
ìèíóñ 45˚Ñ è âûøå
äëÿ ïåðåêëþ÷àþùèõ
óñòðîéñòâ ñ êîíòàêòîðîì,
ðàñïîëîæåííîì
íà îïîðíîì èçîëÿòîðå
âíå áàêà òðàíñôîðìàòîðà
è îáîðóäîâàííîì
óñòðîéñòâîì
ïîäîãðåâà.
Ýêñïëóàòàöèÿ
óñòðîéñòâ ÐÏÍ
äîëæíà áûòü îðãàíèçîâàíà
ñîãëàñíî òðåáîâàíèÿì
èíñòðóêöèé çàâîäîâ-èçãîòîâèòåëåé.
Êîëè÷åñòâî ïåðåêëþ÷åíèé,
çàôèêñèðîâàííûõ
ñ÷åò÷èêîì, óñòàíîâëåííîì
íà ïðèâîäå, íåîáõîäèìî
ðåãèñòðèðîâàòü
â ýêñïëóàòàöèîííîé
äîêóìåíòàöèè
íå ðåæå îäíîãî
ðàçà â ìåñÿö.
Ïðè ðàáîòå
ñ ïåðåãðóçêîé
òðàíñôîðìàòîðà,
èìåþùåãî óñòðîéñòâî
ÐÏÍ, îñóùåñòâëÿòü
ïåðåêëþ÷åíèå
îòâåòâëåíèé
íå äîïóñêàåòñÿ,
åñëè òîê íàãðóçêè
ïðåâûøàåò íîìèíàëüíûé
òîê ïåðåêëþ÷àþùåãî
óñòðîéñòâà.
Äëÿ ìàñëÿíûõ
òðàíñôîðìàòîðîâ
è òðàíñôîðìàòîðîâ
ñ íåãîðþ÷èì æèäêèì
äèýëåêòðèêîì
äîïóñêàåòñÿ
ïðîäîëæèòåëüíàÿ
ïåðåãðóçêà îäíîé
èëè äâóõ îáìîòîê
òîêîì, ïðåâûøàþùèì
íîìèíàëüíûé
òîê îòâåòâëåíèÿ
5%, åñëè íàïðÿæåíèÿ
íè íà îäíîé èç
îáìîòîê íå ïðåâûøàåò
íîìèíàëüíîãî
íàïðÿæåíèÿ ñîîòâåòñòâóþùåãî
îòâåòâëåíèÿ.
Ïðîäîëæèòåëüíî
äîïóñòèìûå ïåðåãðóçêè
ñóõèõ òðàíñôîðìàòîðîâ
óñòàíàâëèâàþòñÿ
â ñòàíäàðòàõ
è òåõíè÷åñêèõ
óñëîâèÿõ êîíêðåòíûõ
ãðóïï è òèïîâ
òðàíñôîðìàòîðîâ.
Äëÿ ìàñëÿíûõ
è ñóõèõ òðàíñôîðìàòîðîâ,
à òàêæå òðàíñôîðìàòîðîâ
ñ íåãîðþ÷èì æèäêèì
äèýëåêòðèêîì
äîïóñêàþòñÿ
ñèñòåìàòè÷åñêèå
ïåðåãðóçêè, çíà÷åíèå
è ïðîäîëæèòåëüíîñòü
êîòîðûõ ðåãëàìåíòèðóþòñÿ
èíñòðóêöèÿìè
çàâîäîâ-èçãîòîâèòåëåé.
 àâàðèéíûõ
ðåæèìàõ äîïóñêàåòñÿ
êðàòêîâðåìåííàÿ
ïåðåãðóçêà òðàíñôîðìàòîðîâ
âûøå íîìèíàëüíîãî
òîêà äëÿ âñåõ
ñèñòåì îõëàæäåíèÿ,
çíà÷åíèå è ïðîäîëæèòåëüíîñòü
êîòîðîãî ðåãëàìåíòèðîâàíà
ÄÑÒÓ 3463-96 è ÄÑÒÓ
2767-94.
Ââîä â ýêñïëóàòàöèþ
òðàíñôîðìàòîðà
íåîáõîäèìî îñóùåñòâëÿòü
â ñîîòâåòñòâèè
ñ èíñòðóêöèåé
çàâîäà-èçãîòîâèòåëÿ.
Âêëþ÷åíèå â ñåòü
òðàíñôîðìàòîðà
ìîæåò îñóùåñòâëÿòü
êàê ñêà÷êîì íà
ïîëíîå (íîìèíàëüíîå)
íàïðÿæåíèå, òàê
è ïîâûøåíèåì
íàïðÿæåíèÿ ñ íóëÿ.
Äîïóñêàåòñÿ
ïðîäîëæèòåëüíàÿ
ðàáîòà òðàíñôîðìàòîðîâ
(ïðè ìîùíîñòè
íå áîëåå íîìèíàëüíîé)
â ñëó÷àå ïîâûøåíèÿ
íàïðÿæåíèÿ íà
ëþáîì îòâåòâëåíèè
ëþáîé îáìîòêè
íà 10% âûøå íîìèíàëüíîãî
íàïðÿæåíèÿ äàííîãî
îòâåòâëåíèÿ.
Ïðè ýòîì íàïðÿæåíèå
íà ëþáîé îáìîòêå
òðàíñôîðìàòîðà
íå äîëæíî ïðåâûøàòü
íàèáîëüøåå ðàáî÷åå
íàïðÿæåíèå äëÿ
äàííîãî êëàññ
íàïðÿæåíèÿ.
Äîïóñêàåòñÿ
êðàòêîâðåìåííîå
ïðåâûøåíèå íàïðÿæåíèÿ
â ñîîòâåòñòâèè
ñ èíñòðóêöèåé
çàâîäà-èçãîòîâèòåëÿ.
Îñìîòð òðàíñôîðìàòîðîâ
âûïîëíÿåòñÿ â
ñîîòâåòñòâèè
ñ èíñòðóêöèÿìè
ïî èõ ýêñïëóàòàöèè.
Îñìîòð òðàíñôîðìàòîðà
(áåç åãî îòêëþ÷åíèÿ)
ïðîâîäÿò â ñðîêè:
â ýëåêòðîóñòàíîâêàõ
ñ ïîñòîÿííûì
äåæóðíûì ïåðñîíàëîì
- îäèí ðàç â ñóòêè;
â ýëåêòðîóñòàíîâêàõ
áåç ïîñòîÿííîãî
äåæóðíîãî ïåðñîíàëà
- íå ðåæå îäíîãî
ðàçà â ìåñÿö, à
â òðàíñôîðìàòîðíûõ
ïóíêòàõ - íå ðåæå
îäíîãî ðàçà â
øåñòü ìåñÿöåâ.
 çàâèñèìîñòè
îò ìåñòíûõ óñëîâèé,
êîíñòðóêöèè
è ñîñòîÿíèÿ òðàíñôîðìàòîðîâ
óêàçàííûå ñðîêè
îñìîòðîâ áåç
îòêëþ÷åíèÿ ìîãóò
áûòü èçìåíåíû
ëèöîì, îòâåòñòâåííûì
çà ýíåðãîõîçÿéñòâî.
Âíåî÷åðåäíûå
îñìîòðû òðàíñôîðìàòîðîâ
ïðîèçâîäÿòñÿ:
ïðè ðåçêîì
èçìåíåíèè òåìïåðàòóðû
íàðóæíîãî âîçäóõà;
â ñëó÷àå
îòêëþ÷åíèÿ òðàíñôîðìàòîðà
äåéñòâèåì ãàçîâîé
èëè äèôôåðåíöèàëüíîé
çàùèòû.
Ïðè îñìîòðå
òðàíñôîðìàòîðîâ
äîëæíû áûòü ïðîâåðåíû:
ïîêàçàíèÿ
òåðìîìåòðîâ è
ìàíîâàêóóììåòðîâ;
ñîñòîÿíèå
êîæóõîâ òðàíñôîðìàòîðîâ
è îòñóòñòâèå
òå÷è ìàñëà;
ñîîòâåòñòâèå
óðîâíÿ ìàñëà
â ðàñøèðèòåëå
ñîãëàñíî åãî
òåìïåðàòóðíîìó
óêàçàòåëþ;
íàëè÷èå
ìàñëà â ìàñëîíàïîëíåííûõ
ââîäàõ;
ñîñòîÿíèå
ìàñëîîõëàæäàþùèõ
è ìàñëîñáîðíûõ
óñòðîéñòâ, à òàêæå
èçîëÿòîðîâ;
ñîñòîÿíèå
îøèíîâêè è êàáåëåé;
îòñóòñòâèå
íàãðåâà êîíòàêòíûõ
ñîåäèíåíèé;
èñïðàâíîñòü
óñòðîéñòâ ñèãíàëèçàöèè
è ïðîáèâíûõ ïðåäîõðàíèòåëåé;
ñîñòîÿíèå
ñåòè çàçåìëåíèÿ;
ñîñòîÿíèå
ìàñëîî÷èñòèòåëüíûõ
óñòðîéñòâ íåïðåðûâíîé
ðåãåíåðàöèè ìàñëà,
òåðìîñèôîííûõ
ôèëüòðîâ è âëàãîïîãëîùàþùèõ
ïàòðîíîâ;
ñîñòîÿíèå
òðàíñôîðìàòîðíîãî
ïîìåùåíèÿ.
Òðàíñôîðìàòîð
äîëæåí áûòü àâàðèéíî
âûâåäåí â ðåìîíò
â ñëó÷àå âûÿâëåíèÿ:
ñèëüíîãî
íåðàâíîìåðíîãî
øóìà è ïîòðåñêèâàíèÿ
âíóòðè òðàíñôîðìàòîðà;
ïðåâûøåíèÿ
íîðìèðîâàííûõ
òåìïåðàòóð íàãðåâàíèÿ
òðàíñôîðìàòîðà
ïðè íîðìàëüíîé
íàãðóçêå è îõëàæäåíèè;
âûáðîñà
ìàñëà èç ðàñøèðèòåëÿ
èëè ðàçðûâà äèàôðàãìû
âûõëîïíîé òðóáû;
òå÷è ìàñëà
ñ ïîíèæåíèåì
åãî óðîâíÿ íèæå
óðîâíÿ ìàñëîïîêàçàòåëÿ.
Òðàíñôîðìàòîð
âûâîäèòñÿ èç
ðàáîòû òàêæå
â ñëó÷àå íåîáõîäèìîñòè
íåìåäëåííîé
çàìåíû ìàñëà
ïî ðåçóëüòàòàì
ëàáîðàòîðíûõ
èññëåäîâàíèé.
Òðàíñôîðìàòîðû
ñ ìàññîé ìàñëà
áîëåå1000êã íåîáõîäèìî
ýêñïëóàòèðîâàòü
ñ ñèñòåìîé íåïðåðûâíîé
ðåãåíåðàöèè ìàñëà
â òåðìîñèôîííûõ
èëè àäñîðáöèîííûõ
ôèëüòðàõ. Íåîáõîäèìî
ïåðèîäè÷åñêè
çàìåíÿòü ñîðáåíò
â ôèëüòðàõ ñîãëàñíî
òèïîâîé èíñòðóêöèè
ïî ýêñïëóàòàöèè
òðàíñôîðìàòîðîâ.
Ìàñëî â ðàñøèðèòåëå
òðàíñôîðìàòîðîâ,
à òàêæå â áàêàõ
èëè ðàñøèðèòåëå
óñòðîéñòâà ÐÏÍ
äîëæíî áûòü çàùèùåíî
îò íåïîñðåäñòâåííîãî
êîíòàêòà ñ îêðóæàþùèì
âîçäóõîì.
 òðàíñôîðìàòîðàõ,
îáîðóäîâàííûõ
ñïåöèàëüíûìè
óñòðîéñòâàìè,
ïðåäîòâðàùàþùèìè
óâëàæíåíèå ìàñëà,
ýòè óñòðîéñòâà
äîëæíû áûòü ïîñòîÿííî
âêëþ÷åíû íåçàâèñèìî
îò ðåæèìà ðàáîòû
òðàíñôîðìàòîðà.
Ýêñïëóàòàöèÿ
óêàçàííûõ óñòðîéñòâ
äîëæíà áûòü îðãàíèçîâàíà
â ñîîòâåòñòâèè
ñ èíñòðóêöèåé
çàâîäà-èçãîòîâèòåëÿ.
Ìàñëî íåãåðìåòè÷íûõ
ìàñëîíàïîëíåííûõ
ââîäîâ äîëæíî
áûòü çàùèùåíî
îò óâëàæíåíèÿ.
 ñëó÷àå
àâòîìàòè÷åñêîãî
îòêëþ÷åíèÿ òðàíñôîðìàòîðà
äåéñòâèåì çàùèòû
îò âíóòðåííèõ
ïîâðåæäåíèé òðàíñôîðìàòîð
ìîæíî âêëþ÷àòü
â ðàáîòó òîëüêî
ïîñëå ïðîâåäåíèÿ
îñìîòðà, èñïûòàíèé,
àíàëèçà ìàñëà,
ãàçà è óñòðàíåíèÿ
âûÿâëåííûõ äåôåêòîâ
(ïîâðåæäåíèé).
 ñëó÷àå
îòêëþ÷åíèÿ òðàíñôîðìàòîðà
îò çàùèò, íå ñâÿçàííûõ
ñ åãî âíóòðåííèì
ïîâðåæäåíèåì,
îí ìîæåò áûòü
âêëþ÷åí ñíîâà
áåç ïðîâåðîê.
 ñëó÷àå
ñðàáàòûâàíèÿ
ãàçîâîãî ðåëå
íà ñèãíàë íóæíî
ïðîâåñòè âíåøíèé
îñìîòð òðàíñôîðìàòîðà
è âçÿòü ãàç èç
ðåëå äëÿ àíàëèçà
è ïðîâåðêè íà ãîðþ÷åñòü.
Äëÿ îáåñïå÷åíèÿ
áåçîïàñíîñòè
ïåðñîíàëà ïðè
îòáîðå ãàçà èç
ãàçîâîãî ðåëå
è âûÿâëåíèÿ ïðè÷èíû
ñðàáàòûâàíèÿ
òðàíñôîðìàòîð
äîëæåí áûòü ðàçãðóæåí
è îòêëþ÷åí â êðàò÷àéøèé
ñðîê.
Åñëè ãàç
â ðåëå íå ãîðþ÷èé
è îòñóòñòâóþò
âíåøíèå ïðèçíàêè
ïîâðåæäåíèÿ - òðàíñôîðìàòîð
ìîæåò áûòü âêëþ÷åí
â ðàáîòó äî âûÿñíåíèÿ
ïðè÷èíû ñðàáàòûâàíèÿ
ãàçîâîãî ðåëå
íà ñèãíàë. Ïðîäîëæèòåëüíîñòü
ðàáîòû â ýòîì
ñëó÷àå óñòàíàâëèâàåò
ëèöî, îòâåòñòâåííîå
çà ýëåêòðîõîçÿéñòâî.
Ïî ðåçóëüòàòàì
àíàëèçà ãàçà
èç ãàçîâîãî ðåëå,
àíàëèçà ìàñëà,
äðóãèõ èçìåðåíèé
(èñïûòàííûé) íåîáõîäèìî
óñòàíîâèòü ïðè÷èíó
ñðàáàòûâàíèÿ
ãàçîâîãî ðåëå
íà ñèãíàë, îïðåäåëèòü
òåõíè÷åñêîå
ñîñòîÿíèå òðàíñôîðìàòîðà
è âîçìîæíîñòü
åãî íîðìàëüíîé
ýêñïëóàòàöèè.
Òåêóùèå
ðåìîíòû òðàíñôîðìàòîðîâ
äîëæíû áûòü ïðîâåäåíû
â çàâèñèìîñòè
îò èõ ñîñòîÿíèÿ
è â ñëó÷àå íåîáõîäèìîñòè.
Ïåðèîäè÷íîñòü
òåêóùèõ ðåìîíòîâ
óñòàíàâëèâàåò
ëèöî, îòâåòñòâåííîå
çà ýíåðãîõîçÿéñòâî.
Ðåìîíò íåîáõîäèìî
âûïîëíÿòü ñîãëàñíî
óñòàíîâëåííûì
ãðàôèêó è îáúåìàì.
Êàïèòàëüíûå
ðåìîíòû íåîáõîäèìî
ïðîâîäèòü:
òðàíñôîðìàòîðîâ
íàïðÿæåíèåì
110ê è âûøå, ìîùíîñòüþ
125ÌÂÀ è áîëåå - íå
ïîçäíåå ÷åì ÷åðåç
12 ëåò ïîñëå ââîäà
â ýêñïëóàòàöèþ
ñ ó÷åòîì ïðîôèëàêòè÷åñêèõ
èñïûòàíèé, à
â äàëüíåéøåì
- â ñëó÷àå íåîáõîäèìîñòè
â çàâèñèìîñòè
îò ðåçóëüòàòîâ
èñïûòàíèé è èõ
ñîñòîÿíèÿ;
äðóãèõ òðàíñôîðìàòîðîâ
- â çàâèñèìîñòè
îò ðåçóëüòàòîâ
èñïûòàíèé è èõ
ñîñòîÿíèÿ.
Èñïûòàíèÿ
òðàíñôîðìàòîðîâ
íåîáõîäèìî ïðîèçâîäèòü
ñ ó÷åòîì òðåáîâàíèé
çàâîäîâ-èçãîòîâèòåëåé
(òàáëèöà 1 Ïðèëîæåíèÿ
1 Ïðàâèë òåõíè÷åñêîé
ýêñïëóàòàöèè
ýëåêòðîóñòàíîâîê
ïîòðåáèòåëåé
[óòâåðæäåííûå
ïðèêàçîì Ìèíèñòåðñòâà
òîïëèâà è ýíåðãåòèêè
Óêðàèíû îò 25.07.2006 ã.
¹258]).
.8 Äèàãíîñòèêà
ñîñòîÿíèÿ òðàíñôîðìàòîðîâ
Ïîâðåæäåíèÿ
èëè îòêëîíåíèÿ
îò íîðìàëüíîãî
ðåæèìà ðàáîòû,
âîçíèêàþùèå
â ñèëîâûõ òðàíñôîðìàòîðàõ
ìîãóò áûòü âûçâàíû:
· íåäîðàáîòêîé
êîíñòðóêöèè;
· ñêðûòûìè
äåôåêòàìè;
· íàðóøåíèÿìè:
- ïðàâèë ïåðåâîçêè;
òåõíîëîãèè
ìîíòàæà;
òåõíîëîãèè
ýêñïëóàòàöèè;
· íåêà÷åñòâåííûì
ðåìîíòîì;
· óâëàæíåíèåì
ìàñëà.
Ñâîåâðåìåííîå
âûÿâëåíèå âîçíèêàþùåãî
äåôåêòà ïîçâîëÿþò
ïðèíÿòü ìåðû ïî
ïðåäóïðåæäåíèþ
åãî ðàçâèòèÿ
è ñîõðàíåíèþ
ðàáîòîñïîñîáíîãî
ñîñòîÿíèÿ òðàíñôîðìàòîðà.
Íàèáîëåå
õàðàêòåðíûìè
ïîâðåæäåíèÿìè
òðàíñôîðìàòîðîâ
ÿâëÿþòñÿ ïîâðåæäåíèÿ:
· îáìîòîê
è èçîëÿöèè;
· àêòèâíîé
ñòàëè;
· ôàðôîðîâîé
è âíóòðåííåé
èçîëÿöèè ââîäîâ;
· êîíòàêòîâ
óñòðîéñòâà äëÿ
ðåãóëèðîâàíèÿ
íàïðÿæåíèÿ;
· âñïîìîãàòåëüíûõ
óçëîâ è óñòðîéñòâ.
Äèàãíîñòèêà
ñîñòîÿíèÿ òðàíñôîðìàòîðà
íîñèò êîìïëåêñíûé
õàðàêòåð, îíà
îñóùåñòâëÿåòñÿ
íà ñòàäèè èçãîòîâëåíèÿ
òðàíñôîðìàòîðà,
ïåðåä ââîäîì åãî
â ðàáîòó è â ïðîöåññå
ýêñïëóàòàöèè.
Ïîñëå îêîí÷àíèÿ
ìîíòàæà ïåðåä
ââîäîì â ðàáîòó
ïðîâîäÿòñÿ èñïûòàíèÿ
â îáúåìå, ïðåäóñìîòðåííîì
ÏÓÝ.  ÷àñòíîñòè,
ïðîèçâîäèòñÿ:
· îïðåäåëåíèå
óñëîâèé âêëþ÷åíèÿ
òðàíñôîðìàòîðà;
· èçìåðåíèå
õàðàêòåðèñòèê
èçîëÿöèè è ñîïðîòèâëåíèÿ
èçîëÿöèè ïîñòîÿííîìó
òîêó;
· ïðîâåðêà
ðàáîòû ïåðåêëþ÷àþùåãî
óñòðîéñòâà è
ñíÿòèå êðóãîâîé
äèàãðàììû;
· èñïûòàíèå
áàêà ñ ðàäèàëüíûìè
òðóáàìè ãèäðàâëè÷åñêèì
äàâëåíèåì;
· ïðîâåðêà
ñîñòîÿíèÿ ñèëèêàãåëÿ;
· ôàçèðîâêà
òðàíñôîðìàòîðà;
· èñïûòàíèå
òðàíñôîðìàòîðíîãî
ìàñëà;
· èñïûòàíèå
âêëþ÷åíèåì òîë÷êîì
íà íîìèíàëüíîå
íàïðÿæåíèå.
Âñå ðàáîòû
ïî äèàãíîñòèêå
òðàíñôîðìàòîðîâ
â ïðîöåññå åãî
ýêñïëóàòàöèè
äåëÿòñÿ íà ÷åòûðå
ãðóïïû:
) òðåáóþùèå
ïðèêîñíîâåíèÿ
ê ðàáîòàþùåìó
òðàíñôîðìàòîðó;
) íå òðåáóþùèå
îòêëþ÷åíèÿ, íî
ñâÿçàííûå ñ íåîáõîäèìîñòüþ
ïðèêîñíîâåíèÿ
ê òðàíñôîðìàòîðó
èëè åãî âñïîìîãàòåëüíûì
óñòðîéñòâàì;
) âûïîëíÿåìûå
íà îòêëþ÷åííîì
òðàíñôîðìàòîðå;
) âûïîëíÿåìûå
íà òðàíñôîðìàòîðå,
âûâåäåííîì â
ðåìîíò.
Ê ïåðâîé
ãðóïïå ðàáîò îòíîñÿòñÿ
ïåðèîäè÷åñêèå
âíåøíèå îñìîòðû
ñ êîíòðîëåì çà
ïîêàçàòåëÿìè
ñèãíàëüíûõ óñòðîéñòâ
è ñðåäñòâ êîíòðîëÿ
è èçìåðåíèÿ. Ïðè
ïåðèîäè÷åñêèõ
îñìîòðàõ ïðîâåðÿåòñÿ
ñëåäóþùåå:
· ñîñòîÿíèå
âíåøíåé èçîëÿöèè,
òî åñòü èçîëÿòîðîâ:
íåò ëè íà íèõ
òðåùèí èëè ñêîëîâ
ôàðôîðà, êàêîâà
ñòåïåíü çàãðÿçíåíèÿ
ïîâåðõíîñòè,
íå íàáëþäàåòñÿ
ëè êîðîíèðîâàíèå;
· èñïðàâíîñòü
èçìåðèòåëüíûõ
ïðèáîðîâ, òåðìîìåòðîâ,
ìàñëîóêàçàòåëåé,
ìåìáðàíû âûõëîïíîé
òðóáû, ãàçîâîãî
ðåëå;
· íàëè÷èå
èëè îòñóòñòâèå
ïîäòåêàíèÿ ìàñëà;
· ñîñòîÿíèå
äîñòóïíûõ äëÿ
íàáëþäåíèÿ êîíòàêòíûõ
ñîåäèíåíèé.
Êî âòîðîé
ãðóïïå ìåðîïðèÿòèé
ïî äèàãíîñòèêå
ñîñòîÿíèÿ òðàíñôîðìàòîðîâ
îòíîñèòñÿ îòáîð
ïðîá ìàñëà äëÿ
ïðîâåðêè åãî ýëåêòðè÷åñêèõ
ñâîéñòâ, õèìè÷åñêîãî
èëè õðîìîòîãðàôè÷åñêîãî
àíàëèçà ðàñòâîðåííûõ
â ìàñëå ãàçîâ.
Ñþäà æå îòíîñèòñÿ
èçìåðåíèå âèáðàöèè
áàêà èëè äðóãèõ
÷àñòåé òðàíñôîðìàòîðà,
êîíòðîëü ÷àñòè÷íûõ
ðàçðÿäîâ, îòáîð
ãàçà èç ñðàáîòàâøåãî
íà ñèãíàë ãàçîâîãî
ðåëå è äð.
Òðåòüÿ ãðóïïà
ìåðîïðèÿòèé ïî
äèàãíîñòèêå
ñîñòîÿíèÿ òðàíñôîðìàòîðà,
âûïîëíÿåìûõ íà
îòêëþ÷åííîì
òðàíñôîðìàòîðå,
âêëþ÷àåò â ñåáÿ
èñïûòàíèÿ è îïðåäåëåíèå
ñîñòîÿíèÿ îáìîòîê,
ìàãíèòîïðîâîäîâ,
âûñîêîâîëüòíûõ
ââîäîâ, ïåðåêëþ÷àþùèõ
óñòðîéñòâ è âñïîìîãàòåëüíîãî
îáîðóäîâàíèÿ.
Ñþäà îòíîñÿòñÿ
âñå âèäû ïðîôèëàêòè÷åñêèõ
èñïûòàíèé, ðåâèçèè
è ò. ï.
×åòâåðòàÿ
ãðóïïà ìåðîïðèÿòèé,
ïðîâîäèìûõ íà
âûâåäåííîì â
ðåìîíò òðàíñôîðìàòîðå,
ïîäðàçóìåâàåò
ïîëíûé àíàëèç
ñîñòîÿíèÿ îòäåëüíûõ
÷àñòåé ñ öåëüþ
îïðåäåëåíèÿ èëè
óòî÷íåíèÿ îáúåìà
ðåìîíòíûõ ðàáîò.
.9 Ðåìîíò òðàíñôîðìàòîðîâ
Îòå÷åñòâåííûå
òðàíñôîðìàòîðû
ïðîñòû ïî êîíñòðóêöèè
è íàäåæíû â ðàáîòå.
Èõ óäåëüíàÿ ïîâðåæäàåìîñòü
ïî ñðàâíåíèþ
ñ äðóãèìè âèäàìè
îáîðóäîâàíèÿ
íåçíà÷èòåëüíà.
Îäíàêî äëÿ óñòðàíåíèÿ
íåïîëàäîê è ïðåäóïðåæäåíèÿ
àâàðèé òðàíñôîðìàòîðû
ïåðèîäè÷åñêè
âûâîäÿò â òåêóùèé
è êàïèòàëüíûé
ðåìîíò.
 îáúåì òåêóùåãî
ðåìîíòà âõîäÿò:
íàðóæíûé
îñìîòð;
÷èñòêà;
óñòðàíåíèå
âûÿâëåííûõ ïîâðåæäåíèé.
Ïðè ýòîì
ïðîâåðÿåòñÿ:
· ñîñòîÿíèå:
- óïëîòíåíèé
êðàíîâ;
ñèñòåì îõëàæäåíèÿ;
· ðàáîòà ìàñëîóêàçàòåëÿ;
· äåéñòâèå
ãàçîâîé çàùèòû;
· äåéñòâèå
àâòîìàòè÷åñêèõ
óñòðîéñòâ ñèñòåì
îõëàæäåíèÿ è
ïîæàðîòóøåíèÿ;
· ñòåïåíü
óâëàæíåííîñòè
ñèëèêàãåëÿ â
âîçäóõîî÷èñòèòåëå,
àäñîðáöèîííûõ
è òåðìîñèôîííûõ
ôèëüòðàõ;
· ðàáîòà
óñòðîéñòâ ðåãóëèðîâàíèÿ
íàïðÿæåíèÿ.
Ïðè òåêóùåì
ðåìîíòå:
èç îòñòîéíèêà
ðàñøèðèòåëÿ ñïóñêàåòñÿ
âëàãà è îñàäêè,
âûïàâøèå èç ìàñëà;
çàìåíÿåòñÿ
ìàñëî â ìàñëÿíîì
çàòâîðå âîçäóõîîñóøèòåëÿ;
îòáèðàþòñÿ
ïðîáû ìàñëà èç
òðàíñôîðìàòîðà
è ìàñëîíàïîëíÿåìûõ
ââîäîâ;
çàìåíÿåòñÿ
ñèëèêàãåëü, åñëè
â ìàññå çåðåí
èíäèêàòîðíîãî
ñèëèêàãåëÿ ëèëîâîé
îêðàñêè âñòðå÷àþòñÿ
çåðíà ðîçîâîãî
öâåòà;
èçìåðÿåòñÿ
ñîïðîòèâëåíèå
èçîëÿöèè îáìîòîê
è îïðåäåëÿåòñÿ
îòíîøåíèå
Èçìåðåíèÿ
âûïîëíÿþòñÿ ñ
ïîìîùüþ ìåãàîììåòðà
íà íàïðÿæåíèå
2500Â.
Òåêóùèå
ðåìîíòû ãëàâíûõ
òðàíñôîðìàòîðîâ
ñòàíöèé è ïîäñòàíöèé,
îñíîâíûõ è ðåçåðâíûõ
òðàíñôîðìàòîðîâ
ñîáñòâåííûõ
íóæä âûïîëíÿþòñÿ
íå ðåæå îäíîãî
ðàçà â ãîä, åñëè
óêàçàííûå òðàíñôîðìàòîðû
ñíàáæåíû ÐÏÍ,
ïðè îòñóòñòâèè
ÐÏÍ - íå ðåæå îäíîãî
ðàçà â äâà ãîäà.
Ïðè êàïèòàëüíîì
ðåìîíòå ïðîèçâîäèòñÿ
âñêðûòèå òðàíñôîðìàòîðà,
òùàòåëüíàÿ ïðîâåðêà
è ðåìîíò âñåõ
åãî óçëîâ è èñïûòàíèÿ.
 óñëîâèÿõ
ýêñïëóàòàöèè
êàïèòàëüíûé
ðåìîíò êðóïíûõ
òðàíñôîðìàòîðîâ
ïðîèçâîäèòñÿ
íà ìåñòå óñòàíîâêè
ñ ïðèìåíåíèåì
èíâåíòàðíûõ
ñáîðíûõ êîíñòðóêöèé.
Ðåìîíò òðàíñôîðìàòîðîâ
íåáîëüøîé ìîùíîñòè
ïðîâîäèòñÿ â ìàñòåðñêèõ
ýëåêòðè÷åñêèõ
öåõîâ ýëåêòðîñòàíöèé.
Êàïèòàëüíûé
ðåìîíò ãëàâíûõ
òðàíñôîðìàòîðîâ
ýëåêòðîñòàíöèé
è ïîäñòàíöèé,
îñíîâíûõ òðàíñôîðìàòîðîâ
ñîáñòâåííûõ
íóæä ýëåêòðîñòàíöèé
ïðîâîäÿò ïåðâûé
ðàç íå ïîçæå ÷åì
÷åðåç 8 ëåò ïîñëå
âêëþ÷åíèÿ â ðàáîòó
ñ ó÷åòîì ðåçóëüòàòîâ
ïðîôèëàêòè÷åñêèõ
èñïûòàíèé, à
â äàëüíåéøåì
ïî ìåðå íåîáõîäèìîñòè
â çàâèñèìîñòè
îò ñîñòîÿíèÿ
òðàíñôîðìàòîðà.
2.10 Ñóøêà òðàíñôîðìàòîðîâ
Êîíòðîëüíàÿ
ïîäñóøêà è ñóøêà
èçîëÿöèè òðàíñôîðìàòîðîâ,
ââîäèìûõ â ðàáîòó
ïîñëå ðåìîíòà
ïðîâîäèòñÿ íà
ðåìîíòíîé ïëîùàäêå.
Êîíòðîëüíàÿ
ïîäñóøêà ïðîâîäèòñÿ
â òåõ ñëó÷àÿõ,
êîãäà ïðîäîëæèòåëüíîñòü
ïðåáûâàíèÿ àêòèâíîé
÷àñòè íà âîçäóõå
íå ïðåâûñèëà äîïóñòèìîé,
è íåò îñíîâàíèé
ïðåäïîëàãàòü,
÷òî èçîëÿöèÿ
çíà÷èòåëüíî
óâëàæíåíà.
Ïîäñóøêà
çàêëþ÷àåòñÿ
â ïðîãðåâå àêòèâíîé
÷àñòè (öèðêóëÿöèåé
ìàñëà ÷åðåç ýëåêòðîíàãðåâàòåëè,
òîêàìè ÊÇ, ñ ïîìîùüþ
ïàðîâûõ íàãðåâàòåëåé
è äðóãèìè ñïîñîáàìè)
â ìàñëå ñ òåìïåðàòóðîé
â âåðõíåé ñëîÿõ
80˚Ñ. Â ïðîöåññå
òàêîãî ïðîãðåâà
ïåðèîäè÷åñêè
èçìåðÿþòñÿ õàðàêòåðèñòèêè
èçîëÿöèè. Ïðîãðåâ
ïðåêðàùàåòñÿ,
êîãäà õàðàêòåðèñòèêè
èçîëÿöèè áóäóò
îòâå÷àòü òðåáîâàíèÿì
íîðì, íî íå ðàíüøå
÷åì ÷åðåç 24 ÷àñà,
íå ñ÷èòàÿ âðåìåíè
íàãðåâà äî 80˚Ñ.
Ïðîäîëæèòåëüíîñòü
êîíòðîëüíîãî
ïðîãðåâà íå áîëåå
48 ÷àñîâ. Åñëè çà
ýòî âðåìÿ õàðàêòåðèñòèêè
èçîëÿöèè íå äîñòèãíóò
òðåáóåìûõ çíà÷åíèé,
òðàíñôîðìàòîð
ïîäëåæèò ñóøêå.
Ñóøêà òðàíñôîðìàòîðîâ
ïðîèçâîäèòñÿ
â òåõ ñëó÷àÿõ,
êîãäà íàðóøåíû
òðåáîâàíèÿ ñïåöèàëüíîé
èíñòðóêöèè ïî
òðàíñïîðòèðîâêå
è õðàíåíèþ òðàíñôîðìàòîðà
èëè ïðîèçîøëî
ïðÿìîå óâëàæíåíèå
èçîëÿöèè îáìîòîê.
Öåëü ñóøêè
- óäàëåíèå âëàãè
èç èçîëÿöèè ïóòåì
åå ïåðåìåùåíèÿ
èç âíóòðåííèõ
ñëîåâ ê ïîâåðõíîñòè,
êîòîðîå ïðîèñõîäèò
òåì èíòåíñèâíåå,
÷åì íèæå äàâëåíèå
îêðóæàþùåé ñðåäû
è âûøå òåìïåðàòóðà
âíóòðåííèõ ñëîåâ
èçîëÿöèè.
Ñóøêà èçîëÿöèè
òðàíñ-ôîðìàòîðîâ
ñîñòîèò â òîì,
÷òî èñêóññòâåííî
ñîçäàåòñÿ óñëî-âèÿ,
ïðè êîòîðûõ âëàãà
ïåðå-ìåùàåòñÿ
èç âíóòðåííèõ
ñëîåâ èçîëÿöèè
ê ïîâåðõíîñòè
è ñ ïîâåðõíîñòè
â îêðóæàþùóþ
ñðåäó. Ïåðåìåùåíèå
âëàãè âíóòðè
ìàòåðèàëà ïðîèñõîäèò
â ñîîòâåòñòâèè
ñ ôèçè÷åñêèìè
çàêîíàìè îò áîëåå
âëàæíûõ ñëîåâ
ê ìåíåå âëàæíûì
è îò áîëåå íàãðåòûõ
ê ìåíåå íàãðåòûì.
Ïåðåìåùåíèå âëàãè
ñ ïîâåðõíîñòè
èçîëÿöèè â îêðóæàþùóþ
ñðåäó ïðîèñõîäèò
ïîä äåéñòâèåì
ðàçíîñòè äàâëåíèÿ
ïàðà íà ïîâåðõíîñòè
èçîëÿöèîííîãî
ìàòåðèàëà è â
îêðóæàþùåé ñðåäå.
Ðèñóíîê
47 - Ñóøêà òðàíñôîðìàòîðà
â êàìåðå ïðè ïîìîùè
âîçäóõîäóâêè:
1 - âåíòèëÿòîð; 2 -
íàãðåâàòåëü;
3 - èñêðîóëîâèòåëü;
4 - óòåïëåííàÿ êàìåðà;
5 - ðåãóëèðîâî÷íûé
øèáåð; 6 - òåðìîìåòðû;
7 - òåðìîïàðû íà
îáìîòêå.
Ïðè ñóøêå
èçîëÿöèè ñóõèì
âîçäóõîì àêòèâíóþ
÷àñòü òðàíñôîðìàòîðà
ïîìåùàþò â õîðîøî
óòåïëåííóþ è
çàùèùåííóþ èçíóòðè
îò âîçãîðàíèÿ
êàìåðó (ðèñóíîê
47). Ñóõîé âîçäóõ
â êàìåðó ïîäàåòñÿ
îò âîçäóõîäóâêè
è óäàëÿåòñÿ ÷åðåç
âûòÿæíîå îòâåðñòèå,
óíîñÿ ñ ñîáîé
ïàðû âîäû. Òåìïåðàòóðà
âõîäÿùåãî â êàìåðó
âîçäóõà äîëæíà
áûòü íå âûøå 105
è âûõîäÿùåãî
íå íèæå 80-90˚Ñ. Êîíòðîëü
çà òåìïåðàòóðîé
âåäåòñÿ ïî òåðìîìåòðàì.
Êîëè÷åñòâî âîçäóõà,
ïîäàâàåìîãî
â êàìåðó çà 1 ìèíóòó,
äîëæåí áûòü â
1,5 ðàçà áîëüøå îáúåìà
êàìåðû.
Íàèáîëüøåå
ðàñïðîñòðàíåíèå
â ýêñïëóàòàöèè
ïîëó÷èë èíäèâèäóàëüíûé
ñïîñîá ñóøêè
àêòèâíîé ÷àñòè
â ñâîåì áàêå ïîä
âàêóóìîì çà ñ÷åò
òåïëà, âûäåëÿþùåãîñÿ
â ñòåíêàõ áàêà
îò âèõðåâûõ òîêîâ.
Âèõðåâûå òîêè
èíäóêòèðóþòñÿ
ñïåöèàëüíîé íàìàãíè÷èâàþùåé
îáìîòêîé, íàìàòûâàåìîé
íà áàê òðàíñôîðìàòîðà.
Äëÿ ñóøêè:
· àêòèâíóþ
÷àñòü îïóñêàþò
â ñîâåðøåííî
ñóõîé áàê;
· â ðàçëè÷íûõ
ìåñòàõ àêòèâíîé
÷àñòè óñòàíàâëèâàþò
òåðìîïàðû è òåðìîðåçèñòîðû;
· êðûøêó
è âñå îòâåðñòèÿ
â áàêå òùàòåëüíî
óïëîòíÿþò;
· ñòåíêè
áàêà óòåïëÿþò
àñáîïîëîòíîì
èëè ñòåêëîòêàíüþ;
· ñíàðóæè
ïîä òåïëîèçîëÿöèåé
óñòàíàâëèâàþò
òåðìîìåòðû.
Èíäóêòèâíóþ
îáìîòêó íàìàòûâàþò
íà áàê ñ òàêèì
ðàñ÷åòîì, ÷òîáû
â íèæíåé ÷àñòè
íàõîäèëîñü 60
-65% îáùåãî ÷èñëà
âèòêîâ, à îñòàëüíûå
- â âåðõíåé ÷àñòè.
Òàêîå ðàñïîëîæåíèå
îáìîòêè îáåñïå÷èâàåò
ðàâíîìåðíûé íàãðåâ
àêòèâíîé ÷àñòè.
Ïèòàíèå èíäóêöèîííîé
îáìîòêè îñóùåñòâëÿþò
îò òðàíñôîðìàòîðà
ìîùíîñòüþ 560-1000êÂÀ,
íàïðÿæåíèåì
380Â. Äíî áàêà ïðîãðåâàþò
ýëåêòðè÷åñêèìè
ïå÷àìè. Âðåìÿ
íàãðåâà àêòèâíîé
÷àñòè äî òåìïåðàòóðû
100-105˚Ñ çàâèñèò îò
åå ðàçìåðîâ, ìàññû
è êëàññà èçîëÿöèè.
Äëÿ òðàíñôîðìàòîðîâ
110ê îíî ñîñòàâëÿåò
30-40 ÷àñîâ, à äëÿ òðàíñôîðìàòîðîâ
220-500ê - 60-80 ÷àñîâ. Ñõåìà
ñóøêè ïðåäñòàâëåíà
íà ðèñóíêå 48.
Ðèñóíîê
48 - Ñõåìà ñóøêè
òðàíñôîðìàòîðà
â ñâîåì áàêå ïîä
âàêóóìîì:
Ïîñëå ïðîâåðêè
âàêóóìíîé ñèñòåìû
ïîäàþò íàïðÿæåíèå
íà èíäóêòèâíóþ
îáìîòêó 2, âêëþ÷àþò
ïå÷è ïîääîííîãî
ïîäîãðåâà è òåìïåðàòóðó
â áàêå äîâîäÿò
äî 100˚Ñ. Çàòåì âêëþ÷àþò
âàêóóìíûå íàñîñû
4 è îòêðûâàþò êðàí,
÷åðåç êîòîðûé
â íèæíþþ ÷àñòü
áàêà ïîäñàñûâàåòñÿ
ãîðÿ÷èé âîçäóõ,
çàáèðàåìûé èç
ïîääîííîãî ïðîñòðàíñòâà
÷åðåç ôèëüòð 5.
Ïîäñîñ âîçäóõà
ðåãóëèðóþò ñ
òàêèì ðàñ÷åòîì,
÷òîáû âàêóóì
â áàêå íå ïîäíèìàëñÿ
âûøå 0, 003ÌÏà (äëÿ òðàíñôîðìàòîðîâ
110ê è íèæå).
Äëÿ óñêîðåíèÿ
ñóøêè ðåæèì íàãðåâà
÷åðåäóþ ñî ñíÿòèåì
âàêóóìà è áûñòðûì
îõëàæäåíèåì
âåðõíèõ ñëîåâ
èçîëÿöèè, ÷òîáû
ñîçäàòü ïåðåïàä
òåìïåðàòóð ìåæäó
âíóòðåííèìè
è âíåøíèìè ñëîÿìè
èçîëÿöèè.
Òðàíñôîðìàòîðû,
ïîëó÷åííûå îò
èçãîòîâèòåëÿ
èëè ïðîøåäøèå
êàïèòàëüíûé
ðåìîíò ïîñëå ïðåäâàðèòåëüíîé
ïðîâåðêè ìîãóò
áûòü âêëþ÷åíû
ïîä ðàáî÷åå íàïðÿæåíèå
áåç ñóøêè ìàñëà.
Ñîãëàñíî
ñïåöèàëüíîé èíñòðóêöèè
ïî êîíòðîëþ ñîñòîÿíèÿ
òðàíñôîðìàòîðîâ
ïåðåä ââîäîì â
ýêñïëóàòàöèþ,
ñèëîâûå òðàíñôîðìàòîðû
äåëÿòñÿ íà ÷åòûðå
ãðóïïû:
I
ãðóïïà
- òðàíñôîðìàòîðû
ñ Síîì
< 2500êÂÀ, íàïðÿæåíèåì
äî 35ê âêëþ÷èòåëüíî
ñ ðàñøèðèòåëåì,
à òàêæå òðàíñôîðìàòîðû
áåç ðàñøèðèòåëÿ
ìîùíîñòüþ äî
100êÂÀ âêëþ÷èòåëüíî,
òðàíñïîðòèðóåìûå
ñ ìàñëîì
II
ãðóïïà
- òðàíñôîðìàòîðû
ñ Síîì
< 10000êÂÀ, íàïðÿæåíèåì
äî 35ê âêëþ÷èòåëüíî,
òðàíñïîðòèðóåìûå
ñ ìàñëîì, áåç
ðàñøèðèòåëÿ.
III
ãðóïïà
- òðàíñôîðìàòîðû
ñ Síîì
≥10000êÂÀ,
íàïðÿæåíèåì äî
35ê âêëþ÷èòåëüíî,
òðàíñïîðòèðóåìûå
ñ ìàñëîì, áåç
ðàñøèðèòåëÿ.
IV
ãðóïïà
- òî æå, ÷òî è III
ãðóïïà,
íî íàïðÿæåíèåì
110ê è âûøå.
.11 Èñïûòàíèÿ
òðàíñôîðìàòîðà
Òðàíñôîðìàòîðû
èñïûòûâàþòñÿ
ïî ñëåäóþùèì
ïóíêòàì:
1. Îïðåäåëåíèå
óñëîâèé âêëþ÷åíèÿ
òðàíñôîðìàòîðà.
Ñëåäóåò ïðîèçâîäèòü
â ñîîòâåòñòâèè
ñ èíñòðóêöèåé
«Òðàíñôîðìàòîðû
ñèëîâûå. Òðàíñïîðòèðîâàíèå,
ðàçãðóçêà, õðàíåíèå,
ìîíòàæ è ââîä
â ýêñïëóàòàöèþ»
(ÐÄ 16. 363 - 87).
2. Èçìåðåíèå
õàðàêòåðèñòèê
èçîëÿöèè. Äîïóñòèìûå
çíà÷åíèÿ ñîïðîòèâëåíèÿ
èçîëÿöèè R60
,
êîýôôèöèåíò
àáñîðáöèè R60
/R15
, òàíãåíñ óãëà
äèýëåêòðè÷åñêèõ
ïîòåðü è îòíîøåíèÿ
C2/C50
è
∆C/C
ðåãëàìåíòèðóåòñÿ
ïî ï. 1
3. Èñïûòàíèÿ
ïîâûøåííûì íàïðÿæåíèåì
ïðîìûøëåííîé
÷àñòîòû:
· èçîëÿöèè
îáìîòîê âìåñòå
ñ ââîäàìè. Èñïûòàòåëüíûå
íàïðÿæåíèÿ ïðèâåäåíû
â òàáëèöå 5. Ïðîäîëæèòåëüíîñòü
ïðèëîæåíèÿ íîðìèðîâàííîãî
íàïðÿæåíèÿ - 1 ìèíóòà.
Èñïûòàíèå
ïîâûøåííûì íàïðÿæåíèåì
ïðîìûøëåííîé
÷àñòîòû èçîëÿöèè
îáìîòîê ìàñëîíàïîëíåííûõ
òðàíñôîðìàòîðîâ
ïðè ââîäå â ýêñïëóàòàöèþ
íå îáÿçàòåëüíî.
Èñïûòàíèå
ïîâûøåííûì íàïðÿæåíèåì
ïðîìûøëåííîé
÷àñòîòû èçîëÿöèè
îáìîòîê ñóõèõ
òðàíñôîðìàòîðîâ
è ïðîèçâîäèòñÿ
ïî íîðìàì òàáëèöû
5 äëÿ àïïàðàòîâ
ñ îáëåã÷åííîé
èçîëÿöèåé.
Èìïîðòíûå
òðàíñôîðìàòîðû
ðàçðåøàåòñÿ èñïûòûâàòü
íàïðÿæåíèÿìè,
óêàçàííûìè â
òàáëèöå 5, ëèøü
â òåõ ñëó÷àÿõ,
åñëè îíè íå ïðåâûøàþò
íàïðÿæåíèÿ, êîòîðûì
òðàíñôîðìàòîð
áûë èñïûòàí íà
çàâîäå.
Èçîëÿöèÿ
èìïîðòíûõ òðàíñôîðìàòîðîâ,
êîòîðóþ ïîñòàâùèê
èñïûòàë íàïðÿæåíèåì
íèæå óêàçàííîãî
â ÃÎÑÒ 18472 - 88, èñïûòûâàåòñÿ
íàïðÿæåíèåì,
çíà÷åíèå êîòîðîãî
óñòàíàâëèâàåòñÿ
â êàæäîì ñëó÷àå
îñîáî.
Èçîëÿöèÿ
ëèíåéíîãî âûâîäà
îáìîòêè òðàíñôîðìàòîðîâ
êëàññîâ íàïðÿæåíèÿ
110ê è âûøå, èìåþùèõ
íåïîëíóþ èçîëÿöèþ
íåéòðàëè (èñïûòàòåëüíîå
íàïðÿæåíèå - 85 è
100êÂ), èñïûòûâàåòñÿ
òîëüêî èíäóêòèâíûì
íàïðÿæåíèåì,
à èçîëÿöèÿ íåéòðàëè
- ïðèëîæåííûì
íàïðÿæåíèåì;
Èçîëÿöèÿ
äîñòóïíûõ ñòÿæíûõ
øïèëåê, ïðåññóþùèõ
êîëåö è ÿðìîâûõ
áàëîê. Èñïûòàíèå
ñëåäóåò ïðîèçâîäèòü
â ñëó÷àå îñìîòðà
àêòèâíîé ÷àñòè.
Èñïûòàòåëüíîå
íàïðÿæåíèå - 1-2êÂ.
Ïðîäîëæèòåëüíîñòü
ïðèëîæåíèÿ íîðìèðîâàííîãî
èñïûòàòåëüíîãî
íàïðÿæåíèÿ - 1 ìèíóòà.
4. Èçìåðåíèå
ñîïðîòèâëåíèÿ
îáìîòîê ïîñòîÿííîìó
òîêó. Ïðîèçâîäèòñÿ
íà âñåõ îòâåòâëåíèÿõ,
åñëè äëÿ ýòîãî
íå òðåáóåòñÿ
âûåìêà ñåðäå÷íèêà.
Ñîïðîòèâëåíèå
äîëæíî îòëè÷àòüñÿ
íå áîëåå ÷åì íà
2% îò çíà÷åíèé,
ïîëó÷åííûõ íà
òîì æå îòâåòâëåíèè
äðóãèõ ôàç, èëè
îò äàííûõ çàâîäà-èçãîòîâèòåëÿ.
Òàáëèöà
5
5. Ïðîâåðêà
êîýôôèöèåíòà
òðàíñôîðìàöèè.
Ïðîèçâîäèòñÿ
íà âñåõ ñòóïåíÿõ
ïåðåêëþ÷åíèÿ.
Êîýôôèöèåíò
òðàíñôîðìàöèè
äîëæåí îòëè÷àòüñÿ
íå áîëåå ÷åì íà
2% îò çíà÷åíèé,
ïîëó÷åííûõ íà
òîì æå îòâåòâëåíèè
íà äðóãèõ ôàçàõ,
èëè îò äàííûõ
çàâîäà-èçãîòîâèòåëÿ.
Äëÿ òðàíñôîðìàòîðîâ
ñ ÐÏÍ ðàçíèöà
ìåæäó êîýôôèöèåíòàìè
òðàíñôîðìàöèè
íå äîëæíà ïðåâûøàòü
çíà÷åíèÿ ñòåïåíè
ðåãóëèðîâàíèÿ.
6. Ïðîâåðêà
ãðóïïû ñîåäèíåíèÿ
òðåõôàçíûõ òðàíñôîðìàòîðîâ
è ïîëÿðíîñòè âûâîäîâ
îäíîôàçíûõ òðàíñôîðìàòîðîâ.
Ïðîèçâîäèòñÿ
ïðè ìîíòàæå, åñëè
îòñóòñòâóþò
ïàñïîðòíûå äàííûå
èëè åñòü ñîìíåíèÿ
â äîñòîâåðíîñòè
ýòèõ äàííûõ.
Ãðóïïà ñîåäèíåíèé
äîëæíà ñîîòâåòñòâîâàòü
ïàñïîðòíûì äàííûì
è îáîçíà÷åíèÿì
íà ùèòêå.
. Èçìåðåíèå
òîêà è ïîòåðü
õîëîñòîãî òîêà.
Ïðîèçâîäèòñÿ
îäíî èç èçìåðåíèé,
óêàçàííûõ íèæå:
· ïðè íîìèíàëüíîì
íàïðÿæåíèè. Èçìåðÿåòñÿ
òîê õîëîñòîãî
òîêà. Çíà÷åíèå
òîêà íå íîðìèðóåòñÿ;
· ïðè ìàëîì
íàïðÿæåíèè. Èçìåðåíèå
ïðîèçâîäèòñÿ
ñ ïðèâåäåíèåì
ïîòåðü ê íîìèíàëüíîìó
íàïðÿæåíèþ èëè
áåç ïðèâåäåíèÿ
(ìåòîä ñðàâíåíèÿ).
8. Ïðîâåðêà
ðàáîòû ïåðåêëþ÷àþùåãî
óñòðîéñòâà è
ñíÿòèÿ êðóãîâîé
äèàãðàììû. Ñíÿòèå
êðóãîâîé äèàãðàììû
ñëåäóåò ïðîèçâîäèòñÿ
íà âñåõ ïîëîæåíèÿõ
ïåðåêëþ÷àòåëÿ.
Êðóãîâàÿ äèàãðàììà
íå äîëæíà îòëè÷àòüñÿ
îò ñíÿòîé íà çàâîäå-èçãîòîâèòåëå.
Ïðîâåðêó ñðàáàòûâàíèÿ
ïåðåêëþ÷àþùåãî
óñòðîéñòâà è
äàâëåíèÿ êîíòàêòîâ
ñëåäóåò ïðîèçâîäèòü
ñîãëàñíî çàâîäñêèì
èíñòðóêöèÿì.
9. Èñïûòàíèå
áàêà ñ ðàäèàòîðàìè
ãèäðàâëè÷åñêèì
äàâëåíèåì. Ïðîèçâîäèòñÿ
ãèäðàâëè÷åñêèì
äàâëåíèåì ñòîëáà
ìàñëà, âûñîòà
êîòîðîãî íàä
óðîâíåì çàïîëíåííîãî
ðàñøèðèòåëÿ ïðèíèìàåòñÿ:
äëÿ òðóá÷àòûõ
è ãëàäêèõ áàêîâ
- 0, 6ì; äëÿ áîêîâ âîëíèñòûõ,
ðàäèàòîðíûõ èëè
ñ îõëàäèòåëÿìè
- 0, 3ì.
Ïðîäîëæèòåëüíîñòü
èñïûòàíèÿ 3 ÷àñà
ïðè òåìïåðàòóðå
ìàñëà íå íèæå
+ 10˚Ñ. Ïðè èñïûòàíèè
íå äîëæíî íàáëþäàòüñÿ
òå÷è ìàñëà.
. Ïðîâåðêà
ñèñòåìû îõëàæäåíèÿ.
Ðåæèì ïóñêà è
ðàáîòû îõëàæäàþùèõ
óñòðîéñòâ äîëæåí
ñîîòâåòñòâîâàòü
èíñòðóêöèè çàâîäà-èçãîòîâèòåëÿ.
. Ïðîâåðêà
ñîñòîÿíèÿ ñèëèêàãåëÿ.
Èíäèêàòîðíûé
ñèëèêàãåëü äîëæåí
èìåòü ðàâíîìåðíóþ
ãîëóáîâàòóþ
îêðàñêó çåðåí.
Èçìåíåíèå öâåòà
ñâèäåòåëüñòâóåò
îá óâëàæíåíèè
ñèëèêàãåëÿ.
. Ôàçèðîâêà
òðàíñôîðìàòîðîâ.
Äîëæíî èìåòü
ìåñòî ñîâïàäåíèå
ïî ôàçàì.
. Èñïûòàíèå
òðàíñôîðìàòîðíîãî
ìàñëà. Ñâåæåå
ìàñëî ïåðåä çàëèâêîé
âíîâü ââîäèìûõ
òðàíñôîðìàòîðîâ,
ïðèáûâøèõ áåç
ìàñëà, äîëæíî
áûòü èñïûòàíî
ïî ïîêàçàòåëÿì
ïï. 1, 2, 4 - 12 òàáëèöû
6.
Èç òðàíñôîðìàòîðîâ,
òðàíñïîðòèðóåìûõ
áåç ìàñëà, äî íà÷àëà
ìîíòàæà ñëåäóåò
ïðîèçâåñòè îòáîð
ïðîáû îñòàòêîâ
ìàñëà (ñî äíà).
Ýëåêòðè÷åñêàÿ
ïðî÷íîñòü îñòàòêîâ
ìàñëà â òðàíñôîðìàòîðàõ
íàïðÿæåíèåì
110-220ê äîëæíà áûòü
íå íèæå 35ê è â
òðàíñôîðìàòîðàõ
íàïðÿæåíèåì
330-500ê - íå íèæå 45êÂ.
Ìàñëî èç
òðàíñôîðìàòîðîâ
íàïðÿæåíèåì
110ê è âûøå, òðàíñïîðòèðóåìûõ
ñ ìàñëîì, äî íà÷àëà
ìîíòàæà èñïûòûâàþòñÿ
ïî ïîêàçàòåëÿì
ïï. 1-6 è 12 òàáëèöû
6.
Òàáëèöà
6
Èñïûòàíèå
ìàñëà, çàëèòîãî
èç òðàíñôîðìàòîðà
ñ ìàññîé ìàñëà
áîëåå 1 òîííû, ïðèáûâàþùèõ
ñ ìàñëîì, ïðè îòñóòñòâèè
çàâîäñêîãî ïðîòîêîëà
èñïûòàíèå ìàñëà
ïåðåä âêëþ÷åíèåì
â ðàáîòó ïðîèçâîäèòñÿ
ïî ïîêàçàòåëÿì
ïï. 1-11 òàáëèöû 6, à
ìàñëà èç òðàíñôîðìàòîðîâ
íàïðÿæåíèåì
110ê è âûøå, êðîìå
òîãî, ïî ï. 12 òàáëèöû
6.
Èñïûòàíèå
ìàñëà, çàëèòîãî
â òðàíñôîðìàòîð,
ïåðåä âêëþ÷åíèåì
åãî â ðàáîòó (ïîä
íàïðÿæåíèå) ïîñëå
ìîíòàæà ïðîèçâîäèòñÿ
ïî ïîêàçàòåëÿì
ïï. 1-6 òàáëèöû 6
Ïðè èñïûòàíèè
ìàñëà èç òðàíñôîðìàòîðà
íàïðÿæåíèåì
110ê è âûøå ïî ïîêàçàòåëÿì
ïï. 1-6 òàáëèöû 6 ñëåäóåò
ïðîèçâîäèòü è
èçìåðåíèå òàíãåíñà
óãëà äèýëåêòðè÷åñêèõ
ïîòåðü èçîëÿöèè.
Ìàñëî èç
òðàíñôîðìàòîðîâ
I è
II ãàáàðèòîâ,
ïðèáûâàþùèõ
íà ìîíòàæ çàïîëíåííûìè
ìàñëîì, ïðè íàëè÷èè
óäîâëåòâîðÿþùèõ
íîðìàì ïîêàçàòåëåé
çàâîäñêîãî èñïûòàíèÿ,
ïðîâåäåííîãî
íå áîëåå ÷åì çà
6 ìåñÿöåâ äî âêëþ÷åíèÿ
òðàíñôîðìàòîðà
â ðàáîòó, ðàçðåøàåòñÿ
èñïûòûâàòü òîëüêî
ïî ïîêàçàòåëÿì
ïï. 1 è 2 òàáëèöû
6.
14. Èñïûòàíèå
âêëþ÷åíèåì òîë÷êîì
íà íîìèíàëüíîå
íàïðÿæåíèå. Â
ïðîöåññå 3-5-êðàòíîò-íîãî
âêëþ÷åíèÿ òðàíñôîðìàòîðà
íà íîìèíàëüíîå
íàïðÿæåíèå íå
äîëæíû èìåòü
ìåñòî ÿâëåíèÿ,
óêàçûâàþùèå
íà íåóäîâëåòâîðèòåëüíîå
ñîñòîÿíèå òðàíñôîðìàòîðà.
Òðàíñôîðìàòîðû,
ñìîíòèðîâàííûå
ïî ñõåìå áëîêà
ñ ãåíåðàòîðîì,
ðåêîìåíäóåòñÿ
âêëþ÷àòü â ñåòü
ïîäúåìîì íàïðÿæåíèÿ
ñ íóëÿ.
15. Èñïûòàíèÿ
ââîäîâ. Ñëåäóåò
ïðîèçâîäèòü â
ñëåäóþùåé ïîñëåäîâàòåëüíîñòè:
- èçìåðåíèå
ñîïðîòèâëåíèÿ
èçîëÿöèè. Ïðîèçâîäèòñÿ
ìåãàîììåòðîì
íà íàïðÿæåíèå
1-2,5ê ó ââîäîâ ñ
áóìàæíî-ìàñëÿííîé
èçîëÿöèåé. Èçìåðÿåòñÿ
ñîïðîòèâëåíèå
èçîëÿöèè èçìåðèòåëüíîé
è ïîñëåäíåé îáêëàäîê
ââîäîâ îòíîñèòåëüíî
ñîåäèíèòåëüíîé
âòóëêè. Ñîïðîòèâëåíèå
èçîëÿöèè äîëæíî
áûòü íå ìåíåå
1000Ìîì.
- èçìåðåíèå
òàíãåíñà óãëà
äèýëåêòðè÷åñêèõ
ïîòåðü. Ïðîèçâîäèòñÿ
ó ââîäîâ è ïðîõîäíûõ
èçîëÿòîðîâ ñ âíóòðåííåé
îñíîâíîé ìàñëîáàðüåðíîé,
áóìàæíî-ìàñëÿíîé
è áàêåëèòîâîé
èçîëÿöèåé. Òàíãåíñ
óãëà äèýëåêòðè÷åñêèõ
ïîòåðü ââîäîâ
è ïðîõîäíûõ èçîëÿòîðîâ
íå äîëæåí ïðåâûøàòü
çíà÷åíèé, óêàçàííûõ
â òàáëèöå 7.
Ó ââîäîâ
è ïðîõîäíûõ èçîëÿòîðîâ,
èìåþùèõ ñïåöèàëüíûé
âûâîä ê ïîòåíöèîìåòðè÷åñêîìó
óñòðîéñòâó (ÏÈÍ),
ïðîèçâîäèòñÿ
èçìåðåíèå òàíãåíñà
óãëà äèýëåêòðè÷åñêèõ
ïîòåðü îñíîâíîé
èçîëÿöèè è èçîëÿöèè
èçìåðèòåëüíîãî
êîíäåíñàòîðà.
Îäíîâðåìåííî
ïðîèçâîäèòñÿ
è èçìåðåíèå åìêîñòè.
Áðàêîâî÷íûå
íîðìû ïî òàíãåíñó
óãëà äèýëåêòðè÷åñêèõ
ïîòåðü äëÿ èçîëÿöèè
èçìåðèòåëüíîãî
êîíäåíñàòîðà
òå æå, ÷òî è äëÿ
îñíîâíîé èçîëÿöèè.
Ó ââîäîâ,
èìåþùèõ èçìåðèòåëüíûé
âûâîä îò îáêëàäêè
ïîñëåäíèõ ñëîåâ
èçîëÿöèè (äëÿ èçìåðåíèÿ
óãëà äèýëåêòðè÷åñêèõ
ïîòåðü), ðåêîìåíäóåòñÿ
èçìåðÿòü òàíãåíñ
óãëà äèýëåêòðè÷åñêèõ
ïîòåðü ýòîé èçîëÿöèè.
Òàáëèöà
7
Èçìåðåíèå
òàíãåíñà óãëà
äèýëåêòðè÷åñêèõ
ïîòåðü ïðîèçâîäèòñÿ
ïðè íàïðÿæåíèè
3êÂ.
Äëÿ îöåíêè
ñîñòîÿíèÿ ïîñëåäíèõ
ñëîåâ áóìàæíî-ìàñëÿíîé
èçîëÿöèè ââîäîâ
è ïðîõîäíûõ èçîëÿòîðîâ
ìîæíî îðèåíòèðîâàòüñÿ
íà ñðåäíèå îïûòíûå
çíà÷åíèÿ òàíãåíñà
óãëà äèýëåêòðè÷åñêèõ
ïîòåðü:
· äëÿ ââîäîâ
110 - 115ê - 3%;
· äëÿ ââîäîâ
220ê - 2%;
· äëÿ ââîäîâ
330-500ê - ïðåäåëüíûå
çíà÷åíèÿ òàíãåíñà
óãëà äèýëåêòðè÷åñêèõ
ïîòåðü, ïðèíÿòûå
äëÿ îñíîâíîé
èçîëÿöèè.
3 - èñïûòàíèå
ïîâûøåííûì íàïðÿæåíèåì
ïðîìûøëåííîé
÷àñòîòû.
Èñïûòàíèå
ÿâëÿåòñÿ îáÿçàòåëüíûì
äëÿ ââîäîâ è ïðîõîäíûõ
èçîëÿòîðîâ íàïðÿæåíèåì
äî 35êÂ.
Èñïûòàòåëüíîå
íàïðÿæåíèå äëÿ
ïðîõîäíûõ èçîëÿòîðîâ,
èñïûòûâàåìûõ
îòäåëüíî èëè ïîñëå
óñòàíîâêè â ðàñïðåäåëèòåëüíîì
óñòðîéñòâå íà
ìàñëÿíûé âûêëþ÷àòåëü
è ò. ï., ïðèíèìàåòñÿ
ñîãëàñíî òàáëèöû
8.
Òàáëèöà
8
Èñïûòàíèå
ââîäîâ, óñòàíîâëåííûõ
íà ñèëîâûõ òðàíñôîðìàòîðàõ,
ñëåäóåò ïðîèçâîäèòü
ñîâìåñòíî ñ èñïûòàíèåì
îáìîòîê ïîñëåäíèõ
ïî íîðìàì, ïðèíÿòûì
äëÿ ñèëîâûõ òðàíñôîðìàòîðîâ
(ñìîòðåòü òàáëèöó
5).
Ïðîäîëæèòåëüíîñòü
ïðèëîæåíèÿ íîðìèðîâàííîãî
èñïûòàòåëüíîãî
íàïðÿæåíèÿ äëÿ
ââîäîâ è ïðîõîäíûõ
èçîëÿòîðîâ ñ îñíîâíîé
êåðàìè÷åñêîé,
æèäêîé èëè áóìàæíî-ìàñëÿíîé
èçîëÿöèåé - 1 ìèíóòà,
à ñ îñíîâíîé èçîëÿöèåé
èç áàêåëèòà èëè
äðóãèõ òâåðäûõ
îðãàíè÷åñêèõ
ìàòåðèàëîâ - 5 ìèíóò.
Ïðîäîëæèòåëüíîñòü
ïðèëîæåíèÿ íîðìèðîâàííîãî
èñïûòàòåëüíîãî
íàïðÿæåíèÿ äëÿ
ââîäîâ, èñïûòûâàåìûõ
ñîâìåñòíî ñ îáìîòêàìè
òðàíñôîðìàòîðîâ
- 1 ìèíóòà.
Ââîä ñ÷èòàåòñÿ
âûäåðæàâøèì èñïûòàíèå,
åñëè ïðè ýòîì
íå íàáëþäàëîñü
ïðîáîÿ, ïåðåêðûòèÿ,
ñêîëüçÿùèõ ðàçðÿäîâ
è ÷àñòè÷íûõ
ðàçðÿäîâ â ìàñëå
(ó ìàñëîíàïîëíåííûõ
ââîäîâ), âûäåëåíèé
ãàçà, à òàêæå,
åñëè ïîñëå èñïûòàíèÿ
íå îáíàðóæåíî
ìåñòíîãî ïåðåãðåâà
èçîëÿöèè.
- ïðîâåðêà
êà÷åñòâà óïëîòíåíèÿ
ââîäîâ. Ïðîèçâîäèòñÿ
äëÿ íåãåðìåòè÷íûõ
ìàñëîíàïîëíåííûõ
ââîäîâ íàïðÿæåíèåì
110-500ê ñ áóìàæíî-ìàñëÿíîé
èçîëÿöèåé ïóòåì
ñîçäàíèÿ â íèõ
èçáûòî÷íîãî
äàâëåíèÿ ìàñëà
98êÏà (1 êãñ/ ñì2).
Ïðîäîëæèòåëüíîñòü
èñïûòàíèÿ - 30 ìèíóò.
Ïðè èñïûòàíèè
íå äîëæíî íàáëþäàòüñÿ
ïðèçíàêîâ òå÷è
ìàñëà.
- èñïûòàíèå
òðàíñôîðìàòîðíîãî
ìàñëà. Äëÿ âíîâü
çàëèâàåìûõ ââîäîâ
ìàñëî äîëæíî
èñïûòûâàòüñÿ
â ñëåäóþùåì ïîðÿäêå:
· àíàëèç ìàñëà
ïåðåä åãî çàëèâêîé
â îáîðóäîâàíèå.
Êàæäàÿ ïàðòèÿ
ñâåæåãî, ïîñòóïèâøåãî
ñ çàâîäà òðàíñôîðìàòîðíîãî
ìàñëà äîëæíà
ïåðåä çàëèâêîé
â îáîðóäîâàíèå
ïîäâåðãàòüñÿ
îäíîêðàòíûì
èñïûòàíèÿì ïî
ïîêàçàòåëÿì,
ïðèâåäåííûì â
òàáëèöå 6, êðîìå
ï. 3. Çíà÷åíèå ïîêàçàòåëåé,
ïîëó÷åííûå ïðè
èñïûòàíèÿõ, äîëæíû
áûòü íå õóæå ïðèâåäåííûõ
â òàáëèöå 6.
Ìàñëà, èçãîòîâëåííûå
ïî òåõíîëîãè÷åñêèì
óñëîâèÿì, íå óêàçàííûì
â òàáëèöå 6, äîëæíû
ïîäâåðãàòüñÿ
èñïûòàíèÿì ïî
òåì æå ïîêàçàòåëÿì,
íî íîðìû èñïûòàíèé
ñëåäóåò ïðèíèìàòü
â ñîîòâåòñòâèè
ñ òåõíè÷åñêèìè
óñëîâèÿìè íà
ýòè ìàñëà.
· àíàëèç ìàñëà
ïåðåä âêëþ÷åíèåì
îáîðóäîâàíèÿ.
Ìàñëî, îòáèðàåìîå
èç îáîðóäîâàíèÿ
ïåðåä åãî âêëþ÷åíèåì
ïîä íàïðÿæåíèåì
ïîñëå ìîíòàæà,
ïîäâåðãàåòñÿ
ñîêðàùåííîìó
àíàëèçó â îáúåìå,
ïðåäóñìîòðåííîì
â ïï. 1 - 6 òàáëèöû
6, à äëÿ îáîðóäîâàíèÿ
110ê è âûøå, êðîìå
òîãî, - ïî ï. 12 òàáëèöû
6.
· èñïûòàíèå
ìàñëà èç àïïàðàòîâ
íà ñòàáèëüíîñòü
ïðè åãî ñìåøèâàíèè.
Ïðè çàëèâêå â
àïïàðàòû ñâåæèõ
êîíäèöèîííûõ
ìàñåë ðàçíûõ
ìàðîê ñìåñü ïðîâåðÿåòñÿ
íà ñòàáèëüíîñòü
â ïðîïîðöèÿõ ñìåøèâàíèÿ,
ïðè ýòîì ñòàáèëüíîñòü
ñìåñè äîëæíà
áûòü íå õóæå ñòàáèëüíîñòè
îäíîãî èç ñìåøèâàåìûõ
ìàñåë, îáëàäàþùåãî
íàèìåíüøåé ñòàáèëüíîñòüþ.
Ïðîâåðêà ñòàáèëüíîñòè
ñìåñè ìàñåë ïðîèçâîäèòñÿ
òîëüêî â ñëó÷àå
ñìåøèâàíèÿ èíãèáèðîâàííîãî
è íåèíãèáèðîâàííîãî
ìàñåë.
Ïîñëå ìîíòàæà
ïðîèçâîäèòñÿ
èñïûòàíèå çàëèòîãî
ìàñëà ïî ïîêàçàòåëÿì
ïï. 1-6 òàáëèöû 6, à
çíà÷åíèå òàíãåíñà
óãëà äèýëåêòðè÷åñêèõ
ïîòåðü - íå áîëåå
ïðèâåäåííûõ â
òàáëèöå 9.
Òàáëèöà
9
16. Èñïûòàíèå
âñòðîåííûõ òðàíñôîðìàòîðîâ
òîêà. Ñëåäóåò
ïðîèçâîäèòü â
ñëåäóþùåé ïîñëåäîâàòåëüíîñòè:
- èçìåðåíèå
ñîïðîòèâëåíèÿ
èçîëÿöèè:
· ïåðâè÷íûõ
îáìîòîê. Ïðîèçâîäèòñÿ
ìåãàîììåòðîì
íà íàïðÿæåíèå
2500Â. Çíà÷åíèå ñîïðîòèâëåíèÿ
èçîëÿöèè íå íîðìèðóåòñÿ.
Äëÿ òðàíñôîðìàòîðîâ
òîêà íàïðÿæåíèåì
330ê òèïà ÒÔÊÍ
- 330 èçìåðåíèå ñîïðîòèâëåíèÿ
èçîëÿöèè ïðîèçâîäèòñÿ
ïî îòäåëüíûì çîíàì
- ïðè ýòîì çíà÷åíèÿ
ñîïðîòèâëåíèÿ
èçîëÿöèè äîëæíû
áûòü íå ìåíåå
ïðèâåäåííûõ â
òàáëèöå 10.
· âòîðè÷íûõ
îáìîòîê. Ïðîèçâîäèòñÿ
ìåãàîììåòðîì
íà íàïðÿæåíèå
500 èëè 1000Â.
Òàáëèöà
10
Ñîïðîòèâëåíèå
èçîëÿöèè âòîðè÷íûõ
îáìîòîê âìåñòå
ñ ïîäñîåäèíåííûìè
ê íèì öåïÿìè äîëæíî
áûòü íå ìåíåå
1Ìîì.
- èçìåðåíèå
òàíãåíñà óãëà
äèýëåêòðè÷åñêèõ
ïîòåðü èçîëÿöèè.
Ïðîèçâîäèòñÿ
äëÿ òðàíñôîðìàòîðîâ
òîêà íàïðÿæåíèåì
110ê è âûøå.
Òàíãåíñ
óãëà äèýëåêòðè÷åñêèõ
ïîòåðü èçîëÿöèè
òðàíñôîðìàòîðîâ
òîêà ïðè òåìïåðàòóðå
+20˚Ñ íåäîëæåí ïðåâûøàòü
çíà÷åíèé, ïðèâåäåííûõ
â òàáëèöå 11.
Òàáëèöà
11
- Èñïûòàíèå
ïîâûøåííûì íàïðÿæåíèåì
ïðîìûøëåííîé
÷àñòîòû:
Òàáëèöà
12
· èçîëÿöèè
ïåðâè÷íûõ îáìîòîê.
Èñïûòàíèå ÿâëÿåòñÿ
îáÿçàòåëüíûì
äëÿ òðàíñôîðìàòîðîâ
òîêà äî 35êÂ.
Ïðîäîëæèòåëüíîñòü
ïðèëîæåíèÿ íîðìèðîâàííîãî
íàïðÿæåíèÿ äëÿ
òðàíñôîðìàòîðîâ
òîêà:
ñ êåðàìè÷åñêîé,
æèäêîé èëè áóìàæíî-ìàñëÿíîé
èçîëÿöèåé - 1 ìèíóòà;
ñ èçîëÿöèåé
èç òâåðäûõ îðãàíè÷åñêèõ
ìàòåðèàëîâ èëè
êàáåëüíûõ ìàññ
- 5 ìèíóò;
· èçîëÿöèè
âòîðè÷íûõ îáìîòîê.
Çíà÷åíèå èñïûòàòåëüíîãî
íàïðÿæåíèÿ äëÿ
èçîëÿöèè âòîðè÷íûõ
îáìîòîê âìåñòå
ñ ïðèñîåäèíåííûìè
ê íèì öåïÿìè ñîñòàâëÿåò
1êÂ. Ïðîäîëæèòåëüíîñòü
ïðèëîæåíèÿ íîðìèðîâàííîãî
èñïûòàòåëüíîãî
íàïðÿæåíèÿ - 1 ìèíóòà.
- ñíÿòèå õàðàêòåðèñòèê
íàìàãíè÷èâàíèÿ
òðàíñôîðìàòîðîâ
òîêà. Ñëåäóåò
ïðîèçâîäèòü ïðè
èçìåðåíèè òîêà
îò íóëÿ äî íîìèíàëüíîãî,
åñëè äëÿ ýòîãî
íå òðåáóåòñÿ
íàïðÿæåíèå âûøå
380Â.
Äëÿ òðàíñôîðìàòîðîâ
òîêà, ïðåäíàçíà÷åííûõ
äëÿ ïèòàíèÿ óñòðîéñòâ
ðåëåéíîé çàùèòû,
àâòîìàòè÷åñêèõ
àâàðèéíûõ îñöèëëîãðàôîâ,
ôèêñèðóþùèõ
ïðèáîðîâ è ò. ï.,
êîãäà íåîáõîäèìî
ïðîèçâåäåíèå
ðàñ÷åòîâ ïîãðåøíîñòåé,
òîêîâ íåáàëàíñà
è äîïóñòèìîé
íàãðóçêè ïðèìåíèòåëüíî
ê óñëîâèÿì ïðîõîæäåíèÿ
òîêîâ âûøå íîìèíàëüíîãî,
ñíÿòèå õàðàêòåðèñòèê
ïðîèçâîäèòñÿ
ïðè èçìåíåíèè
òîêà îò íóëÿ äî
òàêîãî çíà÷åíèÿ,
ïðè êîòîðîì íà÷èíàåòñÿ
íàñûùåíèå ìàãíèòîïðîâîäà.
Ïðè íàëè÷èè
ó îáìîòîê îòâåòâëåíèé
õàðàêòåðèñòèêè
ñëåäóåò ñíèìàòü
íà ðàáî÷åì îòâåòâëåíèè.
Ñíÿòûå õàðàêòåðèñòèêè
ñîïîñòàâëÿþò
ñ òèïîâîé õàðàêòåðèñòèêîé
íàìàãíè÷èâàíèÿ
èëè ñ õàðàêòåðèñòèêàìè
íàìàãíè÷èâàíèÿ
äðóãèõ îäíîòèïíûõ
èñïðàâëåííûõ
òðàíñôîðìàòîðîâ
òîêà.
- èçìåðåíèå
êîýôôèöèåíòà
òðàíñôîðìàöèè
íà âñåõ îòâåòâëåíèé.
Ïðîèçâîäèòñÿ
äëÿ âñòðîåííûõ
òðàíñôîðìàòîðîâ
òîêà è òðàíñôîðìàòîðîâ,
èìåþùèõ ïåðåêëþ÷àþùåå
óñòðîéñòâî (íà
âñåõ ïîëîæåíèÿõ
ïåðåêëþ÷àòåëÿ).
Îòêëîíåíèå íàéäåííîãî
çíà÷åíèÿ êîýôôèöèåíòà
îò ïàñïîðòíîãî
äîëæíî áûòü â
ïðåäåëàõ òî÷íîñòè
èçìåðåíèÿ.
- èçìåðåíèå
ñîïðîòèâëåíèÿ
îáìîòîê ïîñòîÿííîìó
òîêó. Ïðîèçâîäèòñÿ
ó ïåðâè÷íûõ îáìîòîê
òðàíñôîðìàòîðîâ
òîêà íàïðÿæåíèåì
10ê è âûøå, èìåþùèõ
ïåðåêëþ÷àþùåå
óñòðîéñòâî. Îòêëîíåíèå
èçìåðåííîãî
çíà÷åíèÿ ñîïðîòèâëåíèÿ
îáìîòêè îò ïàñïîðòíîãî
èëè îò ñîïðîòèâëåíèÿ
îáìîòîê äðóãèõ
ôàç íå äîëæíî
ïðåâûøàòü 2%.
Ìàñëîíàïîëíåííûå
òðàíñôîðìàòîðû
ìîùíîñòüþ áîëåå
1,6ÌÂÀ, à òàêæå îòâåòâëåííûå
òðàíñ-
ôîðìàòîðû
ñîáñòâåííûõ
íóæä ýëåêòðîñòàíöèé
íåçàâèñèìî îò
ìîùíîñòè èñïûòûâàþòñÿ
â ïîëíîì îáúåìå.
Ìàñëîíàïîëíåííûå
òðàíñôîðìàòîðû
ìîùíîñòüþ äî
1,6ÌÂÀ èñïûòûâàþòñÿ
ïî ïï. 1, 2, 4, 8, 9, 11-14.
Ñóõèå òðàíñôîðìàòîðû
èñïûòûâàþòñÿ
ïî ïï. 1-8, 12, 14.
Öåëüþ èñïûòàíèé,
ïðîâîäèìûõ â ïåðèîä
ðåìîíòîâ, ÿâëÿåòñÿ
ïðîâåðêà ñîñòîÿíèÿ
òðàíñôîðìàòîðà
è êà÷åñòâà ðåìîíòà.
ËÈÒÅÐÀÒÓÐÀ
1.
Êóæåêîâ Ñ.Ë., Ãîí÷àðîâ
Ñ.Â. «Ïðàêòè÷åñêîå
ïîñîáèå ïî ýëåêòðè÷åñêèì
ñåòÿì è ýëåêòðîîáîðóäîâàíèþ»
- Ðîñòîâ - íà - Äîíó:
Ôåíèêñ, 2007 - 492 ñ.: èë.
- (Ïðîôåññèîíàëüíîå
ìàñòåðñòâî).
.
Ãåðàñèìåíêî
À.À., Ôåäèí Â.Ò. «Ïåðåäà÷à
è ðàñïðåäåëåíèå
ýëåêòðè÷åñêîé
ýíåðãèè: Ó÷åáíîå
ïîñîáèå» - Ðîñòîâ
- íà - Äîíó: Ôåíèêñ;
Êðàñíîÿðñê: Èçäàòåëüñêèå
ïðîåêòû, 2006 - 720 ñ. (Ñåðèÿ
«Âûñøåå îáðàçîâàíèå»)
.
Ìàíäðûêèí Ñ.À.,
Ôèëàòîâ À.À. «Ýêñïëóàòàöèÿ
è ðåìîíò ýëåêòðîîáîðóäîâàíèÿ
ñòàíöèé è ñåòåé.
Ó÷åáíèê äëÿ òåõíèêóìîâ»
- 2-å èçäàíèå, ïåðåðàáîòàííîå
è äîïîëíåííîå
- Ìîñêâà, Ýíåðãîàòîìèçäàò,
1983 - 344 ñ.
.
Ðîæêîâà Ë.Ä., Êîçóëèí
Â.Ñ. «Ýëåêòðîîáîðóäîâàíèå
ñòàíöèé è ñåòåé.
Ó÷åáíèê äëÿ òåõíèêóìîâ»
- 3-å èçäàíèå, ïåðåðàáîòàííîå
è äîïîëíåííîå
- Ìîñêâà, Ýíåðãîàòîìèçäàò,
1987 - 648 ñ.
.
Ïðàâèëà òåõíè÷åñêîé
ýêñïëóàòàöèè
ýëåêòðîóñòàíîâîê
ïîòðåáèòåëåé.
Èçäàíèå 5-å - Ðîñòîâ
- íà - Äîíó: Ôåíèêñ,
2006 - 320 ñ.
.
Ïðàâèëà òåõíè÷åñêîé
ýêñïëóàòàöèè
ýëåêòðîóñòàíîâîê
ïîòðåáèòåëåé/
ñîñòàâèë Â. Êóçíåöîâ
- Õàðüêîâ: Ôàêòîð,
2008 - 352 ñ.
.
Ïðàâèëà óñòðîéñòâà
ýëåêòðîóñòàíîâîê
/ñ èçìåíåíèÿìè
è äîïîëíåíèÿìè/
- Õàðüêîâ: èçäàòåëüñòâî
«Èíäóñòðèÿ», 2007 - 416
ñ.
Ðàçìåùåíî
íà Allbest.ru