|
Температура, 0С
|
10
|
20
|
30
|
40
|
50
|
60
|
65
|
|
Высота всасывания, м
|
6
|
5
|
4
|
3
|
2
|
1
|
0
|
Кавитация: основные понятия, причины возникновения и ее следствия
Нарушение сплошности потока жидкости, обусловленное появлением в ней
пузырьков или полостей, заполненных паром и выделившимся из жидкости газом,
называется кавитацией. Кавитация возникает в области пониженного давления, где
возникают растягивающие напряжения, которые приводят к разрыву жидкости и
образующие полости - каверны заполняются парами жидкости и выделившимся из нее
растворенным газом. Попадая в область высоких давлений паровые пузырьки
(каверны) «захлопываются». Захлопывание каверн вызывает местный гидравлический
удар, который может привести к разрушению (эрозии) стенок каналов.
Действительно, давление в пузырьках остается постоянным и равным давлению
упругости насыщенного пара, в то время как давление жидкости по каналу рабочего
колеса повышается при течении жидкости от входа к выходу. Попадая в область
высокого давления, пузыри схлопываются под действием высокого давления. Это
схлопывание сопровождается местным повышением давления в несколько тысяч
атмосфер. Если оно происходит на поверхности лопаток или других элементах
насоса, то с их поверхности выбиваются частицы материала, из которого они
сделаны. Это явление называется эрозией. Этот процесс можно определить по
потрескивающим звукам, которые усиливаются с увеличением кавитации.
Возникновение и развитие кавитации в жидкости связано с наличием так
называемых ядер кавитации. В технических жидкостях всегда имеются ядра
кавитации. Они являются теми слабыми точками, в которых нарушается сплошность
жидкости, и возникают кавитационные явления. Наиболее вероятно, ядра кавитации
представляют собой нерастворенные газовые включения, в том числе в порах и
трещинах, а также микрочастицы, взвешенные в жидкости.
Если в жидкости присутствуют свободные или растворенные газовые
включения, то кавитация будет протекать более интенсивно, с большим шумом и
вибрациями.
Кавитация приводит к трем основным отрицательным последствиям:
1. К срыву подачи, напора, мощности и к.п.д.
2. К эрозионному износу элементов насоса: рабочего колеса, вала и
т.д.
. К звуковым явлениям: шуму, вибрации установки, а также к
низкочастотным автоколебаниям давления в трубопроводах.
В насосах кавитация возникает при давлении перед входом в насос
существенно превышающем давление парообразования при данной температуре
жидкости. Это означает, что область минимального давления располагается внутри
проточной части насоса. Падение давления внутри проточной части насоса (по
сравнению с входным давлением Рвх) связано с обтеканием лопаток. При обтекании
лопаток, как при обтекании любого тела, образуется область пониженного давления
Рmin.
Как только давление станет ниже давления насыщенного пара, то образуется
кавитация. В потоке жидкости такое падение давления происходит обычно в области
повышенных скоростей и при перекачивании горячих жидкостей в условиях, когда
происходит интенсивное парообразование в жидкости, находящейся в насосе.
Пузырьки пара попадают вместе с жидкостью в область более высоких давлений, где
мгновенно конденсируются. Жидкость стремительно заполняет полости, в которых
находился сконденсировавшийся пар, что сопровождается гидравлическими ударами,
шумом и сотрясением насоса. Кавитация приводит к быстрому разрушению насоса за
счёт гидравлических ударов и усиления коррозии в период парообразования. При
кавитации производительность и напор насоса резко снижаются.
Зависимость напора насоса от давления на входе при постоянном расходе и
постоянной частоте вращения называется кавитационной характеристикой. Такие
характеристики снимаются на специальных стендах.
Уменьшение давления перед насосом Рвх достигается вакуумированием
воздушной подушки в резервуаре. Во время испытаний насоса при постоянном
значении расхода Q и постоянных числах оборотов определяют значения давлений на
входе, при которых появляются кавитационные явления.
По результатам испытаний строятся кавитационные характеристики.
При давлении на входе равного Рнач в насосе
возникает кавитация, которая сказывается в появлении мелких пузырьков и шума от
их схлопывания. Дальнейшее уменьшение давления от Рнач до Ркрит, несмотря на
развитие кавитации (увеличивается количество и объем пузырьков), не приводит к
изменению напора и к.п.д. насоса, но при этом могут усиливаться эрозионные и
колебательные явления.
При давлении Ркрит, напор начинает снижаться
(одновременно с напором снижается к.п.д. насоса). Это критический режим.
При давлении на входе насоса равного Рсрв напор и
расход резко падают. Это - срывной кавитационный режим.
На кавитационной характеристике насоса можно выделить
несколько областей:
а) режим начальной кавитации (или скрытая кавитация)
насоса, когда Ркрит < Рвх < Рнач,
б) критический режим Рсрв < Рвх < Ркр, при
котором заметен излом напорной характеристики. При этом зона распространения
кавитационных полостей в насосе невелика.
в) режим Pвх < Pсрв, при котором наблюдается срыв
всех основных параметров насоса. При этом вся проточная часть насоса
практически занята паровой или газовой каверной.
Для насосов длительного использования, например, для
отопления или водоснабжения, важно избежать даже начальной стадии кавитации.
В этом случае, давление на входе Рв должно быть больше
давления Рнач. Это позволит избежать появления кавитационного шума и
эрозионного износа элементов насоса.
Для того чтобы избежать кавитации можно предпринять
следующие шаги:
· повысить давление во всасывающем патрубке
(опустить насос, или увеличить давление в приемном резервуаре).
Производительность от этого не измениться.
· Использовать насосы, имеющими меньшие
числа оборотов.
· Снизить расход жидкости через насос
или температуру перекачиваемой жидкости, что соответствует уменьшению давления
пара.
.4 Центробежные насосы
В центробежных насосах всасывание и нагнетание жидкости происходит
равномерно и непрерывно под действием центробежной силы, возникающей при
вращении рабочего колеса с лопатками, заключенного в спиралеобразном корпусе. В
результате воздействия рабочего колеса жидкость выходит из него с более высоким
давлением и большей скоростью, чем при входе. Выходная скорость преобразуется в
корпусе насоса в давление перед выходом жидкости из насоса. Преобразование
скоростного напора в пьезометрический частично осуществляется в спиральном
отводе, а главным образом в коническом напорном патрубке и в направляющих
каналах.
Лопастные насосы бывают одноступенчатыми и
многоступенчатыми. Одноступенчатые насосы имеют одно рабочее колесо,
многоступенчатые - несколько последовательно соединенных рабочих колес,
закрепленных на одном валу.
Рис.4
В одноступенчатом центробежном насосе (рис.4) жидкость из всасывающего
трубопровода 1 поступает вдоль оси рабочего колеса 2 в корпус 3 насоса и,
попадая на лопатки 4, приобретает вращательное движение. Центробежная сила
отбрасывает жидкость в канал переменного сечения между корпусом и рабочим
колесом, в котором скорость жидкости уменьшается до значения, равного скорости
в нагнетательном трубопроводе 5. При этом, как следует из уравнения Бернулли,
происходит преобразование кинетической энергии потока жидкости в статический
напор, что обеспечивает повышение давления жидкости. На входе в колесо
создается пониженное давление, и жидкость из приемной емкости непрерывно
поступает в насос. Давление, развиваемое центробежным насосом, зависит от
скорости вращения рабочего колеса. Вследствие значительных зазоров между колесом
и корпусом насоса разрежение, возникающее при вращении колеса, недостаточно для
подъема жидкости по всасывающему трубопроводу, если он и корпус насоса не
залиты жидкостью. Поэтому перед пуском центробежный насос заливают
перекачиваемой жидкостью. Чтобы жидкость не выливалась из насоса и всасывающего
трубопровода при заливке насоса или при кратковременных остановках его, на
конце всасывающей трубы, погруженном в жидкость, устанавливают обратный клапан,
снабженный сеткой.
Напор одноступенчатых центробежных насосов (с одним рабочим колесом)
ограничен и не превышает 50 м. Для создания более высоких напоров применяют
многоступенчатые насосы, имеющие несколько рабочих колес в общем корпусе,
расположенных последовательно на одном валу
Рис.5 Схема многоступенчатого секционного центробежного насоса
Каждая ступень такого насоса состоит из рабочего
колеса 1 и направляющего аппарата 2, который направляет поток к следующему
рабочему колесу. В таком насосе напор повышается пропорционально числу колес.
Число рабочих колес в многоступенчатом насосе обычно не превышает пяти.
Напор и
производительность центробежного насоса
Производительность
и напор центробежного насоса зависят от числа оборотов рабочего колеса.
Теоретический напор насоса равен разности напоров на входе в колесо и выходе из
него. Обычно жидкость, поступая из всасывающего трубопровода, движется по
колесу в радиальном направлении. Следовательно угол между абсолютным значением
скорости жидкости на входе в рабочее колесо и окружной скоростью равен 90°.
Тогда теоретический напор:

где
u - окружная скорость,
c -
скорость движения жидкости,
- угол
между абсолютным значением скорости жидкости на выходе из рабочего колеса и
окружной скоростью,
где
= 1800 -
т.е.
напор насоса пропорционален квадрату числа оборотов рабочего колеса, т.к.
u =
ЧDЧ n
Действительный
напор меньше теоретического, так как часть энергии жидкости расходуется на
преодоление гидравлических сопротивлений внутри насоса и жидкость в нем при
конечном числе лопаток не движется по подобным траекториям.
где
- гидравлический к.п.д. насоса (
г=0,8 -
0,95),
-
коэффициент, учитывающий конечное число лопаток в насосе (
= 0,6 - 0,8).
Рис.
6
Производительность
центробежного насоса Q соответствует расходу жидкости через каналы между
лопатками рабочего колеса.
Q = b1(πD1
- δz)c1r = b2(πD2
- δz)c2r
- толщина
лопаток,
b1 b2 - ширина
рабочего колеса на внутренней и внешней окружностях соответственно,
c1r
с2r - радиальные составляющие абсолютных скоростей на
входе в колесо и выходе из него.
Производительность
и напор центробежного насоса зависят от числа оборотов рабочего колеса. Из
уравнения следует, что производительность насоса прямо пропорциональна
радиальной составляющей абсолютной скорости на выходе из колеса.
Характеристика центробежного насоса
Для правильной эксплуатации насоса необходимо знать,
как изменяются напор, КПД и мощность, потребляемая насосом, при изменении его
подачи, т. е. знать характеристику насоса, под которой понимается зависимость
напора, мощности и КПД от производительности насоса при постоянной частоте
вращения.
Из зависимости видно, что с увеличением
производительности напор насоса уменьшается, потребляемая мощность возрастает,
а кпд проходит через максимум.
Рис. 7
При постоянном числе оборотов рабочего колеса, когда лопатки его загнуты
в направлении, обратном направлению вращения колеса, напор насоса падает с
увеличением производительности и при некотором предельном значении может стать
равным 0.
Рис. 8
Потребляемая насосом мощность не будет равна нулю на всем интервале из-за
наличия различного рода потерь, на компенсацию которых необходимо затрачивать
энергию. Эти потери возрастают с увеличением производительности насоса, поэтому
график имеет характер монотонно возрастающей функции с началом в некоторой
точке на оси ординат.
Участок кривой, где напор возрастает с увеличением производительности,
соответствует неустойчивой работе насоса.
Наиболее благоприятный режим эксплуатации центробежного насоса при данном
числе оборотов соответствует максимуму на кривой кпд.
Графические зависимости между напором, к. п. д. и производительностью
насоса при различных числах оборотов колеса называют универсальными
характеристиками.
Пользуясь универсальной характеристикой, можно установить пределы работы
насоса (соответствующие максимальному значению кпд.) и выбрать наиболее
благоприятный режим его работы.
Линии ограничивают области, внутри которых кпд насоса имеет значение не
меньшее, чем указанное на границе области.
Линия р-р соответствует максимальным значениям кпд при данных числах
оборотов рабочего колеса.
Работа насоса на сеть
При выборе насоса необходимо учитывать характеристику сети, т. е.
трубопровода и аппаратов, через которые перекачиваются жидкости.
Рис. 9
Характеристика сети выражает зависимость между
расходом жидкости и напором, необходимым для перемещения жидкости по данной
сети. Характеристика сети описывается уравнением параболы, т.к. потери напора
пропорциональны квадрату расхода жидкости.
Насос данной насосной установки работает на таком
режиме, при котором потребный напор равен напору насоса, т. е. при котором
энергия, потребляемая при движении жидкости по трубопроводам установки
(потребный напор) равна энергии, сообщаемой жидкости насосом (напор насоса).
Для определения режима работы насоса следует на одном и том же графике в
одинаковых масштабах нанести характеристику насоса и насосной установки.
Равенство напора насоса и потребного напора установки
получается для режима, определяемого точкой А пересечения характеристик.
Покажем, что насос не может работать в режиме, отличном от режима А.
Предположим, что насос работает в режиме В. В этом случае напор, сообщаемый
насосом жидкости, равен Нв, напор, расходуемый при движении жидкости по
трубопроводам установки Hвпотр<Hв. Таким образом, энергия, расходуемая при движении жидкости
по трубопроводам установки, меньше энергии, сообщаемой ей насосом. Избыток
энергии в жидкости идет на приращение ее кинетической энергии. Следовательно,
скорость жидкости увеличивается. Увеличение скорости приводит к увеличению
расхода, которое будет происходить до тех пор, пока он сравняется с QA. Если подача насоса больше QA (точка С), то сообщаемый насосом
напор меньше потребляемого. Недостаток энергии восполняется за счет собственной
кинетической энергии жидкости. Это приводит к уменьшению скорости движения и,
следовательно, к уменьшению расхода до QA.
Если требуется более высокая производительность, то необходимо либо
увеличить число оборотов электродвигателя, либо заменить данный насос на насос
большей производительности. Увеличение производительности может быть достигнуто
также путем уменьшения гидравлического сопротивления сети. В этом случае
рабочая точка А переместится по характеристике насоса вправо.
Насос должен быть выбран так, чтобы рабочая точка соответствовала
требуемым производительности и напору.
Рис. 10
Рассмотрим частные случаи насосных установок.
1. Приемный и напорный уровни совпадают. При
этом геометрический напор установки
Рис. 11
НГ =0, р" = р' и характеристика
насосной установки представляет собой кривую
. Весь напор затрачивается на
преодоление гидравлического сопротивления в системе. Наносим на характеристику
установки характеристику насоса. Пересечение кривой напоров Н насоса с
характеристикой установки
дает рабочую точку А, определяющую режим работы насоса.
Рис. 12
. Напорный уровень находится ниже приемного.
Геометрический напор при этом отрицателен, поэтому его следует откладывать вниз
от оси абсцисс графика. Пусть р" = р'. Приемный уровень схемы установки
совмещаем с осью абсцисс. Построив от прямой ВС вверх кривую потерь
, получим характеристику установки.
На пересечении кривой напоров характеристики насоса с характеристикой насосной
установки находим точку А, которая определяет режим работы насоса. Точка
пересечения характеристики установки с осью абсцисс дает расход Q9 в трубопроводе при отсутствии насоса. Включение
насоса увеличило расход в системе на величину Qa-Qо
Последовательная и параллельная работа насосов на сеть
Рис. 13
Последовательное соединение насосов обычно применяется
для увеличения напора в тех случаях, когда один насос не может создать
требуемого напора. При этом подача насосов одинакова, а общий напор равен сумме
напоров обоих насосов, взятых при одной и той же подаче. Следовательно, суммарная
характеристика насосов I + II получается сложением ординат кривых
напоров I и II обоих насосов. Пересечение суммарной характеристики насосов
с характеристикой насосной установки даст рабочую точку А, которая определяет
подачу Q и суммарный напор обоих насосов.
Проведя через точку А вертикальную прямую получим на пересечении ее с кривыми
напоров I и II напоры насосов H1 и H2.
При последовательном соединении насосов жидкость,
подводимая к насосу II, имеет
значительное давление. При этом давление в насосе II может превысить величину, допустимую по условиям прочности.
В этом случае насос II следует
размещать отдельно от насоса I, в
такой точке напорного трубопровода, в которой давление жидкости снижается до
безопасного для насоса II
значения. Эту точку можно определить, построив пьезометрическую линию напорного
трубопровода.
Параллельное соединение насосов обычно применяют для
увеличения подачи. Насосы, работающие параллельно на один длинный трубопровод,
обычно устанавливают близко один от другого, в пределах одного машинного зала.
Так как насосы II и I находятся близко один от другого, а
трубопровод, на который они работают, длинный, можно пренебречь сопротивлением
подводящих и напорных трубопроводов до узловой точки О. Пусть приемные уровни
обоих насосов одинаковы. При этом напор насосов одинаков, так как одинаково
давление в точке О, создаваемое обоими насосами. Заменим оба насоса одним,
имеющим подачу, равную сумме подач обоих насосов, взятых при одинаковом напоре.
При такой замене режим работы насосной установки не изменится. Для получения
характеристики этого насоса или суммарной характеристики двух насосов, следует
сложить абсциссы точек кривых напора Н = f (Q) обоих насосов,
взятых при одной и той же ординате. Иными словами, следует сложить кривые напоров
I и II обоих насосов по горизонтали. Пересечение суммарной
характеристики I + II с характеристикой насосной установки
дает рабочую точку А. Абсцисса точки А равна суммарной подаче обоих насосов,
ордината - напору насосов Н1 = Н2. Проведя
через точку А горизонтальную прямую, получим на пересечении с кривыми I и II напоров режимные точки С и В насосов I и II.
1.5 Поршневые насосы
Поршневые насосы относятся к классу объемных насосов.
В объемном насосе перемещение жидкости осуществляется
путем вытеснения ее из рабочих камер вытеснителями. Под вытеснителем понимается
рабочий орган насоса, непосредственно совершающий работу вытеснения.
Вытеснителями могут быть поршни, плунжеры, шестерни, винты, пластины. В
поршневом (плунжерном) насосе жидкость вытесняется из неподвижных камер в результате возвратно-поступательного
движения вытеснителей (поршней, плунжеров, диафрагм).
- По конструкции вытеснителя поршневые насосы разделяют на собственно
поршневые и плунжерные. В поршневых насосах основным рабочим органом является
поршень, снабженный уплотнительными кольцами, пришлифованными к внутренней
зеркальной поверхности цилиндра. Плунжер не имеет уплотнительных колец и
отличается от поршня значительно большим отношением длины к диаметру.
Приводные механизмы поршневых насосов принято разделять на кривошипные и
кулачковые.
По роду привода поршневые насосы делятся на приводные (от
электродвигателя) и прямодействующие (от паровой машины). Прямодействующие
паровые насосы имеют привод непосредственно от паровой машины, поршень которой
находится на одном штоке с поршнем насоса. Насосы этого типа используют главным
образом на установках, где по условиям безопасности применение насосов с
электрическим приводом недопустимо (огне- и взрывоопасные производства), а
также при наличии дешевого отбросного пара (подача воды в паровые котлы и т.
п.).
По числу оборотов кривошипа (числу двойных ходов поршня) различают
тихоходные, нормальные (60-120 мин в мин) и быстроходные (120-180 в мин)
поршневые насосы. У прямодействуюших насосов число двойных ходов составляет
50-120 в минуту.
- По числу всасываний или нагнетаний, осуществляемых
за один оборот кривошипа или за два хода поршня, поршневые насосы делятся на
насосы простого и двойного действия.
Рис. 14
На рисунке 14 изображена схема горизонтального поршневого насоса простого
действия:
- поршень;
- цилиндр;
- крышка цилиндра;
- всасывающий клапан;
- нагнетательный клапан;
- кривошипно-шатунный механизм;
- уплотнительные кольца.
В поршневом насосе всасывание и нагнетание жидкости происходят при
возвратно-поступательном движении поршня 1 в цилиндре 2 насоса. При движении
поршня вправо в замкнутом пространстве между крышкой 3 цилиндра и поршнем
создается разрежение. Под действием разности давлений в приемной емкости и
цилиндре жидкость поднимается по всасывающему трубопроводу и поступает в
цилиндр через открывающийся при этом всасывающий клапан 4. Нагнетательный
клапан 5 при ходе поршня вправо закрыт, так как на него действует сила давления
жидкости, находящейся в нагнетательном трубопроводе. При ходе поршня влево в
цилиндре возникает давление, под действием которого закрывается клапан 4 и
открывается клапан 5. Жидкость через нагнетательный клапан поступает в напорный
трубопровод и далее в напорную емкость. Таким образом, всасывание и нагнетание
жидкости поршневым насосом простого действия происходит неравномерно:
всасывание - при движении поршня слева направо, нагнетание - при обратном
направлении движения поршня. В данном случае за два хода поршня жидкость один
раз всасывается и один раз нагнетается. Поршень насоса приводится в движение
крнвошипно-шатунным механизмом 6, преобразующим вращательное движение вала в
возвратно-поступательное движение поршня.
Рис. 15
В плунжерном горизонтальном насосе простого действия роль поршня играет
плунжер 1, двигающийся возвратно-поступательно в цилиндре 2; плунжер
уплотняется при помощи сальника 3. Плунжерные насосы не требуют такой
тщательной обработки внутренней поверхности цилиндра, как поршневые, а
неплотности легко устраняются подтягиванием или заменой набивкн сальника без
демонтажа насоса. В связи с тем, что для плунжерных насосов нет необходимости в
тщательной пригонке поршня и цилиндра, их применяют для перекачивания
загрязненных и вязких жидкостей, а также для создания более высоких давлений. В
химической промышленности плунжерные насосы более распространены, чем
поршневые.
Более равномерной подачей, чем насосы простого действия, обладают
поршневые и плунжерные насосы двойного действия. Горизонтальный плунжерный
насос двойного действия можно рассматривать как совокупность двух насосов
простого действия. Он имеет четыре клапана - два всасывающих и два
нагнетательных.
При ходе плунжера вправо жидкость всасывается в левую часть цилиндра через
всасывающий клапан и одновременно через нагнетательный клапан поступает из
правой части цилиндра в напорный трубопровод; при обратном ходе поршня
всасывание происходит в правой части цилиндра через всасывающий клапан, а
нагнетание - в левой части цилиндра. Таким образом, в насосах двойного действия
всасывание и нагнетание происходят при каждом ходе поршня, вследствие чего
производительность насосов этого типа больше и подача равномернее, чем у
насосов простого действия.
Еще более равномерной является подача насоса тронного действия, или
триплекс-насоса. Триплекс-насосы представляют собой строенные насосы простого
действия, кривошипы которых расположены под углом 120° друг относительно друга.
Общая подача триплекс-насоса складывается из подач насосов простого действия,
при этом за один оборот коленчатого вала жидкость три раза всасывается и три
раза нагнетается.
Производительность поршневых насосов
В поршневых насосах жидкость при всасывании занимает в цилиндре объем,
освобождаемый поршнем. В период нагнетания этот объем жидкости вытесняется
поршнем в нагнетательный трубопровод. Следовательно, теоретически (без учета
утечек жидкости) производительность поршневого насоса будет определяться
объемом, описываемым поршнем в единицу времени.
В поршневом насосе простого действия объем, описываемый поршнем в единицу
времени, будет равен произведению площади сечения F поршня, длины хода L поршня и числа оборотов кривошипно-шатунного механизма (или числа
двойных ходов поршня, так как в насосе простого действия нагнетание жидкости
происходит один раз за два хода поршня).
Таким образом, теоретическая производительность насоса простого действия
Qт = F*L*n, м3/сек
где F - площадь сечения поршня, м2, L - длина хода поршня, м, n - число оборотов, мин-1.
В насосе двойного действия за два хода поршня или один оборот кривошипа
происходит два раза всасывание и два раза нагнетание. При ходе поршня вправо с
левой стороны засасывается объем жидкости, равный FL, а с правой - нагнетается объем (F-f)L, где f- площадь поперечного сечения штока. При ходе поршня влево с
левой стороны выталкивается в нагнетательный трубопровод объем FL, а с правой - засасывается из
всасывающей линии (F-f)L м3 жидкости.
Следовательно, за n
оборотов кривошипа или двойных ходов поршня, теоретическая производительность
насоса двойного действия составит:
Qт = F*L*n + (F-f)L*n = Ln (2F -f), м3/сек
Т.к. f << F, то производительность насоса двойного действия вдвое выше
производительности насоса простого действия.
Действительная производительность поршневого насоса меньше теоретической
на величину потерь в результате утечки жидкости через неплотности в сальниках,
клапанах и местах стыковки трубопроводов, а также вследствие выделения из
жидкости при давлении ниже атмосферного растворенного в ней воздуха. При неправильной
конструкции насоса это может привести к образованию в цилиндре воздушных
"мешков", уменьшающих подачу жидкости насосом. Все эти потери
учитываются коэффициентом подачи, или объемным к. п. д. %.
Действительная производительность насоса
Q =
Qт ηv
-
коэффициент подачи или объёмный к.п.д., учитывающий утечки жидкости через
неплотности в сальниках, клапанах, местах стыковки трубопроводов, образование в
цилиндре воздушных «мешков».
= 0,97 -
0,99 для насосов большой производительности,
= 0,9 -
0,95 для насосов средней производительности (Q = 20 -300 м3/ч),
= 0,85 -
0,9 для насосов малой производительности.
Характеристика поршневого насоса
Рис. 16
Зависимость между напором H и
производительностью Q поршневого
насоса имеет вид вертикальной прямой. Характеристика показывает, что
производительность поршневого насоса есть величина постоянная, не зависящая от напора.
Практически, вследствие увеличения утечек жидкости через неплотности,
возрастающие с повышением давления, реальная характеристика (изображенная
пунктирной линией) не совпадает с теоретической. С увеличением давления
действительная производительность поршневого насоса несколько уменьшается.
Неравномерность подачи
Скорость поршня, приводимого в движение кривошипно-шатунным механизмом,
не является постоянной. Она изменяется от нуля (в левом и правом крайних
положениях) до некоторого максимального значения (при среднем положении поршня)
Как следует из теории кривошипно-шатунного механизма,
поступательная скорость движения поршня изменяется пропорционально синусу угла
поворота кривошипа. Жидкость следует за поршнем безотрывно, поэтому подача
насоса простого действия будет изменяться в соответствии с законом движения
поршня. Таким образом, подача насоса неравномерна по величине и прерывиста во
времени.
Насосы двойного и тройного действия (триплекс-насосы) отличаются более
равномерной подачей, представляющей собой сумму подач двух или трех насосов
простого действия, у которых периоды нагнетания и всасывания сдвинуты во
времени. Графически подача этих насосов может быть изображена синусоидами,
смещенными по фазе соответственно на 180° у насосов двойного действия и 120° у
насосов тройного действия.
Рис. 17
а - простого действия;
б - двойного действия;
в - тройного действия (триплекс-насос).
Неравномерность подачи насоса принято характеризовать
коэффициентом:
где Qи - идеальная подача.
Для насоса простого действия
σ = π
Большинство потребителей не может использовать столь
сильно пульсирующую подачу. Быстрое нарастание и уменьшение расхода в трубах,
перемежаемое состоянием покоя во время цикла всасывания, вызывает в них и в
насосе пульсации давления, что ведет к шуму, вибрациям и усталостным
разрушениям в насосной установке.
Для уменьшения неравномерности применяют два способа.
Первый сводится к применению многопоршневых машин с
общей приводной частью и общими магистральными трубопроводами.
Для поршневого насоса двойного действия
При этом длительные перерывы подачи
устраняются, но мгновенные режимы сохраняются. Следовательно, сохраняются и
предельные значения инерционных пульсаций давления.
При трех поршнях циклы вытеснения перекрывают один
другой так, что жидкость в трубах никогда не останавливается. В этом случае
величина σ резко снижается до 0,14.
Уменьшаются и предельные значения инерционных пульсаций
давления вследствие уменьшения максимальных ускорений потока. Выравненность
подачи и связанное с этим улучшение качества рабочего процесса увеличиваются с
применением нечетных чисел поршней больше трех. Для насосов с разными числами
поршней, можно показать, что у насосов с нечетным числом поршней равномерность
подачи большая, чем у насосов с четным числом (следующим за данным нечетным)
поршней. Поэтому числа поршней как правило выбирают нечетными.
Истинная неравномерность подачи в установках с
объемными насосами может значительно превышать идеальную неравномерность из-за
запаздывания клапанов и сжимаемости жидкости.
Вторым способом выравнивания подачи является
применение гидропневматических аккумуляторов (воздушных колпаков).
Воздушные колпаки
Воздушный колпак представляет собой буферный промежуточный сосуд, в
котором примерно 50% объема занимает воздух.
Воздушные колпаки устанавливают на подводящей и
отводящей линиях непосредственно перед и после рабочей камеры, так, чтобы путь
от нее до колпаков был минимален. Применяют колпаки, как правило, с одно- и
двухцилиндровыми насосами.
Рис. 18
Воздушные колпаки:
а - на всасывающей линии;
б - на нагнетательной линии.
Работа колпаков основана на стремлении длинных столбов
жидкости в трубах сохранять из-за инерции среднюю скорость, соответствующую
средней подаче насоса Q= Qи. При цикле вытеснения избыток
подачи сверх Qи задерживается в колпаке, сжимает
газовую подушку. Давление газа становится больше среднего значения. Когда подача
насоса меньше Qи газ в колпаке расширяется и колпак
отдает накопленный избыточный объем в отводящую линию. При разрядке давление в
колпаке падает ниже среднего значения. Таким образом, в трубах поддерживается
непрерывное движение жидкости и величина инерционных пульсаций давления
снижается до пренебрежимо малых величин, обусловленных малой длиной патрубков
от цилиндра до колпака. Из-за растворения газа в жидкости объем газовой подушки
в напорном колпаке уменьшается во времени тем быстрее, чем больше среднее
давление. Поэтому колпаки необходимо пополнять газом или разделять жидкостную и
газовую полости поршнем или мембраной.
При ускорении движения поршня, т е когда в воздушный колпак поступает
наибольшее количество жидкости, воздух, находящийся в последнем, сжимается
Избыток жидкости поступает в колпак и удаляется из него, когда подача
становится ниже средней При этом давление воздуха, находящегося в колпаке,
изменяется незначительно (поскольку его объем гораздо больше объема поступающей
жидкости) и движение жидкости в нагнетательном (или всасывающем) трубопроводе
становится близким к равномерному
Таблица 4. Различные типы насосов, применяемые на
предприятиях, их назначение
|
НАСОСЫ
|
|
Динамические
|
Объёмные
|
|
Лопастные
|
Насосы трения
|
Поршневые
|
Ротационные Шестерённые
|
|
Центробежные
|
Осевые
|
Вихревые
|
Струйные
|
Плунжерные
|
Пластинчатые
|
|
Диафрагмовые
|
Винтовые
|
|
|
|
|
|
|
1.6 Лопастные
насосы
Центробежные насосы являются наиболее распространёнными и предназначаются
для подачи холодной или горячей воды, вязких или агрессивных жидкостей (кислот
и щелочей), сточных вод, смесей воды с грунтом, золой и шлаком, торфом,
раздробленным каменным углём. Их действие основано на передаче кинетической
энергии от вращающегося рабочего колеса тем частицам жидкости, которые
находятся между его лопастями. Под влиянием возникающей при этом центробежной
силы Р частицы подаваемой среды из рабочего колеса перемещаются в корпус насоса
и далее, а на их место под действием давления воздуха поступают новые частицы,
обеспечивая непрерывную работу насоса. Для создания больших напоров применяют
многоступенчатые насосы, в которых жидкость проходит последовательно несколько
рабочих колёс, получая от каждого из них соответствующую энергию. Крупнейшие
центробежные насосы отечественного производства могут обеспечить подачу воды до
65 000 м3/ч при напоре 18,5 м, потребляя мощность 7,5 Мвт, максимальный кпд
равен 88-92%. В США для насосной станции Гранд-Кули создан вертикальный
одноступенчатый центробежный насос с подачей 138 000 м3/ч и напором 95 м при
мощности 48 Мвт.
«+» Преимущества центробежных насосов:
высокая производительность и равномерная подача,
компактность и быстроходность (возможность
непосредственного присоединения к электродвигателю),
простота устройства, что позволяет изготавливать их из
химически стойких, трудно поддающихся механической обработке материалов,
возможность перекачивания жидкостей, содержащих
твёрдые взвешенные частицы, благодаря большим зазорам между лопатками и
отсутствию клапанов,
возможность установки на лёгких фундаментах.
К.п.д. наиболее крупных центробежных насосов до 0,95.
Однако центробежные насосы небольшой и средней
производительности имеют к.п.д. на 10-15% ниже. Это обусловлено наличием
больших зазоров между полостями всасывания и нагнетания, через которые возможен
переток жидкости, а также затратами энергии на неизбежное вихреобразование
вблизи кромок лопаток вращающегося с большой скоростью рабочего колеса, которая
преобразуется в тепло и рассеивается в окружающей среде. Такие потери резко
возрастают для высоковязких жидкостей, перекачивание которых центробежными
насосами, вследствие резкого снижения к.п.д., экономически невыгодно.
«-» К недостаткам центробежных насосов следует
отнести:
относительно низкие напоры
уменьшение производительности при увеличении
сопротивления сети
резкое снижение к.п.д. при уменьшении
производительности.
Специальные типы центробежных насосов:

Для центробежных насосов большое значение имеет надежная конструкция
сальников - уплотнений вала, обеспечивающих устранение утечек перекачиваемой
жидкости. Неудовлетворительная работа сальников влечет за собой также
повышенный износ вала, длительные и частые простои насоса, резкое увеличение
эксплуатационных расходов.
Полное устранение утечки перекачиваемой жидкости, неизбежной при
эксплуатации насоса с сальниковым уплотнением, достигается в бессальниковом
насосе. В корпусе 1 помещается рабочее колесо 2. На нем укреплено добавочное
колесо 3, снабженное радиальными лопатками, которое откачивает протекшую за
колесо жидкость в полость нагнетания насоса, устраняя тем самым утечку
перекачиваемой жидкости через зазоры между валом и корпусом при работе насоса.
При остановке насоса утечка жидкости предотвращается специальным (стояночным)
уплотнением, которое запирает зазор между корпусом и валом в момент выключения
насоса. Герметичность этого уплотнения достигается с помощью двух конических
поверхностей - удлиненной втулки рабочего колеса 2 и втулки 5. Плотное
прилегание конических поверхностей этих втулок обеспечивается посредством
пружины 4. В момент пуска насоса вал несколько перемещается влево, и
уплотняющие поверхности отходят друг от друга, размыкая стояночное уплотнение.
Все детали насоса, соприкасающиеся с перекачиваемой жидкостью,
изготовляются из антикоррозионных материалов.
Погружные насосы. Разновидностью бессальникового центробежного насоса
можно считать погружной насос. Рабочее колесо укреплено на нижнем конце
вертикального вала и погружено в перекачиваемую жидкость. Привод насоса
размещен значительно выше уровня жидкости в приемной емкости.
Рис. 20
Осевые насосы предназначаются главным образом для подачи больших объёмов
жидкостей. Их работа обусловлена передачей той энергии, которую получает
жидкость при силовом воздействии на неё лобовой поверхности вращающихся
лопастей рабочего колеса. Частицы подаваемой жидкости при этом имеют
криволинейные траектории, но, пройдя через выправляющий аппарат, начинают
перемещаться от входа в насос до выхода из него, в основном вдоль его оси
(откуда и название).
Существуют две основных разновидности осевых насосов: жестколопастные с
лопастями, закрепленными неподвижно на втулке рабочего колеса, называемые
пропеллерными, и поворотно-лопастные, оборудованные механизмом для изменения
угла наклона лопастей. Насосы обеих разновидностей строят обычно
одноступенчатыми, реже двухступенчатыми.
Изменением наклона лопастей рабочего колеса достигается регулирование
подачи с поддержанием кпд на высоком уровне в широких пределах.
- втулка, 2 - лопасти, 3 - направляющий аппарат
Рабочие колёса осевого насоса имеют очень высокий коэффициент
быстроходности (от 500 до 1500 об/мин). Крупнейший отечественный осевой
поворотно-лопастной насос рассчитан на Q = (45 - 50)103 м3/ч при H
от 13 до 10 м, N = 2 Мвт и кпд 11 = 86%. Марка этого насоса: ОП2-185. где ОП -
осевой поворотно-лопастной, 2 - тип рабочего колеса и 185 - диаметр рабочего
колеса (по концам лопастей, в см).
Пропеллерные насосы применяют в области больших подач
(до 1500 м3/мин) при небольших напорах (до 10-15 м), отличаются
высоким гидравлическим к.п.д.
компактностью
быстроходностью.
Эти насосы пригодны для перемещения загрязнённых и
кристаллизующихся жидкостей.
1.7 Насосы
трения
Вихревые насосы обладают хорошей способностью
самовсасывания, т. е. возможностью начинать действие без предварительного
заполнения всасывающей трубы подаваемой средой, если она имеется в корпусе
насоса.
Рис. 21
А - входное окно
В - уплотняющий участок
-корпус
-рабочее колесо
-кольцевой канал
-нагнетательный патрубок
Благодаря этому они применяются для подачи
легкоиспаряющихся или насыщенных газами капельных жидкостей и в комбинации с
центробежными насосами, также применяют для перемещения чистых маловязких
жидкостей с небольшими подачами (до 40 м3/ч) и сравнительно высокими напорами
(до 250 м), в несколько раз превосходящими напоры центробежных насосов.
Существуют две разновидности вихревых насосов: закрытого и открытого
типа.
В этих насосах для передачи энергии от рабочего колеса к жидкости и
создания напора используется энергия вихревого движения жидкости. Создаваемый
напор частично обеспечивается центробежными силами, но большая его часть
определяется энергией вихрей, образующихся в жидкости при вращении рабочего
колеса. Жидкость поступает через окно А к основаниям лопастей, отбрасывается
центробежной силой в кольцевой какал, в котором приобретает вихревое движение,
и перемещается вдоль канала к выходному патрубку. На этом пути жидкость
неоднократно попадает в пространство между лопастями, где ей дополнительно
сообщается механическая энергия. В результате многократного контакта между
перекачиваемой жидкостью и рабочим колесом достигаются более высокие напоры,
чем у центробежных насосов.
Вихревые насосы по сравнению с такими же (по размерам и скорости
вращения) центробежными насосами развивают в 3-7 раз больший напор, но работают
с более низким (в 2-3 раза) кпд. В зарубежной литературе вихревые насосы
называются фрикционными, регенеративными, турбулентными, самовсасывающими.
«+» К достоинствам вихревых насосов следует отнести:
простоту конструкции,
компактность,
возможность получения более высоких напоров, чем в
центробежных насосах.
«-» Недостатком вихревых насосов является:
низкий к.п.д. (20-50%), что обусловлено значительными
потерями при переносе энергии вихрями
непригодность для перекачивания вязких жидкостей и
жидкостей, содержащих твёрдые взвеси.
Отличительной особенностью вихревых насосов является
также резкое возрастание напора и потребляемой мощности с уменьшением производительности.
Лабиринтные насосы отличаются простотой форм рабочих
органов и отсутствием механического трения между винтом и втулкой, что
позволяет изготавливать эти насосы из различных материалов (пластмасс,
керамики, графита, резины и т п.) и применять их для перекачивания различных
химически активных сред (например, плавиковой кислоты)
Струйные насосы имеют наиболее широкую область применения и наибольшее
разнообразие конструкций. Одним из них является водоструйный насос, действие
которого состоит в основном из трёх процессов - преобразования потенциальной
энергии рабочей жидкости в кинетическую, обмена количеством движения между
частицами рабочей жидкости и подаваемой среды, а также перехода кинетической
энергии смеси рабочей и транспортируемой жидкостей в потенциальную.
Рис. 22
I-рабочая
жидкость
II-
перекачиваемая жидкость, III -
смесь,
-сопло, 2-корпус, 3-диффузор
«+» -простота устройства,
надёжность и долговечность в эксплуатации
могут быть изготовлены из химически стойких материалов
«-» -кпд не превышает 30%.
высокий шум при использовании пара в качестве рабочей жидкости
Струйные насосы используют в производствах, где
наличие движущихся и трущихся частей недопустимо и лишь в тех случаях, когда
допустимо смешение перекачиваемой жидкости с рабочей, используются для подачи
воды в паровые котлы.
1.8 Объемные
насосы
Область применения объемных насосов - сравнительно малые подачи при
больших давлениях.
Поршневые насосы отличаются большим разнообразием конструкций и широтой
применения. Действие поршневых насосов состоит из чередующихся процессов
всасывания и нагнетания, которые осуществляются в цилиндре насоса при
соответствующем направлении движения рабочего органа - поршня или плунжера. Эти
процессы происходят в одном и том же объёме, но в различные моменты времени.
«+» -сравнительно высокий кпд (0,9)
независимостью (в принципе) подачи от напора, что позволяет использовать
их в качестве дозировочных.
Поршневые насосы могут создавать при нагнетании жидкости давления порядка
100 Мн/м2 (1000 кгс/см2) и более.
«-» -по сравнению с центробежными насосами имеют более сложную
конструкцию
отличаются тихоходностью
большими габаритами
массой на единицу совершаемой работы
неравномерность подачи
Поршневые насосы целесообразно применять при
сравнительно небольших подачах и высоких давлениях (в диапазоне 50-1000 атм. и
выше), для перекачивания высоковязких, огне- и взрывоопасных жидкостей (паровые
насосы), а также при дозировании жидких сред.
1.9 Специальные
типы поршневых насосов:
Рис. 23
Диафрагмовые (мембранные) насосы относятся к поршневым насосом простого
действия и применяются для перекачивания суспензий и химически агрессивных
жидкостей. Цилиндр и плунжер насоса отделены от перекачиваемой жидкости
эластичной перегородкой - диафрагмой (мембраной) из мягкой резины или
специальной стали, вследствие чего плунжер не соприкасается с перекачиваемой
жидкостью и не подвергается воздействию химически активных сред или эрозии. При
движении плунжера вверх диафрагма под действием разности давлений по обе её
стороны прогибается вправо, и жидкость всасывается в насос через шаровой
клапан. При движении плунжера вниз диафрагма прогибается влево и жидкость через
нагнетательный клапан вытесняется в напорный трубопровод. Все части насоса,
соприкасающиеся с перекачиваемой жидкостью - корпус, клапанные коробки, шаровые
клапаны, изготавливают из кислотостойких материалов или защищают
кислотостойкими покрытиями.
Роторные насосы применяются главным образом для осуществления небольших
подач жидкости. По особенностям конструкции рабочих органов роторные насосы
можно подразделить на зубчатые - шестерённые, винтовые, шиберные, коловратные,
аксиально- и радиально-поршневые, лабиринтные. Каждый из них имеет свои
разновидности, но объединяющий их признак - общность принципа действия, в
основном аналогичного действию поршневых насосов. Зубчатые насосы используют
для подачи нефтепродуктов и др. жидкостей без абразивных примесей.
«+» Роторные насосы отличаются отсутствием всасывающего и нагнетательного
клапанов, что является их большим преимуществом и упрощает конструкцию.
Винтовые насосы могут быть использованы для
перекачивания высоковязких жидкостей, топлив, нефтепродуктов. Эти насосы
применяют в области подач до 300 м3/ч и давлений до 175 атм. при скорости
вращения до 3 000 об/мин.
Рис. 24
Рабочим органом винтового насоса являются ведущий винт 1 и несколько
ведомых винтов 2, заключенных в обойму 3, расположенную внутри корпуса 4.
Соотношения размеров винтов выбраны таким, что ведомые винты получают вращение
не от ведущего винта, а под действием давления перекачиваемой жидкости. Поэтому
нет необходимости в установке зубчатой передачи между ведущим и ведомыми
винтами.
При вращении винтов жидкость, заполняющая впадины в нарезках,
перемещается за один оборот вдоль оси насоса на расстояние, равное шагу винта.
Ведомые винты при этом играют роль герметизирующих обкладок, препятствующих
перетеканию жидкости из камеры нагнетания в камеру всасывания. Из камеры
нагнетания жидкость вытесняется в напорный трубопровод..
«+» Достоинства винтовых насосов:
-быстроходность,
компактность,
бесшумность.
Производительность винтовых насосов практически не
изменяется при изменении давления. К.п.д. этих насосов достаточно высок и
достигает 0,75-0,8.
Область применения одновинтовых (героторных) насосов
ограничена производительностью 3,6-7 м3/ч и давлением 10-25 ат. Одновинтовые
насосы используют для перекачивания загрязнённых и агрессивных жидкостей,
растворов и пластмасс с высокой вязкостью.
Пластинчатые насосы применяют для перемещения чистых,
не содержащих твёрдых примесей жидкостей при умеренных производительностях и
напорах.
Шиберные пластинчатые насосы бывают одинарными и сдвоенными. Они
предназначены для нагнетания чистых не очень вязких минеральных масел до
давления 6 Мн/м2 (60 кгс/см2) и более и применяются в системах гидропривода.
Объем каждой камеры увеличивается при движении пластины от всасывающего
патрубка к вертикальной оси насоса, в результате чего в камере образуется
разрежение и происходит всасывание жидкости через патрубок 5. При движении
пластины от вертикальной оси в направлении вращения объем камеры уменьшается и
жидкость вытесняется из насоса в напорный трубопровод 6.

Рис. 25
- ротор
- корпус
- пластины
- рабочее пространство
- всасывающий патрубок
- нагнетательный патрубок.
Шестерённые насосы применяют для перекачивания вязких
жидкостей, не содержащих твёрдых примесей, при небольших подачах (не выше 5-6
м3/ч) и высоких давлениях (100-150 ат).
В корпусе 1 насоса заключены две шестерни 2, одна из которых (ведущая)
приводится во вращение от электродвигателя. Когда зубья шестерен выходят из
зацепления, образуется разрежение, под действием которого происходит всасывание
жидкости. Она поступает в корпус, захватывается зубьями шестерен и перемещается
вдоль стенок корпуса в направлении вращения. В области, где зубья вновь входят
в зацепление, жидкость вытесняется и поступает в напорный трубопровод.
Лабиринтные насосы отличаются простотой форм рабочих
органов и отсутствием механического трения между винтом и втулкой, что
позволяет изготавливать эти насосы из различных материалов (пластмасс,
керамики, графита, резины и т п.) и применять их для перекачивания различных
химически активных сред (например, плавиковой кислоты)
Герметические насосы. Эти насосы применяют для перекачивания химически
агрессивных и токсичных жидкостей. Рабочее колесо такого насоса установлено
непосредственно на валу асинхронного электродвигателя (находящегося в корпусе),
ротор которого погружен в перекачиваемую жидкость. В герметических насосах с
экранированным электродвигателем увеличиваются электрические потери, и
снижается кпд двигателя, однако достигается полная герметичность, которая
невозможна у насосов с сальниковыми уплотнениями. Герметические насосы надежны
в эксплуатации (особенно при повышенных давлениях на стороне всасывания) и
находят все более широкое применение в химической промышленности. Насосы с экранированным
электродвигателем относятся к насосам с герметизацией по внутреннему контуру, у
которых в рабочую жидкость погружен только ротор электродвигателя. Существуют
конструкции герметических насосов, в которых герметизация осуществляется по
внешнему контуру путем заполнения всей
полости электродвигателя жидкостью. В насосах этого типа ротор и статор
погружены в перекачиваемую среду.
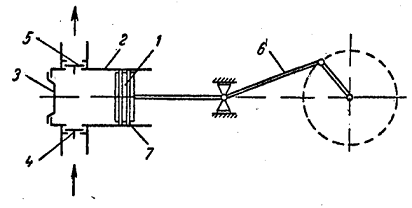
2. Описание технологической схемы установки
На рисунке изображена схема насосной установки.
К насосу 7, приводимому от электродвигателя 6, жидкость поступает из
приемного резервуара 1 по подводящему трубопроводу 12. Насос нагнетает жидкость
в напорный резервуар 2 по напорному трубопроводу 3. На напорном трубопроводе
имеется регулирующая задвижка 8, при помощи которой изменяется подача насоса.
Иногда на напорном трубопроводе устанавливают обратный клапан 10, автоматически
перекрывающий напорный трубопровод при остановке насоса и препятствующий
благодаря этому возникновению обратного тока жидкости из напорного резервуара.
Если давление в приемном резервуаре отличается от атмосферного или насос
расположен ниже уровня жидкости в приемном резервуаре, то на подводящем
трубопроводе устанавливают монтажную задвижку 11, которую перекрывают при
остановке или ремонте насоса. В начале подводящего трубопровода часто
предусматривают приемную сетку 13, предохраняющую насос от попадания твердых
тел, и пятовой клапан 14, дающий возможность залить насос и подводящий
трубопровод жидкостью перед пуском. Работа насоса контролируется по расходомеру
4, который измеряет подачу насоса, по манометру 5 и вакуумметру или манометру
9, дающим возможность определить напор насоса.
насос центробежный кавитация
3. Описание основного аппарата
Одноступенчатые насосы имеют одно рабочее колесо,
многоступенчатые - несколько последовательно соединенных рабочих колес,
закрепленных на одном валу.
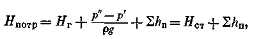
На рисунке (ІІ) изображена простейшая схема центробежного насоса - одноступенчатый насос
консольного типа. Рабочее колесо у этих насосов закреплено на конце (консоли)
вала. Вал не проходит через область всасывания, что позволяет применить
простейшую форму подвода в виде прямоосного конфузора.
Проточная часть насоса состоит из трех основных элементов - повода 1, рабочего
колеса 2 и отвода 3. По подводу жидкость подается в рабочее колесо из
подводящего трубопровода.
Назначением рабочего колеса является передача жидкости энергии от
двигателя. Рабочее колесо центробежного насоса состоит из ведущего а и ведомого
(обода) б дисков, между которыми находятся лопатки в, изогнутые, как правило, в
сторону, противоположную направлению вращения колеса. Ведущим диском рабочее
колесо крепится на валу. Жидкость движется через колесо из центральной его
части к периферии. По отводу жидкость отводится от рабочего колеса к напорному
патрубку или, в многоступенчатых насосах, к следующему колесу.
4. Расчетная часть, включающая технологический расчет основного и
вспомогательного аппарата
Рассчитать и подобрать центробежный насос для подачи 9м
/ч (0,0025 м
/с)
едкого натрия из емкости, находящегося под атмосферным давлением, а аппарат,
работающий под избыточным давлением 0,1МПа. Температура раствора 20°С,
геометрическая высота подъема раствора 10 м. Длина трубопровода на линии
всасывания 5 м, на линии нагнетания 8 м.
На
линии всасывания установлен один нормальный вентиль, на линии нагнетания - один
нормальный вентиль и дроссельная заслонка, имеются также два колена под углом
90°С.
.
Выбор диаметра трубопровода. Примем скорость раствора во всасывающем и
нагнетательном трубопроводах одинаковой, равной 2 м/с. Тогда диаметр
трубопровода равен:
Принимаем трубопровод из стали марки Х18Н10Т, диаметром 45
3,5 м.
Уточняем скорость движения раствора:
. Определение потерь на трение и местные сопротивления. Определяем
величину критерия Рейнольдса:
где
1109 кг/м
-
плотность едкого натрия и
1,86*10
Па*с
- вязкость едкого натрия при 20°С.
Режим турбулентный.
Принимаем абсалютную шероховатость стенок труб
, степень шероховатости
. Находим значение коэффициента трения
.
Определяем сумму коэффициентов местных сопротивлений:
1) Для всасывающей линии
- вход в трубу (принимаем с острыми краями):
;
-
нормальный вентиль: для
м
,
для d=0,04 м
=4.9. Интерполяцией находим для d =
0,038 м
= 5,2. Тогда
= 0,5 +
5,2 = 5,7;
)
для нагнетательной линии
выход
из трубы
= 1;
нормальный
вентиль
= 5,2;
дроссельная
заслонка
= 0,9 при α = 15°;
- колено
под углом 90°
= 1,6. Следовательно,
Н = 1 + 5,2 + 0,9 + 2 * 1,6 = 10,3.
Определяем
потери напора :
1) во всасывающей линии
м;
2) в нагнетательной линии
м.
Общие
потери напора:
=
2,46+4,23 = 6,69 м.
.
Выбор насоса. По формуле определяем полный напор, развиваемый насосом:
м.
Полезная
мощность насоса определяется по формуле:
Nn =
700 Вт = 0,7 кВт.
Принимая
ηп = 1 и ηн = 0,6 для насосов малой производительности, найдем
по формуле мощность на валу двигателя:
кВт.
Мощность,
потребляемая двигателем от сети, при ηдв =0,8: =
1,17/0,8= 1,46 кВт.
С
учетом коэффициента запаса мощности β=1,5 устанавливаем двигатель мощностью
кВт
Устанавливаем
центробежный насос марки XМ 8/30 со следующей характеристикой:
производительность 2,4*10
3 м3/с;
напор 30 м; к. п. д. насоса 0,5.
Насос
снабжен электродвигателем 4A100S2 номинальной мощностью 4 кВт, ηдв = 0,83, частотой вращения вала п = 48,3 с-1.
.
Предельная высота всасывания рассчитывается при необходимости расположения
насоса над резервуаром с раствором. Для центробежных насосов запас напора,
необходимый для исключения кавитации, рассчитывают по формуле:
м
По
таблицам давлений насыщенного водяного пара, найдем, что при 20 °С pt =
2,33*103 Па. Примем атмосферное давление равным рa
= 105 Па, а диаметр всасывающего патрубка равным диаметру
трубопровода. Тогда найдем:
Таким
образом, центробежный насос может быть расположен над уровнем раствора в
емкости на высоте менее 5,62 м.
Заключение
Особенности конструкции и принцип действия различных насосов определяют
диапазоны подачи и напора, в пределах которых целесообразно применять насосы
того или иного типа. Наибольшее распространение в химической промышленности
получили центробежные насосы из-за ряда преимуществ, которые были указаны выше.
Поршневые насосы рекомендуется применять лишь при сравнительно небольших
подачах и высоких давлениях, для перекачивания высоковязких, огне- и
взрывоопасных жидкостей (паровые насосы), а также при дозировании жидких сред.
В области больших подач (до 1500 м3/мин) при небольших напорах
применяют пропеллерные насосы.
Центробежные и роторные насосы применяются в качестве генераторов
гидравлической энергии в гидравлических передачах и системах гидропривода
машин, в которых наряду с гидравлическими двигателями они являются основным
элементом.
Литература
v Насосы. Каталог-справочник, 3 изд., М.- Л., 1960;
v Степанов А.И., Центробежные и осевые насосы, пер. с англ., 2
изд., М., 1960;
v Ломакин А.А., Центробежные и осевые насосы, 2 изд., М.- Л.,
1966;
v Чиняев И.А., Роторные насосы, Л., 1969.
v Хаустов А.И., Лекции по кавитации
v Башта Т.М., Руднев С.С, Некрасов Б.Б., Гидравлика,
гидромашины и гидроприводы, 2 изд, 1982
v Касаткин А.Г., Основные процессы и аппараты химической
технологии, 11 изд, 1973