Изучение механических характеристик полимеров
Введение
Изучение механических характеристик полимеров имеет очень важное значение
при изготовлении кабелей и проводов для определенных условий эксплуатации, в
частности при воздействии внешних деформирующих сил.
В процессе изготовления, монтажа и эксплуатации кабельные изделия могут
подвергаться различным механическим воздействиям. Допустимая степень этих
воздействий определяется величиной механических параметров кабелей и проводов,
к которым относятся гибкость, стойкость к растяжению, перегибам, ударам,
вибрациям, истиранию и продавливающим нагрузкам. Иногда эти воздействия могут
оказаться весьма значительными.
Одними из важнейших элементов в конструкции кабеля являются элементы,
изготовленные из полимерных материалов, такие как, например, изоляция и пластмассовая
оболочка. Во многом от них зависит долгая и бесперебойная эксплуатация кабеля.
Так при их повреждении может произойти уменьшение электрической прочности и, в
конечном счете, пробой изоляции.
Максимально допустимые значения относительного удлинения и разрывной
прочности при растяжении определяются на испытательном стенде типа разрывной
машины. Эти значения позволят определить срок в течение, которого кабель будет
эксплуатироваться под предельными нагрузками без снижения значений основных
электрических характеристик.
Стремительные темпы компьютеризации всех сторон человеческой деятельности
привели к тому, что сегодня компьютеры, и, прежде всего, персональные ЭВМ,
стали непременным атрибутом самых различных технических комплексов. Это
касается и современных систем управления и сбора данных,
контрольно-измерительного и лабораторного оборудования, т.е. любых комплексов,
основной задачей которых является обработка и интерпретация информации,
поступающей из “внешнего мира”.
В результате перед разработчиками и пользователями любой
специализированной системы встаёт задача адекватной стыковки устройств,
воспринимающих информацию из внешнего мира, а именно датчиков различного типа,
с персональным компьютером, являющимся центральным узлом такой системы и выполняющим
задачи координации работы системы, обработки поступающей информации и выдачи её
пользователю в наиболее удобной для него форме.
Целью данного проекта является модернизация лабораторного стенда по
измерению механических характеристик полимеров, а именно относительного
удлинения и предела прочности при разрыве.
Модернизация лабораторной установки позволит повысить её точность,
существенно облегчить обработку результатов измерений, их систематизацию,
хранение, а также организовать выдачу информации, как в процессе измерения, так
и по его окончании в наиболее удобном для пользователя виде.
Литературный обзор
Для проведения испытаний на разрыв и сжатие применяют специальные
устройства (разрывные машины, испытательные прессы, динамометры). Разрывная
машина имеет зажимы, в которых закрепляется испытуемый образец, подвергающийся
действию постепенно возрастающей нагрузки, а также устройства для измерения
действующего на образец усилия и деформации образца. Для испытаний материалов
применяются разрывные машины самых различных размеров, рассчитанные на нагрузки
от сотых долей ньютона до многих килоньютонов. Требования к ним излагаются в
ряде стандартов. Так, разрывные машины, применяемые при испытании пластмасс на
растяжение, должны по своим техническим характеристикам удовлетворять
требованиям стандарта ГОСТ 2048-75. Разрывные машины могут иметь привод -
ручной или от электродвигателя. Электропривод предпочтительнее, т.к. он дает
возможность более плавно, без рывков, повышать нагрузку с определенной
скоростью. [ 14 ]
В работе предлагается модернизация разрывной машины, имеющей
электропривод, позволяющей плавно увеличивать нагрузку на образец, и
механический динамометр стрелочного типа.
Разрывная машина позволяет отображать на механическом самописце, как
удлинение образца, так и усилие, с которым растягивается образец. В виду низкой
точности и неудобства обработки информации самописца решено было оснастить
машину электронными датчиками удлинения и усилия с минимальными изменениями в
конструкции машины.
Ниже приведены характеристики и принцип действия некоторых видов и типов
датчиков, с помощью которых оказывается возможным решить поставленную задачу.
Датчики
перемещения.
Индуктивные датчики перемещения
Индуктивные датчики перемещения (рис.1,а) представляют собой датчики
изменения длины с пассивным индуктивным чувствительным элементом при измерении
малых перемещений или же с дифференциальным дросселем или дифференциальным
трансформатором. Датчик с катушками 2 и подвижным сердечником 1 прижимается к
объекту измерений контактными измерительными наконечниками.
Индуктивный
датчик измеряет удлинение
=
L/L0
базисного расстояния Lо, в то время как обычные тензодатчики регистрируют
непосредственно удлинение независимо от длины L измерительного элемента.
Индуктивные датчики обычно имеют номинальное базисное расстояние между
наконечниками Lо от 5 до 200мм, максимальное измеряемое удлинение от ±20 мкм до
±10 мм, относительное удлинение
=20*10-3
м/м и частотный диапазон от О до 1000 Гц.
Индуктивные
датчики в отличие от тензодатчиков пригодны для многократного использования на
разных - объектах, однако они имеют гораздо большую массу и измеряют изменение
длины на поверхности объекта около нескольких миллиметров, что легко может
привести к появлению погрешностей измерения. [ 2 ]
Рис. 1. Датчики удлинения с базовой длиной Lо:
а - датчик с перемещаемым сердечником 1 и дифференциальным дросселем 2: б
- датчик со струной 5, электромагнитом 4 для регистрации частоты колебаний.
Струнный
датчик имеет вибрирующий чувствительный элемент, состоящий из механически
колеблющейся системы, например, показанной на рис.1,б натянутой струны. В этой
струне 3 с помощью электромагнита 4 возбуждаются прерывистые или непрерывные
поперечные колебания с частотой
f0 =
[1/2L]
, где - Е - модуль упругости; Q - плотность материала
струны; L-длина струны.
Удлинение
пропорциональное квадрату собственной частоты
колебаний fо, определяется путем измерения изменения частоты колебаний с
помощью электромагнита и преобразователя типа частота-ток. Диапазон частот
собственных колебаний составляет 700-1000Гц, на наконечники действует
относительно большая сила от 40 до 100Н.
Струнные
датчики особенно пригодны для дистанционных длительных измерений в сложных
условиях и применяются также для измерений перемещений, угла наклона, силы,
момента вращения, давления и температуры. Датчики с прерывисто колеблющейся
струной пригодны только для измерений статических величин, а с непрерывно
колеблющейся - как для статических, так и для динамических измерений. [ 2 ]
Измерение
перемещения.
В датчике перемещения измеряется расстояние подвижной точки на объекте от
неподвижно закрепленной точки, при этом используются как аналоговые, так и
цифровые датчики.
Аналоговые датчики для измерения перемещения изготовляются обычно на
основе пассивных резистивных чувствительных элементов, а также индуктивных
(Рис2,а-г). Датчики со скачкообразно меняющимся сигналом для измерения любого
перемещения с резистивными, индуктивными, электродинамическими и
фотоэлектрическими чувствительными элементами (рис. 2,з) выдают импульсы,
пропорциональные перемещению. В цифровых датчиках используются различные
способы кодирования.
Рис. 2. Устройства для регистрации перемещений S:
а- г- с аналоговыми датчиками; д-з - с датчиками со скачкообразно
изменяющимися сигналами; а-с резистивным датчиком R; б - с тензорезисторным
датчиком , в- с индуктивным датчиком, г - с индуктивным бессконтактным
датчиком; д - с переключающим элементом; е - с индуктивным бесконтактным
датчиком; ж - с электродинамическим чувствительным элементом (индукционной
катушкой или магнитофонной воспроизводящей головкой, расположенной у
намагниченного слоя);з -с фотоэлектрическим чувствительным элементом.
Аналоговые
датчики перемещения.
Потенциометрический датчик с резистивным чувствительным элементом R
(рис.2,а) при правильном выборе схемы измерения сопротивления дает выходное
напряжение, линейно зависящее от пути S. Номинальные измеряемые значения S
лежат в пределах от 10 до 1500 мм при R=10 Ом-50 кОм, максимально достижимое разрешение
Q s при потенциометрах из провода не превышает 0,05%, а при потенциометрах из
проводящих пластмасс оно близко к 0. Наименьшая относительная линейная
погрешность Fлин=0,01 % , максимальная допустимая скорость перемещения движка
приблизительно равна 0,25 м/с, срок службы - более 30 млн. перемещений движка.
Применяют также датчики перемещения, в качестве чувствительного элемента
которых используется пластина из полупроводникового магнитного материала,
перемещаемая в постоянном магнитном поле. При этом изменяется ее сопротивление
в диапазоне от 100 до 500 Ом прямо пропорционально перемещению. Сопротивление
как мера перемещения или другой пропорциональной ему величины может измеряться
приборами для измерения сопротивления.
В устройстве с тензорезисторами R1 и R2 (рис.2,б) деформация пластины, на
которой закреплены датчики, прямо пропорциональна перемещению S.
В индуктивных датчиках перемещения и изменения расстояния в качестве
чувствительных элементов используются дифференциальные дроссели или
трансформаторы и схемы мостов с включением датчиков в соседние плечи и
измерительные усилители с несущей частотой.
Номинальный измеряемый путь Sм серийно выпускаемых датчиков составляет
примерно 80 % длины катушки и равен обычно от ±0,5 до ±500 мм максимальная
чувствительность датчиков для конечного измеряемого пути равна U ==80 мВ на 1В
питающего напряжения. Частотный диапазон измерений составляет от 0 до 1250Гц.
Комбинированный датчик перемещения (рис.3) содержит чувствительный
элемент - дифференциальный трансформатор ДТ, генератор несущей частоты Г и
демодулятор Д в миниатюрном исполнении. Он питается постоянным напряжением Uо =
6-24 В, и при диапазонах измеряемых перемещений от ±1 до ±100 мм общая
чувствительность Ss составляет 5-0,1 В/мм.
Бесконтактный индуктивный датчик пути (рис.2, г) с чувствительным
элементом в виде простого дросселя.
Рис.3. Комбинированный датчик для измерения пути s.
Бесконтактный индуктивный датчик пути (рис.2, г) с чувствительным
элементом в виде простого дросселя, в котором практически отсутствуют силы
трения, пригоден для измерения расстояний при любых металлических объектах,
кроме магнитных сердечников электромагнитов. При их использовании применяют
либо измерительные мосты с несущей частотой, либо более распространенные
высокочастотные колебательные схемы. При этом катушка L является элементом
колебательного контура, колеблющегося, например, с резонансной частотой fо= 4
МГц. Высокочастотное поле катушки создает в металлическом сердечнике вихревые
токи, изменяется добротность колебательного контура, а вместе с этим и
потребляемый контуром ток в зависимости от положения сердечника. Кроме того,
добротность зависит от материала объекта измерения. Путем подбора электронной
согласующей схемы достигается линейная зависимость выходного напряжения от
расстояния между катушкой и поверхностью объекта. Измерительная катушка и схема
согласования могут быть совмещены конструктивно в датчике.
В зависимости от типа бесконтактных датчиков линейный диапазон измерений
расстояния составляет 0,1- 1 мм или 3-30 мм. Чувствительность при стальной
поверхности объекта Sg==10 мВ/мм, частотный диапазон измерений - от 0 до 10
кГц. Эти датчики пригодны при измерениях перемещений загрязненных маслом или,
пылью деталей машин и для измерения толщины непроводящих слоев материалов.
Датчики приращения расстояния со скачкообразным изменением сигнала
Принцип действия этих датчиков, служащих для измерения перемещения или
угла поворота, заключается в простом подсчете импульсов, поступающих от резистивного,
индуктивного или электродинамического чувствительного элемента (см. рис.2,
г-ж).
Каждый импульс (квант пути SQ) связывается с регистрируемым сигналом, и
показание счетчика z определяет расстояние s= SQ z. Погрешности измерения
любого импульса сказываются на общем результате. Нулевая точка может быть легко
установлена вновь, однако измеряемая информация не обладает избыточностью, так
как погрешности вызывают уменьшение регистрируемых импульсов по сравнению с
действительными.
Рис. 4. Кодовые растровые пластины с пятью дорожками для двоичного (а) и
одноступенчатого (б) кодирования с отверстиями для прохождения считывающего
луча лазера.
Синхронно-индуктивный способ измерений с регистрацией перемещений основан
на использовании устройства с катушкой, выполненной зигзагообразно проводом на
поверхности объекта, и измерении переменного напряжения вдоль катушки. По длине
250 мм при шаге катушки 2 мм максимальное разрешение SQ может достигать 1 мкм.
Датчики перемещения с фотоэлектрическими чувствительными элементами
содержат растровую пластинку, дискретно отражающую или пропускающую свет
(рис2.3) при ее движении, В устройствах с несколькими дорожками на пластине
(рис. 4) результат измерение представляется сразу в цифровой форме.
Истинное перемещение при использовании этого способа может быть найдено,
например, с помощью двух фоточувствительных датчиков и логической схемы.
В устройствах для измерения поступательного движения максимальная
номинальная длина может достигать 3 м, наименьшая абсолютная погрешность
масштаба ±1 мкм, максимальное абсолютное разрешение 0,5мкм. [ 2 ]
Датчики
перемещения с цифровым кодированием.
В датчиках перемещения с цифровым кодированием перемещение преобразуется
с помощью кодирующей плоской пластины, а изменение угла - с помощью такого же
кодирующего диска. Перемещение или поворот фиксируется в этих датчиках
непосредственно в виде электрических сигналов в двоичной (рис.4.а) или
десятичной системе (рис.4,б), Для устранения ошибок используют V-логику с
дублированием считывания или одноступенчатые специальные коды.
При использовании способов измерения с кодированием требуются большие
затраты на приборы для считывания и обработки, которые могут различить при n дорожках 2n различных положений.
Смещение нуля возможно только путем перемещения датчика. Эти способы
используются в основном при очень жестких требованиях к точности, в самолето -
и турбиностроении, при обеспечении безопасности полетов летательных и
космических аппаратов и в ядерных реакторах.
Наряду с непосредственным измерением поступательных перемещений с помощью
системы с линейным масштабом имеются устройства для косвенного измерение с
преобразованием во вращательное движение. При этом измеряемое перемещение
преобразуется с помощью механических устройств (планка с зубьями или шпиндель с
винтовой нарезкой и гайкой) в угол поворота и затем измеряется датчиком
поворота. Эти устройства используются на производстве в станках с цифровым
управлением. [ 2 ]
Другие
способы измерения перемещений.
Датчики перемещения с емкостными чувствительными элементами, включенными
в колебательный контур, или с дифференциальными конденсаторами и измерительным
мостом имеют номинальный диапазон измеряемых перемещений 0-2 мм, наибольшая их
погрешность не превышает 1,5 мкм или же диапазон 0-20 мм при погрешности не
более 2 мкм. Разрешение может достигать 0,02 мкм, а рабочий диапазон частот
составляет 0--100 кГц.
В лазерных устройствах для измерения расстояний используется регистрация
времени распространения света от лазера - излучателя до объекта - отражателя и
фотодиода-приемника. Режим работы импульсный (несколько сотен лазерных
импульсов в секунду). Диапазон измеряемых расстояний и составляет, например от
35 до 5 м, относительная погрешность не более 10-4.
Датчики перемещения могут быть использованы в качестве чувствительных
элементов при измерениях многих других величин, которые связаны с изменением
расстояния. [ 2 ]
Потенциометрические
резистивные преобразователи.
Резистивный проволочный потенциометр со скользящим контактом - один из
наиболее простых и эффективных преобразователей перемещения. Для его
использования нужно лишь соединить скользящий контакт (движок) с движущимся
объектом, а остальную часть потенциометра закрепить неподвижно. На рис. 5
показаны потенциометрические преобразователи, предназначенные для измерения как
линейных (трансляционных), так и угловых перемещений. В идеальном случае между
выходным сигналом преобразователя и перемещением (любого типа) существует
линейная связь.
Рис. 5 Три типа потенциометрических преобразователей для измерения
перемещении: (а) линейный (трансляционный); (б) однооборотный; (в)
многооборотный.
Применение тщательно изготовленных проволочных потенциометров гарантирует
малую нелинейность преобразования. Как видно из рис.5, нелинейность,
обусловленная конечным сопротивлением нагрузки потенциометрического
преобразователя, возрастает при уменьшении этого сопротивления. Это влияние
можно ослабить путём шунтирования верхнего плеча потенциометра резистором с
сопротивлением Rm = RL. Характеристика преобразователя для этого случая
показана пунктирной линией на рис.6(б); при Х=0,5Хm погрешность, связанная с
нелинейностью, обращается в нуль.
Рис.6
Потенциометрический резистивный преобразователь. (а) Принципиальная схема.
Штриховыми линиями показан способ включения шунтирующего резистора. (б)
Сравнение
выходных сигналов преобразователя с шунтирующим резистором и без него.
Движок потенциометра контактирует с отдельными витками на катушке.
Поэтому выходной сигнал (напряжение) преобразователя изменяется не непрерывно,
а в виде перемежающихся малых больших скачков (рис.6). Малый скачок имеет
место, когда движок замыкает два соседних витка, как показано на рис. 7;
большой скачок соответствует моменту перехода движка к следующему витку и
размыкает два соседних витка, как показано на рис. 8; большой скачок
соответствует моменту перехода движка к следующему витку и размыкания контакта
с предыдущим витком. Таким образом, разрешение этого преобразователя зависит от
диаметра намоточного провода и может быть улучшено путем использования более
тонкого провода. Для потенциометра с плотностью намотки 50 витков на миллиметр,
что близко к практическому пределу, предельное разрешение составляет 20 мкм. [ 1 ]
Рис.7 Скачкообразная зависимость выходного напряжения преобразователя
решения потенциометрического (катушечного) типа от перемещения движка
потенциометра.
Резистивные
тензодатчики.
Резистивный тензодатчик (тензорезистор) - это измерительный
преобразователь, который изменяет свое сопротивление в результате деформации,
возникающей при перемещении контролируемого объекта. Резистивные тензодатчики
для медико-биологических применений разбиваются на два класса: 1) металлические
и полупроводниковые датчики и 2) эластичные датчики. Первые пригодны для
измерения только очень малых перемещений (< 20 мкм) и, как правило, требуют
приложения довольно значительных сил в процессе измерения. Они широко используются
в качестве вторичных преобразовательных элементов при измерениях силы, давления
и ускорения. С другой стороны, преобразователи эластичного типа способны
измерять большие перемещения, достигающие 50% их длины в исходном состоянии,
благодаря чему они особенно подходят для регистрации статических и динамических
изменений, происходящих в кровеносные сосудах, камерах сердца и др. [ 1 ]
Датчики
угла поворота.
Способы измерения угла поворота во многом аналогичны измерениям
поступательного движения.
Среди датчиков угла с электрической редукцией большой интерес у
разработчиков представляет индуктосин - многополюсный датчик с плоскими
печатными обмотками. Разработанный вначале для применения в специальной
технике, индуктосин быстро получил широкое распространение и в других отраслях
техники. Особенно широкое применение индуктосин нашел в системах числового
программного управления (ЧПУ) металлорежущими станками. Анализ большого
количества зарубежных систем ЧПУ станков показывает, что 24% систем оснащено
индуктосинами. По прогнозам развития подобных систем потребность до 1990 г. в
измерительных преобразователях типа индуктосин только для металлорежущих
станков в США составит 250000 шт. Основное В достоинство индуктосина состоит в
том, что при его производстве используется однажды изготовленный комплект
фотошаблонов, с которых и производится фотопечать обмоток датчиков. Такая
технология обеспечивает высокую повторяемость характеристик, малую стоимость
изделий, снижает вероятность брака.
Достоинством датчиков типа индуктосин является также и то, что, хотя
высокие точности можно получить лишь при сравнительно больших диаметрах
обмоток, объем, занимаемый датчиком, остается малым. Это позволяет создавать
встроенные конструкции, когда стабильность поверхностей обмоток обеспечивается
жесткостью конструкции основного изделия, либо совмещенные конструкции, когда
обмотки выполняются непосредственно на взаимно перемещающихся деталях изделия.
В последнее время применение преобразователей с электрической редукцией
находит все большее распространение в индукционном и емкостном вариантах
исполнения.
Индукционные преобразователи имеют ряд преимуществ перед емкостными, так
как последние в значительной степени подвержены влиянию паразитных емкостей и
посторонних электрических полей и требуют тщательной экранировки, кроме того,
электронные схемы в случае применения многополюсных емкостных преобразователей
сложней, чем при индукционных, в частности, усилитель сигнала должен иметь
высокое входное сопротивление, в связи с чем, используют обычно электронные
лампы.
Поэтому заслуживают внимание многополюсные воздушные поворотные
трансформаторы специального выполнения, позволяющие производить отсчет угла с
точностью 1-5 угловых секунд. Эти приборы получили название индуктосинов.
Точность измерения угла с помощью индуктосина достигается за счет большого
количества полюсов на роторе и статоре прибора, при плоском печатному
выполнении обмоток, и некоторых особенностей их исполнения, и включения.
Поворотный индуктосин, являясь многополюсным преобразователем, может быть
использован как точный электромеханический редуктор, позволяющий производить
преобразование масштабов, при этом угол поворота вала может быть преобразован в
фазовый сдвиг или угловое положение нулевого отсчета, которые в дальнейшем
могут быть использованы при построении конкретных систем автоматического
управления. Масштаб преобразования равен числу пар полюсов обмотки его ротора.
В качестве элемента грубого отсчета может применяться любой однополюсный
преобразователь типа фазовращателя или поворотного трансформатора, ось которого
сочленяется с осью индуктосина.
Способы согласования каналов грубого и точного отсчетов здесь не
рассматриваются, так как в принципе он и не отличается от способов, применяемых
в двухскоростных сельсинных передачах.
Индуктосн, ввиду его универсальности, находит применение в ряде
специальных систем. Так, он может быть использован для дистанционного измерения
углового положения вала, преобразования углового положения вала в код,
обратного преобразования кода в угловое положение вала и в других системах. [ 6
]
Принцип действия и особенности
выполнении обмоток
Поворотный индуктосин представляет собой прибор, основным элементом
которого являются два диска из изоляционного материала, расположенные соосно и
параллельно. Диски могут поворачиваться относительно друг друга на измеряемый
угол.
На смежные поверхности дисков печатным способом наносятся обмотки,
представляющие собой ряд радиальных токопроводящих пластин-проводников,
соединенных поочередно то у центра, то на периферии, образующие непрерывную
линяю, имеющую разрывы для присоединения токонесущих проводов. Простейшей
формой выполнения обмотки является обмотка, расположенная в 360° диска, имеющая
разрыв для подвода тока.
На диске располагают обычно и несколько обмоток. Обмотки эти могут быть
непрерывными или разбитыми на секции, соединенные соответствующим образом. [ 7
]
Индуктосин выполняют в различных вариантах: могут быть использованы два
диска, имеющих единичные многополюсные обмотки, или на одном из дисков может
быть помещена единичная обмотка, а на втором - секционированная и, наконец, на
обоих дисках могут быть помещены секционированные обмотки. Выбор того или иного
сочетания обмоток на дисках определяется назначением индуктосина.
Если к первичной обмотке приложить переменное напряжение, то на вторичной
обмотке появится напряжение, являющееся функцией углового положения дисков.
Будем в дальнейшем называть угловое расстояние между началами (концами)
соседних радиальных проводников полюсным делением обмотки т/2 и удвоенную
величину полюсного деления шагом обмотки т. В настоящее время наибольшее
распространение получил вариант выполнения поворотного индуктосина, у которого
статор состоит из двух многополюсных секционированных фазных обмоток, а ротор -
из одной многополюсной обмотки.
Обмотки статора при этом сдвинуты относительно друг друга на половину
полюсного деления обмотки ротора.
На рис.8 схематически показана конфигурация обмоток ротора (рис.8,а) и
статора (рис.8,б) поворотного индуктосина.
Ряд специальных мер, позволяет получить синусоидальное изменение взаимной
индукции между статором и ротором в функции угла поворота ротора. Для лучших
образцов прибора высшие гармоники поля составляют меньше 0,1%. Число радиальных
проводников ротора должно быть четным, с тем, чтобы направление магнитных полей
в двух смежных проводниках, на которых заканчивается обмотка, было
противоположным, чтобы обмотка была симметрична. На рис.8, б показана
схематически двухфазная обмотка статора прибора, каждая фаза, которая состоит
из четырех секций.
На рисунке указаны направления токов в обмотках и способ их соединения.
Как и на роторе, каждая секция обмотки статора должна содержать четное число
проводников. Интересен вопрос об определении числа проводников обмоток
индуктосинов. Казалось бы, чем меньше шаг обмоток, т.е. чем больше число
проводников, тем большая точность может быть получена. Фактически же для
воздушного трансформатора коэффициент индуктивной связи весьма низок и при
большом числе полюсов емкостная связь между первичной и вторичной обмоткой
может оказаться соизмеримой с индуктивной связью.
Рис.8 Конфигурация обмоток индуктосина: а - обмотка ротора, б - обмотка
статора.
Распространены плоские трансформаторы, имеющие 100, 108, 128, 144, 180,
256 и 360 пар полюсов. Выбор числа пар полюсов зависит от назначения прибора.
Так, при использовании двоичного кода удобны 128-и 256-парные полюсные приборы,
при десятичной системе обмотки индуктосина должны иметь 100-200 пар полюсов, а
для градусного отсчета приборы с числом пар полюсов 180 и 360. Проводники на
дисках должны быть нанесены с относительно высокой степенью точности, хотя
большое число проводников и вызывает усреднение в общей индуктивной связи между
обмотками ротора и статора, тем самым, снижая влияние ошибки в нанесение
отдельных проводников. [ 6 ]
Синусно-косинусные трансформаторы
В качестве датчиков углового положения в цифровых преобразователях угла
(ЦПУ) фазового типа широкое применение находят фазовращатели (ФВ) на основе
синусно-косинусных трансформаторов (СКТ). Основной технической характеристикой
ФВ является линейность изменения фазы выходного напряжения как функции угла
поворота ротора j
СКТ. Она, в первую очередь, характеризует метрологические возможности тракта в
аппаратуре, в котором используется ФВ. Поэтому построение высокоточных ФВ
является актуальной задачей аналого-цифрового преобразования. Наиболее часто в
ЦПУ используются однофазные и двухфазные ФВ на основе СКТ. В однофазных ФВ
питание обмоток возбуждения (0В) СКТ осуществляется от однофазного источника
напряжения, а СКТ работает в режиме пульсирующего магнитного поля, в двухфазных
ФВ - от двухфазного источника напряжения питания (ИП, СКТ работает в режиме
вращающегося магнитного поля). В настоящее время затруднительно отдать предпочтение
какому-нибудь типу ФВ, так как высокая точность одних определяется
использованием стабильных и точных пассивных элементов, а других - наличием
прецизионного квадратурного источника питания. Фазовращателям указанных типов
присущи погрешности, которые можно разделить на два вида. К первому виду
следует отнести погрешности, обуславливаемые нестабильностью и разбросом
параметров пассивных элементов - для однофазных ФВ; асимметрией напряжений
питания - для двухфазных ФВ; асимметрией СКТ, возникающей за счет
конструктивных и технических ограничений. Ко второму виду относятся
погрешности, определяемые изменением сдвига фазы выходного напряжения
относительно входного (вследствие комплексного характера входного сопротивления
СКТ и нагрузки на ФВ), задержками в линиях связи (СКТ может находиться на
значительном удалении от электронной части ЦПУ). Эти погрешности существенно
меняются под влиянием климатических факторов (в основном температуры)
окружающей среды.
Применение ФВ с перестраиваемой структурой позволят существенно уменьшить
указанные погрешности. Повышению точности ЦПУ способствует использование в
схемах ФВ многополюсных датчиков угла (СКТ, редуктосинов, индуктосинов),
работающих в режиме с пульсирующим или вращающимся магнитным полем. При этом суммарная
погрешность ЦПУ практически уменьшается в p раз (число пар полюсов датчика
угла) и определяется, в основном, только точностью многополюсных СКТ. В связи с
этим актуальной является разработка прецизионных многополюсных СКТ для схем ФВ.
[ 7 ]
Особенности проектирования СКТ для
работы в режиме вращающегося магнитного поля
Создание прецизионного ИП, обеспечивающего работу СКТ в режиме
вращающегося магнитного поля с двумя или тремя фазами 0В; (сдвиг векторов
междуфазных напряжений с точностью 2-5', разность междуфазовых напряжений - не
более 0,02%, максимальное содержание высших гармоник - менее 0,02 %), и
разработка совершенных методов измерения фазовой погрешности СКТ в схемах ФВ
позволили провести сравнение особенностей проектирования СКТ, предназначенных
для работы в режиме пульсирующего или вращающегося магнитного поля.
Если в режиме пульсирующего магнитного поля m-фазные выходные обмотки
(ВО) ФВ практически разомкнуты (нагрузкой входной части блоков преобразователей
угол-фаза-код можно пренебречь), то в режиме вращающегося магнитного поля
m-фазные 0В замкнуты на близкое к нулю внутреннее сопротивление ИП. Эти
различия, как показывает практика, приводят к необходимости, разработки
специальных методов проектирования многополюсных СКТ (СКТМ), работающих в
режиме вращающегося магнитного поля, поскольку критерии, которыми
руководствуются при проектировании многополюсных СКТ, в определенной части
отличаются от критериев для СКТ, предназначенных для работы в дистанционной
синхронной передаче угла (ДСПУ).
К многополюсным СКТ, предназначенным для работы в качестве датчика и
приемника точного отсчета (ТО) ДСПУ, кроме точности предъявляется требование
обеспечения максимальной крутизны выходного сигнала. Это достигается
применением синусных 0В и ВО с высокой добротностью.
Для ФВ нет необходимости обеспечения максимальной крутизны выходного
сигнала, поскольку входные элементы ЦПУ обеспечивают надежную работу при
сравнительно низких уровнях выходного напряжения (0,5-5 В). Главным критерием
работы СКТМ для схем ФВ является обеспечение строго линейной зависимости фазы
выходного напряжения в функции угла поворота ротора jизм=f(j).
При использовании СКТМ в режиме вращающегося магнитного поля, вследствие
замыкания 0В на ИП, наблюдается значительное влияние индуктивной связи фаз 0В
по лобовым и пазовым частям, существенно снижающее точность СКТМ. В ДСПУ
влияние индуктивной связи обмоток синхронизации на точность СКТ существенно
ослаблено, поскольку обмотки синхронизации СКТ - датчика и СКТ - приемника не
замкнуты накоротко, а нагружены друг на друга. При этом влияние индуктивной
связи фаз, как показывает практика, хотя и ощущается, но не столь значительно,
как в схеме ФВ с вращающимся магнитным полем СКТМ. В связи с этим СКТМ могут
обеспечить высокую точность определения положения контролируемого объекта
только при работе в схеме с пульсирующим магнитным полем. Для работы в схемах
ФВ с вращающимся магнитным полем необходима разработка специальных методов
проектирования СКТМ. [7]
Аналоговые датчики угла поворота
Аналоговые датчики угла поворота пригодны для измерений больших углов до
360°и выше.
В качестве чувствительных элементов в датчиках угла используются
резисторы с подвижным контактом, изготовленные из тонкого провода (рис.9,а) в
сочетании со схемой измерения сопротивления.
В пассивных датчиках индуктивного и емкостного типов, а также в активных
и пассивных фотоэлектрических датчиках вид характеристики задается фигурной
шайбой, выполненной в виде спирали Архимеда, или круглой шайбой, насаженной на
ось с эксцентриситетом (рис.9,б). Сельсиновые системы измеряют и передают, на
расстояние углы поворота a ³ 360° с малой абсолютной погрешностью
aF = ±0,1°.
Рис. 9. Аналоговые датчики угла поворота:
а - датчик из микропровода с подвижным контактом; б - датчик с фигурной
шайбой и индуктивным L, емкостным С или фотоэлектрическим Р чувствительными
элементами.
Рис.10. Аналоговые датчики малых углов поворота с индуктивным (а),
емкостным (б) или электролитическим (в) чувствительными элементами.
Аналоговые датчики угла при малых значениях измеряемого угла содержат
индуктивный пассивный чувствительный элемент - дифференциальный дроссель
(рис.10,а) или емкостный пассивный элемента дифференциальный конденсатор
(рис.106*) или электролитический чувствительный элемент с дифференциальными
сопротивлениями, образованными плоскими электродами в устройстве, показанном на
рис.10,б. Они измеряют углы не более ±45° и служат для передачи на расстояние
отклонений стрелок измерительных приборов.
Датчики наклона измеряют очень малые изменения угла относительно
вертикали (порядка нескольких градусов). [ 2 ]
Цифровые датчики угла поворота
Датчики угла поворота, включая кодирующие (рис. 11 и 12), особенно
распространены при измерениях в условиях производства, например в станках с
программным и цифровым управлением.
Датчики угла поворота выпускаются серийно в разных исполнениях (рис. 11,
а - в). Шайба с выступами (рис. 11,0) является чувствительным элементом
бесконтактного пассивного индуктивного датчика, содержащего отдельный дроссель,
включенный в высокочастотный колебательный контур или в мост с несущей
частотой. Они служат для статико-динамических измерений угла. Активные датчики
с индукционной катушкой Е (рис. 11,б) служат для динамических измерений в
течение длительного времени.
Рис. 11. Датчики угла поворота со ступенчатым изменением сигнала:
а - с зубчатой шайбой и пассивным дросселем L или активной индукционной
катушкой Е; б - с шайбой с постоянными магнитами и датчиком Холла Н; в - с
шайбой с прорезями, световым лучом и активным или пассивным фотоэлектрическим
чувствительным элементом, например фотодиодом Р.
Рис. 12. Устройство для кодирования угла, большего 360°, с кодирующими
шайбами, разделенными на 16 частей и редукторами Р б передаточным числом 16: 1.
Устройства с диском или барабаном, на котором размещены постоянные
магниты (рис. 11,б), и датчиком Холла Н или полупроводниковой пластинкой,
сопротивление которой зависит от индукции магнитного поля, служат для
статико-динамических измерений угла.
Датчики с шайбами, имеющими отверстия или щели (или же с барабанами,
отражающими свет растром), имеют источники света в виде ламп тлеющего разряда
или диодов из арсенида галлия и чувствительные элементы, например кремниевые
диоды или фототранзисторы. При использовании фотоэлектрических датчиков от
объекта измерений не потребляется энергии.
Фотоэлектрические датчики угла поворота с двум сдвинутыми по фазе
выходными напряжениями при 5000 делениях (20000 ступеней на 360°) имеют
абсолютное разрешение по углу aQ=360/20000»0,018°»1,08’ или же относительное разрешение
Qa=0,05 промилле на 360°.
Кодирующие датчики угла поворота имеют круглую шайбу с контактными
щетками или же с магнитной или фотоэлектрической измерительной системой. В
таких датчиках, например с 10 дорожками достигается абсолютное разрешение по
углу aQ=360/210»0,35°»21’. При 13 дорожках получается абсолютное разрешение aQ=360/8192»0,0439°»2,64’. Достижимо максимальное, количество ступеней
J=214.
Для увеличения разрешения по углу необходимо повышать количество дорожек
на шайбе, закрепленной непосредственно на объекте измерений, или использовать
редуктор. Если приводить во вращение кодирующую шайбу через передаточные
шестеренки (рис, 12), то можно как угодно расширить диапазон измерений угла
поворота. При передаточном числе до 105 достигается 106 ступеней измерений. [ 2
]
Фотоэлектрические преобразователи
угла (ФПУ)
Основные разновидности и их характеристики
Из ФПУ наибольшее распространение получили преобразователи считывания
(ПС) и растровые интерполяторы (РИ), которые используются для построения
абсолютных и накапливающих преобразователей угла в код (преобразователей
абсолютных значений и приращений угла).
Принцип их действия основан на модуляции потока излучения,
воспринимаемого приемниками, и преобразовании сигналов приемников. Модуляция
осуществляется сопряжением подвижного (модулирующего) и неподвижного
(индексного) элемента, которые имеют переменную от угла прозрачность и
располагаются на пути потока от источника к приемнику. В качестве модулирующего
и индексного элементов используются растровые решетки, представляющие собой
кольцевые дорожки, состоящие из чередующихся прозрачных и непрозрачных
участков. Особенность таких ФПУ состоит в том, что угол a преобразуется в пространственную
фазу j сигналов приемников излучения с
коэффициентом электрической редукции Np. При этом Nр = 2p/Tр, Tр = Tр.лин /Rср, где Tр,
Tр.лин., Rср - угловой, линейный шаг чередующихся участков растровой дорожки и
ее средний радиус. Поскольку минимальные размеры шага чередующихся участков
Tр.лин составляют сотые и даже тысячные доли миллиметра, что значительно меньше
размеров чередующихся участков в преобразователях угла, использующих другие
физические принципы построения, заданный коэффициент электрической редукции Np
достигается в ФПУ при меньших, чем у других видов преобразователей, габаритах.
[ 7 ]
Преобразователи считывания
ПС характеризуется тем, что двоичные цифры "0" и "1"
разрядов кода задаются непрозрачными и прозрачными участками растровой дорожки.
Обычно для построения абсолютного преобразователя угла на каждый из n разрядов
кода требуется отдельная растровая дорожка. Модулирующий элемент n-разрядного
ПС представляет собой диск, содержащий n дорожек, которые образуют так называемую кодовую маску.
Сигналы разрядных цифр формируются системой из n компараторов, на входы которых поступают сигналы,
считываемые приемниками с дорожек кодовой маски. Из принципа действия следует,
что ПС представляют собой систему из n параллельно работающих одноразрядных преобразователей угла, каждый из
которых состоит из последовательно соединенных аналогового ФПУ и компаратора.
ФПУ линейно преобразует угол, а в фазу j сигнала U с коэффициентом электрической дедукции Np, равным
соответствующей степени числа "2". Компаратор преобразует фазу j в одноразрядный двоичный код.
Наибольшее распространение получили ПС, в которых для устранения погрешности
неоднозначности при считывании вместо маски двоичного позиционного кода
применяется маска кода Грея, а двоичный позиционный код формируется из кода
Грея с помощью логического устройства. Размер единицы младшего разряда
двоичного позиционного кода q определяется шагом Tр дорожки младшего разряда
кодовой маски q = Tр/4. Поэтому число разрядов n ПС ограничивается максимально
возможным средним радиусом дорожки и минимально возможными размерами ее
участков. Максимальное число разрядов ПС при приемлемых габаритах (внешнем
диаметре, меньшем 100 мм) составляет 13-14. Дальнейшее увеличение числа
разрядов при ограниченном внешнем диаметре приводит к значительному усложнению
кодовой маски и считывающей системы. Быстродействие ПС определяется, главным
образом, временем срабатывания компараторов. Выбором компараторов с
соответствующим временем срабатывания можно строить ПС, производящие 10s-107
отс/с.
Для построения накапливающих преобразователей угла, принцип действия
которых состоит в подсчете приращения угла на единицу младшего разряда кода,
применяются импульсные преобразователи угла. Импульсный преобразователь
представляет собой двухразрядный ПС состоящий из последовательно соединенных
синусно-косинусного ФПУ и АЦП, выполненного из двух компараторов. Из сигналов,
считываемых с растровой дорожки, ФПУ формирует два сигнала US = Um sinj и Uc = Um cosj, где Um - амплитуда и j = Nрa - фаза сигналов. Зависимости сигналов компараторов от
угла имеют вид двух периодических последовательностей прямоугольных импульсов,
смещенных друг относительно друга на Tр/4. Для получения n-разрядного двоичного
позиционного кода сигналы ПС подаются на кодирующее устройство, осуществляющее
формирование и подсчет импульсов, соответствующих приращениям угла на величину
q = Tр/4, или, что то же, q = 2p/4Np. Подсчет импульсов производится реверсивным счетчиком с учетом знака
приращений, т.е. в зависимости от направления вращения. Разрешающая способность
и быстродействие импульсного преобразователя определяются число импульсов на
оборот Nимп = Np и максимальной частотой следования импульсов fимпmax.
Существующие преобразователи характеризуют Nимп = 27-213 при внешнем диаметре
диска 25-50 мм и fимптэх==100-200 к Гц. [7]
Растровые интерполяторы
Применение растров связано с тем, что технология их изготовления проста и
отличается высокой точностью, поскольку используются процессы, основанные на
методах фотолитографии и фотопечати и применении дисков-шаблонов, на которых с
высокой точностью выполнена маска. Современная технология позволяет
изготавливать диски-шаблоны с погрешностью рисунка, не превышающей десятой доли
угловой секунды. Технология печати с диска-шаблона должна обеспечивать
однородность копий и передачу геометрии рисунка диска-шаблона с требуемой
точностью.
РИ характеризуются тем, что с помощью сигналов, считываемых с одной
растровой дорожки, формируется группа из k разрядов кода. Наибольшее применение
получили РИ, состоящие и последовательно соединенных синусно-косинусного ФПУ и
k-разрядного АЦП, осуществляющего преобразование фазы j в пределах периода 2p; что соответствует преобразованию
угла а в пределах шага Тр. При этом размер q определяется не только размерами
участков растровой дорожки, как у ПС, но и числом разрядов АЦП. При одинаковых
параметрах дорожки РИ и дорожки младшего разряда ПС qри в 2k- 2 раза меньше
qпс. Поскольку число разрядов k может составлять 6-10, разрешающая способность РИ
при тех же габаритах значительно выше, чем у ПС. Быстродействие РИ определяется
временем преобразования его АЦП. При использовании параллельных или конвейерных
АЦП быстродействие РИ практически такое же, как и ПС. В основном РИ применяются
для формирования группы младших разрядов кода. Формирование старших разрядов
осуществляется либо с помощью ПС, либо подсчетом числа приращений угла на шаг
дорожки интерполятора. Иногда в преобразователях абсолютного типа, для того
чтобы свести число дорожек модулирующего элемента до минимума, РИ используются
также для формирования старших разрядов. В этом случае можно получить либо
минимальный внешний диаметр диска, либо отношение средних диаметров внешней и
внутренней дорожек, близкое к единице. Погрешность неоднозначности, имеющая
место в преобразователях абсолютного типа, которые состоят из нескольких
параллельно работающих преобразователей меньшей разрядности (РИ или ПС),
устраняется с помощью так называемого согласования или сопряжения отсчетов.
Максимальное число разрядов преобразователей угла с РИ при диаметре
диска, равном примерно 100-150 мм, составляет 22-23, a в отдельных случаях
может достигать 25-27. Однако диаметр диска при этом возрастает до 200-300 мм.
[ 7 ]
Модулирующие и считывающие элементы
ФПУ
Основными элементами ФПУ являются модулирующий или кодирующий диск и
фотоэлектрическая считывающая система. Она состоит из передающей и приемной
частей. Передающая часть содержит источник излучения и оптическую систему,
состоящую из линзовой зеркальной или волоконной оптики и служащую для
формирования параллельного потока, а приемная - индексную диафрагму и приемники
излучения. Модулирующий диск и индексная диафрагма представляют собой диски _из
оптического стекла, расположенные соосно и параллельно, на обращенных друг к
другу поверхностях которых печатным способом нанесены маски с соответствующим
рисунком.
Оптическая схема ФПУ имеет дорожки на подвижном диске и окно диафрагмы на
неподвижном диске, которые имеют переменную вдоль окружности их среднего
радиуса прозрачность, что достигается за счет непрерывного или, что чаще,
ступенчатого изменения оптической плотности покрытия маски.
При вращении диска меняется ослабление лучей потока, вырезанного окном
диафрагмы, за счет различной прозрачности участков дорожки, стоящей на их пути,
что приводит к изменению в функции угла потока, поступающего от лампы
накаливания через коллимирующую линзу и сопряжение дисков на чувствительную
площадку приемника, а, следовательно, и сигнал на его выходе. Причем в случае,
когда дорожка и окно выполнены в виде повторяющихся прозрачных и непрозрачных
участков, величина потока определяется площадью перекрытия прозрачных
участков.[7]
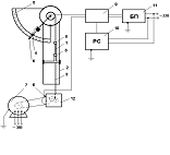
Обоснование
выбора датчиков проектируемого прибора
Имеется стандартная разрывная машина, приводимая в движение
электродвигателем переменного тока. В этой установке имеется несколько
движущихся частей, поэтому было бы целесообразно проектировать датчики на базе
этих подвижных частей.
Итак, в рассматриваемой разрывной машине образец полимера помещается
между зажимами, закрепляется там, и посредством двигателя через цепь создается
усилие. В результате верхний зажим остается почти неподвижным, а нижний под
действием всё увеличивающегося усилия, постепенно движется вниз. Верхний зажим
связан со стрелкой динамометра закреплённой на оси, посредством шестерёнки.
Указатель стрелки двигается по шкале, на расстоянии 360 мм от оси, показывая
усилие.
Т.о., имеются следующие вращающиеся части: ведомый шкив двигателя,
зажимы, шкив стрелки и сама стрелка с указателем, фиксирующим усилие.
Для внесения минимальных изменений в конструкцию разрывной машины логично
произвести сопряжение проектируемых датчиков со шкивом, установленном на валу
двигателя, и стрелкой динамометра.
Для измерения угла поворота вала двигателя и вала стрелки динамометра
возможно использование синусно-косинусного трансформатора, либо индуктосина,
т.к. они обеспечивают высокую точность. К их недостаткам следует отнести
громоздкость, большое энергопотребление, и их высокую стоимость, а также
сложность преобразования аналового сигнала в цифровой вид и наличие
соответствующей аппаратуры для этой цели. Поэтому используем фотоэлектронный
датчик, состоящий из фотоизлучающего и фотоприемного узлов, который будет
генерировать электрические импульсы. Импульсы будут генерироваться на выходе с
датчика при прохождении шторки между фотоизлучающим и фотоприемным узлами.
Частота следования импульсов будет пропорциональна угловой скорости (w) шкива двигателя.
Продифференцированное значение угловой скорости даст перемещение (j) или относительное удлинение
образца.
К достоинствам фотоэлектронных датчиков следует отнести их небольшую
энергоёмкость, небольшие габариты, простоту монтажа и легкость преобразования в
цифровой сигнал, а также небольшую их стоимость.
В качестве датчика усилия можно использовать датчики угла поворота, как
аналоговые, так и цифровые, но надо отметить, что угловое перемещение шкива
вала стрелки очень небольшое, поэтому его сложно фиксировать с требуемой
точностью. Поэтому разумно совместить датчик с указателем стрелки динамометра,
т.к. он достаточно удален от оси вращения и его перемещение можно будет легче
фиксировать. Принцип работы этого датчика аналогичен первому. На шкале
динамометра надо установить шкалу с прозрачными и непрозрачными штрихами,
которая будет проходить между светодиодом и фотодиодом. Надо отметить, что цена
деления этой шкалы будет меньше ценны деления существующей шкалы, это позволит
несколько увеличить точность.
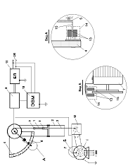
Разработка блок-схемы проектируемого
прибора
Проектируемый прибор является, устройством, состоящим из нескольких
блоков.
Имея в виду, что выбранные датчики фотоэлектронного типа, блок-схема
проектируемого прибора будет иметь вид (Рис.11).
Первый датчик состоит из двух каналов сбора информации и следующих
блоков. Блок генерации модулированного сигнала служит для модуляции
инфракрасного излучения с высокой частотой. Для приема излучения служит
фотоприемный блок, где производится демодуляция и фильтрация сигнала. Далее
информация поступает на блок обработки сигналов. Второй канал полностью
идентичен первому, он необходим для определения направления движения стрелки.
Второй датчик, образованный третьим каналом сбора информации,
предназначен для подсчета количества импульсов и состоит из блока излучения,
фотоприемного блока и блоков фильтрации.
Основным блоком является блок обработки сигналов. Его роль заключается в
сборе и обработке сигналов, идущих с двух датчиков.
Блок индикации приема и передачи служит для отображения процессов
приемо-передачи информации между стендом и ЭВМ.
Блок сброса необходим для инициализации работы лабораторной установки и
устранения случайных сбоев, связанных с питанием устройства, в процессе работы.
Блок формирования интерфейса нужен для согласования логических уровней
блока обработки информации с уровнями сигналов интерфейса RS232.
Проектирование электрической схемы
прибора
В проектируемом приборе используем фотоэлектронные датчики, которые
состоят из светоизлучающего и фотоприемного узлов.
Фотоизлучающий узел состоит из светодиода VD1 и балластного его сопротивления
R3. Светодиод включен в цепь коллектора транзистора VT1, который служит
усилителем тока, идущего с генератора.
Чтобы исключить влияние видимого спектра излучения и возможного
инфракрасного, от искусственных источников света с частотой f=50-100 Гц, а также
естественного излучения, необходимо применять генератор с заведомо большей
несущей частотой. Постоянная времени генератора задается элементами R1 и C1 в
цепи генератора. Т.о., медленноменяющийся сигнал, просто не будет вызывать ни
каких изменений в работе схемы.
В качестве генератора импульсов использована микросхема К561ЛН2 по
следующим причинам. Микросхемы этой серии выполнены по КМОП технологии, в
данной схеме хорошо работают именно КМОП схемы.
В качестве фоточувствительного элемента используем фотодиод. При
попадании на него излучения на его выводах возникает ЭДС. Т.к. фотодиод включен
в обратном направлении, через него протекает небольшой ток с той же частотой, с
которой работает генератор модуляции излучения. Чтобы не шунтировать фотодиод,
с ним последовательно в цепи должен стоять резистор достаточно большого
сопротивления. Т.к. через обратный ток фотодиода очень небольшой его необходимо
усилить. Для этих целей используем транзистор VT1 с достаточно большим
коэффициентом усиления по току.
Далее усиленный сигнал необходимо очистить от низкочастотных помех,
которые могут возникнуть при попадании на фотодиод света, падающего от
источников освещения. Для этого применим фильтр типа R-C. Постоянную среза
фильтра примем f=400 Гц, что гораздо больше частоты источников освещения, что
будет обеспечивать уверенную фильтрацию сигнала. Постоянная времени фильтра
будет определяться элементами C2 и R6.
После фильтра низких частот сигнал надо демодулировать и очистить от
высокочастотных помех. При прохождении шторки между излучающим и фотоприемным
диодами, в момент, как только происходит засвечивание диода, возможные вибрации
двигателя могут привести к появлению ложного сигнала. Чтобы исключить это
влияние на качество работы датчика и применяется фильтр. Постоянная среза этого
фильтра должна быть больше нескольких периодов задающего генератора, примем её
равной f=1000 Гц. Постоянная времени фильтра рассчитывается, исходя из значений
R7 и C3.
Для определения направления движения стрелки динамометра, необходимо
использовать второй такой же фотоприемный канал, состоящий из тех же элементов
что и первый канал, а именно фотодиода VT2 и элементов усиления и фильтрации.
Направление движения стрелки будет определяться следующим образом (Рис. 14).
Рис. 14 Определение направления движения стрелки динамометра.
а) Схема расположения датчиков; б) Очередность прихода импульса при
определении направления движения стрелки.
При движении стрелки влево, первый датчик шторку минует первым и на его
выходе сформируется сигнал в виде логической единицы. Второй датчик пройдет
шторку вторым и на его выходе также сформируется сигнал в виде логической
единицы. Эта информация обрабатывается в блоке вычисления и если он зафиксирует
именно такую очередность прихода логических единиц с датчиков, то на выходе
блока вычисления сформируется сигнал в виде плюс единицы (+1). Если стрелка
движется вправо, то наоборот уже второй датчик минует шторку первым, а первый
вторым, следовательно, последовательность импульсов поменяется, и блок
вычисления на выходе сделает вывод уже в виде минус единицы (-1). В том случае
если оба датчика будут выдавать логический ноль (0), это значит, что стрелка
стоит на месте и не двигается.
Второй датчик, датчик измерения относительного удлинения, построен
следующим образом. Он связан с постоянно вращающимся двигателем, посредством
установленного на его вал круга, с нанесёнными на него прозрачными и
непрозрачными секторами (Рис.15).
Рис. 15 Пример круга, выступающего в качестве генератора импульсов
(деление на сектора условное).
При вращении вала двигателя с определенной частотой (n=1400 об/мин), диск
с секторами определенного радиуса вращается также с определенной угловой
частотой. Причем количество секторов, примем равным его N=100, этого будет
достаточно для требуемой точности измерения. Итак, теперь можно рассчитать
частоту импульсов:=N·n= 100·1400= 100·1400/60=2330 Гц;
В качестве излучателя также возьмем диод с инфракрасным излучением. Далее
это излучение преобразуется в электрический сигнал с вышерасчитанной частотой f
посредством фотодиода VD7, который необходимо усилить и профильтровать от
низкочастотных и высокочастотных помех. Постоянную среза фильтра низких частот
примем равной 400 Гц, как и в остальных фильтрах. Элементы C6 и R15
рассчитываются исходя из этого условия. Постоянную среза фильтра высоких частот
примем равной частоте следования импульсов рассчитанной выше, а именно 2330 Гц.
Постоянная времени фильтра определяется элементами C7 и R16.
Далее сигналы идущие со всех трех каналов надо обработать и суммировать.
К блоку вычисления предъявляются следующие требования:
·
должна быть
встроенная память под программу;
·
должен быть
таймер - счетчик;
·
небольшая
стоимость.
Всем этим требованиям удовлетворяет микроконтроллер фирмы ATMEL марки
AT8951 24PI, отечественным аналогом которого является микроконтроллер марки
МК1816ВЕ51.
Микроконтроллер семейства АТ89 фирмы Atmel представляет собой
восьмиразрядную однокристальную микроЭВМ с системой команд MCS-51 фирмы Intel.
Микроконтроллеры изготавливаются по КМОП (CMOS) технологии и имеют полностью
статическую структуру.
Базовая структура микроконтроллера совпадает с базовой структурой
микроконтроллеров семейства MCS-51 и отечественных микроконтроллеров серий
1816/51 и 1830/51, однако микроконтроллеры многих типов содержат новые
запоминающие и периферийные устройства, а некоторые устройства базовой
структуры имеют иные характеристики. В таблице 1 перечислены характеристики
микроконтроллера АТ89, указаны запоминающие и периферийные устройства, и
некоторые узлы.
Таблица 1
Основные
характеристики микроконтроллера
|
Тип МК
|
IROM
|
IRAM
|
IDROM
|
EM
|
I/O
|
SP
|
T/С
|
IS
|
IV
|
SPI
|
WDT
|
AC
|
DPTR
|
|
АТ89С51 АТ89LV51
|
4K
|
128
|
-
|
+
|
32
|
+
|
2
|
6
|
5
|
-
|
-
|
-
|
1
|
В число <старых> запоминающих устройств входят внутреннее
постоянное запоминающее устройство (Internal ROM, IROM), предназначенное для
хранения команд программы и констант, и внутреннее оперативное запоминающее
устройство (Internal RАM, IRАM), предназначенное для хранения данных. IROM
представляет собой репрограммируемое запоминающее устройство с электрическим
стиранием записи, выполненное по Flash технологии. IROM выдерживает до 1000
циклов перепрограммирования. IRAM является статическим оперативным запоминающим
устройством.
Микроконтроллеры некоторых типов имеют <новое> запоминающее
устройство - внутреннее репрограммируемое запоминающее устройство для хранения
данных (Internal Data ROM, IDROM).
В таблице 1 указана емкость названных запоминающих устройств (число
восьмиразрядных ячеек памяти). К микроконтроллерам некоторых типов не может
подключаться внешняя память (External Memory, EM). Отсутствие возможности
подключения внешней памяти отмечено знаком <-> в колонке ЕМ в таблице 1.
К числу <старых> периферийных устройств относятся восьмиразрядные
параллельные порты ввода-вывода Р0, Р1, Р2, Р3, последовательный порт SP,
таймеры-счетчики Т/С0, Т/С1, Т/С2 и контроллер прерываний.
Микроконтроллеры некоторых типов содержат меньшее число параллельных
портов, а некоторые порты имеют меньшее число входов-выходов. Суммарное число
входов-выходов параллельных портов у микроконтроллера указано в таблице 1 в
колонке I/O. У микроконтроллеров некоторых типов отсутствует таймер-счетчик Т/С2,
при этом у некоторых микроконтроллеров отсутствует также таймер-счетчик Т/С1.
Число таймеров-счетчиков у микроконтроллера указано в колонке Т/С в таблице 1.
Система прерываний имеет два уровня приоритета. Число источников запросов
прерывания (Interrupt Source, IS) и векторов прерывания (Interrupt Vector, IV)
их наличие или отсутствие указано в таблице 1 в колонках IS и IV
соответственно. <Новыми> периферийными устройствами являются блок
последовательного периферийного интерфейса (SPI), сторожевой таймер (WDT) и
аналоговый компаратор (АС). Наличие у микроконтроллера названных устройств
отмечено знаком <+> в таблице 1 в колонках SPI, WDT и АС соответственно.
Аналоговый компаратор сравнивает по величине напряжения сигналы,
поступающие на входы Р1.0 и Р1.1. Результат сравнения подается на вход Р3.6, не
имеющий внешнего вывода. Процессор у микроконтроллеров некоторых типов содержит
два регистра-указателя данных - DPTR0 и DPTR1. Количество регистров-указателей
данных у микроконтроллера указано в колонке DPTR в таблице 1.
Микроконтроллеры семейства AT89 выпускаются для работы при разных
значениях напряжения питания и тактовой частоты, определяемой частотой
подключенного к микроконтроллеру кварцевого резонатора. Диапазоны значений
напряжения питания (Vcc) и тактовой частоты (Fosc) у микроконтроллера указаны в
таблице 2. Ток потребления зависит от величины напряжения питания и тактовой
частоты. В таблице 2 приведены значения тока потребления в рабочем режиме (Icc)
при максимальном значении напряжения питания и Fosc=12 МГц.
Рабочие
характеристики микроконтроллера.
Таблица 2
|
Тип МК
|
Vcc (В)
|
Fosc (МГц)
|
Icc (мА)
|
N
|
|
АТ89С51
|
4,0-6,0
|
0-24
|
20
|
40
|
Кроме рабочего режима микроконтроллер может быть переведен в
энергосберегающие режимы работы - режим холостого хода (Idle Mode) и режим
пониженного энергопотребления (Power Down Mode).
В режиме холостого хода процессор остановлен, периферийные устройства
продолжают работать, коды в IRAM сохраняются. Ток потребления уменьшается в 4-5
раз. Перевод в режим холостого хода выполняется по команде в программе, выход
из режима - по сигналу сброса или при поступлении любого разрешенного запроса
прерывания.
В режиме пониженного энергопотребления остановлен генератор тактового
сигнала, коды в IRAM сохраняются. Ток потребления имеет величину 20-100 мкА.
Перевод в режим пониженного энергопотребления выполняется по команде в
программе, выход из режима - по сигналу сброса. Микроконтроллеры типов S53,
LS53, S8252 и LS8252 выходят из режима также при поступлении внешнего запроса
прерывания.
Микроконтроллеры выпускаются в корпусах разных типов с разным числом
выводов, при этом число выводов, используемых для подключения микроконтроллера
к схеме устройства, может отличаться от числа выводов корпуса. В таблице 2
указано число выводов (N), используемых для подключения микроконтроллера к
схеме устройства.
Микроконтроллеры, имеющие N=20, выпускаются в корпусах PDIP20 и SOIC20.
Микроконтроллер типа AT89S4D12 выпускается в корпусах SOIC28 и PLCC32, а
микроконтроллеры остальных типов - в корпусах PDIP40, PLCC44, PQFP44, TQFP44.
Все микроконтроллеры семейства АТ89 программируются и перепрограммируются
пользователем. Кроме того, фирма Atmel выпускают аналоги микроконтроллеров
типов АТ89С51 и АТ89С52, которые программируются по заказу покупателя на
предприятии-изготовителе (микроконтроллеры типов AT80F51 и AT80F52
соответственно) или допускают лишь однократное программирование пользователем
(микроконтроллеры типов AT87F51 и AT87F52 соответственно). [16,17]
Блок-схема алгоритма для программирования микроконтроллера приведена в
приложении.
Блок индикации режима работы микроконтроллера можно спроектировать на
базе порта Р1.0 микроконтроллера. Ток с этого порта необходимо усилить, что
делает транзистор VT5, и подать через светодиод VD9, который и будет
сигнализировать о режиме работы.
Блок принудительного сброса необходим для устранения режима неуверенной
работы. Он состоит из конденсатора C21, кнопки сброса SB1 и резистора R19.
Прибор должен иметь выход на базе последовательного интерфейса RS-232.
Хотя параллельный интерфейс для сопряжения различных устройств проще в
реализации и требует меньшего объема аппаратных средств, последовательный
интерфейс более универсален. [ 1 ]
В случае последовательного интерфейса все разряды передаются по одному
проводу. Мы можем контролировать любой разряд, зная его положение в
последовательном потоке данных, а также его длительность. В соответствии со
сложившейся практикой первым в слове передается младший разряд. Для обеспечения
правильности передачи обычно требуется выполнить процедуру квитирования
установления связи между передатчиком и приемником.[1]
Протокол обмена данными между установкой и ЭВМ по интерфейсу RS-232
представлен на рисунке 16.
Рис.
16 Протокол передачи данных по RS-232.- байт синхронизации; N2 - байт
направления движения стрелки динамометра; N3 - младший байт содержимого T/C0;
N4 - старший байт T/C0. ( N3; N4) - число пропорциональное линейному удлинению
образца.
Для стабилизации питания электрической схемы проектируемого прибора
используется стабилизатор напряжения DA1.
Действие сглаживающего фильтра сводится к тому, что при понижении
напряжения источника питания происходит зарядка конденсатора C8,С9, а при
снижении напряжения происходит разрядка на нагрузку. Этим самым конденсаторы
способствуют поддержанию среднего значения напряжения на нагрузке почти
неизменной величины.
Полная принципиальная электрическая схема проектируемого прибора
приведена на рисунке 15.
Расчет элементов электрической схемы
проектируемого прибора
Все элементы разрабатываемого прибора питаются постоянным напряжением
+5В. Для стабилизации питания микросхемы применяем стабилизатор напряжения в
интегральном исполнении марки К142ЕН5А. Элементом типовой схемы стабилизатора
является конденсатор С10, этот конденсатор обязательно должен быть танталовым.
Следовательно, выбираем конденсатор марки К52-1 47мкФ±10% на 6,3 В. После выхода с блока
питания напряжение, пониженное до необходимого значения и выпрямленное,
необходимо очистить от высокочастотных наводок и сгладить возможную пульсацию в
сети. Для этих целей выберем конденсаторы следующих марок: для подавления
высокочастотных наводок - конденсатор небольшой емкости марки К10-17 0,1мкФ±10% П33 на 25В. а для сглаживания
пульсации- конденсатор достаточно большой емкости марки К50-38 1000пкФ±10% на 16В.
Для индикации режима работы блока питания выберем светодиод VD4 красного
цвета марки АЛ307В. Его характеристики приведены в таблице 3.
Характеристики светодиода АЛ307В. Таблица 3
|
Цвет светодиода
|
Напряжение зажигания, В
|
Ток минимальный рабочий, мА
|
Ток максимальный рабочий,
мА
|
Рабочая температура, оС
|
|
Красный
|
2,5
|
5
|
10
|
-50 ¸ +85
|
Определим сопротивление резистора R21 шунтирующего светодиод
VD1. Ток, протекающий через светодиод Iсв=10мА, напряжение на
светодиоде Uсв=2,5В, тогда
Принимаем R21=220±20% Ом.
Рассеиваемая резистором R21 мощность будет равна:
Р R21=Iсв2* R21=(10*10-3)2*220=0,0022
Вт.
Выбираем резистор марки: С2-33-0,125 220±20%.
Определим сопротивление резистора R1. Оно должно удовлетворять
следующему условию: 5кОм < R1 < 1МОм.
Значение 1МОм - определяется технологическими причинами, т.е.
проводимостью диэлектрика, на котором монтируется этот резистор.
Значение 5кОм - определяется максимальной нагрузочной способностью
логического элемента генератора К561-ЛН2. Следовательно, R1 найдем
по следующей формуле:
, где
вых.лог.эл.=5В - напряжение на выходе логического элемента генератора
К561- ЛН2, оно приблизительно равно напряжению питания, Iнагр.max.=10мА -
максимальный ток нагрузки логического элемента. Тогда найдем R1:
Частота модулированного сигнала идущего с генератора f=20кГц ±10%, тогда постоянная времени будет
равна:
Постоянная времени генератора находится также по формуле t= R1*С1, тогда отсюда
найдем С1:
Т.к. ряд номиналов емкостей наиболее насыщен чем ряд сопротивлений
резисторов, то сначала выбираем емкость С1, а затем рассчитываем R1.
Выбираем конденсатор емкостью С1 марки: К10-47 1нФ±10% Н30 25В (керамический). Отсюда
Принимаем R1=47кОм ± 10%.
Рассеиваемая резистором R1 мощность будет равна:
Р R1=Iл.э.2* R1=(1*10-3)2*47*103=0,047
Вт.
Выбираем резистор R1 марки: С2-33-0,125 47к±20%.
В качестве излучающего диода выбираем диод марки АЛ107Б с инфракрасным
спектром излучения, для уменьшения влияния видимого спектра излучения на
результаты измерения, с характеристиками, приведенными в таблице 4.
Характеристики светодиода АЛ107В. Таблица 4
|
Спектр излучения
|
Напряжение пробивное, В
|
Ток минимальный рабочий, мА
|
Ток максимальный рабочий,
мА
|
Рабочая температура, оС
|
|
Красный
|
2,5
|
10
|
100
|
-50 ¸ +85
|
Определим транзистор VT1, исходя из следующих условий:
кб > 2*Eк=2*5=10 В;к > 2*Iнагр.=2*10*10-3=
20 мА.
Ток коллектора примем равным 10мА (ток светодиода). По расчетным
значениям выбираем транзистор типа КТ315Г. Основные характеристики транзистора
приведены в таблице 5.
Характеристики транзистора типа КТ315Г. Таблица 5
|
Материал, структура,
технология
|
Рамах, мВт
|
fгр., МГц
|
Uкбо проб., В
|
Iк мах ,мА
|
Iкбо, мА
|
h21
|
|
Si, n-p-n, ПЭ
|
150
|
>250
|
35
|
100
|
< 0,5
|
50..350
|
Определим сопротивление резистора R2, стоящего в цепи базы
транзистора VT1. Его значение также должно удовлетворять условию 5кОм<R2<1МОм.
Оно определяется значением тока базы Iб транзистора VT1. Ток
коллектора Iк примем равным 70% от тока протекающего через светодиод
VD1, т.е. 7мА. Тогда,
, где
к - ток коллектора VT1; b(h21)- коэффициент усиления по току.
Отсюда найдем сопротивление резистора R2:
где
лог.1- напряжение на элементе логической единицы микросхемы К561-ЛН2.
Принимаем R2=10 кОм.
Рассеиваемая резистором R2 мощность будет равна:
Р R2=Iб.2* R2=(0,14*10-3)2*10*103=0,196
мВт.
Выбираем резистор R2 марки: С2-33-0,125 10к±20%.
Найдем сопротивление нагрузочного резистора R3 светодиода VD1
в цепи транзистора VT1.
где
=5В - напряжение питания схемы; Uбэ=0,6В - напряжение в цепи
база-эмиттер; Iк=7*10-3мА - ток коллектора транзистора VT1.
Выбираем R3=510 Ом.
Рассеиваемая резистором R3 мощность будет равна:
Р R3=Iк.2* R3=(7*10-3)2*510=0,025
Вт.
Выбираем резистор R3 марки: С2-33-0,125 510±10%.
В этой схеме будет работать любой фотодиод, поэтому используем фотодиод
VD2 марки ФД256, характеристики которого приведены в таблице 6.
Характеристики фотодиода марки ФД256 . Таблица 6
Размер фоточувствительного элемента, мм Диапазон
спектральной характеристики
l, мкм Максимальная
спектральная характеристика lмах, мкм Up, ВIтемн., мкА
|
не болееИнтегральная
токовая чувствительность
|
|
|
|
|
|
|
Æ1,37
|
0,4..1,1
|
0,75..0,9
|
10
|
0,005
|
не <6 при l=0,9 мкм
|
Определим сопротивление резистора R4, оно должно быть очень
большим, чтобы не перегружать фотодиод VD2, порядка нескольких десятков кОм.
Выберем сопротивление резистора R4= 10 кОм±10%.
Найдем рассеиваемую резистором R3 мощность:
Р R4=Iф.д.2* R4=(0,005*10-9)2*10*103=0,25*10-12
Вт, где
фд=0,005мкА - максимальный обратный ток, протекающий через фотодиод.
Выбираем резистор R4 марки: С2-33-0,125 10к±10%.
Транзистор VT2 выбираем из условия, что h21 (коэффициент
усиления по току) должен быть как можно больше, чтобы повысить чувствительность
схемы. Исходя из этого, выбираем транзистор марки КТ3130Г9, с характеристиками
приведенными в таблице 7.
Характеристики транзистора типа КТ3130Г9. Таблица 7
|
Материал, структура,
технология
|
РКмах, мВт
|
fгр., МГц
|
Uкбо проб., В
|
Iк мах ,мА
|
h21
|
|
Si, n-p-n, ПЭ
|
100
|
>300
|
20
|
100
|
400..1000
|
Рассчитаем сопротивление резистора R5 в цепи коллектора
транзистора VT2, оно должно быть как можно меньше, чтобы уменьшить влияние на
постоянную времени фильтра tС2-R6. При
открытом транзисторе VT2 на резисторе будет напряжение около 5В, а через
коллектор будет протекать ток, примерно равный Iк=1мА, тогда

Найдем рассеиваемую резистором R5 мощность:
Р R4=IкVT2.2* R5=(1*10-3)2*5,1*103=0,0051
Вт.
Выбираем резистор R5 марки: С2-33-0,125 5,1к±10%.
Рассчитаем фильтр низких частот собранный на элементах С2-R6.
Постоянная времени фильтра tф
определяется постоянной среза фильтра fср=50-100 Гц. Т.к. фильтр
очень простой и обладает плохой крутизной характеристики, то для уверенной
фильтрации выбираем fср=400 Гц, что во много раз меньше частоты
основного сигнала fос. сигн. (20 кГц). Тогда,
Примем С2=0,1мкФ, следовательно, можно будет определить
сопротивление резистора R6:
Принимаем R6=33кОм ± 10%.
Рассеиваемая резистором R6 мощность будет равна:
Р R6=UR62/R6=(5)2*33*103=0,757
мВт.
Выбираем резистор R6 марки: С2-33-0,125 33к±10% а конденсатор марки: К10-17а
0,1мкФ± 10% П33 25В.
Теперь определим элементы фильтра высоких частот R7-C3.
Он необходим для увеличения помехоустойчивости устройства. Постоянная фильтра tC3-R7 должна быть нескольких периодов
тактовой частоты генератора (20кГц). Т.к. изменение частоты f сигнала не более
1000Гц, его tC3-R7 можно принять 1кГц. Тогда,
Емкость конденсатора С3 примем равной 0,1 мкФ, отсюда
Принимаем R7=10кОм ± 10%.
Рассеиваемая резистором R7 мощность будет равна:
Р R6=UR72/R7=(5)2/10*103=0,0025
Вт.
Выбираем резистор R6 марки: С2-33-0,125 10к±10%, а конденсатор марки: К10-17а
0,1мкФ± 10% П33 25В.
Диод VD3 элемент типовой схемы фильтра марки КД522А, его основные
характеристики приведены в таблице 8.
Характеристики диода КД522А. Таблица 8.
|
Iпр, мА
|
Iобр, мкА
|
Uобр, В
|
Рабочая температура, оС
|
|
> 100
|
> 2
|
30
|
-55 ¸ +85
|
Элементы VD3, R8, VT3, R9, C4, R10, C5 и R11 рассчитываются и выбираются
аналогично элементам схемы VD2, R4, VT2, R5, C2, R6, C3 и R7, их марки и
номиналы одинаковы.
Светодиод VD6 выбираем по тем же соображениям что и VD1, марки АЛ107Б,
его характеристики приведены в таблице 2.
Рассчитаем нагрузочное сопротивление R12 в цепи светодиода VD6.
Принимаем
R12=510 Ом ± 10%.
Рассеиваемая
резистором R7 мощность будет равна:
Р R12=Iсд2*R12=(7*10-3)2*510=0,025
Вт.
Выбираем резистор R12 марки: С2-33-0,125 510к±10%.
Элементы VD7, R13, VT4, R14 рассчитываются и выбираются аналогично
соответственно элементам схемы VD2, R4, VT2 и R5.7, их марки и номиналы
одинаковы.
Элементы фильтра C6-R15 рассчитываются по тем же
соображениям и формулам, т.е.
Примем С6=0,1мкФ, следовательно, можно будет определить
сопротивление резистора R15:
Принимаем R6=22кОм ± 10%.
Рассеиваемая резистором R15 мощность будет равна:
Р R15=UR152/R15=(5)2/22*103=1,1
мВт.
Выбираем резистор R15 марки: С2-33-0,125 22к±10%, а конденсатор С6
марки: К10-17а 0,1мкФ±
10% П33 25В.
Элементы высокочастотного фильтра С7-R16
рассчитываются исходя из следующих условий. Сигнал по этому каналу идет с
f=2330 Гц. Это значение и примем за постоянную среза фильтра. Тогда постоянная
времени будет равна:
Примем
С7=0,1мкФ, следовательно, можно будет определить сопротивление
резистора R15:
Принимаем R6=5,1кОм ± 10%.
Рассеиваемая резистором R16 мощность будет равна:
Р R15=UR162/R16=(5)2/5,1*103=4,9
мВт.
Выбираем резистор R16 марки: С2-33-0,125 5,1к±10%, а конденсатор С6
марки: К10-17а 0,1мкФ±
10% П33 25В.
Для индикации режима работы микроконтроллера выбираем светодиод красного
цвета марки АЛ307В (таб.1), исходя из этого, выбираем VT5 аналогично VT1 марки
КТ315Г (таб.3).
Сопротивления резисторов R17 и R18 рассчитываются аналогично R2 и R3.
Чтобы исключить обгорание контактов в блоке сброса, примем R20=100 Ом ± 10%.
Рассеиваемая резистором R20 мощность будет равна:
Р R20=UR202/R20=(5)2/100=0,25
Вт.
Т.к. протекание тока кратковременное, то можно выбирать резистор R20
марки: С2-33-0,125 100±10%.
Элементы R18 и C11 являются элементами типовой схемы блока сброса. Они
рассчитываются из условия быстродействия блока, которое должно составлять
порядка нескольких микросекунд. Принимаем R18=7,5 кОм± 10% и C11=10мкФ±10% 6,3В. Выбираем резистор R18 марки:
С2-33-0,125 7,5к±10%,
а конденсатор марки: К52-1 47мкФ±10% на 6,3 В.
Для преобразования ТТЛ-уровня микроконтроллера в интерфейс RS-232
используем микросхему марки MAX3232EPE, включенную по типовой схеме
рекомендованной фирмой производителем.
Принцип работы электрической схемы
проектируемого прибора
Прибор работает следующим образом. С датчика вращения идет постоянное
количество импульсов, которое необходимо подсчитать, поступают на вывод порта
P3.4 микроконтроллера, который связан с встроенным таймером-счетчиком, где и
происходит суммирование импульсов. Количество импульсов пропорционально
относительному удлинению образца.
С датчика усилия динамометра сигналы поступают на выводы портов P3.2 и
P3.3. Сбор информации с помощью двух каналов необходим для определения знака
кванта усилия (минимальной величины, которую может почувствовать прибор).
Сигнал с фотодиода VD2 усиливается транзистором VT2 и поступает на фильтр
низких частот, сконструированный на элементах С2 и R6. Далее сигнал поступает на логический элемент DD1.3, где происходит модуляция
сигнала. Затем сигнал поступает в фильтр высоких частот, построенный на
элементах VD3, C3, R7. На
диоде VD3 происходит демодуляция сигнала, а
на элементах С3 и R7 его фильтрация.
Потом сигнал снова модулируется на DD1.4 и идет на порт Р3.2 микроконтроллера DD3.
Все остальные каналы схемы работают аналогично первому.
Выдача данных на порт последовательного интерфейса производится в том
случае, если произошло изменение на датчике на один квант или произошло
переполнение таймера-счетчика, данные с которого необходимо сохранить, т.к. в
противном случае они будут утеряны.
Дальнейшая обработка данных и представление их в удобном для пользователя
виде, производится на ЭВМ. Передача сигнала с микроконтроллера и его
преобразование из ТТЛ-уровня в уровень работы интерфейса происходит через
микросхему марки MAX3232EPE, включенную по типовой схеме, рекомендованной
фирмой производителем, и выдается на типовой разъем порта RS-232.
Кварцевый резонатор ZQ1 является элементом типовой схемы
микроконтроллера, его частоту принимаем равной 12 МГц, т.е. время выполнения
одной команды получается 1мкс, что очень удобно при подсчете. Получается целое
число циклов.
Блок индикации работает следующим образом. На выходе порта Р1.0 сигнал в
виде тока, если он есть, усиливается транзистором VT4, величины которого
достаточно для зажигания светодиода VD8 красного цвета.
Блок сброса работает следующим образом. Вначале работы, при включении
прибора, происходит зарядка конденсатора С11 через резистор R19, в результате микроконтроллером
через порт RST воспринимается уровень логической
единицы и происходит обнуление счетчика. Когда конденсатор С11 зарядится, через
резистор R19 перестает бежать ток и
микроконтроллером воспринимается уже уровень логического нуля, и происходит
запуск таймера-счетчика. При необходимости сброса производится нажатие кнопки
SB1, в результате чего конденсатор С11, заряженный в начале работы, разряжается
через резистор R19 и на выводе порта RST формируется уровень логической единицы, чем и вызывается сброс. После
этого он снова заряжается и по вышеописанному принципу вызывает запуск
таймера-счетчика.
Элементы монтажа датчиков и прибора
Датчики выполнены на небольших печатных платах. Каждый датчик имеет свой
корпус (рис.18). Через выводы с помощью монтажного провода, датчики соединяются
с микроконтроллером, установленным также на отдельной печатной плате вместе с
элементами блоков индикации и сброса, микросхемой преобразования уровней. Далее
провод с этой части прибора идет на порт RS-232.
Все соединительные провода крепятся к корпусу стенда с условием, чтобы
они не пересекали и не находились в близи вращающихся частей.
Схема крепления и места расположения датчиков на стенде показаны на
рисунке 19.
стенд датчик прочность электрический
Рис.
18 Эскиз корпуса датчика прибора.
Рис. 19 Схема лабораторного стенда по определению разрывного усилия и
относительного удлинения образца полимера.
- образец; 2 - корпус; 3 - цепь; 4 - стрелка; 5- шкала; 6 -шкив; 7 -
электродвигатель; 8 - винтовые зажимы; 9 - печатная плата; 10 - ЭВМ; 11 - блок
питания; 12 - коробка передач; 13 - оптопара; 14 - корпус датчиков;15 - сектор
и шкала с прозрачными и непрозрачными полосками.
Экономическая часть
Научно-технический прогресс невозможен без усовершенствования и
модернизации оборудования, технологии. Поэтому так необходимо делать инвестиции
в область научных исследований и экспериментов. Также надо отметить, что научно
исследовательские работы и всевозможные разработки играют очень важную роль в
получении профессиональных навыков у студентов, а, следовательно, и появление
грамотных специалистов на рынке труда.
Исследование механических характеристик полимеров очень важно для
получения качественной изоляции, а в результате и кабеля. Разработанные датчики
будут устанавливаться на разрывную машину, что позволит увеличить точность
исследуемых характеристик, и, следовательно, можно будет говорить о поведении
исследуемого полимера в определенных условиях эксплуатации.
Ниже приводится расчет себестоимости разработанных датчиков для
лабораторного стенда изготовленных, к примеру, на промышленном предприятии
“Камкабель” в цехе нестандартного оборудования. Проектирование осуществляется
на малом предприятии, специализирующимся на проектировании и разработке
электронных приборов, на базе конструкторского бюро силами отдела. Также в этом
разделе приводится расчет графика системы сетевого планирования и управления (СПУ)
по созданию этих датчиков.
Себестоимость изделия складывается из следующих затрат:
1. Стоимости материалов и элементов, из
которых изготовлены приборы.
2. Стоимости проектирования и
изготовления прибора.
3. Накладных расходов.
Стоимость материалов и элементов, из которых изготовлен прибор,
включает в себя:
·
Стоимость
материалов, из которых изготовлен прибор;
·
Стоимость
комплектующих элементов, входящих в конструкцию стенда.
Стоимость прибора рассчитываем по оптовым ценам.
Сприб.=
См-в +
Сэл-в,
где Смат-ов - стоимость материалов, включает в себя стоимости
спецпроволоки (припой + канифоль), монтажного провода, основы для печатной
платы, листового пластика, из которого выполняется корпус прибора, крепежных
материалов и стоимости клея.
Сэл-в - стоимость элементов, радиодеталей и компонентов, необходимых для
функционирования прибора (таблица 2).
Количество клея нужного для склеивания корпуса составляет около 100гр. по
цене 100рубза 1 кг. (Скл.)
Для электрического соединения отдельных частей прибора и самого прибора с
компьютером необходимо 7м монтажного провода по цене 10руб за 1м. (См.п.)
Для электрического монтажа необходимо израсходовать 0,5м спецпроволоки по
цене 50руб за1м. (Сс.п.)
Основа под печатную плату представляет собой диэлектрическую пластину со
сделанными в ней гнездами, что очень удобно для паяния. Цена такой пластины
составляет около 60руб. (Сос.)
На изготовление корпуса прибора необходим лист пластика размером
300*300мм(0,09м2), цена за 1 м2 пластика составляет
70руб. (Спл.)
Стоимость крепежного материала включает в себя стоимость болтов.
Израсходовано 100гр болтов М3*8, стоимостью 15руб за 100гр. (Искр.)
Тогда стоимость материалов необходимых для изготовления прибора будет
следующей:
Смат=См.п.+Сс.п.+Сос.+Спл.+Скр.+Скл.=
7*10+0,5*50+60+0,09*70+15+0,1*100=186,3 руб.
Стоимость радиодеталей и компонентов приведена в таблице 9.
Перечень компонентов Таблица 9
|
№ п
|
Компоненты
|
Стоимость за 1шт., руб.
|
Кол-во, шт.
|
Сумма, руб.
|
|
1
|
Стабилизатор напряжения
К142ЕН5А
|
5
|
1
|
5,00
|
|
2
|
Микроконтроллер АТ89С5124PI
|
95
|
1
|
95,00
|
|
3
|
Микросхема MAX3232EPE
|
30
|
1
|
30,00
|
|
4
|
Микросхема К561-ЛН2
|
10
|
2
|
20,00
|
|
5
|
Резистор С2-33 0,125
|
0,20
|
21
|
4,20
|
|
6
|
Транзистор КТ315Г
|
0,35
|
2
|
0,70
|
|
7
|
Транзистор КТ3130Г9
|
1,2
|
3
|
3,60
|
|
8
|
Светодиод АЛ307В
|
0,4
|
1
|
0,40
|
|
9
|
Светодиод АЛ307Б
|
0,4
|
1
|
0,40
|
|
10
|
Светодиод АЛ107Б
|
4
|
2
|
8,00
|
|
11
|
Фотодиод ФД255
|
45
|
3
|
135,00
|
|
12
|
Диод КД522
|
0,24
|
3
|
0,72
|
|
13
|
Конденсатор К10-17а 0,1мкФ
U=25В
|
2,5
|
7
|
17,50
|
|
14
|
Конденсатор К10-47 1000пкФ
U=25В
|
6,1
|
1
|
6,10
|
|
15
|
Конденсатор К52-1 47мкФ
U=6,3В
|
90
|
1
|
90,00
|
|
16
|
Конденсатор К52-1 10мкФ
U=6,3В
|
90
|
1
|
90,00
|
|
17
|
Конденсатор К50-38 1000мкФ
U=16В
|
2,5
|
1
|
2,50
|
|
18
|
Разъем DB-9
|
15
|
1
|
15,00
|
|
Итого
|
|
|
518,32
|
Стоимость прибора будет равна:
Сприб.=
См-в+
Сэл-в=186,3+518,32
=705,62 руб.
Стоимость проектирования и изготовления прибора.
В стоимость проектирования рассчитывается в соответствии с источниками
[21,22] и в нее входят следующие затраты:
·
на оплату труда;
·
амортизационные
отчисления;
·
на
электроэнергию;
·
накладные
расходы.
Затраты на оплату труда по проектированию находится по формуле:
,
где Ом= 1000 руб. - месячный оклад инженера-конструктора;
Тф= 167 часа - рабочее время необходимое для:
·
разработка
технического задания (14ч);
·
анализ задания
(21ч);
·
разработка
технического предложения (7ч);
·
согласование с
заказчиком (21ч);
·
разработки
принципиальной схемы (14ч);
·
разработки
функциональной схемы (35ч);
·
разработки КД для
изготовления опытного образца (35ч).
Тм= 22 - среднее число рабочих дней в месяц;
Тср= 8ч - средняя продолжительность рабочего дня.
Теперь на зарплату проектировщикам необходимо произвести отчисления и
доплаты, что входит в себестоимость стенда (таблица 2).
Амортизационные отчисления.
Т.к. в процессе проектирования использовалась вычислительная машина, то
на неё необходимо сделать амортизационные отчисления. Они считаются по
следующей формуле:
Ц=10000руб.-цена компьютера; Зр=20% от Ц- затраты на ремонт; Ч=30ч- время
необходимое для работы на компьютере; Г=5лет- срок амортизации; М=12мес-
количество месяцев в году; Д=22см- среднее количество смен в месяц; См=8ч -
средняя продолжительность смены; Вр=20% отМ*Д*См - время необходимое на ремонт
компьютера.
Затраты на электроэнергию, потребляемую ПЭВМ рассчитаем по формуле:
Зэл.эн.=P*t*Ц,
где Р=160 Вт - потребляемая мощность (монитор-85 Вт; процессор-75 Вт);
t=30ч - время работы; Ц=0,32 руб. -цена 1кВт*ч.
Зэл.энПВЭМ.=160*10-3*30*0,32=1,536руб.
Затраты на электроэнергию, потребляемую светильниками освещения, вычислим по
следующей формуле:
Зосв.=n*P*t*Ц/nк, где
=10- количество ламп в кабинете; P=40 Вт- мощность лампы; t=30ч - время
работы; Ц=0,32руб. -цена 1кВт*ч; nк=3шт - количество компьютеров в
кабинете. Тогда,
Зосв.=10*40*10-3*30*0,32/3=1,28руб.
Всего затрат на электроэнергию:
Зэл.эн.=1,536+1,28=2,816руб.
Накладные расходы, затраты на амортизацию и электроэнергию приведены в
таблице 10.
Структура себестоимости проектирования Таблица 10
Калькуляция себестоимости изготовления рассчитывается в соответствии с
источниками [23,24].
Затраты по оплате труда на изготовление прибора:
Сизг= Тч×Тф,
где Тч- тариф рабочего: монтажница- 5 руб/ч; слесарь-электрик- 6,5 руб/ч;
электромонтер- 6 руб/ч;
Тф - рабочее время, необходимое для изготовления прибора: монтажница-28ч;
слесарь-электрик- 28ч; электромонтер- 21ч.
Сизг= 5×28+6,5×28+6×21=448 руб.
Теперь на стоимость изготовления необходимо произвести отчисления и
доплаты, что входит в себестоимость стенда (таблица 11).
Структура себестоимости изготовления Таблица 11
Т.о. полная стоимость прибора будет равна:
Спр=5051,84+6634,63=11686,47 руб.
Так как прибор изготавливается в единственном экземпляре, то
себестоимость получается очень большая.
Сетевой
график
СПУ (система сетевого планирования и управления) является комплектом
графических и расчетных методов, организационных мероприятий и контрольных приёмов,
обеспечивающих моделирование, анализ и динамическую перестройку плана
выполнения сложных проектов и разработок.
В основу системы СПУ положена модель, описывающая объект управления в
виде сетевого графика. Благодаря этому система и получила свое название -
система сетевого планирования и управления.
Сетевой график по сравнению с ленточным (все еще широко применяемым)
имеет ряд преимуществ, в частности: на нем широко просматриваются взаимосвязи
между работами; в график легко вводятся ранее не предусмотренные работы; на
графике может быть легко выявлена технологическая последовательность работ,
которая определяет конечные сроки всей разработки - критический путь; по
сетевому графику можно определять резервы времени работ, не лежащих на
критическом пути, что позволяет наиболее рационально перераспределять наличные
людские, материальные и финансовые ресурсы; этот график дает возможность
оптимизировать план предстоящих работ.[19,20]
Сетевой график (сеть) представляет собой план работ по созданию сначала
промежуточной продукции с определенной степенью готовности, а в конце - полному
его завершению, т.е. достижению конечной цели.
Наиболее распространенный способ изображения плана работ - это сетевой
график в терминах работ и событий.
Здесь требуется разработать план выполнения работ по созданию прибора в
виде сетевого графика на основе перечня работ и трудоемкости их выполнения,
приведенных в табл. 12, гр. 1, 3-6.
Произвести расчет продолжительности каждой работы (i - j) исходя из
заданной трудоемкости и установленной численности (см. табл. 12, гр. 5 и 6);
построить сетевой график на данный комплекс работ; закодировать построенный
график; рассчитать параметры данного графика (наиболее ранние и наиболее
поздние сроки свершения событий; наиболее ранние и наиболее поздние сроки
начала и окончания работ; общие и частные резервы времени работ;
продолжительность критического пути).
Перечень работ Таблица 12
|
№№ п/п
|
Код работ
|
Работа
|
Номера предшествующих работ
|
Трудоемкость, чел.- дней
|
Численность исполнителей,
чел.
|
Продолжительность
выполнения работ, дней
|
|
1
|
2
|
3
|
4
|
5
|
6
|
7
|
|
1
|
0-1
|
Разработка технического
задания
|
0
|
2
|
2
|
1
|
|
2
|
1-2
|
Анализ задания
|
1
|
3
|
2
|
1,5
|
|
3
|
1-4
|
Согласование с данными
заказчика
|
1
|
3
|
2
|
1,5
|
|
4
|
1-9
|
Разработка технического
проекта
|
1
|
10
|
2
|
5
|
|
5
|
2-3
|
Разработка технического
предложения
|
2
|
2
|
2
|
1
|
|
6
|
3-4
|
Разработка принципиальной
схемы
|
3
|
2
|
2
|
1
|
|
7
|
4-5
|
Разработка функциональной
схемы
|
4,6
|
5
|
2
|
2,5
|
|
8
|
5-7
|
Разработка конструкторской
документации для изготовления макета
|
7
|
4
|
1
|
4
|
|
9
|
5-6
|
Заказ комплектующих
элементов
|
7
|
5
|
2
|
2,5
|
|
10
|
6-7
|
Изготовление макета
|
8
|
12
|
3
|
4
|
|
11
|
Тестирование
|
9,11
|
2
|
1
|
2
|
|
12
|
7-9
|
Корректировка
|
9,11
|
5
|
2
|
2,5
|
|
13
|
8-9
|
Создание технического
паспорта с данными тестирования
|
11
|
5
|
2
|
2,5
|
|
14
|
9-10
|
Сдача заказчику
|
3,12,13
|
2
|
1
|
2
|
|
15
|
9-11
|
Установка на лабораторный
стенд
|
3,12,13
|
1
|
1
|
1
|
|
16
|
10-11
|
Испытание
|
14
|
4
|
2
|
2
|
|
17
|
11-12
|
Заключительные операции
|
15,16
|
1
|
1
|
1
|
Решение:
1. Продолжительность выполнения каждой
работы (i -j) определяется по формуле
t(i-j) =(T(i-j) )/( Ч(i-j)×Kв ),
где T(i-j) - трудоемкость работы (i-j), чел.-недель;
Ч(i-j) - численность исполнителей работы (i-j) чел.;
Кв
- коэффициент выполнения норм времени (принимается равным 1).
Подставив в формулу t(i-j) соответствующие данные по первой
работе из табл. 1, получим
(0-1) =( 2 )/( 2×1 )=1 недели
Аналогично производим расчеты по всем остальным работам, результаты
заносим в графе7 табл. 12.
. Построение сетевого графика осуществляется на основании данных,
приведенных в графах 1, 3 и 4 табл. 12 и на рис. 20.
. Кодирование сетевого графика выполняется следующим образом. Коды
событий проставляются в возрастающем порядке от i до j (см. рис. 20), а также в
графе 2 табл. 12.
. Расчет параметров сетевого графика.
Для пояснения методики расчета рассмотрим два метода:
) расчет параметров сетевого графика на самом графике;
) табличный метод расчета.
Первый метод предусматривает расчет следующих параметров:
·
ранних сроков
свершения событий ( tрi );
·
поздних сроков
свершения событий ( tni );
·
резервов времени
свершения событий ( Ri ).
Для
расчета параметров сетевого графика по первому методу все события (кружки)
делятся на четыре сектора (см. рис. 20). В верхних секторах проставляют коды
событий. В левые секторы в процессе расчета вписывают наиболее ранние сроки
свершения событий ( tрi ), а в правые - наиболее
поздние сроки свершения событий ( tni ). В нижних
секторах проставляют календарные даты или резервы событий ( Ri
).
Расчет
наиболее ранних сроков свершения событий ведется слева направо, начиная с
исходного события и заканчивая завершающим событием. Ранний срок свершения
исходного события принимается равным нулю ( tрi =
0 ). Ранний срок свершения j-го события определяется суммированием
продолжительности работы ( t(i-j) ), ведущей к j-му событию,
и раннего срока предшествующего ему i-го события [ tpj
= tpi + t(i-j) ]. Это при условии, если в
j-е событие входит одна работа (например, для события №2 tp2
= 1+1,5 = 2,5), а если j-му событию предшествует несколько работ, то определяют
ранние сроки выполнения каждой работы и из них выбирают максимальный по
абсолютной величине и записывают в левом секторе события [tpj = mах tpo (i-j)
].
Например,
tр.о.(3-4)= 1+2,5 =3,5; tр.о.(1-4)=
1+1,5 =2,5. Из этих значений выбирают максимальное - 2,5 и вписывают в левый
сектор события № 4. Аналогично расчет ведется до завершающего события.
Расчет
наиболее поздних сроков свершения событий ведется справа налево, начиная с
завершающего события и заканчивая исходным. Поздний срок свершения завершающего
события принимается равным раннему сроку этого события ( tnj
= tpj ). Например, tn11 = tp11
= 23. Это значение записывают в правый сектор события.
Наиболее
поздний срок свершения i-го события определяется как разность между сроком
последующего j-го события, записанным в правом секторе, и продолжительностью
работы, ведущей из i-го события к j-му событию, т.е. tni
= tnj - t(i-j). Это значение вписывают в
правый сектор i-го события, если из этого события выходит одна работа, а если
из i-го события выходит несколько работ, то выбирают минимальное значение
и записывают в правый сектор i-го события, это и будет поздним сроком свершения
i-го события.
Например,
из события № 9 выходят две работы с поздними сроками свершения событий: tп.н(9-10)=
20-2 = 18; tп.н.(9-11)= 22-1 =21. Из двух значений
выбирают минимальное, равное 18, и вписывают его в правый сектор события № 9.
Аналогично расчет ведется до исходного события.
Расчет
резервов времени на свершение событий.
Резерв
времени i-го события определяется непосредственно на сетевом графике вычитанием
величины раннего срока свершения i-го события из величины позднего срока
свершения i-го события ( Ri = tni - tpi
).
Следует
отметить, что все события, которые не имеют резервов времени, лежат на
критическом пути, однако этого недостаточно, чтобы выделить работы, находящиеся
на критическом пути. Например, несмотря на то, что у работы (1-4) ранние и
поздние сроки свершения событий равны, она не лежит на критическом пути. Для
выделения критических работ необходимо, чтобы tpj - tpi
= t(i-j). Например, для работы (5-7): 13,5 -7 = 6,5, а t(5-6)
= 2,5, следовательно, данная работа имеет резерв и потому не является
критической. Критический путь проходит по работам (0-1), (1-2), (2-3), (3-4),
(4-5), (5-6), (6-7) , (7-8) , (8-9), (9-10) , (10-11),(11-12).
Второй
метод расчета параметров сетевого графика (табличный) предусматривает расчет
следующих параметров:
·
наиболее ранних
сроков начала i-j работ ( tр.н.(i-j) );
·
наиболее ранних
сроков окончания i-j работ ( tр.о.(i-j) );
·
наиболее поздних
сроков начала i-j работ ( tп.н.(i-j) );
·
наиболее поздних
сроков окончания i-j работ ( tп.о.(i-j) );
·
общих резервов
времени i-j работ ( R(i-j) );
·
частных резервов
времени первого r`(i-j) и второго r``(i-j)
вида работы i-j.
Все указанные параметры сетевого графика определяются в табличной форме
(табл. 13).
Таблица 13 Расчёт параметров сетевого графика табличным методом
|
Код
|
t(i-j)
|
tр.н.(i-j)
|
tр.о.(i-j)
|
tп.н.(i-j)
|
tп.о.(i-j)
|
R(i-j)
|
r``(i-j)
|
r`(i-j)
|
|
i
|
j
|
|
|
|
|
|
|
|
|
|
1
|
2
|
3
|
4
|
5
|
6
|
7
|
8
|
9
|
10
|
|
0
|
1
|
1
|
0
|
1
|
0
|
1
|
0
|
0
|
0
|
|
1 1 1
|
2 4 9
|
1,5 1,5 5
|
1 1 1
|
2,5 2,5 6
|
1 3 9,5
|
2,5 4,5 17
|
0 2 12
|
0 2 12
|
0 2 12
|
|
2
|
3
|
1
|
2,5
|
3,5
|
2,5
|
3,5
|
0
|
0
|
0
|
|
3
|
4
|
1
|
3,5
|
4,5
|
3,5
|
4,5
|
0
|
0
|
0
|
|
4
|
5
|
2,5
|
4,5
|
7
|
4,5
|
7
|
0
|
0
|
0
|
|
5 5
|
7 6
|
4 2,5
|
7 7
|
11 9,5
|
9,5 7
|
13,5 9,5
|
2,5 0
|
2,5 0
|
2,5 0
|
|
6
|
7
|
4
|
9,5
|
13,5
|
9,5
|
13,5
|
0
|
0
|
0
|
|
7 7
|
8 9
|
2 2,5
|
13,5 13,5
|
15,5 16
|
13,5 15,5
|
15,5 18
|
0 2
|
0 2
|
0 2
|
|
8
|
9
|
2,5
|
15,5
|
18
|
15,5
|
18
|
0
|
0
|
0
|
|
9 9
|
10 11
|
2 1
|
18 18
|
20 19
|
18 21
|
20 22
|
0 3
|
0 3
|
0 3
|
|
10
|
11
|
2
|
20
|
22
|
20
|
22
|
0
|
0
|
0
|
|
11
|
12
|
1
|
22
|
23
|
22
|
23
|
0
|
0
|
0
|
Расчет параметров сетевого графика начинают с заполнения первых трех граф
таблицы. В графах 1 и 2 записывают коды событий, строго по их возрастанию, а в
графе 3 проставляют продолжительность выполнения работ. Далее рассчитывают
наиболее ранние сроки начала и окончания работ (см. табл. 4, гр. 4 и 5). Расчет
ведется сверху вниз.
Для работ, опирающихся на исходное событие, наиболее раннее начало
принимают равным нулю ( tр.н.(i-j) )=0 и
проставляют в гр. 4 табл. 13. Ранний срок окончания работ получается в
результате сложения tр.н.(i-j) и t(i-j)
в каждой строке [tр.о.(i-j) = tр.н.(i-j)
+ t(i-j)]. Полученный результат записывают в гр.5 табл. 13.
Для определения раннего срока начала последующих работ в
вышерасположенных строках таблицы находится обозначение работы, у которой
последующее событие j имеет номер предыдущего события i рассчитываемой работы,
и значение tр.о.(i-j) из этой строки (гр. 5)
переносят в гр. 4 tр.н.(i-j) строки рассчитываемой
работы.
Если начальному событию рассматриваемой работы предшествует несколько
работ, то в качестве tр.н.(i-j) выбирают
наибольшее значение [tр.н.(i-j)=max tр.о.(i-j)].
Например, tр.н.(7-8)=13,5, так как работе (7-8)
предшествуют две работы: (5-7), (6-7), из которых работа (6-7) имеет
максимальное раннее окончание, равное 13,5, а работа (5-7) соответственно
имеет tр.о.(i-j), равное 11.
Расчет наиболее поздних сроков начала и окончания работ ведется снизу
вверх в гр. 6 и 7 табл. 13.
Для завершающего события наиболее ранний срок свершения равен наиболее
позднему сроку и равен продолжительности критического пути, т.е. tр.о.(j-k)
= tп.o.(j-k) = tкр.
Для нашего случая tр.о.(10-11) = tп.о.(10-11)
=23. Это значение записывают в гр. 7 табл.13. Позднее начало определяется как
разность между tп.о.(i-j) и ее продолжительностью,
т.е. tп.н.(i-j) = tп.о.(i-j) - t(i-j).
Позднее окончание для каждой работы (i-j) определяется путем отыскания
поздних начал работ - последующих за данной работой. Если за ней следует одна
работа, то tп.н.(i-j) будет являться tп.о.(i-j)
для рассматриваемой работы и ее значение из гр. 6 переносят в гр. 7 табл. 13.
Например, данная работа (9-10), за ней следует одна работа (10-11), у которой tп.н.(10-11)
= 20, следовательно, tп.о.(9-10)= 20. Если за
данной работой следует несколько работ, то выбирают минимальное значение
позднего их начала. Например, за работой (5-7) следуют две работы: (7-8) и
(7-9), т.е. tп.н.(7-8) = 13,5 и tп.н.(7-9)
= 15,5. Выбирают минимальное значение, равное 13,5, и переносят из гр. 6 в гр.7
для работы (5-7), т.е. tп.о.(5-7) = 13,5.
Полный (общий) резерв времени работы (i-j) определяют как разность между
наиболее поздним (гр. 7) и наиболее ранним (гр. 5) окончанием работы (i-j), а
результат записывают в гр. 8 табл. 2. Например, R(1-9)=tп.о.(1-9)-tр.о.(1-9)=
18-6=12.
Расчет частных резервов времени работы (i-j) ведется в табличной форме снизу
вверх с использованием формул для определения частного резерва времени первого
вида (результат записывают в гр. 10 табл. 13)
’(i-j)= tп.о.(i-j)- tп.о.(h-i)- tп.о.(i-j)
Например,
r’(10-11)= 23-22-1=0.
Частный резерв времени второго вида рассчитывается по формуле (результат
заносят в гр. 9 табл. 4)
r’’(i-j)= tр.н.(j-k)- tр.о.(i-j)
Например, r’’(4-6)= 13,5-11=2,5.
. Оптимизация сетевого графика по параметру "время-ресурсы".
Эта оптимизация производится эвристическим методом. Сначала график
оптимизируют по параметру "время", а затем, если он удовлетворяет
длительности критического пути, по ресурсам (людским, материальным и др.). По
параметру "время" существует несколько способов приведения графика в
соответствие с заданными сроками, например, пересмотр топологии сети,
сокращение продолжительности работ, лежащих на критическом пути, и др.
В нашем случае tкр = 23 дня устраивает разработчика, и
график пока не оптимизируется по параметру "время".
Оптимизация сетевого графика по параметру “людские ресурсы” сводится к
расчету численности исполнителей по календарным периодам и приведению ее к
заданным ограничениям. Для этого сетевой график наносят на календарную сетку
(рис. 21), при этом работы изображаются стрелками в масштабе времени их
свершения по наиболее ранним срокам, а резервы времени работ (частные резервы
времени работ второго вида) изображают пунктирными линиями со стрелкой.
После построения графика в масштабе времени над стрелками (работами)
проставляют числа исполнителей, которые затем суммируют по календарным
периодам, и результаты сравнивают с располагаемой численностью. Под сетевым
графиком строят график загрузки людских ресурсов по плановым периодам. Если
расчетные числа превышают располагаемую численность исполнителей в каком-либо
периоде, то начало работ сдвигают на более ранние или более поздние сроки в
пределах имеющихся резервов времени выполнения работ с таким расчетом, чтобы
сумма людских ресурсов по календарным периодам не превышала наличную
численность работников.
В нашем случае оптимизация людских ресурсов не производится, т.к. все
этапы работ производятся разными специалистами и в большинстве случаев
последовательно.
Электробезопасность при лабораторных
исследованиях и экспериментах
Основные мероприятия, обеспечивающие безопасность труда, должны найти
отражение при конструировании и эксплуатации машин и механизмов.
Современное производство всё более насыщается различного рода машинами и
механизмами, освобождающими человека от выполнения различных технологических
операций и способствующих тем самым повышению безопасности труда.
Однако наряду с огромной пользой приносящей машинами, каждая из них может
представлять различные виды опасности для человека.
В данном проекте разработаны и сконструированы приборы, автоматизирующие
считывание и обработку информации на разрывной машине.
Качество пластмасс с механической точки зрения в первую очередь
определяется величиной предела прочности и относительного удлинения при
растяжении.
Объектом исследования служит образец определённых размеров из полимера.
Образец закрепляется в винтовых зажимах, один из которых на конце цепи
движется, вниз создавая разрывающее усилие. Другая сторона образца через зажим
и цепь связана с прибором, измеряющим предел прочности, чувствительным
элементом которой служит стрелка с подвешенным на неё грузом определённой
величины.
Стенд приводится в действие двигателем переменного тока через редуктор,
на валу которого крепится цепь. В результате измерения мы должны снять два
показателя: предел прочности и относительное удлинение. Стенд оснащён пультом
управления с кнопками:
“Вперёд ”,”Стоп ”,”Назад ”. Также имеется два электронных прибора, один
из которых находится на стрелке с грузом и считывает информацию о пределе прочности
образца со специальной шкалы. Другой прибор стоит на валу двигателя и по
информации, считанной с этого прибора, можно сделать выводы об относительном
удлинении образца. Далее электрические сигналы с этих приборов, проходя через
специальную микросхему, попадают в компьютер, где обрабатываются и
представляются в виде графиков либо других наглядных примеров.
Рабочее место представляет собой место оператора за компьютером. Вся
работа заключается в наблюдении данных выводящихся на дисплей компьютера. Испытательный
стенд располагается в вертикальном положении на стене лаборатории. Само
непосредственное пространство перед стендом защищено от места оператора
железно-стеклянной конструкцией, что обеспечивает определённую безопасность при
работе стенда.
Окружающая среда (аудитория) В которой проводятся исследования на
испытательном стенде, должна быть хорошо проветрена, иметь искусственное и
естественное освещение, стены рекомендуется окрашивать в светлые тона.
Так как двигатель стенда имеет металлический корпус и питается переменным
напряжением 380В, а также источник питания для приборов с первичной обмоткой
напряжением 220В, это опасно для человеческого организма и может вызвать
серьёзные последствия. Опасность поражения электрическим током может возникнуть
при пробое изоляции токоведущих частей на металлические части компьютера,
поэтому они зануляются. Также опасность поражения электрическим током может
возникнуть при:
·
замыкании фазы на
корпус двигателя;
·
межфазовом
замыкании, т.е. при повреждении питающего кабеля.
Особенности действия тока на живую
ткань
Действие электрического тока на живую ткань в отличие от действия других
материальных факторов (пар, химические вещества, излучения и т. п.) носит
своеобразный и разносторонний характер. В самом деле, проходя через организм
человека, электрический ток производит термическое и электролитическое
действия, являющиеся, обычными физико-химическими процессами, присущими как
живой, так и неживой материи; одновременно электрический ток производит и
биологическое действие, которое является особым специфическим процессом,
свойственным лишь живой ткани.
Электрический ток при протекании через организм человека оказывает:
Термическое действие тока проявляется в ожогах отдельных участков тела,
нагреве до высокой температуры кровеносных сосудов, нервов, сердца, мозга и
других органов, что вызывает в них серьезные функциональные расстройства.
Электролитическое действие тока выражается в разложении органической
жидкости, в том числе и крови, что вызывает значительные нарушения их
физико-химического состава.
Биологическое действие тока проявляется в раздражении и возбуждении живых
тканей организма, а также в нарушении внутренних биоэлектрических процессов,
протекающих в нормально действующем организме и теснейшим образом связанных с
его жизненными функциями
Механическое действие тока проявляется в виде судорожных сокращений мышц,
вплоть до разрыва внутренних органов и вывихов и переломов костей.
Электрические травмы подразделяют на:
.Местные электротравмы, когда возникает местное повреждение организма.
.Общие электротравмы, так называемые электрические удары, когда
поражается весь организм из-за нарушения нормальной деятельности жизненно
важных органов и систем.
Местные электротравмы.
Местные электротравмы - ярко выраженное местное нарушение целостности
тканей тела, в том числе костных тканей, вызванное воздействием электрического
тока или электрической дуги. Чаще всего это поверхностные повреждения, т.е.
поражения кожи, а иногда других мягких тканей, а также связок и костей.
Характерные местные электротравмы:
Электрические ожоги;
Электрические знаки;
Металлизация кожи;
Механические повреждения ;
Электроофтальмия .
Электрический ожог - самая распространенная электротравма: ожоги возникают у
большей части (63%) пострадавших от электрического тока, причем треть их (23%)
сопровождается другими травмами- знаками, металлизацией кожи и офтальмией.
Около 85% всех ожогов приходится на электромонтеров, обслуживающих
действующие электроустановки.
В зависимости от условий возникновения различают два основных вида ожога:
токовый (или контактный), возникающий при прохождении тока непосредственно
через тело человека в результате контакта человека с токоведущей частью;
дуговой, обусловленный воздействием на тело человека электрической дуги.
Токовый (контактный) ожог возникает в электроустановках относительно
небольшого напряжения-не выше 1-2 кВ. При более высоких напряжениях, как
правило, образуется электрическая дуга или искра, которые и обусловливают
возникновение ожога дугового вида - дугового.
Токовые ожоги отмечаются примерно у 38% пострадавших от электрического
тока, причем в большинстве случаев они являются ожогами I и II степеней; при
напряжениях выше 380 В возникают и более тяжелые ожоги-III и IV степеней .
Дуговой ожог наблюдается в электроустановках различных напряжений. При
этом в установках до 6- 10 кВ ожоги являются следствием случайных коротких
замыканий, например при работах под напряжением на щитах и сборках до 1000В,
при измерениях переносными приборами (токоизмерительными клещами) в установках
выше 1000В и т. п.
Электрические знаки, именуемые знаками тока или электрическими метками,
представляют собой резко очерченные пятна серого или бледно-желтого цвета на
поверхности тела человека, подвергнувшегося действию тока. Обычно знаки имеют
круглую или овальную форму и размеры 1-5 мм с углублением в центре. Встречаются
знаки в виде царапин, небольших ран, бородавок, кровоизлияний в кожу, мозолей и
мелкоточечной татуировки. Иногда форма знака соответствует форме токоведущей
части, которой коснулся пострадавший, а также напоминать фигуру молнии.
Пораженный участок кожи затвердевает подобно мозоли. Происходит как бы
омертвение верхнего слоя кожи. Поверхность знака сухая, не воспалена.
Обычно электрические знаки безболезненны и лечение их заканчивается
благополучно: с течением времени верхний слой кожи сходит и пораженное место
приобретает первоначальный цвет, эластичность и чувствительность.
Металлизация кожи - проникновение в верхние слои кожи мельчайших частичек
металла, расплавившегося под действием электрической дуги. Такое явление
встречается при коротких замыканиях, отключениях разъединителей и рубильников
под нагрузкой и т. п. При этом мельчайшие брызги расплавленного металла под
действием возникших динамических сил и теплового потока разлетаются во все
стороны с большой скоростью. Каждая из этих частичек хотя и обладает высокой
температурой, но имеет малый запас тепла и, как правило, не способна прожечь
одежду. Поэтому поражаются обычно открытые части тела-руки и лицо.
Пораженный участок кожи имеет шероховатую поверхность. Пострадавший
ощущает на пораженном участке боль от ожогов за счет тепла занесенного в кожу
металла и испытывает напряжение кожи от присутствия в ней инородного тела.
Обычно с течением времени больная кожа сходит, пораженный участок
приобретает нормальный вид и эластичность, исчезают и все болезненные ощущения,
связанные с этой травмой. Лишь при поражении глаз лечение может оказаться
длительным и сложным, а в некоторых случаях и безрезультатным, т. е.
пострадавший может лишиться зрения. Поэтому работы, при которых возможно
возникновение электрической дуги (например, работы под напряжением на щитах и
сборках), должны выполняться в защитных очках. Вместе с тем одежда работающего
должна быть застёгнута на все пуговицы, ворот закрыт, а рукава опущены и
застегнуты у запястьев рук.
Металлизация кожи наблюдается у 10% пострадавших от электрического тока.
Причем в большинстве случаев одновременно с металлизацией возникает
дуговой ожог, который почти всегда вызывает более тяжелые поражения, чем
металлизация.
Механические повреждения являются следствием резких непроизвольных
судорожных сокращений мышц под действием тока, проходящего через человека. В
результате могут произойти разрывы сухожилий кожи, кровеносных сосудов и
нервной ткани; могут иметь место вывихи суставов и даже переломы костей.
Разумеется, в число этих повреждений не входят аналогичные травмы,
обусловленные падением человека с высоты, ушибами о предметы и подобные им
случаи, которые могут произойти также при поражении током.
Механические повреждения возникают при относительно длительном нахождении
человека под напряжением в установках до 380 В и являются, как правило,
серьезными травмами, требующими длительного лечения. Они возникают довольно
редко - примерно у 0,5% лиц, пострадавших от тока. Все случаи механических
повреждений сопутствуют электрическим ударам, поскольку они вызываются током,
проходящим через тело человека. Третья часть из них сопровождается, кроме того,
контактными ожогами тела.
Электроофтальмия - воспаление наружных оболочек глаз-роговицы и конъюктивы
(слизистой оболочки, покрывающей глазное яблоко), возникающее в результате
воздействия мощного потока ультрафиолетовых лучей, которые энергично
поглощаются клетками организма и вызывают в них химические изменения. Такое
облучение возможно при наличии электрической дуги, которая является источником
интенсивного излучения не только видимого света, но и ультрафиолетовых и
инфракрасных лучей. Предупреждение электроофтальмии при обслуживании
электроустановок обеспечивается применением защитных очков с обычными стеклами,
которые почти не пропускают ультрафиолетовых лучей и обеспечивают защиту глаз
от брызг расплавленного металла при возникновении электрической дуги.
Электрический
удар.
Под электрическим ударом следует понимать возбуждение живых тканей
организма протекающим через него электрическим током, сопровождающееся
непроизвольными судорожными сокращениями мышц. Степень отрицательного
воздействия на организм этих явлений может быть различной. В худшем случае электрический
удар приводит к нарушению и даже полному прекращению деятельности жизненно
важных органов-легких и сердца, т. е. к гибели организма. При этом внешних
местных повреждений человек может и не иметь.
В зависимости от исхода поражения электрические удары можно условно
разделить на следующие четыре степени:судорожное сокращение мышц без потери
сознания;судорожное сокращение мышц с потерей сознания, но с сохранившимся
дыханием и работой сердца;потеря сознания и нарушение сердечной деятельности
или дыхания (или того и другого вместе);клиническая смерть, т. е. отсутствие
дыхания и кровообращения.
Исход воздействия электрического тока на организм человека зависит от
ряда факторов, в том числе от электрического сопротивления тела, тока и
длительности его прохождения, рода и частоты тока, а также от индивидуальных
свойств человека
Когда электрический удар не приводит к смерти, он, тем не менее, может
вызвать серьезные расстройства в организме, которые проявляются сразу за
воздействием тока или через несколько часов, дней и даже месяцев.
Электрическим ударам подвергается обычно свыше 80% пострадавших от тока
(из числа учитываемых случаев поражения током). При этом большая часть их (55%)
сопровождается местными электротравмами, в первую очередь ожогами. Около 25%
случаев поражения током-это удары без местных травм, хотя на теле пострадавших
можно обнаружить места входа и выхода тока-весьма незначительные участки
поврежденной кожи, которые за их малостью как травмы не учитываются.
Электрические удары являются грозной опасностью для жизни пострадавшего:
они вызывают 85-87% смертельных поражений (считая за 100% все случаи со
смертельным исходом от действия тока). Правда, большая часть смертельных
случаев (60-62%) является результатом смешанных поражений, т. е. одновременного
действия электрических ударов и местных электротравм (ожогов).
Механизм
смерти от электрического тока.
Смерть-это полное прекращение взаимосвязи организма с окружающей средой: утрата
основных физиологических процессов -сознания, дыхания и сердцебиения,
отсутствие реакции на внешние раздражители и т.п.
В более широком смысле смерть- необратимое прекращение обмена веществ в
организме, сопровождающееся разложением белковых тел.
Различают два основных этапа смерти:
клиническую смерть;
биологическую смерть.
Клиническая (или «мнимая») смерть-переходное состояние от жизни к
смерти, наступающее с момента прекращения деятельности сердца и легких.
У человека, находящегося в состоянии клинической смерти, отсутствуют все
признаки жизни; он не дышит, сердце его не работает, болевые раздражения
не вызывают никаких реакций, зрачки глаз резко расширены и не реагируют
на свет. Однако в этот период жизнь в организме еще полностью не угасла,
ибо ткани его еще не подвергаются распаду и в известной степени сохраняют жизнеспособность.
Не сразу угасают и функции различных органов. В первый момент почти во
всех тканях продолжаются обменные процессы, хотя и на очень низком уровне и
резко отличающиеся от обычных, но достаточные для поддержания минимальной
жизнедеятельности. Эти обстоятельства позволяют, воздействуя на более стойкие
жизненные функции организма, восстановить угасающие или только что угасшие
функции, т. е. оживить умирающий организм.
Биологическая (или истинная) смерть - необратимое явление,
характеризующееся прекращением биологических процессов в клетках и тканях и
распадом белковых структур. Она наступает по истечении периода клинической
смерти.
Причинами смерти от электрического тока могут быть прекращение работы
сердца, прекращение дыхания и электрический шок. Возможно также одновременное
действие двух или даже всех трех этих причин.
Прекращение сердечной деятельности является наиболее опасной причиной
смерти от электрического тока, поскольку возвращение пострадавшего к жизни в
этом случае оказывается, как правило, более сложной задачей, чем при остановке
дыхания или при шоке.
Воздействие тока на мышцу сердца может быть прямым, когда ток проходит
непосредственно в области сердца, а иногда и рефлекторным, т. е. через
центральную нервную систему, когда путь тока лежит вне этой области. В обоих
случаях может произойти остановка сердца, а также может возникнуть его
фибрилляция. Фибрилляция может быть и результатом рефлекторного спазма артерий,
питающих сердце кровью. При поражении током фибрилляция сердца наступает значительно
чаще, чем полная остановка сердца.
Фибрилляция сердца - хаотические разновременные сокращения волокон
сердечной мышцы (фибрилл), при которых сердце не в состоянии гнать кровь по
сосудам.
Фибрилляция продолжается обычно короткое время, сменяясь вскоре полной
остановкой сердца.
Прекращение дыхания как первопричина смерти от электрического тока происходит
чаще, чем прекращение сердечной деятельности. Нарушение работы легких
вызывается обычно непосредственным воздействием тока на мышцы грудной клетки,
участвующие в процессе дыхания.
Электрический шок-своеобразная тяжелая нервно-рефлекторная реакция организма в
ответ на чрезмерное раздражение электрическим током, сопровождающаяся глубокими
расстройствами кровообращения, дыхания, обмена веществ и т. п.
Шоковое состояние длится от нескольких десятков минут до суток. После
этого может наступить или гибель человека в результате полного угасания
жизненно важных функций, или выздоровление как результат своевременного
активного лечебного вмешательства.[25]
Для проектируемого стенда схему питания выбираем трёхфазную с
глухозаземленной нейтралью, т.к. только такие схемы разрешены для питания
электроустановок напряжением до 1000 В.
Для защиты людей от поражения электрическим током при повреждении
изоляции должна быть применена, по крайней мере, одна из следующих защитных
мер:
·
Заземление;
·
защитное
зануление;
·
защитное
отключение;
·
малое
напряжение;
·
двойная
изоляция.
Для проектируемого стенда, согласно ПУЭ, средством защиты выберем
зануление. Нулевой защитный проводник, выполненный в виде стальной полосы,
проложенной по периметру аудитории и соединяющий проектируемый стенд и
глухозаземленную нейтраль. Опасность поражения током при прикосновении к
корпусу и к другим нетоковедущим металлическим частям электрооборудования,
оказавшимися под напряжением вследствие замыкания на корпус и по другим
причинам, может быть устранена быстрым отключением поврежденной
электроустановки от питающей сети. Этой цели служит зануление.
Зануление - преднамеренное электрическое соединение с нулевым защитным
проводником металлических нетоковедущих частей, которые могут оказаться под
напряжением. Нулевым защитным проводником называется проводник, соединяющий
зануляемые части с глухозаземленной нейтральной точкой источника тока или её
эквивалентом. Принцип действия зануления - превращение замыкания на корпус в
однофазное короткое замыкание (т.е. между фазным и нулевым защитным
проводниками) с целью вызвать большой ток, способный обеспечить срабатывание
защиты и тем самым автоматически отключить поврежденную электроустановку от
питающей сети за минимальное время.[26]
Для проектируемого стенда из ПУЭ выбираем кабель с сечением фазы 2,5 мм2.
Селективную защиту для двигателя будет обеспечивать автомат типа А31 на 6 А.
Общую защиту будет обеспечивать автомат типа А31 на 140 А. Схема лабораторной
установки и схема питания показаны на рис.22 и рис.23.
Прежде чем приступить к выполнению лабораторной работы на стенде студенты
должны ознакомиться с инструкцией по технике безопасности на электроустановках
с напряжением до 1000 В.
Инструкция
по технике безопасности на электроустановках с напряжением до 1000 В
Утверждена на заседании
профсоюзного комитета ПГТУ
протокол № ---- от ------
Председатель профкома ПГТУ
. Введение.
Работа на электроустановках требует от работающих повышенного внимания и
строгого соблюдения правил техники безопасности.
Лица, виновные в нарушении данной инструкции, несут полную
ответственность в соответствии с законодательством РФ.
. Общие требования безопасности.
.1 К выполнению лабораторных работ допускаются студенты, прошедшие
инструктаж у руководителя лабораторных работ, зарегистрированные и
расписавшиеся в контрольных листах.
.2 Студенты не прошедшие инструктаж по технике безопасности, к работе на
электроустановках не допускаются.
.3 Студенты, допущенные к лабораторным работам, обязаны работать только
под наблюдением преподавателя, проводившего инструктаж по технике безопасности.
При выполнении лабораторных работ, на одной электроустановке должно быть
не менее 2-х студентов.
.4 Студенты, допущенные к выполнению лабораторных работ на
электроустановках с напряжением до 1000 В должны:
иметь чёткое представление о работе электроустановки и систем защиты;
уметь быстро отключать электроустановку при аварийных режимах и в случае
поражения электрическим током человека;
уметь оказать пострадавшим первую медицинскую помощь ( если имеется
представление и необходимые навыки).
. Требования безопасности до начала работы.
.1 Изучить описание установки и уяснить цель выполняемой работы, нужных
приспособлений и инструмента.
.2 Визуально проверить исправность и наличие нулевой защиты
электроприборов.
.3 Удалить с места работы посторонних лиц.
.4 Доложить руководителю работ о готовности к работе.
. Требования безопасности во время работы.
.2 Подавать напряжение на электроустановку после проверки электрической
схемы преподавателем.
.3 После подачи напряжения студентам, работающим на электроустановках, не
допускается:
.3.1 касаться неизолированных токоведущих частей и клемм, при
обнаружении;
.3.2 делать переключения в электрической схеме, в частности делать
реверсирование без остановки двигателя.
.3.3 оставлять электроустановку под напряжением без наблюдения;
.3.4 разрешать присутствие на рабочем месте посторонних лиц.
.4 При обнаружении любой неисправности (срабатывание автоматической
защиты и т.д.) немедленно снять напряжение с электроустановки и сообщить об
этом руководителю работ.
. Требования безопасности после работы.
.1 Отключить электроустановку от электросети, убедившись в полной
остановке двигателя.
.2 Отключить блок питания приборов слежения, обеспечив видимый разрыв.
.3 Навести порядок на рабочем месте, и сдать его руководителю работ.
. Требования безопасности при аварийных ситуациях.
.1 В случае возникновения пожара:
.1.1 немедленно прекратить работу, отключить электроустановку от питающей
электросети и сообщить руководителю работ;
.1.2 приступить к ликвидации пожара первичными средствами (углекислые,
порошковые огнетушители), в случае необходимости вызвать пожарную службу.
.2 При поражении электрическим током:
.2.1 освободить пострадавшего от действия электрического тока,
предварительно обесточив электроустановку;
.2.2 оказать пострадавшему доврачебную медицинскую помощь, вызвать врача;
.2.3 немедленно сообщить о случившемся руководителю работ;
.2.4 принять меры, исключающие поражение электрическим током других
людей;
.2.5 сохранить в неприкосновенности обстановку при которой произошёл
несчастный случай.
Рис.
22 Схема лабораторного стенда по определению разрывного усилия и относительного
удлинения образца полимера.
-
образец; 2 - корпус; 3 - цепь; 4 - стрелка; 5- шкала; 6,13 -датчики; 7 -
электродвигатель; 8 - винтовые зажимы; 9 - печатная плата; 10 - ЭВМ; 11 - блок
питания; 12 - коробка передач.
Рис.
23 Электрическая схема питания лабораторного стенда.
Список литературы
1. Сопряжение датчиков и устройств ввода
данных с компьютером IBM PC: Перевод с английского/ Под редакцией У. Томкинса и
Дж. Уэбстера: - М.: Мир, 1992. - 592с.: ил.
2. Тиль Р. Электрические измерения неэлектрических
величин.: Перевод с немецкого - М.:Энергоатомиздат, 1987.-192с.: ил.
3. Сташин В.В. и др. Проектирование
цифровых устройств на однокристальных микроконтроллерах. - М.:
Энергоатомиздат,1990.-224с.
4. Гершунский Б.С. основы электроники и
микроэлектроники.: - 3-е издание, переработанное и дополненное К.: Вища школа.
Головное издательство, 1987.- 422с.
5. Привезенцев В.А. и др. Сборник
описаний лабораторных работ по курсу обмоточные и монтажные провода. Издание
2-е.- М.: МЭИ, 1974
6. Бычатин Д.А. Поворотный индуктосин.
1969
7. Высокочастотные преобразователи
угловых перемещений.1986
8. Справочник по полупроводниковым
диодам, транзисторам и интегральным схемам. Под общей редакцией Н.Н. Горюнова.
Издание 4-е, переработанное и дополненное. - М.: Энергия, 1977.- 744с.: ил.
9. Справочник. Электрические
конденсаторы и конденсаторные установки: Под редакцией Г.С. Кучинского. - М.:
Энергоатомиздат, 1987.- 656с.: ил.
10.Триполитов
С.В., Ермилов А.В. Микросхемы, диоды, транзисторы.: Справочник. - М.: Машиностроение,
1994.
11.Справочная
книга радиолюбителя конструктора/ А.А. Бокуняев и др.; Под редакцией Н.И.
Чистякова. - М.: Радио и связь, 1990. - 624с.: ил.
12.Гутников В.С.
Интегральная электроника в измерительных устройствах. - 2-е издание,
переработанное и дополненное.- Л.: Энергоатомиздат. Ленинградское отделение.,
1988.- 304с.: ил.
13.Кранихфельд
Л.И., Рязанов И.Б. Теория, расчет и конструирование кабелейи проводов/ Учебник
для техникумов.- М.: Высшая школа, 1972.- 384с.: ил.
14.Казарновский
Д.М., Тареев Б.М. Испытание электроизоляционных материалов и изделий: Учебник
для техникумов.- 3-е издание, переработанное и дополненное.- Л.: Энергия.
Ленинградское отделение, 1980. - 216с.: ил.
15.Усаченко С.Т. и
др. Выполнение электрических схем по ЕСКД: Справочник. - М.: Издательство
стандартов, 1989.- 325с.
16.Atmel
Corporation.8051 Flash Microcontroller. Data Book. December 1997.
17.В. В. Гребнев
Однокристальные микроЭВМ семейства АТ89 фирмы Atmel.-С.-П.-1998,-76c.
18.Микроэкономика:
Курс лекций / В.И. Тимофеев; ПГТУ, 1988,- 284c.
19.Экономика
предприятия: Учебник/ Под редакцией профессора Н.Л. Сафронова. - М.: Юрист,
1999.- 584с.
20.Туровец О.Г.,
Билинкис В.Д. Вопросы экономики и организации производства в дипломных
проектах./ Учебное пособие для электротехнических специальных вузов. 2-е
издание, дополненное и переработанное. - М.: Высшая школа, 1988, - 174с.: ил.
21.Типовые
методические рекомендации по планированию, учету и калькуляции себестоимости
научно- технической продукции. Утверждено Министерством науки и технической
политики РФ 15 июня 1995г.
22.О составе
затрат и единых нормах амортизационных отчислений: Сборник нормативных
документов. - М.: Финансы и статистика, 1994.
23.Положение о
составе затрат по производству и реализации продукции (работ, услуг),
включаемых в себестоимость продукции (работ, услуг), и о порядке формирования
финансовых результатов, учитываемых в налогообложении: Постановление
правительства РФ от 5 августа1992г., №552.
24.Изменение и
дополнение, вносимые в положение о составе затрат по производству и реализации
продукции (работ, услуг), и о порядке формирования финансовых результатов,
учитываемых в налогообложении: Постановление правительства РФ от 1 июля 1995г.,
№661: Экономическая газета, 1995, - №28.
25.Долин П.А. Основные
требования безопасности в электроустановках.: Учебное пособие для вузов.- М.:
Энергия, 1979.- 408с., ил.
Приложение
|
Мотуско Ф.Я. Защитные
устройства в электроустановках. - М.: Энергия, 1973. Поз.
|
Наименование
|
Кол-во
|
Примечание
|
|
Микросхемы
|
|
|
|
DD1, DD2
|
К561-ЛН2
|
2
|
|
|
DD3
|
АТ89С5124PI
|
1
|
|
|
DA1
|
К142ЕН5А
|
1
|
|
|
DA2
|
MAX3232EPE
|
1
|
|
|
Транзисторы
|
|
|
|
VT1,VT5
|
КТ315Г
|
2
|
|
|
VT2,VT3,VT4
|
КТ3130Г9
|
3
|
|
|
Диоды
|
|
|
|
VD1,VD6
|
АЛ107Б
|
2
|
|
|
VD2,VD, VD7
|
ФД255
|
3
|
|
|
VD3,VD, VD8
|
КД522
|
3
|
|
|
VD8,VD9
|
АЛ307Б
|
2
|
|
|
Резисторы
|
|
|
|
R1
|
С2-33 0,125 47к±10%
|
1
|
|
|
R2,R4, R17
|
С2-33 0,125 10к±10%
|
3
|
|
|
R8, R13
|
С2-33 0,125 10к±10%
|
2
|
|
|
R3, R18, R7, R11
|
С2-33 0,125 510±10%
|
2
|
|
|
R5, R9, R14, R16
|
С2-33 0,125 5,1к±10%
|
3
|
|
|
Поз.
|
Наименование
|
Кол-во
|
Примечание
|
|
R6, R10
|
С2-33 0,125 33к±10%
|
3
|
|
|
R15
|
С2-33 0,125 22к±10%
|
1
|
|
|
R12
|
С2-33 0,125 750±10%
|
1
|
|
|
R19
|
С2-33 0,125 7,5к±10%
|
1
|
|
|
R20
|
С2-33 0,125 100±10%
|
1
|
|
|
R21
|
С2-33 0,125 220±20%
|
1
|
|
|
Конденсаторы
|
|
|
|
C1
|
К10-47 25В
1000пкФ±20% Н30
|
1
|
|
|
C2, C3, C4
|
К10-17а 25В 0,1мкФ±20% П33
|
7
|
|
|
C5, C6,
|
К10-17а 25В 0,1мкФ±20% П33
|
2
|
|
|
C7, C8
|
К10-17а 25В 0,1мкФ±20% П33
|
2
|
|
|
C9
|
К50-38 16В 1000мкФ±20%
|
1
|
|
|
C10
|
К52-1 6,3В 47мкФ±40%
|
1
|
|
|
C11
|
К52-1 6,3В 10мкФ±40%
|
1
|
|
|
Разъемы
|
|
|
|
X-1
|
Разъем DB-9
|
1
|
|
|
|
Кварцевые резонаторы
|
|
|
|
BQ1
|
На 12 МГц
|
1
|
|
Структура себестоимости проектирования
Структура себестоимости изготовления
Перечень
работ
|
№№ п/п
|
Код работ
|
Работа
|
Номера предшествующих работ
|
Трудоемкость, чел.- дней
|
Численность исполнителей,
чел.
|
Продолжительность
выполнения работ,дней
|
|
1
|
2
|
3
|
4
|
5
|
6
|
7
|
|
1
|
0-1
|
Разработка технического
задания
|
0
|
2
|
2
|
1
|
|
2
|
1-2
|
Анализ задания
|
1
|
3
|
2
|
1,5
|
|
3
|
1-4
|
Согласование с данными
заказчика
|
1
|
3
|
2
|
1,5
|
|
4
|
1-9
|
Разработка технического
проекта
|
1
|
10
|
2
|
5
|
|
5
|
2-3
|
Разработка технического
предложения
|
2
|
2
|
2
|
1
|
|
6
|
3-4
|
Разработка принципиальной
схемы
|
3
|
2
|
2
|
1
|
|
7
|
4-5
|
Разработка функциональной
схемы
|
4,6
|
5
|
2
|
2,5
|
|
8
|
5-7
|
Разработка конструкторской
документации для изготовления макета
|
7
|
4
|
1
|
4
|
|
9
|
5-6
|
Заказ комплектующих
элементов
|
7
|
5
|
2
|
2,5
|
|
10
|
6-7
|
Изготовление макета
|
8
|
12
|
3
|
4
|
|
11
|
7-8
|
Тестирование
|
9,11
|
2
|
1
|
2
|
|
12
|
7-9
|
Корректировка
|
9,11
|
5
|
2
|
2,5
|
|
13
|
8-9
|
Создание технического
паспорта с данными тестирования
|
11
|
5
|
2
|
2,5
|
|
14
|
9-10
|
Сдача заказчику
|
3,12,13
|
2
|
1
|
2
|
|
15
|
9-11
|
Установка на лабораторный
стенд
|
3,12,13
|
1
|
1
|
1
|
|
16
|
10-11
|
Испытание
|
14
|
4
|
2
|
2
|
|
1711-12Заключительные операции
|
15,16
|
1
|
1
|
1
|
|
|