Локальные системы управления
Введение
Системы автоматического управления
создаются для того, чтобы автоматически, без непосредственного участия человека
поддерживать необходимый режим работы различных обслуживаемых этими автоматами
объектов. Системы автоматического управления самостоятельно, без вмешательства
извне либо поддерживают постоянной, либо изменяют по заранее заданному закону
одну или несколько физических величин, характеризующих процессы, происходящие в
обслуживаемых объектах, или же сами определяют в зависимости от ряда условий
нужный или оптимальный закон управления объектом.
Управляемый процесс может
определяться рядом параметров и их соотношениями. В простых случаях управляемый
процесс может достаточно полно определяться одним параметром (координатой).
Системы для управления такими процессами носят название локальных систем
автоматики - это системы автоматики, предназначенные для решения одной
функциональной задачи, для управления одним устройством или для управления или
сигнализации одного параметра.
Процесс регулирования может быть
осуществлен одним из двух основных способов регулирования или их комбинацией.
Первый способ - это компенсация всех
возмущений, действующих на систему (регулирование по возмущению). Второй способ
- регулирование по отклонению выходной величины от заданного значения, лишен
этого недостатка и получил широкое распространение.
Системы автоматического управления
позволяют повысить эффективность ведения технологических процессов, сократить
частично или полностью количество обслуживающего персонала на том или ином
объекте, повысить производительность автоматизированных устройств и объектов и
повысить их экономичность, получить возможность вести требуемый процесс в
условиях и местах, недоступных для человека. Целью данного курсового проекта
является разработка локальной системы автоматического управления движением век
терминатора.
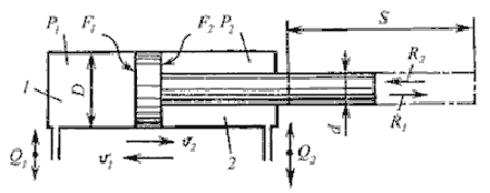
1. Техническое задание
на разработку Сау движением челюсти терминатора
микропроцессор автоматический
гидроцилиндр робот
Разрабатываемая система
автоматического управления предназначена для управления челюстью робота. На
рисунке 1 представлена функциональная схема разрабатываемой системы.
U1 - входное напряжение
микропроцессора; U2 - выходное напряжение
микропроцессора; S - перемещение штока цилиндра; ц - перемещение челюсти
терминатора; U3 - выходное напряжение
датчика угла.
Рисунок 1 - Функциональная схема
системы автоматического управления движением челюсти робота
микропроцессор автоматический гидроцилиндр локальный
Микропроцессор является
контролирующим органом системы. В его функции входит формирование такого
управляющего сигнала U2, который будет достаточным для приведения в
действие штока цилиндра.
Гидроцилиндр служит рабочим органом
системы. Основной функцией гидроцилиндра является создание необходимого усилия
для управления объектом - челюстью. Перемещение штока цилиндра устанавливает
челюсть в открытое или закрытое состояние.
Датчик угла поворота необходим для
преобразования значения угла поворота объекта управления в пропорциональный ему
электрический сигнал U3, являющийся информационным сигналом системы.
Система автоматического управления
челюстью робота имеет следующие технические характеристики:
напряжение питания, В
5;
объем гидроцилиндра, мм3
4000;
тип привода магнитожидкостный;
вид жидкости
вода;
время регулирования, секунд
0,5;
перерегулирование, %
20;
период дискретизации системы, секунд
0,01;
время безотказной работы, ч
300;
температура окружающей среды,°С
60…+125.
2. Выбор и обоснование
выбора элементной базы локальной системы управления
.1 Выбор микропроцессора
При выборе микропроцессора следует
руководствоваться следующими соображениями:
- высокая
производительность МП, достаточный объем ОЗУ и ПЗУ;
- возможность цифровой
обработки аналоговых сигналов в реальном
масштабе времени;
- возможность программной
коррекции;
- малое
энергопотребление;
- совместимость с
другими микросхемами;
- доступность
элементов;
- мощная и гибкая
система команд МП;
- наличие встроенных
ЦАП и АЦП.
На основании этих критериев выбираем
МП INTEL80C31/32.
Серия INTEL80C31/32 подходит для широкого спектра
приложений от схем высокоскоростного управления автомобильными и электрическими
двигателями до экономичных удаленных приемопередатчиков, показывающих приборов
и связных процессоров. Наличие ПЗУ позволяет подстраивать параметры в
прикладных программах (коды передатчика, скорости, частоты приемника и т.д.).
Малые размеры корпусов, как для
обычного, так и для поверхностного монтажа, делает эту серию микроконтроллеров
пригодной для портативных приложений. Низкая цена, экономичность,
быстродействие, простота использования и гибкость ввода / вывода делает INTEL80C31/32 привлекательным даже в тех
областях, где ранее не применялись микроконтроллеры.
Микропроцессор INTEL80C31/32 обладает точной эмуляцией, то
есть в нем отсутствуют какие-либо ограничения на использование программой
ресурсов микроконтроллеров, поддерживает банкированную модель памяти, имеет в
своем составе 48-разрядный таймер реального времени, до 256 К эмулируемой
памяти программ и данных, до 512 К аппаратных точек основа по доступу к памяти
программ и данных, а также позволяет распределять память между эмулятором и
устройством пользователя с точностью до одного байта.
Технические характеристики МП INTEL80C31/32:
максимальная тактовая частота, МГц
30;
- число линий ввода / вывода 32;
напряжение питания, В 3,3:5;
объем RAM, байт 512;
объем ROM/EPROM, Кбайт 4;
количество счетчиков 2;
рабочий интервал температур,°С от 55
до +125.
Передаточная функция цифрового
устройства микропроцессор является стандартной и имеет вид:МП(p) =
1.
2.2 Выбор гидроцилиндра
Основным критерием при выборе
гидроцилиндра являются массогабаритные характеристики элемента, а так же
давление, на которое рассчитано данное устройство. Гидроцилиндры предназначены
для перемещения рабочего органа, то есть объекта управления, в соответствии с
импульсами, поступающими от управляющего устройства, в нашем случае -
микропроцессора.
Рисунок 2 - Схематическое
изображение гидроцилиндра
Для разрабатываемой системы выбираем
поршневой гидроцилиндр двухстороннего действия с односторонним штоком (рисунок
2).
Основными параметрами поршневого
гидроцилиндра являются: диаметр поршня D и штока d, рабочее давление P и ход поршня S.
Зададим числовые значения этих
параметров, исходя из конструктивных параметров гидроцилиндра:
- внутренний диаметр D=40 мм;
диаметр штока dш=0,5D=20 мм;
ход поршня S=10D=400 мм;
рабочее давление Р=0.66
Н.
По основным параметрам определим
следующие зависимости:
- площадь поршня в поршневой полости
1 и в штоковой полости 2 соответственно:
Расчет на прочность.
Прочностным расчетом определяют
толщину стенок цилиндра, толщину крышек цилиндра, диаметр штока, диаметр шпилек
для крепления крышек.
Толщину стенки цилиндра определим по
формуле:

-
допустимое напряжение на растяжение,
коэффициент
поперечной деформации;
Для D=40 мм принимаем припуск на
обработку металла, равный 0,7 мм.
Толщина крышки цилиндра определим по
формуле:
где
- диаметр крышки,
Уравнение движения гидроцилиндра
имеет вид:
где Т - постоянная времени привода
гидроцилиндра, с;
-
относительное перемещение гидроцилиндра, мм;
-
относительное регулирующее воздействие.
Перейдя к стандартной форме
изображения передаточной функции звена, получим следующую формулу:
Площадь поперечного сечения
отверстия определим по формуле:
При скорости жидкости
=100 мм/с скорость изменения объема составит:
Перейдем от скорости изменения
объема к скорости изменения давления жидкости:
Постоянная времени примет значение:
Таким образом, передаточная функция
примет вид формулы (13):
2.3 Расчёт передаточной
функции объекта управления
Объектом управления челюстью робота
является шарнирное соединение, применяемое для связи элементов механизма,
подвижных относительно друг друга, в режиме скольжения.
В данной системе применены
радиально-упорные шарниры, имеющие кольца, сферическая поверхность которых
выполнена под некоторым углом к оси шарнира. Это позволяет шарнирным
соединениям воспринимать комбинированные нагрузки. Каждый шарнир предназначен
для применения при действии нагрузки только в одном направлении. Радиальные
нагрузки порождают в шарнире осевую силу, которую необходимо компенсировать
силой той же величины, но действующей в противоположном направлении. Поэтому
такой шарнир устанавливается напротив второго шарнира. Если два шарнира
установлены таким образом, что центр их сферы совпадает, получается шарнир
способный выдерживать повышенные радиальные и осевые нагрузки, действующие в
двух направлениях.
Радиально-упорные шарниры в данной
системе автоматического управления изготовлены в комбинации поверхностей
скольжения сталь / композит PTFE. Кольца радиально-упорных шарниров изготовлены из закаленной хромированной
стали и отшлифованы. Покрытие поверхности скольжения из композита PTFE нанесено метод инжекции
на внутреннюю поверхность внешнего кольца. Поверхность скольжения внутреннего
кольца шарнирного соединения выполнена из твердого хрома и покрывается литиевой
смазкой.
В данной системе автоматического
управления челюстью робота используется самосмазывающийся шарнир, не
нуждающийся в периодическом техническом обслуживании, так как поверхности
скольжения этих шарниров имеют специальные покрытия из современных материалов,
обладающие низким сопротивлением трению.
Область допустимых рабочих
температур этих шарниров лежит в диапазоне от -400С до +750С,
но в течение ограниченного времени они могут работать при температуре до 1100С.
Однако, в этих случаях, при достижении температуры 500С нагрузка на
шарнирные соединения должна быть снижена.
Передаточная функция объекта
управления:
где
- коэффициент передачи, показывающий зависимость максималmного отклонения объекта управления
от максимального хода штока.
где А - максимальный угол отклонения
челюсти робота;
В-максимальное перемещение штока
гидроцилиндра.
Следовательно, передаточная функция
имеет вид:
2.4 Выбор датчика угла
поворота
Магнитожидкостный датчик угла
предназначен для измерения пространственных углов относительно линии горизонта.
Датчик состоит из полого цилиндрического корпуса, снаружи которого наматываются
измерительные и питающие обмотки. В качестве чувствительного элемента в датчике
используется постоянный магнит, взвешенный в магнитной жидкости.
Технические характеристики
магнитожидкостного датчика угла:
диапазон измеряемых углов, град -90…+90;
диапазон рабочих температур,
-60…+60;
диаметр цилиндра, мм
17;
длина цилиндра, мм
55;
масса, г 6;
намагниченность насыщения, кА/м
100;
напряжённость магнитного поля, А/м 105.
В качестве управляющей среды
присутствует магнитная жидкость - вода. В качестве магнетика - высокодисперсное
железо, ферромагнитные окислы Fe2O3, Fe3O4.
Передаточная функция
магнитожидкостного датчика:
где
- коэффициент передачи;
= 0,5с
- постоянная времени.
где В-угол отклонения, взятый по
модулю;
А - входная величина напряжения, В.
Передаточная функция тогда примет
вид:
3. Расчёт датчика
обратной связи
Магнитожидкостный датчик угла
предназначен для измерения пространственных углов относительно линии горизонта.
В качестве чувствительного элемента в датчике используется постоянный магнит,
взвешенный в магнитной жидкости.
Постоянный магнит - изделие
различной формы из магнитотвердого материала с высокой остаточной магнитной
индукцией, сохраняющий состояние намагниченности в течение длительного времени.
Постоянный магнит применяется в качестве автономных источников магнитного поля.
Свойства магнита определяются
характеристиками размагничивающего участка петли магнитного гистерезиса
материала магнита: чем выше остаточная индукция Вr и коэрцитивная сила Нс, тем выше намагниченность и
стабильность магнита.
Вr - остаточная индукция;
Нс - коэрцитивная сила
Рисунок 3 - Семейство петель
магнитного гистерезиса (внешняя петля соответствует состоянию насыщения)
Для производства постоянных магнитов
обычно используются следующие материалы: бариевые и стронциевые магнитотвердые
ферриты, магниты NdFeB (неодим-железо-бор), редкоземельные магниты SmCo (самарий-кобальт),
магниты ALNICO.
В таблице 1 представлены
характеристики магнитных материалов.
Таблица 1 - Основные характеристики
магнитных материалов
(ВН)max,
МГс*Э
|
Вr,
Гс
|
Нс, Э
|
Цена, $ за 1 кг на российском рынке
|
Цена, $ на единицу (ВН)max
|
|
Гибкие магнитные материалы
|
1,6
|
1725
|
1325
|
5ч10
|
3,1ч6,2
|
|
Керамика (феррит)
|
3
|
4000
|
2400
|
1ч2,5
|
0,3ч0,85
|
|
ALNICO
|
9
|
13500
|
1400
|
44,1
|
4,3
|
|
SmCo
|
20
|
10500
|
9200
|
250ч500
|
12,5
|
|
NdFeB
|
50
|
14200
|
12500
|
70ч150
|
1,4ч3,7
|
Согласно таблице 1 для системы
автоматического управления челюстью робота выбирается постоянный магнит ALNICO, удовлетворяющий по
своим характеристикам всем заданным параметрам системы.
Магниты ALNICO изготавливаются методом
порошковой металлургии из композиционного сплава SmCo5/Sm2Co17 и характеризуются
высокими магнитными свойствами, отличной коррозионной устойчивостью и хорошей
стабильностью параметров при температурах до 3500С, что обеспечивает
им преимущества на высоких температурах перед магнитами NdFeB.
r - радиус, В-индуктивность, l - длина магнита, d - расстояние от поверхности магнита
Рисунок 4 - Цилиндрический магнит
Расчет магнитной индукции
аксиально-намагниченных цилиндрических магнитов с радиусом (r) и длиной (l),
в точке расположенной на расстоянии (d) от поверхности, вдоль оси
производится по формуле:
где r = 17 мм,
d=10 мм,
l=55 мм.
4. Расчёт устойчивости
системы автоматического управления челюстью робота
.1 Расчёт передаточной
функции системы и проверка САУ челюстью робота на устойчивость
Для определения непрерывной части
передаточной функции системы необходимо провести преобразование структурной
схемы системы без микропроцессора.
МП - микропроцессор, Ц -
гидроцилиндр, ОУ - объект управления, ДУ - датчик угла поворота.
Рисунок 5 - Структурная схема САУ
челюсть робота
Проведём преобразование структурной
схемы системы:
Рисунок 6 - Структурная схема после
первого преобразования
Проведём оценку устойчивости по
критерию Гурвица
Для устойчивости системы необходимо
и достаточно, чтобы все миноры определителя Гурвица были положительными.
Запищим характеристическое
уравнение:
,00498p3+0,1095p2+0,7p+1 = 0
(22)
Все коэффициенты характеристического
уравнения положительные, значит необходимое условие устойчивости выполняется.
По коэффициентам характеристического
уравнения составляется определитель Гурвица.
Для этого по главной диагонали
определителя выписываются все коэффициенты характеристического уравнения,
начиная со второго, затем вверх записываются коэффициенты с возрастающим
индексом, а вниз с убывающим индексом.
Составленный определитель называется
главным определителем Гурвица,
он имеет порядок совпадающий с порядком характеристического уравнения.
Из главного определителя
составляются частные определители первого, второго, третьего и так далее
порядков их образования из главного определителя.
Вычисляя главный определитель и
частные определители, Гурвиц установил, для того, чтобы система была устойчива
необходимо и достаточно, чтобы все определители были положительны.
Если хотя бы один определитель
отрицательный, то система неустойчива.
Порядок характеристического
уравнения: n = 3, следовательно:
Коэффициенты характеристического
уравнения имеют следующие значения:
a0 = 0,00498;
a1 = 0,1095;
a2 = 0,7;
a3 = 1.
Определим значения миноров
определителя Гурвица.
Система устойчива, так как все
миноры положительны.
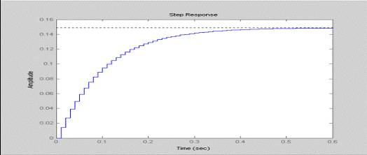
Для того чтобы построить переходный
процесс, используем обратное преобразование Лапласа от функции вида
Для построения переходного процесса
используем программу MathCAD.
Рисунок 7 - График переходного
процесса замкнутой системы автоматического управления челюстью робота
По графику переходного процесса
показатели качества:
установившееся значение переходного
процесса hуст = 0,15;
время регулирования системы tр = 0,31с;
время нарастания tн = 0,5 с;
перерегулирование 0%;
число колебаний за время
регулирования - 1.
С учетом этих показателей можно
сделать вывод, качество управления САУ соответствует требованиям нашей системы
и не требует дополнительной коррекции.
Для определения косвенных
показателей качества построим амплитудно-частотную характеристику замкнутой
системы управления челюстью робота.
Рисунок 8 - График
амплитудно-частотной характеристики системы
показатель колебательности системы
равен 1 (Аmax = A0);
полоса пропускания от 0 до 10 Гц (Гц
= с-1);
максимальная амплитуда Аmax = 0,15;
резонансная частота w = 0.
Таким образом, получаем, что
аналоговая система является устойчивой, основные параметры удовлетворяют
условиям технического задания.
4.2 Проверка дискретной
системы управления челюстью робота
Для перехода от линейной системы к
дискретной необходимо провести z-преобразование передаточной функции замкнутой системы.
Чтобы осуществить z-преобразование передаточной функции
замкнутой системы W(p), воспользуемся программным пакетом Matlab.
Создадим LTI-объект с помощью функции:
>>W=tf([0,00745 0,0894 0,149],
[0,00498 0,1095 0,7 1])
Проведем z-преобразование, задав шаг
дискретизации Т0=0,01 с, с помощью функции:
>>Wz=c2d (W, 0.01).
Получим передаточную функцию
дискретной замкнутой системы управления челюстью робота:
Устойчивость дискретной системы
определяется по методу Шур-Кона. Согласно этому методу замкнутая система
устойчива, если все корни характеристического уравнения лежат внутри круга
единичного радиуса. Корни характеристического уравнения будут лежать внутри
единичной окружности, если коэффициенты уравнения удовлетворяют определителям
Шур-Кона, имеющим значения: Дk<0, для нечетных k, Дk>0, для четных k.
Характеристическое уравнение
дискретной функции имеет вид:
Составим и вычислим определители
Шур-Кона:
= -9,456.
Д2=
= 2,701.
Получили, что все корни
характеристического уравнения лежат внутри единичной окружности, то есть все
условия выполняются. Следовательно, дискретная замкнутая система
автоматического управления челюстью робота является устойчивой.
Построим график переходного процесса
дискретной системы, задав шаг дискретизации равный 0,01с, и определим
показатели качества данной системы.
Рисунок 9 - График переходного
процесса дискретной системы
Согласно графику, представленный на
рисунке 9 переходный процесс дискретной системы управления челюстью робота
совпадает с переходным процессом отображённым на рисунке 7, следовательно все
показатели качества имеют те же значения.
Исследуемые параметры соответствуют
заданным в техническом задании, система является устойчивой.
. Построение
логарифмических характеристик системы автоматического управления челюстью
робота
Найдём передаточную функцию
разомкнутой системы.
Проведем z-преобразование, для этого
воспользуемся программным пакетом Matlab.
>>W=tf([0.0045], [0.05 0.6
1]);
>>Wz=c2d (W, 0.01).
Получим передаточную функцию
дискретной разомкнутой системы:
Перейдем от z-преобразования к - преобразованию с
помощью подстановок:
Используя возможности программы
MathCad, выполним вышеперечисленные преобразования, тогда получим:

>>w=tf([-17 166200
-3.4e7], [3.8e8 -4.5e9 -7.6e9]);
>> margin(w);
Отобразим полученные графики на
рисунке 10.
Рисунок 10 - ЛАЧХ и ЛФЧХ САУ
челюстью робота
В рассматриваемой системе существуют
запас по амплитуде (31,1 дБ) и запас по фазе (173°). Это свидетельствует о том,
что при переходе к псевдочастоте система осталась устойчива, а значит, она
будет работать корректно.
6. Построение желаемой
ЛАЧХ системы и ЛАЧХ корректирующего устройства
Для построения желаемой
логарифмической амплитудно-частотной характеристики приведем исходные данные:
максимально допустимая ошибка д=0,02;
перерегулирование у=20%;
время регулирования tр=2 с;
колебательность М=1,2.
Условно желаемую
амплитудно-частотную характеристику разделяют на три части: высокочастотную,
среднечастотную, низкочастотную. Низкочастотная часть логарифмической амплитудно-частотной
характеристики определяет статическую точность системы. Если передаточная
функция разомкнутой системы имеет передаточный коэффициент k и порядок астатизма v, удовлетворяющий требованиям, то
низкочастотная асимптота желаемой ЛАЧХ является низкочастотной асимптотой
неизменной части системы.
Среднечастотная часть определяет
запасы устойчивости и является наиболее важной. Чем больше наклон
среднечастотной логарифмической амплитудно-частотной характеристики, тем
труднее обеспечить хорошие динамические свойства системы.
Высокочастотная часть
логарифмической амплитудно-частотной характеристики играет незначительную роль
в определении динамических свойств системы.
Поэтому ее выбирают так, чтобы
корректирующее устройство было возможно более простое. Это достигается при
совмещении высокочастотных асимптот характеристик Lж(w) и L0(w).
Если совмещение не удается, то
высокочастотная асимптота Lж(w) должна иметь тот же наклон, что и
высокочастотная асимптота L0(w). Желаемая амплитудно-частотная
характеристика для дискретных систем строится методом запретной зоны. Для
построения запретной зоны находим координаты рабочей точки, через которую будет
проходить граница запретной зоны:
где
- скорость изменения выходного сигнала;
-
ускорение изменения выходного сигнала;
-
точность прохождения сигнала (допустимая ошибка).
=
0,012 (рад/с)
=
0,0012 (рад/с)
Значение частоты рабочей точки:
лmax = 0,1 (с-1).
Расчет ординаты рабочей точки:
Таким образом, рабочая точка: А
(0,1; 14).
Через полученную точку А проводим
прямую с наклоном -20 дБ/дек. Эта прямая является верхней границей запретной
зоны.
По номограмме Солодовникова (рисунок
11) по заданным в техническом задании желаемому перерегулированию у=20% и
времени регулированию tр=0,5 с определяем
частоту среза.
Рисунок 11 - Номограмма
Солодовникова
Время регулирования определяется по
формуле:
Выразим из формулы (3) переменную
:
Перейдем к псевдочастоте:
Выразим из (4) переменную л:
ГД
е
- период дискретизации
По заданной колебательности М=1,2
найдем среднечастотную область построения желаемой амплитудно-частотной
характеристики. Границами для амплитуды этой области соответствуют значения:
Построить ЛАЧХ корректирующего
устройства можно с помощью графического вычитания реальной ЛАЧХ из желаемой
ЛАЧХ, то есть используется последовательная коррекция.
Построение желаемой ЛАЧХ начинаем со
среднечастотной части. Через точку среза проводим прямую с наклоном минус 20
дБ/дек. В высокочастотной области желаемая ЛАЧХ сопрягается с исходной ЛАЧХ, то
есть будет иметь такие же наклоны.
Построить ЛАЧХ корректирующего
устройства можно с помощью графического вычитания реальной ЛАЧХ из желаемой
ЛАЧХ.
На рисунке 12 представлены реальная,
аппроксимированная, желаемая
ЛАЧХ и ЛАЧХ корректирующего
устройства.
Рисунок 12 - Реальная,
аппроксимированная, желаемая ЛАЧХ и ЛАЧХ корректирующего устройства
7. Расчёт
корректирующего устройства системы
.1 Расчёт аналогового
корректирующего устройства
Для коррекции в системе применяется
аналоговое корректирующее устройство (КУ) последовательного типа.
Корректирующее устройство можно включить между различными элементами исходной
системы. При выборе места включения руководствуются значением вносимой
устройством погрешности. Наиболее предпочтительным вариантом является установка
корректирующего устройства в электрическую цепь перед датчиком.
Разобьем исходную ЛАЧХ
корректирующего устройства на два участка. По таблицам из атласа Топчеева,
подберем корректирующее устройство по полученной ЛАЧХ (рисунок 12). Так как
ЛАЧХ КУ имеет стандартные наклоны, то подберем несколько схем корректирующего
устройства: №1 и №43.
Первый участок изображен на рисунке
13.
Рисунок 13 - Первый участок
корректирующего устройства
Передаточная функция первого участка
имеет вид:
где
-
.
Из графика, представленного на
рисунке 12, видно, что:
Зададим значение
тогда:
Второй участок корректирующего
устройства изображен на рисунке 14.
Рисунок 14 - Второй участок
корректирующего устройства
где
Из графика, представленного на
рисунке 12, видно, что:
На рисунке 15 представлена общая
электрическая схема корректирующего устройства:
Рисунок 15 - общая электрическая
схема корректирующего устройства
Общая передаточная функция
корректирующего устройства:
Проведем анализ скорректированной
системы.
Передаточная функция
скорректированной системы по аппроксимированной ЖЛАЧХ (рисунок 12) имеет вид:
Построим переходный процесс для
скорректированной системы и оценим показатели качества системы. Переходный
процесс представлен на рисунке 16.
Рисунок 16 - Переходный процесс
скорректированной системы
По графику переходного процесса
определим прямые оценки качества системы:
установившееся состояние переходного
процесса hуст =5,6;
максимальное значение переходного
процесса hmax=5,6;
время первого согласования t1= 4,9 с;
время регулирования tр=0,2 с;
перерегулирование
Вывод: для улучшения параметров
системы было рассчитано аналоговое последовательное корректирующее устройство.
При включении корректирующего устройства в систему была достигнута ее
устойчивость и получены требуемые характеристики.
7.2 Расчёт дискретного
корректирующего звена
Одним из методов коррекции стало
применение программных корректирующих устройств на МП, применение которых
позволяет варьировать параметры в широких пределах и быстро их изменять без
изменения технического исполнения системы.
Дискретная коррекция заключается в
составлении программы коррекции на том языке, на котором работает
микропроцессор.
Для того чтобы составить программу
коррекции, необходимо получить характеристическое уравнение в реальном масштабе
времени.
Произведем замены и z-преобразование, согласно принятым
допущениям:
Характеристическое уравнение в
реальном масштабе времени:
Представим разностное уравнение в
виде:
Программа коррекции для
микропроцессора написана на языке Assembler.
i_port EQU 11h; номер порта для
чтения_port EQU 12h; номер порта для записи
А1 EQU -5.56;EQU -11.46;EQU -5.901;EQU 0.522;EQU 1.584;EQU 2.938;2, x1, x DB 0; выделение памяти под переменную xk, xk-1, xk-2
у1, у2, y3 DB 0; выделение памяти под
переменные yk-1, yk-2, yk
у(k)=A3*x2+A2*x1+A1*x+B1*y2+B2*y1+B3*y3; вычисляем значение выражения;
метка начала цикла коррекцииal, i_port; чтение данных из порта (x)
mov x, al;ul al, A1; вычисление слагаемого А1*хbl, al; сохранение результата в
bl;
в результате имеем А1*х в регистре
blal, х1;al, A2; слагаемое А2*х1bl, al; прибавление к предыдущему результату;
в результате имеем А2*х1+А1*х в регистре
blal, х2;al, A3; слагаемое А3*х2bl, al; прибавление к предыдущему результату;
в результате имеем A3*x2+А2*х1+А1*х в регистре bl
mov al, y2;al, B1; слагаемое B1*y2
add b1, a1; прибавление к
предыдущему результатуa1, y1; вычислениеal, B2; слагаемое B2*y1bl, a1; прибавление к предыдущему
результату
mov al, y3;al, B3; слагаемое B3*y3
add b1, a1; прибавление к
предыдущему результату
в регистре b1 имеем результат
вычисления всего выражения
для следующего такта
mov y3, y2, y1
mov y1, b1x2, x1, x
out o_port, bl; вывод управляющего
сигнала из blstart; зацикливание на начало программы
Блок-схема программы коррекции
представлена на рисунке 17.
Рисунок 17 - Блок схема программы
коррекции системы
Вывод: была разработана программа
для дискретной коррекции, применение которой позволяет изменять параметры
системы без изменения технического исполнения.
Заключение
микропроцессор автоматический
гидроцилиндр робот
В ходе курсового проектирование была
разработана система автоматического управления челюстью робота. Система
формируется с учетом микропроцессорного управления.
На первом этапе проектирования была
подобрана элементная база, были найдены передаточные функции элементов и всей
непрерывной системы в целом. Далее было проведено исследование непрерывной
системы.
Аналоговые системы устаревают и не
обеспечивают требования предъявляемые к САУ. Был осуществлен переход от
аналоговой системы к дискретной, проведено исследование характеристик такой
системы.
Был проведён синтез корректирующего
устройства по методу запретной зоны.
В ходе выполнения работы проводился
синтез корректирующих устройств двух типов: аппаратного и программного. Оба
типа корректирующих устройств удовлетворяют требованиям по коррекции, ввиду
явных улучшений характеристик.
Исследуя положительные и
отрицательные черты этих двух типов корректирующих устройств, было решено
установить программу коррекции.
Таким образом, была получена
дискретная система автоматического управления, удовлетворяющая требования, поставленным
в техническом задании. Работоспособность системы подтверждается многочисленными
характеристиками, приведенными в отчете.
Список использованных
источников
2 Бесекерский В.А.
Теория систем автоматического регулирования/ В.А. Бесекерский, Е.П. Попов. -
М.: Профессия, 2003. - 380 с.
Денисов А.А., Нагорный
В.С. Пневматические и гидравлические устройства автоматики. М.: Высшая школа,
1978.
4 Климовицкий М.Д.
Автоматический контроль и регулирование: Справочник. - Л.: Металлургия, 1987. -
345 с.
5 Кошарский Е.Д.
Автоматические приборы и регуляторы. М.: Машиностроение, 1964.
6 Промышленные приборы и
средства автоматизации: Справочник/ В.Я. Баранов. Л.: Машиностроение, 1987. -
847 с.
Топчеев Ю.И. Атлас для
проектирования систем автоматического управления. - М.: Машиностроение, 1982. -
312 с.
8 Хвощинский А.П. МП и
микроЭВМ. М.: Высшая школа, 1982.
9 Хлюснев И.Н.
Приборы АСУТП. М.: Машиностроение, 1982.
Цыпкин Я.3. Основы
теории автоматических систем. М.: Наука, 1977.