Организация ремонта и технического обслуживания строительных машин
СОДЕРЖАНИЕ РАСЧЕТНО-ПОЯСНИТЕЛЬНОЙ ЗАПИСКИ
.0 Введение
.0 Технологическая часть
2.1 Назначение предприятия, его
состав, какие работы ведет
.2 Состояние парка строительных
машин, краткая характеристика машин
2.3 Роль технического обслуживания и
ремонтам в продлении срока службы строительных машин, краткая характеристика
.4 Определение производственной
программы участка строительных машин по техническому обслуживанию и ремонтам
2.5 Определение кол-ва технических
обслуживаний и ремонтов
2.6 Определение общей трудоемкости
работ по техническому обслуживанию и ремонтам строительных машин
2.7 Определение количества постов по
сборке разборке строительных машин в мастерских
.8 Определение количества
передвижных средств участка (ПРМ)
2.9 Определение площадей под посты
сборки-разборки в мастерской (стационарной), количества (ПРМ)
2.10 Выбор оборудования по
передвижным средствам участка и для зоны сборки разборки в стационарной
мастерской
.11 Организация работ на посту ТО
.12 Определение количества рабочих и
служащих участка
.13 Определение годового расхода
топливно-смазочных
.14 Определение производственной
программы топливного цеха
.15 Определение количества рабочих в
цехе
.16 Определение площадей цеха
.17 Определение количества
оборудования и его подбор
.18 Организация работ в цехе
.19 Подбор грузоподъемных средств и
оснастки
.20 Техника безопасности в цехе
.0 Ремонтная часть
.1 Устройство и принцип действия
изделия
.2 Состояние основных деталей и
узлов, поступающих на сборку
.3 Сборка изделия
.4 Испытание изделия
.5 Определение времени на сборку
изделия
.6 Выбор оборудования и
технологической оснастки
.7 Определение квалификации
ремонтных рабочих
.8 Определение стоимости сборки
.0 Экономическая часть
.1 Определение заработной платы
экипажа машины
.2 Определение амортизационных
отчислений
.3 Определение затрат на ТО и ремонт
.4 Определение затрат на
топливно-смазочные материалы
.5 Определение затрат на основную
оснастку
.6 Определение затрат на
перебазировку
.7 Определение суммы прямых затрат
.8 Определение накладных расходов
.9 Определение плановых накоплений
.10 Определение себестоимости
.0 Конструкторская часть
.1 Назначение приспособления
.2 Устройство и принцип действия
.3 Определение стойкости на
прочность
.0 Список использованной литературы
1.0 Введение
ремонт
строительный машина карбюратор
Эксплуатация машин как прикладная техническая
дисциплина формировалась и развивалась по мере становление развития механизации
технологических процессов во всех областях человеческой деятельности.
В течение ХХ в. процесс механизации
строительства прошел путь от применения примитивных лопаты, кирки и тачки к
использованию сложнейших механизированных, автоматизированных и
роботизированных комплексов. При этом целью эксплуатации всегда являются
эффективное использование средств механизации и обеспечение их работоспособного
состояния при минимальных затратах.
Основные теории и практики эксплуатации дорожных
машин, автомобилей и тракторов закладывалось в конец 30-х гг. ХХ в. на первом
этапе наблюдения за рабочими процессами определяло совершенствование рабочих
органов, силовых установок, приводов, трансмиссий и ходового оборудования с
целью обеспечения рациональных режимов работы средств механизации. Тогда же
было сформулированы принципы обеспечения их работоспособности, долговечности, ремонтопригодности
и сохранности.
Бурное строительство в 50-е гг. ХХ в. путей
сообщения в СССР, в том числе автомобильных дорог, определило развитие
механизации строительства. Появление разнообразных дорожных машин, автомобилей
и тракторов и создание эксплуатационных предприятий обусловили необходимость
разработки и развития прогрессивных методов использования машин по мощности и
времени.
В 70-80 гг. ХХ в. определились различные
направления по изучению и выработке практических рекомендаций, способствующие оптимизации
показателей эксплуатационных свойств, заложенных при проектировании, в
производстве и реализованные при эксплуатации машин, и были разработаны
принципы определения областей рационального применения и управления
механизированными звеньями, отрядами и парками машин.
В это же время появились исследования и
практические методы оптимизации ресурсов машин, обеспечения их долговечности на
основе использования новых конструкционных и эксплуатационных материалов а
также новые технико-экономические подходы обеспечения ремонтопригодности и
сохраняемости машин.
К настоящему времени сформировались различные
системы технического обслуживания (ТО) и текущего ремонта (Р), среди которых
можно выделить две основные: планово-предупредительную (ППР) и систему ТО и Р потребности
основанные на использовании технического диагностирования, с помощью которого
определяют состояние машины в данный момент и дают рекомендации по объему и
времени обязательных технических воздействий, необходимых для поддержания машин
в оптимальном техническом состоянии. Таким образом, возникли, предпосылки
развития системы управления техническим состоянием машин в эксплуатации.
Переход страны к рыночной экономике определил возникновение новых правил
обслуживания, понятий и терминов. Например, под термином «фирменное
обслуживание» подразумевается сопровождение выпущенной машины
фирмой-изготовителем на все этапах ее существования т.е. осуществление
предпродажной подготовки, продажи, гарантийного и послегарантийного
обслуживания вплоть до утилизации.
В отличии от распределительной системы рыночная
экономика нуждается в создание сети региональных дилеров и дистрибьюторов для
обеспечения основных функции маркетинга продвижения продукции в региональных
дилеров и дистрибьюторов для обеспечения основной функции
маркетинга-продвижения продукции в регионе конкретном потребителям. Конкуренция
между фирмами-изготовителями привела к развитию технического сервиса, поскольку
«коммерсант продается только первую машину, а все остальные продает сервис
первой». Развитие разнообразных технических организационных форм сервиса
способствует повышению качества эксплуатации машин.
Современные дорожные, строительные коммунальные
машины, большегрузные автомобили и мощные тракторы стоят дорого, поэтому
ведущие фирмы-изготовители и некоторые специализированные фирмы развиваются
систему лизинга машин. Действующий в России закон «О лизинге» объясняет это
понятие как «вид инвестиционной деятельности по приобретению имущества и
передаче его на основании договора лизинга физическим и юридическим лицам за
определённую плату, на определенный срок и на определенных условиях,
обусловленных договором, с правом выкупа имущества лизинга покупателем»
несомненно, огромное значение имеет качество машин. Чтобы выбрать лучшее
средство механизации для заданных условий эксплуатации, необходимо знать
важнейшие показатели качества, соответствующие этим условиям, и уметь
определять их значения. Сложности и многогранность дорожной отрасли
обуславливают необходимость применения системного подхода и использования
программных методов при решении ее проблем. Реформирование экономики и
социальной сферы в России обусловило необходимость развития сети автомобильных
дорог и согласование темпов ее развития с интенсивным ростом автомобилизации
населения, а также коренное изменение технического уровня опорной сети дорог,
формирование новых и развитие традиционных транспортных коридоров,
обеспечивающих гарантированные международные межрегиональные связи.
С учетом сказанного эксплуатацию машин следует
рассматривать как систему управления показателям качества, обеспечивающим
эффективное использование техники, поддержание ее в работоспособном состоянии с
наименьшими затратами, а также рациональное использование материальных ресурсов
и создание комфортных условий для работы персонала.
В своём дипломном проекте я попытался отразить
вопросы эффективной эксплуатации ПТСДМиО.
2.0 Технологическая часть
.1 Назначение предприятия, его состав, какие
работы ведет
Предприятие КФ ОАО «Хабаровсккрайгаз»
обеспечивает строительство и обслуживания газопровода краевого и местного
значения с использованием дорожно-строительной техники и поддержание его в
работоспособном состоянии. Обеспечивает подъемно-строительными машинами и
оборудованием строящиеся объекты газопровода в п. Де-Кастри, с. Богородское, п.
Анненские Воды, г. Николаевска-на-Амуре, для возведения и ремонта наземного и
подземного газопровода. А также различных работ связанных со строительством.
В состав базы входят административные здания,
складские помещения, участки для проведения технического обслуживания и ремонта
транспорта, боксы для хранения машин, цех топливной аппаратуры, аккумуляторный,
агрегатный, гидравлический, сварочный, фрезерно-токарные цеха и другие.
Предусмотрены передвижные мастерские, для проведения технического обслуживания
и ремонта маломобильных машин. Для заправки машин предусмотрены автозаправочные
и газозаправочные станции, а для техники находящихся на объектах бензовозы.
.2 Состояние парка строительных машин, краткая
характеристика машин
На участке предприятия имеется автопарк со
следующими видами машин:
Бульдозера:
Д-606, в количестве четырех штук и годом
выпуска1981, 1982, 1983,1984;
CAT 428D,
2003 года выпуска;
Автовышка ISUZU
FORWARD, год выпуска 1987;
Экскаваторы ЭО-3322, ЭО-2621, в количестве трех
штук и годом выпуска 1980, 1983, 1994.
Бульдозера, оборудованные подвижным отвалом, что
определило их широкое применение для профилирования и отделки земляного
полотна, возведение не высоких насыпей с подачей грунта из боковых резервов,
выполнения планировочных и других работ.
Состояния машин участка на 2011 год
удовлетворительное, машины находятся в исправном состоянии, к выполнению работ
готовы.
.3 Роль технического обслуживания и ремонта в
продлении срока службы строительных машин; как организована работа по
техническому обслуживанию и ремонту на предприятии
Система технического обслуживания и ремонта
машин представляет совокупность взаимосвязанных средств, операций, документаций
и исполнителей, необходимых для поддержания, восстановления качества составных
частей и сборочных единиц машины во время её эксплуатации, хранения и
транспортировки.
Техническое обслуживание необходимо для
поддержания их в работоспособном состоянии, уменьшения интенсивности
изнашивания деталей, предупреждения неисправностей и отказов и выявления их для
своевременного устранения, соблюдения правил техники безопасности и обеспечения
охраны природы.
В зависимости от периодичности, перечню и
трудоемкости выполняемых работ подразделяются на следующие виды: ежесменное
техническое обслуживание (ЕО), первое техническое обслуживание (ТО-1), второе
техническое обслуживание (ТО-2) и сезонное техническое обслуживание (СО).
Все работы входящие в состав технических
обслуживаний, разделены на уборочно-моечные, крепежные, контрольно-регулировочные,
заправочно-смазочные.
Ежесменное техническое обслуживание проводят
перед началом, в течение или после рабочей смены. Цель его подержания
работоспособности и безопасности в течение каждой рабочей смены. Ежесменного
обслуживания включает контроль, направленный на обеспечения безопасности
движения, работы по поддержанию технического состояния машины, заправка
топливом, маслом и охлаждающей жидкостью.
Первое техническое обслуживание включает в себя
и операции ежесменного обслуживания, он должен обеспечить безотказную работу
всех агрегатов и узлов не менее чем до очередного ТО.
Второе техническое обслуживание включает в себя
и операции первого технического обслуживания, он должен обеспечить безотказную
работу отремонтированных агрегатов, узлов и деталей на пробеге, не менее чем до
очередного второго технического обслуживания.
Сезонное техническое обслуживание выполняют два
раза в год при подготовки машины к использованию в периоды зимнего и летнего
сезонов. Если время проведения очередного технического обслуживания по
периодичности совпадают с временным, выполнения планового ремонта технического
обслуживания и ремонт выполняется одновременно.
Ремонт - это комплекс операций по устранению
неисправности или восстановлению работоспособности изделий (или их составных
частей), а также их ресурсов.
Ремонт классифицируется по наличию регламента
(выполняемый по потребности), планируемости (плановый, не плановый), и
характеру и объему выполняемых работ (текущий, капитальный), для некоторых
машин и агрегатов, в зависимости от условий эксплуатации, предусматривается
средний ремонт.
Плановый текущий ремонт, включает в себя оценку
технического состояния агрегатов и узлов по результатам диагностирования,
частичную их разборку, замену и восстановлению изношенных деталей и другие
ремонтные работы.
Плановый текущий и капитальный ремонт стараются
сочетать с работами по модернизации дорожных машин с целью повышения их
технического уровня.
2.4 Расчет производственной программы участка
строительных машин по техническому обслуживанию и ремонтам
Определяем планирующие часы работы головной
машины на год:
где:
=365 - календарные дни в году;
= 10 - праздничные дни в году;
= 104 - выходные дни в году;
= 22 - дни на ТО;
= 12 - дни на транспортировку;
= 10 - дни на неблагоприятные
метеоусловия;
= 6 - дни на ожидания ремонтов;
= 8 - количество работы машину в
смену (8 час);
= 0,8 - коэффициент загрузки СМО в
течение года на участке
2.5 Определение количества технических
обслуживаний и ремонтов на 2011 год на головную машину Д-606:
где:
- количество определяемых
мероприятий (ТО-1, ТО-2, СО, ТР, КР);
- планируемые часы работы на год;
- часы, отработанные машиной после
определяемого мероприятия;
- периодичность определяемого
мероприятия;
- количество всех предшествующих
мероприятий.
Определяем количество капитальных
ремонтов на 2011год:
Определяем количество текущих
ремонтов на 2011год:
Определяем количество сезонных
обслуживаний на 2011год:
Определяем количество ТО-2 на
2011год:
Определяем количество ТО-1 на
2011год:
Таблица 2.1 Годовой план технических
обслуживаний и ремонтов участка на головную машину
|
Наименование
и марка машин
|
Инвен-тарный
номер
|
Количество
мероприятий
|
Примечание
|
|
|
ЕО
|
ТО-1
|
ТО-2
|
СО
|
Тр
|
Кр
|
|
|
Бульдозер
Д-606
|
|
-
|
15
|
3
|
2раза
|
1
|
0
|
|
На основании таблицы составляем годовой
план-график планово-предупредительных работ (ППР), квартальный и месячный.
Квартальный и месячный график корректируется с учетом реальной ситуации. В
таблицу вносим все данные, в том числе и по автомобилям.
.6 Определение общей трудоемкости работ по
техническому обслуживанию и ремонтам строительных машин
Таблица 2.2 Общая трудоемкость работ по
техническому обслуживанию и ремонтам строительных машин на год
|
Наименование
и марки машин
|
Кол-во
машин по маркам
|
ТО-1
|
ТО-2
|
СО
|
Тр
|
Кр
|
|
|
число
обсл.
|
тем
|
число
обсл.
|
тем
|
число
обсл.
|
тем
|
число
обсл.
|
тем
|
число
обсл.
|
тем
|
|
|
|
на
един.
|
всего
|
|
на
един.
|
всего
|
|
на
един.
|
всего
|
|
на
един.
|
всего
|
|
на
един.
|
всего
|
|
Бульдозер
Д-606
|
4
|
15
|
6
|
90
|
3
|
18
|
54
|
2раза
|
55
|
110
|
1
|
670
|
670
|
0
|
1570
|
0
|
Таблица 2.3 Годовая производственная программа
на головную машину
|
Наименование
машин
|
Виды
воздействия
|
Общая
трудоемкость (чел.час)
|
Трудоемкость
работ (чел.час)
|
|
|
|
Посты
по ТО профилактики
|
Стационарные
ремонтные мастерские
|
Передвижные
средства ТО и Р
|
|
1
|
2
|
3
|
4
|
5
|
6
|
|
Бульдозер
Д-606
|
ЕО
ТО-1 ТО-2 СО Тр (ТО-3) КР
|
-
90 54 110 670 -
|
-
- 11 55 - -
|
-
- - - 536 -
|
-
90 43 55 134 -
|
|
Итого
|
|
924
|
66
|
536
|
322
|
Определяем коэффициент приведения для
строительных машин и автомобилей предприятия (по марочно):
где:
- трудоемкость работ по
капитальному ремонту определяемой машины;
= 1570 - трудоемкость работ по
капитальному ремонту головной машины для бульдозера Д-606:
для погрузчика САТ 428 D:
для бульдозера Д-65А:
для экскаваторов ЭО-3322:
для экскаваторов ЭО-3323, ЭО-3323А:
для экскаватора ЭО-2621, ЭТЦ-165:
для трактора К-150:
для автовышки ISUZU FORWARD:
для трактора Т-25:
для грузовых автомобилей ЗиЛ-131,
ЗиЛ-131Н, ЗиЛ ММЗ-4502, ЗиЛ-431412, КаМАЗ-55111С:
для седельного тягача КаМАЗ-541120:
для грузовых автомобилей ГАЗ-6614,
ГАЗ-3307:
для грузовых автомобилей ЗИЛ-130,
ЗИЛ-ММЗ-4502, ЗИЛ-131,ЗИЛ-431410, Мазда Титан:
для грузового автомобиля ГАЗ-66:
для автобуса ПАЗ-3205:
для легковых автомобилей УаЗ-31512,
Мазда-Бонго, УаЗ-39629, УаЗ-39091, Ленд Крузер:
для прицепов:
Таблица 2.4 Годовая производственная
программа предприятия
|
Наименование
и марка
|
Кол-во
|
ТКР
|
Коэф.
приведения
|
Общая
трудоемкость
|
Трудоемкость
работ
|
|
|
|
|
|
На
посты по ТО
|
На
рем. посты
|
На
перед. средства
|
|
Бульдозер
Д-606
|
4
|
1570
|
1
|
3696
|
264
|
2144
|
1288
|
|
Бульдозер
Д-65А
|
1
|
3710
|
2,4
|
2217,6
|
158,4
|
1286,4
|
772,8
|
|
Экскаватор
ЭО-3323
|
4
|
800
|
0,5
|
1848
|
132
|
1072
|
644
|
|
Экскаватор
ЭО-2621
|
3
|
1570
|
1
|
2772
|
198
|
1608
|
966
|
|
ВСЕГО
|
12
|
|
|
10533,6
|
752,4
|
6110,4
|
3670,8
|
2.7 Определение количества постов по сборке
разборке строительных машин в мастерских (стационарных), и постов для
технического обслуживания для мобильных машин
; (ед.)
; (ед.)
где:
=1 - количество постов по
техническому обслуживанию;
=1 - количество постов по ремонту
СМО;
=1604 - годовой фонд рабочего
времени оборудования;
n = 1 - число
смен работ;
m = 1 -
количество рабочих на постах, в передвижных средствах включая машинистов
помощников водителя автомобиля;
Kn = 0.9-
коэффициент использования оборудования постов, ППР;
= 752,4 - трудоемкость работ по
техническим обслуживаниям на постах в профилактории (чел.час);
= 2444,2 - трудоемкость
сборочно-разборочных работ по ремонтам в стационарных мастерских (35 %; 40 %)
(чел.час)
Определяем количество постов по
техническому обслуживанию:
ед.
Определяем количество постов по
ремонту СМО:
ед.
(час)
где:
= 366 - календарные дни в году;
= 104 - выходные дни (суббота,
воскресенье);
= 10 - праздничные дни;
= 8час. - продолжительность смены;
= 10 - сокращение рабочего времени
на 1 час. в каждый предпраздничный день;
= 0,6-0,8 - коэффициент загрузки
оборудования
Определяем годовой фонд рабочего
времени оборудования:
часов
2.8 Определение количества
передвижных средств участка (ПРМ)
; (ед.)
ед.
где:
= 2 - количество передвижных средств
по техническому обслуживанию диагностики, аварийному ремонту;
= 1604 - годовой фонд рабочего
времени оборудования;
n = 1 - число
сменных работ;
m = 1 -
количество рабочих на постах, в передвижных средствах, включая машинистов
помощников водителя автомобиля;
Kn = 0.9 -
коэффициент использования оборудования постов, ППР;
=3670,8 - трудоемкость работ
передвижных средств по ТО и ремонтам (чел.час)
Беру два передвижных поста по
техническому обслуживанию и профилактики для не мобильных машин, и использую
их в течении года девять месяцев.
2.9 Определение площадей под посты
сборки-разборки в мастерской (стационарной), количества (ПРУ)
Определяем площадь поста по
техническому обслуживанию:
Fто= Xто*Fудто=1*54 =
54 (м2)
где:
- площадь поста по ТО машин;
Fудрем=fуд*Кплрем =
28*2 = 54 (м2) - площадь занимаемая машиной;
fуд = 28
(м2)-удельная площадь на одну машину при ремонте;
Кплрем - (2:3) коэф. плотности
обслуживания поста.
Определяем площадь поста по
сборке-разборке машин при ремонте:
Fрем = Xрем*Fудрем = 1*84
= 84 (м2)
где:
- площадь поста по сборке-разборке
машин при ремонте;
Fудрем=fуд*Кплрем =
28*3 = 84 (м2) - площадь занимаемая машиной;
fуд = 80 (м2)
- удельная площадь на одну машину при ремонте;
Кплрем - (3:4) коэф. плотности
обслуживания поста.
.10 Выбор оборудования для ПРМ, для
зоны сборки-разборки в стационарной мастерской
Передвижная мастерская для
технического обслуживания строительных машин оснащена емкостями для размещения
смазки, электрический солидолонагнетатель и моечной установкой. На верстаках
мастерской установлены тиски, электродрель, электрозаточной станок, питание
которых осуществляется от генератора. Мастерская укомплектована необходимым
комплектом специальных приспособлений и набором измерительных инструментов: слесарных,
монтажных и металлорежущих. В мастерской можно осуществлять мелкие ремонтные и
электросварочные работы замену узлов и агрегатов, мойку машин, их смазку,
проводить контрольно-регулировочные и крепежные работы.
План ПРМ для аварийного ремонта
М 1:50
Условные обозначения
- Рабочее место.
- Потребители
электроэнергии
Таблица 2.5 Ведомость оборудования ПРМ
|
Номер
|
Наименование
оборудования
|
Тип
оборудования
|
Тех.
характеристики
|
|
1
2 3 4 5 6 7 8 9 10 11 12 13 14 15 16 17 18
|
Огнетушитель
Верстак слесарный Рихтовочная плита Электродрель Тиски слесарные Газосварка
Бензорез Кран гидравлический Емкость под консистентные смазки Емкость под
гидравлическое масло Емкость под трансмиссионное масло Аптечка Верстак
Электрозаточной станок Инструменты Генератор Сварочный трансформатор
Электрокран
|
2
1 1 1 1 1 1 1 2 1 1 1 1 1 1 1 1 1
|
ОУ
- 5 510-1 ИЭ - 8201 4G - 5WT CT - 307
|
2300х1000
350х600 100х150 400х500 Q=3 т V=5 л V=25 л V=25 л
50х100 1500х700 600х400 500х600 1000х500 350х500 Q=0,5 т
|
2.11 Организация работ на посту ТО
Техническое обслуживание в автотранспортных
предприятиях должно проводиться на постах или линиях.
На посту по техническому обслуживанию производят
техническое обслуживание строительных машин в соответствии с графиком ППР.
Наиболее распространенными постами технического обслуживания являются канавы,
оборудованные приборами и приспособлениями, необходимыми для диагностических,
регулировочных и ремонтных работ.
На посту технического обслуживания производят
следующие виды работ: моечно-очистительные, диагностические, крепежные,
регулировочные и смазочно-заправочные.
Моечно-очистительные работы являются
обязательным мероприятием технического обслуживания, выполняемые другими видами
работ. По трудности смывания загрязнения можно подразделить на три группы. К
первой группе относятся слабо связные загрязнения без примесей органических
веществ. Они осаждаются в сухую погоду и содержат до 83 % абразивных частиц.
Такие загрязнения смываются струей воды под давлением 0,15..0,2 МПа. Ко второй
группе относятся слабосвязные загрязнения, включая до 35 % органических
веществ. Основная масса загрязнений смывается струей воды под давлением 0,3..5
МПа. К третьей группе относятся загрязнения, в состав которых по мимо пыли и
грязи входят цементирующие и прочносклеивающие вещества (цемент, алебастр и
др.). Здесь применяется струя воды под давлением 10 и более МПа. При внешнем
уходе производят наружную мойку машины, ходовой части рамы, кабины и рабочего
оборудования.
Диагностирование - процесс определения
технического состояния машин и их сборочных единиц безразборочным методом, а
также прогнозирование технического состояния машины (сборочной единицы) с целью
предположения предлагаемого момента отказа. Сущность диагностики заключается в
следующем. Объект технического диагностирования обладает вполне определенной
структурой, то есть конструкцией комплектов совместно работающих деталей. В
этом случае имеет место определенное взаимное расположение деталей (структурных
элементов), их форма и размеры. По используемым средствам системы технического
диагностирования подразделяются на универсальные, специализированные,
встроенные и внешние.
Поскольку в результате сотрясения и рабочих
нагрузок затяжка резьбовых соединений ослабляется, а, следовательно, снижается
надежность крепления определенных деталей машин. Крепежные работы заключаются в
том, чтобы своевременно принять меры, препятствующие достижению крепежным
соединениям предельного состояния, при котором происходит раскрыте стыка,
возникают ударные нагрузки, а сами крепежные детали начинают работать на
срез,
что вызывает разрушения соединений.
План поста по ТО для обслуживания
строительных машин
М 1:100
Ведомость оборудования поста по ТО
Таблица 2.6
|
Поз.
|
Наименование
оборудования
|
Кол-во
|
Технические
хар-ки
|
|
Крепежные
работы
|
|
22
29
|
Верстак
с тисками Набор ключей, головок
|
|
|
|
Диагностические
работы
|
|
24
25 20
|
Комплект
диагностический Стенд для диагностики ТНВД и форсунок Стенд для диагностики
шестеренных насосов
|
1
1 1
|
500*600*300
500*600*300 500*600*300
|
|
Смазочные
работы
|
|
17
16 13 27 12 28 15 14 9 10
|
Емкость
для трансмиссионного масла Емкость для отработанной жидкости Емкость для
моторных масел Емкость под гидравлические масла Емкость для консистентной
смазки Шкаф для обтирочных материалов Саледолонагнетатель Устройство для
слива отработанных масел Установка для промывания систем смазки Установка для
смазки и заправки
|
2
2 4 2 3 1 1 1 1 1
|
V=50 л V=50 л V=50 л V=20 л V=5 л
800*500 0,235 л/мин 400*700 500*700
|
|
Прочее
оборудование
|
|
3
26 18 23 21 19 11 5 2 1 4 6 7 8
|
Огнетушитель
Ящик с песком Лампа переносная Тележка инструментальная Стеллаж для деталей
Шкаф для приборов Пожарный щит Компрессор Домкрат гидравлический Ларь для
отходов Приспособление для снятия колес Приспособления для подкачки шин
Компрессорная-вакуумная установка Тележка для перевозки агрегатов
|
2
1 1 1 1 2 1 1 1 2 1 1 1 1
|
ОУ-5
500*400 V=12 В 400*300
1400*500 1200*500 2000*500 1700*500 Q=5 т
500*900*900 500*1000 200*200 500*400 400*600
|
Выполняя крепежные работы, следует иметь ввиду,
что при периодичном подтягивании соединений на поверхности
резьбы и стыка крепежных деталей может создаваться напряжение, превышающие
нормальное, кроме того, возможно взаимное перемещение деталей.
В процессе конструирования машин
предусматривается определенное соотношение между геометрическим положением в
пространстве двух сопряженных деталей, обеспечивающее нормальное
функционирование сборочной единицы.
Такое соотношение сопряженных деталей носит название регулировка. В процессе
использования машин происходит постепенное нарушение этого соотношения.
Нарушение регулировок - явление неизбежное. Оно происходит в результате износа
сопряженных деталей, смятия и сглаживания опорных и проходных поверхностей,
изменения качества материала (проводимости, упругости, структуры и прочих),
микросмешений сопряженных поверхностей под действием переменных сил и
температуры.
Влияние смазочных материалов на надежность машин
определяется способностью материалов защищать трущиеся поверхности от износа.
Смазывания сопряженных деталей имеет первостепенное значение, так как от него
зависит надежность, долговечность, работоспособность и в конечном итоге
эффективность машин находящихся в эксплуатации. По агрегатному состоянию
материалы подразделяются на жидкие, пластичные и твердые.
2.12 Определение количества рабочих и служащих
участка (машинистов, слесарей, ИТР, МОП, рабочих в ПРУ) на участке строительных
машин, штатное расписание участка
Количество машинистов
где:
=11 - количество машинистов и
шоферов;
= 9 - количество работающих машин 80
% от списка машин;
= 1,1 - коэффициент учитывающий
потери рабочего времени по болезни;
=1,2 - коэффициент, учитывающий
потери времени отпусков;
=1 - сменность работ на участке
Определяем количества слесарей на
постах по ТО, по ремонту СМО (сборке-разборке).
;
;
;
;
где:
- списочное количество слесарей;
- явное количество слесарей;
- трудоемкость работ по
сборке-разборке в стационарных мастерских 35 % от ТО;
- трудоемкость работ по
техническому обслуживанию на постах базы механизации
чел;
чел; в том числе и машинисты
чел;
чел;
Определяем фонд рабочего времени и
номинальный рабочий фонд:
где:
=44 - количество дней отпуска;
- = 0Э8 - коэффициент, учитывающий
потери времени по болезни;
= 365 - календарные дни в году;
= 104 - выходные дни;
= 10 - праздничные дни;
= 8 час - продолжительность рабочей
смены;
= 10 - количество часов сокращения
рабочего времени в предпразд-ничные дни по 1 часу
час.
час.
Количество ИТР = 2; МОП = 1
Таблица 2.8 Штатное расписание
участка
|
Должность
|
Количество
|
Рабочий
разряд или другая форма оплаты
|
Примеча-ние
|
|
1
|
2
|
3
|
4
|
|
Инженерно-технические
работники:
|
|
Главный
механик
|
1
|
Оклад+премия
|
|
|
Кладовщица
|
1
|
Оклад
|
|
|
Машинисты
|
|
Бульдозерист
|
5
|
Разряд
4-5
|
|
|
Экскаваторщик
|
8
|
Разряд
4-5
|
|
|
Производственные
рабочие
|
|
Слесарь
ПРМ
|
1
|
Разряд
4-6
|
Водитель,
сварщик
|
|
Слесарь
на посту ТО
|
1
|
Разряд
4-6
|
|
|
Слесарь
на посту по ремонту
|
1
|
Разряд
4-6
|
|
|
Младший
обслуживающий персонал
|
|
Уборщица
|
1
|
Оклад
|
|
|
Всего
|
19
|
|
|
2.13 Определение годового расхода
топливно-смазочных материалов на участке строительных машин
Таблица 2.9 Нормы расхода эксплуатационных
материалов для машин участка
|
Диз.
топ-ливо л/час
|
Бен-зин
л/час
|
Масла
|
|
|
|
Ди-зель-ное
|
Вере-теное
|
Индустриаль-ное
|
Литол
|
Соли-дол
|
Ниг-рол
|
|
Бульдозер
Д-606
|
49,5
|
0
|
0
|
0
|
0,8
|
0
|
0,7
|
0,04
|
|
Бульдозер
Д-65А
|
12,6
|
0,21
|
0,21
|
0,02
|
0,2
|
0,02
|
0,02
|
0,02
|
|
Экскаватор
ЭО-3323
|
14,6
|
0,05
|
0,05
|
0,02
|
0,04
|
0,02
|
0,02
|
0,02
|
|
Экскаватор
ЭО-2621
|
13,4
|
0,4
|
0,4
|
0,12
|
0,14
|
1,02
|
1,02
|
0,05
|
|
ВСЕГО:
|
90,1
|
0,66
|
0,66
|
0,16
|
1,18
|
1,06
|
1,76
|
0,13
|
Годовая потребность топливно-смазочных
материалов:
Qг=Нт*Тпл*Nсп*l(л)
где: Qг
- годовая потребность в топливе (л);
Нт - часовая норма расхода топлива (л/час);
Тпл - планируемое время работы машины на год
(час);
Nсп - списочное
количество машин одной марки (60..80 %);
l= 0,8 - коэффициент
использования ДВС по временив летний период:
Qл =(Qг/12)*5
(л)
где: Qл-
расход топлива в летний период (л);
Qг - годовая
потребность в топливе (л) в зимний период:
Qз =( Qг/12)*7
+ 20 % (л)
где: Qз
- расход топлива в зимний период (л);
Qг - годовая
потребность в топливе (л)
Расход дизельного топлива
Для бульдозера Д-606:
Qг = Нт*Тпл*Nсп*l
= 49,5*1286*1*0,8 = 50926 (л)
в летний период:
Qл = ( Qг/12)*5
= (50926/12)*5 = 21219 (л)
в зимний период:
Qз = ( Qг/12)*7
+ 20 % = (50926/12)*7 + 4244 = 33951 (л)
Для бульдозера Д-65А:
г = Нт*Тпл*Nсп*l
= 12,6*1286*3*0,8 = 38889 (л)
в летний период:
Qл = ( Qг/12)*5
= (38889/12)*5 = 16204 (л)
в зимний период:
Qз = ( Qг/12)*7
+ 20 % = (38889/12)*7 + 3241 = 25926 (л)
Для экскаватора ЭО-3323:
Qг = Нт*Тпл*Nсп*l
= 14,6*1286*2*0,8 = 30041 (л)
в летний период:
Qл = ( Qг/12)*5
= (30041/12)*5 = 12517 (л)
в зимний период:
Qз = ( Qг/12)*7
+ 20 % = (30041/12)*7 + 2503 = 20027 (л)
Для экскаватора ЭО-2621:
Qг = Нт*Тпл*Nсп*l
= 13,4*1286*3*0,8 = 41358 (л)
в летний период:
Qл = ( Qг/12)*5
= (41358/12)*5 = 17233 (л)
в зимний период:
Qз = ( Qг/12)*7
+ 20 % = (41358/12)*7 + 3447 = 27573 (л)
Расход бензина
Для бульдозера Д-606:
Qг = Нт*Тпл*Nсп*l
= 0*1286*1*0,8 = 0 (л)
Для бульдозера Д-65А
Qг = Нт*Тпл*Nсп*l
= 0,21*1286*3*0,8 = 648(л)
в летний период:
Qл = ( Qг/12)*5
= (648/12)*5 = 270 (л)
в зимний период:
Qз = ( Qг/12)*7
+ 20 % = (648/12)*7 + 54 = 432 (л)
Для экскаватора ЭО-3323:
Qг = Нт*Тпл*Nсп*l
= 0,05*1286*2*0,8 = 103 (л)
в летний период:
Qл = ( Qг/12)*5
= (103/12)*5 = 43 (л)
в зимний период:
Qз = ( Qг/12)*7
+ 20 % = (103/12)*7 + 9 = 69 (л)
Для экскаватора ЭО-2621:
Qг =Нт*Тпл*Nсп*l
= 0,4*1286*3*0,8 = 1235 (л)
в летний период:
Qл = ( Qг/12)*5
= (1235/12)*5 = 515 (л)
в зимний период:
Qз = ( Qг/12)*7
+ 20 % = (1235/12)*7 + 103 = 823 (л)
Расход масла
Дизельное масло
Для бульдозера Д-606:
Qг = Нт*Тпл*Nсп*l
= 0*1286*1*0,8 = 0 (л)
Для бульдозера Д-65А:
Qг = Нт*Тпл*Nсп*l
= 0,21*1286*3*0,8 = 648 (л)
Для экскаватора ЭО-3323:
Qг = Нт*Тпл*Nсп*l
= 0,05*1286*2*0,8 = 103 (л)
Для экскаватора ЭО-2621:
Qг = Нт*Тпл*Nсп*l
= 0,4*1286*3*0,8 = 1235 (л)
Веретеное масло
Для бульдозера Д-606:
Qг = Нт*Тпл*Nсп*l
= 0*1286*1*0,8 = 0 (л)
Для бульдозера Д-65А:
Qг = Нт*Тпл*Nсп*l
= 0,02*1286*3*0,8 = 62 (л)
Для экскаватора ЭО-3323:
Qг = Нт*Тпл*Nсп*l
= 0,02*1286*2*0,8 = 41 (л)
Для экскаватора ЭО-2621:
Qг = Нт*Тпл*Nсп*l
= 0,12*1286*3*0,8 = 370 (л)
Индустриальное масло
Для бульдозера Д-606:
Qг = Нт*Тпл*Nсп*l
= 0,8*1286*1*0,8 = 823 (л)
Для бульдозера Д-65А:
Qг = Нт*Тпл*Nсп*l
= 0,2*1286*3*0,8 = 617 (л)
Для экскаватора ЭО-3323:
Qг = Нт*Тпл*Nсп*l
= 0,04*1286*2*0,8 = 82 (л)
Для экскаватора ЭО-2621
Qг = Нт*Тпл*Nсп*l
= 0,14*1286*3*0,8 = 432 (л)
Литол
Для бульдозера Д-606:
Qг = Нт*Тпл*Nсп*l
= 0*1286*1*0,8 = 0 (л)
Для бульдозера Д-65А:
Qг = Нт*Тпл*Nсп*l
= 0,02*1286*3*0,8 = 62 (л)
Для экскаватора ЭО-3323:
Qг = Нт*Тпл*Nсп*l
= 0,02*1286*2*0,8 = 41 (л)
Для экскаватора ЭО-2621:
Qг = Нт*Тпл*Nсп*l
= 1,02*1286*3*0,8 = 3148 (л)
Нигрол
Для бульдозера Д-606:
Qг = Нт*Тпл*Nсп*l
= 0,7*1286*1*0,8 = 720 (л)
Для бульдозера Д-65А:
Qг = Нт*Тпл*Nсп*l
= 0,02*1286*3*0,8 = 62 (л)
Для экскаватора ЭО-3323:
Qг = Нт*Тпл*Nсп*l
= 0,02*1286*2*0,8 = 41 (л)
Для экскаватора ЭО-2621:
Qг = Нт*Тпл*Nсп*l
= 1,02*1286*3*0,8 = 3148 (л)
Солидол
Для бульдозера Д-606:
Qг = Нт*Тпл*Nсп*l
= 0,04*1286*1*0,8 = 41 (л)
Для бульдозера Д-65А:
Qг=Нт*Тпл*Nсп*l=0,02*1286*3*0,8=62
(л)
Для экскаватора ЭО-3323:
Qг=Нт*Тпл*Nсп*l=0,02*1286*2*0,8=41(л)
Для экскаватора ЭО-2621:
Qг=Нт*Тпл*Nсп*l=0,05*1286*3*0,8=154
(л)
Начальнику отдела снабжения
базы
механизации от механика
Романовича А.К.
Заявка
Прошу включить в годовую заявку на нормы расхода
топливно-смазочных материалов участка строительных машин базы механизации на
2011 год.
Дизельное топливо:
· Летние 67173 л. Л - 0.5 - 62 ГОСТ 305 - 82.
· Зимние 107477 л. З - 0.5 - 35 ГОСТ
305 - 82.
Бензин:
· Летний 828л. А - 76 Л. ГОСТ 2084-77
· Зимний 1324 л. АИ - 80 ГОСТ 2088-79
Дизельное масло:
· 1986л. М8Г2 ГОСТ 8581-78
М10Г2 ГОСТ 8581-78
Веретеное масло:
· 473л. ВМГЗ или АУ (веретенное масло)
Индустриальное масло:
· 1954л. И-40, И-50
Литол:
· 3251кг Литол 24 ГОСТ 21150-75
Масло ТаК-17:
· 3971л
Солидол:
· 298кг Солидол жировой (ГОСТ - 1033 - 79)
Заменитель:
Солидол синтетический ГОСТ 4366-76
.14 Определение
производственной программы цеха
Для определения программы цеха необходимо знать,
годовую производственную программу базы механизации.
Заполняем таблицу производственной программы
предприятия на все машины с учетом коэффициента приведения и процента
распределения трудоемкости между стационарными постами и передвижными
средствами.
Таблица 2.10 Годовая производственная программа
предприятия
|
Наименование
и марка
|
Кол-во
|
ТКР
|
Коэф.
приве-дения
|
Общая
трудоем-кость
|
Трудоемкость
работ
|
|
|
|
|
|
На
посты по ТО
|
На
рем. посты
|
На
перед. средства
|
|
Бульдозер
Д-606
|
4
|
1570
|
1
|
3696
|
264
|
2144
|
1288
|
|
Бульдозер
Д-65А
|
1
|
3710
|
2,4
|
2217,6
|
158,4
|
1286,4
|
772,8
|
|
Бульдозер
ДТ-75
|
4
|
800
|
0,5
|
1848
|
132
|
1072
|
644
|
|
Бульдозер
ДЗ-240
|
3
|
1570
|
1
|
198
|
1608
|
966
|
|
Экскаватор
ЭО-2621
|
3
|
1300
|
0,8
|
2217,6
|
158,4
|
1286,4
|
772,8
|
|
Экскаватор
ЭО-3323А
|
1
|
1300
|
0,8
|
739,2
|
52,8
|
428,8
|
257,6
|
|
Экскаватор
ЭО-3323
|
3
|
1300
|
0,8
|
2217,6
|
158,4
|
1286,4
|
772,8
|
|
Экскаватор
ЭО-4321
|
1
|
1300
|
0,8
|
739,2
|
52,8
|
428,8
|
257,6
|
|
Экскаватор
ЭТЦ-165
|
2
|
1100
|
0,7
|
1293,6
|
92,4
|
750,4
|
450,8
|
|
Экскаватор
САТ 428D
|
1
|
1100
|
0,7
|
1293,6
|
92,4
|
750,4
|
450,8
|
|
Трактор
К-150
|
1
|
800
|
0,5
|
462
|
33
|
268
|
161
|
|
Автовышка
Isuzu
Forward
|
1
|
560
|
0,3
|
277,2
|
19,8
|
160,8
|
96,6
|
|
Погрузчик
CAT
428D
|
1
|
710
|
0,4
|
369,6
|
26,4
|
214,4
|
128,8
|
|
Грузовой
самосвал КаМАЗ 51111
|
8
|
2400
|
1,5
|
11088
|
4656
|
6432
|
0
|
|
Грузовой
самосвал ЗиЛ-130
|
1
|
2400
|
1,5
|
1386
|
582
|
804
|
0
|
|
Грузовой
бортовой ЗиЛ-131
|
2
|
2400
|
1,5
|
2772
|
1164
|
1608
|
0
|
|
Спец.
а/кран МаЗ-5334
|
2
|
2400
|
1,5
|
2772
|
1164
|
1608
|
0
|
|
Груз.
сед. тягач КаМАЗ-541120
|
1
|
2400
|
1,5
|
1386
|
582
|
804
|
0
|
|
Грузовой
самосвал ЗиЛ-130
|
1
|
1675
|
1,1
|
1016,4
|
426,8
|
589,6
|
0
|
|
Грузовой
самосвал ЗИЛ-ММЗ-4502
|
1
|
1300
|
0,8
|
739,2
|
310,4
|
428,8
|
0
|
|
Грузовой
фургон ЗИЛ-131
|
1
|
1300
|
0,8
|
739,2
|
310,4
|
428,8
|
0
|
|
Грузовой
фургон ЗИЛ-131Н
|
1
|
1300
|
0,8
|
739,2
|
310,4
|
428,8
|
0
|
|
Грузовой
бортовой ЗИЛ-131
|
1
|
1300
|
0,8
|
739,2
|
310,4
|
428,8
|
0
|
|
Грузовой
бортовой ГаЗ-52
|
1
|
1300
|
0,8
|
739,2
|
310,4
|
428,8
|
0
|
|
Спец.
фургон ГАЗ-66
|
1
|
1200
|
0,7
|
646,8
|
271,6
|
375,2
|
0
|
|
Автобус
ПАЗ-3205
|
1
|
1475
|
0,9
|
831,6
|
349,2
|
482,4
|
0
|
|
Легковой
Мазда Бонго
|
1
|
900
|
0,6
|
554,4
|
232,8
|
321,6
|
0
|
|
Легковой
ГАЗ 3110
|
1
|
900
|
0,6
|
554,4
|
232,8
|
321,6
|
0
|
|
Легковой
Тойота Ленд Крузер
|
2
|
900
|
0,6
|
554,4
|
232,8
|
321,6
|
0
|
|
Легковой
УАЗ 31512
|
5
|
900
|
0,6
|
554,4
|
232,8
|
321,6
|
0
|
|
Легковой
ВАЗ-2121
|
2
|
900
|
0,6
|
1108,8
|
465,6
|
643,2
|
0
|
|
Легковой
УАЗ-3741
|
1
|
900
|
0,6
|
554,4
|
232,8
|
321,6
|
0
|
|
Прицеп
ЗАП 9385
|
4
|
134
|
0,1
|
369,6
|
155,2
|
214,4
|
0
|
|
Прицеп
ЦППЗ-16741
|
1
|
134
|
0,1
|
92,4
|
38,8
|
53,6
|
0
|
|
ВСЕГО:
|
65
|
|
|
53314,8
|
15368
|
30927,2
|
7019,6
|

где: ТГцеха = 53314,8 - годовая
производственная программа базы;
Тцеха = 8% - процент работ от общей
трудоемкости по профилю цеха.
2.15 Определение количества рабочих в топливном
цехе
;
;
где:
= 1317 - действительный фонд
рабочего времени;
= 1998 - номинальный фонд рабочего
времени;
чел;
чел.
2.16 Определение площадей цеха
;
где:
=30м - удельная площадь на первого
рабочего;
- удельная площадь на последующих
рабочих;
=3 - количество рабочих цехе
(списочное)

;
Принимаем
.17 Определение количества
оборудования и его подбор
где:
=5 - количество оборудования;
=4265(чел/ час) - годовая
производственная программы цеха;
= 1,1-1,3 - коэффициент,
учитывающий неравномерную загрузку цеха;
=1604 - годовой фонд рабочего
времени оборудования;
- коэффициент, учитывающий
неравномерное использование станков.
ед.
Исходя из технологического процесса,
выполняемого в цехе принимаем количество единиц оборудования в количестве 8 шт.
Таблица 2.11 Ведомость оборудования
|
Наименование
оборудования
|
Коли-чество
|
Назна-чение
|
Тех.
хар-ка и размеры
|
|
Верстак
для разборки и сборки топл. аппаратуры
|
1
|
|
|
|
Стеллаж
секционный
|
2
|
|
|
|
Верстак
слесарный
|
1
|
|
1000х1500
|
|
Пресс
реечный ручной
|
1
|
|
300х500
|
|
Настольный
сверл. станок
|
1
|
|
1500х2500
|
|
Стенд
для притирки и доводки плунжерных пар
|
1
|
|
|
|
Стенд
для испытания форсунок
|
1
|
|
|
|
Стенд
для испытания топливоподк. насосов
|
1
|
|
ГЭС
450А
|
|
Стенд
для сборки и разборки топливных насосов
|
1
|
|
|
|
Стол
для контроля и мойки прецез. деталей
|
1
|
|
|
2.18 Организация
работ в цехе
Участок предназначен для текущего ремонта и
регулировки узлов топливной аппаратуры тракторов и автомобилей с дизельными и
карбюраторными двигателями.
Работы по текущему ремонту и регулировке
топливной аппаратуры выполняются после снятие их с машин с применением
стационарного ремонтного и диагностического оборудования или непосредственно на
машине в зоне текущего ремонта и направляют на склад оборотных агрегатов или
непосредственно на участок ремонта топливной аппаратуры, на машину
устанавливают узлы из оборотного фонда. Снятые приборы питания очищают от грязи
и моют в передвижной моечной ванне с применением моющего раствора.
Проверку и регулировку топливных насосов
высокого давления осуществляют на стенде КИ-921. В случае обнаружения дефектов
топливный насос разбирают на специальном посту с применением комплекта
инструмента для обслуживания дизельных двигателей. Испытание и регулировка
топливного насоса в сборке с регулятором и подкачивающим насосом производятся
на стенде при температуре окружающей среда 18..22 ˚С.
Форсунки и распылители очищают от грязи и промывают
в моечной ванне в керосине. Распылители очищают от нагара. После очистки
форсунки подвергают испытанию на давление начала впрыска. Испытание проводится
при помощи приспособления для проверки технического состояния форсунок
КИ-562-ГОСНИТИ.
Фильтры для очистки топлива тщательно промывают
и очищают от грязи. Через фильтры тонкой очистки после промывки и сборки
прокачивают 3..5 л чистого топлива в прямом направлении, затем проводят
гидравлическое испытание. Фильтр грубой и тонкой очистки под давлением топлива
0,2 МПа в течение 2 мин не должен пропускать соединения топлива, а также не
должно быть течи и потения в местах уплотнений и наружной поверхности.
Снятые с двигателя топливопроводы проверяют на
отсутствие трещин, вмятин, повреждений или износов наконечников и накидных
гаек. Изношенные наконечники срезают и устанавливают новые. На местах
образования трещин надевают цилиндрическую муфту и концы ее припаивают к
трубопроводу медью.
Топливная аппаратура карбюраторных двигателей
включает: карбюратор, бензонасос, фильтр и топливопроводы. Параметры
бензонасосов проверяют прибором НИИАТ-577Б. Разборку проводят в специальных
тесках при помощи комплекта инструментов регулировщика-карбюраторщика.
Бензонасос при ремонте разбирают только в том случае, когда он не развивает
необходимого давления и не подает достаточного количества топлива. Если насос
работает исправно, то его не ремонтируют, а испытывают и используют для
дальнейшей работы.
Проверка карбюратора и ускорительно насоса
осуществляется на установке НИИАТ-577Б для проверки карбюратора безмоторным
способом. На этой установке проверяют работу карбюраторов в сборе по расходу
условного топлива при определенных расходов воздуха. Во время проверки
определяется пропускная способность жиклеров и исправность дозирующих систем
карбюратора. При необходимости разборки карбюратора работы производятся в
специальных тисках при помощи комплекта инструментов
регулировщика-карбюраторщика. После разборки осуществляется проверка на
герметичность жиклеров, клапана и поплавка, упругость пластин диффузора.
Калиброванные отверстия жиклеров продувают сжаты воздухом, используя прибор
НИИАТ-528А.
В соответствии с распределением трудоемкости
ремонта по видам работ на участок ремонта топливной аппаратуры приходится 4 %
общей годовой трудоемкости текущего ремонта машин РММ предприятия.
При недостаточной загрузки участка ремонта
топливной аппаратуры он может быть объединен с участком ремонта узлов
гидрооборудования. Для выполнения текущего ремонта топливной аппаратуры РММ
предусматривается участок площадью 12..20 м2 с естественным освещением.
Участок располагается в непосредственной
близости от зоны текущего ремонта и участка ремонта агрегатов. Высота помещения
должна быть не менее 2,8 м, размеры дверных проемов не менее 1×2
м.
Полы рекомендуется изготовлять из керамической
плитки, за исключением секции проверки карбюраторов, где необходимо применять
без искровые покрытия из мозаичного раствора с известковым заполнителем в
соответствии с требованиями СНиП 11-13 «Полы. Нормы проектирования». Стены и
потолки окрашиваются белой известковой краской, панели стен облицовывают
керамической глазурованной плиткой на высоту не менее 1,8 м.
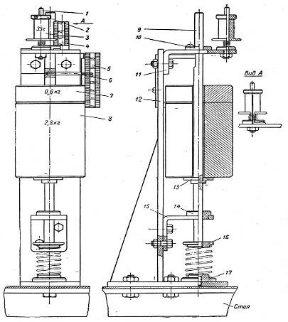
2.19 Подбор грузоподъемных средств и оснастки в
цехе
В качестве
грузоподъёмных и транспортирующих механизмов в топливном цехе используется
тележка грузоподъёмностью 0,5 т.
2.20 Техника безопасности в цехе
Общие требования по техники безопасности в цехе.
К самостоятельной работе по ремонту топливной
аппаратуры допускаются лица, имеющие соответствующую квалификацию, получившие
вводный инструктаж и первичный инструктаж на рабочем месте по охране труда. Для
ремонта газобаллонной аппаратуры дополнительно необходимо иметь соответствующее
удостоверение.
Слесарь, не прошедший своевременно повторный
инструктаж по охране труда (не реже одного раза в 3 месяца) и ежегодную
проверку знаний по безопасности труда, не должен приступать к работе.
При поступлении на работу слесарь должен
проходить предварительный медосмотр, а в дальнейшем периодические медосмотры в
сроки, установленные Минздравмедпромом России.
Слесарь обязан соблюдать правила внутреннего
трудового распорядка, принятого на предприятии.
Продолжительность рабочего времени слесаря не
должна превышать 40 ч в неделю.
Продолжительность ежедневной работы (смены)
определяется правилами внутреннего трудового распорядка или графиками
сменности, утверждаемыми работодателем по согласованию с профсоюзным комитетом.
Слесарь должен знать, что наиболее опасными и
вредными производственными факторами, действующими на него в процессе выполнения
работ, являются: легковоспламеняющиеся жидкости, их пары, газы; этилированный
бензин; оборудование, инструмент, приспособления;
Легковоспламеняющиеся жидкости, пары и газы -
при нарушении правил пожарной безопасности в обращении с ними могут стать причиной
пожара и взрыва. Кроме того, пары и газы, попадая в органы дыхания, вызывают
отравление организма.
Этилированный бензин действует отравляюще на
организм при вдыхании его паров, загрязнении им тела, одежды, попадании его в
организм с пищей и питьевой водой. Оборудование, инструмент, приспособления -
при неисправности и неправильном их применении могут привести к травмам.
Слесарь должен работать в специальной одежде и в
случае необходимости использовать другие средства индивидуальной защиты. В
соответствии с Типовыми отраслевыми нормами бесплатной выдачи рабочим и
служащим специальной одежды, специальной обуви и других средств индивидуальной
защиты слесарю выдаются: костюм хлопчатобумажный, фартук хлорвиниловый, сапоги
резиновые, нарукавники хлорвиниловые, рукавицы комбинированные.
При работе с этилированным бензином
дополнительно: фартук резиновый, перчатки резиновые.
Слесарь во время работы должен быть
внимательным, не отвлекаться на посторонние дела и разговоры. Запрещается
пользоваться инструментом, приспособлениями, оборудованием, обращению с
которыми слесарь не обучен и не проинструктирован.
Слесарь должен соблюдать правила пожарной
безопасности, уметь пользоваться средствами пожаротушения. Курить разрешается
только в специально отведенных местах. О замеченных нарушениях требований
безопасности на своем рабочем месте, а также о неисправностях оборудования,
приспособлений, инструмента и средств индивидуальной защиты слесарь должен
сообщить своему непосредственному руководителю и не приступать к работе до
устранения замеченных нарушений и неисправностей. Слесарь должен соблюдать
правила личной гигиены. После окончания работ и перед приемом пищи или курением
необходимо мыть руки с мылом, а после работы с узлами и деталями автомобиля,
работающего на этилированном бензине, необходимо предварительно мыть руки
керосином.
Для питья пользоваться водой из специально
предназначенных для этой цели устройств (сатураторы, питьевые баки, фонтанчики
и т.п.). За невыполнение требований инструкции, разработанной на основе данной
и указанных в п.1.2, слесарь несет ответственность согласно действующему
законодательству.
Требования безопасности перед началом работы
Перед началом работы слесарь должен:
подготовить и одеть необходимые для работы
средства индивидуальной защиты;
застегнуть манжеты рукавов специальной одежды;
осмотреть и подготовить свое рабочее место,
убрать все лишние предметы, не загромождая при этом проходов;
проверить состояние пола на рабочем месте, если
пол скользкий или влажный, потребовать, чтобы его вытерли или посыпали
опилками, или сделать это самому;
проверить наличие и исправность инструмента,
приспособлений и оборудования;
проверить наличие пожарного инвентаря в цехе (на
участке) и в случае отсутствия такового сообщить об этом своему
непосредственному руководителю;
включить общую приточно-вытяжную, а при наличии
и в случае необходимости - местную вентиляцию.
Требования безопасности во время работы
Во время работы слесарь должен:
при техническом обслуживании и ремонте топливной
аппаратуры автомобиля принять меры, исключающие проливание топлива из
топливного бака, топливопроводов и приборов системы питания;
при ремонте топливной аппаратуры на автомобиле
снять клеммы с аккумулятора или отключить его выключателем массы;
при ремонте газовой аппаратуры на автомобиле
дополнительно закрыть расходный и магистральный вентили;
перед разборкой обезвредить поверхность
карбюраторов и бензонасосов, работающих на этилированном бензине, а также их
детали керосином;
производить мойку топливной аппаратуры только в
местах, отведенных для этой цели;
производить разборку и ремонт топливной
аппаратуры на специальных верстаках или стендах.
Пользоваться при разборке и сборке топливной
аппаратуры специальными приспособлениями. Продувку клапанов, трубок и жиклеров
топливной аппаратуры производить воздухом от магистрали через шланг или
насосом. При продувке деталей струей воздуха не направлять ее на рядом
работающих людей или на себя. Проверку надежности пуска двигателя и регулировку
минимальных оборотов холостого хода производить на специальных постах,
оборудованных местным отсосом отработавших газов (если посты расположены в
помещении ТО).
Перед пуском двигателя проверить, заторможен ли
автомобиль стояночным тормозом и есть ли специальные противооткатные упоры
(башмаки) под колесами, установлен ли рычаг переключателя передач (контроллера)
в нейтральное положение.
Для безопасного перехода через осмотровые
канавы, а также для работы спереди и сзади автомобиля пользоваться переходными
мостиками, а для спуска в осмотровую канаву - специально установленными для
этой цели лестницами. При попадании этилированного бензина на кожу немедленно
обмыть облитый участок кожи керосином, а затем вымыть теплой водой с мылом.
Если этилированный бензин (капли или пары) попал в глаза, промыть их теплой
водой и немедленно обратиться в здравпункт или к врачу. Если специальная одежда
облита бензином, обратиться к своему непосредственному руководителю для ее
замены.
Пролитый на пол бензин удалить с помощью опилок,
ветоши и т.п., а этилированный бензин - предварительно обезвредить раствором
хлорной извести и удалить тем же способом.
Запрещается
приступать к обслуживанию и ремонту топливной
аппаратуры в случае обнаружения утечки газа при перекрытых кранах на
газобаллоном автомобиле;
пользоваться открытым огнем в помещении, где
проводятся ремонт и регулировка топливной аппаратуры;
з асасывать бензин ртом через шланг;
для мытья деталей пользоваться бензином;
продувать жиклеры, трубки и т.п. ртом;
во время проверки работы форсунок на стенде
подставлять руку к распылителю;
применять для обезвреживания мест, облитых
этилированным бензином, сухую хлорную известь.
Требования безопасности в аварийных ситуациях
О каждом несчастном случае, очевидцем которого он
был, слесарь должен немедленно сообщить работодателю, а пострадавшему оказать
первую доврачебную помощь, вызвать врача или помочь доставить пострадавшего в
здравпункт или ближайшее медицинское учреждение. Если несчастный случай
произошел с самим слесарем, он должен по возможности обратиться в здравпункт,
сообщить о случившемся работодателю или попросить сделать это кого-либо из
окружающих.
Требования безопасности по окончании работы
По окончании работы слесарь обязан:
выключить вентиляцию и оборудование;
привести в порядок рабочее место;
инструмент и приспособления тщательно очистить
от остатков этилированного бензина ветошью, обильно смоченной керосином, а
затем протереть сухой ветошью, после чего убрать их в отведенное для них место;
сливать остатки керосина и других
легковоспламеняющихся жидкостей в канализацию запрещается;
снять средства индивидуальной защиты и убрать их
в предназначенное для них место;
своевременно сдавать специальную одежду и другие
средства индивидуальной защиты в химчистку (стирку) и ремонт;
вымыть руки с мылом, а после работы с узлами и
деталями автомобиля, работающего на этилированном бензине, необходимо
предварительно вымыть руки керосином;
обо всех недостатках, обнаруженных во время
работы, известить своего непосредственного руководителя.
3.0 Технологическая часть
3.1 Устройство и принцип действия карбюратора
Карбюратор K-88АМ
(двигатель автомобиля ЗИЛ-130). Этот карбюратор двухкамерный, с падающим
потоком и сбалансированной поплавковой камерой. Обе камеры работают параллельно
на всех режимах. Каждая камера с двумя диффузорами подает горючую смесь к
четырем цилиндрам двигателя. Поплавковая камера, ускорительный насос,
экономайзер и воздушная заслонка - общие для обеих камер карбюратора, а главные
дозирующие системы и системы холостого хода - отдельные.
Карбюратор состоит из четырех частей: корпуса 1
воздушной горловины и крышки поплавковой камеры, корпуса 23 поплавковой камеры,
корпуса 46 смесительных камер и пневмоинерционного ограничителя максимальной
частоты вращения коленчатого вала. Корпуса воздушной горловины и поплавковой
камеры отлиты из цинкового сплава. Отдельные части карбюратора соединены между
собой с использованием уплотнительных прокладок 38 и 50, причем паронитовая
прокладка 38 является также и теплоизоляционной.
В корпусе воздушной горловины имеются воздушная
заслонка 15 с предохранительным клапаном 16, пробка 4 с фильтром 3 и игольчатый
клапан 2 подачи топлива. В горловине имеется канал, по которому воздух через
балансировочный канал 5 поступает в поплавковую камеру.
В поплавковой камере помещены поплавок 48 с
пружиной 49, ускорительный насос, экономайзер с механическим приводом, два
главных жиклера 47, два жиклера 8 полной мощности, два корпуса 6 жиклеров
системы холостого хода и два воздушных жиклера 9. В корпусе 6 объединены
воздушный и топливный жиклеры. Пружина 49, расположенная под рычагом поплавка
48, препятствует переполнению поплавковой камеры карбюратора во время движения
автомобиля по плохой дороге.
В ускорительный насос входят поршень (манжета
24, пружина 25 и втулка 26), шток 19, шариковый 29 и нагнетательный 40 клапаны,
а также распылитель 12. К деталям привода ускорительного насоса относятся
пружина 18, поводок 20, шток 21, тяга 32 и рычаг 37, соединенный с осью
дроссельных заслонок. В экономайзер входят основной 17 и промежуточный 28
толкатели, шариковый клапан 31 с пружиной 34.
Главная дозирующая система состоит из главного
топливного жиклера 47, жиклера 8 полной мощности, установленного в
распыливающем канале, воздушного жиклера 9 и двух диффузоров.
Большой и малый диффузоры отлиты вместе с
корпусом поплавковой камеры. Малый диффузор - 10 имеет кольцевую щель 11, через
которую топливо поступает в его горловину. При кольцевом распыливании топлива
улучшается процесс смесеобразования.
В корпусе смесительных камер на общей оси
укреплены две дроссельные заслонки 45 и сделаны отверстия 42 и 43 системы
холостого хода. Отверстие 42 имеет прямоугольную форму (в виде щели), что
обеспечивает более плавный переход двигателя с режима холостого хода на работу
двигателя с нагрузкой. Кроме того, в корпус ввернуты винты 41 регулировки
состава горючей смеси. Рассмотрим работу карбюратора К-88АМ.
Пуск холодного двигателя. Во время вращения
коленчатого вала в смесительных камерах карбюратора возникает большое
разрежение. Топливо подается из поплавковой камеры через главные жиклеры 47,
жиклеры 8 полной мощности в кольцевые щели 11 малых диффузоров. Кроме того,
богатая эмульсия поступает из отверстий 42 и 43 системы холостого хода.
Малая частота вращения холостого хода. Большое
разрежение, возникающее за дроссельными заслонками 45, передается через
отверстия 43 в каналы 44 системы холостого хода. Топливо, находящееся в
поплавковой камере, пройдя главные жиклеры 47, поступает к корпусу 6 жиклеров
системы холостого хода. Здесь топливо смешивается с воздухом, образуя эмульсию,
которая по каналам 44 поступает в смесительные камеры через нижние отверстия
43. Через верхние отверстия 42 к эмульсии подмешивается воздух.
Средние нагрузки двигателя. По мере открытия
дроссельных заслонок снижается разрежение у отверстий 43 и 42 системы холостого
хода и меньше топлива поступает в смесительные камеры карбюратора. Возрастает
скорость движения воздуха и увеличивается разрежение в малых и больших
диффузорах; в действие вступают главные дозирующие, системы. Топливо в главные
дозирующие системы поступает из поплавковой камеры карбюратора через главные
жиклеры 47 и жиклеры 8 полной мощности. Далее топливо подается по каналам в
кольцевые щели 11 малых диффузоров. К топливу подмешивается воздух, проходящий
через жиклеры 9. В результате этого из кольцевых распылителей в горловины малых
диффузоров подается эмульсия. Сначала в малых диффузорах, а затем и в больших
эмульсия перемешивается с воздухом, распыливается и в виде горючей смеси
поступает по впускному трубопроводу к цилиндрам двигателя.
Полная нагрузка двигателя. Экономайзер и
ускорительный насос имеют общий привод. При открытии дроссельных заслонок 45
рычаг 37 через тягу 32 перемещает шток 21 с поводком 20 вниз. Опускающийся
вместе с поводком основной толкатель 17 нажимает на промежуточный толкатель 28,
который открывает шариковый клапан 31, сжимая пружину 34. Топливо проходит из
поплавковой камеры карбюратора через отверстие 27, по каналам 35, через жиклеры
8 и поступает в кольцевые щели малых диффузоров. К топливу подмешивается
воздух, проходящий через жиклеры 9, и в горловины диффузоров 10 подается
обогащенная эмульсия.
Резкое открытие дроссельных заслонок. Оно
сопровождается перемещением вниз штока 21 и поводка 20, в отверстие которого
свободно проходит шток 19 поршня ускорительного насоса. Пружина 18 сжимается, и
под давлением поршня на топливо закрывается клапан 29. Топливо по каналу 39
поступает под нагнетательный клапан 40, открывая его. Затем топливо проходит в
воздушное пространство полого винта 14 и тонкими струйками вытекает в
смесительную камеру карбюратора через отверстия распылителя 12.
3.2 Состояние основных деталей и узлов,
поступающих на сборку
При износе отверстий под ось воздушной заслонки,
допускается ремонт этих отверстий постановкой втулок.
Допускается ремонт обломов и трещин фланца
крепления карбюратора к выносной трубке, не захватывающий внутренние плоскости
и каналы сваркой.
Поверхности соединительных фланцев деталей
корпуса должны быть плоскими, без забоин и неровностей. При проверке на плите
зазор не должен превышать 0,1 мм.
Если зазор больше 0,1 мм поверхность
соединительных фланцев можно фрезеровать до толщины: 3 мм - фланец верхнего
корпуса, 3 мм - верхний фланец поплавковой камеры, 9 мм - нижний фланец
поплавковой камеры, 3,5 мм фланец смесительной камеры.
Производительность жиклеров перед установкой в
карбюратор должна быть проверена на приборе модели «НИИАТ-528» или ином
приборе, позволяющем проверить производительность жиклеров под напором воды в 1
м.
Величина производительности жиклеров для
карбюратора К-88 должна быть в следующих пределах:
Главный жиклер (мм3/мин) ………………………………….350-360
Жиклер полной мощности (мм3/мин)
……………………....360-370
Корпус клапана вакуумного экономайзера (мм3/мин)
…….172,5-177,5
Воздушный жиклер (мм3/мин)
……………………………...103,5-106,5
Резьба жиклеров и торцы калиброванных отверстий
не должны иметь забоин и помятостей.
Клапан механического экономайзера должен быть
проверен на герметичность под вакуумом 1000-1100 мм. При клапане, смоченным
бензином, в течении 30 сек. не должно наблюдаться падения вакуума.
Поплавок не должен иметь трещин, вмятин,
пробоин, местных скоплений припоя или припаянных кусочков металла. Петля
поплавка не должна быть погнута. Если же поплавок имеет незначительные трещины
или вмятины, то трещины должны быть запаяны, а вмятины выправлены. В случае
больших трещин и вмятин - замена поплавка. Поплавок должен быть проверен на
герметичность погружением в воду при температуре 60-80
ºС.
Появление пузырьков воздуха не допускается. Вес поплавка после пайки должен
быть в пределах 18,7-19,7 г. До нужных пределов вес поплавка должен быть
доведен напайкой и удалением припоя. Ход иглы клапана подачи топлива должен
быть 1,8-1,4 мм. Игла должна свободно без заедания перемещаться в корпусе
клапана.
Расстояние от опорного торца корпуса клапана до
верхнего торца иглы должно быть 12,35-12,65 мм.
Клапан подачи топлива должен быть испытан на
герметичность на приборе «НИИАТ-528». При этом скорость падения уровня воды в
приборе не должна превышать 40 мм за 30 сек. Допускается смачивание клапана
бензином.
Манжет поршня ускорительного насоса не должна
иметь повреждений. Манжет имеющие повреждения, нужно заменить.
Пара корпус и клапан экономайзера должна быть
испытана на герметичность под вакуумом 1000-1100 мм. В течении 30 сек не должно
наблюдаться падение вакуума. Корпус и клапан допускается смачивать в бензине.
На сборку карбюратора корпус и клапан вакуумного экономайзера должна подаваться
парами, как испытывались на герметичность.
3.3 Сборка карбюратора
Детали поступающие в сборку, должны быть очищены
от загрязнений и промыты бензином. Поплавок должен свободно, без загрязнения
качаться на своей оси, не задевая стенок поплавковой камеры.
Дроссель и воздушная заслонка должны плотно
прикрывать каналы. Допускается прохождение щупов толщиной не более 0,05 мм для
дросселя, и не более 0,15 мм для воздушной заслонки. Заедание дросселя и
воздушной заслонки в любом положении не допускаются.
Обратный, перепускной и нагнетательные
игольчатые клапаны ускорительного насоса должны плотно прилегать к своим
седлам. Перемещение клапанов должно быть без заедания. Поршень ускорительного
насоса должен свободно передвигаться в корпусе. Все дозирующие элементы должны
быть плотно ввернуты в корпусе. Упорный винт в дросселе не должен
проворачиваться от руки, без помощи отвертки.
Включение механического клапана должно
происходить при величине зазора между дросселем и стенкой смесительной камеры,
равной 11,2 мм.
Все резьбовые соединения должны быть плотно
затянуты. Между фланцами верхнего корпуса, корпуса поплавковой камеры и корпуса
смесительной камеры устанавливают соответствующие прокладки.
Размеры, зазоры и натяги в сопряжениях
карбюратора приведены в приложении.
.4 Испытание карбюратора
Собранный карбюратор должен быть испытан на
приборе НИИАТ модели 577. Проверяют отсутствие подтеканий и высоту уровня
топлива в поплавковой камере. При давлении 0,25 кг/см3, создаваемом в
магистрали прибора, уровень топлива в поплавковой камере до плоскости разъема
карбюратора должен быть в пределах 18-19 мм.
Ускорительный насос должен обеспечивать
производительность не менее 20 см3 за 10 полных ходов поршня.
Все карбюраторы, выходящие из ремонта должны
быть проверены в процессе приработки двигателя с целью определения их основных
рабочих качеств:
·
Легкость пуск двигателя
·
Устойчивую
работу на малых оборотах холостого хода
·
Отсутствие провалов в работе
При испытании карбюратора должен поддерживаться
нормальный эксплуатационный режим двигателя: температура не менее 80
ºС;
температура масла не менее 80..90 ºС.
Не должно наблюдаться отработанных вспышек в карбюраторе и провалов при
переходе с одного режима на другой.
При проверке карбюратора на легкость пуска
двигателя разрешается кратковременное закрытие воздушной заслонки; во всех
остальных случаях воздушная заслонка должна быть полностью открыта.
3.5 Расчет времени на сборку изделия
Сборка поплавковой камеры
Штучно-калькуляционное время
Тшк = Тшк’ × Кур
×
Кск
где: Тшк - табличный норматив
штучно-калькуляционного времени;
Кур - коэффициент, зависящий от отклонений
нормальных условий работы;
Кск - коэффициент, зависящий от сложности
конструкции
(первая) Установка пружины поплавка
Тшк = Тшк’ × Кур
×
Кск
= 0,09 ×
1 × 1,58 = 0,15 (мин)
где: Тшк’ = 0,09 (мин)
Кур = 1 (мин)
Кск = 1,58 (мин)
(вторая) Установка поплавка
Тшк = Тшк’ × Кур
×
Кск
= 0,34 ×
1 × 1,58 = 0,54 (мин)
где: Тшк’ = 0,34 (мин)
Кур = 1 (мин)
Кск = 1,58 (мин)
(третья) Установка серьги
Тшк = Тшк’ × Кур
×
Кск
= 0,28 ×
1 × 1,58 = 0,45 (мин)
где: Тшк’ = 0,34 (мин)
Кур = 1 (мин)
Кск = 1,58 (мин)
(четвертая) Установка прокладки
Тшк = Тшк’ × Кур
×
Кск
= 0,28 ×
1 × 1,58 = 0,45 (мин)
где: Тшк’ = 0,28 (мин)
Кур = 1 (мин)
Кск = 1,58 (мин)
(пятая) Установка главного жиклера
Тшк = Тшк’ × Кур
×
Кск
= 0,15 ×
1 × 1,58 = 0,24 (мин)
где: Тшк’ = 0,15 (мин)
Кур = 1 (мин)
Кск = 1,58 (мин)
(шестая) Установка прокладки
Тшк = Тшк’ × Кур
×
Кск
= 0,28 ×
1 × 1,58 = 0,45 (мин)
где: Тшк’ = 0,28 (мин)
Кур = 1 (мин)
Кск = 1,58 (мин)
(седьмая) Установка жиклера полной мощности
Тшк = Тшк’ × Кур
×
Кск
= 0,28 ×
1 × 1,58 = 0,45 (мин)
где: Тшк’ = 0,28 (мин)
Кур = 1 (мин)
Кск = 1,58 (мин)
(восьмая) Установка прокладки
Тшк = Тшк’ × Кур
×
Кск
= 0,11× 1 × 1,58 = 0,17 (мин)
где: Тшк’ = 0,11 (мин)
Кур = 1 (мин)
Кск = 1,58 (мин)
(девятая) Установка пробки
Тшк = Тшк’ × Кур
×
Кск
= 0,22×
1 × 1,58 = 0,34 (мин)
где: Тшк’ = 0,22 (мин)
Кур = 1 (мин)
Кск = 1,58 (мин)
(десятая) Установка прокладки
Тшк = Тшк’ × Кур
×
Кск
= 0,28×
1 × 1,58 = 0,45 (мин)
где: Тшк’ = 0,28 (мин)
Кур = 1 (мин)
Кск = 1,58 (мин)
(одиннадцатая) Установка жиклера холостого хода
Тшк = Тшк’ × Кур
×
Кск
= 0,28×
1 × 1,58 = 0,45 (мин)
где: Тшк’ = 0,28 (мин)
Кур = 1 (мин)
Кск = 1,58 (мин)
(двенадцатая) Установка воздушного жиклера
Тшк = Тшк’ × Кур
×
Кск
= 0,10×
1 × 1,58 = 0,158 (мин)
где: Тшк’ = 0,10 (мин)
Кур = 1 (мин)
Кск = 1,58 (мин)
(тринадцатая) Установка игольчатого клапана
Тшк = Тшк’ × Кур
×
Кск
= 0,16×
1 × 1,58 = 0,26 (мин)
где: Тшк’ =0,16 (мин)
Кур = 1 (мин)
Кск = 1,58 (мин)
(четырнадцатая) Установка прокладки
Тшк = Тшк’ × Кур
×
Кск
= 0,16×
1 × 1,58 = 0,26 (мин)
где: Тшк’ = 0,16 (мин)
Кур = 1 (мин)
Кск = 1,58 (мин)
(пятнадцатая) Установка расширителя насоса
ускорителя
Тшк = Тшк’ × Кур
×
Кск
= 2,10 ×
1 × 1,58 = 3,32 (мин)
где: Тшк’= 2,10 (мин)
Кур = 1 (мин)
Кск = 1,58 (мин)
(шестнадцатая) Установка прокладки
Тшк = Тшк’ × Кур
×
Кск
= 0,20 ×
1 × 1,58 = 0,31 (мин)
где: Тшк’= 0,20 (мин)
Кур = 1 (мин)
Кск = 1,58 (мин)
(семнадцатая) Установка полого винта
Тшк = Тшк’ × Кур
×
Кск
= 0,15 ×
1 × 1,58 = 0,24 (мин)
где: Тшк’= 0,15(мин)
Кур = 1 (мин)
Кск = 1,58 (мин)
(восемнадцатая) Установка клапана экономайзера
Тшк = Тшк’ × Кур
×
Кск
= 0,18
× 1 × 1,58 = 0,28 (мин)
где: Тшк’= 0,18 (мин)
Кур = 1 (мин)
Кск = 1,58 (мин)
(девятнадцатая) Установка прокладки
Тшк = Тшк’ × Кур
×
Кск
= 0,18 ×
1 × 1,58 = 0,28 (мин)
где: Тшк’=1,02 (мин)
Кур = 1 (мин)
Кск = 1,58 (мин)
(двадцатая) Установка пробки
Тшк = Тшк’ × Кур
×
Кск
= 0,11×
1 × 1,58 = 0,17(мин)
где: Тшк’ = 0,11 (мин)
Кур = 1 (мин)
Кск = 1,58 (мин)
(двадцать первая) Установка шарикового клапана
Тшк = Тшк’ × Кур
×
Кск
= 0,13 × 1 × 1,58 = 0,20 (мин)
где: Тшк’= 0,13 (мин)
Кур = 1 (мин)
Кск = 1,58 (мин)
(двадцать вторая) Установка стопорного кольца
Тшк = Тшк’ × Кур
×
Кск
= 0,8 ×
1 × 1,58 = 1,26 (мин)
где: Тшк’ = 0,8 (мин)
Кур = 1 (мин)
Кск = 1,58 (мин)
(двадцать третья) Установка шпонки привода
насоса-ускорителя и экономайзера
Тшк = Тшк’ × Кур
×
Кск
= 0,28 ×
1 × 1,58 = 0,44(мин)
где: Тшк’=0,28 (мин)
Кур = 1 (мин)
Кск = 1,58 (мин)
Сборка воздушной горловины
(двадцать четвертая) Установка прокладки
Тшк = Тшк’ × Кур
×
Кск
= 0,11× 1 × 1,58 = 0,12 (мин)
где: Тшк’ =0,11 (мин)
Кур = 1 (мин)
Кск = 1,58 (мин)
(двадцать пятая) Установка игольчатого клапана в
сборе
Тшк = Тшк’ × Кур
×
Кск
= 0,28×
1
×
1,58 = 0,44 (мин)
где: Тшк’ = 0,28 (мин)
Кур = 1 (мин)
Кск = 1,58 (мин.)
(двадцать шестая) Установка фильтра
Тшк = Тшк’ × Кур
×
Кск
= 0,09 ×
1
×
1,58 = 0,14 (мин)
где: Тшк’ = 0,09 (мин)
Кур = 1 (мин)
Кск = 1,58 (мин)
(двадцать седьмая) Установка прокладки
Тшк = Тшк’ × Кур
×
Кск
= 0,34 × 1 × 1,58 = 0,53 (мин)
где: Тшк’=0,34 (мин)
Кур = 1 (мин)
Кск = 1,58 (мин)
(Двадцать восьмая) Установка пробки
Тшк = Тшк’ × Кур
×
Кск
= 0,28 ×
1
×
1,58 = 0,44 (мин)
где: Тшк’ = 0,34 (мин)
Кур = 1 (мин)
Кск = 1,58 (мин)
(двадцать девятая) Установка оси воздушной
заслонки
Тшк = Тшк’ × Кур
×
Кск
= 0,28 ×
1
×
1,58 = 0,44 (мин)
где: Тшк’ = 0,28 (мин)
Кур = 1 (мин)
Кск = 1,58 (мин)
(тридцатая) Установка воздушной заслонки в сборе
Тшк = Тшк’ × Кур
×
Кск
= 0,15 ×
1
×
1,58 = 0,23 (мин)
где: Тшк’= 0,15 (мин)
Кур = 1 (мин)
Кск = 1,58 (мин)
(тридцать первая) Установка винта.
Тшк = Тшк’ × Кур
×
Кск
= 0,28×
1
×
1,58 = 0,44 (мин)
где: Тшк’=0,28 (мин)
Кур = 1 (мин)
Кск = 1,58 (мин)
(тридцать вторая) Установка планки
шк = Тшк’ × Кур
×
Кск
= 0,28×
1
×
1,58 = 0,44 (мин)
где: Тшк’=0,28 (мин)
Кур = 1 (мин)
Кск = 1,58 (мин)
(тридцать третья) Установка шайбы
Тшк = Тшк’ × Кур
×
Кск
= 0,11 × 1 × 1,58 = 0,17(мин)
где: Тшк’= 0,11 (мин)
Кур = 1 (мин)
Кск = 1,58 (мин)
(тридцать четвертая) Установка гайки
Тшк = Тшк’ × Кур
×
Кск
= 0,22 × 1 × 1,58 = 0,34 (мин)
где: Тшк’= 0,22 (мин)
Кур = 1 (мин)
Кск = 1,58 (мин)
Сборка смесительной камеры
(тридцать пятая) Установка подшипника
Тшк = Тшк’ × Кур
×
Кск
= 0,28×
1
×
1,58 = 0,44 (мин)
где: Тшк’= 0,28 (мин)
Кур = 1 (ми.)
Кск = 1,58 (мин)
(тридцать шестая) Установка прокладки
Тшк = Тшк’ × Кур
×
Кск
= 0,28×
1
×
1,58 = 0,44 (мин)
где: Тшк’= 0,28 (мин)
Кур = 1 (мин)
Кск = 1,58 (мин)
(тридцать седьмая) Установка шайбы
Тшк = Тшк’ × Кур
×
Кск
= 0,10× 1 × 1,58 = 0,15(мин)
где: Тшк’ = 0,10 (мин)
Кур = 1 (мин)
Кск = 1,58 (мин)
(тридцать восьмая) Установка пружины
Тшк = Тшк’ × Кур
×
Кск
= 0,16 ×
1
×
1,58 = 0,25 (мин)
где: Тшк’= 0,16 (мин)
Кур = 1 (мин)
Кск = 1,58 (мин)
(тридцать девятая) Установка корпуса
ограничителя
Тшк = Тшк’ × Кур
×
Кск
= 2,10 ×
1
×
1,58 = 3,3 (мин)
где: Тшк’= 2,10(мин)
Кур = 1 (мин)
Кск = 1,58 (мин)
(сороковая) Установка шайбы пружинной
Тшк = Тшк’ × Кур
×
Кск
= 0,16 ×
1
×
1,58 = 0,25 (мин)
где: Тшк’=0,16 (мин)
Кур = 1 (мин)
Кск = 1,58 (мин)
(сорок первая) Установка винта
Тшк = Тшк’ × Кур
×
Кск
= 0,20×
1
×
1,58 = 0,31 (мин)
где: Тшк’= 0,20 (мин)
Кур = 1 (мин)
Кск = 1,58 (мин)
(сорок вторая) Установка вала дроссельной
заслонки
Тшк = Тшк’ × Кур
×
Кск
= 0,15 ×
1
×
1,58 = 0,23 (мин)
где: Тшк’= 0,15(мин)
Кур = 1 (мин.)
Кск = 1,58 (мин)
(сорок третья) Установка дроссельной заслонки
Тшк = Тшк’ × Кур
×
Кск
= 0,18 ×
1
×
1,58 = 0,28(мин)
где: Тшк’=0,18 (мин)
Кур = 1 (мин)
Кск = 1,58 (мин)
(сорок четвертая) Установка винта
Тшк = Тшк’ × Кур
×
Кск
=1,02 ×
1
×
1,58 = 1,61 (мин)
где: Тшк’= 1,02 (мин)
Кур = 1 (мин)
Кск = 1,58 (мин)
(сорок пятая) Установка регулирующий винт
Тшк = Тшк’ × Кур
×
Кск
= 0,11 × 1 × 1,58 = 0,17 (мин)
где: Тшк’=0,11 (мин)
Кур = 1 (мин)
Кск = 1,58 (мин)
(сорок шестая) Установка пружины
Тшк = Тшк’ × Кур
×
Кск
= 0,13 ×
1
×
1,58 = 0,20 (мин)
где: Тшк’= 0,13 (мин)
Кур = 1 (мин)
Кск = 1,58 (мин)
(сорок седьмая) Установка шарнира
Тшк = Тшк’ × Кур
×
Кск
= 0,28×
1
×
1,58 = 0,44 (мин)
где: Тшк’= 0,28 (мин)
Кур = 1 (мин)
Кск = 1,58 (мин)
(сорок восьмая) Установка прокладки
Тшк = Тшк’ × Кур
×
Кск
= 0,11 ×
1
×
1,58 = 0,17 (мин)
где: Тшк’= 0,11 (мин)
Кур = 1 (мин)
Кск = 1,58 (мин)
(сорок девятая) Установка корпуса
Тшк = Тшк’ × Кур
×
Кск
= 0,34×
1
×
1,58 = 0,53 (мин)
где: Тшк’= 0,34 (мин)
Кур = 1 (мин)
Кск = 1,58 (мин)
(пятидесятая) Установка рычага привода
дроссельной заслонки
Тшк = Тшк’ × Кур
×
Кск
= 0,28×
1
×
1,58 = 0,44 (мин)
где: Тшк’= 0,34 (мин)
Кур = 1 (мин)
Кск = 1,58 (мин)
(пятьдесят первая) Установка планки
Тшк = Тшк’ × Кур
×
Кск
= 0,28× 1 × 1,58 = 0,44
(мин)
где: Тшк’ = 0,28 (мин)
Кур = 1 (мин)
Кск = 1,58 (мин)
(пятьдесят вторая) Установка шайбы
Тшк = Тшк’ × Кур
×
Кск
= 0,15 ×
1
×
1,58 = 0,23 (мин)
где: Тшк’= 0,15 (мин)
Кур = 1 (мин)
Кск = 1,58 (мин)
(пятьдесят третья) Установка гайки
Тшк = Тшк’ × Кур
×
Кск
= 0,28×
1
×
1,58 = 0,44 (мин)
где: Тшк’= 0,28 (мин)
Кур = 1 (мин)
Кск = 1,58 (мин)
Сборка изделия целиком
(пятьдесят четвертая) Установка прокладки
где: Тшк’= 0,15 (мин)
Кур = 1 (мин)
Кск = 1,58 (мин)
(пятьдесят пятая) Установка поплавковой камеры в
сборе
Тшк = Тшк’ × Кур
×
Кск
= 0,28×
1
×
1,58 = 0,44 (мин)
где: Тшк’=0,28 (мин)
Кур = 1 (мин)
Кск = 1,58 (мин)
(пятьдесят шестая) Установка винта
Тшк = Тшк’ × Кур
×
Кск
= 0,28×
1
×
1,58 = 0,44 (мин)
где: Тшк’= 0,28 (мин)
Кур = 1 (мин)
Кск = 1,58 (мин)
(пятьдесят седьмая) Установка шайбы пружинной
Тшк = Тшк’ × Кур
×
Кск
= 0,11 ×
1
×
1,58 = 0,17 (мин)
где: Тшк’= 0,11 (мин)
Кур = 1 (мин)
Кск = 1,58 (мин)
(пятьдесят восьмая) Установка прокладки
Тшк = Тшк’ × Кур
×
Кск
= 0,22×
1
×
1,58 = 0,34 (мин)
где: Тшк’= 0,22 (мин)
Кур = 1 (мин)
Кск = 1,58 (мин)
(пятьдесят девятая) Установка корпуса горловины
в сборе
Тшк = Тшк’ × Кур
×
Кск
= 1,02 ×
1
×
1,58 = 1,61 (мин)
где: Тшк’= 1,02 (мин)
Кур = 1 (мин)
Кск = 1,58 (мин)
(шестидесятая) Установка винта
Тшк = Тшк’ × Кур
×
Кск
= 0,11 ×
1
×
1,58 = 0,17 (мин)
где: Тшк’= 0,11 (мин)
Кур = 1 (мин)
Кск = 1,58 (мин)
(шестьдесят первая) Установка шайбы пружинной
Тшк = Тшк’ × Кур
×
Кск
= 0,13 ×
1
×
1,58 = 0,20 (мин)
где: Тшк’= 0,13 (мин)
Кур = 1 (мин)
Кск = 1,58 (мин)
(шестьдесят вторая) Установка серьги
Тшк = Тшк’ × Кур
×
Кск
= 0,28×
1
×
1,58 = 0,44 (мин)
где: Тшк’= 0,28 (мин)
Кур = 1 (мин)
Кск = 1,58 (мин)
(шестьдесят третья) Установка тяги
Тшк = Тшк’ × Кур
×
Кск
= 0,11
× 1 × 1,58 = 0,17 (мин)
где: Тшк’ = 0,11 (мин)
Кур = 1 (мин)
Кск = 1,58 (мин)
Таблица 3.1 Нормы времени на сборку
|
№
операции
|
Переход
|
Кол-во
деталей
|
Оборудование
|
Условия
работы
|
Норма
времени
|
Времени
на сборку, (мин.) Тшк
|
|
005
|
Установка
пружины поплавка
|
1
|
Вручную
|
П
|
0,25
|
0,25
|
|
010
|
Установка поплавка
|
1
|
Вручную
|
П
|
0,80
|
0,80
|
|
015
|
Установка серьги
|
1
|
Вручную
|
П
|
0,80
|
0,80
|
|
020
|
Установка прокладки
|
1
|
Вручную
|
П
|
0,66
|
0,66
|
|
025
|
Установка главного жиклера
|
2
|
Отвертка
|
П
|
0,43
|
0,43
|
|
030
|
Установка прокладки
|
2
|
Вручную
|
П
|
0,66
|
0,66
|
|
035
|
Установка жиклера полной мощности
|
2
|
Отвертка
|
П
|
0,53
|
0,53
|
|
040
|
Установка прокладки
|
2
|
Вручную
|
П
|
0,31
|
0,31
|
|
045
|
Установка пробки
|
2
|
Вручную
|
П
|
0,62
|
0,62
|
|
050
|
Установка прокладки
|
2
|
Вручную
|
П
|
0,66
|
0,66
|
|
055
|
Установка жиклера холостого хода
|
2
|
Отвертка
|
П
|
0,53
|
0,53
|
|
060
|
Установка воздушного жиклера
|
2
|
Вручную
|
П
|
0,18
|
0,18
|
|
065
|
Установка игольчатого клапана
|
1
|
Вручную
|
П
|
0,45
|
0,45
|
|
070
|
Установка прокладки
|
1
|
Вручную
|
П
|
0,23
|
0,23
|
|
075
|
Установка распылителя насоса
ускорителя
|
1
|
Вручную
|
П
|
4,9
|
4,9
|
|
080
|
Установка прокладки
|
1
|
Вручную
|
П
|
0,56
|
0,56
|
|
085
|
Установка полого винта
|
1
|
Вручную
|
П
|
0,42
|
0,42
|
|
090
|
Установка клапана экономайзера
|
1
|
Вручную
|
П
|
0,51
|
0,51
|
|
095
|
Установка прокладки
|
1
|
Вручную
|
П
|
2,90
|
2,90
|
|
100
|
Установка пробки
|
1
|
Вручную
|
П
|
0,29
|
0,29
|
|
105
|
Установка шарикового клапана
|
1
|
Вручную
|
П
|
0,30
|
0,30
|
|
110
|
Установка стопорного кольца
|
1
|
Вручную
|
П
|
1,51
|
1,51
|
|
115
|
Установка
шпонки привода насоса-уск. и эконом
|
1
|
Вручную
|
П
|
0,53
|
0,53
|
|
120
|
Установка прокладки
|
1
|
Вручную
|
П
|
0,12
|
0,12
|
|
125
|
Установка
игольчатого клапана в сборе
|
1
|
Вручную
|
П
|
0,35
|
0,35
|
|
130
|
Установка фильтра
|
1
|
Вручную
|
П
|
0,25
|
0,25
|
|
135
|
Установка прокладки
|
1
|
Вручную
|
П
|
0,80
|
0,80
|
|
140
|
Установка пробки
|
1
|
Вручную
|
П
|
0,80
|
0,80
|
|
145
|
Установка оси воздушной заслонки
|
1
|
Вручную
|
П
|
0,66
|
0,66
|
|
150
|
Установка воздушной заслонки
|
1
|
Вручную
|
П
|
0,43
|
0,43
|
|
155
|
Установка винта
|
2
|
Отвертка
|
П
|
0,66
|
0,66
|
|
160
|
Установка планки
|
1
|
Вручную
|
П
|
0,53
|
0,53
|
|
165
|
Установка шайбы
|
1
|
Вручную
|
П
|
0,31
|
0,31
|
|
170
|
Установка гайки
|
1
|
Ключ 10
|
П
|
0,62
|
0,62
|
|
175
|
Установка подшипника
|
1
|
Вручную
|
П
|
0,66
|
0,66
|
|
180
|
Установка прокладки
|
1
|
Вручную
|
П
|
0,53
|
0,53
|
|
185
|
Установка шайбы
|
1
|
Вручную
|
П
|
0,18
|
0,18
|
|
190
|
Установка пружины
|
1
|
Вручную
|
П
|
0,45
|
0,45
|
|
195
|
Установка корпуса ограничителя
|
1
|
Вручную
|
П
|
4,9
|
4,9
|
|
200
|
Установка шайбы пружинной
|
1
|
Вручную
|
П
|
0,23
|
0,23
|
|
205
|
Установка винта
|
4
|
Отвертка
|
П
|
0,56
|
0,56
|
|
210
|
Установка вала дроссельной
заслонки
|
2
|
Вручную
|
П
|
0,42
|
0,42
|
Установка дроссельной заслонки
|
1
|
Вручную
|
П
|
0,51
|
0,51
|
|
220
|
Установка винта
|
1
|
Отвертка
|
П
|
2,90
|
2,90
|
|
225
|
Установка регулировочного винта
|
4
|
Отвертка
|
П
|
0,29
|
0,29
|
|
230
|
Установка пружины
|
2
|
Вручную
|
П
|
0,30
|
0,30
|
|
235
|
Установка шарнира
|
1
|
Вручную
|
П
|
0,53
|
0,53
|
|
240
|
Установка прокладки
|
1
|
Вручную
|
П
|
0,12
|
0,12
|
|
245
|
Установка корпуса
|
1
|
Вручную
|
П
|
0,80
|
0,80
|
|
250
|
Установка
рычага привода дроссельной заслонки
|
1
|
Вручную
|
П
|
0,80
|
0,80
|
|
255
|
Установка планки
|
1
|
Вручную
|
П
|
0,66
|
0,66
|
|
260
|
Установка шайбы
|
1
|
Вручную
|
П
|
0,43
|
0,43
|
|
265
|
Установка гайки
|
1
|
Ключ 10
|
П
|
0,66
|
0,66
|
|
270
|
Установка прокладки
|
1
|
Вручную
|
П
|
0,43
|
0,43
|
|
275
|
Установка
поплавковой камеры в сборе
|
1
|
Вручную
|
П
|
0,66
|
0,66
|
|
280
|
Установка винта
|
1
|
Вручную
|
П
|
0,53
|
0,53
|
|
285
|
Установка шайбы пружинной
|
1
|
Вручную
|
П
|
0,31
|
0,31
|
|
290
|
Установка прокладки
|
1
|
Вручную
|
П
|
0,62
|
0,62
|
|
295
|
Установка
корпуса горловины в сборе
|
1
|
Вручную
|
П
|
2,90
|
2,90
|
|
300
|
Установка винта
|
1
|
Отвертка
|
П
|
0,29
|
0,29
|
|
305
|
Установка шайбы пружинной
|
1
|
Вручную
|
П
|
0,30
|
0,30
|
|
310
|
Установка серьги
|
1
|
Вручную
|
П
|
0,53
|
0,53
|
|
315
|
Установка тяги
|
1
|
Вручную
|
П
|
0,12
|
0,12
|
|
Итого на единицу
|
28,13
|
3.8 Определение себестоимости сборки
Scб = ∑ОЗП+ДЗП+Нр+Пн=13+1,3+6,43
= 35,03 (руб.)
где: ОЗП = (Сч*Тшк)/60 = 28*28,13/60 = 13 руб.
основная заработная плата, руб;
Сч = 28-часовая тарифная ставка в зависимости от
разряда выполняемых работ, руб/час;
Тшк = 28,13-время на сборку одного изделия, мин
(табл.3.1)
Дополнительная заработная плата состовляет 10%
от основной заработной платы
ДЗП = 0,1*ОЗП = 0,1*13 = 1,3 (руб.)
Нр = 0,45*(ОЗП + ДЗП) = 0,45*(13 +
1,3) = 6,43 (руб.)
Плановые накопления
Пн = (ОЗП + ДЗП + Нр)*12 = (13 + 1,3 +
6,43)*0,12 = 2,48 (руб.)
Расчёт коэффициента эффективности
Кэ = К*Sнов/ Scб ≥ 1
Кэ = 0,75*3000/35 = 64 ≥ 1
где: Sнов = 3000-стоимость новой коробки, руб.
Вывод: Себестоимость сборки карбюратора в
условиях базы механизации является эффективной.
4.0 Экономическая часть для ЭО-2621
.1 Определение заработной плaты экипажа машины
Заработная плата за машино-час
определяется по формуле:
ЗПм-ч =
= 17000/160,8
= 105,7 (руб./м-ч),
где ЗПмес - заработная плата
за месяц машиниста или помощника машиниста, в рублях:
ЗПмес = ЧТС1р × Кр × К1 + П=
ЧтС1р ×
Кр
×К1 × К2 =4600 × 1.54
× 2 ×
1,2 = 17000 (руб.);
где: ЧТС1р = 4800 руб. -
часовая тарифная ставка I-го разряда, (см. пункт 2.1);
К1 = 2 - коэффициент, учитывающий районные и
северные надбавки;
К2 = 1,2 - премиальный коэффициент;
Кр =1,54 - межразрядный коэффициент, (8 табл.
2);
Нвр =
=1930/12=160,8 (час) - норма часов
работы в месяц;
где: 12 - число месяцев в году;
Фн - номинальный фонд времени на месяц, час:
Фн = (Дк - Дпр - Двых) ×
n - Дпп ×
m - (365 - 14 - 108)
× 8 - 14 × 1 = 1930 (час),
где: Дк = 365 - число календарных дней в году;
Дпр = 14 - число праздничных дней в году;
Двых = 108 - число выходных дней в году;=
8 - количество часов в смену;= 1 - количество смен.
.2 Определение амортизационных отчислений
A=
= 1000000 ×
12,5/100 × 1187,2
= 105,2 (руб./м-ч)
где Sб = 1000000 (руб.) - балансовая
стоимость машины (см. приложение 2);
На = 12,5 % - норма
амортизационных отчислений (см. приложение 2);
Фд = (Дк - Дпр - Двых - Дметео -
Дтоир - Дож - Дпереб) ×
m × n × к
= (365 - 14 - 108 - 22 - 5 - 4) × 1 ×8 ×0,7 = 1187,2 (час) -
директивная норма наработки машины;
где:Дметео = 5 - количество
дней простоев машин из-за метеоусловий (см.прил. 3);
Дтоир = 22 - количество дней
простоев в технических обслуживаниях и ремонтах (8 прил. 3);
Дож = 8 - количество дней
ожидания ремонтов
Дпереб = 4 - количество дней
перебазировки
к = 0,7 - коэффициент использования
машины по времени.
.3 Определение затрат на ТО и
ремонты
Sрем =
= 1000000 ×
39/100×1187,2
= 328,5( руб./м-ч)
где: Sб = 1000000 (руб.) -
балансовая стоимость (см. прил. 2) ;
Фд = 1187.2 (час) - директивная
норма наработки машины (см.п.4.2 );
Нрем = 39 % - норма затрат на
ТО и ремонты (см. прил. 4).
.4 Определение затрат на
топливно-смазочные материалы
Sтсм=
Цi ×
Нтсм = 4,5
× 23,25 + 0,14 × 20,26 + 0,13 × 237,5+ 0,1 × 103,6 +
0,1× ×40,4 + 0,01 × 113,3+ 0,04 × 80 + 0,03 ×
22,6 =
157,4 (руб./м-ч)
где: Цi - стоимость
каждого вида топливно-смазочных материалов, руб./кг (по данным Нефтебазы);
Нтсм - норма расхода каждого
вида топлива
Таблица 4. 1. Затраты на
топливно-смазочные материалы
|
Вид
ТСМ
|
Норма
расхода, кг/м-ч, Нтсм ПТСМi
|
Цена,
руб./кг, Цi
|
Стоимость,
руб/м-ч, Sтсм
|
|
Дизельное
топливо: (бензин)
|
4,5
0,14
|
23,25
20,26
|
104,6
2,83
|
|
Масла:
|
|
|
|
|
-веретённое
|
0,1
|
103,6
|
10,3
|
|
-
дизельное
|
0,13
|
237,5
|
30,8
|
|
-
индустриальное
|
0,1
|
40,4
|
4
|
|
Смазки:
|
|
|
|
|
-
солидол
|
0,03
|
22,6
|
0,6
|
|
-нигрол
|
0,04
|
80
|
3,2
|
|
-
автол
|
0,01
|
113,3
|
1,1
|
|
ВСЕГО:
|
|
|
157,4
|
4.5 Определение затрат на основную оснастку
Оснастку подбирают по нормативу СН 309-90
«Временные нормы расхода запасных частей и материалов для ремонта машин,
занятых в строительстве». Затраты на оснастку подсчитывают по формуле:
Soo =
= (2×5500/7000) + (2×3200/7000) +
(4×410/1400)
+ (4×410/1400) + (4×435/1400) = 5,94 (руб./м-ч)
где: Цоi - руб.
цена единицы оснастки c надбавкой на транспортные расходы (8 прил. 5);.-
количество единиц оснастки данного наименования на машину, (8 прил. 5);
Тслi - срок
службы оснастки данного наименования (8 прил. 5).
Таблица 4.2. Затраты на основную
оснастку
|
Вид
оснастки
|
Количество,
шт (м)
|
Цена,
руб./шт, (м)
|
Срок
службы м-
|
Стоимость,
руб./м-ч
|
|
|
Цоi
|
Тслi
|
Soo
|
|
Шины
15,5 - 38
|
2
|
5500
|
7000
|
1,5
|
|
Шины
7,5- 20
|
2
|
3200
|
7000
|
0,9
|
|
Зуб
ковша
|
4
|
435
|
1400
|
1,2
|
|
РВД
20×1400-250
|
4
|
410
|
1400
|
1,17
|
|
РВД
20×1000-250
|
4
|
410
|
1400
|
1,17
|
|
Всего:
|
|
|
|
5,94
|
4.6 Определение затрат на перебазировку своим
ходом
Sсх = ПЗ × Тпб
=
597,5 × 0,1 = 59,75 (руб./час),
где ПЗ = ЗПм-ч + Sрем + Soo + Sтсм = 105,7 +
328,5 + 5,94 + 157,4 = 597,5 ( руб /м-ч) - прямые затраты;
где: ЗПм-ч =105,7 (руб./м-ч) - заработная плата,
(см. пункт 4.1);рем = 328,5(руб./м-ч) - затраты на ТО и ремонт, (см. пункт
4.3);тсм = 157,4 (руб./м-ч) - затраты на топливно-смазочные материалы (см.
пункт 4.4);= 5,94 (руб./м-ч) - затраты на основную оснастку, (см. пункт 4.5).
Тпб =
= 30 × 180/1187,2 × 40 = 0,1
(м/час)
- время перебазиpовки, перенесенное на один машино-час работы СМО
где: Lпб = 30 (км) - длина
перебазировки в оба конца;
nпб = 180 -
количество перебазировок в год (8 прил. 6);
Фд = 1187,2 (час)- директивная
наработка в год (см. пункт 4.2);
Uпб = 40
(км/час) - средняя техническая скорость перебaзировки по правилам безопасности
дорожного движения.
4.7 Определение суммы прямых затрат
Прямые затраты состоят из:
-заработной платы (см. пункт 4.1);
-амортизационных отчислений (см.
пункт 4.2);
-стоимости технических обслуживаний
и ремонтов (см. пункт 4.3);
затрат на ТСМ (см. пункт 4.4);
-затрат на сменную оснастку (см.
пункт 4.5);
-затрат на перебазировку (см. пункт
4.6).
Таблица 4.3 Прямые затраты
|
Статьи
затрат
|
Сумма,
руб./м-ч
|
|
Заработанная
плата
|
105,7
|
|
Амортизационные
отчисления
|
105,2
|
|
Стоимость
тех. облуж. и ремонта
|
328,5
|
|
Затраты
на ТСМ
|
157,4
|
|
Затраты
на оснастку
|
5,94
|
|
Затраты
на перебазировку
|
59,75
|
|
Всего:
|
762,5
|
.8 Определение накладных расходов
Накладные расходы - это косвенные расходы;
определяются в процентах от суммы прямых затрат. Накладные расходы состоят из
следующих групп затрат:
административно-хозяйственные pасхoды;
затраты на охрану труда и технику безопасности;
расходы по противопожарной и сторожевой охране;
расходы по износу временных сооружений и
приспособлений.
Для управлений механизации норма накладных
расходов установлена в размере 45 %
Н р =
= 597,5× 45/100 = 268,87 (руб./м-ч)
где: П3 = 597,5 (руб./м-ч) - прямые
затраты (таблица 3);
Н пр = 45 % - норма накладных
расходов.
.9 Определение плановых накоплений
Плановые накопления - это норма
прибыли предприятия
B курсовой работе норму прибыли
предприятия следует принять равной 12 %.
П н =
= (597,5 + 268,87) × 12/100 = 104
(руб./м-ч),
где: Н пн = 12 % -норма плановых
накоплений;
Н р = 268,87 (руб./м-ч) - накладные
расходы
4.10 Определение себестоимости
C = ПЗ + Н р + П н =597,5 + 268,87 +
104 = 970,5 (руб./м-ч)
Расчет себестоимости следует
оформить таблицей:
Таблица 4.4 Себестоимость
|
Статьи
затрат
|
Стоимость
затрат, руб./м-ч
|
|
Прямые
затраты
|
597,5
|
|
Накладные
расходы
|
268,87
|
|
Плановые
расходы
|
104
|
|
Всего:
|
970,5
|
Вывод:
Рассчитанная себестоимость составила 970,5
руб-/м-ч, что соответствует себестоимости, взятой на предприятии.
Снизить себестоимость позволяют:
повышение производительности труда при выполнении
технических обслуживаний и ремонтов;
относительное сокращение доли цеховых и
общезаводских расходов;
специализация производства ремонтов;
совершенствование технологического процесса
ремонта;- повышение качества ремонтов и ликвидация браков.
Диаграмма прямых затрат ЭО-2621
1 % - Затраты на оснастку
% - Затраты на перебазировку
% - Заработная плата
% - Амортизационные отчисления
% - Стоимость тех. облуживания и ремонта
5.0 Конструкторская часть
5.1 Назначение приспособления
Приспособление предназначено для проверки
упругости пружин диафрагмы и пружин клапанов бензиновых насосов.
.2 Устройство и принцип действия приспособления
Прибор состоит из стойки, грузов весом 10±1 г и
35±1 г и кронштейна со шкалой
1- Стойка; 2- Груз (10 г); 3- Груз
(35 г); 4- Кронштейн; 5- Шкала; 6- Стрелка; 7- Груз(0,6 кг); 8- Груз (2,8 кг)
9- Шток; 10-Втулка; 11- Кронштейн верхний; 12- Стойка; 13- Втулка; 14- Втулка
нижняя; 15 -Кронштейн нижний; 16 -Шайба штока; 17 -Шайба опорная
Пружина диафрагмы должна быть проверена на
соответствие техническим условиям. Проверка производится на приспособлении,
пружина для проверки устанавливается на опорную шайбу свободно перемещающаяся
по вертикали во втулках, нагружается грузом. Под действием груза вместе со
штоком перемещается закрепленная на нём стрелка показывающая по шкале длину
пружины в сжатом состоянии.
5.3 Определение стойки на прочность
[σр]
= Р/S•L
= 600/ 5• 250 = 4,8 МПа ≤ [σр]
= 157,1
[σр]
=σт / n
= 220/1,4=157,1 МПа - предел прочности при растяжении
где: σт
= 220 МПа - предел текучести для Ст3;
n = 1,4 -
коэффициент запаса прочности;
Р = 600 Н - нагрузка на сворной шов;
S = 5 мм - толщина
листа;
L = 250 мм - длина
сварочного шва
Вывод: Условие прочности выполняется.
6.0 Список
использованной литературы
1. «Техническое
обслуживание и ремонт автомобилей» Епифанов Л.И., Епифанова Е.А. издательство
«Форум-инфра М» Москва 2001г.
2. «Эксплуатация
и техническое обслуживание дорожных машин, автомобилей и тракторов» Локшин Е.С.
издательство «Мастерство» Москва 2002г.
. «Машины
для строительства промышленных, гражданских сооружений и дорог» Кузина Э.Н.
издательство «Машиностроение» Москва 1991г.
. «Справочник
автомобильного механика» Рунец М.А. издательство «Транспорт» Москва 1976г
. «Автомобили
с дизельными двигателями» Сабинин А.А. издательство «Высшая школа» Москва
1981г.
. Сугробов
Н.П. «Охрана труда в строительстве»
. Корсаков
В.С. Основы технологии машиностроения: Учебник. - 3-е изд., перераб. и доп. -
М.: Машиностроение, 2001. - 591 с.
. Маталин
А.А. Технология машиностроения: Учебник. - Л.: Машиностроение, 1985. - 496 с.
. Конспект
лекций по дисциплине "Теоретические основы технологии производства типовых
деталей и сборки машин" /Сост. С.В. Ковалевский, А.Г. Косенко, С.Г.
Онищук. - Краматорск: ДГМА, 2003. - 48 с.
. Анурьев
В. И. Справочник конструктора-машиностроителя. - М.: Машиностроение, 1978. - т.
1. - 728 с.
. Гурвич.
И.С. Полонский М.И. Методика технического нормирования в ремонтном
производстве.