Пример расчета механизма подъема
"Московский
государственный технический университет им. Н. Э. Баумана"
Кафедра
"Детали машин"
Курсовой
проект по подъемно-транспортным машинам
Выполнил:
студент группы РКТ3-71
Круглов Б.В.
Москва
1. Определение КПД полиспаста
Коэффициент полезного действия полиспаста определим по формуле:
,
где η=0,97 - КПД блока;
а - кратность полиспаста, а=2;
t=1 - число отклоняющих блоков.
Таким образом, КПД полиспаста
0,956
2. Выбор
электродвигателя
Мощность при подъёме номинального груза с установившейся скоростью:
,
где
- грузоподъёмная сила;
- КПД подъёмного механизма, принимаем
при зубчатом редукторе [1].
2,807 кВт.
Выбираем по табл.II.1.11,
[3] крановый двигатель 4АС90L6У3
мощностью Pдв=1,8 кВт, частотой вращения
=900 об/мин, моментом инерции ротора
=0,073 кг*м
, диаметр вала d1=24 мм.
3. Выбор
каната
Вес тележки принимаем согласно заданию
тел = 0,3FQ = 0,3*12500 = 4500 Н.
Определим максимальное усилие в канате по формуле:
,
где Gподв - вес крюковой подвески, Н;
подв = 0,03FQ = 0,03*12500 =450Н.

2589 Н.
Выбор стального каната производим по разрушающей нагрузке
≥
,
где K - коэффициент запаса прочности.
Для механизма работающего в режиме 4М K=5,5 (табл.7, [1]).
=5,5*2589=14240Н.
4.
Определение размеров барабана
Для нашего механизма примем нарезной барабан (рис.4.1).
Рисунок 4.1 - Профиль нарезного барабана
Диаметр барабана по дну канавки
≥
,
где е - коэффициент, зависящий от типа привода и режима работы механизма,
принимаем для режима работы 4М е=25 (табл.8 [1]).
5,1*(25-1)=122,4 мм, принимаем из стандартного ряда чисел
125 мм.
Определим размеры профиля винтовой канавки.
Глубина винтовой канавки
c=0,3dкан=0,3*5,1=1,53мм.
Шаг винтовой нарезки p=(1,1…1,2)dкан=(1,1…1,2)*5,1=5,61...6,12,
мм, принимаем р=5,6 мм.
Радиус профиля канавки R=(0,6…0,7)dкан=(0,6…0,7)*5,1=3,06…3,57
мм, принимаем R=3.5 мм.
Принимаем барабан литой конструкции из СЧ15 и определяем толщину стенки
δ=1,2
=6,12 мм.
Рисунок 4.2 - Геометрические параметры барабана
Длина барабана при наматывании одной ветви:
бар=lн + lр + lраз + lкр=p(zp+6),
где lн =1,5р - расстояние до начала нарезки (рис.4.2);
lр =zpp - длина рабочей части барабана;
=
- число рабочих витков
H -
высота подъёма;
lраз=zразр=1,5р - длина части барабана, на которой размещаются
разгружающие витки, регламентированные нормами техники безопасности;
lкр=zкрр=3р - длина части барабана, на которой размещается крепление
каната.
=
15,6;
Lбар=5,6*(15,6+6)=115 мм.
Таким образом, длина барабана меньше его диаметра Lбар< Dбар, принимаем решение об установке барабана без внешней опоры,
т.е. консольно, непосредственно на выходной вал редуктора.
Расчёт на прочность
Напряжение сжатия в стенке барабана
=
≤
,
где
- допускаемое напряжение сжатия, МПа; для материала барабана
чугун СЧ15
130 Н/мм2.
Таким образом, имеем:
=
22,4 Н/мм2.
=22,4 Н/мм2 <
130 Н/мм2.
Проверку прочности на сжатие барабан проходит.
5. Расчёт
блоков
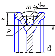
Диаметр блока по дну ручья (рис.5.1)
≥
,
5,1*(25-1)=122.4 мм, принимаем из стандартного ряда чисел
125 мм.
Рисунок 5.1 - Профиль канатного блока
Определим параметры профиля канатного блока (рис.5.1)
Глубина ручья=(2…2,5)dкан=(2…2,5)*5,1=10.2…12,75мм, принимаем h=11,5 мм.
Радиус профиля ручья
R=(0,6…0,7)dкан=(0,6…0,7)*5,1=3,06…3,57
мм, принимаем R=3,5 мм.
Подшипники блоков
Частота вращения отклоняющего блока
30,9 об/мин.
Наибольшая нагрузка на подшипник отклоняющего блока

1812 Н.
где zп - количество подшипников в блоке, принимаем zп =2.
Частота вращения блока подвески крюка

15,5об/мин.
Наибольшая нагрузка на подшипник блока полиспаста

2589 Н.
где zп - количество подшипников в блоке, принимаем zп =2.
Эквивалентная динамическая нагрузка на подшипник блока
Ре = FпVKбKHE ,
где KHE - коэффициент эквивалентности,
принимаем KHE=0,8 (табл.1 [1]);
V=1,2
- коэффициент вращения наружного кольца;
Kб=1,3 - коэффициент безопасности.
Ре =2589*1,2*1,3*0,8 = 3231 Н.
Динамическая грузоподъёмность шарикоподшипника
С≥
5978 Н.
6. Выбор
крюковой подвески
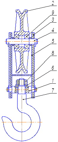
Крюковая подвеска включает в себя (рис.6.1): поперечину 1, блок 2,
грузовую пластину 3, ось блока 4, проушину 5, упорный подшипник крюка 6, крюк
7, гайку крюка 8, подшипники блока 9.
Рисунок 6.1 - Крюковая подвеска
Выбор крюка
С учётом режима работы механизма 5М, выбираем однорогий крюк №8 из стали
20 грузоподъёмностью 1,25 т с размерами D=45 мм, S=36 мм, d=30 мм,
М24,
25 мм, L=125 мм,
35 мм и массой 1,5 кг (табл.V.3.1 [3]).
Рисунок 6.2 - Крюк однорогий
7.
Определение передаточного числа механизма подъёма
Частота вращения барабана
=30,8об/мин.
Необходимое передаточное отношение привода

.
Принимаем стандартное значение передаточного отношения
.
Фактическая скорость подъёма груза

6,3м/с.
Расхождение с заданной скоростью

0.1%
что меньше допускаемых 10%.
8. Выбор
редуктора
Крутящий момент на барабане

0 Н*м.
Наибольший крутящий момент на тихоходном валу редуктора при консольном
расположении барабана

1275 Н*м,
где
- КПД барабана.
Номинальный вращающий момент на выходном валу выбранного редуктора должен
удовлетворять условию
≥
,
где
- эквивалентный момент, Н*м.
,
где
- коэффициент долговечности.
Для зубчатого редуктора коэффициент долговечности
,
где
- коэффициент эквивалентности;
- число циклов нагружения зубьев зубчатого колеса;
- время работы механизма, ч;
- частота вращения быстроходного вала редуктора, об/мин;
- передаточное число тихоходной пары, т.к. оно не известно,
то согласно рекомендациям принимаем
[1];
- базовое число циклов контактных нагружений, принимаем для
типажного редуктора
.
85646123.
По табл. 1 [1] для режима работы 4М и
=8000 ч принимаем
.
.
Для зубчатых редукторов 1,0≤
≥0,5. Полученное значение лежит
в допускаемых пределах
Эквивалентный момент
820Н*м.
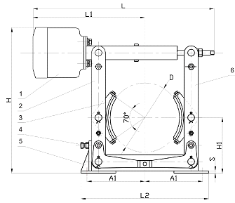
По таблице выбираем редуктор КЦ1-250 с Тн=1000 об/мин.
Проверим консольную нагрузку, действующую на входной вал редуктора от
барабана (рис.8.2)
ном ≥ FmaxKHE(l/B+0,25)=2589*0,63*(110/375+0,25)=890 Н
что меньше допускаемой радиальной консольной нагрузки редуктора по
каталогу Fном=2500Н.
|
awт
|
L
|
L1
|
L2
|
L3
|
L4
|
L5
|
L6
|
L7
|
L8
|
L9
|
L10
|
N отв.
|
B
|
B1
|
B4
|
|
250
|
1170
|
570
|
480
|
-
|
110
|
82
|
110
|
875
|
319
|
110
|
507
|
4
|
375
|
325
|
16
|
|
ØD
|
ØD1
|
ØD2
|
H
|
H1
|
H4
|
|
22
|
50
|
55m6
|
547
|
265
|
60.4
|
9. Выбор
тормоза
полиспаст редуктор подвеска канат
Момент от груза на валу тормозного шкива
,
где
- КПД при обратном движении (движение механизма под
действием груза при отключенном приводе).
Для зубчатого редуктора обратный КПД
,
где
- КПД привода при подъёме груза;
,
где
- КПД полиспаста;
- КПД барабана;
- КПД редуктора;
;
;

Н*м.
Требуемый тормозной момент тормоза
Тт ≥
,
где
- коэффициент запаса торможения при установке одного
стопорного тормоза; для режима 4М
(табл.9 [1]).
Тт=15,7*2=31,4Н*м.
Выбираем тормоз с электромагнитом постоянного тока ТКП-100 с диаметром
тормозного шкива 100 мм, тормозным моментом при ПВ=25% - 1500 Н*м (табл.V.2.20 [3]).
Список
использованных источников
. Снесарев, Г. А., Тибанов, В. П., Зябликов, В. М. Расчёт
механизмов кранов [Текст] / Под ред. Д. Н. Решетова: Учебное пособие. - М.:
Изд-во МГТУ, 1994. - 60 с.
. Александров, М. П. Подъёмно-транспортные машины: Учеб. для
машиностроит. спец. вузов [Текст] / М. П. Александров. - 6-е изд., перераб. -
М.: Высш. шк., 1985. -520 с.
. Гохберг, М. М. Справочник по кранам. Характеристики и
конструктивные схемы кранов. Крановые механизмы, их детали и узлы. Техническая
эксплуатация кранов [Текст] / М. П. Александров [и др.]. Под общ. ред. М. М.
Гохберга: В 2 т. Т.2. - М.: Машиностроение, 1988. -559 с.
. Анурьев, В. И. Справочник конструктора-машиностроителя
[Текст] / В. И. Анурьев: В 3 т. Т.1. - 8-е изд., перераб. и доп. Под ред. И. Н.
Жестковой. - М.: Машиностроение, 2001. -920