Расчет параметров режима короткого замыкания в электрической системе
Министерство
образования и науки Российской Федерации
ФГБОУ ВПО
«Иркутский государственный
технический университет»
ЭНЕРГЕТИЧЕСКИЙ ФАКУЛЬТЕТ
Кафедра электрических станций, сетей
и систем
ПОЯСНИТЕЛЬНАЯ ЗАПИСКА
к курсовой работе по дисциплине:
«Переходные процессы в
электроэнергетических системах»
Расчет параметров режима короткого
замыкания в электрической системе
Выполнил
студент группы ЭС-09-2
Е.
С.Красноштанова
Иркутск 2012
Содержание
Введение
. Расчет токов при трехфазном коротком замыкании
.1 Составление схемы замещения элементов системы
.2 Расчет ударного тока
.3 Расчет полного тока
. Расчет токов при несимметричных КЗ
.1 Составление схем замещения отдельных последовательностей
.2 Расчет ударного тока при однофазном и двухфазном КЗ
.3 Построение векторных диаграмм токов и напряжений в точке
КЗ
.4 Построение векторных диаграмм напряжения КЗ в точке М
Заключение
Список используемых источников
Введение
При проектировании и эксплуатации электрических
установок и систем для решения многих технических вопросов и задач требуется
предварительно произвести ряд расчетов, среди которых заметное место занимают
расчеты электромагнитных переходных процессов и, в частности, процессов при
внезапном коротком замыкании.
Под расчётом электромагнитного переходного процесса
обычно понимают вычисление токов и напряжений в рассматриваемой схеме при
заданных условиях. В зависимости от назначения такого расчета находят указанные
величины для заданного момента времени или находят их изменения в течение всего
переходного процесса. При этом решение обычно проводится для одной или
нескольких ветвей и точек схемы.
Расчёт электромагнитного переходного процесса в
современной электрической системе с учётом всех имеющих место условий и
факторов чрезвычайно сложен и практически невыполним. Поэтому, чтобы упростить
задачу и сделать ее решение практически возможным, вводят ряд допущений.
Последние зависят прежде всего от характера и постановки самой задачи. Те
допущения, которые вполне пригодны при решении одной задачи, могут быть
совершенно неприемлемыми при решении другой.
Каждый из практических методов расчета
электромагнитных переходных процессов, в частности процесса при коротком
замыкании, основан на некоторых допущениях, касающихся преимущественно
возможности использования упрощенных представлений об изменении свободных токов
в сложных схемах с несколькими источниками, о разных способах учета
автоматического регулирования возбуждения синхронных машин и т. п. Здесь же
остановимся только на тех основных допущениях, которые обычно принимают при
решении большинства практических задач, связанных с определением токов и
напряжений при электромагнитных переходных процессах. К числу таких допущений
следует отнести:
а) Отсутствие насыщения магнитных систем. При этом все
схемы оказываются линейными, расчет которых значительно проще; в частности,
здесь могут быть использованы любые формы принципа наложения.
б) Пренебрежение токами намагничивания трансформаторов
и автотрансформаторов. Единственным исключением из этого допущения является
случай, когда трёхстержневой трансформатор с соединением обмоток Yo/Yo включен на напряжение нулевой последовательности.
в) Сохранение симметрии трехфазной системы. Она
нарушается обычно лишь для какого-либо одного элемента, что происходит в
результате его повреждения, или преднамеренно по специальным соображениям.
г) Пренебрежение емкостными проводимостями. Это
допущение обычно является уместным и заметно не искажает результаты решения,
если в рассматриваемой схеме нет продольной компенсации индуктивности цепи, а
также дальних линий передач напряжением выше 220 кВ. При рассмотрении простых
замыканий на землю это допущение, разумеется, совсем непригодно, так как в
данном случае ток замыкается именно через емкостные проводимости.
д) Приближенный учет нагрузок. В зависимости от стадии
переходного процесса нагрузку приближенно характеризуют некоторым постоянным
сопротивлением, обычно чисто индуктивным.
е) Отсутствие активных сопротивлений, Это допущение в
известной мере условно. Оно приемлемо при определении начальных и конечных
значений отдельных величин, характеризующих переходный процесс в основных
звеньях высокого напряжения электрической системы; при этом приближенный учет
активных сопротивлений находит отражение при оценке постоянных времени затухания
свободных составляющих рассматриваемых величин. В тех же случаях, когда
подобный расчет проводится для протяженной кабельной или воздушной сети с
относительно небольшими сечениями проводников (особенно линии со стальными
проводами), а также для установок и сетей напряжением до 1 кВ, данное допущение
непригодно.
ж) Отсутствие качаний синхронных машин. Если задача
ограничена рассмотрением лишь начальной стадии переходного процесса (т. е. в
пределах 0,1-0,2 сек с момента нарушения режима до отключения повреждения), это
допущение обычно не вносит заметной погрешности (особенно в токе в месте
повреждения). Однако при возникновении существенных качаний или выпадении машин
из синхронизма достаточно надежный результат может быть получен лишь с учетом
(хотя бы приближенным) такого процесса.
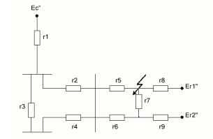
1. Расчет токов при трехфазном коротком замыкании
1.1 Составление схемы замещения элементов системы
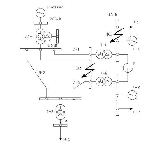
Рис. 1. Расчётная схема электрической системы.
Для нахождения значений токов трёхфазного короткого замыкания необходимо
определить параметры схемы замещения системы для токов прямой
последовательности.
По справочнику [5] находим необходимые для вычислений параметры
оборудования, указанного в задании на курсовую работу.
. Генераторы:
Г1, Г2: ТВФ-63-2;
Рном=63 МВт,
cos φ = 0,8, Uном=10,5 кВ, Хd’’=0,139, X2=0,17, Ta=0,4 с.
2. Трансформаторы и автотрансформаторы:
Т1, Т2: ТДЦ-125000-110/10,5;ном=125 МВА, Uвн=121 кВ, Uнн=10,5
кВ, Рхх=120 кВт, Рк=380 кВт,квн-нн=11%.
АТ4: АТДЦН-250000-230/121/15,75;ном=250 МВА, Uвн=230
кВ, Uсн=121, Uнн=10,5 кВ, Рхх=120 кВт, Рк=500 кВт, uквн-сн=11%, uквн-нн=32%, uксн-нн=20%.
Т3: ТДЦ-250000-110/10,5;ном=250 МВА, Uвн=121
кВ, Uнн=15,75 кВ, Рхх=200 кВт, Рк=640 кВт,квн-нн=10,5%.
. Реактор:
РБА-6/1500-10;H=10 кВ, Iном=1500 A, Xр=6 %, ∆Pк=9,4 кВт.
4. Обобщённые
нагрузки:
Н1: Рн1=40 МВт, cosφ= 0,8;
Н2: Рн2=40 МВт, cosφ= 0,8;
Н5: Рн5=50 МВт, cosφ= 0,8.
5. Воздушные линии электропередач:
Л1: АС-240/32;
U=110
кВ, x0=0,405 Ом/км, r0=0,118 Ом/км., l=30
км;
Л2: АС-240/32 ;
U=110
кВ, x0=0,405 Ом/км, r0=0,118 Ом/км., l=40
км;
Л3: АС-240/32;
U=110
кВ, x0=0,405 Ом/км, r0=0,118 Ом/км., l=20
км.
Для нулевой последовательности Х0/Х1=4,7; r0/r1=
4,7.
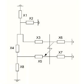
Составляем исходную схему замещения, учитывающую только индуктивные
сопротивления элементов сети. Поскольку в схеме задан источник бесконечной
мощности, то его сопротивление принимаем равным нулю.
Рис. 2. Исходная схема замещения системы
Расчёт токов короткого замыкания будем производить в относительных
единицах с учётом действительных коэффициентов трансформации трансформаторов.
За базисное напряжение основной ступени примем среднее номинальное
напряжение той ступени, где произошло КЗ, т. е. UбI=10,5 кВ.
Базисные напряжения остальных ступеней находятся с учётом коэффициентов
трансформации трансформаторов, находящихся между основной ступенью напряжения и
той, для которой находится базисное напряжение:
Выбираем базисные условия:
SБ
= 1000 МВА;
I БI =
=
= 55 кА;
UБI = 10,5 кВ;БII =
= 121 кВ; БIII =
= 230 кВ.
Определяем параметры элементов в схеме замещения.
Определяем индуктивные сопротивления элементов в схеме замещения для
начального момента короткого замыкания.
. Автотрансформатор АТ-4:
X1=X АТ4В*(Б) =
=
= 0,46 (о.е.);
U КВ = 0,5*(U К ВH + U К ВC - U К СН) = 0,5*(32 + 11 - 20) = 11,5%;
X Т4C*(Б) =
=
= 0 (о.е.);
U КC = 0,5*(U К ВС + U К CН - U К ВН) = 0,5*(11 + 20 - 32) ≈ 0%;
U КН = 0,5*(U К СН + U К ВН - U К ВС) = 0,5*(20 + 32 - 11) = 20,5%.
. Линии электропередачи:
X2=X Л1*(Б) =
* XO * L *
= 1*0,405*30*
= 0,41 (о.е.);
X3=X Л2*(Б) =
* XO * L *
= 1*0,405*40*
= 1,11 (о.е.);
X4=X Л3*(Б) =
* XO * L *
= 1*0,405*20*
= 0,55 (о.е.).
. Трансформаторы:
X5=X6=X Т1*(Б) = X Т2*(Б) =
=
= 0,88 (о.е.).
.Реактор:
X7 = Х Р*(Б) =
=
= 2,1 (о.е.).
.Генераторы:
Х8=Х9=X Г1*(Б) = X Г2*(Б) = X d’’ *
·cosφ= 0,139*
·0,8=1.76(о.е.).
. Обобщенные нагрузки:
Нагрузку в начальный момент КЗ учтём приближённо, считая её сопротивление
.
X10=X11=X н1*(Б)= X н2*(Б) =
=
= 7 (о.е.).
Расчёт сверхпереходных ЭДС источников, питающих точку короткого
замыкания.
Определяем значения сверхпереходных ЭДС источников, питающих точку КЗ.
Доаварийный режим работы генераторов и асинхронных двигателей неизвестен,
поэтому значения ЭДС генераторов определяем из предположения, что до КЗ все
машины работали в номинальном режиме.
В общем виде формула для определения сверхпереходной ЭДС генератора в
относительных единицах при приведении к базисным условиям имеет вид:
EГ’’ =
X Г1 = X Г2 = X d’’ *
= 0,139*
= 0,19 (Ом);
IHГ1 = IHГ2 =
=
= 4,33 (кА);
EГ1’’ = EГ2’’ =
= 11,41 (кВ);
EГ1*(Б)’’ = EГ2*(Б)’’ =
=
= 1,08 (о.е.).
. Обобщённые нагрузки:
Н1:
Нагрузку в начальный момент КЗ учтём приближённо, считая её ЭДС равной
. Тогда:
EН1*(Б)’’ = EН2*(Б)’’ =
=
= 0,85 (о.е.).
. Система:
Eс*(Б)’’ =
=
= 1 (о.е.).
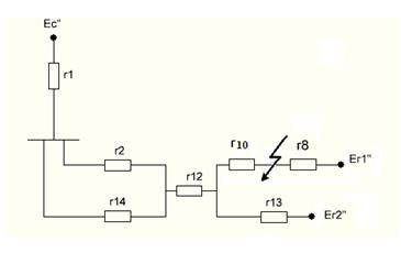
Эквивалентирование схемы замещения относительно точки короткого
замыкания.
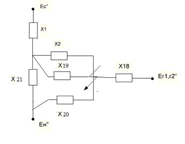
Рис.3 Схема замещения с новыми обозначениями
Сворачиваем схему замещения относительно точки КЗ. Для схемы замещения на
рисунке 3 проведём преобразования для сопротивлений, соединённых
последовательно:
X 12 = X 3 + X 4 = 1,11 + 0,55 = 1,66 (о.е.);
X13 =
=
= 0,2 (о.е.);
X14 =
=
= 0,48 (о.е.);
X15 =
=
= 0,48 (о.е.);
X16 =
=
= 1,41 (о.е.).
Найдем эквивалентное ЭДС Eэкв.1”:
Eэкв.1’’ =
=
= 1,03 (о.е.).
Очевидно, что сопротивления Х2 и Х12 окажутся
соединёнными параллельно. Тогда:
X17 =
=
= 0,33 (о.е.).
В свою очередь, полученное сопротивление Х14 будет соединено
последовательно с сопротивлениемХ16. Таким образом:
X
18 = X 15 + X 16 = 0,48 + 1,41 = 1,89 (о.е.).
Сопротивления Х1, Х17 и Х13 будут
соединены таким образом получим:
X
19 = X 1 + X 17 +Х13 = 0,46+0,33+0,2=0,99
(о.е).
Из схемы замещения видно, что сопротивления Х19 и Х18
параллельны. Тогда:
X20 =
=
= 0,65 (о.е.).
Нужно так же сэквивалентировать E” и Е”экв.1, при этом получим:
Eэкв.2̋ =
=
= 1,01 (о.е.).
Получившееся сопротивление Х20 и Х15 последовательны:
X
21 = X 20 + X 14= 0,65+0,48= 1,13 (о.е).
Закончив эквивалентирование к точке короткого замыкания получилась
трехлучевая звезда.
Рис. 4. Схема замещения системы после окончания эквивалентирования
1.2 Расчёт ударного тока трёхфазного короткого замыкания
Вначале определим действующее значение периодической составляющей тока КЗ
в начальный момент времени.
IПО
=
* IБI =
* 55 = 89,32 (кА).
Далее нужно найти коэффициенты токораспределения и взаимные
сопротивления.

С0 = 1;
С1 =
* C0=
* 1 = 0,34;
С2 =
* C0=
* 1 = 0,66;
С3 =
* C1=
* 0,34 = 0,07;
С4 =
* C1=
* 0,34 = 0,27.
Проверка:
С1+С2=С0
,34+0,66=1;
С3+С4=С1
,07+0,27=0,34
Сопротивление системы относительно точки КЗ:
XВЗс =
=
= 1,71 (о.е.).
Сопротивление генератора Г2 относительно точки КЗ:
XВЗГ2 =
=
= 4,2 (о.е.).
Сопротивление нагрузки Н2 относительно точки КЗ:
XВЗН2 =
=
= 16,14 (о.е.).
Сопротивление генератора Г1 относительно точки КЗ:
ХВЗГ1=Х8=1,76 (о.е).
Сопротивление нагрузки Н1 относительно точки КЗ:
ХВЗН1=Х10=7 (о.е).
Для определения ударного тока вначале необходимо определять активные
сопротивления элементов схемы замещения и таким же образом, как мы это делали с
индуктивными сопротивлениями, производить эквивалентирование полученной схемы.
Сначала находим все активные сопротивления.
. Автотрансформатор:
r1
=
=
= 0,008 (о.е.).
. Воздушные линии:
r2 =
* r0 * L *
=
*0,118*30*
= 0,12 (о.е.);
r3 =
*
r0 * L *
=
1*0,118*40*
= 0,32 (о.е.);4 =
* r0 * L *
=
1*0,118*20*
= 0,16 (о.е.).
.
Трансформаторы:
r5 = r6 =
=
= 0,024
(о.е.).
.
Реактор:
r7 =
=
= 0,022 (о.е.).
.
Нагрузка:
Сопротивление
нагрузки не учитываем, т.к. она далеко от точки короткого замыкания, поэтому kуд=1.
.
Генераторы:
r8 = r9 =
=
= 0,014
(о.е.).
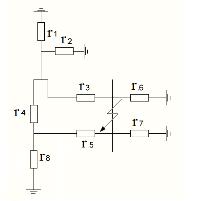
Рис.
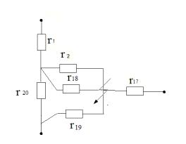
5. Схема замещения системы
Сворачиваем
схему замещения относительно точки КЗ. Для схемы замещения на рисунке 8
проведём преобразования для сопротивлений, соединённых в треугольник:
r10 =
=
= 0,0075 (о.е.);
r11 =
=
= 0,0075 (о.е.);
r12 =
=
= 0,0082 (о.е.).
Далее
сложим последовательные сопротивления:
r13 = r11+ r9= 0,0075 + 0,014 = 0,0215 (о.е.);
r14=r3+r4=0,32+0,16=0,48 (о.е).
Из
рисунка 9 видно, что сопротивления r2 и r4
параллельны.
r15 =
=
= 0,096 (о.е.).
Сопротивления
r1, r12 и r15 идут
последовательно.
r16 = r1+ r15 +r12= 0,008
+ 0,096 +0,0082= 0,112 (о.е.);
r17 =
=
= 0,018 (о.е.).
Сопротивления
r17 и r11
последовательны, следовательно
r18 = r17+ r10 = 0,018 + 0,0075 = 0,0255 (о.е.).
Найдем
эквивалентную ЭДС:
EЭКВ’’ =
=
= 1,067 (о.е.).
Рис.
6. Эквивалентная схема замещения
Находим
коэффициенты токораспределения.
С0=1;
С1
=
=
= 0,16;
С2
=
=
= 0,84;
Проверка:
С0=С1+С2
0,16+0,84=1.
Сопротивление
системы относительно точки КЗ:
rВЗс =
=
= 0,159 (о.е.).
Сопротивление
генератора Г2 относительно точки КЗ:
rВЗг2 =
=
= 0,03 (о.е.).
Определим
эквивалентная постоянная времени:
Для
генератора Г2:
Taэ Г1
=
=
= 0,446
(с).
Для
системы:
Taэ С
=
=
= 0,034
(с).
Итак,
определим значение ударного коэффициента для каждой ветви.
Для
ветви с генератором Г2 ударный коэффициент равен:
КУДГ2
= 1 +
= 1 +
= 1,98.
Для
ветви с генератором Г2 ударный коэффициент равен:
КУДГ1
= 1 +
= 1 +
= 1,975.
Для
системы ударный коэффициент равен:
КУДC = 1 +
= 1 +
= 1,74.
Для
ветви с обобщённой нагрузкой примем ударный коэффициент равным единице:
.
Таким
образом, ударные токи короткого замыкания:
IПОГ1 =
=
= 0,61 (о.е);
IПОГ2 =
=
= 0,26 (о.е);
IПОН=
=
= 0,12 (о.е);
IПОС =
=
= 0,57 (о.е);
· от генератора Г1:
iУГ1
=
* IПОГ1 * КУДГ1 =
* 1,975 * 0,61 = 1,7 (о.е);
· от генератора Г2:
iУГ2
=
* IПОГ2 * КУДГ2 =
* 1,98 * 0,26 = 0,73 (о.е);
· от нагрузки:
iУН
=
* IПОН * КУДН =
* 1 * 0,12 =0,17 (о.е);
· от системы:
iУC =
* IПОC * КУДC =
* 1,74 * 0,57 =1,4 (о.е).
Определим полный ударный ток в месте КЗ в относительных единицах:
iУ∑
= iУГ1 + iУГ2 + iУГН + iУГС = 0,17 + 0,73 + 1,4 + 1,7 = 4 (о.е).
Ударный ток в месте короткого замыкания в именованных единицах:
iУ∑
=( iУГ1 + iУГ2 + iУГН + iУГС)*Iб* =(0,17 + 0,73 + 1,4 + 1,7)*55=220
(кА).
1.3 Расчёт полного тока
Данный метод основан на применении специальных кривых, которые дают для
произвольного момента переходного процесса значение периодической составляющей
тока в месте КЗ в функции от расчётного индуктивного сопротивления:
Рис. 7. Схема, позволяющая определить ток от источника методом расчётных
кривых
В общем случае для расчёта полного тока методом расчётных кривых
необходимо составить схему замещения без учёта нагрузок. Исключение составляют
крупные синхронные компенсаторы и двигатели, находящиеся вблизи точки КЗ,
которые в таком случае рассматриваются как генераторы равновеликой мощности.
Итак, без учёта нагрузки получим следующую схему замещения:
Для каждой выделенной ветви определим коэффициент токораспределения:
С0 = 1;
С1 =
=
= 0,3;
С2 =
=
= 0,7.
Определим величину эквивалентных сопротивлений без учета нагрузки:
Х19=0,99 (о.е);
Х16=Х15+Х9= 0,48+1,76=2,24 (о.е);
X18 =
=
= 0,69 (о.е.);
Хэкв.= X18+Х14=0,69+0,48=1,17
(о.е.).
Определяем взаимные сопротивления генератора Г1 и системы:
ХВЗГ2=Х20 =
=
= 3,9 (о.е.);
ХВЗC=Х21
=
=
= 1,7 (о.е.).
Определим расчетные сопротивления генераторов Г1 и Г2:
ХРАСЧ = ХВЗ *
;
ХРАСЧ Г1 = Х8 *
= 1,76*
= 0,14 (о.е.);
ХРАСЧ Г2 = Х20 *
= 3,9 *
= 0,31 (о.е.).
Относительные значения периодической составляющей тока КЗ через 0,2
секунды после его возникновения определяем по расчётным кривым:
· для ветви с генератором Г1 I *Пτ Г1 = 4,35 (по расчетным кривым);
· для ветви с генератором Г2 I *Пτ Г2 = 2,55 (по расчетным кривым).
Ток от источника бесконечной мощности определится следующим образом:
Ic =
=
= 32,35 (кА).
Теперь найдём искомую величину периодической слагающей тока короткого
замыкания для заданного момента времени 0,2 с в именованных единицах:
I пτ = I *Пτ Г1 *
+ I *Пτ Г2 *
+ Ic ; пτ = 4,35*
+ 2,55 *
+ 32,35=71,68 (кА).
Теперь рассчитаем значения апериодической составляющей тока КЗ к моменту
времени 0,2 с для каждой ветви.
Iaτ =
* IПО * e -t/Ta
Апериодическая составляющая тока КЗ в ветви с генератором Г1:
IaτГ1 =
* IПОГ1 * e -t/Taг1 =
0,12 *
= 0,1 (о.е).
Апериодическая составляющая тока КЗ в ветви с генератором Г2:
IaτГ2 =
* IПОГ2 * e -t/Taг2 =
0,26 *
= 0,235 (о.е).
Апериодическая составляющая тока КЗ от системы:
IaτС =
* IПОС * e -t/Taс =
0,58 *
= 0,0023 (о.е).
Апериодическая составляющая тока через 0,2 с в точке КЗ в именнованных
единицах:
Iaτ∑ = IaτГ1*Iб + IaτГ2 *Iб + Iaτc *Iб = 0,1*55 + 0,235*55 + 0,0023*55 = 18,57 (кА).
Полный ток в месте КЗ через 0,2 с в именованных единицах:
I kτ =
= 74 (кА).
2. Расчёт токов несимметричных
коротких замыканий
.1 Составление схем замещения отдельных последовательностей
Для определения токов и напряжений при несимметричных КЗ используется
метод симметричных составляющих и уравнения второго закона Кирхгофа. Полученные
на этой основе формулы приводят к правилу эквивалентности прямой
последовательности, показывающему, что ток прямой последовательности любого
несимметричного КЗ может быть определён как ток при трёхфазном КЗ в точке,
удалённой от действительной точки КЗ на дополнительное сопротивление,
определяемое видом КЗ.
Для расчёта дополнительного сопротивления необходимо знать эквивалентные
сопротивления схем замещения для токов обратной и нулевой последовательностей
относительно точки КЗ, поэтому расчёт несимметричных КЗ следует начинать с
составления соответствующих схем замещения.
Схема замещения прямой последовательности идентична схеме, составленной
для расчёта токов трёхфазного короткого замыкания. Отличие только в том, что в
точке КЗ подключен условный источник с напряжением, равным напряжению прямой
последовательности в точке КЗ. Для определения сверхпереходного и ударного тока
генераторы, двигатели и обобщённая нагрузка вводятся своими сверхпереходными
ЭДС и сопротивлениями.
Поскольку напряжение прямой последовательности в любой точке схемы при
несимметричном КЗ всегда выше, чем при трёхфазном коротком замыкании в том же
месте, то подпитывающий эффект нагрузки и двигателей при несимметричных КЗ
проявляется слабее, чем при трёхфазных. Поэтому при определении ударного тока
несимметричного КЗ можно пренебречь нагрузками и двигателями за исключением
достаточно мощных двигателей, непосредственно подключенных к точке КЗ.
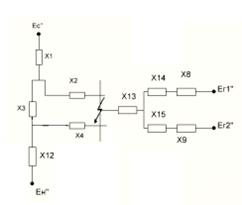
Исключим из исходной схемы замещения нагрузку Н1 и Н2 и вновь свернём её
относительно точки КЗ.
Рис. 8. Схема замещения системы для токов прямой последовательности без
учёта нагрузки
Х1=0,46 (о.е);
Х2=0,41 (о.е);
Х3=1,11 (о.е);
Х4=0,55 (о.е);
Х5= Х6=0,88 (о.е);
Х7=2,1 (о.е);
Х8=1,76 (о.е);
Х9=1,76 (о.е);
X 10 =XT3*(Б) =
=
= 0,42 (о.е.);
X11=X н5*(Б)=
=
= 5,6 (о.е.).
Сворачиваем
схему замещения относительно точки КЗ. Для схемы замещения на рисунке 14
проведём преобразования для сопротивлений, соединённых последовательно:
X12 = X 11 + X 10 = 5,6 + 0,42= 6,02 (о.е.).
Очевидно,
что сопротивления Х6, Х5 и Х7 окажутся
соединёнными в треугольник. Тогда:
Х13=0,2
(о.е);
Х14=0,48
(о.е);
Х15=0,48
(о.е).
Как
видно из схемы замещения, сопротивления Х14, Х8 и Х15,
Х9 соединены соответственно последовательно. Тогда:
X16 = X 14
+ X 8 = 0,48 + 1,76= 2,24 (о.е.);
X17 = X 15 + X 9 = 0,48 + 1,76= 2,24 (о.е.).
Видно,
что сопротивления Х16 и Х17 соединены параллельно и последовательно
с Х13. Тогда:
X18=
=
= 1,14 (о.е.).
Определим
эквивалентную ЭДС генераторов:
Eг1,г2’’ =
=
= 1,08 (о.е.).
Из
схемы замещения видно, что сопротивления Х3, Х4, и Х12
соединены в звезду, нужно преобразовать звезду в треугольник.
X19 = X 3 + X 4
+
= 1,11 + 0,55+
= 1,76 (о.е.);
X20 = X 4+ X 12
+
= 0,55 + 6,02+
= 9,55 (о.е.);
X21 = X 3 + X 12+
= 1,11 + 6,02+
= 19,3 (о.е.).
Разрываем
ЕН5 и получается, что сопротивления Х21 параллельно
Х1,
сопротивление Х20 параллельно Х18, сопротивление Х19
параллельно Х2.
X22=
=
= 0,33 (о.е.);
X23=
=
= 1,02
(о.е.).
X24=
=
= 0,45 (о.е.);
Сэквивалентируем
ЭДС:
Eэкв1’’ =
=
= 0,92(о.е.);экв2’’ =
=
= 1,05 (о.е.).
Получили
следующую схему замещения:
Сопротивления
Х23 и Х22 соединены последовательно. Тогда:
X25=Х23+Х22 =0,33+1,02=1,35 (о.е.);
Сопротивления
X25 и X24
параллельны:
Xэкв=
=
= 0,34 (о.е.).
Эквивалентная
ЭДС:
Eэкв3’’ =
=
= 1,03 (о.е.).
Получили
следующую схему замещения:
Рис.9.
Эквивалентная схема замещения
Найдем
эквивалентное активное сопротивление прямой последовательности.
При
определении эквивалентного активного сопротивления, ЭДС не считаем.
Рис.
10. Исходная схема замещения, для определения эквивалентного активного
сопротивления
Сначала
находим все активные сопротивления.
.
Автотрансформатор:
r1 =
=
= 0,008 (о.е.).
.
Воздушные линии:
r2 =
*
r0 * L *
=
*0,118*30*
= 0,12 (о.е.);3 =
* r0 * L *
=
1*0,118*40*
= 0,32 (о.е.);4 =
* r0 * L *
=
1*0,118*20*
= 0,16 (о.е.).
.
Трансформаторы:
r5 = r6 =
=
=
0,024 (о.е.).10
=
=
= 0,01 (о.е.).
.
Реактор:
r7 =
=
= 0,022 (о.е.).
.
Нагрузка:
Сопротивление
нагрузки не учитываем, т.к. она далеко от точки короткого замыкания, поэтому kуд=1.
r8 = r9 =
=
= 0,014
(о.е.).
Начинаем
эквивалентировать схему к точке КЗ.
Эквивалентирование
аналогично экивалентированию схемы с индуктивными сопротивлениями.
Сопротивления
r5, r6 и r7 соединены
в треугольник, их сэквивалентируем в звезду. Тогда:
r12=
=
= 0,0082 (о.е.);
r13=
=
= 0,0075 (о.е.);
r14=
=
= 0,0075 (о.е.);
r15= r13+ r8= 0,0075 + 0,014 = 0,0215 (о.е.);
r16= r14+ r9= 0,0075 + 0,014 = 0,0215 (о.е.).
Сопротивления
r15 и r16 параллельны.
r17 =
=
= 0,01 (о.е.).
Получили
следующую схему замещения:
Из
схемы замещения видно, что сопротивления r5, r4, и r10
соединены в звезду, нужно преобразовать
звезду в треугольник.
r18 = r 3 + r 4
+
= 0,32 + 0,16+
= 5,6 (о.е.);
r19 = r 4+ r 10
+
= 0,16 + 0,01+
= 0,175 (о.е.);
r20 = r 3 + r 10+
= 0,32 + 0,01+
= 0,35 (о.е.).
Разрываем
сеть и получаем, что r18 параллельно r2, r20 параллельно
r1, а r19 параллельно r17.
r21=
=
= 0,117 (о.е.);
r22=
=
= 0,009
(о.е.).
r23=
=
= 0,008 (о.е.);
Получили
схему замещения:
Сопротивления
r23, r21 соединены последовательно, а между собой они
параллельны. Тогда получим:
r24= r21+ r23= 0,117 + 0,008 = 0,125 (о.е.);
rэкв =
=
= 0,0084 (о.е.).
Получаем
эквивалентное сопротивление:
Схема
замещения обратной последовательности по структуре аналогична схеме прямой
последовательности, но ЭДС генерирующих элементов в ней отсутствуют; к точке КЗ
подключен условный источник с напряжением, равным напряжению обратной
последовательности в точке КЗ.
Принципиально
сопротивления обратной и прямой последовательностей элементов с вращающимися
магнитосвязанными цепями (синхронные и асинхронные машины) не равны. Однако
поскольку это неравенство само по себе незначительно, мало влияет на
результирующее сопротивление схемы, им в практических расчётах часто
пренебрегают. Так поступим и в данной работе. Следовательно, сопротивления всех
элементов схем прямой и обратной последовательностей будут равны, значит X1∑ = X2∑ = 0,34 (о.е.), r1∑
= r2∑ = 0,0084 (о.е.) , и
рассчитывать результирующее сопротивление схемы обратной последовательности не
нужно.
Рис.
11. Эквивалентная схема замещения системы для токов обратной последовательности
Схема
нулевой последовательности отличается от схем прямой и обратной
последовательностей. Ток нулевой последовательности, по существу, является
однофазным током, разветвлённым между тремя фазами и возвращающимся через землю
и параллельные ей цепи. Поэтому путь токов нулевой последовательности резко
отличается от пути токов прямой и обратной последовательности. Конфигурация
схемы нулевой последовательности определяется соединением обмоток
трансформаторов и режимом работы их нейтралей (заземлённая или изолированная
нейтраль). При отсутствии емкостной проводимости (этой проводимостью в схемах,
рассматриваемых в данной работе, можно пренебречь) токи нулевой
последовательности потекут лишь в сторону элементов, электрически связанных с
точкой КЗ, обмотки фаз которых соединены в звезду с заземлённой нейтралью.
Следовательно, только эти элементы войдут в схему нулевой последовательности.
Протекая по обмоткам трансформаторов, соединённым в звезду с заземлённой
нейтралью, токи нулевой последовательности наводят в других обмотках
трансформаторов ЭДС нулевой последовательности. Но ток нулевой
последовательности возникает в этих обмотках, если они соединены в треугольник
(при этом ток будет циркулировать по треугольнику, не выходя из него) или в
звезду с заземлённой нейтралью, к которой подключен элемент, также имеющий
заземлённую нейтраль.
В
данной работе принимается, что обмотки генераторов, обобщённой нагрузки
соединены в треугольник или в звезду с изолированной нейтралью. Поэтому эти
элементы в схему замещения нулевой последовательности входить не будут.
Сопротивления нулевой последовательности трансформаторов и автотрансформаторов
определяются их конструкцией и соединением обмоток.
Таким
образом, составим схему замещения нашей системы без учёта генераторов и
нагрузки. На схеме опустим индексы *0(б), указывающие на то, что это
сопротивления нулевой последовательности, выраженные в относительных единицах с
приведением к базисным условиям схемы
Проведём
пересчёт сопротивлений линий для нулевой последовательности:
X 3 = 0,41 *
4,7 = 1,93 (о.е.);
X 4 = 1,11 *
4,7 = 5,22 (о.е.;)
X 5 = 0,55 *
4,7 = 2,6 (о.е.).
Сопротивление
автотрансформатора:
X 1 = X ТВ =0,46 (о.е.);
X 2 = X ТН =
=
= 0,82 (о.е.).
Сопротивления
трансформаторов Т1 и Т2 осталось прежним :
Х6=Х7=Хт1=ХТ2=0,0,88
(о.е).
Сопротивление
трансформатора Т3:
Х8=ХТ3=0,42
(о.е).
Рис.
12. Исходная схема замещения системы для токов нулевой последовательности
Сворачиваем
данную схему относительно точки возникшей несимметрии. В расчётах будем
опускать индекс 0, подразумевая, что все расчёты ведутся для
сопротивлений нулевой последовательности.
Вычислим
сопротивление обмоток ВН и НН автотрансформатора АТ-4 и трансформаторов Т1 и Т2
включенных на параллельную работу:
X9=
=
= 0,44 (о.е.);
X10=
=
= 0,3 (о.е.).
Преобразуем
звезду сопротивлений Х4, Х8 и Х5 в
эквивалентный треугольник:
X11= X 5 + X 4
+
=
5,22 + 2,6
= 40,13 (о.е.);
X12= X5 + X 8
+
=
2,6 + 0,42
= 3,23 (о.е.);
X13= X 4 + X 8
+
=
5,22 + 0,42
= 6,48 (о.е.).
Параллельные
сопротивления равны:
X14=
=
= 0,38 (о.е.);
X15=
=
= 0,29 (о.е.).
X16=
=
= 1,84 (о.е.).
Получаем
схему:
Сопротивления
Х15 и Х16 соединены последовательно. Тогда:
X17=Х15+Х14 =0,29+1,84=2,13 (о.е.);
Сопротивления
X25 и X24
параллельны:
X0экв=
=
= 0,32
(о.е.).
Рис.
13. Эквивалентная схема замещения для нулевой последовательности
Расчет
активного сопротивления.
Проведём
пересчёт сопротивлений линий для нулевой последовательности:
r3 = 0,12 * 4,7 = 0,564 (о.е.);
r 4 = 0,32 *
4,7 = 1,5 (о.е.);
r 5 = 0,16 *
4,7 = 0,75 (о.е.).
Сопротивление
автотрансформатора:
r 1 = r ТВ =0,008 (о.е.);
r2 = rАТН =
=
=
0,000017(о.е.)
Сопротивления
трансформаторов Т1 и Т2 осталось прежним :
r6=r7=rт1=rТ2=0,024
(о.е).
Сопротивление
трансформатора Т3:
Х8=ХТ3=0,01
(о.е).
Рис.
14. Исходная схема замещения системы для токов нулевой последовательности
Сворачиваем
данную схему относительно точки возникшей несимметрии. В расчётах будем
опускать индекс 0, подразумевая, что все расчёты ведутся для
сопротивлений нулевой последовательности.
Вычислим
сопротивление обмоток ВН и НН автотрансформатора АТ-4 и трансформаторов Т1 и Т2
включенных на параллельную работу:
r9=
=
= 0,012 (о.е.);
r10=
=
= 0,0000169 (о.е.).
Преобразуем
звезду сопротивлений r8 - r4 - r5 в
эквивалентный треугольник:
r11= r 4 + r 5
+
=
1,5 + 0,75
= 114,75
(о.е.);
r12= r 5 +r 8
+
=
0,75+ 0,01
= 0,765 (о.е.);
r13= r 4 + r 8
+
=
1,5 +
= 1,53 (о.е.).
Параллельные
сопротивления равны:
r14=
=
= 0,012 (о.е.);
r15=
=
= 0,0000169 (о.е.).
r16=
=
= 0,000043 (о.е.).
Получаем
схему:
r17= r16+ r15= 0,0000169 + 0,000043 = 0,00006 (о.е.);
Находим
эквивалентное сопротивление:
rэкв =
=
= 0,00006 (о.е.).
Рис.
13. Эквивалентная схема замещения для нулевой последовательности
2.2
Расчёт ударного тока при однофазном и двухфазном КЗ
Однофазное
короткое замыкание
Рассчитаем
дополнительное сопротивление для однофазного КЗ:
x∆ = x2∑ +
x0∑ =
0,34 + 0,32 = 0,66 (о.е.);
r∆ = r2∑ +
r0∑ =
0,0084 + 0,00006 = 0,00846 (о.е.).
Таким
образом, ток прямой последовательности в месте однофазного КЗ:
IП0А1 =
* IБ1=
* 55 =
56,65 (кА).
Коэффициент
для однофазного КЗ
. Ударный ток в месте КЗ определяем по той же формуле,
что и для симметричного короткого замыкания:
iУ =
* IП0А1 * m * KУД.
Ударный
коэффициент может быть найден по формуле:
Ta =
=
= 0,188
(с);
KУД = 1 +
= 1 +
= 1,95.
Ударный
ток в именованных единицах:
iУ =
* IП0А1 * m * KУД =
* 56,65 * 3 * 1,95= 468,7 (кА).
Двухфазное
короткое замыкание на землю
Рассчитаем
дополнительное сопротивление для двухфазного КЗ на землю:
x∆ =
=
= 0,165 (о.е.);
r∆ =
=
= 0,00006 (о.е.).
Таким
образом, ток прямой последовательности в месте двухфазного КЗ на землю:
IП0А1 =
* IБ1=
* 55 =
112,2 (кА).
Коэффициент
для двухфазного КЗ на землю:
m =
*
=
*
= 1,5.
Ударный
коэффициент может быть найден по формуле:
где
постоянная времени:
Ta =
=
= 0,19
(с);
KУД = 1 +
= 1 +
= 1,95.
Ударный
ток в именованных единицах:
iУ =
* IП0А1 * m * KУД =
* 112,2 * 1,5 * 1,95 = 464,12 (кА).
2.3
Построение векторных диаграмм токов и напряжений в точке КЗ
ток замыкание напряжение электроэнергетический
Точка M отмечена на схеме электрической
системы (рисунок 1).
Расчёт симметричных составляющих тока и напряжения в точке короткого
замыкания.
Расчёт тока прямой последовательности в месте КЗ для заданного момента
времени методом расчётных кривых производится аналогично расчёту трёхфазного
КЗ, но с учётом дополнительного сопротивления
.
Однофазное короткое замыкание.
Токи прямой, обратной и нулевой последовательности одинаковы и равны:
I КА1 = I КА2 = I КА0 = 56,65 (кА).КА = 3 * I КА1 =
3 * 56,65 = 170 (кА).КB = I КC = 0 (кА).
Напряжения обратной, нулевой и прямой последовательности:
UКА2 =
* X2∑ * UБ1 =
* 0,34 * 121 = 42,4 (кВ);
UКА0 =
* X0∑ * UБ1 =
* 0,32 * 121 = 40(кВ);
U КА1 = - (U КА2 + U КА0) = - (42,4 + 40) = - 82,4 (кВ).
Двухфазное короткое замыкание на землю.
Токи прямой, обратной и нулевой последовательности равны:
I КА1 = 112,2 (кА);
КА2 = - I КА1 *
= - 112,2 *
= - 54,4 (кА);КА0 = - I КА1 *
= - 112,2 *
= - 57,8 (кА);КА = 0 (кА);КB = m * I КА1 = 1,5 * 112,2= 168,3 (кА); КC = m * I КА1 = 1,5 * 112,2 = 168,3 (кА).
Напряжения обратной, прямой и нулевой последовательности одинаковы и
равны:
UКА1 = UКА2 = UКА0 =
*
* UБ2 =
*
* 121 = 40,7 (кВ);
UКА
= 3 * 40,7 = 122,1
(кВ);
UКВ
= UКС = 0 (кВ).
.4 Построение векторных диаграмм напряжения КЗ в точке М
Точка М находится за трансформатором относительно точки КЗ.
При переходе через трансформатор с нечеткой группой соединений со стороны
обмотки соединений в звезду на сторону обмотки, соединенной в треугольник,
векторы симметричных составляющих прямой последовательности смещаются на угол -
30º∙N; обратной последовательности - на угол +30º∙N, т.е.
=
∙
∙
;
=
∙
∙
,
где
nл -
линейный коэффициент трансформации, равный отношению номинальных линейных
напряжений трансформатора.
Нулевая
последовательность при переходе через трансформатор не идет.
Заключение
При выполнении курсовой работы по дисциплине «Переходные процессы в
электроэнергетических системах. Электромагнитные переходные процессы» были
рассчитаны значения токов короткого замыкания в электроэнергетической системе:
действующее значение периодической составляющей, ударный ток, значение полного
тока в заданный момент времени в режиме трехфазного короткого замыкания, а
также ударный ток в режиме двухфазного короткого замыкания на землю. Для режима
несимметричного короткого замыкания рассчитаны величины токов и напряжений
прямой, обратной и нулевой последовательностей и построены векторные диаграммы
токов и напряжений фаз в месте короткого замыкания и точке удаленной от места
КЗ.
В ходе работы были отработаны навыки использования расчетных методов,
применяемых для расчетов параметров режимов короткого замыкания: метод
коэффициентов токораспределения, расчетных кривых, симметричных составляющих.
Список используемых источников
1. Ульянов
С.А. Электромагнитные переходные процессы в электрических системах: Учебник для
электротехнических и энергетических вузов и факультетов / С.А. Ульянов. - Изд.
2-е, стер. - М.: ООО «ТИД «АРИС», 2010. - 520 с.: с илл.
2. МУ по
выполнению курсовой работы по электромагнитным переходным процессам.
Электронный ресурс. Снопкова Н.Ю. - 2012 г.
. РД
153-34.0-20.527-98. Руководящие указания по расчету токов короткого замыкания и
выбору электрооборудования.