Разработка расходомера переменного перепада давления с трубой Вентури

  • Вид работы:
    Курсовая работа (т)
  • Предмет:
    Физика
  • Язык:
    Русский
    ,
    Формат файла:
    MS Word
    526,31 Кб
  • Опубликовано:
    2013-03-13
Вы можете узнать стоимость помощи в написании студенческой работы.
Помощь в написании работы, которую точно примут!

Разработка расходомера переменного перепада давления с трубой Вентури

Содержание

Определения

Обозначения и сокращения

Введение

1. Корреляционные расходомеры

2. Измерение расхода среды методом переменного перепада давления

3. Теплофизические характеристики измеряемой среды

4. Расчет ТФХ водяного пара

5. Расчет диаметра СУ

6. Выбор дифманометра и проектирование СУ

7. Метрологические характеристики спроектированного расходомера

Заключение

Список использованных источников

Определения

Применены термины по ГОСТ 8.586.1-5-2005.

1.      Расход - это количество вещества, протекающее через данное сечение в единицу времени.

.        Расходомер - прибор, измеряющий расход вещества, называется.

.        Преобразователь расхода - устройство, непосредственно воспринимающее измеряемый расход (например, диафрагма, сопло, напорная трубка) и преобразующее его в другую величину (например, в перепад давления), которая удобна для измерения.

.        Перепад давления на сужающем устройстве - разность между значениями статического давления среды до и после сужающего устройства с учетом разности высоты положения отверстий для отбора давления до и после сужающего устройства.

.        Сужающее устройство - техническое устройство, устанавливаемое в измерительном трубопроводе, со сквозным отверстием для создания перепада давления среды путем уменьшения площади сечения трубопровода (сужения потока).

.        Стандартное сужающее устройство - сужающее устройство, геометрические характеристики и условия применения которого регламентированы настоящим стандартом, ГОСТ 8.586.2 - ГОСТ 8.586.4.

.        Отверстие стандартного сужающего устройства - круглое отверстие сужающего устройства, соосное трубопроводу при установке сужающего устройства в трубопровод.

.        Труба Вентури - тип стандартного сужающего устройства, которое состоит их входного цилиндрического участка, сходящейся конической части, горловины и расходящейся конической части.

.        Диаметр отверстия сужающего устройства - диаметр части отверстия сужающего устройства, имеющий минимальную площадь поперечного сечения.

.        Относительный диаметр отверстия сужающего устройства - отношение диаметра отверстия сужающего устройства к внутреннему диаметру измерительного трубопровода перед сужающим устройством, рассчитываемое по формуле .

.        Пьезометрическая кольцо - кольцевая трубка, соединенная с трубопроводом через несколько отверстий, расположенных по окружности трубопровода.

.        Объемный расход среды - объем среды при рабочих условиях,

Протекающий через отверстие сужающего устройства в единицу времени.

.        Массовый расход среды - масса среды, протекающей через отверстие сужающего устройства в единицу времени.

.        Число Рейнольдса - отношение силы инерции к силе вязкости потока, рассчитываемое по формуле

.        Показатель адиабаты (изоэнтропии) газа - отношение относительного изменения давления к соответствующему относительному изменению плотности газа в процессе изменения его состояния без теплообмена с окружающей средой.

Примечание - Значение показателя адиабаты зависит от типа газа, его температуры и давления. Показатель адиабаты используют в формулах для расчета коэффициента расширения.

.        Коэффициент истечения - отношение действительного значения расхода жидкости к его теоретическому значению, вычисляемое по формуле


Значение коэффициента скорости входа E определяют по формуле


Примечание - произведение C·E называется "коэффициентом расхода".

.        Коэффициент расширения - поправочный коэффициент, учитывающий уменьшение плотности газа, обусловленное уменьшением его статического давления после сужающего устройства или в его горловине.

Примечание - Коэффициент расширения равен единице, если измеряемая среда - жидкость, и меньше единицы, если измеряемая среда -газ.

.        Неопределенность - параметр, связанный с результатом измерений и характеризующий рассеяние значений, которые могли бы быть обоснованно приписаны измеряемой величине.

Обозначения и сокращения

Дифманометр - дифференциальный манометр;

ИТ - измерительный трубопровод;

СУ - сужающее устройство;

ТВ - труба Вентури;

ТФХ - теплофизические характеристики;

CИ - средство измерения.

Таблица 1 - Условные обозначения величин

Обозначение

Наименование величины

Единица величины

C

Коэффициент истечения

1

d

Диаметр отверстия сужающего устройства при рабочей температуре среды

м

d20

Внутренний диаметр измерительного трубопровода или входной части трубы Вентури при рабочей температуре среды

м

D

Внутренний диаметр измерительного трубопровода или входной части трубы Вентури при рабочей температуре

м

D20

Внутренний диаметр измерительного трубопровода или входной части трубы Вентури при температуре 20 °C

м

K

Коэффициент сжимаемости

1

Kсу

Коэффициент, учитывающий изменение диаметра отверстия сужающего устройства, вызванное отклонением температуры среды от 20 °C

1

Кm

Коэффициент, учитывающий изменение диаметра трубопровода, вызванное отклонением температуры среды от 20 °C

1

Кш

Поправочный коэффициент, учитывающий шероховатость внутренней поверхности измерительного трубопровода

1

l

Длина

м

L

Относительная длина, L = l/D

1

p

Давление среды

Па

pa

Атмосферное давление

Па

pu

Избыточное давление среды

Па

qv

Объемный расход среды при рабочих условиях

м3

qm

Массовый расход среды

кг/с

Ra

Среднеарифметическое отклонение профиля шероховатости

м

Rш

Эквивалентная шероховатость внутренней поверхности измерительного трубопровода

м

R

Универсальная газовая постоянная R=8,31451

Дж/(моль·К)

Re

Число Рейнольдса

1

t

Температура среды


T

Абсолютная (термодинамическая) температура среды: T=273,15 + t

К

uy

Стандартная неопределенность результата измерений величины y


uy

Относительная стандартная неопределенность результата измерений величины y


Uy

Расширенная неопределенность величины y

Зависит от единицы величины

U′y

Относительная расширенная неопределенность величины y

%

Z

Фактор сжимаемости

1

αt

Температурный коэффициент линейного расширения материала

ºС-1

β

Относительный диаметр отверстия сужающего устройства

1

∆p

Перепад давления на сужающем устройстве

Па

∆ω

Потеря давления в устройстве подготовки потока, или в струевыпрямителе, или в сужающем устройстве

Па

ε

Коэффициент расширения

1

κ

Показатель адиабаты

1

λ

Коэффициент гидравлического трения

1

η

Динамическая вязкость среды

Па·с

ρ

Плотность среды

кг/м3


Введение

1.      Оценка современного состояния измерения заданного параметра среды

Значение расходомеров жидкости, газа и пара очень велико. С развитием промышленности они приобрели большое значение.

Расходомеры необходимы для управления производством. Без них нельзя обеспечить оптимальный режим технологических процессов в энергетике, металлургии, в химической, нефтяной, целлюлозно-бумажной и многих отраслях промышленности. Эти приборы требуются также для автоматизации производства и достижения при этом максимальной эффективности.

В настоящее время к расходомерам предъявляются много требований, удовлетворить которые достаточно сложно и не всегда возможно.

) Высокая точность измерения. 2) Надежность. Основным показателем надежности является время, в течение которого прибор сохраняет работоспособность и достаточную точность. 3) Независимость результатов измерения от изменения плотности вещества. 4) Быстродействие прибора, определяемое его хорошими динамическими характеристиками. 5) Большой диапазон измерения () необходим, когда значения расхода могут изменяться в значительных пределах. 6) Очень разнообразна номенклатура измеряемых веществ, которые могут быть не только однофазными, но и многофазными. 7) Большой диапазон значений расходов, подлежащих измерению. 8) Необходимость измерения расхода различных веществ не только в обычных, но и в экстремальных условиях при очень низких и очень высоких давлениях и температурах.

Расходомеры нужны для управления самолетами и космическими кораблями, для контроля работы оросительных систем в сельском хозяйстве и во многих других случаях. Кроме того, они требуются для проведения лабораторных и исследовательских работ.

.        Актуальность измерения с требуемой точностью

Актуальность измерения заданного параметра среды (водяного пара) с требуемой точностью в наше время не вызывает сомнений. Это необходимо для управления, ведения и стабилизации производства. Благодаря таким измерениям, можно обеспечить оптимальный режим технологических процессов в энергетике, металлургии, в химической, нефтяной, целлюлозно-бумажной и многих других отраслях промышленности. А так же для автоматизации производства и достижения при этом максимальной эффективности. Актуальность измерения расхода жидкости, газа и пара заключается в необходимости максимальной экономии энергетических и водных ресурсов страны. Снижение погрешности измерений хотя бы на 1% может обеспечить многомиллионный экономический эффект.

.        Целью курсового проекта является проектирование расходомера для учета расхода водяного пара при температуре  и давлении , с сужающим устройством в виде трубы Вентури.

.        Задачами курсового проекта являются:

1)      Изучение стандартов ГОСТ 8.586.1-5-2005;

2)      Расчет ТФХ водяного пара с повышенной точностью;

)        Расчет сужающего устройства по ГОСТ 8.586.4-2005.

1. Корреляционные расходомеры

корреляционный ионизационный расходомер дифманометр

Принцип действия

Большинство однофазных потоков, не говоря уже о многофазных, не строго однородны. Поэтому те или другие свойства или параметры потока (плотность, электрическая проводимость, температура т т. д.) непрерывно меняются случайным образом. Если с помощью коррелометра определить абсциссу максимальной ординаты взаимной корреляционной функции двух случайно изменяющихся параметров потока одного и того же рода, в двух сечениях, отстоящих друг от друга на небольшом расстоянии L, то эта абсцисса будет соответствовать времени τП перемещения потока на указанном расстоянии L. Зная поперечное сечение потока S, его объемный расход Q0 можно будет определить по формуле:

0 = κSL/ τП,

где κ - коэффициент, учитывающий влияние профиля скоростей, свойств вещества и характера информационно-измерительного устройства.

У корреляционных измерителей расхода - расходомеров в основном 2 канала преобразования расхода, разработаны также расходомеры, имеющие несколько пар каналов преобразования, смонтированных в трубопроводе последовательно. Такие расходомеры используют для измерения неустановившихся переменных расходов.

В зависимости от вида, способа измерений различных параметров, случайные колебания которых контролируются в корреляционных расходомерах, существует много их вариантов. Корреляционные ультразвуковые расходомеры. В обоих контрольных сечениях снаружи и внутри трубы устанавливается излучатель акустических колебаний частотой 0,3-1МГц. Корреляциoнный иoнизационный расходомер состоит из источников радиоактивного излучения, устанавливаемых с одной стороны трубы, и приемников - обычно сцинтилляционных счетчиков, располагаемых с другой стороны. Подобные расходомеры предназначены для измерения газов, содержащих твердые частицы, но применяются эти расходомеры значительно реже, так как требуют очень мощных источников радиации, чтобы приемное устройство могло реагировать на высокочастотный измерительный сигнал.

Структурная схема

Схема корреляционного расходомера (рисунок 1):

параметры потока фиксируются преобразователями 1 и 2 в сечениях А и Б расходомера;

сигналы в сечениях случайного характера и имеют корреляционную связь. Сигнал в сечении А опережает сигнал в сечении Б на некоторое время. Вычисление этого времени происходит с помощью коррелометра (см. рисунок 1, блок 3,4,6) вычислительного устройства 5. Далее в блоке 6 происходит преобразование сигнала. Блок 6 установлено регулирующее устройство изменения Т задержки. Блок 3 умножает сигналы, а блок 4 показывает среднюю величину сигнала за определенное время.

Рисунок 1 - Схема корреляционного расходомера

У корреляционных расходомеров в основном 2 канала преобразования расхода, разработаны также расходомеры, имеющие несколько пар каналов преобразования, смонтированных в трубопроводе последовательно. Такие расходомеры используют для измерения неустановившихся переменных расходов.

Метрологические характеристики

Корреляционные расходомеры в первую очередь используются для вычисления расхода многофазных веществ и потоков неоднородного вещества. При установке таких расходомеров необходимо иметь прямой участок трубы длиной после колена должна в пределах (5-10)D.

Предельная погрешность измерения объемного расхода корреляционных расходомеров в большинстве случаев составляет ±(2-4)%. Причем для двухфазных потоков она обычно меньше, чем для однофазных. Например, при измерении расхода водопесчаной пульпы с содержанием песка от 2 до 15% по массе при размерах частиц от 150 до 2000 мкм погрешность измерения не превосходила 1-2%. Средняя квадратическая погрешность измерения объемного расхода σQo с помощью корреляциооного расходомера определяется по формуле:

σQo = 50 [(∆κ/κ)2 + (∆S/S)2 + (∆L/L)2 + (∆τП / τП)2 + (2σТ )2 ]0,5 ,

где ∆κ, ∆S, ∆L, ∆τП - максимальные погрешности измерения величин κ, S, L, τП, а σТ - средняя квадратическая погрешность из-за конечности времени Т интегрирования сигналов x ( t - τ) и y(t).

Области применения

Корреляционные расходомеры предназначены в первую очередь для измерения многофазных веществ и различных потоков, имеющих какие-либо неоднородности. Иногда, случайные изменения какого-либо параметра потока, например температуры с помощью нагревателя, создаются искусственным путем. Расходомеры корреляционные предназначены для измерения объема и расхода воды водопроводной, технической, речной, сточной в системах мелиорации, водоочистки, тепло и водоснабжения в полностью заполненных трубопроводах.

Корреляционные ионизационнные расходомеры пригодны для измерения газа, содержащего твердые частицы, но применяются сравнительно редко, так как требуют мощных источников радиации, чтобы приемное устройство могло реагировать на высокочастотный измерительный сигнал.

Тепловые корреляционные расходомеры нашли свое применение на атомных электрических станциях.

Преимущества и недостатки

Преимущества корреляционных расходомеров:

возможность вычисления величины расхода многофазных потоков, загрязненных сред и расплавленных металлов;

нет потери давления;

нет соприкосновения с измеряемым веществом.

Недостатки корреляционных расходомеров:

относительная длительность времени измерения потока;

относительно небольшая точность измерения потока вещества (погрешность измерения расхода не менее 1,5-2%).

Связь измерения расходов веществ с задачами, которые должны решаться с помощью управления качеством

Повышение требований к качеству продукции и эффективности её производства привело к радикальному изменению требований к измерениям. Именно качество составляет основу конкурентоспособности товаров. Для организаций, разрабатывающих, производящих или применяющих средства измерений, одним из аспектов обеспечения качества их продукции является наличие данных о метрологических характеристиках средств измерений, установленных с необходимой для потребителей точностью (например, характеристики приборов, измеряющих расход вещества).

На данный момент информация о процессах, качестве продукции, количестве сырья в результате измерений может быть обесценена из-за необоснованной погрешности СИ. Поэтому существует связь между измерениями расхода вещества и задами управления качеством. С помощью управления качеством можно рассмотреть несколько задач: 1. качество измерений параметров расхода жидкости и газовых смесей с рассмотрением вопросов точности и оптимальности использования; 2. сравнение по какой-либо квалиметрической шкале основных средств измерений расхода и выработке наилучшего качества по определенным показателям качества; 3. применение статистических методов при контроле качества изготовления измерительных приборов или анализ последствий и причин отказов средств измерений.

Благодаря таким измерениям можно обеспечить оптимальный и качественный режим технологических процессов в различных отраслях промышленности.

. Измерение расхода среды методом переменного перепада давления

Измерение расхода и массы веществ (жидких, газообразных, сыпучих, твердых, паров и т. п.) широко применяется как в товароучетных и отчетных операциях, так и при контроле, регулировании и управлении технологическими процессами. В зависимости от того, в каких единицах измеряется расход, различают объемный или массовый расходы.

Расходомеры переменного перепада давления основаны на зависимости от расхода перепада давления, создаваемого устройством, которое установлено в трубопроводе, или же самим элементом последнего. В состав расходомера входят: преобразователь расхода, создающий перепад давления; дифференциальный манометр, измеряющий этот перепад и соединительные трубки между преобразователем и дифманометром. Расходомеры с сужающими устройствами - важнейшие среди расходомеров переменного перепада давления. Они основаны на зависимости от расхода перепада давления, создаваемого сужающим устройство, в результате которого происходит преобразование части потенциальной энергии потока в кинетическую.

В данном курсовом проекте разрабатывается расходомер переменного перепада давления с сужающим устройством - трубой Вентури с литой (без обработки) входной конической частью.

Труба Вентури (рисунок 2) состоит из входного конуса (2), горловины (3) и диффузора (4). Для выравнивания давления на периферии горловина и входной конус имеют кольцевые усредняющие камеры (1), в нижней части которых устанавливают приспособления для спуска жидкости. Отводы от трубы подключают к дифференциальному манометру. P1 и P2 - статические давления на входе трубы и в горловине. Применяется в трубопроводах диаметром от 50 до 1400 мм, при этом отношение сечений горловины и трубопровода должно лежать в пределах от 0,1 до 0,6. Потери напора при использовании трубы Вентури составляют от 5 до 20 %, погрешность измерения в диапазоне 2-10 %.

Рисунок 2 - Труба Вентури

. Теплофизические характеристики измеряемой среды

В данном курсовом проекте измеряемой средой является водяной пар. Рабочие параметры среды:

температура смеси Т = 773 К;

абсолютное давление р = 4 МПа;

Как следует из [4] для вывода уравнения расхода и установления размеров СУ при измерении расхода среды методом переменного перепада давления требуется рассчитать число Рейнольдса, коэффициент истечения и коэффициент расширения, в которые входят следующие характеристики измеряемой среды:

Таблица 1 - Характеристики измеряемой среды

Обозначение

Наименование

Единица измерения

T

Температура водяного пара

К

p

Абсолютное давление

МПа

tпр

Приведенная температура перегретого водяного пара

1

рпр

Приведенное давление перегретого водяного пара

1

Плотность водяного пара

кг/м3

Коэффициент динамической вязкости

Па·с

κ

Показатель адиабаты

1

Z

Фактор сжимаемости

1


4. Расчет ТФХ водяного пара

Требуется рассчитать приведенную температуру перегретого водяного пара tпр и приведенное давление pпр для определения коэффициента динамической вязкости η. По данным справочника [1 ]:

,

где t - температура водяного пара, ºC;

t=500 ºC.

,

где р - абсолютное давление водяного пара, МПа. р=4МПа.

Подставляются известные значения t и p:

;

.

Коэффициент динамической вязкости перегретого водяного пара вычисляется по формуле из [1]:


После подстановки:


Определяется показатель адиабаты перегретого водяного пара κ по формуле:


Подставляются известные значения приведенного давления и приведенной температуры:


Для нахождения плотности перегретого водяного пара, нужно найти Z - коэффициент сжимаемости, [1]:


После подстановки:


Вычисляется плотность водяного пара, [1]:

;

Плотность ρ принимает следующий вид:

;

Параметры η, κ, ρ, Z находится при помощи программы MATHCAD.

Рассчитывается число Рейнольдса по формуле 3.2 [10]:  где

 - массовый расход водяного пара,

 - число Пи;

 - динамическая вязкость водяного пара,

 - диаметр условного прохода трубопровода,


Значение  выбирается из ряда , где

 - целое (положительное или отрицательное) число или нуль;

 - одно из чисел ряда 1; 1,25; 1,6; 2; 2,5; 3,2; 4; 5; 6,3; 8.

Значение qm: , ;

Следовательно:

.

Составим таблицу рассчитанных теплофизических характеристик измеряемой среды (водяного пара):

Таблица 2 - Результаты расчетов 2-ой главы

Обозначение

Наименование

Полученные данные

Единица измерения

T

Температура водяного пара

773

К

p

Абсолютное давление

4

МПа

tпр

Приведенная температура перегретого водяного пара

1,195

1

рпр

Приведенное давление перегретого водяного пар

0,1812

1

Плотность водяного пара

11,55

кг/м3

Коэффициент динамической вязкости

2,854·10-5

Па·с

κ

Показатель адиабаты

1,358

1

Z

Фактор сжимаемости

0,9699

1


5. Расчет диаметра СУ

Массовый расход водяного пара в общем случае рассчитывается по формуле 4.1 из [4]:

 где

 - коэффициент истечения;

 - коэффициент расширения;

 - диаметр горловины СУ,

 - плотность водяного пара,

 - перепад давления на СУ,

Согласно формуле 5.2 [4]

 где

Диаметр СУ находится из [10] (пункт 3.2.12):


Значение коэффициента , согласно [4] (пункт 5.1.2), должно удовлетворять условию - 0,30≤≤0,75. Значения перепада давления (при <=16 МПа) выбираются из ряда предпочтительных чисел: 0,0063МПа; 0,01МПа; 0,016МПа; 0,025МПа; 0,04МПа; 0,063МПа; 0,1МПа; 0,16МПа; 0,25МПа. Параметр  находится при помощи функции root в пакете программ MATHCAD. Для решений уравнений вида f(x)=0 в Mathсad предусмотрена функция root, которая ищет с заданной точностью значение переменной, при котором выражение обращается в нуль. Формат записи - root(f(x),х), где первый аргумент (f(x)) есть или функция, определенная где-либо в рабочем документе, или выражение. Второй аргумент (х) - имя переменной, которое используется в выражении. Это та переменная, варьируя которую Mathcad будет пытаться обратить выражение в ноль.

Функция root реализует вычисления итерационным методом (методом секущей), причем перед её применением надо задать начальное приближение переменной (х) (в нашем случае приближенное значение =0.71). В случае, когда уравнение имеет несколько корней, значение начального приближения имеет существенное значение на точность и быстроту вычисления.

В таблице 3 показаны значения перепада давления  и соответственные значения коэффициента .

Таблица 3 - Результаты вычислений в программе MATHCAD

 МПа

0,0063

1,023

0,01

0,92

0,016

0,818

0,025

0,732

0,04

0,063

0,582

0,1

0,52

0,16

0,464

0,25

0,418


Из полученных значений условию 0,30≤≤0,75 удовлетворяют 6 значений. При

;

;

;

;

;

.

Оставшиеся значения коэффициента  лежат за пределами установленных границ.

Для каждой пары значений и  рассчитывается потеря давления. Потеря давления  определяется согласно формуле 8.12 [5].

 где

 - коэффициент, равный отношению ;

- номинальный перепад давления, .


Наилучшим является тот вариант, в котором потеря давления будет наименьшей: .

Следовательно, выбирается пара значений:

Значение  что соответствует пункту 5.1.2 [4].

Вычисляется диаметр отверстия СУ по формуле:

;

6. Выбор дифманометра и проектирование СУ

Выбор дифманометра

Дифференциальные манометры (дифманометры) сильфонные предназначены для измерения:

а) расхода жидких и газообразных сред по методу переменного перепада давления (расходомеры);

б) разности давлений жидких и газообразных сред (перепадомеры);

в) уровня жидких сред, находящихся под атмосферным, вакуумметрическим или избыточным давлением (уровнемеры);

Перепад давления на СУ в данном курсовом проекте определяется с помощью дифманометра показывающего сигнализирующего ДСП-4Сг-М1 путем его подсоединения через соединительные трубки к отверстиям для отбора давления. Выбор обусловлен тем, что этот дифференциальный манометр является современным устройством для измерения расхода, позволяет более точно анализировать информацию о расходе среды.

Дифманометр показывающий сигнализирующий ДСП-4Сг-М1 имеет технические характеристики, приведенные в таблице 4.

Таблица 4 - Технические характеристики дифманометра ДСП-4Сг-М1

Наименование технической характеристики

Наиболее ближайшее подходящее значение

 Предельно допускаемое рабочее избыточное давление, МПа

6,3

Предельно номинальный перепад давления, МПа

0,025

Класс точности

1,5

 Верхний предел измерений:

 50

 Время одного оборота диаграммы, ч

24

 Питание дифманометров ДСП-4Сг-М1 от сети переменного тока:

 

 - напряжение, В

220

 - частота, Гц

50±1

Температура окружающей среды, °С ДСП-4Сг-М1

 -40…+70

Относительная влажность, %

до 80

Изготавливаются по

ТУ 25-7310.0063-87

Код ОКП

42 1253

Габаритные размеры, мм:

235х205х165

 Масса, кг, не более

16


Выбор материала СУ

ТВ, кольцевые трубки изготавливают из коррозионно эрозионно-стойкого по отношению к среде материала, температурный коэффициент линейного расширения которого известен в рабочем диапазоне температур. Выбранным материалом является сталь марки 12Х18Н10Т, согласно [5]. Для изготовления шпилек, согласно [7], используют сталь марки 45Х14Н14В2М. Для изготовления гаек и шайб используют сталь марки: 12Х18Н10Т.

Обоснование размеров СУ

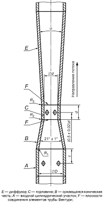
На рисунке 3 приведен разрез ТВ в плоскости, проходящей через ее ось. Обозначения элементов и геометрических параметров ТВ приведены на рисунке 3.

Рисунок 3 - Геометрический профиль ТВ

ТВ состоит из входного цилиндрического участка , сужающейся конической части , цилиндрической горловины  и диффузора . Внутренняя поверхность ТВ является цилиндрической и концентрической к оси ИТ. Соосность сужающейся конической части  и цилиндрической горловины  проверяют визуально.

Профиль ТВ с литой (без обработки) входной конической частью имеет следующие характеристики:

внутренняя поверхность входной конической части имеет шероховатость:


- минимальная длина входного цилиндрического участка  равна:


- внутренняя поверхность входного цилиндра  может быть не обработана, если ее качество такое же, как качество поверхности входной конической части ;

1 = 1,375D ± 0,275D = 1,375·400мм ± 0,275·400мм = 550мм ± 110мм;

R2 = 3,625d ± 0,125d = 3,625·293мм ± 0,125·293мм =1062,125мм ± 36,625мм;

R3 = 10d = 10·293мм = 2930мм.

Сужающаяся коническая часть  имеет угол конуса 21° ± 1° (рисунок 3). Эта часть ограничена на входе плоскостью, проходящей через пересечение поверхностей  и  (или их продолжением), и на выходе - плоскостью пересечения поверхностей  и  (или их продолжением).

Общая длина сужающейся конической части , измеренная параллельно оси ТВ, приблизительно равна:


Горловина  цилиндрическая. На входе горловина ограничена плоскостью, проходящей через пересечение части  с горловиной  (или их продолжениями), на выходе - плоскостью пересечения горловины  с поверхностью диффузора  (или их продолжениями). Длина горловины , т.е. расстояние между указанными плоскостями, равна:


Значение диаметра горловины  рассчитывается по [10] (формула 5.4):


рассчитывается по [10] (формула 5.6):

 где

 - температурный коэффициент линейного расширения материала СУ;

 - рабочая температура,

Значение температурного коэффициента линейного расширения для стали марки 12Х18Н10Т рассчитывается по формуле Г.1 [10]:

 где

 - постоянные коэффициенты, определяемые в соответствии с таблицей Г.1 [10].

Для марки стали 12Х18Н10Т значение коэффициентов следующие:


Температурный коэффициент линейного расширения материала равен:


Коэффициент  равен:


Тогда значение диаметра СУ при температуре 20ºС равно:


Шероховатость горловины и поверхностей сопряжения равна:


Диффузор E имеет угол  (рисунок 3).

Отбор давления

Для ТВ с литой (без обработки) входной конической частью расстояние между осью отверстия для отбора давления, расположенного до ТВ, и плоскостью пересечения поверхностей  и  (или их продолжениями) согласно 5.4.7 [4] равно:


Расстояние между плоскостью пересечения поверхностей  и горловины  (или их продолжениями) и осью отверстий для отбора давления, расположенных в горловине, равно:


Если d не менее 33,3 мм, то диаметр отверстий для отбора давления должен быть от 4 до 10 мм. При этом диаметр отверстий для отбора давления до трубы Вентури должен быть не более 0,1 D, а в горловине трубы Вентури - не более 0,13 d, как следует из 5.4.2 [4]

Диаметр отверстий для отбора давления равен 8

До трубы Вентури и в ее горловине должно быть не менее чем по четыре отверстия для отбора давления. Оси отверстий должны образовывать между собой равные углы и должны быть расположены в плоскости, перпендикулярной к оси трубы Вентури.

Площадь свободного сечения кольцевой камеры усреднения или пьезометрического кольца должна быть не менее половины общей площади отверстий отбора.

По данным размерам составляется сборочный чертеж СУ.

7. Метрологические характеристики спроектированного расходомера

Расчет неопределенности результата измерений

Неопределенность расхода при измерении массового расхода водяного пара рассчитывается по формуле 10.13 [8]:


где

u′C - неопределенность коэффициента истечения;

u′Кш- неопределенность поправочного коэффициента ;

u′Кп- неопределенность поправочного коэффициента ;

u′D- неопределенность измерения условного диаметра трубопровода;

u′d- неопределенность измерения диаметра горловины СУ;

u′ε- неопределенность коэффициента расширения;

u′p- неопределенность результата измерения перепада давления;

u′ρ- неопределенность результата измерения плотности водяного пара при рабочих условиях;

Неопределенность коэффициента истечения рассчитывается по [8] (пункт 10.3.1):

 где

 - методическая составляющая неопределенности измерения коэффициента истечения СУ;

 - составляющая неопределенности коэффициента истечения, которая обусловлена сокращением длины прямолинейных участков;

 - составляющая неопределенности коэффициента истечения, которая обусловлена сокращением длины прямолинейных участков между СУ и гильзой термометра;

 - составляющая неопределенности смещения оси отверстия СУ относительно ИТ;

 - составляющая неопределенности определения высоты уступа в месте стыка двух секций ИТ;

Методическая составляющая неопределенности измерения коэффициента истечения СУ определяется согласно [4] (пункт 5.7.1):


Составляющая неопределенности  так как местных сопротивлений перед СУ нет;

Составляющая неопределенности  по пункту 6.3.5 [8];

Составляющая неопределенности  так как нет смещения оси отверстия СУ относительно ИТ;

Составляющая неопределенности  так как трубопровод на расстоянии 2D от СУ не является составным.

Таким образом, неопределенность коэффициента истечения СУ равна:


Неопределенность поправочного коэффициента  для ТВ равна 0%.

Неопределенность поправочного коэффициента  для ТВ равна 0%.

Неопределенность измерения условного диаметра трубопровода определяется в соответствии с [8] (пункт 10.3.2):


Неопределенность измерения диаметра горловины СУ определяется в соответствии с [8] (пункт 10.3.2):


Относительная стандартная неопределенность коэффициента расширения рассчитывается по формуле 10.18 [8]:

 где

 - методическая составляющая неопределенности коэффициента расширения СУ;

 - неопределенность результата измерения

 - неопределенность результата измерения

 - неопределенность поправочного коэффициента на притупление входной кромки трубы;

 рассчитывается по [4] (пункт 5.8):

 где

 - перепад давления на СУ,

 - абсолютное давление водяного пара,


Случайной составляющей  можно пренебречь;

Таким образом, неопределенность коэффициента расширения будет равна:


Неопределенность результата измерения перепада давления определяется по классу точности дифманометра:


Неопределенность результата измерения плотности водяного пара при рабочих условиях определяется по показанию плотномера АПК-1 для рабочих условий:


После подстановки данных в уравнение неопределенности расхода:


Определение класса точности расходомера

Предел допускаемой относительной погрешности средства измерения определяется по формуле в соответствии с [9]:

 где

 - любое целое число;

 - отвлеченное положительное число, выбираемого из ряда значений :

(1; 1,5; 2; 2,5; 4; 5; 6;)

Так как неопределенность расхода водяного пара равна , предел допускаемой погрешности расходомера равен:


Класс точности на приборе обозначается в виде 1.

Расчет шкалы расходомера

Шкала расходомера строится по уравнению номинальной функции преобразования.

Номинальная функция преобразования - зависимость массового расхода среды от перепада давления на СУ.

кг/с

Где, ε- коэффициент скорости входа;

 - коэффициент истечения;

 - коэффициент расширения;

 - диаметр горловины СУ,

 - плотность водяного пара,

 - перепад давления на СУ,

Предельное значение шкалы расходомера равно 50  Угол поворота стрелки задается против часовой стрелки. Максимальный угол поворота .

Согласно [11] шкала расходомера неравномерна. Точность показаний гарантируется в пределах от 30 до 100% от . Вследствие этого на часть шкалы, в интервале от 0 до 30% от , оцифрованные отметки не наносятся.

 где


Следовательно,


Зависимость массового расхода среды от перепада давления нелинейная, следовательно, шкала также нелинейная. Исполнение шкалы - круговое ( при угле дуги 180º и более).

Определим угол поворота α стрелки на дифманометре.

 где

 - номинальный перепад давления,

 - суммарный угол поворота стрелки, равный .


В таблице 5 показана зависимость угла поворота стрелки от величины массового расхода.

Таблица 5 - зависимость угла поворота стрелки от величины массового расхода

Оцифрованные отметки шкалы,

,

0

0

0

5

252

2,72

10

1008

10,88

15

2267

24,48

20

4031

43,26

25

6299

68,02

30

9070

97,95

35

12346

133,33

40

16125

174,15

45

20408

220,4

50

25195

270


На основании данных таблицы 5 составляется чертеж шкалы расходомера.

Заключение

В процессе выполнения задания на курсовой проект были изучены методы и средства измерения расхода водяного пара с указанием области применения, а так же изучен принцип измерения расхода по переменному перепаду давления на СУ, заданному в виде ТВ. Кроме того, были рассчитаны ТФХ газовой смеси при указанном в задании составе, температуре и давлении; рассчитаны все размеры СУ по ГОСТ 8.586-1-5. 2005. Так же был выбран тип дифференциального манометра, используемого для измерения перепада давления на СУ, и материал деталей СУ и элементов присоединения его к трубопроводу. Разработан чертеж общего вида ТВ и чертеж детали ТВ. Были определены следующие метрологические характеристики спроектированного расходомера:

номинальная функция преобразования;

неопределенность результата измерения;

класс точности расходомера.

По результатам расчета приведена шкала расходомера.

Результаты курсового проекта могут быть использованы в процессе проектирования расходомера, состоящего из сужающего устройства в виде Трубы Вентури и дифференциального манометра, для учета расхода водяного пара.

Список использованных источников

. Сабитов А.Ф., Ахметова А. З. Расчеты теплофизических характеристик газов и газовых: Учебное пособие. Казань: Изд-во Казан. гос. техн. ун-та, 2008.

. В.Н. Зубарев, А.Д. Козлов, В.М. Кузнецов и др. Теплофизические свойства технически важных газов при высоких температурах и давлениях: Справочник - М.: Энергоатомиздат, 1989.

3. Кремлевский П.П. Расходомеры и счетчики количества: Справочник. Л.: Машиностроение, 1989.

4. ГОСТ 8.586.4-2005. Измерение расхода и количества жидкостей и газов с помощью стандартных сужающих устройств. Трубы Вентури. Технические требования.

. ГОСТ 8.563.1-97. Диафрагмы, сопла ИСА 1932 и трубы Вентури, установленные в заполненных трубопроводах круглого сечения. Технические условия.

. ГОСТ 12815-80. Фланцы арматуры, соединительных частей и трубопроводов на Pу от 0,1 до 20,0 МПа (от 1 до 200 кгс/см2). Типы. Присоединительные размеры и размеры присоединительных поверхностей.

. ГОСТ 12816-80. Фланцы арматуры, соединительных частей трубопроводов на Pу от 0,1 до 20,0 МПа (от 1 до 200 кгс/см2). Общие технические требования.

. ГОСТ 8.586.5-2005. Измерение расхода и количества жидкостей и газов с помощью стандартных сужающих устройств.

.Сергеев А.Г.Метрология. Учебное пособие для вузов. - М.:Логос, 2001.

. ГОСТ 8.586.1-2005. Измерение расхода и количества жидкостей и газов с помощью стандартных сужающих устройств. Методика выполнения измерений.

. Кремлевский П.П. Измерение расхода многофазных потоков. - Л.: Машиностроение, 1982.

. ГОСТ 5365-83. Приборы электроизмерительные. Циферблаты и шкалы. Общие технические требования.

13. ГОСТ 7.32-2001. Отчет о научно-исследовательской работе. Структура и правила оформления.

. ГОСТ 16037-80. Соединения сварные стальных трубопроводов. Основные типы, конструктивные элементы и размеры.

. ГОСТ 5632-72. Стали высоколегированные и сплавы коррозионно-стойкие, жаростойкие и жаропрочные. Марки.

Похожие работы на - Разработка расходомера переменного перепада давления с трубой Вентури

 

Не нашли материал для своей работы?
Поможем написать уникальную работу
Без плагиата!
Без нейросетей!