Сбор и представление технологической информации для отражательной печи по переплавке алюминия
Федеральное
агентство по образованию
КУРСОВОЙ
ПРОЕКТ
Сбор и
представление технологической информации для отражательной печи по переплавке
алюминия
АННОТАЦИЯ
В данной пояснительной записке к курсовому проекту приведено описание
системы контроля технологических параметров отражательной печи для переплавки
алюминия. Система представляет программно-аппаратный комплекс, включающий
измерительные преобразователи, программируемый логический контроллер для
обработки их сигналов и программное обеспечение операторской станции для
представления технологической информации (SCADA-систему). В разделах пояснительной записки дается
обоснование выбора контролируемых параметров, технические характеристики
выбранных измерительных преобразователей и контроллера, общее описание схемы
сбора информации, а также структура и функции разработанного программного
обеспечения.
СОДЕРЖАНИЕ
ВВЕДЕНИЕ
1.
ОПИСАНИЕ ОБЪЕКТА ИНФОРМАТИЗАЦИИ
.1 Назначение
технологического агрегата
.2 Основные конструктивные
характеристики
.3 Технологические параметры
2.
ТЕХНИЧЕСКОЕ ОБОСНОВАНИЕ КОНТРОЛЯ ПАРАМЕТРОВ ТЕХНОЛОГИЧЕСКОГО ПРОЦЕССА
.1 Расход топлива и воздуха
.2 Давление воздуха
.3 Температура футеровки
.4 Состав отходящих газов
3.
ВЫБОР ИЗМЕРИТЕЛЬНЫХ ПРЕОБРАЗОВАТЕЛЕЙ И МИКРОПРОЦЕССОРНОЙ ТЕХНИКИ
.1 Измерение расхода
.2 Измерение давления
.3 Измерение температуры
.4 Измерение состава
отходящих газов
.5 Программируемый логический
контроллер
.6 Описание схемы сбора
технологической информации
4.
ОПИСАНИЕ ПРОГРАММНОГО ПРОДУКТА
.1 Назначение программного
продукта
.2 Описание среды разработки
программы WinCC v6.0
.3 Основные этапы создания
программного продукта
.4 Структура и функции
программного продукта
ЗАКЛЮЧЕНИЕ
СПИСОК
ЛИТЕРАТУРЫ
ПРИЛОЖЕНИЯ
ВВЕДЕНИЕ
В наше время происходит быстрый рост информатизации промышленного
производства во всем мире и в России в частности. Информационные технологии
являются важной частью стратегии развития любой крупной промышленной
корпорации. Введение информационных технологий позволяет повысить
производительность предприятия, повысить эффективность принятия решений за счет
оперативного получения производственной информации, повысить качество продукции
и в итоге получить определенные конкурентные преимущества.
Информационная система предприятия состоит из нескольких уровней: уровень
ввода вывода (датчики и исполнительные механизмы), уровень управления (ЭВМ
осуществляющие сбор и обработку данных и основные операции управления), уровень
диспетчерского контроля и управления (визуальное представление данных о ходе
процесса, осуществление интерфейса оператора и технологического агрегата),
уровень оперативного производственного планирования (управление цехами и
участками), уровень управление ресурсами предприятия. В данном курсовом проекте
мы коснемся трех нижних уровней информационной системы, в части сбора,
обработки и представления технологической информации [1].
В ходе работы будет осуществлен выбор датчиков и ПЛК для сбора
информации, разработка программного обеспечения операторской ЭВМ в среде SCADA-системы, проектирование электрических
для подключения аппаратуры.
1. ОПИСАНИЕ ОБЪЕКТА ИНФОРМАТИЗАЦИИ
1.1 Назначение технологического агрегата
Отражательная печь по переплавке алюминия служит для переработки
алюминиевого лома и получения в качестве продукта жидкого алюминия. В ходе
процесса происходит плавление шихты и корректировка химического состава
расплава с помощью флюсов. В качестве топлива используется природный газ и
мазут, окислитель - атмосферный воздух, иногда обогащенный кислородом. Шихта
включает алюминиевый лом и отходы любых видов и флюсы: хлориды и фториды
щелочных и щелочноземельных металлов, а также криолит. Продуктами плавки
являются металл и шлак [2].
1.2 Основные конструктивные характеристики
Отражательная печь (рисунок 1.1) представляет собой чашу с металлом,
накрытую сводом. В пространстве между металлом и сводом движутся нагретые газы
от сгорания топлива. В основе работы печи лежит теплообмен в системе «Газ -
Кладка - Металл». Кладка печи нагревается от факела и передает излучением тепло
металлу. До 90% теплообмена приходится на излучение [3].
Рисунок 1.1 - Отражательная печь
Фундамент изготавливают в виде железобетонной коробки. Заполняют его
бутовым камнем, бетоном, отвальным шлаком. Лещадь изготавливают набивную (кварц
и огнеупорная глина), набивную литую (из дробленого магнезита с заливкой
конверторным шлаком) или кирпичную. Своды подразделяют на арочные,
распорно-подвесные и подвесные. Футеровка стен обычно делается из шамотного или
магнезитового кирпича. Шамотный кирпич обладает отличными теплоизоляционными
свойствами, но при температурах плавки он может в незначительной степени
взаимодействовать с расплавом алюминия. Эта проблема решается обработкой
футеровки специальным флюсом (80 % хлорида натрия и 20 % криолита) перед
плавкой. Магнезит не взаимодействует с расплавами в печи, но в связи с его
более высокой теплопроводностью толщина стенок должна быть увеличена для
снижения тепловых потерь. Кладка печи заключается в металлический каркас [4].
Подача топлива и воздуха осуществляется через горелки в торцевой части
печи. Загрузка шихты производится через загрузочные окна в боковой части - они
обычно имеют большой размер для загрузки крупного лома.
Плавка включает следующие этапы: загрузка, плавление, рафинирование, проведение
химического анализа, корректировка химического состава, удаление шлака, выпуск
металла, очистка. Общая продолжительность плавки составляет до 9 ч. Дымовые газы удаляются из печи через аптейк и боров с помощью
дымовой трубы. Выпуск металла осуществляется через летку. Под печи должен иметь
небольшой наклон в сторону выпускной летки для обеспечения полного удаления
металла.
Отражательные печи бывают однокамерные и двухкамерные. В двухкамерных
печах процесс плавления производится в одной камере (плавильная камера), а
доводка химического состава осуществляется во второй камере (копильнике). Обе
камеры размещаются в одном корпусе. Вторая камера расположена ниже первой,
чтобы металл переливался в нее самотеком. Однокамерные печи по конструкции и
обслуживанию проще двухкамерных, занимают меньше места, проще в ремонте; однако
их производительность на 25-30% ниже. Двухкамерные печи делятся на прямоточные
и противоточные. В прямоточных печах отходящие газы и пламя горелок
перемещаются по направлению движения металла из плавильного пространства в
копильник. В противоточных печах, наоборот - греющие тазы из копильника
попадают в плавильное пространство. Горелки размещают на торцевой стенке
кладки, на противоположном торце - дымоход,
сообщающийся с боровом - каналом, идущим к газоочистным устройствам и вытяжной
трубе. Тепловой КПД отражательных пламенных печей составляет 25 %,
производительность печи емкостью 20 т. - 2,6
т/ч. В таблице 1.1 приведены характеристики противоточной печи [3].
Недостаток пламенных отражательных печей сравнительно низкий тепловой
КПД, относительно высокие безвозвратные потери металла, образующиеся при
плавке, загрязненность отходящих газов пылевидной фракцией (хлориды, оксиды),
что требует значительных затрат на газоочистку.
Основные направления совершенствования отражательной плавки:
· Подогрев дутьевого воздуха за счет тепла отходящих газов на
350-4000С. Препятствием является наличие в отходящих газах
агрессивных возгонов хлоридов и фторидов, которые снижают срок службы материала
рекуператоров
· Печи со съемным сводом. Уменьшение времени загрузки шихты
снижает тепловые потери
· Газодинамическое перемешивание ванны расплавленного металла
инертным газом (например азотом). Это увеличивает скорость прогревания металла.
Таблица 1.1 - Характеристики двухкамерной противоточной печи
|
Емкость
|
15 т
|
|
Площадь пода
|
12,39 м2
|
|
Длительность плавки
|
5,85 ч
|
|
Расход флюсов
|
174 кг/т
|
|
Расход топлива
|
235,6 кг У.Т. / т
|
|
Температура плавильной
камеры
|
10000С
|
|
Температура отходящих газов
|
7800С
|
|
Запыленность отходящих
газов
|
1,12 г/м3
|
|
Извлечение алюминия в
готовый продукт
|
92,6%
|
.3 Технологические параметры
В данной работе будет рассмотрена двухкамерная противоточная
отражательную печь емкостью плавильной камеры 15 - 25 т с мазутным отоплением.
Будет осуществляться контроль следующих параметров:
. Расход мазута
Мазут для отопления печи подается через 5 форсунок низкого давления с
максимальной производительностью 150 кг/час. Общий расход мазута:
G max = 600 кг/час
. Расход вентиляторного воздуха
Для горения подается атмосферный воздух или воздух, обогащенный
кислородом до содержания 25-27% О2 . Расход воздуха:
V min = 4330 м3/час
V max = 6500 м3/час
с учетом коэффициента расхода воздуха 1,1-1,2 и потребности мазута в
воздухе Lo=10,83 м3/кг.
. Давление вентеляторного воздуха
p min = 2 кПаmax = 10 кПа
. Температура футеровки в плавильной камере
Т min = 1000ОС
Т max = 1200ОС
. Химический состав отходящих газов
O2 = 0 ÷ 2 %= 0 ÷ 0,05 %
2. ТЕХНИЧЕСКОЕ ОБОСНОВАНИЕ КОНТРОЛЯ ПАРАМЕТРОВ
ТЕХНОЛОГИЧЕСКОГО ПРОЦЕССА
2.1 Расход топлива и воздуха
Контроль расхода топлива и воздуха осуществляется для всех подобных
печей. Точные данные о расходах необходимы при расчетах с поставщиками, кроме
того эти параметры оказывают значительное влияние на весь ход процесса. От
количества подаваемого топлива зависит температура в рабочем пространстве, а
значит и производительность процесса. Расход топлива должен поддерживаться на
заданном уровне.
Контроль расхода воздуха необходим для того, чтобы коэффициент расхода
поддерживался на заданном уровне, необходимом для полного сгорания топлива.
Если коэффициент расхода опускается ниже заданного уровня, топливо сгорает не
полностью. Это понижает экономичность всего процесса, кроме того в печи может
увеличится содержание водорода в газовой фазе и появится опасность его
растворения в металле. Если же окислителя подается слишком много, в печи
создается сильная окислительная атмосфера и увеличивается угар металла и выход
шлака. Таким образом, расход окислителя должен быть согласован с расходом
топлива.
2.2 Давление воздуха
В отражательную печь подается вентиляторный воздух под избыточным
давлением 2 - 10 кПа. Слишком низкое давление на входе может привести к
ухудшению тяги, необходимой для удаления продуктов сгорания, это приведет к
замедлению процесса горения. Аномально высокое давление обычно является
индикатором аварийных ситуаций, например забивания газохода или дымовой трубы.
Поэтому система сбора должна обеспечивать правильную и своевременную реакцию на
изменения давления.
2.3 Температура футеровки
Огнеупорная футеровка отражательных печей испытывает большие тепловые
нагрузки по всей поверхности, это связано с характером теплообмена. Поскольку
срок кампании печи определяется в основном сроком службы футеровки, методы
контроля состояния футеровки имеют большую актуальность. Температура футеровки
должна поддерживаться не выше определенного технологией уровня, чтобы
максимально продлить срок ее службы, снизить тепловые потери через стенки. Это
позволяет повысить экономичность процесса.
2.4 Состав отходящих газов
По составу отходящих газов отражательной печи можно судить о том, как протекает процесс горения. Например, если содержание СО в
отходящих газах достигает заметных размеров, это свидетельствует, что процесс
горения протекает неполно вследствие плохого перемешивания топлива с
окислителем. Кроме того газ СО еще и токсичен, и контролировать его содержание
необходимо, чтобы он не превышал ПДК (ГОСТ 27824-2000 устанавливает содержание
СО в отходящих газах горелок на жидком топливе не более 0,05% об.).
3. ВЫБОР ИЗМЕРИТЕЛЬНЫХ ПРЕОБРАЗОВАТЕЛЕЙ И МИКРОПРОЦЕССОРНОЙ
ТЕХНИКИ
3.1 Измерение расхода
Для измерения расхода существует несколько методов: метод переменного
перепада давления, метод постоянного перепада давления, метод скоростного
напора, электромагнитный, ультразвуковой, кориолисовый и др.
3.1.1 Измерение расхода мазута
Для измерения расхода мазута наиболее подходят кориолисовые расходомеры.
Кориолисовые расходомеры - приборы, использующие для измерения массового
расхода жидкостей, газов эффект Кориолиса. Принцип действия основан на
изменениях фаз механических колебаний U-образных трубок, по которым движется
среда. Сдвиг фаз пропорционален величине массового расхода [5].
Преимущества измерения кориолисовым расходомером:
· высокая точность измерений параметров;
· работают вне зависимости от направления потока;
· не требуются прямолинейные участки трубопровода до и после
расходомера;
· длительный срок службы и простота обслуживания благодаря
отсутствию движущихся и изнашивающихся частей;
· нет необходимости в периодической перекалибровке и регулярном
техническом обслуживании;
· измеряют расход сред с высокой вязкостью;
Основными элементами датчика
расхода являются две расходомерные трубки,
на которых монтируются:
соединительная коробка
с силовой
электромагнитной
(задающей) катушкой возбуждения и магнитом;
два тензодатчика с магнитами и электромагнитными катушками;
терморезистор.
Элементы датчика закрыты защитным кожухом, на котором нанесен указатель направления потока. Внутри
расходомерных трубок специальной формы движется измеряемая среда. Под воздействием задающей катушки
расходомерная трубка колеблется с резонансной частотой. В результате эффекта Кориолиса, возникающем при движении среды в колеблющейся
трубке, различные ее части изгибаются друг относительно друга. Этот изгиб
приводит к взаимному рассогласованию по фазе колебаний различных участков расходомерной трубки,
которое преобразуется
электромагнитными детекторами скорости в выходной сигнал датчика расхода.
Массовый расход определяется путем измерения временной задержки между
сигналами детекторов, которая пропорциональна массовому расходу. При отсутствии потока измеряемой среды
изгиба трубки не происходит, и выходной сигнал отсутствует.
Для измерения расхода мазута был выбран расходомер кориолисовый
Метран-360 R100F. Он пригоден для измерения расхода тяжелых высоковязких жидкостей, таких
как мазут. На рисунке 3.1 показана конструкция расходомера, на рисунке 3.2 -
устройство сенсора расхода.
Рисунок 3.1 - Конструкция расходомера
Рисунок 3.2 - Конструкция сенсора расхода
Расходомер допускает измерение в среде с температурой -40 .. +125 оС
и давлением до 30 МПа. Условный диаметр трубопровода перед расходомером
составляет 25 мм. Предел относительной погрешности измерения равен ±0,5%.
Датчик изготовлен во взрывозащищенном исполнении. Температура окружающего
воздуха должна быть в пределах: -40 .. +60оС
Датчик измеряет расход в диапазоне 33 - 11161 кг/ч. Генерируемый выходной
сигнал (токовый 4-20 мА) пропорционален текущему массовому расходу.
Расходомер устойчив к воздействию:
повышенной влажности (95±3)% при температуре 35°С и более низких температурах без конденсации влаги;
атмосферного давления в диапазоне от 84 до 106,7 кПа (группа исполнения
Р1 по ГОСТ 12997);
вибрации в диапазоне от 5 до 2000 Гц с ускорением 9,8 м/с2;
переменных магнитных полей сетевой
частоты напряженностью
до 40 А/м.
Расходомер соответствует требованиям ГОСТ Р 51649 по электромагнитной совместимости [6].
3.1.2 Измерение расхода воздуха
Для измерения расхода воздуха в больших трубопроводах наиболее подходит
метод переменного перепада давления. Суть его в том, что в трубопровод
вставляется сужающее устройство (диафрагма, труба Вентури и т.п.), и измеряется
перепад давления на нем. Сужающее устройство является местным сопротивлением,
поэтому перепад давления на нем пропорционален скорости потока, которая при
заданном диаметре трубопровода определяется объемным расходом газа. Особенность
метода - обязательное наличие прямого участка трубопровода до и после сужающего
устройства; а также невозможность измерения расхода вязких сред в узких
трубопроводах.
Для измерения расхода воздуха при его подаче в отражательную печь был
выбран расходомер Метран-350-MFA на базе осредняющей напорной трубки OHT Annubar 485. Принцип действия расходомеров основан на измерении расхода среды (жидкости, газа,
пара) методом переменного перепада давления с использованием осредняющей напорной трубки (далее
ОНТ) Annubar. ОНТ Annubar 485 (рисунок 3.3) представляет собой погружную конструкцию, использующую в основе профиль T-образной формы.
Такая конструкция применяется для измерения расхода в трубопроводах Dу
от 50 до 2400 мм.
Рисунок 3.3 - OHT Annubar 485
485 устанавливается фронтальной частью
навстречу потоку,
пересекая его по всему сечению. В центре
фронтальной поверхности профиля, по всей его длине симметрично относительно центра
оси трубопровода располагаются щелевидные пазы, осредняющие скорость потока
измеряемой среды и воспринимающие
давление торможения, которое
передается в «плюсовую» камеру
Р1. Благодаря замене точечных отверстий щелевидными пазами, осреднение
скорости стало более полным и точным, а сама ОНТ меньше засоряется.
Фронтальная часть профиля T-образной формы широкая и плоская, поэтому
точка отрыва
потока более стабильна (значит, стабильнее сигнал
перепада давления), а зона повышенного давления перед профилем более обширна. В результате, сигнал давления, передаваемый камерой р1 на измерительную мембрану датчика, на T-образном профиле
выше, чем на других
формах профилей при том же расходе. По всей длине Annubar 485 с тыльной стороны профиля расположены отверстия,
воспринимающие давление разрежения, которое передается в «минусовую»
камеру Р2. Разность давлений Р1 и Р2 является перепадом давления ∆Р
= Р1-Р2 пропорциональным расходу.
На рисунке 3.4 показана схема монтажа расходомера на горизонтальном
трубопроводе.
Рисунок 3.4 - Монтаж расходомера на горизонтальном трубопроводе
Датчик измеряет расход в диапазоне 4,2 .. 20853600,0 м3/ч
(диапазоны измерений расходов для конкретных условий эксплуатации рассчитываются заводом-изготовителем в соответствии с данными опросного
листа). Температура измеряемой среды составляет -40...400°с (при интегральном
монтаже датчика), -184...677°с ( при удаленном монтаже датчика). Допустимое
избыточное давление в трубопроводе - до 25 МПа. Диаметр условного прохода
трубопровода для данной модели равен 500 мм.
Датчик генерирует аналоговый выходной сигнал 4-20мА, а также цифровой
сигнал по протоколу HART. Предел
относительной погрешности измеряемой величины составляет 1,0 - 3,0 %.
Электропитание осуществляется от внешнего источника тока: напряжение
питания 11…55 В без внешней нагрузки (при передаче
сигнала по 4-20 мА) или с
Rн ≥ 250 Ом (при
передаче сигнала по HART-протоколу); потребляемая мощность не более 1,1 Вт.
Степень защиты от воздействия пыли и влаги для датчика соответствует
стандарту IP 66.
3.2 Измерение давления
Существуют различные принципы измерения давления: тензометрический,
пьезорезистивный, ёмкостной, индуктивный, резонансный. Для измерения давления
воздуха целесообразно использовать емкостные датчики.
Ёмкостные преобразователи (рисунок 3.5) используют метод изменения
ёмкости конденсатора при изменении расстояния между обкладками. Известны
керамические или кремниевые ёмкостные первичные преобразователи давления и
преобразователи, выполненные с использованием упругой металлической мембраны.
При изменении давления мембрана с электродом деформируется и происходит
изменение емкости. В элементе из керамики или кремния, пространство между
обкладками обычно заполнено маслом или другой органической жидкостью. Емкостные
датчики работают наиболее эффективно при невысоких давлениях.
Рисунок 3.5 - Устройство емкостного сенсора
С учетом требуемых характеристик был выбран датчик Метран 3051S-CG 2A с емкостной ячейкой, выполненной по технологии Saturn (рисунок 3.6). Этот датчик
предназначен для измерения избыточного давления или разряжения.
Серия датчиков давления 3051S обладает улучшенными значениями основной
приведенной погрешности ±0,04% (вариант Ultra), ±0,065% (вариант Classic), что связано с применением конструкции Super Module. Технология Saturn позволяет оптимизировать характеристики и расширить возможности преобразователя давления. Цельносварная, герметичная
конструкция корпуса датчика из нержавеющей стали 316L защищает электронику от пыли, влаги и вредных примесей
(степень защиты IP68). Чувствительные разделительные мембраны платформы
Coplanar изолируют технологический процесс.
Мембраны выполнены из различных материалов, в т.ч. сплавов для работы в агрессивных средах. Дополнительно
датчик комплектуется фланцевым соединением,
вентильным блоком, встроенной диафрагмой, разделительной мембраной, что дает законченное, инженерное решение.
Принцип действия. Во время работы
датчика на базе емкостного сенсора разделительные мембраны находятся со стороны высокого
и низкого давления датчика, передают рабочее давление процесса заполняющей масляной жидкости. Эта жидкость, в свою очередь, передает давление
сенсорной мембране в центре σ -ячейки сенсора. Сенсорная мембрана действует как растянутая пружина, отклоняясь в ответ на перепад давлений (в датчиках
избыточного давления атмосферное давление
прикладывается аналогичным образом со стороны низкого давления). Выходной
токовый сигнал пропорционален избыточному давлению.
Выходной сигнал датчика (токовый 4-20 мА) изменяется по линейному
закону или по закону квадратного корня от входного давления (по выбору
пользователя); также поддерживается HART- протокол.
Для работы требуется внешний источник питания с напряжением постоянного
тока 10,5…42,4 В (без нагрузки).
Постоянная времени отклика на ступенчатое изменение параметра составляет
0 - 60 с.
Датчик рассчитан на температуру окружающей среды от -40 до 121°С .
Рисунок 3.6 - Внешний вид датчика давления
Предел перекомпрессии датчика - не более 25000 кПа.
Корпус датчика выполнен из алюминия с полиуретановым покрытием и
обеспечивает защиту от пыли и влаги на уровне IP 68 [6].
3.3 Измерение температуры
Существуют различные методы измерения температуры: манометрический,
терморезистивный, термоэлектрический, оптический и другие. Манометрические
термометры и термометры сопротивления не обеспечивают работы при высоких
температурах, а бесконтактные методы не очень точные. Для измерения температур
1000-1200 градусов Цельсия больше всего подходят термопары (термоэлектрические
преобразователи).
Явление термоэлектричества было открыто немецким физиком Т. Зеебеком в
1821 г. и состоит в следующем. В замкнутой цепи термоэлектрического
преобразователя, состоящего из двух или нескольких разнородных проводников,
возникает электрический ток, если хотя бы два места соединения проводников
имеют разные температуры. Спай, измеряющий температуру t, называется рабочим, а спай, имеющий постоянную температуру t0, - свободным. Проводники А и В
называют термоэлектродами.
Термоэлектрический эффект объясняется наличием в металле свободных электронов,
число которых в единице объема различно для разных металлов. Происходит
диффузия быстрых электронов от горячего конца к холодному, она вызывает
появление термо-ЭДС между холодным и горячим спаем, который и является выходным
сигналом.
Платинородий-платиновые термопары ТПП и ТПР чаще всего применяются при
измерении температур в металлургических печах (до 1600оС). Они могут
работать в окислительных средах. Термоэлектроды изолируются высокочистой
оксидной керамикой и помещаются в защитные корундовые (Al2O3) чехлы. Необходимо только учитывать,
что термопары на основе платины чувствительны к различным загрязнениям,
появляющимся при изготовлении, монтаже и эксплуатации [7].
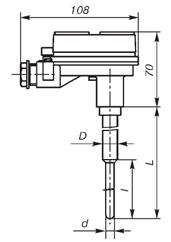
Для измерения температуры футеровки плавильной камеры отражательной печи
была выбрана термопара ТПП-Метран 211-02 S. Датчик предназначен для измерения температуры в нейтральных и окислительных газовых
средах, не взаимодействующих с материалами термоэлектродов и не разрушающих материал защитной арматуры. Герметичен к измеряемой среде до Pу=0,4 МПа [6]. Основные
технические характеристики термопары приведены в таблице 3.1.
Рисунок 3.7 - Термопара ТПП - Метран 211
Таблица 3.1 - Технические характеристики термопары
|
Диапазон измеряемых
температур
|
0...1300°С (t ном. =
1000°С)
|
|
Класс допуска
|
2
|
|
Показатель тепловой инерции
|
90 с
|
|
Нормальная статическая
характеристика
|
S
|
|
Рабочий спай
|
изолированный
|
|
Количество чувствительных
элементов
|
1
|
|
Материал термоэлектродов
|
ПР10 ф0,5 мм (+), ПлТ ф0,5
мм (-)
|
|
Материал головки
|
сплав АК12
|
|
Материал защитной арматуры
|
12Х18Н10Т, погружаемая
часть - корунд КТВП
|
|
Масса
|
0,73...3,60 кг
|
|
Способ крепления на объекте
|
установка в гнездо
|
|
Степень защиты корпуса от
воздействия пыли и воды
|
IP65 по ГОСТ 14254
|
|
Климатическое исполнение
|
У3, Т3 по ГОСТ 15150, при
верхнем значении температуры окружающего воздуха до 85°С.
|
|
Средний ресурс при
номинальной температуре измерения
|
не менее 6500 ч
|
|
Методика поверки
|
в соответствии с ГОСТ 8.338
|
Поскольку датчик имеет неопределенный выходной сигнал, требуется
использование нормирующего преобразователя, который преобразует его в
стандартный сигнал с линейной характеристикой.
Для этих целей был выбран нормирующий преобразователь НП-02-12-S. Нормирующие одноканальные
преобразователи НП-02 предназначены для преобразования сигнала активного сопротивления или напряжения постоянного тока в
выходной унифицированный токовый сигнал и используются в системах контроля и управления технологическими процессами в различных отраслях промышленности [6].
Преобразователь является:
· по числу преобразуемых входных сигналов - одноканальным;
· по зависимости выходного сигнала от входного - с линейной
зависимостью;
· по связи между входными и выходными цепями: с гальванической
связью.
Внесен в Госреестр средств измерений под №14285-94.
Преобразователь поддерживает входной сигнал: ТПП НСХ - S, 0...1300 градусов Цельсия, который
дает наша термопара (см. выше). Прочие характеристики даны в таблице 3.2.
Таблица 3.2 - Технические характеристики преобразователя
|
Пределы изменений выходного
сигнала
|
4-20 мА.
|
|
Предел допускаемой основной
приведенной погрешности
|
±0,5% от нормирующего
значения (16 мА)
|
|
индикация
|
"Преобразователь
включен"
|
|
Время установления
выходного сигнала
|
1 с
|
|
Максимальная перегрузка
|
25% от диапазона входного
сигнала
|
|
Электрическое питание
|
от сети 220 В, 50 Гц
|
|
Потребляемая мощность
|
5 ВА
|
|
Габаритные размеры
|
|
Исполнение
|
щитовое
|
|
Масса
|
не более 1,6 кг
|
3.4 Измерение состава отходящих газов
Определение состава газов без предварительной подготовки осуществляется
приборами - газоанализаторами. Основные принципы действия газоанализаторов:
термокондуктометрический, магнитный, инфракрасный, электрохимический,
термокаталитический, люминесцентный.
Электрохимический принцип. Действие основано на зависимости между параметром
электрохимической системы и составом анализируемой смеси, поступающей в эту
систему. При взаимодействии кислорода с электродом протекает химическая
реакция, вызывающая протекания электрического тока Ток, протекающий по внешней
цепи электролита, пропорционален содержанию кислорода в газовой смеси. В
составе газовой смеси не должно быть электрохимически активных газов (хлора,
окислов азота, сероводорода и др.).
Термокаталитический принцип особенно эффективен при обнаружении горючих
газов и паров. Термокаталитический сенсор имеет металлический или пластмассовый
корпус. Через газопроницаемую мембрану горючий газ поступает на два миниатюрных
керамических шарика. Внутри шариков (пеллисторов) находится платиновая спираль,
нагреваемая протекающим током примерно до 450 °C. Один из шариков (активный
пеллистор) имеет каталитическое покрытие, которое окисляет омывающий его газ, что приводит к повышению его (пеллистора)
температуры. Это повышение можно измерить благодаря изменению сопротивления
платиновой спирали внутри активного пеллистора. Это сопротивление сравнивается
с сопротивлением пассивного пеллистора. В определенном диапазоне соотношение
этих сопротивлений будет пропорционально концентрации газа [8].
Постановка задачи. Отходящие газы отражательной печи в основном состоят
из СО2, Н2О, SO2,
N2, а также содержат небольшие количества NOx ,О2 и СО (последние два
нас и интересуют с точки зрения управления процессом). Имеют температуру
600-800 ОС и запыленность около 1,1 г/м3 . Как
упоминалось в разделе «Обоснование контроля технологических параметров», мы
измеряем концентрацию О2 и СО с целью контроля полноты сгорания
топлива. Особые условия приводят к необходимости использования
специализированного газоанализатора для дымовых газов промышленных печей.
Таковым является АКВТ-03-ИБЯЛ.413415.003-08, Стационарный
газоанализатор объемной доли кислорода и СО в уходящих газах (ЗАО
ПРОМПРИБОР) [9].
Газоанализатор предназначен для поддержания оптимального соотношения
топливо-воздух за счет непрерывного контроля содержания кислорода и оксида
углерода с целью оптимизации процессов горения
и предотвращения химического недожога.
Область применения: на предприятиях теплоэнергетики, в котлоагрегатах
ТЭЦ, ГРЭС и различных котельных, а также в промышленных печах, металлургии,
нефтепереработки, машиностроении и других отраслях промышленности.
Тип газоанализатора - стационарный.
Принцип работы - электрохимический (на основе ZrO2) и
термокаталитический на СО. Газоанализатор работает без сравнительного газа.
Способ забора пробы - принудительный.
Общий вид газоанализатора показан на рисунке 3.8.
Рисунок 3.8 - Газоанализатор АКВТ-03
Датчик измеряет концентрацию в диапазонах: 0 - 21 % O2 , 0 - 1000 ppm CO. Температура анализируемой среды должна быть в пределах 100
- 1050 градусов Цельсия.
Питание кислородомера осуществляется от сети переменного напряжения 220
В, 50 Гц, номинальная мощность составляет 400 ВА.
Время прогрева газоанализаторов не превышает 4ч. Время установки
показаний составляет: 10 с (для О2 ), 40 с (для СО).
Датчик может генерировать выходной сигнал следующих типов: аналоговый
токовый в диапазонах (0 - 5) , (4 - 20) мА, цифровой RS 485 MODBUS.RTU. Датчик
имеет цифровую индикацию показаний.
Макс. длина соединительного кабеля между блоком датчиков и блоком
обработки равна 50 м.
3.5 Программируемый логический контроллер
Для организации первичной обработки аналоговых сигналов от датчиков,
связи с операторской станцией и, возможно, интеграцией в промышленную сеть, был
выбран контроллер SIEMENS SIMATIC S7-300.
Особенности контроллера:
· Модульный программируемый контроллер универсального
назначения для решения задач автоматизации низкой и средней степени сложности.
· Широкий спектр модулей для максимальной адаптации аппаратуры
к решению любой задачи.
· Высокая гибкость, возможность использования систем распределенного
ввода-вывода, мощные коммуникационные возможности.
· Удобная конструкция, простота монтажа, работа с естественным
охлаждением.
· Простота расширения системы в ходе модернизации объекта.
· Высокая производительность благодаря наличию большого
количества встроенных функций.
Технические характеристики контроллера приведены в таблице 3.3. [10]
Программируемые контроллеры SIMATIC S7-300 поддерживают широкий набор
функций, позволяющих в максимальной степени упростить процесс разработки
программы, ее отладки, снизить затраты на выполнение монтажных и
пуско-наладочных работ, а также на обслуживание контроллера в процессе его
эксплуатации:
· Быстрое выполнение команд: Времена выполнения команд около
0.1 мкс позволяет использовать контроллер для решения широкого спектра задач
автоматизации в различных областях промышленного производства.
· Поддержка математики с плавающей запятой: Позволяет
поддерживать сложные комплексные алгоритмы цифровой обработки информации.
· Удобный интерфейс настройки параметров: Для настройки
параметров всех модулей используются простые инструментальные средства с единым
интерфейсом пользователя. Это существенно снижает затраты на обучение
персонала.
· Человеко-машинный интерфейс (HMI):Функции обслуживания
человеко-машинного интерфейса встроены в операционную систему контроллера
S7-300. Эти функции позволяют существенно упростить программирование: система
или устройство человеко-машинного интерфейса SIMATIC HMI запрашивает
необходимые данные у контроллера SIMATIC S7-300, контроллер передает
запрашиваемые данные с заданной периодичностью. Все операции по обмену данными
выполняются автоматически под управлением операционной системы контроллера. Все
задачи выполняются с использованием одинаковых символьных имен и общей базы
данных.
· Диагностические функции: Центральные процессоры оснащены
интеллектуальной системой диагностирования, обеспечивающей постоянный контроль
и регистрацию отказов и специфичных событий (ошибки таймеров, отказы модулей и
т.д.). Сообщения об этих событиях накапливаются в кольцевом буфере и снабжаются
метками даты и времени, что позволяет производить дальнейшую обработку этой
информации.
· Парольная защита: Парольная защита обеспечивает эффективную
защиту программ пользователя от несанкционированного доступа, попыток
копирования или модификации программы.
Таблица 3.3 - Технические характеристики контроллера
|
Степень защиты
|
IP 20 в соответствии с IEC
529
|
|
Диапазон рабочих температур
|
|
|
при горизонтальной
установке
|
0…60°C
|
|
при вертикальной установке
|
0…40°C
|
|
Относительная влажность
|
5…95%, без конденсата (RH
уровень сложности 2 в соответствии с IEC 1131-2)
|
|
Атмосферное давление
|
795 … 1080 ГПa
|
|
Изоляция
|
|
|
цепи =24 В
|
Испытательное напряжение
=500В
|
|
цепи ~230 В
|
Испытательное напряжение
~1460В
|
|
Электромагнитная
совместимость
|
Регламентируется German EMC
Legislation По EN 50082-2 (устойчивость к шумам), испытания по IEC 801-2, ENV
50140, IEC 801-4, ENV 50141, IEC 801-5; Наводки по EN 50081-2, испытания по
EN 55011, класс A, группа 1
|
Используемые модули
· Центральный процессор CPU314
· Модуль аналогового ввода SM-311 6ES7 331-7HF01-0AB0
· Микро карта памяти MMC
· Коммуникационный процессор CP 343-5 (PROFIBUS FMS)
Ввод сигналов от датчиков осуществляется через модуль аналогового ввода SM-311 6ES7 331-7HF01-0AB0, который
имеет 8 входов, поддерживает сигнал 4-20 мА. Связь с операторской станцией
осуществляется с помощью интерфейса MPI, встроенного в центральный процессор. Контроллер подключается через
адаптер MPI-USB к операторской станции.
Для возможности интеграции контроллера в общую сеть предприятия (если это
необходимо) предусмотрен коммуникационный процессор с интерфейсом PROFIBUS FMS.
CP 343-5 может быть использован для:
· Организации связи между PROFIBUS-станциями по протоколу
PROFIBUS FMS.
· Организации связи с программаторами, устройствами и системами
человеко-машинного интерфейса.
· Организации связи с другими системами автоматизации SIMATIC
S7/ C7.
· Организации связи с программируемыми контроллерами SIMATIC
S5/ 505.
3.6 Описание схемы сбора технологической информации
Датчики соединяются с модулем аналогового ввода программируемого
логического контроллера посредством интерфейса «Токовая петля». Контроллер
подключается к операторской станции с помощью интерфейса MPI, поддерживаемого центральным
процессором. На операторской станции должна быть установлена ОС Windows 2000 / XP , Microsoft SQL Server SP4 и SCADA-система
WinCC v6.0. Контроллер может быть включен в сеть Profibus FMS для организации межконтроллерного взаимодействия.
Структурная схема сбора технологической информации приведена в приложении А.
Первичные преобразователи монтируются по месту; нормирующий
преобразователь термопары, блок обработки газоанализатора и программируемый
логический контроллер монтируются в шкаф управления.
Подвод питания к шкафу управления производится силовым кабелем АВВГ. В
цепь питания включен автомат, кнопки включения и отключения, сигнальная лампа,
две служебные розетки на 220В, двухканальный блок питания Метран (для питания
датчика давления и датчика расхода воздуха), контроллер, нормирующий
преобразователь температуры, блок обработки газоанализатора и кориолисовый
расходомер (с внутренним блоком питания). Принципиальная схема электрических
соединений приведена в приложении В.
Внутри шкафа управления на узкой DIN-рейке монтируются автомат, блок питания и розетки.
ПЛК монтируется на профильной шине S7 300. На внешней стороне шкафа
управления устанавливаются две кнопки, сигнальная лампа, блок обработки
газоанализатора (с индикацией показаний) и нормирующий преобразователь
температуры (с индикацией «есть сигнал»/ «нет сигнала»). Чертеж развертки шкафа
управления приведен в приложении Г. Список приборов перечислен в спецификации к
электрической схеме (см. приложение В).
Датчики соединяются со шкафом управления сигнальными кабелями МКЭШ.
Кориолисовый расходомер также имеет дополнительный силовой кабель АВВГ для
подвода питания, как определено в документации производителя [6]. Все кабели
заключаются в защитные гофрированные трубы. Подробная схема внешних проводок и
спецификация кабелей приведена в приложении Д.
4. ОПИСАНИЕ ПРОГРАММНОГО ПРОДУКТА
4.1 Назначение программного продукта
В проектируемой информационной системе функция представления
технологической информации в удобном для восприятия виде реализуется с помощью
программы, разработанной в среде программного пакета SIMATIC WinCC. Программа должна выполнять ряд определенных
диспетчерских функций:
наглядное представление контролируемых параметров на мнемосхеме процесса;
ведение архива значений контролируемых параметров;
вывод сообщений при выходе параметров за допустимые пределы;
вывод графиков и таблиц изменения технологических параметров во времени;
обеспечение сервиса по выводу на печать отчетов.
Программа, разрабатываемая для данного курсового проекта, создана с
помощью программного пакета WinCC v6.0.
Программное обеспечение предназначено для оперативного предоставления
производственному персоналу полного объема информации о ходе процесса
отражательной плавки. Использование программы позволит упростить управление
технологическим процессом, повысить эффективность производства, уменьшить
вероятность простоев оборудования и аварий.
4.2 Описание среды разработки программы
WinCC v6.0
В серии продуктов SIMATIC HMI для Мониторинга и
Наблюдения WinCC выступает в качестве системы визуализации процесса (SCADA),
дифференцируемой по цене и производительности и предлагающей наиболее эффективные функции
для управления автоматизированными процессами. Одним из главных преимуществ WinCC является ее полная открытость. Эта система может использоваться как со стандартными программами, так и с пользовательскими программами, позволяя создавать человеко-машинные
интерфейсы, которые наиболее полно удовлетворяют предъявляемым требованиям. Программные компании могут создавать свои собственные приложения, используя открытые интерфейсы WinCC для расширения своих собственных систем [11].- это современная система
с удобным
пользовательским интерфейсом для создания офисных
и промышленных приложений, гарантирующая стабильную и надежную работу и предоставляющая эффективные
инструментальные средства для конфигурирования. Она подходит как для простых, так и
для сложных задач, а также может служить платформой для ИТ & Бизнес
интеграции. Благодаря всестороннему
сервисному обслуживанию и поддержке Siemens WinCC может использоваться по всему миру.
Наиболее впечатляющими свойствами SIMATIC WinCC с
самого начала были, с одной стороны, высокий уровень
инноваций, позволяющий определять тенденции развития и внедрять их на самых ранних стадиях, а с
другой стороны, долговременная стратегия развития продукта, основанная на
стандартах, гарантирующих сохранность ваших
инвестиций. Этот подход позволил WinCC стать промышленным стандартом, лидером
на европейском рынке и номером
2 на мировом рынке.
Интерфейс системы проектирования WinCC был разработан для использования
системы на международном рынке - для переключения между немецким, английским,
французским, испанским и итальянским языками надо нажать всего одну кнопку.
Азиатская версия же даже поддерживает китайский, тайваньский, корейский и
японский языки. Возможно создать проект, который будет поддерживать несколько
языков в режиме исполнения, позволяя изменять язык во время работы. Это
позволяет использовать одно и тоже решение визуализации на различных целевых
рынках. SIMATIC WinCC удовлетворяет требованиям широкого спектра приложений, так как базовая система не ориентирована на какую-то определенную
техническую или промышленную область. WinCC также является компонентом
визуализации системы управления процессом SIMATIC PCS 7 и HMI платформой для различных систем визуализации и диспетчерского управления фирмы Siemens (например, выработка и распределение электроэнергии, устройства с нечеткой логикой) и других производителей (например, управление оборудованием).
Основным преимуществом системы является наличие всех
функций, присущих SCADA системам - для полной графической визуализации процесса и его состояний, для cсоздания отчетов
и квитирования событий, для регистрации значений измеряемых
величин и сообщений системы, для регистрации и архивирования данных, для управления пользователями и их правами доступа. Система
непрерывно регистрирует последовательность операций и событий, влияющих на качество, что позволяет осуществлять постоянный контроль качества.
Усовершенствованные функции проектирования заметно сокращают время и усилия, необходимые для разработки и обучения работе
с системой: удобный для пользователя, объектно-ориентированный графический
редактор (с индивидуальными настройками и возможными расширениями, создаваемыми
с помощью Visual Basic для приложений (VBA)), обширные библиотеки, модульная технология, возможность
оперативного изменения с использованием проектирования в режиме online,
инструментальные средства проектирования для обработки больших массивов данных, прозрачность системы, благодаря списку
перекрестных ссылок.
Чтобы система всегда
соответствовала возрастающим потребностям,
должна существовать возможность расширять систему визуализации процесса в любое время без потери начальных инвестиций в результате полной
реконфигурации. То есть сохранность инвестиций является ключевым фактором. В связи с этим, SIMATIC WinCC предоставляет возможность расширять систему в соответствии с растущими требованиями, предъявляемыми к
системе: от однопользовательской системы
до резервируемого
клиент-серверного решения с встроенным Историческим архивом (англ. Historian) и операторскими станциями,
подключаемыми через Интернет.
WinCC поддерживает высочайший уровень
открытости и широкие возможности интеграции: управляющие элементы ActiveX для приложений, ориентированных на конкретную технологию, а также для вертикального
расширения, возможность связи с процессом с использованием OPC (OLE для управления процессом), стандартные интерфейсы для внешнего доступа к базе данных (WinCC OLE-DB),
интегрированные стандартные языки скриптов (VBScript и ANSI-C), доступ к данным и системным функциям через Application Programming Interface с помощью
Open Development Kit (WinCC/ODK). Функциональность WinCC можно расширять подключением
дополнительных динамических библиотек, функции которых можно вызывать из языка
С. Также можно вызывать функции из Windows API.
В базовую систему SIMATIC WinCC включен мощный,
масштабируемый Исторический архив (Historian), выполненный на базе
Microsoft's SQL Server 2000. Теперь
пользователям предлагается ряд возможностей, начиная от высокопроизводительного
архивирования текущих данных процесса и событий,
долгосрочного архивирования с высоким уровнем
сжатия/обработки данных
и функциями резервирования, до централизованного обмена данными
на базе корпоративного сервера
исторических архивов
(Historian). Встроенный сервер исторических архивов (Historian) с открытыми интерфейсами баз данных, программными интерфейсами и набором соответствующих опций является основой SIMATIC WinCC для гибкой и эффективной ИТ и бизнес
интеграции.
Базовый пакет
WinCC представляет собой ядро для целого спектра различных приложений. Кроме того, был
разработан ряд опций WinCC (департаментами Siemens A&D), основанных на использовании открытых программных интерфейсов, а также набор дополнительных пакетов
WinCC (различными партнерами Siemens). Опции WinCC могут использоваться для масштабирования конфигураций системы, для увеличения
работоспособности, для ИТ и бизнес интеграции, для расширения WinCC как SCADA
системы и системных расширений, а также для обеспечения возможности аттестации
системы в соответствии с FDA 21 CFR Part 11. Часть комплексной системы
автоматизации (TIA) Концепция Totally Integrated Automation (TIA) подразумевает возможность полной
интеграции отдельных компонентов
автоматизации, что позволяет уменьшить затраты
на проектирование и на поддержание всего жизненного цикла системы. Это означает, что, например, WinCC имеет непосредственный
доступ к тегам и системе аварийных сообщений контроллера SIMATIC и может
использовать его параметры связи. С самого начала это позволяет избежать многократного ввода, требующего лишних затрат
времени и финансовых затрат, а также исключает возможный источник дополнительных ошибок.
Другим преимуществом комплексной системы автоматизации является наличие
встроенных средств диагностики. Взаимодействуя с другими компонентами SIMATIC, WinCC поддерживает диагностику систем и процесса во время исполнения, например, вызывает блоки STEP 7 или диагностику аппаратуры непосредственно из кадра WinCC, локализует и устраняет ошибку с помощью
WinCC/ProAgent.
Программный продукт создавался в среде разработки WinCC v6.0 WinCC - это мощная система
человеко-машинного интерфейса (HMI), работающая под управлением операционной
системы Microsoft Windows 2000 или Windows XP. Аббревиатура HMI означает
"Human Machine Interface", то есть интерфейс между человеком
(оператором) и устройством (процессом). Автоматизация процесса позволяет
поддерживать фактический контроль над всем процессом. Для обеспечения контроля
устанавливается с одной стороны связь между WinCC и оператором, а с другой
стороны - между системой автоматизацией и WinCC. WinCC используется для
визуализации процесса и разработки графического интерфейса оператора.
4.3 Основные этапы создания программного продукта
Для редактирования проекта WinCC
используется программа “WinCC Explorer” из
которой можно получить доступ к основным редакторам WinCC:
· Tag Management - управление тегами процесса
· Graphics Designer - создание графических экранов для
визуализации процесса
· Alarm Logging - система архивирования событий (тревог)
· Tag Logging - система архивирования значений технологических
параметров
· Global Script Editor - редактор сценариев на языках Ansi С и VBA
Последовательность действий при создании программы:
. Определение тегов процесса
В редакторе Tag Management задаются основные теги процесса,
соответствующие контролируемым технологическим параметрам (приведены в таблице
4.1). Для лучшего структурирования, теги СО и О2 объединяются в группу тегов (Gas). На рисунке 4.1 приведен экран
редактора Tag Management со списком созданных тегов.
Таблица 4.1 - Теги процесса
|
Название тега
|
Тип данных
|
Параметр
|
|
Oil_Flow
|
Floating point
32-bit
|
Расход топлива
|
|
Air_Flow
|
Floating point
32-bit
|
Расход воздуха
|
|
Air_Pressure
|
Floating point
32-bit
|
Давление воздуха
|
|
Temp
|
Floating point
32-bit
|
Температура футеровки
|
|
Gas\CO
|
Floating point
32-bit
|
Содержание СО в отходящих
газах
|
|
Gas\O2
|
Floating point
32-bit
|
Содержание О2 в
отходящих газах
|
2. Настройка системы архивирования тегов
Редактор Tag Logging позволяет настроить архивирование
тегов процесса. В данной программе архивирование тегов производится по таймеру
с периодичностью 5 секунд. На рисунке 4.2 представлено окно редактора Tag Logging на этапе настройки параметров архива.
Рисунок 4.1 - Окно редактора Tag Management
Рисунок 4.2 - Настройка системы архивирования тегов
. Настройка системы сообщений
Настройка системы сообщений (тревог) осуществляется в редакторе Alarm Logging. Для контроля выхода параметров за допустимые пределы
используется инструмент Analog Alarm. Для каждого
тега задается максимальное и минимальное значение, и определяется номер
сообщения.
Редактор Alarm Logging позволяет определить, какие
текстовые блоки сообщений будут отображаться (дата, время, текст сообщения и
т.п.), а также настроить параметры оформления (цвет, шрифт) для разных типов
сообщений. В данной программе настроено отображение активных сообщений красным
цветом, подтвержденных - желтым цветом, а прошедших - зеленым цветом. На
рисунке 4.3 приведено окно редактора Alarm Logging.
Рисунок 4.3 - Окно редактора Alarm Logging
. Создание графических экранов процесса
Графические экраны для визуализации процесса создаются в программе Graphics Designer. На рисунке 4.4 приведен главные
экран процесса на этапе разработки.
Рисунок 4.4 - Мнемосхема процесса на этапе разработки
Графический редактор позволяет вставить в экран процесса как статические
элементы (рисунки, надписи), так и различные элементы управления: поля
ввода-вывода, кнопки, графики, таблицы. В данной работе создается несколько
экранов процесса, подробнее они описаны в разделе «Структура и функции
программного обеспечения». Главный экран используется для отображения значений
технологических параметров в текущий момент времени на мнемосхеме процесса. Переход
на другие экраны предусмотрен с помощью кнопок.
. Настройка системы отчетов.
Программа Report Designer используется для определения
шаблонов отчетов и заданий принтера. В данной работе используются стандартные
шаблоны отчетов, которые позволяют вывести на печать график, таблицу, или
текущие активные сообщения тревог. Задания принтера настроены таким образом,
что пользователь может выбрать принтер в диалоговом окне.
Сценарии на языке С используются для расширения функциональности SCADA-системы, для выполнения различных
служебных функций. Например, можно отображать разным цветом индикатор на
графическом экране, в зависимости от режима процесса, что намного повышает
наглядность представления технологической информации. Для редактирования
сценариев используется Global Script Editor (рисунок 4.5).
Рисунок 4.5 - Редактор сценариев на языке С.
Некоторые сценарии, используемые в программе, приведены ниже.
UpdateGas - функция, которая выводит в главном окне предупреждающий символ при
превышении концентрации СО и О2 выше допустимого предела.
void UpdateGas()
{float
CO=0.0f;O2=0.0f;=GetTagFloat("gas_CO");//Return-Type:
float=GetTagFloat("gas_O2");//Return-Type:
float(O2>2.0f||CO>0.05f){("furnace.Pdl","GasWarning",1);//Return-Type:
BOOL;
}("furnace.Pdl","GasWarning",0);//Return-Type:
BOOL
}
UpdateTemp - функция, которая включает красный цвет в индикаторе температуры (на
главном экране), если она превышает заданный предел, иначе устанавливает
зеленый цвет.
#define RGB(r,g,b)
((COLORREF) (((BYTE) (r)|((WORD)((BYTE)(g))<<8))|
(((DWORD)(BYTE)(b))<<16)))UpdateTemp()
{t=0.0f;=GetTagFloat("Temp");//Return-Type:
float(t>1200.0f){("furnace.Pdl","TempIndicator",RGB(255,0,0));//Return-Type:
BOOL
}{("furnace.Pdl","TempIndicator",RGB(0,255,0));
}
}
ExitProgram - функция, осуществляющая выход из программы с запросом подтверждения
пользователя.
#pragma
code("user32.dll")MessageBox(HWND,LPTSTR,LPTSTR,int);GetForegroundWindow();
#define MB_YESNO 0x00000004L
#define MB_ICONQUESTION 0x00000020L
#define MB_SETFOREGROUND 0x00010000L
#define IDYES 6
#define IDNO 7ExitProgram()
{res;=MessageBox(GetForegroundWindow(),
"Вы действительно хотите выйти из программы WinCC?"
,"Подтверждение",MB_YESNO|MB_ICONQUESTION|MB_SETFOREGROUND);(res==IDYES){();
}
}
7. Тестирование программы
Тестирование программы осуществляется с помощью встроенной утилиты WinCC Tag Simulator. В ней задается определенная функция
изменения для каждого параметра (синусоида, увеличение, уменьшение, случайное
изменение т.п.). Окно программы с включенной симуляцией показано на рисунке
4.6.
Рисунок 4.6 - Окно программы WinCC Tag Simulator
4.4 Структура и функции программного продукта
Разрабатываемый программный продукт включает в себя несколько графических
экранов, каждый из которых выполняет определенные функции.
. Мнемосхема процесса (Главный экран).
На этом экране осуществляется отображение значений контролируемых
параметров в текущий момент времени, вывод активных сообщений о выходе
параметров из допустимых пределов. Также на этом экране расположены кнопки, с
помощью которых пользователь переходит на другие экраны процесса. Вид главного
экрана показан на рисунке 4.7.
Рисунок 4.7 - Главный экран процесса
. График расхода топлива
. График расхода воздуха и давления воздуха
. График содержания компонентов в отходящих газах
. График температуры
На экранах 2 - 5 отображаются графики изменения технологических
параметров во времени (они разделены на несколько экранов для удобства).
Переход на экран графика осуществляется нажатием кнопки на главном экране,
рядом с названием соответствующего параметра. На каждом графике есть
возможность вывода отчета на печать. Для перехода на главный экран
предусмотрена кнопка «Закрыть». Вид экрана с графиком показан на рисунке 4.8.
Рисунок 4.8 - Вид экрана с графиком температуры
. Таблица значений параметров
На этом экране отображается сводная таблица значений всех параметров за последние моменты времени. Предусмотрена возможность
вывода отчета на печать. Для перехода на главный экран предусмотрена кнопка
«Закрыть». Вид экрана с таблицей показан на рисунке 4.9.
Рисунок 4.9 - Вид экрана с таблицей
. Архив событий
Экран предназначен для отображения архива последних событий (тревог),
которые генерируются при выходе параметров из заданных пределов. Оператор может подтвердить ознакомление со списком событий
нажатием кнопки Acknowledge all visible messages на панели инструментов. Также
предусмотрена возможность вывода отчетов на печать. Вид экрана со списком
событий показан на рисунке 4.10. Переход к экрану осуществляется с помощью
кнопки «Архив событий» в главном окне.
Рисунок 4.10 - Окно архива событий
. Справочная система
Справочная система открывается с помощью кнопки «Помощь» в главном окне.
Экран справочной системы сожержит ActiveX-элемент Web Browser, в котором
отображаются HTML-документы справки. Для правильной
работы этого экрана необходимо, чтобы файлы справки находились на конечном компьютере в папке “c:\help\ “ . При
запуске автоматически откроется файл index.htm. Остальные файлы доступны по
гиперссылкам. Также есть возможность перейти на веб-сайт поддержки WinCC, и просмотреть информацию о
программе. Вид экрана стправочной системы показан на рисунке 4.11.
Рисунок 4.11 - Окно справочной системы
программный
отражательный печь технологический
В некоторых экранах процесса есть возможность вывода отчетов на печать.
Для этого пользователь должен остановить обновление экрана (кнопка STOP), затем нажать кнопку с изображением
принтера. Система настроена так, что при этом будет выведен диалог выбора
принтера (рисунок 4.12). Пользователь может выбрать один из установленных
принтеров, а также настроить параметры печати. После нажатия кнопки Start Log на принтер будет выведен отчет (используются
стандартные шаблоны WinCC).
Для выхода из программы предусмотрена кнопка «Выход» в главном окне. При
нажатии кнопки выводится всплывающее диалоговое окно в подтверждением (рисунок
4.13). Если пользователь подтверждает выход, работа WinCC будет завершена.
Рисунок 4.12 - Диалог выбора принтера
Рисунок 4.13 - Подтверждение закрытия программы
ЗАКЛЮЧЕНИЕ
В ходе выполнения данного курсового проекта разработано программное
обеспечение, предназначенное для сбора, обработки и представления первичной
технологической информации в соответствии с составленным техническим заданием.
Был произведен выбор соответствующей датчиковой аппаратуры и программируемого
логического контроллера. Построена структурная схема сбора информации,
функциональная схема размещения оборудования, а также спроектирован шкаф
управления, схема электропитания, схема внешних проводок. Программный продукт
отвечает всем требованиям, которые были поставлены заказчиком по техническому
заданию. Задачи, которые были поставлены перед разработкой проекта, выполнены.
СПИСОК ЛИТЕРАТУРЫ
1. Спирин
Н. А. Информационные системы в металлургии: учебник для вузов [Текст]/ Н. А.
Спирин, Ю. В. Ипатов, В. И. Лобанов, В. А. Краснобаев, В. В. Лавров, В. Ю.
Рыболовлев, В. С. Швыдкий, С. А. Загайнов, О. П. Онорин. - Екатеринбург:
Уральский государственный технический университет - УПИ, 2001. - 617 с.
. Галевский
Г. В. Металлургия вторичного алюминия: Учебное пособие для вузов [Текст]/ Г. В. Галевский, Н. М. Кулагин, М. Я. Минцис. - Новосибирск:
Наука. Сибирское предприятие РАН, 1998. - 289 с.
. Худяков
И. Ф. Технология вторичных цветных металлов: Учебник для вузов. [Текст]/ И. Ф. Худяков, А. П. Дорошкевич, С. Э. Кляйн и др. - М.: Металлургия, 1981. - 280 с.
. Набойченко
С. С. Процессы и аппараты цветной металлургии: Учебник для вузов [Текст]/ С. С. Набойченко, Н. Г. Агеев, А. П. Дорошкевич, В. П. Жуков,
Е. И. Елисеев, С. В. Карелов, А. Б. Лебедь. - Екатеринбург: УГТУ, 1997. - 648 с.
. Кориолисовые
расходомеры [Электронный ресурс]. Режим доступа: #"554315.files/image023.gif">
Рисунок А.1 - Структурная схема сбора технологической информации
- датчик давления воздуха
- датчик расхода мазута
- термопара
- газоанализатор
Приложение Б Функциональная схема сбора информации
Приложение В Принципиальная электрическая схема

Приложение Г Чертеж шкафа управления
Приложение Д Схема внешних проводок
