Расходомеры

  • Вид работы:
    Реферат
  • Предмет:
    Другое
  • Язык:
    Русский
    ,
    Формат файла:
    MS Word
    321,93 Кб
  • Опубликовано:
    2015-01-14
Вы можете узнать стоимость помощи в написании студенческой работы.
Помощь в написании работы, которую точно примут!

Расходомеры

СОДЕРЖАНИЕ

Введение

. Расходомер переменного перепада давления

1.1 Расходомеры с сужающими устройствами

1.2 Расходомеры с гидравлическим сопротивлением

.3 Расходомеры с напорным устройством

1.4 Расходомеры с напорными усилителями

.5Ударно - струйные расходомеры

. Расходомеры постоянного перепада давления

2.1 Ротаметры

.2 Поплавковые расходомеры

.3 Поршневые расходомеры

. Расходомеры с изменяющимся перепадом давления

.1 Поплавково-пружинные расходомеры

.2 Тахометрические расходомеры

Заключение

Список литературы

Введение

Расход вещества - это масса или объем вещества, проходящего через данное сечение канала средства измерения расхода в единицу времени.

В зависимости от того, в каких единицах измеряется расход, различают объемный расход или массовый расход. Объемный расход измеряется в м3/с (м3/ч и т. д.), а массовый - в кг/с (кг/ч, т/ч и т. д.).

Расход вещества измеряется с помощью расходомеров, представляющих собой средства измерений или измерительные приборы расхода. Многие расходомеры предназначены не только для измерения расхода, но и для измерения массы или объема вещества, проходящего через средство измерения в течение любого, произвольно взятого промежутка времени. В этом случае они называются расходомерами со счетчиками или просто счетчиками. Масса или объем вещества, прошедшего через счетчик, определяется по разности двух последовательных во времени показаний отсчетного устройства или интегратора. По принципу действия разделяются на следующие основные группы: переменного перепада давления; обтекания - постоянного перепада давления; тахометрические; электромагнитные; переменного уровня; тепловые; вихревые; акустические. Кроме того, известны расходомеры, основанные на других принципах действия: резонансные, оптические, ионизационные, меточные и др. Однако многие из них находятся в стадии разработки и широкого применения пока не получили.[8].

1. Расходомер переменного перепада давления

расходомер давление технологический

Расходомером переменного перепада давления называется измерительный комплекс, основанный на зависимости от расхода перепада давления, создаваемого преобразователем расхода, установленным в трубопроводе, или элементом последнего.

Расходомеры переменного перепада давления имеют следующие разновидности, в зависимости от вида преобразователя расхода:

.С сужающими устройствами;

. С гидравлическим сопротивлением;

. Центробежные;

. С напорными устройствами;

.С напорными усилителями;

. Ударно - струйные.

 

.1 Расходомеры с сужающими устройствами


Расходомеры с сужающими устройствами СУ основаны на измерении перепада давления, возникающего в результате преобразования в СУ части потенциальной энергии в кинетическую. Основным преимуществом данных расходомеров является универсальность применения. Они используются для измерения расхода, большинства однофазных и многих двухфазных, сред при самых различных давлениях и температурах. Расходомеры переменного перепада давления достаточно удобны для массового производства. Индивидуально изготовляется только преобразователь расхода - сужающее устройство. Все остальные части могут изготавливаться серийно (например, дифференциальный манометр и вторичный прибор), их устройство не зависит ни от вида, ни от параметров измеряемой среды.

Однако расходомеры с сужающим устройством имеют некоторые недостатки, наиболее существенными из которых являются следующие:

.Квадратичная зависимость между расходом и перепадом. Другими словами невозможно измерять расход менее 30% максимального из-за высокой погрешности измерения, что затрудняет использование этих приборов для измерения расходов, изменяющихся в широких пределах.

.Ограниченная точность, причём погрешность измерения колеблется в широких пределах (1,5%-3%) в зависимости от состояния сужающего устройства, диаметра трубопровода, постоянства давления и температуры измеряемой среды.

Наибольшее распространение получили расходомеры с сужающими устройствами. Они измеряют скорость потока вещества, которая увеличивается при прохождении через сужающее устройство, установленное в трубопроводе. При этом происходит частичный переход потенциальной энергии давления в кинетическую энергию скорости, из-за чего давление перед местом сужения будет больше, чем за суженным сечением. Обычно с помощью таких расходомеров измеряется расход в трубопроводах с диаметром 50-1600 мм.

Рассмотрим разновидности СУ.

Стандартные диафрагмы представляют собой тонкий диск с центральным круглым отверстием диаметром d, имеющим острую входную кромку. Диафрагма установлена строго концентрично оси трубопровода, имеющего диаметр D. Обозначим через А -А (рисунок 1) сечение, от которого начинается сужение потока, а штриховой линией - границы потока, обусловленного проходом через отверстие диафрагмы.

Рисунок 1 - Прохождения потока через диафрагму

По инерции небольшого сужения поток достигает в сечении В -В. Затем поток начинает расширяться и вновь достигает стенок трубопровода в сечении С - С.

Рассматриваемый принцип измерения заключается в том, что при протекании потока через отверстие сужающего устройства повышается скорость потока по сравнению со скоростью до сужения. Увеличение скорости, а следовательно, и кинетической энергии вызывает уменьшение потенциальной энергии и соответственно статического давления. Расход может быть определен по перепаду давления ∆p, измеренному дифманометром в соответствии с градуировочной характеристикой ∆p=f(Q). Использование рассматриваемого метода измерения требует выполнения определенных условий: характер движения потока до и после сужающего устройства должен быть турбулентным и стационарным; поток должен полностью заполнять все сечение трубопровода; фазовое состояние потока не должно изменяться при его течении через сужающее устройство; во внутренней полости трубопровода до и после сужающего устройства не образуются осадки и другие виды загрязнений; на поверхностях сужающего устройства не образуются отложения, изменяющие его геометрию; пар является перегретым, при этом для него справедливы все положения, касающиеся измерения расхода газа.

На рисунке 2 изображены разновидности сопла и диафрагм. Стандартные диафрагмы - а и б; стандартные сопла - в; сегментная диафрагма - г; эксцентричная диафрагма - д; кольцевая диафрагма - е.

Рисунок 2 - Разновидности диафрагм

Двойная диафрагма - одно из первых сужающих устройств, предложенное и исследованное Вельцхольцем в 1936 года. Это устройство состоит из двух стандартных дисковых диафрагм, расположенных на расстоянии α = (0,3÷0,5)D друг от друга. Давление р1 отбирается у передней плоскости первой вспомогательной диафрагмы, имеющей диаметр отверстия d1, а давление р2 - у задней плоскости второй основной диафрагмы, диаметр отверстия которой d на рисунке 3.

Рисунок 3 - Двойная диафрагма

Двойная диафрагма по своим свойствам - промежуточная между стандартной диафрагмой и стандартным соплом, так как вспомогательная диафрагма при правильно выбранном расстоянии облегчает вход потока в отверстие основной диафрагмы. В связи с этим потеря давления на ней меньше, чем у стандартной сопла, а значение коэффициента расхода α меньше, чем у сопла, но больше чем у диафрагмы.

Двойные диафрагмы имеют постоянные значения d в области средних чисел Re и нередко применяются для измерения расхода вязких веществ.

Диафрагма с двойным конусом приведена на рисунке 4. Диафрагма имеет конический вход с углом конуса Θ и конический выход с углом 450.

Рисунок 4- Схема диафрагмы

Конусная диафрагма, состоит из конической части длиной b с углом входа Θ (рисунок 5).

Рисунок 5 - Конусная диафрагма Куратова

Сопло четверть круга - одно из наиболее исследованных сужающих устройств, предназначенных для малых чисел Re. Возможные четыре разновидности этого сопла показаны на рисунке 6.

Рисунок 6 - Сопло четверть круга

Профиль сопла образуется дугой радиуса r. Во всех случаях, когда центр радиуса r находится в пределах диаметра трубы (рисунок 6) (а - в), профиль сопла равен четвертой части окружности, соединяющейся по касательной с торцевой плоскостью сопла. При больших m, когда r > (D - d)/2, профиль сопла очерчен другой, которая образует угол с торцевой плоскостью сопла.

Имеются два типа цилиндрических сопел: несимметричное рисунок 7(а) и симметричное рисунок 7(б).

Рисунок 7 - Цилиндрические сопла: а - несимметричное; б - симметричное

Достоинство цилиндрического сопла - простота изготовления, недостаток - неизбежность в процессе эксплуатации притупления выходной острой кромки, в результате которого коэффициент расхода α будет возрастать и одновременно, как показали опыты будет возрастать и значение Remin. Последнее приводит к уменьшению области постоянства α.

Комбинированное сопло, профиль которого показан на рисунке 8, является сочетанием сопла четверть круга на входе и цилиндрической части, имеющей длину z на выходе.

Профиль комбинированного сопла имеет сходства с профилем стандартного сопла, но входная часть очерчена не двумя, а одним небольшим радиусом, а цилиндрическая часть значительно длиннее.

Наряду с рассмотренными диафрагмами и соплами к стандартным сужающим устройствам международный стандарт ИСО 5167, а также отечественные нормы относят так называемые расходомерные трубы: классические трубы Вентури и сопло Вентури. Характерный их признак - расходящийся конус - диффузор, расположенный на выходе после наименьшего сечения горловины трубы. Диффузор отрезает мертвые зоны, имеющиеся на выходе у диафрагм и сопел, в которых вследствие вихреобразования происходит потеря энергии.

Рисунок 8- Комбинированное сопло

Диафрагма рисунок 9(а) представляет собой тонкий диск с круглым отверстием, ось которого располагается по оси трубы Передняя (входная) часть отверстия имеет цилиндрическую форму, а затем переходит в коническое расширение. Передняя кромка отверстия должна быть прямоугольной (острой) без закруглений и заусениц. Стандартные диафрагмы устанавливаются на трубопроводах диаметром не менее 50 мм.

Рисунок 9 -  Стандартные сужающие устройства:а - диафрагма; б - сопло; в - сопло Вентури

Сопло в рисунке 9(б) имеет спрофилированную входную часть, которая затем переходит в цилиндрический участок диаметром d (его значение входит в уравнения расхода). Торцевая часть сопла имеет цилиндрическую выточку диаметром, большим d, для предохранения выходной кромки цилиндрической части сопла от повреждения.

Сопло Вентури, контур которого показан на рисунке 9 (в), имеет входную часть с профилем сопла, переходящую в цилиндрическую часть, и выходной конус (может быть длинным или укороченным). Минимальный диаметр трубопровода для стандартных сопл Вентури составляет 65 мм. На рисунке 9 символами p1 и р2 отмечены точки отбора давлений на дифманометр.

Имеются три разновидности классических труб Вентури, обусловленные способом изготовления внутренней поверхности входного конуса (конфузора) и профиля пересечения его с горловиной.

.Обработанные трубы Вентури. Применяют для трубопроводах небольших диаметров D - от 50 до 250 мм. Изготовляются литьем. Входной конус, горловины и входную цилиндрическую часть обрабатывают. Переходы между коническими и цилиндрическими элементами выполняют с закруглениями и без них.

.Литые трубы Вентури. Применяют для трубопроводов средних диаметров - от 100 до 800 мм. Изготавливаются литьем в песочную форму или другими способами. Обрабатывают только горловину сопла, а места перехода между коническими и цилиндрическими сегментами закругляют.

.Сварные трубы Вентури с входным коническим конусом из листовой стали. Применяют для трубопроводов больших диаметров - от 200 до 1200 мм. Обычно изготавливаются сваркой. В трубах малого диаметра горловину обрабатывают.

Достоинствами труб Вентури являются:

1.      Очень малая потеря давления.

2.      Возможность установки на трубопроводах, не имеющих длинных прямых участков.

.        Отсутствие влияния шероховатости трубопровода на коэффициент истечения.

.        Возможность измерения загрязненных сред.

.        Простота расчета вследствие независимости коэффициента истечения.

.        Возможность очень длительной многолетней работы благодаря хорошей износоустойчивости.[6,7].

1.2    Расходомеры с гидравлическим сопротивлением


Расходомеры основаны на измерении перепада давления, создаваемого этим сопротивлением. Режим потока в нем стремятся создать ламинарным, с тем чтобы перепад давления был пропорциональным расходу. Применяются редко, преимущественно для измерения малых расходов. В качестве преобразователя могут служить капиллярная трубка (реометр) или пакет таких трубок, и другой тип преобразователя для больших расходов с шариковой набивкой.

Диаметр капиллярной трубки менее 0,25 мм не следует из - за опасности засорения. Поэтому для получения достаточного перепада давления при малом значении расхода применяют различные способы. Длину капиллярной трубки увеличивают и располагают ее в виде спирали для достижения компактности преобразователей.

Недостаток спиральных капилляров - отсутствие линейной зависимости между расходом и перепадом давления вследствие действия центробежной силы, резко увеличивающей перепад давления по сравнению с прямыми капилляром.

Другой путь состоит в применении прямого капилляра достаточно диаметра, но со стержнем внутри трубки. При этом измеряемое вещество движется по кольцевой щели. Здесь можно обеспечить линейную зависимость между расходом и перепадом давления путем расположения отверстий для отбора давлений в пределах прямолинейного участка трубки. Такие преобразователи нашли распространения в химической промышленности.

Третий путь - применения капиллярных преобразователей винтового типа. Их основа - прецизионная винтовая пара с неполной ленточной, трапецеидальной или конусной резьбой. Достоинство - возможность легкого перехода на разные пределы измерения путем регулирования длине винтовой части, находящейся в зацепление.[9,11].

.3 Расходомеры с напорным устройством

Напорные устройства создают перепад давления, зависящий от динамического давления потока. Они преобразуют кинетическую энергию потока в потенциальную. К этим устройствам относятся напорные трубки, усреднители, крылья и усилители. Только напорные усреднители образуют перепад давления в зависимости от расхода, а остальные устройства - в зависимости от скорости, существующей в месте их установки. Тем не менее с помощью напорных трубок можно определять расход жидкостей и газов.

Достоинство напорных устройств: малая потеря давления, возможность измерять в трубах и каналах некруглого сечения, доступность измерения местных скоростей при экспериментальных и других работах. Недостаток - очень малая чувствительность при небольших скоростях.

Классический пример напорного устройства - трубка Г - образной формы с отверстием, направленным навстречу потоку, которя называется трубкой Пито по имени французского ученого, применившего ее для измерения скорости течения реки. Такая трубка воспринимает полное давление, которое равно сумме динамического рд = ρυ2/2 и статического рс давлений потока. Чтобы с помощью такой трубки измерить скорость υ в трубопроводе, необ ходимо кроме трубки Пито иметь еще трубку для отбора только статического давления рс. Тогда дифманометр, который измеряет разность давлений, будет служить для определения скорости.

В большинстве случаев трубки для отбора полного и статического давлений конструктивно объединяют. Подобное устройство наиболее правильно называть дифференциальной трубкой Пито.Каждая из них состоит из двух трубок, одна из которых расположена концентрично внутри другой. Центральная трубка имеет открытый конец, направленный навстречу потоку. Она воспринимает полное давление рп. статическое давление воздействует через отверстия, находящиеся на цилиндрической поверхности внешней трубки. Оси этих отверстий перпендикулярны к оси трубки, а значит, и к направлению трубкой Пито, измеряет динамическое давление, которое равно разности полного и статического давлений.

Часть трубки, параллельная оси трубопровода, называется головкой, а перпендикулярная к этой оси - держателем. Носовая часть трубки имеет обтекаемую форму: коническую, полусферическую или полуэллипсоидальную.

В напорных усреднителях перепад давления происходит в зависимости не от местного, а от некоторого среднего динамического давления потока. Усреднение может осуществляться в пределах одного, а так же двух радиусов или диаметров при кольцевой площади или иным способам.

Усреднение по кольцевой площади встречаются довольно редко. В этом случае в трубопроводе установлена кольцевая вставка длиной 1,5 D , прилегающая к его внутренней поверхности (рисунок 10).

Рисунок 10 - Кольцевая вставка

На входе и выходе вставка, имеющей плавный сопловой профиль, сделаны отверстия на равных расстояниях друг от друга. Одни из них направлены навстречу потока, а другие - в противоположную сторону.

Напорное устройство имеет форму обтекаемой лопасти или крыла, занимающего небольшую часть проходного сечения трубы и установленного под некоторым углом (обычно в пределах 45 - 900) к оси потока.Лопасть имеет отверстия, расположенные различным образом по отношению к оси потока. Разность давлений в этих отверстиях зависит от угла установки лопасти, что дает возможность применять данное устройство для измерения расхода при малых, так и при больших скоростях.

Напорные усилители представляют собой сочетание напорных трубок с сужающими устройствами (обычно микротрубками Вентури), занимающими небольшую часть сечения потока. Их появление обусловлено стремлением повысить измеряемый перепад давления, который при небольших скоростях потока очень мал у напорных трубок.[5].

 

.4 Расходомеры с напорными усилителями


Расходомеры с напорным усилителем имеют преобразователь расхода, в котором сочетаются напорное и сужающее устройство. Перепад давления создается в результате как местного перехода кинетической энергии потока, та и частичного перехода потенциальной энергии в кинетическую.

Внутри небольшой трубки Вентури (рис. 11) помещается вторая меньшая трубка Вентури, у которой входное или выходное отверстие совпадает с горлом первой трубки.

Рисунок 11 - Двухступенчатая трубка Пито - Вентури

Давление р2 отбирают в самой узкой части второй трубки, а давление р1 - из отверстия, направленного навстречу потоку. Коэффициент усиления k данного преобразователя можно немного изменять, перемещая кольцо, имеющееся снаружи большей трубки у ее выходного конца. Напорные усилители применяют преимущественно для изменения расхода в трубах большого диаметра.[10].

.5 Ударно - струйные расходомеры

Ударно - струйные расходомеры, предназначены для измерения малых расходов жидкостей и газов. Они основаны на измерении перепада давления, возникающего в процессе удара струи о твердое тело непосредственно или через слой измеряемого вещества. Давление удара ру зависит от скорости υ, плотности ρ вытекающей жидкости и определяется уравнением:

ру = ρυ2 (1 - cos α)

где α - угол между направлением движения жидкости до и после удара.

Обычно α = π/2, тогда ру = ρυ2, в два раза больше динамического давления потока. Так как υ = q0/f, где q0 - объемный расход; f - площадь струи, то ру = ρq02/ f2.На рисунке 12 изображена схема ударно - струйного расходомера.

Рисунок 12 - Схема ударно - струйного расходомера

Жидкость вытекает из сопла 1, ударяясь о перегородку 2, имеющую центральное отверстие, через которое давление удара передается жидкости, заполняющей сильфон 3, и создает усилие, приложенное к его днищу. Внутри сильфона действует ударное давление плюс статическое давление измеряемого вещества рс, снаружи сильфона - только давление рс. Перемещение дна сильфона, нагруженного измерительной пружиной 4, вызывает перемещение плунжера 5 внутри диамагнитной трубки, снаружи которой находится катушка 6 индуктивной или дифференциальной - трансформаторной передачи. [4,5].

2. Расходомеры постоянного перепада давления


Расходомеры постоянного перепада давления подразделяются на: ротаметры, поплавковые и поршневые (или точнее золотниковые). Эти приборы (особенно ротаметры) наиболее широко применяются по сравнению с другими расходомерами обтекания.

.1 Ротаметры

Ротаметры используются в промышленных и лабораторных условиях для измерения небольших объемных расходов жидкостей (верхние пределы измерения ротаметров по воде находятся в пределах от 0,04 до 16 м3 /ч) или газов (верхние пределы измерения ротаметров по воздуху находятся в пределах от 0,063 до 40 м3 /ч) в вертикальных трубопроводах диаметром 4-100 мм.

Основные элементы ротаметра - коническая трубка 1 и поплавок 2 - образуют его проточную часть (рисунок 13).

Рисунок 13 - Схема ротаметра

Поплавки могут иметь различную форму. Одной из форм является цилиндрическая с нижней конической частью и верхним бортиком с вырезанными на нем косыми канавками. Контролируемая среда при протекании через эти канавки обеспечивает вращение поплавка, при этом он центрируется по оси трубки и устраняется его трение о стенки.

Между бортиком поплавка и стенкой трубки образуется кольцевой зазор fк, при прохождении через который жидкость сужается и, таким образом, возникает разность между давлением p1 в сечении АА до начала сужения и давлением р2 в самом узком сечении ВВ кольцевой струи. С подъемом поплавка площадь fк увеличивается, что в случае неизменного расхода приведет к уменьшению разности p1-р2. Принцип действия ротаметра основан на уравновешивании при любом расходе силы тяжести поплавка силами, действующими на него со стороны жидкости. При этом вертикальное положение поплавка будет однозначно связано с расходом.

Положение поплавка зависит не только от расхода, но и от плотности контролируемой среды, т. е. градуировка ротаметра должна производиться с учетом ее. Из-за большого разнообразия контролируемых сред ротаметры подразделяются на две группы: для жидкостей, которые градуируются на воде, и для газов, которые градуируются на воздухе.

Переградуировка ротаметра может быть осуществлена изменением рп, например путем изготовления поплавка из другого материала или пустотелым.

Обычно в ротаметрах используются стеклянные конические трубки, на наружной поверхности которых нанесена шкала. Указателем служит верхняя горизонтальная плоскость поплавка. Ротаметры со стеклянной конусной трубкой применяются для измерения расхода газов или прозрачных жидкостей, находящихся под давлением не более 3,6 МПа (6 кгс/см2).

Для измерения расхода сред под избыточным давлением до 6,4 МПа (64 кгс/см2) используются ротаметры с металлической конической трубкой. Обычно такие ротаметры снабжаются дифференциально - трансформаторными или пневматическими преобразователями для дистанционной передачи показаний. Класс ротаметров с дифференциально - трансформаторным преобразователем в комплекте с вторичным прибором равен 2,5.

В зависимости от пределов измерения поплавки изготавливаются из: сталь, алюминий, бронза, эбонит, пластмассы - не должен подвергаться коррозии в контролируемой среде. Ротаметры обладают рядом достоинств: простота устройства; возможность измерения малых расходов и на трубопроводах малых диаметров; практически равномерная шкала.

Недостатками ротаметров являются необходимость установки только на вертикальных участках трубопроводов, трудности дистанционной передачи показаний и записи, непригодность для измерения расхода сред с высокими давление и температурой. [1,9].

.2 Поплавковые расходомеры

Принцип действия их такой же, как и ротаметров. От ротаметров они отличаются лишь конструктивно. У них нет стеклянной конической трубки, ход поплавка небольшой и внешняя форма иная.

Выпускаемые серийно поплавковые расходомеры типов РЭ и РП изготовитель даже называет ротаметрами с электрической и пневматической передачей. Поплавок у этих приборов связан жестким стержнем с железным сердечником или магнитом для дистанционной передачи. Ход поплавка небольшой, не превышающий 40 - 70 мм. В зависимости от калибра прибора у них применяются различные проточные части.

Рассмотрим устройство Поплавкого расходомера с пневматической передачей типа РП показано на рисунке 14.

Поплавок 1 грибовидной формы, связанный со сдвоенным магнитом 4, перемещается в конусообразной расточке втулки 2. одновременно с магнитом 4 перемещается расположенный за пределом диамагнитного корпуса 3 (на расстоянии 0,5 - 3 мм от него) следящий магнит 6 и вызывает приближение (или удаление) заслонки 8 к соплу 9, при этом измеряется давление воздуха в сопле и в полости сильфона 11 обратной связи, с дном которого связан трубчатый шток 10 с соплом. Последнее перемещается до тех пор, пока следящий магнит с заслонкой не займет первоначального положения относительного магнита 4, давление воздуха в сильфоне передается через пневмоусилитель 7 на выход, соединенный с вторичным прибором манометрического типа. Наибольшее расстояние между вторичным прибором и поплавковым расходомером 300 м кроме того имеется стрелка 5, указывающая расход по шкале прибора. Для питания необходим воздух давлением 0,14 МПа.[9].

Рисунок 14 - Поплавковый расходомер РП с пневматической передачей

.3 Поршневые расходомеры

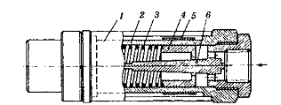
Поршневые или золотниковые расходомеры - третья разновидность расходомеров постоянного перепада давления. В этих приборах роль поплавка выполняет поршень или другой элемент, перемещайся во втулке с окнами особой формы. Измеряемое вещество поступает под поршень и, приподнимая его, выходит через окно или прорезь во втулке. Давление над поршнем то же, что и в выходном штуцере. Чем больше расход, тем выше поднимается поршень, открывая все большую часть отверстия во втулке. Перепад давления на поршне при этом сохраняется постоянным. Выбирая надлежащий профиль прорези, можно получить желаемую зависимость между расходом и перемещением поршня.

На рисунке 15 показан поршневой расходомер, разработанный для измерения массового расхода нефтепродуктов.

Рисунок 15 - Поршневой расходомер

Для достижения практической независимости показаний от изменений плотности ρ измеряемого вещества плотность поршня ρп в два раза больше, чем ρ. На входном патрубке 1 укреплен цилиндр с втулкой 3, внутри которой перемещается поршень 2, связанный с магнитным стержнем 4; последний воздействует на заслонку у сопла, давление воздуха в котором служит выходным сигналом прибора. Во втулке 3 прорезано окно, через которое измеряемое вещество уходит в выходной патрубок 5. [9].

3. Расходомеры с изменяющимся перепадом давления


Расходомеры обтекания с изменяющимся перепадом давления можно подразделить на: поплавково - пружинные, поплавково - архимедовые, расходомеры с электромагнитным уравновешиванием и шариковые с движением в криволинейной трубке.


Если поплавок или поршень в поплавковом или поршневом расходомере соединить с пружиной, то получим поплавково - пружинный расходомер, в котором давление потока должно преодолевать не только вес подвижного элемента, но и упругость пружины.

Достоинство поплавково - пружинных расходомеров: возможность существенного повышения максимального предела измерения и удобства перехода на другой диапазон измерения путем смены пружины.

Для измерения расхода различных жидкостей и газов разработан поплавково - пружинный расходомер (рисунок 16).

Рисунок 16 - Поплавково - пружинный расходомер с горизонтальным ходом поплавка

Подвижный элемент - поршень 4 нагружен пружиной 3. в середине находится неподвижный стержень 6, профиль которого позволяет получить желаемую зависимость между расходом и перемещением поршня 4. внутри последнего находится цилиндрический магнит, вызывающий перемещения цилиндрического указателя расход 5, который расположен снаружи диамагнитной трубы 2. шкала нанесена на прозрачной трубке 1 из акрила. Расходомер прост и компактен, но его погрешность составляет плюс минус 4 процента.

.2 Тахометрические расходомеры

Шариковыми называются тахометрические расходомеры, подвижным элементом которых является шарик, непрерывно движущийся в одной плоскости по внутренней поверхности трубы под воздействием предварительно закрученного потока. Скорость движения шарика по окружности трубы пропорциональна объемному расходу жидкости. Схема шарикового преобразователя для средних и больших расходов представлена на рисунке 17.

Рисунок 17 - Схема шариковых преобразователей расхода: а-для больших расходов, б-для малых расходов

Поток жидкости, закрученный формирователем 1 в винтовом направлении, вызывает движение шарика 2 по окружности. От перемещения вдоль трубы шарик удерживается ограничительным кольцом 3, за которым располагается струевыпрямитель 4 для выпрямления закрученного потока. На внешней стороне немагнитного корпуса располагается тахометрический преобразователь 5 для преобразования частоты вращения шарика в частотный электрический сигнал.

Для небольших расходов применяется конструкция, представленная на рисунке 17(б). Здесь нет специального формирователя для закручивания потока, а движение шарика по окружности вызывается тангенциальным подводом жидкости. В шариковых расходомерах применяются тахометрические преобразователи скорости, аналогичные преобразователям турбинных расходомеров. Шар (рисунок 17(а) )под действием центробежной силы прижимается к внутренней поверхности трубы, а под действием осевой составляющей скорости потока к ограничительному кольцу, т. е. шару кроме сил вязкого трения жидкости необходимо преодолевать силы трения о поверхности трубы и ограничительного кольца.

Для уменьшения скольжения масса шарика делается по возможности малой. Согласно стандарту шариковые расходомеры могут применяться для измерения расхода жидкостей с плотностью 700-1400 кг/м3, вязкостью 0,3-12 с Ст. [(0,3÷12)Х10-6 м2 /с]. Из-за отсутствия опор у подвижного элемента расходомеры могут использоваться на жидкостях с твердыми включениями (ограниченной крупности) и агрессивных.[2,3].

Заключение

Современные автоматизированные системы управления техническими процессами требуют значительного количества и разнообразия средств измерений, обеспечивающих выработку сигналов измерительной информации в форме, удобной для дистанционной передачи, сбора, дальнейшего преобразования, обработки и передачи. Во многих сферах производства применяются технические устройства, предназначенные для измерения массового или объемного расхода, - расходометры.

Расходомеры необходимы прежде всего при управлении технологическими процессами, обеспечении оптимальных режимов работы энергетических установок и тепловых двигателей, определении «расходных характеристик» объектов и процессов (например, при оценки удельных расходов топлива различных двигателей, дебита нефтяных и газовых скважин и т.п.), при учетных операциях. Без них нельзя обеспечить оптимальный режим технологических процессов в энергетики, металлургии, в химической, нефтяной и многих других отраслях промышленности. Эти приборы требуются также для автоматизации производства и достижении при этом максимальной его эффективности.

Расходомеры нужны для учета массы или объема нефти, газа и многих других веществ, транспортируемых по трубам и потребляемых различными объектами. Без этих измерений очень трудно контролировать утечки и исключать потери ценных продуктов. Снижение погрешности измерения хотя бы на 1% может обеспечить многомиллионный экономический эффект. Роль и значение расходомеров и счетчиков жидкости, газа и пара еще более возрастает в связи с необходимостью максимальной экономии энергетических и водных ресурсов.

Список литературы

.Балдин А. А., Бошняк Л. Л., Соловский В. М., Ротаметры, Л.: Машиностроение, Ленингр. отд-ние, 1983. - 198 с.

.Бирюков Б. В., Данилов М. А., Кивилис С. С., Точные измерения расхода жидкостей, М.: Машиностроение, 1977.-144 с.

.Бобровников Г.Н., Новожилов Б.М., Сарафанов В.Г. Бесконтактные расходомеры. - М.: Машиностроение, 1985.-128с.

.Дж.Фрайден. «Современные датчики. Справочник». Москва.: Техносфера, 2005. - 592 с.

.Гордюхин А.И., Гордюхин Ю.А. Измерение расхода и количества газа и его учет. - Л.: Недра, 1987.-213 с.

6.Катыс Г.П. Объемные расходомеры. М.-Л.: Энергия, 1965, 88 с.

7.Клюев А. С. Наладка средств измерений и систем технологического контроля: Справочное пособие. Москва:. Энергоатомиздат, 1990. - 400 с.

.Кремлевский П.П. Расходомеры. - М.-Л.: Машгиз, 1964.-656 с.

.Кремлевский П.П. Расходомеры и счетчики количества веществ: Справочник: Кн. 2 / 5-е изд., перераб. и доп. - СПб.: Политехника, 2004. - 412 с.

.Логинов Н. И., Электромагнитные преобразователи расхода жидких металлов, М.: Энергоиздат, 1981 . -102 с.

.Монахов В. И. Измерение расхода и количества жидкости, газа и пара. М.-Л.: Госэнергоиздат, 1962.- 128 с.


Не нашли материал для своей работы?
Поможем написать уникальную работу
Без плагиата!
Без нейросетей!