|
Номер ИУ
|
Типы СИ, входящих в ИУ
|
±DИУ, МПА
|
Интервал показаний
давления, МПа
|
|
1
|
Метран 150 +
Диск 250М
|
0,34
|
26,66¸27,34
|
|
2
|
Rosemount
3051S_T +РМТ-69
|
0,34
|
26,66¸27,34
|
Вывод: согласно табл.9, предельная абсолютная погрешность измерительной
установки №1 такая же что и у измерительной установки №2. Однако, по метрологическим
показателям прибор Rosemount 3051S_T лучше, чем Метран 150, и учитывая важность более точного
измерения данного параметра, в проекте используем измерительную установку №2.
5. Расчет первичных преобразователей измерения
расхода
5.1 Расчет СУ для измерения расхода перегретого пара
. Исходные данные:
Измеряемая среда - перегретый пар.
Наибольший
измеряемый массовый расход:
Избыточное
давление среды:
.
Температура
измеряемой среды:
ºС.
Внутренний
диаметр трубопровода:
.
Материал
трубопровода: 15Х1М1Ф.
2. Определение
недостающих для расчета данных.
Средний измеряемый массовый расход:
Абсолютное
давление измеряемой давление:
Безвозвратная
потеря давления принимается 1% от
:
Плотность
пара в рабочих условиях: ρ=76,016 кг/м3.
Динамическая
вязкость пара в рабочих условиях:
Па∙с.
Показатель
адиабаты:
.
Внутренний диаметр трубопровода:
где
- средний коэффициент линейного расширения материала
трубопровода
3. Выбор СУ и дифманометра
Тип СУ - сопло камерное, так как Р1и>10 МПа. СКН-320-175.
Материал сопла - сталь 1Х18Н10Т.
Тип вторичного прибора - Диск 250М.
Верхний предел измерения вторичного прибора - Qвп= 250 т/ч.
. Определение номинального перепада давления дифманометра
Допустимая
потеря давления при расходе, равном
:
.
Вспомогательная
величина
:
Предельный
номинальный перепад давления дифманометра (определяем по номограмме приложения
7 [1]):
Приближенное
значение m (определяем по номограмме приложения 7 [1]):
5. Определение числа Рейнольдса:
Число Рейнольдса Re:
Минимальное
число Рейнольдса, для m=0,37 равно
Так как
число Рейнольдса
то расчет продолжается.
Необходимая
длина прямого участка перед соплом определяется по зависимости: L1/D20=f(задвижка,
m=0,37)=16, то
6. Определение параметров СУ
Вспомогательная
величина
:
Коэффициент
расширения для сопла
:
Поправочный
множитель на шероховатость,
при
:
Коэффициент
расхода сопла,
:
Вспомогательная
величина:
Относительная
площадь отверстия:
Коэффициент
расширения сопла для
:

Проверка
условия
Так
как условие выполняется, то значение m1 и
считаем
окончательным.
Поправочный
множитель на тепловое расширение материала сопла для материала сопла 1Х18Н10Т
по табл. 26 [1] принимаем
:
Диаметр
отверстия сопла при температуре 20 ºС:
7. Проверка расчета
Расход
соответствующий наибольшему перепаду давления
Относительная
погрешность расчета расхода:
Полученное
значение не должно отличать от выбранного Qвп больше чем
на ±0.2%, т.е. погрешность расчёта
.
Действительное
значение безвозвратной потери давления для сопла:
МПа.
Найденная
МПа не превышает
МПа.
5.2 Расчет погрешности измерения расхода перегретого пара
Погрешность
коэффициента расхода, из - за отклонения
где
при m<0,4
.
Погрешность
коэффициента расхода, из - за отклонения
где
Погрешность
поправки на шероховатость трубопровода:
СКОП
коэффициента расхода
с учетом
% ,
Вспомогательная
величина
Вспомогательная
величина
Вспомогательная
величина
Перепад
давления среды соответствующий 
СКОП
перепада давления регистрирующего дифманометра:
де
- приведенная погрешность планиметра (для полярного
планиметра
).
-
абсолютная погрешность хода диаграммы за 24 часа (
±3 мм для приборов с часовым приводом и ±5 мм для
приборов с пневматическим или электрическим приводом).
Квадрат
СКОП абсолютного давления регистрирующего манометра:
,
где
-
абсолютная погрешность диаграммы вторичного прибора,
-
максимальная абсолютная погрешность измерения атмосферного давления,
СКОП
определения показателя адиабаты перегретого пара:

где
- максимальная абсолютная погрешность величины
, равна половине единицы разряда последней значащей
цифры соответствующего табличного значения i - того
компонента газовой смеси.
СКОП
коэффициента расширения:
Квадрат
СКОП регистрирующего дифманометра:
СКОП
плотности:
,
где
-максимальная абсолютная погрешность плотности,
=0,005.
Квадрат
СКОП измерения температуры
:
,
где
tвп - диапазон измерения шкалы термометра, tвп=0-600
˚С,
Допускаемая
погрешность термопреобразователя с НСХ ХА:
Д
- диапазон измерения автоматического потенциометра,
ΔЕТП - дополнительная погрешность компенсационных проводов,
.
Предельная
относительная погрешность термопреобразователя:
Предельная
относительная погрешность термоэлектродных проводов:
Предельная
относительная погрешность измерительного устройства температуры:
СКОП
изменения расхода перегретого пара
Относительная предельная погрешность измерения расхода:
Расчёт произведен, верно.
5.3 Расчет СУ для измерения расхода питательной воды
. Исходные данные:
Измеряемая среда - вода.
Наибольший
измеряемый объемный расход
Температура
измеряемой среды
Избыточное
давление перед сужающем устройством
.
Внутренний
диаметр трубопровода
Материал
трубопровода: сталь - 15ГС.
2. Определение недостающих параметров:
.
Безвозвратная
потеря давления принимаем 1 % от
:
Динамическая
вязкость воды в рабочих условиях при P1 и t1:
Плотность
воды в рабочих условиях:
Внутренний
диаметр трубопровода при температуре
где
- средний коэффициент линейного расширения материала
трубопровода.
3. Выбор СУ и дифманометра
Тип СУ - диафрагма с угловым способом отбора.
Материал сопла - сталь 1Х18Н10Т.
Тип вторичного прибора -Диск 250М.
Верхний
предел измерения вторичного прибора:
4. Определение номинального перепада давления дифманометра
Допустимая
потеря давления при расходе, равном 
:
Вспомогательная
величина
:
Предельный
номинальный перепад давления дифманометра (определяем по номограмме приложения
7 [1]):
.
Приближенное
значение m (определяем по номограмме приложения 7 [1]):
5. Определение числа Рейнольдса:
Число Рейнольдса Re:
Минимальное
число Рейнольдса, для m=0,21 равно
Так как
число Рейнольдса
то расчет продолжается.
6. Проверка длины прямых участков за и перед СУ
Необходимая длина прямого участка трубопровода перед сужающим устройством
определяется по зависимости: L1/D20=f(группа колен в
одной плоскости, m=0,27)=22, то:
Необходимая
длина прямого участка трубопровода за сужающим устройством определяется по
зависимости: L2/D20=f (задвижка, m=0,27) =14, то:
7. Определение параметров сужающего устройства
Вспомогательная величина:
Поправочный множитель на шероховатость трубопровода:
Поправочный множитель на притупление входной кромки диафрагмы:
Где
Коэффициент расхода диафрагмы:
Вспомогательная
величина:
Относительное
отклонение:
Так
как относительное отклонение
то
процесс уточнения m продолжается.
Второе
приближение - примем m=0,279.
Поправочный
множитель на шероховатость трубопровода:
Поправочный
множитель на притупление входной кромки диафрагмы:
Коэффициент
расхода диафрагмы:
Вспомогательная
величина:
Относительное
отклонение:
Так
как относительное отклонение
то
значения m2=0,279 и
считаются окончательными.
Диаметр отверстия диафрагмы при температуре 20 ºС:
8. Проверка расчета
Расход
соответствующий наибольшему перепаду давления
Относительная
погрешность расчета расхода:
Условие
<
удовлетворяется,
расчет выполнен правильно.
Действительное
значение безвозвратной потери давления для диафрагмы:
5.4 Расчет погрешности измерения расхода питательной воды
СКОП измерения расхода:

.
СКОП
коэффициентов расхода СУ:
СКОП
отклонений диаметров:
СКОП
коэффициентов расхода с учетом
СКОП дифманометров:
КОП
определения плотности жидкости в рабочих условиях:
Допускаемая
погрешность термопреобразователя ТПС НСХ 50П:
Класс
точности нормирующего преобразователя:
.
Предельная относительная погрешность измерительного устройства
.
СКОП
измерения температуры регистрирующими приборами:
СКОП изменения расхода воды
Относительная предельная погрешность измерения расхода:
< 2
%.
Расчёт произведен, верно.
Заключение
В данном курсовом проекте была изучено:
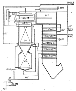
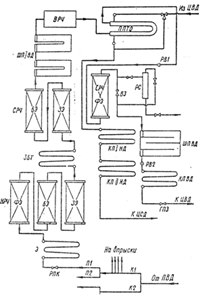
1. изучена технологическая схема автоматизируемого объекта;
2. составлен перечень контролируемых параметров технологического
процесса и технологического оборудования;
. определены предельные рабочие значения контролируемых
параметров;
. выбрана структура измерительных каналов;
. выбраны методы и технические средства получения, преобразования,
передачи и представления измерительной информации;
. решены вопросы размещения технических средств автоматизации на
технологическом оборудовании, трубопроводах, по месту и на щитах;
. согласованы параметры измерительных каналов и информацию
вычислительного комплекса.
Список использованных источников
1. Волошенко А.В., Медведев В.В. Метрология и
технологические измерения на ТЭС. Курсовое проектирование: Методическое
пособие- Томск: Изд-во ТПУ, 1998.- 108 с.
2. Волошенко А.В., Тарабановский А.Т. Теплотехнические
измерения и приборы. Курсовое проектирование.- Томск: изд-во ТПИ, 1983.- 90 с.
. Орнатский А.П. и др. Парогенераторы
сверхкритического давления.- Киев: Высшая школа, 1980.- 288 с.
. ГОСТ 2.784-70. Обозначения условные графические.
Элементы трубопроводов. М.: Изд-во стандартов, 1982.- 12 с.
. ГОСТ 21.403-80. Обозначения условные графические в
схемах. Оборудование энергетическое.- М.: изд-во стандартов, 1987.- 34 с.
. ГОСТ 2.785-70. Обозначения условные графические.
Арматура трубопроводная.- М.: Изд0во стандартов, 1988- 16 с.
. Руководящие указания по объёму технологических
измерений, сигнализации, автоматического регулирования и технологической защиты
на тепловых электростанциях.- М.: Союзтехэнерго, 1990.- 64 с.
. ГОСТ 21.404-85. Обозначения условные приборов и
средств автоматизации в схемах.- М.: Изд-во стандартов, 1987- 16 с.
. Проектирование систем автоматизации технологических
процессов: справочное пособие/А.С.Клюев, Б.В.Глазов, А.Х.Дубровский, А.А.Клюев:
под ред. А.С.Клюева.- 2-е изд., перераб. и доп..- М.: Энергоатомиздат, 464 с.
. Промышленные приборы и средства автоматизации:
Справочник /В.Я.Баранов, В.А.Бек, и др.: Под ред. В.В.Черенкова.- Л.:
Машиностроение, 1987.- 847 с.
. Технические средства измерения температуры на
объектах теплоэнергетики: Метод. указ. курс. и дипл. пр. спец. 210200 /Сост.
А.В.Волошенко, В.В.Медведев.- Томск: изд-во ТПУ, 1995.- 26 с.
. Технические средства измерения давления и расхода на
объектах теплоэнергетики: Метод. указ. курс. и дипл. пр. спец. 210200 /Сост.
А.В.Волошенко, В.В.Медведев.- Томск: изд-во ТПУ, 1995.- 36 с.
. РД 50-2130-80. Правила измерения расхода газов и
жидкостей стандартными сужающими устройствами.- М.: Изд-во стандартов,
1982.-320 с.
. Ривкин С.Л., Александров А.А. Теплофизические
свойства воды и водяного пара.- М.: Энергия, 1980.- 424 с.
. Преображенский В.П. Теплотехнические измерения и
приборы.- М.: Энергия, 1978.- 704 с.
Приложение А