Первичные преобразователи

  • Вид работы:
    Доклад
  • Предмет:
    Информатика, ВТ, телекоммуникации
  • Язык:
    Русский
    ,
    Формат файла:
    MS Word
    691,34 Кб
  • Опубликовано:
    2013-03-18
Вы можете узнать стоимость помощи в написании студенческой работы.
Помощь в написании работы, которую точно примут!

Первичные преобразователи

Министерство образования и науки

Российской федерации

Федеральное государственное автономное образовательное учреждение высшего профессионального образования

“Южный федеральный университет” г. Таганрог

Факультет РАДИОТЕХНИЧЕСКИЙ

Кафедра МИКРОПРОЦЕССОРНЫХ СИСТЕМ



ДОКЛАД

по курсу

«Физические и алгоритмические основы построения интеллектуальных датчиков»

на тему: «Первичные преобразователи»

Разработал

Студент группы МГР-12 Д. С. Убирайло

Проверил

к. т. н., доц. Е.В. Удод



Таганрог 2013

1. Термопара

Температурный датчик на основе термопары образуется сварным соединением (спаем) двух различных металлов. Томас Зеебек в 1821 году обнаружил термоэлектрический эффект, названный в его честь эффектом Зеебека (Эффект Зеебека обратим: пропустив ток по цени из разнородных материалов другой ученый по фамилии Пултье заметил, что один из спаев нагревается, а другой охлаждается (эффект Пельте). На этом принципе работают охладители для компьютеров, автомобильные холодильники и т.д) , когда в месте между «горячим» и «холодным» спаем металлов с разными температурами возникает термо-ЭДС с небольшой разностью потенциалов (порядка нескольких мВ), которую можно измерить милливольтметром. Величина возбуждаемого напряжения зависит от того, какие металлы соединены. Для образования термопар существует три наиболее распространенных комбинации металлов: железо-константан (тип J), медь-константан (тип Т) и хром-алюминий (тип К). Напряжение, образуемое термопарой, имеет очень малую величину, обычно несколько милливольт. Напряжение термопары типа К изменяется всего на 40 мкВ на градус Цельсия. Такие малые изменения напряжений термопары требуют прецизионных измерений: для обеспечения точности измерения температуры 0.1 °С требуется точность измерения напряжения порядка 4 мкВ. С другой стороны, поскольку любые два разных металла образуют термопару при соединении, то точка соединения термопары с измерительной системой также будет иметь свойства термопары в месте их соединения из-за разницы температур, измеряемой термопары и температуры окружающей среды. Место соединения (колодка) начинает нагреваться и образует паразитную термопару из материала колодки и медных проводников, подсоединенных к ней. Под медными проводниками подразумеваются не только медные провода, но и медные дорожки печатной платы.

Данный эффект может быть сведен к минимуму размещением соединений в так называемом изотермическом блоке, выполненном из теплопроводного материала (Рисунок 1). Материал с высокой теплопроводностью снижает разность температур между точками соединения, уменьшая тем самым ошибку, вводимую местом соединения проводников. Распространенный способ компенсации температурной зависимости изотермического блока - это размещение в блоке полупроводникового диода и измерение на нем падения напряжения.

Для усиления крайне малого сигнала термопары в десятые доли вольт необходим операционный усилитель, и обычно используется инструментальный усилитель в дифференциальном включении. Коэффициент усиления такого типа ОУ находится в диапазоне 100...300, и любой шум, воздействующий на термопару, будет усилен во столько же раз. Такое включение инструментальных усилителей значительно снижают синфазные помехи проводов термопары и усиливает только сигналы термопары. Правда, полностью снизить в реальных условиях синфазные помехи не удается и синфазная помеха «просачивается» на выход усилителя, который ослабляет помеху с определенным коэффициентом ослабления синфазных помех (КОСС). КОСС определяют в дБ. Инструментальные усилители по отношению к другим типам ОУ имеют повышенный КОСС.

Фирма Analog Devices выпускает специализированные усилители сигнала термопары типа J, такие как AD594/595. ИС AD594/595 не использует внешний /?-л-переход для компенсации изотермического соединения, вместо этого, в самой микросхеме предусмотрено биметаллическое соединение, компенсирующее температурную зависимость соединения термопары с усилителем. ИС проводит измерения в температурном диапазоне 0...300°С. Для наилучшей компенсации соединение проводов термопары с входом усилителя должно быть выполнено на плате как можно ближе к выводам микросхемы.

Усиленный сигнал термопары, как и терморезистора, необходимо масштабировать, чтобы соответствовать входному диапазону АЦП. Термопары относительно линейны в ограниченном диапазоне температур, однако если диапазон измерений достаточно широк, для компенсации нелинейностей понадобится дополнительное программное обеспечение. Зависимость напряжения термопары от температуры в этом случае можно будет представить полиномом, почти так же, как и зависимость сопротивления терморезистора от температуры.

Рисунок 1 - Схема подключения термопары

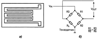
. Металлические тензодатчики веса/силы

Металлический тензодатчик веса/силы (Рисунок 2) обычно содержит проводник, представляющий собой тонкий слой металла, нанесенный на изолятор. Сопротивление проводника определяется его геометрическими размерами. При сжатии или растяжении изолятора проводник также изменит свою форму, и его сопротивление изменится. Тензодатчики характеризуются очень малым сопротивлением и еще меньшими изменениями этого сопротивления. Преимущество тензодатчиков в том, что они могут быть использованы для измерения веса (например, грузовика) на весах без каких-либо движущихся частей. Такой тензодатчик является структурной частью весов, прогибающихся под нагрузкой. Заметим, что гибкий элемент датчика может быть напечатан на подложке или даже на алюминиевой опоре, будучи от нее изолированным (Рисунок 2а). Как показано на Рисунок 2б чувствительная часть тензодатчика обычно собрана по мостовой схеме. В данном примере отношение R1/R2 равно R3/Rs (Rs - сопротивление тензодатчика), когда тензодатчик не нагружен. При выполнении этого условия выходное напряжение Voux равно нулю. Если тензодатчик деформируется под действием веса или силы, и его сопротивление изменяется, у моста наступает разбаланс, R1/R2 уже становится не равным R3/Rs (так как Rs изменилось). Выходное напряжение может быть усилено и измерено. Преимущество мостовой схемы в том, что она служит фильтром для различных шумов (таких как пульсации, например) входного напряжения. Выходное напряжение будет зависеть от входного, но изменения входного напряжения не повлияют значительно на выходное напряжение.

Так как сопротивление тензодатчика очень мало, его выходное напряжение должно быть усилено во много раз перед измерением. Типичный тензодатчик имеет сопротивление порядка 100 Ом, и в практических применениях должен чувствовать крайне малые изменения сопротивления - на уровне 0.0002% от номинальной величины. Тензодатчики в различном конструктивном исполнении применяются для измерения веса, силы и давления. Промышленностью также выпускаются полупроводниковые тензодатчики с микромеханическими сопротивлениями, нанесенными на кремниевую подложку. Преимущество такой технологии в том, что схемы усиления и обработки сигнала могут быть размещены на том же кристалле.

Рисунок 2 - Металлический тензодатчик веса/силы

3. Микросенсоры расхода (газа, жидкости)

Расходуемый газ (жидкость) перемещается по трубе. Для оценки количества проходящего газа микросистемными средствами не пригодны турбины, поршни и прочие устройства, используемые при больших расходах. Чаще всего в МСТ для определения расхода используется измерение отклонения температуры датчика, содержащего нагревательный элемент, которая происходит за счет изменения интенсивности охлаждения при изменении скорости газового потока. Другой прием - измерение перепада давления на некотором участке (базе) в трубе. На рис. 45 показано поперечное сечение микросенсора расхода, находящегося в трубке диаметром 4 мм.

Рис. 45. Поперечное сечение микросенсора с каналом газового потока:

- резисторы; 2 - обогреватель; 3 - радиатор и элемент канала газового

потока; 4- газовый поток на входе в трубку; 5 - стенка трубки

В сенсоре находится нагреватель (2) и две пары терморезисторов (1), расположенных слева и справа от нагревателя и включенных в схему моста. Левый резистор охлаждается холодным набегающим на нагреватель датчика потоком, а правый нагревается потоком, подогретым при прохождении над нагревателем. В итоге сигнал, снимаемый с моста пропорционален разности температур левого и правого резисторов, которая зависит от интенсивности охлаждения, т.е. от скорости потока. Радиатор (3) обеспечивает оптимальное распределение температуры вдоль мембраны с резисторами и формирует канал газового потока внутри сенсора.

Некоторые технические сведения:

Датчик изготовлен на подложке из монокристаллического кремния. Рабочая часть (мембрана) имеет размеры 2·1,5мм. Питание моста 3В, потребляемая мощность до 8МВт. Перегрев нагревателя 55°С. Чувствительность соответствует выходному напряжению 0,7В при скорости потока 2,7м/с.

Другой вариант подобного датчика, работающего по аналогичному принципу, приведен на рис. 46.

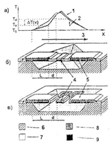
Рис. 46. Чувствительные элементы КМОП датчиков расхода газового потока: а) графики распределения температуры вдоль продольной оси чувствительных элементов: 1 - при наличии газового потока; 2 -без газового потока. б) упрощенное изображение чувствительных элементов КМОП датчиков с мостовой микроструктурой: 3 - направление газового потока; 4 - нагреватель; 5 - термобатарея. в) с воздушным зазором: 6 - кремний; 7 - диэлектрические слои; 8 - поликремний; 9 - металл.

Отличие здесь в том, что для измерения перепада температур (слева и справа от нагревателя) используют термопары, использующие контакт поликремния и алюминия (5).

На рис. 46а представлено распределение температуры вдоль датчика без газового потока (2) и при его наличии (1): распределение смещается вправо и возникает разность температур на “горячих” слоях термопар (в точках d и u), которая вызывает разные термоЭДС. Эти разности пропорциональны расходу газа:

U=Ud-Uu=kN(Td-Tu)

Разница вариантов б и в - чисто конструктивная: во втором отсутствует диэлектрический мостик между нагревателем и горячими слоями термопары (термоизоляция - воздушная). Во втором случае (в) чувствительность получилась вдвое выше , чем в первом (б).

Один из вариантов подачи газа к такому датчику представлены на рис. 47.

Рис. 47. Поперечное сечение устройства для корпусирования чувствительных элементов датчиков расхода газа:

- ввод газа; 2 - вывод газа; 3 - акриловый пластиковый блок с каналом потока; 4 - плата основания.

Вариант измерений расхода с использованием датчика давления (измерение перепада давления на некоторой базе L вдоль трубы) достаточно очевиден и обычно используется при больших расходах (рис. 48).

Рис. 48. Измерение расхода газа по перепаду давления

N = K(p2-p1).

 

4 Пироэлектрический эффект

Из рассмотренного ранее соотношения явление (эффект) = свойство * воздействие следует, что если воздействие скалярно, а эффект - векторный, то и свойство должно быть векторным (тензорным), т.е.

Вектор = вектор * скаляр.

Классическим свойством кристаллов, подчиняющихся этому правилу, является пироэлектрический эффект (на диаграмме эта связь под №12).

Пироэлектричество проявляется в свойстве кристалла диэлектрика изменять величину электрической поляризации при изменении температуры. В результате нагревания или охлаждения пироэлектрического кристалла на его гранях появляются электрические заряды.

Кристаллы пироэлектрических веществ это диэлектрики, обладающие спонтанной (самопроизвольной) электрической поляризацией.

Например, это турмалин, пентаэритрит. К пироэлектрикам относятся также сегнетоэлектрики, это так называемые - “мягкие пироэлектрики“ у которых направление спонтанной поляризации можно изменить внешним полем.

В таких кристаллах можно выделить элементарные ячейки, имеющие некомпенсированный электрический дипольный момент:

p = q· l,

где q - заряд, l - расстояние между равными и противоположными по знаку зарядами.

Если диполи ориентированы одинаково, то кристалл оказывается электрически поляризованным. Спонтанная поляризация определяется как сумма дипольных моментов в единице объема:

.

Численно она равна поверхностной плотности зарядов σ на противоположных гранях кристалла, нормальных к направлению P.

Если кристалл достаточно долго находится при постоянной температуре, то избыточные заряды на его поверхности компенсируются за счет утечек, взаимодействия с ионами воздуха и кристалл практически не обнаруживает внешне электрической поляризации. Если температуру кристалла однородно изменить на ∆t, то анизотропно меняются расстояния и углы между элементарными ячейками, меняется спонтанная поляризация, смещаются заряды диполей и в кристалле появляется постоянная поляризация вдоль направления, называемого электрической осью. То есть в результате изотропного действия температуры (∆t) в кристалле появляется дополнительно электрическая поляризация ∆p, то есть векторное свойство.

Впервые пироэлектрический эффект был обнаружен на кристаллах турмалина. На белой бумаге, на которой лежали кристаллы, пыль собиралась около концов кристалла (поляризация появлялась при колебаниях комнатной температуры). Особенно наглядно это проявляется, если нагретый кристалл турмалина посыпать порошком из смеси серы и сурика, которые при трении поляризуются. Пылинки серы и сурика притягиваются к разным по знаку заряда концам кристалла. Другая известная демонстрация эффекта - если охладить кристалл турмалина в жидком азоте, а затем вынуть на воздух, то на концах кристалла начинает расти “борода” из ледяных кристаллов, образующихся при замерзании частиц влаги, конденсирующихся из воздуха.

Уравнение пироэлектрического эффекта в общем нелинейно

∆P=γ1∆t+ γ2∆t2,


∆P=γ∆t,

где ∆t- скаляр, ∆P,γ- векторы.

Пироэлектрические кристаллы используются достаточно давно, но недостаточно широко.

Они очень перспективны для изделий микросистемной техники.

Что на них можно делать?

Датчики температуры с чувствительностью вплоть до 10-90C.

Приемники инфракрасного излучения, датчики ударных волн, измерители напряжения, ячейки памяти. Используют их и в преобразователях тепловой (не обязательно солнечной) энергии в электрическую.

Некоторые цифры. Пластинка турмалина, толщиной 1 мм, имеет γ= 1,3*10-5 Кл/м2 *К. Регистрирует изменение температуры 10-50C. При нагреве на 10 0C на ней образуется заряд с поверхностно плотностью 5*10-5 Кл*м2, что соответствует разности потенциала между гранями ~1,2кВ. У сегнетоэлектриков пироэлектрический коэффициент на 1-2 порядка больше, чем у турмалина.

Некоторые значения γ при 20 0C.

Турмалин                    1,3*10-5

Сульфат лития            3*10-4

Ниобат лития              2*10-3

Танталат лития            1*10-4

Титанат бария             (0,5-1)*10-3

Сегнетокерамика         5*10-5

(цирконат-титанат свинца)

Наблюдение и использование пироэлектрического эффекта осложняется и ограничивается эффектами проводимости (утечками).

Кроме того, каждый пироэлектрический кристалл является пьезоэлектриком. Изменение температуры кристалла, особенно неоднородное, вызывает деформацию, а следом идет пьезоэлектрическая поляризация, накладывающаяся на поляризацию, вызванную пироэффектом. То есть имеет место “первичный” (“истинный”) пироэффект и “вторичный” или “ложный” пироэффект.

Если поместить пироэлектрический кристалл в электрическое поле и менять его напряженность, то должен наблюдаться обратный пироэлектрическому электрокалорический эффект(10), то есть изменение температуры пироэлектрика, вызванное изменением приложенного к нему электрического поля. Его предсказали ещё в 19 веке Липман (1880) и Кельвин (1889), а вскоре обнаружили и экспериментально. Но он очень мал: для той же пластинки турмалина в 1 мм толщиной, изменение на 1/300 В дает изменение температуры порядка 10-5 0C. В сегнетодиэлектриках чувствительность значительно выше: так, в кристаллах КН2РО4 температура фазового перехода за счет сильных полей (вблизи точки Кюри) может изменяться примерно на 20C.

5. Датчики ускорения, вибрации, удара, положения

датчик микросенсор преобразователь термопара

Отмечалось, что измерение ускорений (акселерометры, гироскопы и пр.) одно из направлений развития МСТ, которое идет очень быстро.

В основе измерений этих параметров лежат фундаментальные законы механики - связь между ускорением, силой и массой. Используют физические явления, позволяющие изучить электрический сигнал, связанный с этими законами.

Чаще всего непосредственно измеряют силу (пьезоэлектрические датчики) или косвенно - по перемещению или деформации чувствительного элемента, причем используют те же емкостные или тензорезистивные преобразователи.

Таким образом, в основе измерений обычно лежат общие принципы, а датчики больше различаются по назначению и условиям использования.

В частности, решают задачи:

1. Измерения ускорений движущихся объектов - самолетов, ракет, наземных или морских средств. Для измерения характерных для них малых ускорений и частот (от 0 до десятков Гц) обычно используют следящие акселерометры и датчики перемещений.

2.      Измерения вибрационного ускорения жестких конструкций - до десятков кГц.

.        Измерения ударов - т.е. импульсивных ускорений. Здесь нужны широкополосные датчики.

Принцип действия проще всего проиллюстрировать на примере сейсмического датчика (разумеется, не микросистемного). Он может быть (в зависимости от диапазона частот) датчиком перемещения, скорости или ускорения, которым подвергается корпус прибора (рис. 30).

Рис. 30. Схема механической системы с одной степенью свободы:

- корпус; 2 - демпфер; 3 - инертная масса; 4 - устройство измерения перемещений; 5 - пружина.

Любой подобный датчик содержит механическую массу М и элемент, связывающий её с корпусом (кристалл пьезоэлектрика, гибкая пластина (пружина) и устройства преобразования параметров движения в электрический сигнал. Получается механическая система с одной степенью свободы.

h0 - ордината точки на корпусе (const),

h - ордината точки b на сейсмической массе.

В отсутствии ускорения ординаты a и b совпадают.

Z=h-h0 - перемещение сейсмической массы при ускорении.

Уравнение равновесия получим из баланса сил:

Cz - сила, возвращающая массу в положении равновесия,

- сила вязкого трения (демпфер),

- сила ускорения массы М.

Уравнение равновесия:

.

Его решение позволяет определить скорость и ускорение при механическом воздействии на корпус прибора.

6. Акселерометры

1. Одной из первых и простейших является конструкция интегрального балочного акселератора (рис. 31).

Рис. 31. Конструкция интегрального балочного акселерометра:

- контактные площадки; 2 - р+ - область; 3 - р - область; 4 - балка; 5 - воздушный зазор; 6 - кремний; 7 - выемка в крышке; 8 - воздушный зазор; 9 - инерционная масса; 10 - токопроводящий клей; 11 - стеклянная крышка.

Конструкция чувствительного элемента выполнена анизотропным травлением монокристалла кремния в плоскости (100). Часть балки 4 является инерционной массой. Она может быть кремневой или утяжелена осажденным металлом. Балка консолью подвешена в кольцевой прямоугольной рамке основания и отделены от него П-образным зазором 5. В консольной части, которая деформируется при ускорениях, сформированы тензорезистивные датчики деформации. Толщина упругой часть балки 10 - 20 мкм. Размеры кристалла 5 × 2.5 × 0.3.

Чувствительность линейного акселерометра с таким чувствительным элементом порядка 10-2 м/с2. Диапазон измерения 0,1 - 500 м/с2; частотный диапазон 0÷100 Гц. Рамка акселерометра защищена сверху и снизу стеклянными крышками.

. Широко применяется подвес маятника на двух упругих перемычках (торсионах) (рис. 32).

Рис. 32. Гибридный акселерометр компенсационного типа

Так могут выполняться как угловые акселерометры, так и линейные при смещении центра масс маятника относительно оси упругих перемычек. Здесь обычно используются емкостной датчик перемещений маятника, для чего на маятник и корпус прибора нанесены электроды (с зазором до 0.02 мм). При гибридном исполнении такой акселерометр имеет встроенную электронику обратной связи (рис. 33)

Рис. 33. Схема маятникого компенсационного акселерометра с электростатической обратной связью

Переменное напряжение от задающего генератора ЗГ подается в противофазе на неподвижные электроды датчика. Отклонение маятника модулирует это сигнал. Сигнал отклонения снимается с маятника и поступает через усилитель У на демодулятор Д. Обратная связь подается с выхода на одну обкладку подвеса непосредственно, а на другую - через инвертор И. К маятнику подключено также постоянное смещение V0 электрического подвеса.

Параметры:

Измеряемые ускорения ±35g.

Масштабный коэффициент ~ 1,3 мА/g.

Порог чувствительности ~ 0,5 μg.

Дрейф нуля ~ 10 μg/час.

. Наконец, возможна подвеска инерционной массы на четырех упругих перемычках (рис. 34) (иногда они попарно располагаются на двух противоположных сторонах пластины, несущей инерционную массу).

Рис. 34. Схема двухосевого чувствительного элемента

На этой подвеске можно делать более чувствительные и точные приборы с несколько меньшими пределами измерения (до 5÷10g). Полоса - до 1000 Гц, точность - до 1% от максимального диапазона. Преобразовывает - как емкостные, так и жидкостные.

. На подобном чувствительном элементе делают также микромеханические наклономеры (рис. 35).

Подвижная

Рис. 35. Микромеханический наклономер

Наклономеры нужны:

на транспорте - автомобиль, ж/д вагон;

оптические инструменты;

датчики уровня;

для замены ртутных выключателей;

в медицине (сердечные датчики и др.).

Закрепление инерционной массы производится на тонких балках в пределах промежутков подвижной массы. Балки получаются длинные (без увеличения габаритов чувствительного элемента). Съем информации производится с помощью тензорезисторов. Принцип работы ясен из рисунка: наклон датчика вызывает S-образные искривления балок. Информация об угле наклона балок может быть извлечена из сигналов двух сенсоров, датчики которых расположены в двух взаимно перпендикулярных плоскостях.

Конкретные приборы имеют примерно такие данные:

подвижная масса - 5×5 мм,

длина упругой балки - 510 мкм,

ширина - 7 мкм,

толщина - 5мкм.

Полный диапазон измеренных углов ± 80º.

Чувствительность ~ 1 мВ/градус наклона.

6. Вибрационные гироскопы

Гироскопы с вращающейся массой (ротором) давно известны. Их главное свойство - сохранять неизменным положение оси вращения в пространстве - широко используется как для стабилизации положения различных платформ, так и косвенно, для получения исходной информации для реализации такой стабилизации. Присущие им недостатки связаны с необходимостью иметь достаточно большую инертную массу и износом опор. Практически их невозможно сделать миниатюрными.

В 1950г. для замены гироскопов с вращающейся массой был предложен вибрационный. Гироскоп предназначен для измерения угловых ускорений. Он сложнее обычных линейных акселерометры, т.к. принципиально требует для работы опорного движения. В обычном гироскопе таким опорным движением является вращение ротора. В вибрационном гироскопе вращение заменено возбуждением опорной вибрации.

Принцип работы чувствительного элемента (ЧЭ) вибрационного гироскопа иллюстрирует рис. 36.

Рис. 36. Принцип работы чувствительного элемента вибрационного гироскопа: а - возбуждаемые колебания; б - вынужденные колебания.

ЧЭ представляет собой миниатюрный камертон, выполненный из монокристалла. Обе его пластины - ветви приводятся в противофазное колебательное движение в плоскости ZY (плоскость листа). Это возбуждение производится внутренним генератором. Каждый элемент ветви массой dm перемещается с линейной скоростью V. Если теперь основание, на котором закреплен камерон, будет вращаться со скоростью Ω (которую нужно измерить) вокруг оси Z, для каждого элемента массы возникает ускорение Кориолиса ak=2VΩ и соответствующая сила инерции Fk=2VΩdm.

Силы Кориолиса суммируются по каждой из ветвей и приводят к их изгибу в плоскости XZ. При вращении основания в другую сторону изменится и направление изгиба. Таким образом, колебания (отклонения) ветвей в плоскости XZ содержат информацию об угловой скорости вращения основания.

Линейные ускорения, вибрации корпуса прибора являются помехой для полезного сигнала. Теория работы и извлечения полезной информации с таких датчиков достаточно сложна.

Такие простые конструкции ЧЭ выполнялись из кварца, обладающего пьезоэффектом. Датчики имели габариты 63×47×35, а измеряли скорость вращения до 75о /С.

Обычно гироскопы имеют более сложную конструкцию.

На рис. 37 представлена структура вибрационного гироскопа, выполненного по планарной технологии на кремниевой пластине.

Рис. 37. Конструктивная схема вибрационного гироскопа

Гироскоп имеет две подвижные массы, каждая площадью 4мм2, подвешенные на гибких опорах (рамках) относительно базового элемента (основания), выполненного из стекла. Массы с помощью трех (левый, центральный, правый) электростатических двигателей гребенчатой структуры приводятся в вибрационное движение со скоростью V параллельно плоскости базы. Векторы скоростей находятся в противофазе друг к другу. Если возникает угловая скорость Ω вокруг входной оси, появляется сила Кориолиса F1 и F2, под их действием одна масса будет подниматься, другая опускаться по отношению к плоскости вибрации.

Емкости датчика перемещения, расположенные на подвижных массах (снизу) и на основании зафиксирует перемещение и сформирует выходной сигнал гироскопа. Имеются также емкости для формирования контура электростатической обратной связи.

Наиболее распространена конструкция гироскопа с двумя рамками и торсионным подвесом (рис. 38).

Рис. 38. Структура гироскопа с двумя рамками и торсионным подвесом

Рамки образуют два плоских подвижных элемента - внешний (1) и внутренний (2), соединенных между собой и с основанием с помощью торсионов 3 и 4, оси которых перпендикулярны друг другу. Для увеличения кинетического момента на внутреннем элементе расположена дополнительная масса 5, снизу между основанием и рамками нанесено несколько пар электродов, образующих возбуждающие емкости и емкостные датчики перемещений.

Наружному элементу 1 электрическим возбуждением сообщаются угловые колебания относительно оси Y. Эти колебания в той же плоскости через торсионы 3 передаются и на внутренний элемент. При вращении прибора со скоростью Ω относительно оси Z возникают силы Кориолиса, которые заставляют внутренний элемент поворачиваться относительно оси X. Это отклонение измеряется емкостным датчиком перемещений и несет информацию об угловой скорости Ω.

Такие гироскопы обеспечивают по оценкам, точности порядка (102÷103)о/час и выше.

На рис. 39 приведена конструктивная схема микрогироскопа, имеющего сразу две оси чувствительности.

Чувствительная масса здесь имеет форму кольца (2), имеет сложный симметричный упругий подвес (элементы 3-8). Подвижная часть гироскопа через втулку (1) закрепляется на корпусе прибора (крепление «центральное»). Очевидно, что такой гироскоп сложен и конструктивно и в изготовлении.

Кольцо возбуждается по схеме «вибрационное вращение» с помощью электростатического привода гребенчатой структуры (11). Измеряется вращение относительно оси Z. Измерение перемещений чувствительного элемента осуществляется в двух плоскостях с помощью емкостных датчиков (9) и (10), расположенных на осях X и Y.

Рис. 39. Двухосевой микрогироскоп:

- центральная втулка; 2 - кольцо (инертная масса); 3-8 - элементы упругого подвеса; 9,10 - емкостные датчики перемещения; 11 - привод гребенчатой структуры.

Становится популярной схема очень простого по конструкции стержневого гироскопа (рис. 40).

Рис. 40. Структура стержневого вибрационного гироскопа

Правда, его можно выполнить только с использованием пьезоэлектрических материалов.

Он состоит из стержня (2), вытравленного в корпусе (1) и пьезоэлементов (3,4,5,6), нанесенных на грани стержня (стержень может иметь в сечении и треугольное сечение - так делают японцы). С обеих сторон и длине стержень имеет шейки, на которых он и подвешен к корпусу. Пьезоэлементы (3-5) возбуждают в стержне колебания в плоскости YZ, каждый элемент стержня при этом получает скорость Vy. Если теперь вращать стержень вокруг оси Z со скоростью Ω, возникающие силы Кориолиса вызывают колебания стержня в плоскости XZ с линейными скоростями Vx каждого элемента. Для измерения этих колебаний служат пары пьезоэлементов (4-6).

Список использованных источников

1.   Р. Стюарт Болл. Аналоговые интерфейсы микроконтроллеров. Москва, из-во «Додэка-XXI», 2007г.

2.   Е. Б. Механцев. Курс лекций по дисциплинам. «Физические основы микросисемной техники», 2008г.

Похожие работы на - Первичные преобразователи

 

Не нашли материал для своей работы?
Поможем написать уникальную работу
Без плагиата!
Без нейросетей!