Обзор методов измерения и первичных преобразователей массы

  • Вид работы:
    Контрольная работа
  • Предмет:
    Другое
  • Язык:
    Русский
    ,
    Формат файла:
    MS Word
    302,56 Кб
  • Опубликовано:
    2015-06-23
Вы можете узнать стоимость помощи в написании студенческой работы.
Помощь в написании работы, которую точно примут!

Обзор методов измерения и первичных преобразователей массы

Министерство образования и науки Российской Федерации

Федеральное государственное бюджетное образовательное учреждение

Высшего профессионального образования

"Государственный университет-учебно-научно-производственный комплекс"

Учебно-научно-исследовательский институт информационных технологий

Кафедра "Приборостроение, метрология и сертификация"






РАСЧЕТНО-ГРАФИЧЕСКАЯ РАБОТА

по дисциплине: "Физические основы измерений и контроля"

тема работы: "Обзор методов измерения и первичных преобразователей массы"



Выполнила: студентка группы 21 - УК Стрелкова К.Г.

Преподаватель: Марков В.В.





Орел 2013 г.

Содержание

 

Введение

I. Обзор методов измерения. Масса

1.1 Механический метод измерения массы

1.2 Тензорезистивный метод измерения массы

1.3 Индуктивный метод измерения массы

1.4 Магнитоупругий метод измерения массы

1.5 Емкостный метод измерения массы

1.6 Термоэлектрический метод измерения массы

1.7 Фотоэлектрический метод измерения массы

1.8 Магнитоэлектрический метод измерения массы

II. Обзор первичных преобразователей массы

2.1 Механические упругие преобразователи

2.2 Тензорезистивные преобразователи

2.3 Индуктивные преобразователи

2.4 Магнитоупругие преобразователи

2.5 Емкостные преобразователи

2.6 Термоэлектрические преобразователи

2.7 Фотоэлектрический преобразователь

2.8 Магнитоэлектрический преобразователь (преобразователь Холла)

Заключение

Список используемых источников

 

Введение

Масса - физическая величина тела, являющаяся мерой его инерционных и гравитационных свойств. Под массой понимают два различных свойства вещества:

.        Инерционная масса, которая характеризует меру инертности тел и фигурирует во втором законе Ньютона;

2.      гравитационная масса, которая определяет, с какой силой тело взаимодействует с внешним гравитационным полем (пассивная гравитационная масса) и какое гравитационное поле создает само это тело (активная гравитационная масса).

Масса определяется как частное от силы на ускорение.

В системе СИ масса измеряется в килограммах, граммах. Несистемные единицы измерения массы - это пуд, фунт, тонна, центнер, карат и т.п.

Для измерения массы используют весы.

Весы - это устройство или прибор для определения массы тел по действующему на них весу, принимаемая равным его силе тяжести. Весы бывают конвейерными (для взвешивания насыпного продукта на конвейерной ленте), суммирующими бункерными (для определения массы большого количества продукта путем его деления на отдельные порции, последовательного взвешивания и суммирования результатов взвешивания), автоматическими железнодорожными, для взвешивания автотранспортного средства в движении, градуированными, неградуированными, с автоматическим установлением показаний, цифровые и механические.

I. Обзор методов измерения. Масса


1.1 Механический метод измерения массы


В основе метода лежит зависимость деформации упругого элемента от приложенной силы. Схема измерения массы может иметь вид:

Рисунок 1.1 - Балка равного сопротивления

Для измерения массы используются упругие элементы у них деформация зависит от величины приложенной силы. На рисунке показана балка равного сопротивления. Для нее зависимость между массой и деформацией может иметь вид:


Модуль Юнга зависит от типа материала:

.        Сталь - 210 ГПа

2.      Бронза - 75-125 ГПа

.        Латунь - 95 ГПа

.        Серый чугун - 110ГПа

.        Цинк - 210 ГПа

.        Дюралюминий - 74 ГПа

.        Алюминий - 70 ГПа

Балки используются для измерения массы, сравнительно небольших значений: от 0,1…100 кг.

Достоинства метода: Механический метод возник исторически первоначально. Он отличается простотой и наглядностью измерения массы.

Недостаток метода: выходной величиной для преобразователей, реализующих механический метод является деформация (то есть длина). Её нельзя использовать как сигнал измерительной информации, удобной для автоматической обработки.

Область применения: Механический метод используют в показывающих приборах измерения силы (динамометры), массы (весы), а так же в качестве первичного преобразователя в электронных средствах измерения массы и силы.

1.2 Тензорезистивный метод измерения массы


В основе метода лежит использование тензоэффекта, заключающееся в изменении сопротивления полупроводников и проводников при их металлической деформации.

Схема изменения массы может иметь вид:

Рисунок 1.2 - Тензорезистивный преобразователь

Чувствительность тензорезистора зависит от коэффициента чувствительности к, а он в свою очередь определяется материалом тензорезистора:

. платина - к=6

. константан - к=1,5 …1,8

. ртуть - к = 2

кремний - к=100.120

Недостатки: сопротивление сильно зависит от температуры, необходимость усиления выходного сигнала.

Область применения метода: Тензорезистивный метод используют для исследования физических свойств материалов, деформаций и напряжений в деталях и конструкциях, так же для измерения механических величин, преобразуемых в деформацию упругого элемента.

1.3 Индуктивный метод измерения массы


В основе метода лежит использование явления электромагнитной индукции.

В общем случае, индукционный преобразователь массы представляет собой катушку с сердечником. которая характеризуется некоторым обобщенным параметром Y и ЭДС в которой может индуктироваться как в результате измерения во времени внешнего магнитного поля, так и в результате измерения во времени параметра Y преобразователя.

Достоинства метода: Достоинства данного метода заключаются в высоком пороге чувствительности преобразователей.

Недостатки метода: порог чувствительности средств измерений со стационарными преобразователями определяется главным образом механическими помехами (вибрации, сейсмические и аккустические воздействия), которые приводят к колебаниям преобразователя и наведением дополнительной ЭДС. А так же дрейфом интегрирующего выходного преобразователя.

Область применения метода: Индуктивный метод измерения применяется для измерения скоростей жидких металлов, водных растворов.

1.4 Магнитоупругий метод измерения массы


Метод основан на изменении магнитной проницаемости ферромагнитных тел в зависимости от возникающих в них механических напряжений (магнитоупругий эффект), обусловлен воздействием на ферромагнитные механических сил Р (растягивающие, сжимающие, изгибающие, скручивающие).

Магнитоупругие преобразователи отличают простота конструкции, большая механическая прочность и жесткость, возможность работы в тяжелых эксплуатационных условиях. Некоторые типы магнитоупругих и индуктивных преобразователей могут работать при питании напряжением сетевой частоты 50 Гц, что не требует применения в измерительных схемах специальных генераторов.

Недостатки. К числу недостатков электромагнитных преобразователей относится малая помехоустойчивость в отношении магнитных помех, что часто исключает их применение при установке в непосредственной близости к электрическим машинам.

Индуктивные и индукционные преобразователи отличаются существенной для некоторых объектов диагностирования величиной обратной реакции на объект измерения.

Применение. Электромагнитные преобразователи нашли широкое применение при диагностировании строительных машин. Индуктивные и трансформаторные преобразователи с поперечным перемещением сердечника используют для измерений малых перемещений от нескольких микрометров, например при оценке величин люфтов в сопряжениях машин. Преобразователи с поперечным перемещением сердечника находят также широкое применение для измерения в комплексе с упругими чувствительными элементами давлений жидкости и сжатого воздуха.

Преобразователи с продольным перемещением якоря применяют для измерения перемещений относительно больших величин, например игл форсунок в дизельных двигателях. Индуктивные преобразователи специальных конструкций применяют для измерения потери сечения стальных канатов от износа.

1.5 Емкостный метод измерения массы


В основе метода лежит использование электростатического эффекта - накопление электрического заряда в диэлектрике, размещенном между двумя электропроводными пластинами.

Преимущества емкостных преобразователей в том, что многие из них могут работать без механического соединения с объектом диагностирования. Емкостные преобразователи отличаются очень малым обратным воздействием на объект диагностирования (за счет электростатических сил притяжения). Емкостные преобразователи могут работать в широком диапазоне температур и помехоустойчивы в отношении сильных магнитных полей. Емкостные преобразователи механических величин обычно просты по конструкции.

Недостатки. К числу недостатков емкостных преобразователей относится чрезвычайно большое значение выходного сопротивления при сравнительно небольших абсолютных значениях емкости, что предъявляет жесткие требования к изоляции электродов преобразователя, их экранировке, к изоляции и экранировке соединительных проводов. На погрешность емкостных преобразователей оказывают влияние изменения влажности и температуры окружающей среды, а также попадание между пластинами воды или масла. Одним из осложнений в применении емкостных преобразователей являются ограничения в длине и емкости соединительных проводов, но в связи с разработкой нулевых транзисторов и микромодульных операционных усилителей стало возможным делать промежуточные преобразователи с весьма большим входным сопротивлением, очень малого объема. Это в свою очередь открыло возможность создания датчиков с емкостными преобразователями, совмещенных в одном корпусе с промежуточным преобразователем. При использовании таких промежуточных преобразователей отпадают необходимость применения специальных измерительных кабелей и ограничения в длине кабеля. Такие датчики могут быть установлены в нескольких десятках метров от измерительного прибора. Хотя температурный диапазон измерения ограничен возможностями элементов промежуточного преобразователя, но достаточен для большинства задач диагностирования строительных машин в условиях эксплуатации.

Область применения: емкостные преобразователи широко применяются для измерения уровня диэлектрических жидкостей (масло или нефтепродукты), а так же для измерения влажности сыпучих тел (мука, зерно, песок и т.д.)

1.6 Термоэлектрический метод измерения массы


Явление термоэлектричества было открыто в 1823 г. Зеебеком и заключается в следующем. Если составить цепь из двух различных проводников или полупроводников) А и В, соединив их между собой концами, причем температуру одного места соединения сделать отличной от температуры другого места соединения, то в цепи потечет ток под действием ЭДС, называемой термоэлектродвижущей силой и представляющей собой разность функций температур мест соединения проводников. На данном явлении основан термоэлектрический метод.

Достоинства метода: используются в самых различных диапазонах температур.

Недостатки метода: отличаются существенной нестабильностью.

Область применения: применяют в устройствах для измерения температуры и в различных автоматизированных системах управления и контроля. В сочетании с электроизмерительным прибором (милливольтметром, потенциометром и т.п.) термопара образует термоэлектрический термометр.

1.7 Фотоэлектрический метод измерения массы


Метод основан на преобразовании энергии фотонов в электрическую энергию. Первый фотоэлемент, основанный на внешнем фотоэффекте, создал Александр Столетов.

Фотоэлектрический (или фотовольтаический) метод преобразования солнечной энергии в электрическую является в настоящее время наиболее разработанным в научном и практическом плане. Впервые на перспективу его использования в крупномасштабной энергетике обратил внимание еще в 30-е годы один из основателей советской физической школы академик А.Ф. Иоффе. Однако в то время КПД солнечных элементов не превышал 1%.

Достоинства метода: большой срок службы, достаточная аппаратурная надежность, отсутствие расхода активного вещества или топлива.

Недостатки метода: необходимость устройств для ориентации на Солнце, сложность механизмов, разворачивающих панели ФЭП после выхода КЛА на орбиту, неработоспособность в отсутствие освещения, относительно большие площади облучаемых поверхностей.

Область применения: современные тенденции в мировой энергетике стимулируют существенный рост интереса к альтернативным источникам энергии. ФЭП или солнечные элементы являются наиболее перспективными, экологически чистыми кандидатами на уменьшение нефтяной зависимости мира и, в отличие от органических и неорганических источников энергии, преобразуют солнечное излучение непосредственно в электроэнергию.

1.8 Магнитоэлектрический метод измерения массы


Принцип действия магнитоэлектрических преобразователей основан на взаимодействии магнитных полей постоянного магнита и проводника с током, конструктивно выполненного в виде катушки (рамки). На данном эффекте основан метод.

Достоинства: магнитоэлектрические измерительные механизмы могут непосредственно использоваться для измерений силы электрического тока.

Недостатки: низкая чувствительность.

Область применения: Наиболее широко магнитоэлектрические преобразователи используются при создании амперметров и вольтметров постоянного тока, омметров, гальванометров постоянного тока, баллистических гальванометров для измерений малых количеств электричества, а также приборов для измерений в цепях переменного тока (осциллографические гальванометры, вибрационные гальванометры, выпрямительные, термоэлектрические и электронные приборы на базе магнитоэлектрических преобразователей). Самыми разнообразными по номенклатуре и наиболее широко используемыми приборами, создаваемыми на основе магнитоэлектрических преобразователей, являются амперметры, вольтметры, гальванометры и омметры для измерений в цепях постоянного тока.

II. Обзор первичных преобразователей массы


2.1 Механические упругие преобразователи


Это самый простой преобразователь силы.

Масса - это скалярная величина. Равная отношению силы упругости на ускорение свободного падения.

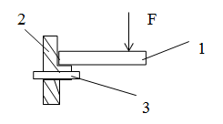
Он представляет собой упругий элемент (пружину или балку), на которую воздействуют измерительная сила, вызывающая деформацию элемента. Схема упругого преобразователя массы в виде балки равного сопротивления показаны на рисунке 2.1.

Рисунок 2.1 - Балка равного сопротивления

На рисунке механический упругий преобразователь (балка) обозначен цифрой 1. Она закрепляется на вертикальной плоскости 2 с помощью винта 3. Если измеряемая сила действует на свободный край балки, возникает его деформация.

Функция преобразования балки равного сопротивления имеет вид

 6 F1l36               l3 m g

Δ1 =            Ebh3   =              Ebh3

Диапазон преобразований массы от 0,1…100 кг

2.2 Тензорезистивные преобразователи


Тензорезистивный преобразователь основан на тензоэффекте, заключающемся в изменении сопротивления полупроводников и проводников при их металлической деформации.

Как следует из определения, измерения деформаций с помощью тензорезисторов основано на тензоэффекте. Тензоэффектом называется свойство проводниковых и полупроводниковых материалов изменять электропроводность (электрическое сопротивление) при изменении объёма или напряжённого состояния.

Для обоих видов тензочувствительных материалов, проводниковых и полупроводниковых, тензоэффект характеризуется величиной тензочувствительности, устанавливающей связь между относительным изменением сопротивления и относительной деформацией в направлении измерений.

В технике измерения неэлектрических величин тензорезисторы используются по двум направлениям.

Первое направление - использование тензоэффекта проводника, находящегося в состоянии объёмного сжатия, когда естественной входной величиной преобразователя является давление окружающего его газа или жидкости. На этом принципе строятся манометры для измерения высоких и сверхвысоких давлений, преобразователи которых представляют собой катушку провода (обычно манганинового) или полупроводниковый элемент (чаще всего германиевый или кремниевый), помещённые в область измеряемого давления (жидкости или газа). Выходной величиной преобразователя является изменение его активного сопротивления.

Второе направление - использование тензоэффекта растягиваемого или сжимаемого тензочувсвительного материала. При этом тензорезисторы применяются в виде "свободных" преобразователей и в виде наклеиваемых.

Тензорезисторы характеризуются рядом параметров, основными из которых являются:

тензочувствительность Sт;

номинальное сопротивление R;

допустимая деформация Едоп;

погрешность преобразования.

Для обоих видов тензочувствительных материалов, проводниковых и полупроводниковых, тензоэффект характеризуется величиной тензочувствительности, устанавливающей связь между относительным изменением сопротивления и относительной деформацией в направлении измерений.

Тензочувствительность материала характеризуется зависимостью

T = =1+2, [1]

где; R; ΔR; Δ - длина и сопротивление тензочувствительного элемента и их приращение в следствии деформации; m - коэффициент эластосопротивления, равный m =υΕм; Εм - модуль упругости образца тензочувствительного материала; υ - продольный коэффициент пьезосопротивления.

Рисунок 2.2 - Тензорезистивный преобразователь

2.3 Индуктивные преобразователи


Типы индуктивных преобразователей. На рис.2.3 изображен наиболее распространенный преобразователь с малым воздушным зазором , длина которого изменяется под действием измеряемой величины Р (сосредоточенной силы, давления, линейного перемещения). Вследствие изменения зазора изменяется магнитное сопротивление магнитной цепи, а значит и индуктивность катушки, надетой на сердечник и включенной в цепь переменного тока. Изменение индуктивного сопротивления катушки ведет к соответствующему изменению ее полного сопротивления Z. Таким образом, возникает функциональная зависимость между измеряемой механической величиной Р и электрическим сопротивлением Z преобразователя:  и .

Преобразователи такого типа можно применять при измерении перемещений порядка 5…20 мм.

Рисунок 2.3 - Индуктивный преобразователь

В практике нашли применение почти исключительно дифференциальные индуктивные преобразователи.

Объясняется это не только большей линейностью характеристики, но главным образом меньшей погрешностью этих преобразователей. Одним из основных достоинств индуктивных преобразователей является возможность получения большой мощности преобразователя (до 1…5 В×А), что позволяет пользоваться сравнительно малочувствительным указателем на выходе измерительной цепи, а при необходимости - регистрировать измеряемою величину (возможно включение на выходе цепи самописца или вибратора осциллографа без предварительного усиления). В малогабаритных преобразователях, однако, часто приходиться прибегать к включению усилителя между измерительной цепью и указателем или регистратором.

2.4 Магнитоупругие преобразователи


Работа магнитоупругого преобразователя основана на магнитоупругом эффекте. Как известно, ферромагнитные вещества имеют области самопроизвольного намагничивания (домены). В ненамагниченном состоянии вещества домены ориентированы хаотично и магнитные моменты отдельных доменов компенсируют друг друга. При помещении ферромагнитного тела в магнитное поле домены ориентируются в его направления. В слабом поле ориентация частичная; в сильном поле при магнитном насыщении материала ориентируются все домены. Ориентация доменов вызывает увеличение магнитной индукции, характерное для ферромагнитных материалов.

Если на намагниченный образец ферромагнитного тела воздействовать внешней механической силой, то тело деформируется, домены изменят свою ориентацию и индукция в материале изменяется. Явление имеет упругий характер. Если силу снять, то индукция примет прежнее значение. Поскольку абсолютная магнитная проницаемость вещества


то при заданной напряженности поля Н изменение индукции В эквивалентно изменению магнитной проницаемости.

Изменение индукции или магнитной проницаемости в ферромагнитных телах при действии на них силы называется магнитоупругим эффектом.

Рассмотренное явление используется для преобразования механической силы в электрическую величину.

Один из возможных типов магнитоупругого преобразователя представлен на рис.2.4 Он представляет собой ферромагнитный сердечник с намотанной на нем катушкой. При действии силы F в материале сердечника возникает механическое напряжение s, изменяется m r, следовательно, и магнитное сопротивление сердечника R м, а также индуктивность катушки L. Формула преобразований имеет вид


Рисунок 2.4 - Магнитоупругий преобразователь

2.5 Емкостные преобразователи


Емкостные преобразователи состоят из двух или нескольких пластин, расположенных определенным образом одна относительно другой, причем зазор между ними заполнен диэлектриком, обычно воздухом. Измерительный ход упругого элемента изменяет их расположение и тем самым изменяет емкость преобразователя. Для использования в датчиках чаще всего применяются системы с изменяемой длиной зазора, а из них - несимметричные - главным образом в генераторных схемах для частотных методов измерения. Емкостные преобразователи имеют относительно малые размеры и характеризуются пренебрежимо малыми силами трения и противодействия. Поэтому они пригодны для создания датчиков для всех требуемых номинальных сил.

Рисунок 2.5 - Ёмкостный преобразователь

Переменным электрическим параметром емкостного преобразовался является емкость конденсатора.


где e - относительная диэлектрическая проницаемость среды между пластинами конденсатора; S - площадь пластин, см2; d - воздушный зазор между пластинами, см.

При смещении пластины конденсатора на некоторую, величину х

.

Умножая и деля последнее выражение на [1 + х/d] и считая член (x/d) 2 в знаменателе величиной второго порядка малости, получим


т.е. зависимость емкости конденсатора от величины перемещения измерительного стержня будет приближенно линейной.

2.6 Термоэлектрические преобразователи


Принцип действия термоэлектрических преобразователей или термопар основан на явлении термоэлектрического эффекта, которое заключается в том, что в цепи из двух различных проводников (или полупроводников), соединенных между собой концами при разности температур соединений возникает ЭДС, называемая термоэлектродвижущей силой (термо-ЭДС). Такая цепь называется термоэлектрическим преобразователем или термопарой. Проводники, составляющие термопару, называются термоэлектродами, а места их соединения спаями. Рабочий конец термопары, помещенный в измеряемую среду, называют горчим спаем, а свободный (нерабочий) - холодным. Один из термоэлектродов называется термоположительным, а второй - термоотрицательным. Термоположительным называют тот проводник, от которого термоток течет в холодном спае, а термоотрицательным - тот проводник, к которому течет термоток в том же холодном спае.

При небольшом перепаде температур между спаями термо-ЭДС пропорциональна разности температур. Величина термо-ЭДС зависит только от природы проводников и от температуры спаев и не зависит от распределения температур между спаями.

Явление термоэлектричества принадлежит к числу обратных явлений. Если через цепь, состоящую из двух различных проводников или полупроводников, пропустить электрический ток, то в одном спае выделяется тепло, а на другом поглощается.

Рисунок 2.6 - Термопара

Действие термопары основано на эффекте Зеебека. Эффект Зеебека основывается на следующих явлениях. Если вдоль проводника существует градиент температур, электроны на горячем конце добывают высшие энергии и скорости, чем на холодном. В итоге возникает поток электронов от горячего конца к холодному, и на холодном конце накапливается негативный заряд, а на горячем остается некомпенсированный позитивный заряд. Поскольку средняя энергия электронов зависит от природы проводника и по-разному растет с температурой, при той же разнице температур термо-ЭДС на концах разных проводников будут отличаться:

= k1 (T1 - T2); e2 = k2 (T1 - T2)

где Т1 и Т2 - температуры горячего и холодного концов соответственно; k1 и k2 - коэффициенты, что зависят от физических свойств соответственно 1-го и 2-го проводников. Результирующая разница потенциалов называется объемной термо-ЕРС:

об = e1 - e2 = (k1 - k2) (T1 - T2).

В местах спайки разнородных проводников появляется контактная разница потенциалов, которая зависит от площади и материалов прилегающих поверхностей и пропорциональная их температуре:= kповT1; ek2 = kповT2 где kпов - коэффициент поверхностей касательных металлов. В итоге появляется вторая составляющая исходного напряжения - контактная термо-ЕРС:

= ek1 - ek2 = kпов (T1 - T2)

Напряжение на выходе термопары определяется как сумма объемной и контактной термо-ЭДС:

вих = eоб + ek = (k1 - k2 + kпов) (T1 - T2) = к (T1 - T2)

где к - коэффициент передачи.

2.7 Фотоэлектрический преобразователь


Наиболее эффективными, с энергетической точки зрения, устройствами для превращения солнечной энергии в электрическую являются полупроводниковые фотоэлектрические преобразователи (ФЭП), поскольку это прямой, одноступенчатый переход энергии. При характерной для ФЭП равновесной температуре порядка 300-350 Кельвинов и Тсолнца ~ 6000 К их предельный теоретический КПД >90 %. В лабораторных условиях уже достигнут КПД 40 %,* а его увеличение до 50 % представляется вполне реальным.

Преобразование энергии в ФЭП основано на фотовольтаическом эффекте, который возникает в неоднородных полупроводниковых структурах при воздействии на них солнечного излучения.

Неоднородность структуры ФЭП может быть получена легированием одного и того же полупроводника различными примесями (создание p-n переходов) или путём соединения различных полупроводников с неодинаковой шириной запрещённой зоны - энергии отрыва электрона из атома (создание гетеропереходов), или же за счёт изменения химического состава полупроводника, приводящего к появлению градиента ширины запрещённой зоны (создание варизонных структур). Возможны также различные комбинации перечисленных способов.

Эффективность преобразования зависит от электрофизических характеристик неоднородной полупроводниковой структуры, а также оптических свойств ФЭП, среди которых наиболее важную роль играет фотопроводимость. Она обусловлена явлениями внутреннего фотоэффекта в полупроводниках при облучении их солнечным светом.

Основные необратимые потери энергии в ФЭП связаны с:

отражением солнечного излучения от поверхности преобразователя,

прохождением части излучения через ФЭП без поглощения в нём,

рассеянием на тепловых колебаниях решётки избыточной энергии фотонов,

рекомбинацией образовавшихся фото-пар на поверхностях и в объёме ФЭП,

внутренним сопротивлением преобразователя,

и некоторыми другими физическими процессами.

Для уменьшения всех видов потерь энергии в ФЭП разрабатываются и успешно применяется различные мероприятия. К их числу относятся:

использование полупроводников с оптимальной для солнечного излучения шириной запрещённой зоны;

направленное улучшение свойств полупроводниковой структуры путём её оптимального легирования и создания встроенных электрических полей;

переход от гомогенных к гетерогенным и варизонным полупроводниковым структурам;

оптимизация конструктивных параметров ФЭП (глубины залегания p-n перехода, толщины базового слоя, частоты контактной сетки и др.);

применение многофункциональных оптических покрытий, обеспечивающих просветление, терморегулирование и защиту ФЭП от космической радиации;

разработка ФЭП, прозрачных в длинноволновой области солнечного спектра за краем основной полосы поглощения;

создание каскадных ФЭП из специально подобранных по ширине запрещённой зоны полупроводников, позволяющих преобразовывать в каждом каскаде излучение, прошедшее через предыдущий каскад, и пр.;

Также существенного повышения КПД ФЭП удалось добиться за счёт создания преобразователей с двухсторонней чувствительностью (до +80 % к уже имеющемуся КПД одной стороны), применения люминесцентно переизлучающих структур, предварительного разложения солнечного спектра на две или более спектральные области с помощью многослойных плёночных светоделителей (дихроичных зеркал) с последующим преобразованием каждого участка спектра отдельным ФЭП и т.д.

2.8 Магнитоэлектрический преобразователь (преобразователь Холла)


Рисунок 2.7 - Преобразователь Холла

измерение преобразователь первичный масса

Когда проводник с протекающим по нему током помещается в магнитное поле так, что направление тока оказывается перпендикулярным магнитным силовым линиям, то образуется поперечное электрическое поле, пропорциональное произведению плотности магнитного потока и силе электрического тока. Этот эффект возникает в проводниках, однако наиболее существенен он в полупроводниках, где известен под названием эффекта Холла.

Рисунок 2.7а - полупроводниковая пластина

На рисунке 2.7а показана полупроводниковая пластина, к которой приложено магнитное поле с индукцией В, перпендикулярное протекающему через нее току I, и возникающее при этом электрическое поле с напряженностью Е. Отношение между магнитной индукцией, током и напряженностью определяется следующим образом:

= - RH (IB),

где RH = 1/ne - коэффициент Холла; п - число зарядов,

протекающих через единицу объема и образующих электрический ток в проводнике или полупроводнике; е - заряд носителя зарядов.

Эффект Холла используется во многих типах преобразователей, предназначенных для измерения магнитного поля, а также в бесконтактных переключающих приборах.

Заключение


Мы рассмотрели основные виды преобразователей для неэлектрической величины - массы.

На мой взгляд, самым перспективным методом преобразования измерений является фотоэлектрический метод и фотоэлектрический преобразователь. Потому что в наше время остро поставлен вопрос о том, как открыть новые источники энергии.

Список используемых источников


1 Левшина Е.С., Новицкий П.В. "Электрические измерения физических величин", Л.; Энергоатомиздат. 1983, 320 с, ил.

Советов Б.Я., Яковлев С.А. "Моделирование систем", М.; Высш. шк., 1985, 271 с., ил.

          У. Болтон., "Справочник инженера-метролога", М.; Додэка 2002. - 386 с (пер. с англ.).

Похожие работы на - Обзор методов измерения и первичных преобразователей массы

 

Не нашли материал для своей работы?
Поможем написать уникальную работу
Без плагиата!
Без нейросетей!