|
Параметры
|
Обозначение
|
Значения (при
20 0 для R)
|
Значения (при
75 0 для R)
|
|
Тип генератора
|
П81
|
|
|
|
Номинальная
мощность, кВт
|
27
|
|
|
|
Номинальная
частота вращения, об/мин.
|
1450
|
|
|
|
Номинальное
напряжение, В
|
220
|
|
|
|
Номинальный
ток, А
|
122
|
|
|
|
Коэффициент
передачи
|
0,52
|
|
|
|
Число пар
полюсов
|
2
|
|
|
|
К.П.Д., %
|
86
|
|
|
|
Индуктивность
обмотки возбуждения, Гн
|
21,5
|
|
|
|
Сопротивление
обмотки возбуждения, Ом
|
61,875,396
|
|
|
|
Сопротивление
компенсационной обмотки, Ом
|
0,00570,006954
|
|
|
|
Сопротивление
основной обмотки якоря, Ом
|
0,090,1098
|
|
|
|
Сопротивление
дополнительных обмоток якоря, Ом
|
0,03110,037942
|
|
|
Номинальный ток генератора рассчитываем по формуле:
(3.2)
Расчет значений сопротивлений обмоток двигателя и генератора для
рабочей температуры, равной 75 0, выполню по формуле (3.1):
(
) ∙ 1,22 = 0,237 ∙ 1,22 =
0,28914 Ом (3.3)
∙1,22 = 108 ∙ 1,22 = 131,76 Ом (3.4)
∙1,22 = 61,8 ∙ 1,22 = 75,396 Ом (3.5)
∙1,22 = 0,0057 ∙ 1,22 = 0,006954 Ом (3.6)
∙1,22 = 0,09 ∙ 1,22 = 0,1098 Ом (3.7)
∙1,22 = 0,0311 ∙ 1,22 = 0,037942 Ом (3.8)
Полученные значения занесены в таблицы 1 и 2.
3.3 Расчет
параметров структурной схемы САУ
Суммарное сопротивление якорной цепи, Ом
RЯ∑ = RД∑ + RГ∑ (3.9)
где:
RД∑, RГ∑ - суммарные сопротивления якорных цепей двигателя и
генератора, вычисляемые по формулам:
RД∑ = RЯД + RДД + RКД (3.10)
RГ∑ = RЯГ + RДГ + RКГ (3.11)
Вычисляем:
RД∑ = (RЯД + RДД) + RКД = 0,28914 + 0 = 0,28914 Ом (3.12)
RГ∑ = RЯГ + RДГ + RКГ = 0,1098 + 0,037942 + 0,006974 = 0,154696 Ом (3.13)
Подставляя полученные в (3.12) и (3.13) значения в (3.9)
получаем:
RЯ∑ = RД∑ + RГ∑ = 0,28914 + 0.154696 = 0,443836 Ом (3.14)
Суммарная индуктивность цепи:
LЯ∑ = LЯД + LЯГ (3.15)
где:
LЯД + LЯГ - индуктивность якоря двигателя и генератора, вычисляемые
по формулам:
(3.16)
(3.17)
- угловые частоты вращения двигателя и генератора (
)
Вычисляем:
(3.18)
Вычисляем:
RД∑ = (RЯД + RДД) + RКД = 0,28914 +
0 = 0,28914 Ом (3.12)
RГ∑ = RЯГ + RДГ + RКГ = 0,1098 +
0,037942 + 0,006974 = 0,154696 Ом (3.13)
Подставляя полученные в (3.12) и (3.13) значения в (3.9) получаем:
RЯ∑ = RД∑ + RГ∑ = 0,28914 + 0.154696 = 0,443836 Ом (3.14)
Суммарная индуктивность цепи:
LЯ∑ = LЯД + LЯГ (3.15)
где:
LЯД + LЯГ - индуктивность якоря двигателя и
генератора, вычисляемые по формулам:
(3.16)
(3.17)
- угловые частоты вращения двигателя и генератора (
)
Вычисляем:
(3.18)
(3.24)
В расчетах принимаем:
(3.25)
Получаем:
(3.26)
Постоянная времени обмотки возбуждения генератора:
(3.27)
Коэффициент передачи обмотки возбуждения генератора:
(3.28)
Угловая частота холостого хода двигателя:
(3.29)
где ЭДС генератора:
(3.30)
Статическая ошибка (статизм) объекта управления, с учетом:
(3.31)
Коэффициент передачи двигателя по управлению:
(3.32)
Коэффициент передачи двигателя по возмущению:
(3.33)
4. Синтез
замкнутой САУ
4.1 Вывод
уравнений состояния системы
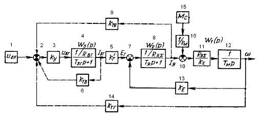
Для обеспечения заданных показателей качества рассматриваемого
объекта достаточно синтезировать три обратных модальных связи по его физическим
переменным. Наиболее удобным для практических измерений и преобразований в
управляющие сигналы являются величины
, IЯ, IВГ которые следует принять за переменные состояния объекта и
синтезировать по ним обратные модальные связи (в соответствии с пунктиром на
рисунке 1).
На основании структурной схемы САУ составим операторные уравнения
ее элементов и соответствующие им дифференциальные уравнения первого порядка;
решив эти уравнения относительно первых производных, получим уравнения
состояния объекта, которые для удобства дальнейшего использования целесообразно
представить в матричной форме:
(4.1)
И в соответствующей ей векторной форме:
(4.2)
где:
- вектор-столбцы переменных состояния объекта и их производных;
- постоянные матрицы указанных размерностей.
4.2 Вывод
характеристического полинома системы
На основании (4.1) и (4.2) запишем в компактной форме
характеристический определитель системы:
=
, (4.3)
раскрыв который и выполнив подстановкой коэффициентов из (4.1),
получим характеристический полином замкнутой системы:
(4.4)
где:
(4.5)
Приравнивая коэффициенты полинома (4.4) к соответствующим
коэффициентам выбранного "стандартного” полинома и выполнив ряд
преобразований, получаем:
(4.6)
Система (4.6) содержит в качестве неизвестных три парных
произведения искомых коэффициентов
. Решив эту систему и задавшись одним из коэффициентов, можно было
бы найти остальные коэффициенты и тем самым решить традиционную задачу
модального управления. Однако система (4.6) отражает требования, предъявляемые
лишь к динамике САУ, поэтому ее нужно дополнить уравнением, отражающим
требования к статике САУ.
4.3 Вывод
уравнений статики системы
В статике на основании (4.1) имеем
; (4.7)
; (4.8)
; (4.9)
Отсюда, используя формулы Крамера, нетрудно получить уравнение
статики замкнутой САУ
(4.10)
где:
- коэффициенты передачи САУ по управлению и возмущению,
определяемые выражениями:
(4.11)
(4.12)
На основании (4.7) статическая ошибка замкнутой САУ определяется
выражением
(4.13)
При отсутствии обратных модальных связей (
- в соответствии с рисунком 1) согласно
(4.12)
и поэтому подобно (4.13) статическая
ошибка самого объекта:
(4.14)
откуда:
(4.15)
Подставляя теперь (4.12) в (4.13) с учетом (4.15) и требуемого
диапазона регулирования D, получаем:
(4.16)
Отсюда, после преобразований можно записать
(4.17)
Уравнение (4.17) отражает аналитическую связь между статической
ошибкой
замкнутой САУ и искомыми коэффициентами
4.4 Расчет
коэффициентов обратных модальных связей
Дальнейшее решение поставленной задачи синтеза системы модального
управления сводится к совместному решению системы четырех уравнений (4.6),
(4.17) относительно неизвестных
Получаем систему уравнений:
(4.18)
Для краткости последующих записей и удобства решения введем
следующие обозначения:
;
; (4.19)
;
; (4.20)
(4.21)
причем:
(4.22)
Тогда система указанных уравнений принимает вид:
(4.23)
Поскольку в системе (4.23) число уравнений превышает число
неизвестных, то необходимо установить условие ее совместности. Для этого из
первых трех уравнений определяем
;
; (4.24)
;
Подставляя (2.24) в последнее уравнение системы (4.23) и учитывая
(4.22), получаем следующее уравнение совместности:
, (4.25)
которое, после подстановки принятых обозначений (4.21) и (4.22),
приводится к виду:
(4.26)
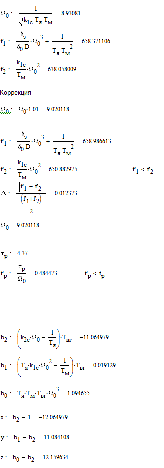
Неполное кубическое уравнение (4.26) решим численно. При этом в
дальнейшем будем использовать лишь наименьший положительный корень уравнения,
приближенное значение которого определяется по формуле:
(4.27)
(4.28)
где:
= 2,397
= 2,049 (в соответствии с рисунком 2)
Вычисленное согласно (4.28) значение
может использоваться лишь в качестве
первого (грубого) решения при численных способах решения уравнения (4.26).
Найдем и проверим точное значение корня, которое в силу
особенностей уравнения (4.26) всегда будет несколько больше, чем его
приближенное значение (4.28).
Определим f1 и f2:

Следовательно:
Определим точное значение Ω0. Предположим, что:
тогда:

Проверим погрешность измерений:
Следовательно принимаем Ω0 = 9,020118
Определив точное значение
, оценим ожидаемое время регулирования
, которое в соответствии с рис.1 вычислим
по формуле:
(4.29)
(4.30)
Величина
не превышает указанного в задании
значения (0,7 c):
= 0,484473 c < 0,7 c
На основании (4.20) вычисляем величины
:
(4.31)
На основании (4.24) вычисляем величины
:
(4.32)
Исходя из (4.19) имеем
;
;
. (4.33)
Теперь, как было отмечено в п.4.2, достаточно задаться одним из
коэффициентов
, чтобы согласно (4.33) однозначно
определить все остальные.
Определим в начале коэффициент
. Для этого из таблицы 4, на основании условия
, выберем тип тахогенератора и
соответствующее ему значение
.
Таблица 4 - Параметры тахогенераторов по типам
|
Тип
тахогенератора
|
ТД-201
|
ТГ-1
|
ТД-102
|
ТД-103
|
ТГ-2
|
ТД-110
|
|
Макс. частота
вращения , об. / мин100011001500150024003000
|
|
|
|
|
|
|
|
Коэффициент
передачи , В / (рад/c) 1,30,070,51,00,20,48
|
|
|
|
|
|
|
Согласно заданию
=1000 об/мин. Таким образом, нашему условию удовлетворяет
тахогенератор типа ТД-201, у которого
= 1,3
Теперь на основании (4.33) последовательно вычисляем значения
:
(4.34)
(4.35)
(4.36)
Далее вычисляем значения
согласно (4.5):
(4.37)
(4.38)
(4.39)
Теперь выполним проверку полученных результатов. Для этого
необходимо чтобы погрешность между левой и правой частями приведенных ниже
равенств не превышала 1%:
,
,
(4.40)
Проверяем:
Как видно, наши вычисления достаточно точны, и условие
выполняется.
Теперь, согласно (4.16), вычислим значение
, которое должно отличаться от указанного
в задании
= 0,01 не более чем на 1%.
(4.41)
И здесь наши вычисления обладают достаточной точностью.
5. Расчет
переходных процессов синтезированной САУ
Подготовка данных для расчета на ЦВМ
Расчет переходных процессов в замкнутой системе (в
соответствии с рисунком 1) выполним на ЦВМ на базе стандартного программного
пакета TUTSIM, позволяющего исследовать динамику САУ путем цифрового
моделирования ее структурной схемы.
Предварительно вычислим значения внешних сигналов uВХ и MC, соответствующие
указанным в задании динамическим режимам (первый режим - регулирование по
управлению (разгон двигателя на холостом ходу), второй режим - управление по
возмущению (наброс номинальной нагрузки МСН).
Для первого режима (регулирование по управлению) - разгона
двигателя до скорости холостого хода
согласно (4.10) при MC = 0
имеем
(5.1)
При этом величина ku вычисляется
по формуле (4.11)
(5.2)
Таким образом:
(5.3)
Для второго режима (регулирование по возмущению) - режима наброса
номинальной нагрузки вычисляем величину:
(5.4)
Интегрирование для первого режима (регулирование по управлению)
выполняем при нулевых начальных значениях
=IЯ (0) = IВГ (0) и MC = 0.
Интегрирование для второго режима (регулирование по возмущению)
выполняем при нулевых начальных значениях
=IЯ (0) = IВГ (0) и uВХ = 0, а Мс ≠
0
6. Расчет и
анализ графиков переходных процессов
По расчетным графикам (см. Приложения) определяем показатели
качества САУ для графиков переходных процесса синтезированной САУ по
управлению:
Для
(Приложение В)
уст ~ 124 рад/с
<0.07 c
Для
(Приложение Г)
Для
(Приложение Д)
I уст ~ 5.9 А
%
c
По расчетным графикам (см. Приложения) определяем показатели
качества САУ для графиков переходных процесса синтезированной САУ по
возмущению:
Для
(Приложение Ж)
уст ~ - 0,33 рад/с
Для
(Приложение 3)
I уст ~ 76 А
c
Для
(Приложение И)
I уст ~ 0,87 А
c
7. Выводы
Из полученных характеристик видно, что с помощью метода
модального управления можно получить желаемый вид переходного процесса с
необходимым перерегулированием и временем переходного процесса, используя
стандартные распределения нормированных коэффициентов, что свидетельствует о
высокой точности расчета по данному методу.
8. Список
использованных источников
1. Н.В.
Кухаренко Теория управления: Методические указания к выполнению курсовой
работы. - Спб.: Изд-во СЗТУ, 2002.
2. Теория
автоматического управления / под ред.А. А. Воронова Ч.1 М.: Высшая школа, 1986.
. Лазарева
Т.Я., Мартемьянов Ю.Ф. Основы теории автоматического управления. Учебное
пособие. - Тамбов: Изд-во ТГТУ, 2004,352 с.
Приложения
Приложение А
Схема объекта управления и схема моделирования
Приведенная (развернутая для создания схемы моделирования)
схема объекта управления
Рисунок 3 - Схема объекта управления
Приложение Б
Таблица. Программа и параметры моделирования по управлению
|
№
|
Тип
|
Входы
|
Переменные
|
Параметры
|
|
1
|
CON
|
|
14.404226
|
|
|
2
|
SUM
|
1 - 6 - 9 - 14
|
|
|
|
3
|
GAI
|
2
|
33.915318
|
|
|
4
|
FIO
|
3
|
0.013263 0.285161 0
|
|
|
5
|
GAI
|
4
|
39.20592
|
|
|
6
|
GAI
|
4
|
-26.821248
|
|
|
7
|
SUM
|
5 - 13
|
|
|
|
8
|
FIO
|
7
|
2.253084 0.017457 0
|
|
|
9
|
GAI
|
8
|
0.278949
|
|
|
10
|
SUM
|
8 - 16
|
|
|
|
11
|
GAI
|
10
|
0.235397
|
|
|
12
|
I
|
11
|
0.299633 0
|
|
|
13
|
GAI
|
12
|
1.885481
|
|
|
14
|
GAI
|
12
|
1.3
|
|
|
15
|
CON
|
|
0
|
|
|
16
|
GAI
|
15
|
0.530369
|
|
Листинг программы и параметров моделирования по управлению
распечатка из TUTSIM
Приложение
В
График переходного процесса синтезированной САУ по управлению для
Приложение
Г
График переходного процесса синтезированной САУ по управлению для
Приложение
Д
График переходного процесса синтезированной САУ по управлению для
Приложение
Е
Таблица. Программа и параметры моделирования по возмущению
|
№
|
Тип
|
Входы
|
Переменные
|
Параметры
|
|
1
|
CON
|
|
0
|
|
|
2
|
SUM
|
1 - 6 - 9 - 14
|
|
|
|
3
|
GAI
|
2
|
32.78644
|
|
|
4
|
FIO
|
3
|
0.013263 0.285161 0
|
|
|
5
|
GAI
|
4
|
39.20592
|
|
|
6
|
GAI
|
4
|
-26.293275
|
|
|
7
|
SUM
|
5 - 13
|
|
|
|
8
|
FIO
|
7
|
2.253084 0.017457 0
|
|
|
9
|
GAI
|
8
|
0.272604
|
|
|
10
|
SUM
|
8 - 16
|
|
|
|
11
|
GAI
|
10
|
0.235397
|
|
|
12
|
I
|
11
|
0.299633 0
|
|
|
13
|
GAI
|
12
|
1.885481
|
|
|
14
|
GAI
|
12
|
1.3
|
|
|
15
|
CON
|
|
147.067497
|
|
|
16
|
GAI
|
15
|
0.530369
|
|
Листинг программы и параметров моделирования по возмущению
распечатка из TUTSIM
Приложение
Ж
График переходного процесса синтезированной САУ по возмущению для
Приложение
З
График переходного процесса синтезированной САУ по возмущению для
Приложение
И
График переходного процесса синтезированной САУ по возмущению для
Приложение
К
Листинг расчетов в математическом пакете MathCad