Реле систем железнодорожной автоматики

  • Вид работы:
    Реферат
  • Предмет:
    Транспорт, грузоперевозки
  • Язык:
    Русский
    ,
    Формат файла:
    MS Word
    833,13 Кб
  • Опубликовано:
    2012-11-22
Вы можете узнать стоимость помощи в написании студенческой работы.
Помощь в написании работы, которую точно примут!

Реле систем железнодорожной автоматики

Министерство транспорта и связи

Днепропетровский национальный университет железнодорожного транспорта им. академика В.А. Лазаряна

Кафедра ЭВМ








Реферат

Реле систем железнодорожной автоматики










Днепропетровск

Содержание

Введение

. Общие сведения

.1 Принцип действия электромагнитного реле

.2 Эксплуатационно-технические требования к параметрам реле железнодорожной автоматики

. Маркировка и классификация реле

.1 Классификация реле

.2 Маркировка реле

.Электромагнитные реле

. Реле постоянного тока

.1 Нейтральные реле

.2 Поляризованные и импульсные реле

.2.1Поляризованные реле

.2.2 Импульсные поляризованные реле

.3 Комбинированные реле

. Реле переменного тока

Вывод

Список литературы

Введение

Данный реферат посвящен теме «Реле систем железнодорожной автоматики. Классификация, характеристики и устройство».

Наиболее распространенными элементами систем железнодорожной автоматики являются реле и приборы релейного действия, при помощи которых осуществляются процессы автоматического управления, регулирования и контроля движения поездов, а также различные схемные зависимости.

Реле- это устройство, предназначенное для коммутации электрических цепей (скачкообразного изменения выходных величин) при заданных изменениях электрических или не электрических входных величин. [2]

Цель работы заключается в исследовании принципов действия реле и их классификации. Поставленная цель решается посредством следующих задач:

рассмотреть общее понятие реле и его структуру;

проанализировать классы реле;

ознакомиться с маркировкой реле;

познакомится с основными моделями электромеханических реле.

1. Общие сведения

.1 Принцип действия электромагнитного реле

Реле называется элемент, в котором при достижении известного значения входной величины Х выходная величина У изменяется скачком. [2]

Рисунок 1- Характеристика реле

Рисунок 2-Схема  электромагнитного реле

В системах железнодорожной автоматики, как правило, применяют реле, в которых входными и выходными (X) являются электрические величины (ток, напряжение).

Рассмотрим общую схему электромагнитного реле представленную на рисунке 2.

Основной частью реле является электромагнит, который состоит из обмотки 1 с сердечником 2, ярма 3 и подвижной части 4, называемой якорем. Якорь воздействует на контакты 5. При прохождении тока по обмотке возникает магнитный поток; магнитные силовые линии замыкаются через воздушный зазор, пронизывают якорь, который под действием электромагнитных сил притягивается, замыкая контакты. Это явление называется срабатыванием (возбуждением) реле, на рисунке 1, явление срабатывания- это скачкообразное изменение выходной величины Y от 0 до Y1, в точке Хср (величина срабатывания). При выключении тока (или его снижении) якорь под действием силы тяжести (собственного веса) или сил реакции контактных пружин возвращается в исходное состояние, размыкая контакты. Это явление называется отпусканием (обесточиванием реле). Это хорошо видно из рисунка 1 в момент, когда входная величина Х становится равной Х0 (величина отпускания), выходная величина Y скачкообразно уменьшается, до 0 и остается там неизменной, до тех пор пока не примет значение Хср. [2]

Катушка или обмотка реле служит для создания магнитного потока, а сердечник - для его усиления. Ярмо предназначено для получения непрерывного магнита-провода, подвижной частью которого является якорь.

.2 Эксплуатационно-технические требования к параметрам реле железнодорожной автоматики

Электромагнитные реле, эксплуатирующийся в устройствах автоматики, должны удовлетворять большому количеству различных эксплуатационно-технических требований (ЭТТ).

Все параметры электромагнитных реле можно разделить на три типа: электрические, временные и механические.

К электрическим параметрам электромагнитного реле относятся: напряжение (ток) срабатывания реле; напряжение (ток) отпускания реле; рабочее напряжение (ток) реле; напряжение (ток) перегрузки реле; сопротивление обмотки реле; переходное сопротивление замкнутых контактов; коэффициент запаса; коэффициент возврата (коэффициент безопасности).

К временным параметрам электромагнитного реле относятся: время срабатывания реле; время отпускания реле; время перелета якоря из одного положения в другое.

К механическим параметрам любых электромагнитных реле относятся: высота антимагнитного штифта; ход якоря; межконтактный зазор; контактное давление; неодновременность замыкания или размыкания контактов; совместный ход контактов.

Кроме перечисленных параметров, работу электромагнитного реле характеризуют механическая и тяговая характеристики. Механическая характеристика реле - это зависимость механических усилий, преодолеваемых якорем при его движении, от хода якоря. Тяговая характеристика - это зависимость электромагнитной силы притяжения создаваемой электромагнитом реле, от величины воздушного зазора между якорем и сердечником при постоянной магнитодвижущей силе (м.д.с.).

Реле железнодорожной автоматики разрабатываются, изготавливаются и эксплуатируются с учетом специальных эксплуатационно-технических требований (ЭТТ) по обеспечению надежности, которые разработаны и утверждены Управлением сигнализации, связи и вычислительной техники МПС.

Согласно ЭТТ электромагнитные реле СЦБ первого класса надежности должны исключать опасные отказы. Для этого они должны удовлетворять следующим основным требованиям.

. Фронтовые и общие контакты не должны свариваться при любых условиях эксплуатации. Для фронтовых контактов применяется уголь с металлическим наполнением, а для общих контактов серебро или его сплавы.

. Якорь должен возвращаться в исходное состояние и замыкать тыловые контакты при снятии напряжения с обмоток или уменьшении его до величины напряжения отпускания под действием силы тяжести.

. Возможность залипания якоря после выключения питания должна быть исключена. Для этого между якорем и сердечником всегда должен быть остаточный воздушный зазор, который реализуется с помощью антимагнитного бронзового штифта, укрепленного на якоре. У нормальнодействующих реле высота штифта должна быть не менее 0,2 мм, а у медленодействующих реле - не менее 0,15 мм.

. Все тыловые контакты реле должны размыкаться при замыкании хотя бы одного фронтового контакта и наоборот. Данное требование выполняется только в реле первого класса надежности типа РЭЛ.

ЭТТ к реле первого класса надежности включают в себя также требования к электрическим параметрам, к контактам и конструкции реле.

Основные требования к электрическим параметрам электромагнитного реле первого класса надежности: напряжение срабатывания не более 0,8 от номинального; напряжение отпускания не менее 0,08 от номинального; напряжение (ток) срабатывания реле, измеренное при одной полярности, не должно превышать напряжение (ток) срабатывания при другой полярности более чем на 20 %; коэффициент возврата для путевых реле должен быть не менее 0,5, огневых реле не менее 0,3, у остальных не менее 0,2; обмотка реле должна длительное время выдерживать напряжения перегрузки, равное двукратному номинальному рабочему напряжению.

Основные требования к контактам реле первого класса надежности: переходное сопротивление фронтовых контактов не более 0,3 Ом, тыловых контактов не более 0,03 Ом; раствор контактов не менее 1,3 мм, а в момент переключения контактов не менее 0,8 мм; совместный ход контактов должен быть не менее 0,35 мм, а скольжения контактов для их самоочистки у фронтовых контактов должно быть не менее 0,25 мм, а у тыловых контактов не менее 0,2 мм; контактное давление фронтовых контактов не менее 0,294 Н (30 гр), а тыловых контактов не менее 0,147 Н (15 гр); неодновременность замыкания или размыкания контактов - не более 0,2мм.

ЭТТ к конструкции реле первого класса надежности включает следующее. Реле должно иметь конструкцию, не требующую дополнительного схемного контроля отпускания якоря. Положение контактов должно обеспечиваться механическим соединением их между собой и якорем. Штепсельные разъемы реле должны исключать возможность его ошибочного включения. Корпус реле должен исключать попадание во внутрь влаги, пыли и газов для устранения влияния внешней среды на работу реле. Реле должно устойчиво работать при температуре окружающего воздуха от -40 до +60 0С и относительной влажности до 95%, измеренной при температуре +200С.

2. Маркировка и классификация реле

.1 Классификация реле

реле электромагнитный железнодорожный автоматика

По надежности действия реле подразделяют на I и низшие классы надежности.

К реле первого класса надежности относятся реле, у которых возврат якоря при выключении тока в обмотках обеспечиваются с максимальной гарантией и осуществляется под действием собственного веса (силы тяжести). Свойства реле первого класса, которые обеспечивают их надежную работу уже описаны выше в разделе 1.2.

Реле первого класса надежности применяют во всех системах автоматики без дополнительного схемного контроля отпускания якоря.

У реле низших надежности возврат якоря при выключении тока в обмотках реле может обеспечиваться как под действием собственного веса, так и под действием сил реакции контактных пружин. Эти реле, как правило, используют в схемах, не связанных непосредственно с обеспечением безопасности движения поездов (диспетчерский контроль, схемы наборные группы, маршрутно-релейной централизаии, кодовая аппаратура дичпетчерской централизации и др.). При использовании этих реле в ответственных цепях (дешифраторы автоблокировки и АЛС, путевые реле импульсных рельсовых цепей и др.) предусматривают обязательный схемный контроль притяжения и отпускание якоря реле при непрерывной импульсной работе. Если же эти реле работают в ответственных цепях с непрерывным питанием, то применяют их дублирование (параллельное или последовательное включение обмоток реле и последовательное включение контактов).

Классификация реле на типы по принципу дейтсвия представлена на рисунке 2.

Рисунок 2-Классификация реле по принципу действия

Электромагнитное реле - электромеханическое реле, работа которого основана на воздействии магнитного поля неподвижной обмотки на подвижный ферромагнитный элемент.[4]

Индукционное реле-электромеханическое реле, работа которого основана на взаимодействии переменных магнитных полей неподвижных обмоток с токами, индуктированными этими полями в подвижном элементе.[4]

Электродинамическое реле - электромеханическое реле, работа которого основана на взаимодействии магнитных полей подвижной и неподвижной обмоток, возбуждаемых токами, подведенными извне.[4]

Магнитоэлектрическое реле- электромеханическое реле, работа которого основана на взаимодействии магнитных полей неподвижного постоянного магнита и возбуждаемой током подвижной обмотки..[4]

По роду питающего тока реле подразделяются на реле постоянного, переменного и постоянно-переменного тока.

Реле постоянного тока подразделяются на неполяризованные. поляризованные и комбинированные.

В зависимости от времени срабатывания реле делятся на быстродействующие - с временем срабатывания на притяжение и отпускание до 0,03 с; нормально действующие - с временем срабатывания до 0,3 с; медленнодействующие - с временем срабатывания до 1,5 с; временные (реле выдержки времени) - с временем срабатывания свыше 1,5 с.

Существуют также контактные и бесконтактные реле.

Если скачкообразное изменение тока в выходной цепи достигается физическим размыканием цепи, то такой элемент называют контактным реле, или просто реле. Если скачкообразное изменение тока в выходной цепи обуславливается изменением внутреннего состояния элемента (например, внутреннего сопротивления проводимости, индуктивности и т.п.) без физического размыкания цепи, то такой элемент называют прибором релейного действия или бесконтактным реле.

Контактные реле приобрели наибольшее распространение в эксплуатируемых устройствах железнодорожной автоматики благодаря их простоте и надежности работы. К их достоинствам следует отнести возможность одновременного независимого переключения нескольких выходных цепей постоянного и переменного тока, что объясняется наличием раздельных групп контактов по этих элементах. При этом выходные цепи оказываются гальванически несвязанными одна с другой и с входной цепью. Достоинствами реле также являются малые потери мощности в контактном переходе, практически бесконечное отношение сопротивлений контакта в разомкнутом и замкнутом состояниях, независимость от воздействия электрических и магнитных полей, высокая электрическая прочность и др. [1]

Однако, контактные реле имеют относительно большие размеры и массу, небольшой срок службы, особенно при работе в импульсном режиме, недостаточное быстродействие, обусловленное наличием механических перемещений при работе реле. Указанные недостатки в основном могут быть устранены при применении бесконтактных реле, у которых отсутствует подвижные трущиеся элементы. Бесконтактные приборы обладают большим быстродействием, имеют малые размеры и массу, менее подвержены воздействие вибрации, наблюдающиеся при проследовании подвижного состава.

Вместе с тем, бесконтактные приборы релейного действия имеют существенные недостатки, которые связаны с трудностью построение бесконтактных элементов, отвечающих одному из основных требований к устройствам СЦБ - исключению опасных положений при повреждении отдельных элементов схем. При использовании бесконтактных реле возникает трудность одновременного коммутирования нескольких выходных цепей, гальваническим не связанных друг с другом. Указанные недостатки ограничивают область применения бесконтактных реле в устройствах железнодорожной автоматики, поэтому в ответственных исполнительных цепях, а также при необходимости коммутации нескольких гальванически несвязанных выходных цепей сохраняются, как правило, контактные реле.

.2 Маркировка реле

На железных дорогах применяют реле трех видов: малогабаритные штепсельные реле (НМШ, АНШ, ОМШ, АШ), большие штепсельные реле (НШ, КШ) и штепсельные реле (Ленинградского) Санкт-Петербургского завода (РЭЛ, ПЛ).

При проектировании и новом строительстве устройств предусматривают использование малогабаритных штепсельных реле, которые изготовляются двух типов: в защитном кожухе (колпаке) для установки в релейных шкафах и на штативах и открытые (без кожуха) для установки в релейных блоках электрической централизации.

Применяемые в устройствах железнодорожной автоматики реле имеют специальную маркировку (условное наименование), состоящую из букв и цифр, занимающих определенное место в обозначении. Первая буква или сочетание двух первых букв в обозначении указывают на физический принцип действия реле: Н - нейтральное, П - поляризованное, К - комбинированное, И - импульсное, ДС - индукционное переменного тока (двухэлементное секторное). Буква М, стоящая на втором месте в условном обозначении штепсельных реле, указывает на малогабаритное исполнение реле. Буква М отсутствует у малогабаритных реле автоблокировки, у которых буква А означает, что это реле автоблокировки малогабаритное. У пусковых реле в условном наименовании имеется буква П, а у реле с выпрямителями - буква В.

Конструкция реле, которая характеризуется в основном видом электрического контактного соединения с другими приборами, обозначается буквой Ш (штепсельное).

Условные буквенные обозначения некоторых типов реле расшифровываются следующим образом: НМШ - нейтральное малогабаритное штепсельное; НМПШ - нейтральное малогабаритное пусковое штепсельное; ИМВШ - импульсное малогабаритное штепсельное с выпрямителем; НШ - нейтральное штепсельное (большое); ДСШ- двухэлементное секторное штепсельное.

У медленнодействующих на отпускание реле в обозначении имеется дополнительная буква М, а у реле с замедлением на срабатывание, достигаемым с помощью термоэлемента, - буква Т, например НМШМ-нейтральное малогабаритное штепсельное медленнодействующее; НМШТ - нейтральное малогабаритное штепсельное с термоэлементом.

Цифра после указанных букв характеризует контактную систему реле. У штепсельных реле цифра 1 указывает на наличие восьми контактных групп на переключение 8 фт (ф - фронтовой, т - тыловой контакты); цифра 2 обозначает четырехконтактные реле (4 фт); цифра 3 указывает на наличие у реле двухконтактных групп на переключение и двух фронтовых контактов (2 фт, 2 ф); цифра 4 обозначает четыре полных тройника и четыре фронтовые контакта (4 фт, 4ф); цифра 5 указывает на наличие двух тройников на переключение и двух тыловых контактов (2 фт, 2 т).

У некоторых типов реле (ДСШ, ИМШ и др.) цифры, характеризующие контактную систему, не ставят. Второе число, которое пишется через черточку, указывает на значение общего сопротивления обморок постоянному току при последовательном включении обмотки (НМШ1-1800, АНШ2-1600). Если обмотки включают раздельно или они имеют различное сопротивление, то его значение указывают дробью: в числителе указывают сопротивление первой катушки, а в знаменателе - второй.

3.Электромагнитные реле

Полные номенклатуры некоторых типов реле расшифровываются так: НМШ1-1800 - нейтральное малогабаритное штепсельное реле с восемью контактными группами и общим сопротивлением обмоток, включенных последовательно, 1800 0м; НМПШ2-400- нейтральное малогабаритное пусковое штепсельное реле с четырьмя контактными группами на переключение и сопротивлением обмоток 400 Ом; НМПШЗ-0,2/220 - нейтральное малогабаритное пусковое штепсельное реле с контактной системой 2 фт, 2 ф и сопротивлением обмоток 0,2 и 220 Ом.

Таблица 1-Условные обозначения реле

Реле

I и II классы надежности

III класс надежности

Нейтральное

Нейтральное с замедлением на отпускание якоря

То же с выпрямителем

Поляризованное

То же с преобладанием одной полярности

-

Комбинированное

Переменного тока

То же двухэлементное

-


Рассмотренная выше система обозначений выдерживается не для всех типов реле. Например, у огневых и аварийных реле первая буква указывает на назначение реле: ОМШ2-40 - огневое малогабаритное штепсельное четырехконтактное с сопротивлением обмоток 40 Ом; АШ2-110/220 - аварийное штепсельное четырехконтактное на номинальное напряжение 110 и 220 В. У нейтрального реле типа РЭЛ буквы в обозначении указывают: реле электромагнитное разработки Ленинградского электромеханического завода.

Условные графические обозначения реле в электрических схемах приведены в таблице 2.

Реле в защитном кожухе изготовляют для работы при температуре окружающей среды от -50 до +60 °С и относительной влажности до 90 % (при температуре +20 °С), а открытые реле, предназначенные для установки в релейных блоках, - при температуре окружающей среды от +5 до +35 °С и относительной влажности до 80% (при температуре +20°С).

4. Реле постоянного тока

Реле постоянного тока по принципу действия являются электромагнитными, а по конструкции подразделяются на следующие типы.

.1 Нейтральные реле

Неполяризованное (нейтральное) реле - электрическое реле постоянного тока, изменение состояния которого не зависит от полярности его входной воздействующей величины.[4] Якорь нейтрального реле притягивается, переключая контакты при любой полярности тока в обмотках. После выключения тока якорь возвращается в исходное состояние. Таким образом, нейтральное реле является двухпозиционным.

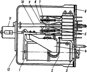
Электромагнитная система нейтрального малогабаритного реле типа НМШ (Рисунок 3) состоит из сердечника 1 с двумя катушками 2, Г-образного ярма 3 и якоря 4 с противовесом.

Рисунок 3- Конструкция нейтрального реле

При отсутствии тока в обмотках реле якорь под действием силы тяжести противовеса находится в опущенном положении, общие контакты замыкаются с тыловыми. При прохождении тока через обмотки реле намагничивается сердечник, магнитные силовые линии замыкаются через воздушный зазор и якорь, который притягивается к сердечнику. Тяга перемещается вверх, размыкая тыловые и замыкая общие контакты с фронтовыми. Концы контактных пружин, через основание 6 выведенные наружу, образуют штепсельную розетку. Реле закрывается прозрачным кожухом 12 с ручкой 11. Кожух крепится к основанию реле затяжным винтом 10. Для включения реле в схему выведенные наружу контакты вставляют в гнезда штепсельной розетки, к лепесткам которой припаивают монтажные провода.

.2 Поляризованные и импульсные реле

Поляризованные реле отличаются от нейтральных наличием в магнитной системе постоянного магнита. Они имеют поляризованный якорь, который переключается из одного (нормального) положения в другое (переведенное) в зависимости от направления (полярности) тока, протекающего по обмоткам катушек. По надежности действия они не отвечают требованиям реле I класса, поэтому при использовании в ответственных схемах правильность их работы проверяется схемным способом.

Импульсные поляризованные реле применяют в качестве путевых и их повторителей в импульсных рельсовых цепях, а также в некоторых других устройствах автоматики и телемеханики.

Импульсные реле обладают высокой чувствительностью, что позволяет использовать их для работы от маломощных коротких импульсов тока определенной полярности. Они не отвечают требованиям реле I класса надежности, поэтому в ответственных схемах, непосредственно обеспечивающих безопасность движения поездов, осуществляется непрерывный контроль притяжения и отпускания якоря и переключения контактов. Например, в рельсовых цепях применяют специальные релейно-конденсаторные или релейные дешифраторы, обеспечивающие такой контроль.

Импульсные реле в зависимости от регулировки их магнитной системы могут срабатывать от токов разных направлений, переключая якорь вправо или влево в зависимости от направления тока в обмотке (нейтральная регулировка) или от тока только одного направления (регулировка с преобладанием). Импульсные путевые реле имеют регулировку с преобладанием.

Путевые реле имеют один переключающий контакт о-ф-т из металлокерамического сплава. Магнитную систему реле (Рисунок 4) образуют постоянный магнит 1 с полюсными наконечниками 2 и 4, якорь 3 и катушка 5. Полюсные наконечники и якорь выполнены из магнитомягкой стали, а постоянный магнит - из магнитотвердой. Средняя часть якоря находится внутри неподвижной катушки 5. Нижняя часть якоря укреплена на неподвижной плоской пружине. Верхний конец якоря жестко связан с контактной пружиной 6 (общий контакт), которая в правом крайнем положении замыкается с тыловым контактом, а в крайнем левом - с фронтовым.

Реле имеет регулировку с преобладанием вправо, чтобы его якорь при прекращении тока в обмотке возвращался в исходное положение. Преобладание вправо в данном случае достигнуто более близким расположением правого верхнего и левого нижнего полюсных наконечников. Магнитный поток ФП, создаваемый постоянным магнитом, проходит от северного полюса N к южному S через полюсные наконечники 2 и 4. Часть магнитного потока проходит также через якорь 3 и воздушные зазоры у правого верхнего и левого нижнего наконечников в виде дополнительного потока ΔФП. Поэтому общий магнитный поток в правом верхнем и левом нижнем зазорах превышает поток в левом верхнем и правом нижнем зазорах, и якорь занимает правое положение. В этом положении он удерживается также дополнительным усилием, создаваемым плоской пружиной.

Чтобы якорь перебросился в левое положение, необходимо пропустить по обмотке ток такого направления, чтобы поток Фк, создаваемый обмоткой катушки (показан штриховой линией), складывался в левом верхнем и правом нижнем зазорах. В правом верхнем и левом нижнем зазорах он будет при этом вычитаться. За счет суммарного потока ФП+ФК якорь переключается в левое положение, в котором общий контакт замыкается с фронтовым. Для срабатывания реле необходимо, чтобы усилие, создаваемое потоком ΔФК, превышало усилие, создаваемое потоком ΔФП и реакцией плоской пружины. После выключения тока в обмотке якорь под действием усилия, создаваемого реакцией пружины, возвратится в исходное (правое) положение.

Рисунок 4- Схема импульсного реле

При другом направлении тока в обмотке магнитный поток ФК будет складываться с потоком постоянного магнита в правом верхнем и левом нижнем зазорах, и якорь останется в прежнем (правом) положении. Таким образом, при прохождении тока определенной полярности якорь реле действует так же и у нейтрального реле. Однако принципиальное отличие состоит в том, что импульсное поляризованное реле работает только от импульсов определенной полярности и не срабатывает от импульсов другой полярности.

.3 Комбинированные реле

Комбинированные реле представляют собой сочетание нейтрального и поляризованного реле с общей магнитной системой. Они имеют нейтральный и поляризованный якоря. При прохождении через обмотки тока любой полярности нейтральный якорь притягивается, в результате чего замыкаются управляемые им фронтовые контакты. Переключение поляризованного якоря и замыкание управляемых им контактов происходят в зависимости от полярности тока, протекающего через обмотки.

Комбинированное реле является трехпозиционным, так как оно может находиться в трех различных состояниях: без тока, возбуждено током прямой или обратной полярности.

Электромагнитная система комбинированного малогабаритного штепсельного реле КМШ (Рисунок 5) состоит из двух катушек 1, надетых на сердечник 2 с ярмом 3; нейтрального якоря 6; постоянного магнита 4 и поляризованного якоря 5. Нейтральный и поляризованный якоря управляют связанными с ними контактами посредством изолирующих планок 7 и 8. Если ток в обмотках реле отсутствует, то нейтральный якорь, не связанный с потоком постоянного магнита, находится в отпущенном положении; его общие контакты замкнуты с тыловыми контактами. При протекании по обмоткам тока любого направления нейтральный якорь притягивается, и его общие контакты замыкаются с фронтовыми. Таким образом, нейтральный якорь комбинированного реле действует так же, как и якорь обычного нейтрального реле.

Поляризованный якорь управляется магнитным потоком постоянного магнита и потоком, создаваемым обмотками катушек. При отсутствии тока в обмотках поляризованный якорь находится в одном из крайних положений (рисунок 5). Магнитный поток постоянного магнита разветвляется по двум параллельным ветвям в виде потоков ФП1 и ФП2. Благодаря меньшему воздушному зазору слева поток ФП1 превышает поток ФП2 на ΔФП, удерживая якорь в левом положении.

При пропускании тока через обмотки катушек создается магнитный поток ФК, замыкающийся через сердечник по двум параллельным ветвям: через нейтральный и поляризованный якоря. Нейтральный якорь под действием этого потока притягивается. Поток постоянного магнита ФП2 и поток, создаваемый обмоткой катушки ФК, складываются с правой стороны и вычитаются с левой. Усилие, создаваемое суммарным потоком ФП2+ФК, превышает усилие, создаваемое с левой стороны потоком ФП1-ФК, поэтому поляризованный якорь переключается в правое положение, замыкая общие контакты поляризованного якоря с переведенными.

После выключения тока поляризованный якорь остается в правом положении, так как теперь благодаря уменьшению воздушного зазора справа и увеличению слева поток ФП2 будет превышать поток ФП1 на ΔФП. Усилие, создаваемое потоком ΔФП, будет удерживать поляризованный якорь в правом положении. Для того чтобы поляризованный якорь перебросился в первоначальное (левое) положение, необходимо через обмотки реле пропустить ток другого направления. Таким образом, в комбинированном реле, как и в поляризованном, осуществляется сравнение двух потоков: постоянного магнита и потока, создаваемого катушками при пропускании по ним тока.

Рисунок 5- Комбинированное малогабаритное штепсельное реле

В одном из сердечников в зависимости от направления тока в катушках эти потоки складываются, а в другом вычитаются. Поляризованный якорь переключается в сторону сердечника, в котором складываются магнитные потоки.

Зазор между нейтральным якорем и полюсами обеспечивается упорным штифтом на якоре. Таким же образом обеспечивается зазор между полюсами и поляризованным якорем.

Всем комбинированным реле присущ недостаток, заключающийся в том, что при изменении полярности тока в обмотках изменяется направление магнитного потока, и в момент его прохождения через нулевое значение реле отпускает нейтральный якорь. Этот недостаток ограничивает область применения комбинированных реле. Если использовать комбинированное реле для управления огнями трехзначного светофора, то при смене желтого огня на зеленый или наоборот происходит проблеск красного огня на светофоре.

Исключить этот недостаток схемным способом замедления на отпускание (например, с помощью конденсаторов) не представляется возможным, так как при смене полярности тока прохождение его через нулевое значение неизбежно.

Комбинированные реле в части работы нейтрального якоря и связанных с ним контактов отвечают требованиям, предъявляемым к реле I класса надежности. Правильную работу контактов поляризованного якоря необходимо проверять схемным путем, так как в части работы поляризованного якоря комбинированные реле не отвечают требованиям реле I класса надежности.

5. Реле переменного тока

В устройствах железнодорожной автоматики и телемеханики применяют двухэлементные секторные реле переменного тока ДСШ.

Эти реле используются в качестве путевых в рельсовых цепях переменного тока частотой 25 и 50 Гц. По принципу действия двухэлементные секторные реле относятся к индукционным. Магнитная система реле выполняется на сердечниках из листовой стали для уменьшения потерь на гистерезис. Эти реле относятся к реле I класса надежности, а по времени срабатывания - к нормальнодействую-щим.

Двухэлементное секторное реле ДСШ со штепсельным включением (рис. 1.10, а) состоит из электромагнитной системы, представляющей собой два разных по назначению железных сердечника с намотанными на них обмотками. Один из них называется местным элементом, другой - путевым элементом. Эти элементы располагаются симметрично относительно друг друга

Местный элемент состоит из Ш-образного сердечника 1 с обмоткой 2, которая подключается к местному источнику переменного тока напряжением 110-220 В. Путевой элемент состоит из сердечника 8 с обмоткой 9, которая подключается через рельсовую цепь к путевому трансформатору ПТ. Между полюсами сердечников местного и путевого элементов располагается алюминиевый сектор 4, который вращается на оси и при помощи коромысла 3 и тяги 5 управляет контактной системой 6. В реле имеются упорные ролики 7 и 10, ограничивающие движение сектора соответственно вниз и вверх.

Рис. 1.10. Реле ДСШ

Работа реле основана на взаимодействии магнитных потоков обмоток местного и путевого элементов с вихревыми токами в подвижном алюминиевом секторе. Когда один или оба элемента реле находятся без тока, то сектор под действием собственного веса находится в крайнем нижнем положении и своим ребром нажимает на нижний упорный ролик 7.

При прохождении переменного тока по катушке 2 местного элемента магнитный поток, созданный током местного элемента, пересекая сектор 4, наводит в нем э.д.с, отстоящую по фазе на 90° от вызвавшего его потока. В результате этого в секторе возникают вихревые токи, которые проходят под полюсами путевого элемента, вступают во взаимодействие с его магнитным потоком и создаю! вращающий момент, стремящийся повернуть сектор. К аналогичным результатам приводит взаимодействие вихревых токов, созданных магнитным потоком путевого элемента, с магнитным потоком местного элемента.

При равенстве магнитных потоков и совпадении их по фазе силы взаимодействия магнитных потоков и вихревых токов будут равны и противоположно направлены, в результате чего сектор останется в нижнем положении.

Для приведения сектора во вращение в направлении его подъема необходимо создать определенный сдвиг фаз между магнитными потоками местного и путевого элементов или между их токами.

Таким образом, максимальный вращающий момент будет при угле сдвига (р = 90° между.токами или магнитными потоками в местном и путевом элементах. Этот вращающий момент перемещает сектор 4 в верхнее положение. Вместе с сектором поворачиваются коромысло 3 и тяга 5, которая переключает контакты 6: размыкает тыловые Т и замыкает фронтовые Ф. При выключении тока в путевом элементе магнитный поток исчезнет, и под действием собственного веса сектор 4 опустится вниз и возвратит контакты в исходное положение: разомкнет фронтовые Ф и замкнет тыловые Т.

Условные обозначения реле ДСШ и его контактов приведены на рис. 1.10, 6. Основным достоинством реле ДСШ является надежная фазовая избирательность, поэтому эти реле называют фазочувстви-тельными. Свойство избирательности надежно исключает ложное срабатывание фазочувствительного путевого реле от источника питания смежной рельсовой цепи при замыкании изолирующих стыков, так как путевые обмотки реле включаются таким образом, чтобы положительный вращающий момент и подъем сектора вверх происходил только от тока своей рельсовой цепи.

Кроме того, фазочувствительные реле обеспечивают надежную защиту от влияния помех тягового тока, отличающихся по частоте от тока сигнальной частоты всего на несколько герц. Фазочувствительные реле срабатывают от тока той только частоты, что и частота тока в обмотке местного элемента, при определенных фазовых соотношениях между ними.

Вывод

) В процессе подготовки реферата были исследованы реле железнодорожной автоматики, классификация, характеристики, устройства.

) Проведя работу по исследованию реле, а также его роль в автоматизации управления на железной дороге можно сделать нижеперечисленные выводы:

реле имеет высокую надежность работы в сложных климатических условиях;

полный электрический разрыв коммутируемых цепей при разомкнутых контактах, и малое, стабильное переходное сопротивление при замкнутых контактах;

отсутствие гальванической связи между управляющими и выходными цепями, а также возможность одновременно коммутировать несколько независимых электрических цепей с различными напряжениями и токами;

простота эксплуатации, не требующая для обслуживания высококвалифицированного персонала и применения сложных и дорогостоящих измерительных приборов;

высокая помехозащищенность от атмосферных разрядов, тяговых токов, воздействия радиации, резких колебаний питающих напряжений.

) в данной работе были представлены различные типы реле, а также их классификация. На данный момент железнодорожный транспорт почти полностью управляется реле. Сейчас многие станции планируют перейти на микропроцессорные схемы, но некоторые станции, в частности Нижнеднепровск узел, пока не хотят переходить. Это обусловлено тем, что микропроцессорные схемы тяжелые в своей логике, и в них практически невозможно найти неполадку без специального оборудования. И потому релейные установки играют большую роль в автоматизации и развитии железной дороги.

Список литературы

1. Основы железнодорожной автоматики и телемеханики [Текст]: учебное пособие для вузов / Ю.И. Полевой - Самара: СамГАПС, 2006. - 100 с.: ил.; 21 см - Библиогр.: с. 91.

. Основы автоматики и телемеханики. Под общ. ред. С.А. Гинзбурга. Изд. 4-е, переработ. М., «Энергия», 1968. 512с. С илл. Перед загл., авт: С.А. Гинзбург, И. Я. Лехтман, В.С. Малов.

.Автоматика, телемеханика и связь на железнодорожном траспорте: Учебник для вузов ж.д. трансп. А.А. Устинский, Б.М.. Степенский, Н.А Цыбуля и др. М.: Транспорт, 1985.-439 с.

4. Реле электрические трмины и определения: ГОСТ 16022-83 <http://www.complexdoc.ru/lib/%D0%93%D0%9E%D0%A1%D0%A2%2016022-83> (СТ СЭВ 3563-82) Госстандарт России Москва; 1983 г.

Похожие работы на - Реле систем железнодорожной автоматики

 

Не нашли материал для своей работы?
Поможем написать уникальную работу
Без плагиата!
Без нейросетей!