Основи автоматики та дискретних пристроїв СЦБ

  • Вид работы:
    Методичка
  • Предмет:
    Информатика, ВТ, телекоммуникации
  • Язык:
    Украинский
    ,
    Формат файла:
    MS Word
    3,08 Мб
  • Опубликовано:
    2014-04-14
Вы можете узнать стоимость помощи в написании студенческой работы.
Помощь в написании работы, которую точно примут!

Основи автоматики та дискретних пристроїв СЦБ

Міністерство освіти і науки,молоді та спорту України

ДВНЗ: «Київський електромеханічний коледж»









Методичні рекомендації для виконання лабораторних робіт

«Основи автоматики та дискретних пристроїв СЦБ»

для студентів ІІ курсу з спеціальності 5.05020203

«Монтаж,обслуговування та ремонт автоматизованих систем керування»

Викладач: Селіванова А.Л.











Зміст

Вступ

Лабораторна робота №1. Тема: «Дослідження будови та зняття електричних і часових характеристик нейтральних реле»

Лабораторна робота №2. Тема: «Дослідження будови та зняття електричних і часових характеристик комбінованих реле»

Лабораторна робота №3. Тема: «Дослідження будови і зняття електричних і часових характеристик імпульсних реле»

Лабораторна робота №4. Тема: «Дослідження пристрою і зняття електричних і тимчасових характеристик пускових реле»

Лабораторна робота №5. Тема: «Дослідження будови та зняття електричних і часових характеристик двоелементних секторних реле»

Лабораторна робота №6. Тема: «Дослідження будови та зняття електричних і часових характеристик маятників та кодових колійних трансмітерів»

Лабораторна робота №7. Тема: «Дослідження будови та зняття електричних і часових характеристик реле ИВГ»

Лабораторна робота №8. Тема: «Дослідження будови та зняття електричних і часових характеристик кодових реле»

Лабораторна робота №9. Тема: «Дослідження будови та зняття електричних і часових характеристик трансмітерних реле»

дискретний реле електричний часовий

Вступ

Метою виконання даних лабораторних робіт є засвоєння теоретичного матеріалу, здобуття основних навичок дослідження будови та зняття часових та електричних характеристик реле.

Методичні рекомендації для виконання лабораторних робіт з дисципліни: «Основи автоматики та дискретних пристроїв СЦБ» для студентів денної форми навчання відділення АСУ спеціальності 5.05020203 складені у відповідності до вимог навчальної програми.

В результаті виконання лабораторних робіт студенти повинні чітко уявляти принцип дії, застосування реле, знати їх будову, характеристики, область використання, мати практичні навики для дослідження часових та електричних характеристик реле.

Лабораторні робити виконуються на аркушах формату А4 зі стандартними рамками; усі креслення виконуються на міліметрових аркушах з дотриманням вимог держстандартів, щодо оформлення технічної документації та умовних позначень.

До заліку допускаються студенти, які виконали, здали та отримали залік з усіх лабораторних робіт.

Лабораторна робота №1. Тема: «Дослідження будови та зняття електричних і часових характеристик нейтральних реле»

Мета: «Вивчити будову, принцип дії нейтральних реле типу НШ, НМШ, НМШМ, ознайомитися з методикою та зняти електричні і часові характеристики реле».

ОСНОВНІ ВІДОМОСТІ:

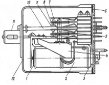
Нейтральні реле не реагують на напрямок струму в обмотці. Якір нейтрального реле притягається, перемикаючи контакти при будь-якій полярності струму в обмотках. Після вимикання струму якір повертається у вихідний стан, таким чином, нейтральне реле є двопозиційним Електромагнітна система нейтрального малогабаритного реле типу НМШ складається із сердечника 3 із двома котушками 2, Г-образного ярма 3 й якоря 4 із противагою. Бронзовий упор на якорі виключає його залипання, тому що перешкоджає торканню якоря в притягнутому положенні до полюса сердечника якір двома тягами 5 управляє контактною системою Фронтові контакти 7 виготовляють із графіту зі срібним наповненням а загальні 8 і тилові 9 - зі срібла. Контактуючий матеріал міститься на кінці контактних пружин. Сполучення контактів графіт-срібло виключає можливість зварювання фронтових контактів із загальними при пропущенні по них струму, у кілька разів перевищуючого номінальний.

  

Мал.1. Конструкція та нумерація контактів реле НМШ

При відсутності струму в обмотках реле якір під дією сили ваги противаги перебуває в опущеному положенні, загальні контакти замикаються з тиловими. При проходженні струму через обмотки реле намагнічується сердечник, магнітні силові лінії замикаються через повітряний зазор і якір притягається до сердечника. Тяга зміщується нагору, розмикаючи тилові й замикаючи загальні контакти із фронтовими. Кінці контактних пружин, через основу 6 виведені назовні, утворять штепсельну розетку. Реле закривається прозорим кожухом 12 з ручкою 11. Кожух кріпиться до основи реле затяжним гвинтом 10. Для включення реле в схему виведені назовні контакти вставляють у гнізда, штепсельної розетки, до пелюстків якої припаюють монтажні проводи.

Шпулі котушок нормально діючих реле виготовляють із фенопласту, а повільно діючих - із червоної міді. За рахунок мідних шпуль досягається уповільнення на відпускання якоря до 0,2 с. Для збільшення вповільнення до 0,6 с на місці першої котушки, розташованої в основи, установлюють суцільну мідну гільзу.

Розташування й нумерація контактів реле типів НМШ.

Перша котушка підключається до виводів 1 й 3, друга, поміщена з боку якоря,- до виводів 2 й 4. Котушки можуть включатися роздільно, послідовно й паралельно.

Мал.2 Нумерація контактів реле

Фронтові (ф) і тилові (т) контакти, що працюють із одним загальним контактом (о), утворять контактну групу або трійник. Номер кожного контакту нейтрального реле складається із двох цифр, перша з яких указує номер контактної групи, а друга - тип контакту. Всі цифрові позначення загальних контактів кінчаються цифрою 1, фронтові - 2 і тилові -3. Наприклад, номер 72 позначає, що це фронтовий контакт сьомої групи, 71-загальний контакт, 73-тиловий контакт. Контакти розраховані на перемикання ланцюгів при струмі навантаження до 2 А. При послідовному включенні обмоток з'єднують перемичкою виводи 2-3, а при паралельному 1-2 й 3-4.

Малогабаритні реле для установки в закритих релейних блоках електричної централізації випускають без захисного кожуха. Вони мають такі ж електричні й механічні характеристики, що й відповідні їм штепсельні реле із захисним кожухом. Реле без кожуха в номенклатурі не мають букви Ш, наприклад НМ - нейтральне малогабаритне, НММ - нейтральне малогабаритне з уповільненням. Ці реле призначені для роботи в опалювальних приміщеннях при температурі навколишнього середовища від +5 до +35 °С.

РОБОЧЕ МІСЦЕ:

. Вивчити будову реле типу НШ, НМШ, НМШМ. При вивченні будови реле необхідно з'ясувати:

а) які особливості будови мають реле типу НШ, НМШ;

б) яка будова магнітної та контактної системи реле типу НШ, НМШ;

в) які існують способи уповільнення реле на притягання та відпадання якоря.

. За допомогою вимірювального чемодану типу ИЧ-I зняти наступні електричні та часові характеристики реле:

а) напруга і струм притягання якоря реле (Uпр, Iпр)

б) напруга і струм відпадання якоря реле (Uвід, Iвід)

в) час притягання якоря реле (tnp)

г) час відпадіння якоря реле (tвід)

. На підставі отриманих результатів обчислити:

а) робочу напругу і струм реле(Uр, Iр)

б) коефіцієнт повернення реле (Кпов=Uвід/Uпр)

. Для перевірки правильності показань необхідно послідовно виконати цикл вимірів три рази. Результати вимірювань і обчислень занести до таблиці:

Таблиця вимірювань і обчислень

Тип реле

Вимірю- вання

Електричні характеристики

Часові характери-тики

Кпов



Uпр, В

Iпр,  А

Uр,  В

Iр,  А

Uвід,В

Iвід, А

tnp

tвід



1











2











3











Середнє арифметичне











1











2











3











Середнє арифметичне











ЗМІСТ ЗВІТУ:

. Накреслити схему магнітного кола реле типу НМШ та пояснити принцип дії.

. Навести зовнішній вигляд плати реле типу НШ, НМШ з нумерацією контактів.

. Привести таблицю вимірювань і обчислень. Порівняти отримані результати згідно відповідних параметрів випробуваних реле. Дати пояснення щодо розбіжності параметрів.

. Вказати періодичність перевірки реле типу НШ, НМШ в експлуатаційних умовах.

ЛІТЕРАТУРА:

.. Дмитриев В.С. и др. Основы железнодорожной автоматики и телемеханики. - М.: Транспорт, 1988г.- 288.;

.Сороко В.Н., Разумовский Б.А. Апаратура железнодорожной автоматики и телемеханики: Справочник. В 2-х т. -М.: Транспорт, 1981.

Лабораторна робота № 2. Тема: «Дослідження будови та зняття електричних і часових характеристик комбінованих реле»

Мета: «Вивчити будову, принцип дії комбінованих реле типу КШ, КМШ. З'ясувати особливості конструкції та принципу дії самоутримуючих комбінованих реле типу СКШ. Ознайомитися з методикою та зняти характеристики реле».

ОСНОВНІ ВІДОМОСТІ:

Комбіновані реле є поєднанням нейтрального і поляризованого реле із загальною магнітною системою. Вони мають нейтральний і поляризований якорі. При проходженні через обмотки струму будь-якої полярності нейтральний якір притягується, внаслідок чого замикаються керовані ним фронтові контакти. Перемикання поляризованого якоря та замикання керованих ним контактів відбуваються залежно від полярності струму, що протікає через обмотки.

Комбіноване реле є трипозиційним, оскільки воно може знаходитися в трьох різних станах: без струму, збуджено струмом прямої або зворотньої полярності.

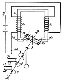
Мал.3 Конструкція реле КМШ

Електромагнітна система комбінованого малогабаритного штепсельного реле КМШ складається з двох котушок 1, надітих на сердечника 2, з ярмом 3, нейтрального якоря 6, постійного магніта 4 і поляризованого якоря 5. Нейтральний і поляризований якорі управляють пов'язаними з ним контактами за допомогою ізолюючих планок 7 і 8. Якщо струм в обмотках реле відсутній, то нейтральний якір, не пов'язаний з потоком постійного магніта, знаходиться у відпущеному положенні; його загальні контакти замкнуті з тиловими контактами. При протіканні по обмоткам струму будь-якої полярності нейтральний якір притягується і його загальні контакти замикаються з фронтовими. Таким чином, нейтральний якір комбінованого реле діє так само, як і якір звичайного нейтрального реле.

Поляризований якір керується магнітним потоком постійного магніту і потоком, що створюється обмотками котушок. За відсутності струму в обмотках поляризований якір знаходиться в одному з крайніх положень. Магнітний потік постійного магніту розгалужується по двох паралельних гілках у вигляді потоків ФП1 і ФП2. Завдяки меншому повітряному проміжку ліворуч потік ФП1 перевищує потік ФП2 на ΔФП, утримуючи якір в лівому положенні.

При пропусканні струму через обмотки котушок створюється магнітний потік Фк, що замикається через сердечника по двох паралельним гілкам, через нейтральний і поляризований якорі. Нейтральний якір під дією цього потоку притягується. Потік постійного магніту ФП2 і потік, що створюється обмоткою котушки Фк, складаються з правого боку і віднімаються з лівого. Зусилля, що створюється сумарним потоком ФП2+Фк, перевищує зусилля, що створюється з лівого боку потоком ФП1-Фк, тому поляризований якір перемикається в праве положення, замикаючи загальні контакти поляризованого якоря з переведеними.

Після виключення струму поляризований якір залишається в правому положенні, оскільки тепер завдяки зменшенню повітряного проміжку справа і збільшенню ліворуч потік ФП2 перевищуватиме потік ФП1 на ΔФп. Зусилля, що створюється потоком ΔФп, буде утримувати поляризований якір в правому положенні. Для того, щоб поляризованний якір перемикнувся в первинне (ліве) положення, необхідно через обмотки реле пропустити струм іншого напряму. Таким чином, в комбінованому реле, як і в поляризованому, здійснюється порівняння двох потоків: постійного магніту і потоку, що створюється котушками при пропусканні по них струму. У одному з сердечників залежно від напряму струму в котушках ці потоки складаються, а в іншому віднімаються. Поляризований якір перемикається в сторону сердечника, в якому складаються магнітні потоки.

Проміжок між нейтральним якорем і полюсами забезпечується штифтом на якорі. Так само забезпечується проміжок між полюсами і поляризованим якорем.

Мал. 4 Схема контактів реле КМШ

Контактна система реле складається з двох контактних груп на перемикання 2 фт, керованих нейтральним якорем, і двох контактних груп на перемикання 2 нп, керованих поляризованим якорем. Контактуючі частини рухомих пружин поляризованого і нейтрального якорів і тилових пружин нейтрального якоря виготовлені з срібла, контактуючі частини інших контактів графітно-срібні. Контактна система розрахована на перемикання електричних кіл постійного струму 2 А при напрузі 24 В або кіл змінного струму 0,5 А при напрузі 220 В.

Усім комбінованим реле властивий недолік, який полягає у тому, що при зміні полярності струму в обмотках змінюється напрям магнітного потоку, і у момент його проходження через нульове значення реле відпускає нейтральный якір. Цей недолік обмежує сферу застосування комбінованих реле. Якщо використовувати комбіноване реле для управління вогнями тризначного світлофора, то при зміні жовтого вогню на зелений або навпаки відбувається проблиск червоного вогню на світлофорі. У цій схемі за відсутності струму в обмотках реле (блок-ділянка зайнята) нейтральний якір знаходиться у відпущеному положенні, замкнуті його контакти 11-13, на світлофорі горить червоний вогонь.

Мал. 5 Схема керування вогнями трьохзначного світлофора без реле ПЛ

При вільності однієї блок-ділянки лінійне реле (в користі якого використано комбіноване реле) збуджується струмом зворотної полярності, замикаються контакти 11-12 нейтральний і 111-113 поляризований якорі. На світлофорі загоряється лампа жовтого вогню. Після звільнення другогї блок-уілянки в лінійному реле змінюється полярність струму зі зворотньої на пряму. Поляризований якір перемикається і замикаються його контакти 111-112. На світлофорі загоряється зелений вогонь. Проте при зміні полярності струму в обмотках і магнітного потоку в сердечниках у момент його проходження через нульове значення реле короткочасно відпускає нейтральний якір, замикається тиловий контакт і на світлофорі короткочасно вмикається червоний вогонь, а потім нейтральний якір притягається, замикається фронтовий контакт і загоряється зелений вогонь. Таким чином, зміна жовтого вогню на зелений відбувається через червоний вогонь, тобто з'являється проблиск червоного вогню, що неприпустимо, оскільки машиніст, побачивши незрозумілий сигнал, зупинить потяг. Аналогічна ситуація створюється і при зворотній зміні сигналу - із зеленого на жовтий.

Виключити цей недолік схемним способом уповільнення на відпускання(наприклад, за допомогою конденсаторів) не є можливим, оскільки при зміні полярності струму проходження його через нульове значення неминуче.

Мал. 6 Схема керування вогнями трьохзначного світлофора з реле ПЛ

Для усунення вказаного недоліку в схему керування вогнями світлофора включається не контакт нейтрального якоря лінійного комбінованого реле, а контакт його повторювача ПЛ. Останній має уповільнення на відпускання якоря і при короткочасному знеструмленні нейтрального якоря реле Л утримує якір притягнутим і проблиску червоного вогню не відбувається. Можна обійтися і без додаткового реле повторювача, якщо в якості лінійного застосувати комбінування реле з самоутримуючою магнітною системою.

Комбіновані реле в частині роботи нейтрального якоря і пов'язаних з ним контактів відповідають вимогам, що вимагаються до реле I класу надійності. Правильну роботу контактів поляризованого якоря необхідно перевіряти схемним шляхом, оскільки в частині роботи поляризованого якоря комбіновані реле не відповідають вимогам реле I класу надійності.

РОБОЧЕ МІСЦЕ:

. Вивчити будову реле типу КШ, КМШ, СКШ. При вивченні будови реле необхідно з'ясувати:

а) які особливості будови мають реле типу КШ, КМШ;

б) яка будова магнітної системи комбінованих реле та як розподіляються магнітні потоки під час роботи поляризованого якоря;

в) у чому полягає особливість конструкції самоутримуючих комбінованих реле, принцип дії самоутримуючої системи реле.

. За допомогою вимірювального чемодану типу ИЧ-I зняти наступні електричні та часові характеристики реле:

а) напруга і струм притягання нейтрального якоря реле (Uпр, Iпр);

б) напруга і струм відпадання нейтрального якоря реле (Uвід, Iвід);

в) напруга і струм перекидання поляризованого якоря реле (Uпя, Iпя);

г) напруга самоутримання нейтрального якоря (Uся);

д) перехідний опір між осьовим і фронтовим (Rоф) та осьовим і тиловим (Rот) контактами;

е) час розімкнутого стану фронтових контактів під час зміни полярності струму в основ-ній обмотці реле (tр).

. На підставі отриманих результатів обчислити робочі напругу і струм реле(Uр, Iр).

. Для перевірки правильності отриманих результатів необхідно послідовно виконати цикл вимірів три рази. Результати вимірювань і обчислень занести до таблиці:

Таблиця вимірювань і обчислень

Тип реле

Вимірю- вання

Електричні характеристики




Uпр, В

Iпр,  А

Uр,  В

Iр,  А

Uвід,В

Iвід, А

 Uпя, В

Iпя,  А

Uся, В

Rоф, Ом

 Rот, Ом

 tр

 

1














2














3














Середнє арифметичне














1














2














3














Середнє арифметичне














ЗМІСТ ЗВІТУ:

. Накреслити схему магнітного кола реле типу КМШ та пояснити принцип дії.

. Навести зовнішній вигляд плати реле типу КМШ, СКШ з нумерацією контактів.

. Привести таблицю вимірювань і обчислень. Порівняти отримані результати згідно відповідних параметрів випробуваних реле. Дати пояснення щодо розбіжності параметрів.

. Вказати періодичність перевірки реле типу КШ, КМШ, СКШ в експлуатаційних умовах.

ЛІТЕРАТУРА:

.. Дмитриев В.С. и др. Основы железнодорожной автоматики и телемеханики. - М.: Транспорт, 1988г.- 288.;

.Сороко В.Н., Разумовский Б.А. Апаратура железнодорожной автоматики и телемеханики: Справочник. В 2-х т. -М.: Транспорт, 1981.

Лабораторна робота №3. Тема: «Дослідження будови і зняття електричних і часових характеристик імпульсних реле»

Мета: «Вивчити будову, принцип дії реле типів ИР, ИМШ, ИМВШ. Ознайомитися з методикою і зняти електричні і часові характеристики реле».

ОСНОВНІ ВІДОМОСТІ:

Імпульсні поляризовані реле застосовують в якості колійних та їх повторювачів в імпульсних рейкових колах, а також в деяких інших пристроях автоматики та телемеханіки.

Імпульсні реле мають високу чутливість, що дозволяє використовувати їх для роботи від малопотужних коротких імпульсів струму певної полярності. Вони не відповідають вимогам реле I класу надійності, тому у відповідальних схемах, що безпосередньо забезпечують безпеку руху потягів, здійснюється безперервний контроль притягання і відпускання якоря і перемикання контактів. Наприклад, в рейкових колах застосовують спеціальні релейно-конденсаторні або релейні дешифратори, що забезпечують такий контроль.

Імпульсні реле залежно від регулювання їх магнітної системи можуть спрацьовувати від струмів різних полярностей, переключаю якір вправо або вліво залежно від напряму струму в обмотці (нейтральне регулювання) або від струму тільки одного напряму (регулювання з переважанням). Імпульсні колійні реле мають регулювання з перевагою.

Колійні реле мають один перемикаючий контакт о-ф-т з металокерамічного сплаву. Магнітну систему реле утворюють постійний магніт 1 з полюсними наконечниками 2 і 4, якір 3 і котушка 5. Полюсні наконечники і якір виконані з магнітом'якої сталі, а постійний магніт - з магнітотвердої. Середня частина якоря знаходиться усередині нерухомої катушки 5. Нижня частина якоря закріплена на нерухомій плоскій пружині. Верхній кінець якоря жорстко пов'язаний з контактною пружиною 6 (загальний контакт), яка в правому крайньому положенні замикається з тиловим контактом, а в крайньому лівому - з фронтовим.

 

Мал. 7 Схема імпульсного реле та конструкція реле ИМШ1

Реле має регулювання з перевагою вправо, щоб його якір при припиненні струму в обмотці повертався в початкове положення. Перевага вправо в даному випадку досягнуте ближчим розташуванням правого верхнього і лівого нижнього полюсних наконечників. Магнітний потік Фп, що створюється постійним магнітом, проходить від північного полюса N до південному S через полюсні наконечники 2 і 4. Частина магнітного потоку проходить також через якір 3 і повітряні проміжки у правого верхнього і лівого нижнього наконечників у вигляді додаткового потоку ΔФп. Тому загальний магнітний потік в правому верхньому і лівому нижньому проміжках перевищує потік в лівому верхньому і правому нижньому проміжках, і якір займає праве положення. У цьому положенні він утримується також додатковим зусиллям, що створюється плоскою пружиною.

Щоб якір перекинувся в ліве положення, необхідно пропустити по обмотці струм такого напряму, щоб потік Фк, що створюється обмоткою котушки (показаний штриховою лінією), складався в лівому верхньому і правому нижньому проміжках. У правому верхньому і лівому нижньому проміжках він при цьому відніматиметься. За рахунок сумарного потоку Фп+Фк якір перемикається в ліве положення, в якому загальний контакт замикається з фронтовим. Для спрацювання реле потрібно, щоб зусилля, що створюється потоком ΔФк, перевищувало зусилля, що створюється потоком ΔФп і реакцією плоскої пружини. Після виключення струму в обмотці якір під дією зусилля, що створюється реакцією пружини, повертається в початкове (праве) положення.

При іншому напрямі струму в обмотці магнітний потік Фк складатиметься з потоком постійного магніту в правому верхньому і лівому нижньому проміжках, і якір залишиться в колишньому (правому) положенні. Таким чином, при проходженні струму визначеної полярності якір реле діє так само, як і у нейтрального реле. Проте принципова відмінність полягає в тому, що імпульсне поляризоване реле працює тільки від імпульсів певної полярності і не спрацьовує від імпульсів іншої полярності.

Ця властивість використовується в імпульсних рейкових колах постійного струму для захисту від струму суміжного рейкового кола при замиканні ізолюючих стиків. В цьому випадку імпульсне колійне реле спрацьовує тільки від струму свого рейкового кола і не реагує на струм суміжного рейкового кола з іншою полярністю. Для правильної роботи в суміжних рейкових колах виконується чергування полярності сигнального струму.

Імпульсне малогабаритне штепсельне реле ИМШ складається з постійного магніту 2; котушки 3, усередині якої розміщується якір з рухливими контактами 6; магнітопровода 4 з чотирма полюсними наконечниками; регулюючих гвинтів 1. Деталі магнітної системи змонтовані на корпусі 7, якір укріплений на металевій основі 8. Контактна система складається з нерухомих контактів 5 і рухомих 6, виготовлених з металокерамічної композиції марки СрКд-86-14. Контактна система розрахована на 20 млн. перемикань електричних кіл постійного струму 0,5 А при напрузі до 16 В. Деталі реле закриті прозорим ковпаком з ручкою. Між ковпаком і основою прокладається ущільнююча прокладка.

Імпульсне малогабаритне штепсельне реле ИМВШ-110використовується в якості колійного реле в імпульсних рейкових колах змінного струму. Всередині цього реле на корпусі закріплена панель з випрямлячем, що складається з чотирьох кремнієвих діодів. У іншому конструкція цього реле така ж, як і у реле ИМШ1.

На практиці використовується лише така якість імпульсного реле, як швидкодія, оскільки воно працює в імпульсних і кодових рейкових колах змінного струму 25, 50 і 75 Гц.

Схеми включення обмоток реле ИМШ1 і ИМВШ-110 і розміщення контактів показані на малюнку.

Мал. 9 Схема ввімкнення обмоток та розміщення контактів реле ИМШ1 та ИМВШ1-110

Фронтовий, загальний і тиловий контакти реле виведені відповідно на зажими 13, 33, 53. Ця нетипова нумерація контактів обумовлена конструктивним виконанням імпульсних реле.

Реле ИМШ1-1700 застосовують в якості швидкодіючого повторювача імпульсного колійного реле; воно розраховане на номінальну робочу напругу 12 В.

Раніше випускалися і знаходяться в експлуатації імпульсні реле ИР (нештепсельні). Путні реле ИР1-0,3 і ИРВ-110 мають такі ж електричні характеристики, як відповідно реле ИМШ1-0,3 і ИМВШ-110.

У системах диспетчерської централізації з полярними признаками кодів в якості лінійного застосовують реле ИР5. Різні модифікації цього реле мають нейтральне регулювання або регулювання з перевагою.

РОБОЧЕ МІСЦЕ:

. Вивчити будову і принцип дії реле типів ИР, ИМШ, ИМВШ.

При вивченні будови і принципу дії реле з'ясувати:

а) будову магнітної і контактної системи реле типів ИР, ИМШ;

б) як здійснюється регулювання якоря реле:

нейтральна

з перевагою;

в)призначення випрямлячів у реле типів ИМВШ.

. За допомогою вимірювального чемодану типу ИЧ-I зняти наступні електричні і часові характеристики реле:

а) струм відпускання якоря реле (Iвід)

б)струм повного притягання якоря реле (Iпр)

. Для перевірки правильності показань впливає весь цикл вимірів, виконати три рази.

Дані вимірів занести в таблицю.

Таблиця вимірювань і обчислень

Тип реле

Імпульсні реле

Кодові реле

Трансмітерні реле


ИР-0,3



Ел-чні і тимчасові хар-ки

Iвід А

Iпр А

Uвід В

Uпр В

tпр c

tвід c

Uпр~ В

Uвід~ В

Вимірювання

1










2










3










серед. ариф.










ЗМІСТ ЗВІТУ:

. Накреслити схему магнітного ланцюга реле типу ИР.

. Привести таблицю вимірів. Порівняти отримані результати по відповідних параметрах випробуваного реле.

. Указати періодичність перевірки реле в експлуатаційних умовах.

ЛІТЕРАТУРА:

.. Дмитриев В.С. и др. Основы железнодорожной автоматики и телемеханики. - М.: Транспорт, 1988г.- 288.;

.Сороко В.Н., Разумовский Б.А. Апаратура железнодорожной автоматики и телемеханики: Справочник. В 2-х т. -М.: Транспорт, 1981.

Лабораторна робота №4. Тема: «Дослідження пристрою і зняття електричних і тимчасових характеристик пускових реле»

Мета: «Вивчити пристрій пускових реле типів НМПШ, НПШ, ПМЕПП, СКПШ, ППР, особливості контактної системи реле, ознайомитися з методикою і зняти електричні і тимчасові характеристики реле».

ОСНОВНІ ВІДОМОСТІ:

Нейтральні пускові реле відрізняються від звичайних нейтральних реле наявністю посилених контактів з металокерамічного сплаву марки Сркд86-14, а у деяких типів пускових реле також наявністю магнітного дугогасіння і збільшеною відстанню між контактами.

Нейтральне малогабаритне реле з металокерамічними контактами НМПШ2-400 слугує для комутації ланцюгів світлофорних ламп миготливих вогнів. Реле має контактну систему 4 фт, всі контакти виконані із спеціального металокерамічного сплаву і здатні витримати не менше 2000000 перемикань ланцюги постійного струму 2 А при напрузі 12 В. Реле призначене для роботи при номінальній напрузі постійного струму 12 В.

Мал.10 Розміщення контактів пускових реле

Нейтральне малогабаритне реле з посиленими контактами НМПШ-900 з контактною системою 2 фу, 4 ф слугують для комутації в пристроях СЦБ ланцюгів постійного і змінного струму підвищеної потужності. Реле має тільки фронтові контакти, виконані з металокерамічного сплаву. Два фронтові контакти мають магнітне дугогасіння (2 фу) і посилене контактне натиснення. Відстань між всіма контактами збільшена: для контактів з магнітним дугогасінням до 5,5 мм, для решти контактів - до 3,8 мм (у звичайних нейтральних реле відстань між контактами рівна 1,3 мм).

Контакти з магнітним дугогасінням можуть комутувати постійний струм 8 А при напрузі 220 В і до 15 А при напрузі 60 В. Плюсовий зажим підключають до загального контакту, а мінусовий до фронтового. Ці ж контакти можуть комутувати ланцюги змінного струму 12 А при напрузі 220 В і cos φ=0,85. Решта контактів реле НМПШ-900 може комутувати ланцюги постійного струму 10 А при напрузі 30 В або ланцюги змінного струму 6 А при напрузі 220 В. Номінальна робоча напруга реле 24 В. Слід вказати, що нумерація контактів з магнітним дугогасінням не відповідає загальноприйнятій. Ця зміна пов'язана з розміщенням магнітів дугогасіння.

Нейтральне пускове малогабаритне реле НМПШ3-0,2/220 з контактною системою 2 фут, 2 ф призначено для роботи в пусковому колі схеми включення стрілочного електроприводу з двигуном постійного струму в спільній схемі з поляризованим малогабаритним пусковим реле ПМПШ.

Фронтові контакти цього реле виконані з металокерамічного сплаву і призначені для пропуску робочого струму електродвигуна. Загальні і тилові контакти виконані з срібла і призначені для перемикання контрольних ланцюгів схеми. Обмотки реле включені роздільно: обмотка 220 Ом - збудження, 0,2-струмова, для утримання якоря. Реле НМПШ-0,3/90 призначене для роботи в схемах керування стрілками з двигунами змінного струму. Реле НМП3-0,2/220 і НМП-0,3/90 не мають захисного кожуха і встановлюються в закритих релейних блоках електричної централізації. Відстань від фронтових і тилових контактів до загальних 2,5 мм, натиснення на кожен з фронтових контактів не менше0,5Н. Кожен контакт з магнітним дугогасінням (41-42 і 61-62) реле Нмпш3-0,2/200 і Нмп3-0,2/220 забезпечує не менше 100000 перемиканні ланцюга постійного струму 5 А при напрузі 220 В, а решта всіх контактів - не менше 400 000 комутацій ланцюгів постійного струму 5 А при напрузі 24 В для реле НМПШ-0,3/90 і струму 2 А при напрузі 24 В для реле Нмпш2-0,2/220.

Напруга спрацювання для обмотки збудження 220 Ом реле НМПШ 2-0,2/220 (НМП3-0,2/220) складає не більше 7 В, відпускання - не менше 2,1 В. Напруга відпускання струмової обмотки 0,2 Ом не менше 0,3 А. Напруга спрацювання обмотки збудження 90 Ом реле НМПШ-0,3/90 (НМП-0,3/90) складає не більше 3,8 В, відпускання - не менше 1,1 В. Струм відпускання струмової обмотки 0,3 Ом не менше 0,2 А. Розміщення і нумерація контактів реле НМПШ2-0,2/220 приведені на мал.10.

У експлуатації знаходяться пускові штепсельні реле (великі) НПШ1-150, а також пускові реле раніших випусків з контактно-болтовим з'єднанням НПР 1-150, НПР2-150, НПР2-150/300 і НПР4-150/300. Відстань між посиленими контактами з магнітним дугогасінням у реле НПР рівна 12,5-13,5 мм. Контакти розраховані для включення робочих кіл стрілочних електроприводів, маршрутних покажчиків, електродвигунів, автошлагбаумів та інших кіл з великими струмами.

РОБОЧЕ МІСЦЕ:

. Вивчити пристрій і принцип дії реле типів НМПШ, НПШ, ПМПШ, ППР, СКПШ. При вивченні пристрою реле з'ясувати:

а) пристрій магнітної системи поляризованих реле і яке розподіл магнітних полів при роботі поляризованого якоря;

б) пристрій контактної системи реле типів ПМПШ, НПШ;

в) пристрій контактної системи і схему з'єднання обмоток реле типів СКПШ;

г) які існують методи гасіння дуги на контакті.

. За допомогою універсального вимірювального стенда типу СУ зняти для реле типу СКПШ-160 наступні електричні і тимчасові характеристики:

а) напруга притягання Uпр і відпадіння Uот нейтрального якоря реле при прямій і зворотній полярності;

б) напруга перекидання поляризованого якоря Uпер при прямій і зворотній полярності;

в) час притягання нейтрального якоря (tпр)

г) час відпадіння нейтрального якоря (tвід)

д) величину струму відпадіння нейтрального якоря реле по токовій обмотці Iвід

. Для перевірки правильності показань потрібно виконати цикл вимірювань три рази. Дані вимірів занести в таблицю.

Таблиця вимірювань

Тип реле

Вимірювання

Електричні характеристики

Тимчасові характеристики

Відпадіння нейтрального якоря по токовій обмотці



Пряма полярність

Зворотна полярність





Uпр В

Uвід В

Uпер В

Uпр В

Uвід В

Uпер В

tпр с

tвід с

Iвід А


1











2











3











серед. ариф.











ЗМІСТ ЗВІТУ:

. Накреслити зовнішній вигляд плати реле з нумерацією контактів НМПШ, ППР, ПМПШ, СКПШ, виділивши іншим кольором посилені контактні групи.

. Накреслити схему магнітного ланцюга реле типу ППР.

. Привести таблицю вимірів і висновок про послідовність роботи якорів реле при його порушенні.

. Зробити висновок про призначення випрямних містків у самоутримуючих пускових реле.

. З'ясувати спосіб гасіння дуги на посилених контактах реле і пояснити його фізичну сутність.

ЛІТЕРАТУРА:

. Дмитриев В.С. и др. Основы железнодорожной автоматики и телемеханики. - М.: Транспорт, 1988г.- 288.;

.Сороко В.Н., Разумовский Б.А. Апаратура железнодорожной автоматики и телемеханики: Справочник. В 2-х т. -М.: Транспорт, 1981.

. Муравин В.М. "Ремонт аппаратуры СЦБ" стр. 3-7, 69-74.

Лабораторна робота №5. Тема: «Дослідження будови та зняття електричних і часових характеристик двоелементних секторних реле»

Мета: «Вивчити конструкцію двоелементних секторних реле типів ДСг, ДСШ, виявити особливості реле типу ДСШ, особливості контактної системи реле, ознайомитися з методикою і зняти електричні і тимчасові характеристики реле».

ОСНОВНІ ВІДОМОСТІ:

Двоелементні штепсельні реле змінного струму ДСШ і нештепсельні ДСР широко застосовують як колійні реле в рейкових колах змінного струму 50 і 25 Гц. У метрополітенах застосовують реле ДСШ-2 як колійні і лінійні реле. Реле ДСШ і ДСР I класу надійності є індукційними, тобто працюють тільки від змінного струму. Принцип дії двоелементного реле заснований на взаємодії змінного магнітного потоку одного елементу із струмом, що індукується в секторі змінним магнітним потоком іншого елементу. Відповідно до закону електромагнітної індукції на провідник із струмом (сектор), поміщений в магнітне поле, діє сила, що приводить його в рух. Сектор реле повертається і перемикає контакти. Сила, що діє на сектор, пропорційна струмам місцевого і колійного елементів і залежить від кута зміщення фаз між ними.

Електромагнітна система реле ДСШ має два елементи - місцевий і колійний. Місцевий елемент складається з осердя 1 і котушки 2. На осерді колійного елементу 3 розміщена котушка 4. Між полюсами сердечників розташований алюмінієвий сектор 5. Струм, що проходить по місцевій обмотці, утворює співпадаючий з ним по фазі магнітний потік Фм, який індукує в секторі струми Іm, що відстають по фазі від потоку Фм на кут 90°. Під дією струму колійного елементу виникає магнітний потік Фп, що індукує в секторі струми Іп.

Мал.11 Принципова схема реле ДСШ

Взаємодія індукційних струмів Ім з магнітним потоком Фп створює обертаючий момент M1, а струмів Іп з магнітним потоком Фм - обертаючий момент М2. Під дією сумарного обертаючого моменту М=М2+М1, сектор переміщується вгору і замикає фронтові контакти. При виключенні струму в колійній або місцевій обмотці сектор повертається в початкове положення (вниз) під дією власної ваги. Поворот сектора обмежується зверху і знизу роликами, які для пом'якшення ударів можуть переміщатися в утримувачах, що направляють їх.

Позитивний обертаючий момент, і рух сектора вгору можливі тільки при певному співвідношенні фаз між струмами (напругою) колійного і місцевого елементів. Оскільки магнітні потоки Фп і Фм і індуковані ними в секторі струми Іп і Ім пропорційні струмам колійного і місцевого елементів, обертаючий момент пропорційний струмам колійного і місцевого елементів і залежить від кута здвигу фаз між ними:

М=ІnІмsinφ,

де φ - кут здвигу фаз Iп і Iм.

Найбільший обертаючий момент, реалізується при куті здвигу фаз між струмами колійного і місцевого елементів, рівному 90°. Таким чином, струми і співпадаючі з ними потоки путнього і місцевого елементів повинні бути зрушені на кут 90°. Якби котушки і осердя колійного і місцевого елементів були однакові, то ї випеереджаючі струми напруги Un і Uм, також були б здвинуті між собою на кут 90°. Проте із-за деякої відмінності характеристик котушок і осердя колійного і місцевого елементів Uм випереджає по фазі Iм на 72°, а Un випереджає по фазі Iп на 65°. Тому напруга Uм і Un зміщена по фазі не на 90°, а на 97°.

Практично для індукційних реле ДСШ і ДСР зазвичай задається такий кут здвигу фаз між напругою місцевого елементу і струмом колійного елементу, при якому реалізується максимальний момент, що обертає.

Для реле ДСШ і ДСР при частотах сигнального струму 50 і 25 Гц для реалізації максимального моменту, що обертає, необхідно, щоб напруга місцевої обмотки випереджала струм колійної обмотки на кут (162 ± 5)°. Цей кут називається ідеальним кутом здвигу фаз. Нагадаємо, що кут здвигу фаз між струмами і магнітними потоками колійного і місцевого елементів складає при цьому 90°.

Ідеальні фазові співвідношення характеризуються наступними кутами зрушення фаз: 90° між струмами і магнітними потоками колійного і місцевого елементів; 162° між струмом колійного і напругою місцевого елементів; 97° між напругою колійного і місцевого елементів.

Мал.12 Векторна діаграма реле ДСШ

Якщо фазові співвідношення відрізняються від ідеальних, то для забезпечення роботи реле і отримання необхідного моменту, що обертає, потрібно збільшити напругу Un на обмотці колійного елементу до величини:


де φи і φд - ідеальний і дійсний фазові кути.

Приведена формула вірна при φи > φд і φи < φд, оскільки функція cosφ однакова при позитивному і негативному кутах.

Для нормальної роботи реле ДСШ і ДСР необхідне живлення колійної і місцевої обмоток здійснювати від однієї і тієї ж фази. Здвиг фази напруги на колійній обмотці на 90-97° по відношенню до напруги на місцевій обмотці досягається в рейкових колах 50 Гц схемою живлячого або релейного кінця (включенням фазозсувного конденсатора), а в рейкових колах 25 Гц - шляхом початкового жорсткого зсуву фаз напруги на 90° перетворювачі, що живлять колійні і місцеві обмотки фазочутливих рейкових кіл з реле ДСШ і ДСР.

До місцевих обмоток реле (окрім реле ДСШ-2) при частоті 50 Гц підводиться напруга 220 В, а при частоті 25 Гц-110 В. До місцевої обмотки реле ДСШ-2 підводиться напруга 110 В змінного струму частотою 50 Гц.

Фазочутливі індукційні реле ДСШ і ДСР можуть працювати і при вищих частотах сигнального струму. Із збільшенням частоти сигнального струму індуктивний опір обмоток зростає приблизно пропорційно частоті. Для збереження потужності спрацьовування Scp=U2/Z необхідно при збільшенні частоти підвищувати напруги на обмотках реле приблизно пропорційно кореню квадратному із значення частоти. Якщо ж напругу на місцевій обмотці зберігати незмінною (220 В), то із зростанням частоти напругу на колійній обмотці необхідно підвищувати пропорційно частоті.

На графіку залежності напруги колійної обмотки реле ДСШ-12 від частоти сигнального струму і незмінній напрузі (220 В) на місцевій обмотці зміна частоти струму від 0 до 275 Гц викликає зростання напруги на колійній обмотці приблизно пропорційно частоті. При подальшому збільшенні частоти напруга на путній обмотці, що необхідна для спрацювання реле, змінюється більш різко. Це пов'язано з більш різким зростанням втрат в осердях колійного і місцевого елементів. Враховуючи, що напруга на колійному елементі в нормальних умовах експлуатації за умовами техніки безпеки і допустимій напрузі на приладах не повинна перевищувати 250 В, можна вважати, що реле ДСШ-12 може працювати при частотах сигнального струму до 375 Гц. Якщо змінити параметри обмоток і магнітопроводу, то фазочутливі реле можуть працювати і при вищих частотах.

Мал.13 Графік напруги на колійній обмотці реле ДСШ-12

Контактна система ДСШ-2 - 4фт, 2ф, 2т (чотири трійники, два фронтових і два тилові контакти). З метою підвищення чутливості (зниження потужності спрацьовування) у реле ДСШ-12, ДСШ-13 і ДСШ-13А зменшена кількість контактних груп. Ці реле мають тільки два фронтових 2ф і два тилових 2т контакти. Фронтові і тилові контакти виготовлені з графіту з срібним напиленням, загальні (рухомі) - з срібла. Кожен контакт розрахований на 100000 перемикань електричних ланцюгів змінного струму 1 А при напрузі 110 В з індуктивним навантаженням. Маса реле без штепсельної розетки-6,14 кг (реле ДСШ-2) і 6,05 кг (реле ДСШ-12 і ДСШ-13).

Мал.14 Контактна система реле ДСШ

Двоелементне секторне реле ДСР-12 з контактно-болтовим з'єднанням є застарілим, проте його застосовують в умовах експлуатації. При модернізації пристроїв це реле змінюють реле ДСШ.

Реле ДСР-12 має чотири повні трійники (4фт). Місцевий елемент має дві котушки, обмотки яких при напрузі 220 В, 50 Гц включають послідовно, а при напрузі 110 В - паралельно. При частоті струму 25 Гц обмотки включають послідовно і на них подається напруга 110 В; маса реле ДСР-12 - 15 кг.

Мал. 15 Схема з'єднання обмоток і нумерація контактів реле типу ДСР-12

Значення напруги і струму відпускання сектора у всіх типів реле ДСШ і ДСР повинні бути не менше 50% фактично заміряних значень повного підйому, тобто kв 0,5.

Основною перевагою реле ДСШ і ДСР є надійна фазова селективність (вибірковість), тому ці реле, а також рейкові кола, в яких вони використовуються, називають фазочутливими. Ця властивість дозволяє надійно виключити помилкове спрацьовування фазочутливого колійного реле від джерела струму суміжного рейкового кола при замиканні ізолюючих стиків. Для цього в суміжних рейкових колах змінного струму роблять чергування фаз (миттєвих полярностей) струму, а колійні обмотки реле включають так, що позитивний момент, що обертає, і підйом сектора вгору походять від струму свого рейкового кола. При замиканні ізолюючих стиків і попаданні в колійний елемент струму суміжного кола сектор буде прагнути обернутися вниз. В процесі експлуатації не допускається міняти місцями проводи, відповідні до обмотки місцевого елементу, оскільки в цьому випадку колійне реле від струму власного кола працювати не буде, а при замиканні ізолюючих стиків може помилково збудитися від струму суміжного, рейкового кола, чим створюється загроза безпеки руху поїздів.

При всіх перемиканнях, пов'язаних з від'єднанням кабельних жил, проводів від обмоток колійних трансформаторів, при заміні реле ДСР (при заміні реле ДСШ проводи не від'єднують) слід обов'язково після закінчення роботи перевірити правильність чергування фаз в суміжних рейкових колах.

Перевагою фазочутливих реле є також їх надійний захист від впливу перешкод тягового струму, що відрізняються за частотою від струму сигнальної частоти всього на декілька герц. Реле спрацьовує від струму такої частоти, як і частота струму в обмотці місцевого елементу при певних фазових співвідношеннях між ними.

Мал.16 Векторна діаграма напруги реле ДСШ при різних частотних струмах в обмотках колійного і місцевого елементів

При застосуванні рейкових кіл з фазочутливими реле пред'являють жорсткі вимоги до джерел живлення. Для забезпечення певних фазових співвідношень і виконання чергування миттєвих полярностей в суміжних рейкових колах (здвиг фази на 180°) колійні і місцеві обмотки реле всіх рейкових кіл на станції повинні бути включені в одну фазу від одного і того ж центрального джерела живлення.

РОБОЧЕ МІСЦЕ:

. Вивчити будову реле типу ДСР-12, ДСШ-12, ДСШ-13 и ДСШ-2. При вивченні будови реле з’ясувати:

а) які принципи будови та роботи двохелементних секторних реле та в якому випадку у даних реле розвивається максимальний обертовий момент;

б) в чому особливість будови магнітної системи реле типу ДСШ,

в) як впливає ідеальний кут зсуву фаз на роботу реле?

. За допомогою випробувального стенду перевірки реле типу ДСР зняти наступні характеристики двоелементних секторних реле.

а) напругу і струм повного прямого підйому (Uпп.Iпп.)

б) напругу і струм відпускання (Uвід. Iвід)

На місцевому елементі напругу (Uм) і струм (Ім) установити по паспорті реле.

. Для перевірки правильності показань потрібно виконати три рази цикл вимірів. Дані вимірів занести в таблицю.

Таблиця вимірювань

Тип реле

Вимірювання

Місцевий елемент

φо Uм-Iп

Колійний елемент



Uм В

Iм А


Uпп В

Iпп А

Uвід В

Iвід А


1









2









3









Серед. ариф.









1









2









3









Серед. ариф.









ЗМІСТ ЗВІТУ:

. Накреслити схему магнітного ланцюга реле типу ДСШ і пояснювати принцип дії реле.

. Накреслити зовнішній вигляд плати реле типів ДСР-12, ДСШ-13.

. Привести таблицю вимірів, зіставити отримані результати по відповідним параметрах випробуваного реле.

. Указати періодичність перевірки реле в експлуатаційних умовах.

.. Дмитриев В.С. и др. Основы железнодорожной автоматики и телемеханики. - М.: Транспорт, 1988г.- 288.;

.Сороко В.Н., Разумовский Б.А. Апаратура железнодорожной автоматики и телемеханики: Справочник. В 2-х т. -М.: Транспорт, 1981.

Лабораторна робота №6. Тема: «Дослідження будови та зняття електричних і часових характеристик маятників та кодових колійних трансмітерів»

Мета: Вивчити будову, принцип дії трансмітерів типу МТ та КПТ, ознайомитися з методикою та зняти електричні і часові характеристики трансмітерів.

ОСНОВНІ ВІДОМОСТІ:

Маятниковий трансміттер МТ-1 застосовують для імпульсного живлення рейкових кіл постійного струму. Він виробляє імпульси струму з інтервалами між ними: тривалість імпульсів і інтервалів однакова і рівна 0,24-0,3 с.

Основними частинами маятникового трансміттера є електромагнітна система, вісь з шайбами і маятником і контактна система. Електромагнітна система складається з двох сердечників 1 з полюсними наконечниками, між якими поміщений якір 2. На вісь якоря насаджені маятник 3 і гетинаксові шайби 4, 5 і 6, які перемикають контакти. На сердечники поміщені котушки К1 і К2. Якір насаджений на вісь так, щоб в спокійному положенні маятника вісь якоря не співпадала з магнітною віссю M1 і М2. У цьому положенні кулачковою шайбою 4 замкнутий управляючий контакт УК. При включенні струму якір 2 під дією магнітного поля повертається проти годинникової стрілки, прагнучи зайняти положення по осі М1-М2. Разом з якорем повертаються маятник і кулачкові шайби 4, 5 і 6. Управляючий контакт, при цьому розмикається і розмикає коло живлення обмоток. Маятник за інерцією продовжує сповільнений рух за рахунок запасеної кінетичної енергії, потім під дією сили тяжіння маятник разом з віссю і якорем починає рух у зворотному напрямі. Проходячи початкове (середнє) положення, шайба 4 замикає контакт УК, включаючи обмотку. Проте маятник за інерцією ще продовжує рух, потім рух поновлюється проти годинникової стрілки.

Мал. 17 Принципова схема маятникового трансмітера МТ-1

При проходженні якоря через середнє положення знову замикаються контакти УК, і обмотки включаються. Якір разом з маятником отримують додаткове зусилля. Таким чином, за рахунок енергії джерела живлення при кожному проходженні середнього положення маятник отримує додаткове прискорююче зусилля, встановлюються незгасаючі автоматичні коливання. Трансмітер МТ-1 здійснює 95-115 коливань в хвилину. З такою ж частотою замикаються і розмикаються контакти 31-32 і 41-42. Через ці контакти в рейкове коло передаються імпульси струму.

Трансмітер МТ-2 має аналогічний пристрій і відрізняється тривалістю імпульсів, що виробляються, і інтервалів. Він здійснює 40±2 коливання за хвилину, його контакт 31-32 замкнутий і розімкнений на протязі (0,75±0,1) с, а контакт 41-42 замкнутий на протязі (1±0,05) с, а розімкнений на протязі (0,5 ±0,1) с. У положенні спокою контакт 41- 42 замкнутий, а контакт 31-32 розімкнений. Трансмітер МТ-2 застосовують в схемах включення світлофорів для забезпечення миготливого режиму горіння ламп. Маятникові трансмітери розраховані для роботи від джерел постійного струму напругою 12 і 24 В.

При напрузі 12 В обмотки опором по 300 Ом кожна сполучають паралельно, а при напрузі 24 В - послідовно. Контакти маятникових трансмітерів виготовляють з металокерамічного сплаву марки Сркд-86-14. Вони забезпечують 50 млн. ввімкнень кіл постійного струму 2 А при напрузі 12 В. Для зменшення зносу контактів включені іскрогасящі контури з резисторів і конденсаторів, розміщені усередині кожуха трансмітера.

Мал.18 Схема з’єднання обмоток, нумерація контактів трансмитерів МТ та діаграма довжини імпульсів та інтервалів

Для отримання миготливої сигналізації на світлофорах використовують також однорелейний генератор імпульсів (миготливе реле).

Реле М зазвичай застосовують типу НМПШ 2-400 з роздільним включенням обмоток котушок. При ввімкнені живлення спочатку струм проходить по обом обмоткам: по нижній обмотці через резистор R1, а по верхній - зарядний струм конденсатора С. Так як обмотки включені зустрічно, реле не притягує якір. При заряді конденсатора струм через верхню обмотку зменшується. Під дією струму нижньої обмотки реле притягає якір, відключаючись від джерела живлення: починається розряд конденсатора С через верхню обмотку (нижня обмотка зашунтована власним контактом). Струм у верхній обмотці тепер тече у зворотному напрямі, що сприяє утриманню якоря. Конденсатор С одночасно розряджається на резистор R2. Після розряду конденсатора реле М відпускає якір, і починається новий цикл роботи. За допомогою регульованих резисторів R1 і R2 встановлюється необхідний режим роботи реле. При нормальному режимі відбувається 40-45 спрацьовувань в хвилину.

Мал.19 Схема однорелейного генератора імпульсів

Схема миготливого реле отримала широке поширення у зв'язку з масовим використанням миготливих вогнів світлофорів. Проте останнім часом спостерігається тенденція до обмеження застосування в схемах СЦБ електролітичних конденсаторів, нестійке що працюють в умовах експлуатації, особливо при знижених температурах. Тому при новому проектуванні схему миготливого реле з використанням електролітичних конденсаторів не застосовують.

РОБОЧЕ МІСЦЕ:

. Вивчити будову трансмітерів типу МТ та КПТ. При вивченні будови трансмітерів необхідно з'ясувати:

а) які особливості будови мають трансмітери типу МТ та КПТ;

б) яка будова магнітної та контактної системи трансмітерів типу МТ;

в) яке маркування мають контактна система та обмотки двигуна трансмітера типу КПТ.

. За допомогою вимірювального чемодану типу ИЧ-I зняти наступні електричні та часові характеристики трансмітерів:

а) напруга і струм спрацювання трансмітера типу КПТ (Uср, Iср);

б) кількість спрацювань трансмітера типу МТ за хвилину.

. Для перевірки правильності показань необхідно послідовно виконати цикл вимірів три рази. Результати вимірювань занести до таблиць:

Таблиці вимірювань

Тип пристрою

Вимірю- вання

Електричні характеристики



Іср, А

Uср, В


1




2




3




Середнє ариф- метичне



Тип пристрою

Вимірю- вання

Кількість коливань


1



 2



3



Середнє арифметичне



ЗМІСТ ЗВІТУ:

.Накреслити схему магнітного кола трансмітера типу МТ.

.Накреслити часові діаграми трансмітерів типу КПТШ-5, КПТШ-7 та привести описання роботи трансмітера типу КПТ.

.Привести таблицю вимірювань. Порівняти отримані результати згідно відповідних параметрів випробуваних пристроїв. Дати пояснення щодо розбіжності параметрів.

. Привести умовне зображення трансмітерів і вказати сферу їх застосування.

ЛІТЕРАТУРА:

.. Дмитриев В.С. и др. Основы железнодорожной автоматики и телемеханики. - М.: Транспорт, 1988г.- 288.;

.Сороко В.Н., Разумовский Б.А. Апаратура железнодорожной автоматики и телемеханики: Справочник. В 2-х т. -М.: Транспорт, 1981.

Лабораторна робота №7. Тема: «Дослідження будови та зняття електричних і часових характеристик реле ИВГ»

Мета: Вивчити будову, принцип дії реле ИВГ, ознайомитися з методикою та зняти електричні і часові характеристики реле.

ЗАГАЛЬНІ ВІДОМОСТІ:

У пристроях автоматики і телемеханіки разом з электромагнітним реле все більш широке застосування знаходять герметизовані магнітокеруючі контакти (МК), що називаються герконами. Геркон являє собою контактні пружини 1(мал. 20), що виконані з магнітом'якого матеріалу, що поміщені в скляну ампулу 2. Ампулу заповнюють інертним газом або створюють в ній вакуум. У обох випадках практично відсутнє іскроутворення і корозія контактів. Контакти витримують до 108 спрацювань (при малих струмах).

Мал.20 Схема геркона

Принцип дії МК полягає в тому, що за наявності магнітного потоку, що створюється постійним магнітом або електромагнітом, контактні пружини притягуються один до одного, з'єднуючись електрично. За відсутності магнітного потоку або зниженні його нижче певного значення МК розмикаються під дією сил пружності контактних пружин.

Контактуючі поверхні контактних пружин покривають тонким шаром (декілька мікрон) благородного металу (золота, срібла, паладію, радію) або сплавів з них для забезпечення надійного з'єднання з малим перехідним опором.

Один або декілька герконов (МК), поміщених всередину електромагнітної котушки, утворюють герконовоє реле (мал.21). Механічні переміщення в герконових реле мінімальні (зсув кінця пружини на декілька десятих і навіть сотих доль міліметра). Тому чутливість і швидкодія у цих реле набагато вищі, ніж у більшості звичайних електромагнітних реле. При цьому маса (і вартість) герконового реле в десятки разів менше маси (і вартості) звичайних реле.

Мал.21 Герконове реле

Геркон завдяки герметичності може працювати в агресивних і вибухонебезпечних середовищах і при температурах від -100 до +200 °С у будь-якому положенні по відношенню до горизонталі. Існує декілька різновидів герконов і герконових реле. Їх варіанти можуть відрізнятися формою і розміром контактів і балонів. Випускають МК на замикання (фронтовий контакт), на розмикання (тиловий контакт) і на перемикання (трійник).

Основною частиною герконів, що виконує функції магнітопроводів, контактів, якоря і пружних елементів, є контактні пружини. Тому з принципу дії герконів виходить, що контактні пружини повинні володіти високою електропровідністю і магнітною проникністю, малою залишковою індукцією і достатньою пружністю. Крім того, по технологічних міркуваннях необхідно, щоб матеріал пружин добре зварювався з склом, утворюючи вакуумний спай.

Для виготовлення пружин герконов в більшості випадків використовують пермаллоєві дроти різних марок.

Геркони і герконові реле прості по пристрою, достатньо надійні в роботі, характеризуються невеликими розмірами (мал. 22) і масою, малою вартістю. Тому їх широко застосовують в промисловій автоматиці. На жаль, геркони і герконові реле не володіють властивостями реле I класу надійності, що в значній мірі обмежує їх застосування в пристроях залізничної автоматики, що забезпечують безпеку руху поїздів. Не виключається можливість замикання контактів із-за зниження жорсткості контактних пружин і зварювання контактуючих металевих поверхонь.

Мал. 22 Розміри геконів КЭМ-1 та КЭМ2, герконового реле РЭС-44

У залізничній автоматиці геркони можна застосовувати в пристроях, робота яких не пов'язана безпосередньо з безпекою руху поїздів. У разі їх використання у відповідальних схемах повинен забезпечуватися безперервний контроль правильності замикання і розмикання контактів.

Розроблені геркони для перемикання силових ланцюгів великої потужності (струми до 15 А при напрузі 220 В); їх називають герсиконами.

Різновидом герконів є рідкометалеві (зокрема, ртутні) магнітокеруючі контакти. У реле ІВГ, що застосовується на заміну ІМВШ-110, застосовується рідкометалевий (ртутний) магнітокеруючий геркон МКСР-45181, комутаційний ресурс якого більш ніж в 10 разів перевищує цей показник для звичайних («сухих») контактів. Цей геркон (мал. 23) складається з скляної оболонки 5, в яку поміщені (упаяні) нерухомі 4 і 3 і рухома 1 плоскі контакт-деталі з магнітом'ягкого металу. При дії магнітного потоку рухома контакт-деталь переміщується, розмикаючи тиловий і замикаючи фронтовий контакти. Для забезпечення стабільного і низького перехідного опору і високої зносостійкості контактів в зону контакту 2 при роботі геркону по капілярах рухомої контакт-деталі постійно поступає ртуть з резервуару, поміщеного знизу оболонки.

Мал. 23 Схема жидкометалевого (ртутного) магнитокеруючого геркону МКСР-45181

Змочування контактів ртуттю забезпечує їх тривалу і надійну роботу в умовах експлуатації.

Герметична оболонка геркона заповнена воднем під тиском 1,7·106 Па для забезпечення електричної міцності зазору (0,7 мм), рівної не менше 2500 В.

У реле ІВГ застосована магнітна система нейтрального реле, що складається з котушки, ярма і сердечника, на полюсному наконечнику якого закріплена втулка з герконом. У реле ІВГ передбачена можливість включення обігріву на зимовий період, оскільки при температурі -38 °С і нижче відбувається замерзання ртуті. Для цього в корпусі реле встановлений резистор 18 Ом, 10 Вт з виводами на контакти 12 і 32, до яких при необхідності підключається джерело змінного струму напругою 12-14 В (мал. 24).

Мал. 24 Розміщення контактів та схема включення обмотки реле ИВГ

Для полегшення режиму комутації застосований іскропоглинаючий контур, що складається з резистора і конденсатора. Для його включення встановлюють перемичку між виводами 13 і 72 на штепсельній розетці. У разі комутації змінного струму перемичку не встановлюють, оскільки через іскропоглинаючий контур утворюється обхідне коло. Всі деталі реле ІВГ розміщують на платі реле НМШ. Електричні характеристики реле по змінному струму частотою 50 Гц: напруга спрацьовування 2,6- 3,2 В, напруга відпускання якоря не менше 2,0 В. Герконовий контакт реле забезпечує не менше 5 ×108 перемикань електричних ланцюгів постійного струму при напрузі 6 В і струмі 0,5 А. Для порівняння відзначимо, що реле ІМВШ-110 забезпечує 2×107 перемикань.

Реле ІВГ не відноситься до реле I класу надійності. Тому воно, так само як і реле ІМВШ-110, може застосовуватися в схемах, в яких неправильна робота контактів не приводить до небезпечних відмов. Правильність роботи контактів повинна перевірятися схемою дешифратора.

Повний опір обмотки реле ІВГ і споживана потужність такі ж, як і у реле ІМВШ-110. Тому ці реле є взаємозамінними. Після установки реле ІВГ в штепсельну розетку замість реле ІМВШ-110 необхідно зміряти напругу змінного струму на обмотці реле, яке повинне бути в межах, вказаних в регулювальних таблицях. Потім перевіряють правильність і стійкість роботи дешифратора при прийомі кодових сигналів КЖ, Ж і 3 і їх відсутності. Реле ІВГ проходять широкі експлуатаційні випробування на залізниці. На підставі випробувань буде вдосконалена конструкція реле і технологія виготовлення герконів.

РОБОЧЕ МІСЦЕ:

. Вивчити будову реле типу ИВГ. При вивченні будови реле необхідно з'ясувати:

а) яка особливість будови реле типу ИВГ;

б) яке призначення мають вузли та деталі реле типу ИВГ;

в) у чому полягає принцип дії реле типу ИВГ.

. За допомогою випробувального стенду зняти наступні електричні характеристики реле:

а) напруга повного спрацювання реле (Uп);

б) напруга відпускання контакт-деталі реле (Uвід).

. Для перевірки правильності показань необхідно послідовно виконати цикл вимірів три рази. Результати вимірювань занести до таблиці:

Таблиця вимірювань і обчислень

Тип реле

Вимірювання

Електричні характеристики



Uп, В

Uвід, В


1




2




3




Середнє арифметичне




ЗМІСТ ЗВІТУ:

. Накреслити електричну схему реле типу ИВГ та пояснити принцип дії;

. Навести зовнішній вигляд плати реле типу НМШ з нумерацією контактів;

. Привести таблицю вимірювань. Порівняти отримані результати згідно відповідних параметрів випробуваних реле. Дати пояснення щодо розбіжності параметрів.

. Вказати сферу використання реле.

ЛІТЕРАТУРА:

.. Дмитриев В.С. и др. Основы железнодорожной автоматики и телемеханики. - М.: Транспорт, 1988г.- 288.;

.Сороко В.Н., Разумовский Б.А. Апаратура железнодорожной автоматики и телемеханики: Справочник. В 2-х т. -М.: Транспорт, 1981.

Лабораторна робота №8. Тема: «Дослідження будови та зняття електричних і часових характеристик кодових реле»

Мета: Вивчити будову, принцип дії реле типів КДР, КДРШ. Ознайомитися з методикою і зняти електричні і часові характеристики реле.

ЗАГАЛЬНІ ВІДОМОСТІ:

Кодовими реле КДР є електромагнітні реле постійного струму полегшеного типу. Маса реле залежно від типу рівна 470-960 р. По надійності дії вони не відповідають вимогам, що пред'являються до реле I класу надійності, тому при застосуванні цих реле у виконавчих електричних схемах, що безпосередньо забезпечують безпеку руху поїздів, потрібний обов'язковий схемний контроль відпуску і тяжіння якоря.

Найбільше застосування первинне ці реле знайшли в кодовій апаратурі диспетчерської централізації тимчасової коди, звідки і з'явилася назва цих реле. Ці реле широко використовують в дешифраторних осередках числового кодового автоблокування, в дешифраторах автоматичної локомотивної сигналізації, в набірній групі реле систем маршрутно-релейної централізації і в багатьох інших пристроях. На основі кодових реле розроблені трансміттерниє реле для передачі в рейки кодових сигналів автоматичної локомотивної сигналізації.

Магнітна система реле може бути нерозгалуженою (КДР1, КДР1-М і КДР-2) у вигляді Г-подібного сердечника і розгалуженою у вигляді П-образного сердечника (КДРЗ-М). Реле КДР 5-М має розгалужену магнітну систему з великими розмірами сердечника котушки. Буква М в позначенні реле указує на сповільнений характер роботи реле.

Реле типу КДР6-М - повільнодіюче, виконане аналогічне реле КДР5-М з укороченою котушкою і якорем і котушкою для отримання уповільнення на тяжіння і відпуск якоря.

Електромагнітна система реле КДР (мал. 25) складається з сердечника 1, котушки 2, ярма 3 і пластинчастого полегшеного якоря 6. Перемикання контактів здійснюється бакелітовою пластиною 5, жорстко пов'язаною з якорем. При тяжінні якоря бакелітова пластина піднімається вгору і розмикає нижні (тилові) і замикає верхні (фронтові) контакти з рухомими контактами 4 (загальними). Для виключення залипання якоря на ньому є мідний наклеп. У реле КДР3 мідний наклип відсутній, а для виключення залипання зігнутий якір для забезпечення повітряного зазору між якорем, що притягає, і сердечником. У реле КДР-5 і КДР6-М масивний упор з антимагнітного матеріалу прикріплюють до нижньої полиці сердечника і вигинають якір.

Мал. 25 Конструкція реле КДР з нерозвітленною магнітною системою

Контактна система реле КДР складається з однієї - п'яти вертикальних колодок, що набирають з окремих елементарних контактних груп. Кожній елементарній групі, що складається з однієї, - трьох контактних пружин, привласнений певний номер. Контактна група 1 призначена для припаювання виведення обмотки реле. Групи 2 і 3 нормально розімкнені і замикаються при збудженні реле. Контактні групи 5 і 6 нормально замкнуті і розмикаються при спрацьовуванні реле. Групи 4, 7, 9 і 0 мають повні трійники, тобто працюють на перемикання. При цьому групи 4 і 0 мають мостові контакти, у яких при тяжінні якоря спочатку замикаються фронтові контакти, а потім розмикаються тилові, тобто перемикання здійснюється без розриву ланцюга. Контакти в колонках розділяються ізоляційними прокладками. Контакти реле КДР забезпечують 1 млн. комутацій ланцюгів постійного струму 2 А напругою 24 В або ланцюгів змінного струму 0,25 А при напрузі 220 В. При зменшенні вказаних навантажень на 50% реле забезпечує 10 млн. комутацій.

Контакти реле КДР нумерують тризначними цифрами (мал. 26, а): перша цифра указує номер колонки, в якій розташований контакт; друга - номер контактної групи в колонці; третья-тіп контакту: загальний-1, фронтовий-2, тиловий-3. Наприклад, фронтовий контакт, розташований в другій контактній групі третьої колонки, позначається 322. Тут же для прикладу показано позначення мостового контакту (трійник) 221-222-223.

Мал. 26 Контактна система реле КДР

Реле виготовляють згідно з паспортними даними, в яких вказані номенклатурні номери, опори котушок, контактний набір, номінальна напруга, електричні і тимчасові характеристики.

У принципових і монтажних схемах дешифратора автоматичної локомотивної сигналізації контакти реле КДР нумерують з боку монтажу по номеру колонки (перша цифра) і номеру контактної пружини в колонці, вважаючи зверху. Колонки нумерують зліва направо. Наприклад, контакт, розташований в другій зліва колонці на шостому місці (вважаючи зверху), отримує номер 26 незалежно від того, який це контакт - загальний, фронтовий або тиловий. У одній колонці може бути розташовано не більше семи контактних пружин. Застосовують і інші системи позначень контактів.

Реле КДР розміщують, як правило, в осередках або блоках. Монтажні дроти приєднують до контактів реле гарячим паянням. У деяких пристроях використовують реле КДРШ, що мають штепсельне включення з відповідною нумерацією штепсельної колодки (мал.26, б).

Реле типу УКДР мають захисний кожух, а реле КДРТ - посилену контактну групу.

Для отримання уповільнень на тяжіння і відпуск якоря, званих в кодових реле прямим і зворотним уповільненням, встановлюють котушки з мідними каркасами, мідні шайби і втулки. Для отримання прямого уповільнення мідні шайби розміщуються з боку якоря. Зворотне уповільнення (на відпуск) від місця розташування шайб не залежить. Таким чином може бути отримане уповільнення до 0,5 с. Великі уповільнення досягаються установкою конденсаторів.

У локомотивних дешифраторах АЛСН як реле відповідності використовують спеціально розроблене для цього повільнодіюче реле СР. Реле по конструкції аналогічно реле КДР, але має посилену розгалужену магнітну систему з П-подібним корпусом, полюсний наконечник діаметром 40 мм і дві контактні групи 2 ф (або 1 ф, 1 т), що дозволяє отримати уповільнення на відпуск (зворотне уповільнення) 6 з без конденсаторів і до 90 із з конденсатором 1000 мкф.

Повітряний зазор між якорем, що притягає, і сердечником досягається за допомогою антимагнітного наклепу на якорі і масивного упору з антимагнітного матеріалу, прикріпленого до нижньої полиці корпусу. По надійності дії реле СР близько до реле I класу надійності, тому його використовують в локомотивному дешифраторі як реле відповідності, що є найвідповідальнішим реле дешифратора, за допомогою якого перевіряється правильна робота інших реле КДР, вживаних в дешифраторі.

Використовувати як реле відповідності і реле контролю швидкості в локомотивному дешифраторі надійніше реле I класу НМШ, НШ або HP не представляється можливим, оскільки ці реле не розраховані на роботу в умовах вібрації.

У ряді схем автоматики застосовують кодові реле з магнітним блокуванням КДР3-МБ і КДРШ3-МБ. У цих реле після спрацьовування завдяки великому залишковому магнітному потоку сердечника якір залишається в положенні, що притягає, без наявності струму в обмотці. Для того, щоб реле відпустило якір, необхідна дія струму зворотної полярності певного значення. Струм зворотної полярності подається або на іншу обмотку (у двохобмоточному реле), або на резистор на робочу обмотку (у однообмоточном реле). Ці реле є швидкодіючими з розгалуженим П-подібним магнітним ланцюгом, по своїй конструкції вони аналогічні звичайним кодовим.

РОБОЧЕ МІСЦЕ:

Вивчити будову і принцип дії реле типів КДР, КДРШ.

При вивченні будови і принципу дії реле з'ясувати:

а) різновиди контактних груп реле типів КДР і КДРШ

б) взаємодія частин реле при його роботі;

в)способи кріплення з розеткою реле типу КДРШ;

г)будову розгалуженої і нерозгалужений магнітних систем реле;

д)способи одержання уповільнення реле на притягання і відпускання якоря;

. За допомогою вимірювальної валізи типу ИЧ-I зняти наступні електричні і часові характеристики реле:

напруга притягання якоря реле(Uпр)

напруга відпускання якоря реле(Uвід)

час притягання якоря (tпр)

час відпускання якоря (tвід)

. Для перевірки правильності показань випливає весь цикл вимірів, виконати три рази. Дані вимірів занести в таблицю вимірів.

Таблиця вимірювань

Тип реле

Вимірю- вання

Електричні характеристики

Часові характери-тики



Uпр, В

Uвід,В

tnp

tвід


1






2






3






Середнє ариф- метичне






1






2






3






Середнє ариф- метичне






ЗМІСТ ЗВІТУ:

. Накреслити схему магнітного ланцюга реле типу КДР із розгалуженою і нерозгалуженою системами.

.Привести ескіз контактних груп,та нумерацію виводів контактів.

. Привести таблицю вимірів. Порівняти отримані результати по відповідних параметрах випробуваного реле.

. Указати періодичність перевірки реле в експлуатаційних умовах.

ЛІТЕРАТУРА:

.. Дмитриев В.С. и др. Основы железнодорожной автоматики и телемеханики. - М.: Транспорт, 1988г.- 288.;

.Сороко В.Н., Разумовский Б.А. Апаратура железнодорожной автоматики и телемеханики: Справочник. В 2-х т. -М.: Транспорт, 1981.

Лабораторна робота №9. Тема: «Дослідження будови та зняття електричних і часових характеристик трансмітерних реле»

Мета роботи: Вивчити будову, принцип дії реле типу ТШ і особливості контактної системи трансмітерних реле. Ознайомитися з методикою і зняти електричні і часові характеристики реле.

ОСНОВНІ ВІДОМОСТІ:

Трансмітерні реле розроблені на основі кодових реле типу КДРТ, вони мають посилені контакти і використовуються для кодування рейкових кіл (передачі імпульсів струму в рейкові кола). Трансмітерні реле працюють в найбільш важких умовах експлуатації. В системі числового кодового автоблокування вони, як правило, працюють в релейних шафах в умовах зміни температури і вологості повітря в широких межах, перемикаючи значні потужності (до 600 В*А) при реактивному навантаженні. Протягом доби реле спрацьовує приблизно 150 тис. разів, на рік - приблизно 500 млн. разів.

Контактна система трансмітерного реле (крім типу В) має три контактні групи: одну середню на переключення з посиленим контактом і дві крайні зі звичайними контактами. Одна з крайніх груп працює на замикання (фронтовий контакт), а інша - на розмикання (тиловий контакт). Непосилені контакти використовуються в схемі дешифраторної чарунки числового кодового автоблокування. Посилені контакти виконані з металокерамічного сплаву марки СрКд-86-14, контактне натискання не менше 0,25 Н, перехідний опір контакту з урахуванням опору проводів внутрішнього монтажу повинно бути не більше 0,07 Ом. Для виключення вібрації посиленого контакту, що виникає при ударі загального контакту з фронтовим (що могло б призвести до багаторазового довільного розмикання ланцюга і посиленому зносу контакту), фронтова пружина має упорну пластину.

Мал. 27 Схема вімкнення та контактна система трансмітерних реле

Є декілька типів трансмітерних реле, що відрізняються конструкцією, робочою напругою, виконанням контактів і схемним включенням. Реле ТР-ЗА, ТР-ЗБ, ТШ1-65 і ТШ-65В розраховані на номінальну робочу напругу постійного струму 12 В, а відповідні їм по конструкції реле ТР-2000 А, ТР-2000 Б, ТР-2000 В, ТШ1 -2000 і ТШ1 -2000 В з опором обмотки 2000 Ом мають випрямний місток і призначені для роботи від змінного струму з номінальною робочою напругою 110 В. У всіх трансмітерних реле постійного струму всередині кожуха паралельно обмотці включений іскрогасний контур для захисту контактів трансмітера (або реле, через які включається трансмітерне реле) від руйнування. Він складається з конденсатора ємністю 0,5 мкФ і заскленого резистора 300 Ом або з діода і резистора.

У трансмітерних реле всіх типів (крім В) усередині кожуха є також конденсатор ємністю 0,25 мкФ з робочою напругою 1000 В, який слугує для іскрогасіння на посиленому контакті і може бути ввімкнений в необхідних випадках перемичкою на платі трансмітерного реле. Один з виводів конденсатора з'єднаний з контактом 11 посиленого трійника, а другий з виводом 22 (у реле ТР-2000) або 4 (ТР-ЗБ). Для включення іскрогасіння конденсатора необхідно встановити перемичку між виводами 22 (4) і 12. Якщо кодування здійснюється тиловим контактом, то перемичку встановлюють між виводами 22 (4) і 13.

Мал. 28 Схема кодування рейкових кіл

Трансмітерні реле мають металевий або прозорий сополімеровий кожух і роз'ємне контактне з'єднання (крім реле ТР-ЗА). Штепсельні реле ТШ розміщують в кожухах від великих штепсельних реле НШ. Ці реле застосовують в пристроях автоблокування та електричної централізації зі штепсельними реле НМШ.

Реле (комірки) ТР-ЗВ, ТР-2000В, ТШ-65В і ТШ-2000В мають додаткову схемну захист посилених контактів від руйнування, завдяки чому вони більш надійні в експлуатації. Усередині кожуха цих реле поміщено допоміжне іскрогасне реле, а послідовно з конденсатором С1 ввімкнений резистор R1 (40 Ом, 15 Вт), встановлений поза реле. Допоміжне іскрогасне реле И вмикається через тиловий контакт основного трансмітерного реле, тобто є його зворотним повторювачем. Тиловим контактом реле И шунтується резистор у схемі кодування. У момент спрацьовування реле Т і замикання робочої ланцюга реле И утримує якір на уповільненні, і резистор R1 ввімкнений. Потім реле И відпускає якір, і до моменту розмикання контакту реле Т резистор И1 є вимкненим. Таким чином, у процесі замикання і розмикання контакту основного трансмітерного реле за допомогою допоміжного іскрогасного реле при кожному ввімкненні та вимкненні змінюються параметри контура С1-R1. Під час замикання контакту основного трансмітерного реле резистор R1 ввімкнений, обмежуючи струм заряду, а при розмиканні контакту він вимкнений. Такий режим роботи контуру є найбільш сприятливим для бездугової комутації рейкових кіл.

Паралельно обмоткам основного реле Т і допоміжного И в реле ТР-ЗВ підключені іскрогасні контури з діодів і резисторів. Контур в основного реле Т використовується для корекції часу відпускання якоря цього реле. При шунтуванні резистора R3 зовнішньої перемичкою сповільнення на відпускання збільшується приблизно на 0,02 с. У реле ТР-2000 В для корекції часу уповільнення є додаткова обмотка. Замикаючи цю обмотку зовнішньої перемичкою 2-22, можна збільшити уповільнення на відпускання приблизно на 0,02 с.

Для забезпечення взаємозамінності трансмітерного реле типу В і реле ранніх випусків основні ланцюги реле ТР-ЗВ і ТР-2000В введені на ті ж затискач, що і у колишніх реле. При заміні старого реле (наприклад, ТР-ЗБ) новим (ТР-ЗВ) схема буде працювати без додаткового захисту. Для доповнення реле цим захистом необхідно включити реле М (плюсовий затиск підключити до затискача 4); послідовно з конденсатором С1 включити зовнішній резистор R1, Паралельно резистору R1. Включити тиловий контакт 41-43 реле И.

Штепсельні реле ТШ-65В і ТШ-2000В призначені для застосування спільно з малогабаритними штепсельними реле. У цих реле основне і допоміжне реле однакові, тому вони позначаються 1Т і 2Т. Реле мають посилені контакти такого ж типу, як і у реле ТР-ЗВ і ТР-2000В. Будь-яке з двох реле може використовуватися самостійно як реле Т або И. Включення реле з додатковим захистом, а також паралельно з'єднання посилених контактів здійснюються установкою відповідних перемичок на платі реле.

РОБОЧЕ МІСЦЕ:

. Вивчити будову і принцип дії реле типу ТШ.

При вивченні будову і принципу дії реле з'ясувати:

конструкцію реле типів ТШ;

звернути увагу на будову посиленого контакту;

призначення резисторів, конденсаторів, випрямляча, що входять у реле.

. За допомогою вимірювального чемодану типу ИЧ-I зняти наступні електричні і часові характеристики реле:

для трансмітерних реле:

напруга притягання якоря реле по змінному струму (Uпр)

напруга відпускання якоря реле по змінному струму (Uвід)

. Для перевірки правильності показань випливає весь цикл вимірів, виконати три рази. Дані вимірів занести в таблицю вимірів.

Таблиця вимірювань

Тип реле

Вимірю- вання

Електричні характеристики



Uпр, В

Uвід,В


1




2




3




Середнє арифметичне




1




2




3




Середнє арифметичне




ЗМІСТ ЗВІТУ:

.Накреслити принципові схеми реле типів ТШ1-65 і ТШ1-2000В.

.Вказавти призначення кожного елемента.

. Пояснити принцип без дугової комутації.

. Привести таблицю вимірів. Порівняти отримані результати по відповідних параметрах випробуваних реле.

. Указати періодичність перевірки кожного з розглянутих типів реле в експлуатаційних умовах.

Похожие работы на - Основи автоматики та дискретних пристроїв СЦБ

 

Не нашли материал для своей работы?
Поможем написать уникальную работу
Без плагиата!
Без нейросетей!