Кран мостовой электрический с балками коробчатого сечения
Оглавление
1.
Описание конструкции крана
.
Расчет механизма подъема груза
.1
Составление кинематической схемы, выбор кратности полиспаста и крюковой
подвески
.2
Расчет каната
.3
Определение основных размеров и числа оборотов барабана
.4
Расчет крепления каната к барабану
.5
Выбор электродвигателя. Проверка двигателя на нагрев и время пуска
.6
Выбор тормоза
.
Расчет механизма передвижения тележки
.1
Выбор кинематической схемы, размеров ходовых колес и типарельса
.2
Определение сопротивления передвижению
.3
Выбор электродвигателя и редуктора
.4
Выбор тормоза
.5
Расчет узла ходовых колес
.
Расчет механизма передвижения крана
.1
Выбор кинематической схемы, размеров ходовых колес и типа рельса
.2
Определение сопротивления передвижению крана
.3
Выбор электродвигателя и редуктора
.4
Выбор тормоза
.
Определение основных размеров металлоконструкции. Выбор сортамента
.
Приборы безопасности
Библиографический
список
1. Описание конструкции крана
Проектируемый кран служит для подъема,
горизонтального перемещения и опускания грузов различного типа и назначения,
крупногабаритных частей оборудования и установок, строительных конструкций и
т.п.
Основу крана составляет металлоконструкция,
состоящая из несущих балок и концевых балок, которые образуют жесткую
конструкцию, способную выдерживать приложенные нагрузки.
На металлоконструкции смонтированы основные
механизмы крана - механизм подъема груза в виде грузовой тележки, механизмы
перемещения тележки и механизм передвижения самого крана.
Кроме того, там же находятся приборы и аппараты
управления, кабина машиниста крана, вспомогательные устройства и приборы
безопасности.
Рис. 1 - Общий вид мостового крана
Кран перемещается по подкрановым путям,
уложенным на стойках или колоннах цеха или площадки, которую он обслуживает.
Крановый путь представляет собой рельсы, установленные на опоры и закрепленные
с помощью болтовых креплений.
На несущих балках также имеется ходовой путь, по
которому перемещается приводная тележка с механизмом подъема груза. Механизм
снабжен крюковой подвеской и грузозахватными приспособлениями.
В концевых балках смонтированы механизмы
передвижения крана.
Кран имеет световую и звуковую сигнализацию,
местное освещение и токоподвод, который служит для питания электрооборудования.
Механизмы и устройства спроектированы в
соответствии с «Правилами устройства и безопасной эксплуатации грузоподъемных
кранов» и ГОСТ 27584 «Краны мостовые и козловые электрические. Общие
технические условия».
2. Расчет механизма подъема груза
.1 Составление кинематической схемы,
выбор кратности полиспаста и крюковой подвески
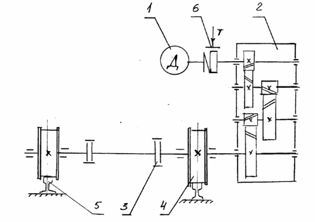
Кинематическая схема механизма подъема
представлена на рис. 2.
Рис. 2 - Кинематическая схема механизма подъема
Вращающий момент от электродвигателя 1 через
зубчатые муфты быстроходного вала 2 и редуктор 3 передается на барабан
4.Барабан имеет двустороннюю нарезку, на которую наматывается канат.
Для проектируемого крана грузоподъемностью Q=6т
выбираем сдвоенный полиспаст (a= 2) кратностью i= 2 [1 табл.10].
Полиспаст образуется барабаном 4, крюковой
подвеской 7 и уравнительными блоками 6. На быстроходном валу установлен
колодочный тормоз 8, а барабан соединяется с тихоходным валом редуктора с
помощью зубчатой муфты 5.
Применением сдвоенного полиспаста обеспечивается
вертикальный подъем и перемещение груза, одинаковая нагрузка на подшипники
барабана и ходовые колеса тележки независимо от высоты подъема груза.
При Q=6т и группе режимов работы механизма
подъема 3К выбираем крюк N14 ГОСТ 6627-66 и укороченную подвеску конструкции
ВНИИПТмаша (рис.3).
Блоки установлены на подшипниках качения и
закрыты защитными кожухами. Уравнительные блоки также расположены на
подшипниках качения и имеют одинаковую конструкцию с блоками крюковой подвески.
Рис. 3 - Подвеска крюковая конструкции
ВНИИПТмаша
Таблица 1 - Основные параметры подвески
|
D2,мм
|
D,мм
|
B,мм
|
b,
мм
|
b ,мм
|
H,мм
|
h,мм
|
|
320
|
405
|
305
|
200
|
125
|
612
|
333,5
|
2.2 Расчет каната
Максимальное натяжение в канате, набегающем на
барабан
,
где Q= 58,86 кН; z - количество ветвей, на
которых висит груз; z= 4; ŋn - к.п.д. полиспаста;
ŋб - к.п.д. блока: принимаем ŋб -0,98,
так как он установлен на подшипниках качения,
Канат выбираем по разрывному усилию по правилам
Ростехнадзора:
где nk - коэффициент запаса прочности; при
группе режимов работы 3К nк= 5,0 [1 табл. 11]
Выбираем канат типа ЛК-3, 6 х 25 двойной свивки
с одним органическим сердечником, ГОСТ 7665-69 диаметром dк = 13 мм с разрывным
усилием каната в целом 82900 Н [2 табл. 1 ].
Маркировочная группа по временному сопротивлению
разрыву 1568 (160).Обозначение каната- Канат 16-Г-1-С-H- 1568(160) ГОСТ
2688-80.
Диаметр блока и барабана по центру наматываемого
каната:
,
где e - коэффициент, зависящий от типа и режима
работы крана; для группы режимов 3К e= 20 [1 табл.12 ]
,
Диаметр блока и барабана по дну канавки:
Диаметр блока крюковой подвески по центру
наматывающего каната: Dпод= 320 мм [3 табл. П. 11 ].
Диаметр уравнительного блока:
2.3 Определение основных размеров и
числа оборотов барабана. Проверка прочности стенки барабана
Длина каната, наматываемого на одну половину
барабана:
Число витков нарезки на одной половине барабана:
+ 2 витка запасных. Принимаем Z= 22 витка.
Длина нарезки на одной половине барабана:
где tн - шаг нарезки барабана tн=16 мм [1
прил.14 ].
Полная длина барабана
,
где lз=4tн - длина участка закрепления каната,
г= b-2hmintgα,
где b - расстояние между ручьями крайних блоков
крюковой подвески b = 200 мм; - расстояние между осью барабана и осью блоков в
крайнем верхнем положении принимаем hmin = 650 мм - учитывая то, что между барабаном
и подвеской находятся уравнительные блоки диаметром 260 мм.г= 200-2· 650 ·tg4˚=
110 мм,
α - допустимый угол
отклонения набегающей на барабан ветви каната от вертикального положения; a=4
.б=
2(352+64)+110=942мм.
Число оборотов барабана:
к - скорость
каната; Vк= i·Vгр= 0,2.2=4м/сгр= скорость подъема груза; Vгр=0,2м/с= 2
кратность принятого полиспаста.
Барабан отлит из серого чугуна марки СЧ15 с
пределом прочности σв= 700МПа.
Толщина стенки барабана определяется из расчета
на сжатие:

где [σсж]
- допускаемое напряжение сжатия; для чугуна СЧ15:
;
где К - коэффициент запаса прочности; для
крюковых кранов К=4,25,
σв - предел
прочности чугуна СЧ15.
[σсж] = 700/4,25=165
МПа
δ= 14939/16.165= 5,7
мм
По условиям технологии изготовления литых
барабанов толщина их стенки должна быть не менее 15 мм и может быть определена
по формуле:
δ=0,02D+10мм=
0,02.325+10=16,5 мм,
Принимаем толщину стенки δ=
18 мм.
Кроме сжатия, барабан испытывает деформацию
изгиба и кручения.
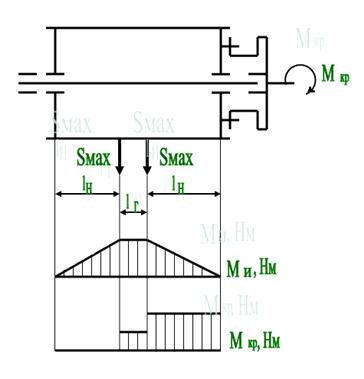
Изгибающий момент будет максимальным, когда
крюковая подвеска находится в самом верхнем положении: lг= 110 мм.
Крутящий момент, передаваемый барабаном:
Изгибающий момент от действия номинального
груза:=Smax·lн= 14939. 0, 352= 5258,5 Нм.н - плечо действия сил от каната,
навиваемого на барабан.
Для определения изгибающих нагрузок составляем
расчетную схему нагружения барабана (рис. 4).
Рис. 4 - Схема нагружения барабана
Суммарное напряжение от изгиба и кручения:
где φ - коэффициент
приведения напряжения: φ=0,75, Wp
- полярный момент сопротивления поперечного сечения барабана при кручении:
Прочность стенки барабана достаточна.
Барабан соединяется с валом редуктора с помощью
зубчатой муфты, а вращается на двухрядных сферических подшипниках, так как
опоры его расположены в разных корпусах (рис. 5).
Рис. 5 - Эскиз барабана
Таблица 2 - Основные размеры барабана
|
L.мм
|
Lбар.мм
|
D,мм
|
B,мм
|
b,мм
|
H,мм
|
R,мм
|
l1,мм
|
l2,мм
|
|
1200
|
942
|
260
|
280
|
240
|
150
|
150
|
100
|
150
|
2.4 Расчет крепления каната к
барабану
Принимаем конструкцию крепления каната к стенке
барабана с помощью прижимной планки, имеющей трапецеидальные канавки. Канат
удерживается от перемещения силой трения, возникающей от зажатия его между
планкой и барабаном двумя шпильками (рис.6).Начиная от планки, предусматривают
дополнительные витки, способствующие уменьшению усилия в точке закрепления
каната.
Натяжение каната перед прижимной планкой:
где e=2,72 - основание натурального логарифма; f
- коэффициент трения между канатом и барабаном f=0,15; α
- угол
обхвата канатом барабана: α=4π.
Рис. 6 - Схема закрепления каната к барабану
кр= 
.
Усилие растяжения в каждой шпильке:
где f1 - приведенный коэффициент трения между
планкой и барабаном; при угле заклинивания в канавке 2β=80º
α1 - угол обхвата
барабана канатом при переходе от одной канавки к другой;=
Суммарное напряжение в шпильке при затяжке
крепления с учетом растягивающих и изгибающих усилий:
,
где
n- коэффициент запаса надежности крепления; n=1,8;- внутренний диаметр шпилек
М12; изготовленных из стали Ст.5; d1 =10,1 мм;
Рu
- усилие, изгибающее шпильки:
Рu=
2 f1N= 2.0,233.1672=779 Н.=2 - количество шпилек;- плечо действия силы Pu; l
=22мм;
σс=
. [σр] -
допускаемое напряжение растяжения для шпилек; [σр]= 120 МПа.
Поскольку
σс<[σр],
прочность крепления обеспечивается при установке двух планок и двух шпилек с
резьбой М12.
Для
предотвращения самоотвинчивания гаек крепления планок они стопорятся отгибными
шайбами. Шайбы отгибаются на боковую грань каждой гайки.
2.5
Выбор электродвигателя и редуктора
Проверка
двигателя на нагрев и время пуска
Мощность
двигателя механизма подъема при установившемся режиме работы и подъеме
номинального груза:
где
ηм - к.п.д.
механизма подъема; ηм =0,85 [1,
рис.34 ]; гр - скорость подъема груза; Vгр= 0, 2 м/с.
Так
как кран работает не только с номинальными грузами, но и с грузами меньше
номинальных, то берем ближайший двигатель меньшей мощности с последующей
проверкой двигателя по нагреву по среднеквадратичной мощности.
Предварительно
принимаем двигатель типа МТН-311-6- переменного тока, напряжением 380 V,
мощностью N = 13 кВт, c частотой вращения вала nдв= 925 об/мин; при ПВ 15 %-
группа режимов работы 3К. [3, табл.II.1.13] (рис.7). Максимальный момент
двигателя Mmax=314 Нм. Момент инерции ротора Iр= 0, 225кгм2.
Угловая
скорость вала двигателя: 

Номинальный
момент двигателя:
Отношение
.
Рис.
7 - Эскиз электродвигателя МТН-311-6
Таблица
3 - Размеры двигателя, МТН 311-10, мм
|
L
|
L1
|
L2
|
L3
|
l
|
B1
|
B2
|
B3
|
C
|
C2
|
H
|
h
|
h1
|
|
823
|
380
|
60
|
301
|
110
|
330
|
73
|
140
|
140
|
160
|
451
|
195
|
25
|
Передаточное число редуктора:
Редуктор механизма подъема выбираем, исходя из
расчетной мощности, числа оборотов двигателя, передаточного числа и режима
работы. Кроме этого, редуктор должен обеспечивать размещение электродвигателя и
барабана.
Принимаем предварительно для механизма подъема
крана редуктор типа Ц2-400-32,42-4М с передаточным числом iр=32,42 и мощностью
на быстроходном валу Nр=60кВт. [1, прил. ХХ XIX] (рис8,табл.4).
Рис. 8 - Эскиз редуктора Ц2-400-32,42-4М
Таблица 4 - Основные размеры редуктора
Ц2-400-32,42-4М, мм
|
Ас
|
Аб
|
Ат
|
А1
|
А2
|
А3
|
М
|
А5
|
В
|
В1
|
В2
|
Н0
|
L
|
L2
|
|
400
|
150
|
250
|
150
|
250
|
500
|
320
|
360
|
380
|
256
|
380
|
265
|
805
|
325
|
Допустимая величина предельного момента,
передаваемая редуктором:
Мпред=ψМр=
1,6 ·9750
=
1,25.9750.77/945=993Нм
где ψ -
значение кратности пускового момента. Для группы режимов работы 3К
ψ= 1,25 [1, табл.14].
Фактическое число оборотов барабана:
;
Действительная скорость подъема груза:
, что допустимо.
Статический момент на валу двигателя при подъеме
номинального груза:
Усилие в канате, свиваемом с барабана:
Статический момент на валу двигателя при
опускании номинального груза:
Время пуска привода при подъеме и опускании
груза:
где Iпр - приведенный момент инерции движущихся
масс;
,
где δ - коэффициент
учета вращающихся масс привода; δ=1,2;
Iр.м - момент инерции ротора двигателя и
муфты:р.м = Iр + Iм = 0,225+0,0763=0,302 кгм2.- масса поднимаемого груза m= 6,0
т= 600 кг;м - передаточное число механизма: iм = iр·i=32,42.2=64,84- радиус
барабана; R
=0,13мпр=
кгм2
Ω - угловая скорость
двигателя; ω= 98,8 рад/с
Мп.ср - средний момент двигателя при пуске:
Поскольку Мп.ср меньше Мпред. для редуктора, то
выбранный редуктор подходит для механизма подъема крана.
Время пуска при подъеме и опускании груза Q:
;
;
Ускорение при пуске поднимаемого номинального
груза:
а=
Вес груза, усилия в канате, навиваемом на
барабан и свиваемом с барабана, статические моменты при подъеме и опускании
груза, моменты инерции, время пуска при подъеме и опускании груза приведены в
табл.5 в соответствии с графиком нагрузки механизма подъема груза для группы
режимов работы 3К (рис.9). [3, прил.4].
Рис. 9 - График нагрузки механизма подъема груза
крана для группы режимов работы 3 К
Среднеквадратичный момент, эквивалентный по
нагреву действительному переменному моменту, возникающему от заданной нагрузки
электродвигателя механизма подъема в течение цикла:
;
где
-
общее время установившегося движения; t
=
=
β - коэффициент, учитывающий
время охлаждения двигателя; для принятой марки электродвигателя β=0,85;
t0 - время пауз: t0=0 [1, стр.78].
Принимаем, что в течение цикла происходит 10
подъемов и опусканий груза в соответствии с графиком нагрузки механизма подъема
(рис.10)
Таблица 5 - Результаты расчета механизма подъема
|
Показатели
расчета
|
|
Груз
|
|
|
Q
|
0,195Q
|
0,05Q
|
|
Вес
груза, Н Усилие в канате, навиваемом на барабан, Н КПД механизма подъема
Усилие в канате, свиваемом с барабана, Н Статический момент при подъеме груза
Мп, Нм Статический момент при опускании груза Моп, Нм Приведенный момент
инерции при подъеме и опускании груза Iпр, кгм2 Время пуска при подъеме
груза, с Время пуска при опускании груза, с Ускорение при пуске поднимаемого
груза, aп, м/с2 Ускорение при пуске опускаемого груза, aоп, м/с2
|
58860
14939 0,85 14480 140,9 98,7 0,364 0,38 0,105 0,51 1,85
|
11448
3040 0,65 3805 24,4 33,4 0,362 0,17 0,13 1,14 1,5
|
2943
746 0,62 724 7,1 4,39 0,36 0,15 0,15 1,3 1,3
|
|
|
|
|
|
|
|
|
Рис. 10 - График нагрузки электродвигателя в
течение цикла
Мэ=
Эквивалентная мощность по нагреву при ПВ= 15 %:
.
Принятый двигатель МТН-311-6 мощностью N= 13 кВт
подходит по нагреву для механизма подъема груза крана при группе режимов работы
3К.
2.6 Выбор тормоза
Тормоз установлен на валу двигателя. В качестве
тормозного шкива использована полумуфта, соединяющая двигатель и редуктор (
рис. 2, поз. 8).
Расчетный тормозной момент:
Мтр= КтМст.т,
где Кт - коэффициент запаса торможения, для
группы режимов работы 3К - Кт= 1, 5 [1, табл.18].
Мст.т - статический момент на валу двигателя при
торможении:
,
тогда Мтр= 1, 5. 100,3=150,5Нм.
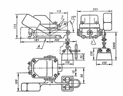
Выбираем тормоз колодочный с приводом от
электрогидравлического толкателя типа ТКГ-200 с тормозным моментом Мт= 300 Нм.
Тормоз настраивается на требуемую величину тормозного момента Мтр= 150,5 Нм,
основные размеры приведены на рис. 11.
Время торможения механизма подъема при подъеме
груза:
.
Время торможения при опускании груза:
.
Рис. 11 - Эскиз тормоза ТКГ- 200
Таблица 6 - Размеры и характеристика тормоза
ТКГ- 200
|
D
|
L
|
l
|
L1
|
B
|
b1
|
b2
|
H
|
h
|
A
|
a1
|
δ
|
d
|
t
|
|
200
|
603
|
198
|
332
|
213
|
90
|
90
|
436
|
170
|
350
|
60
|
8
|
18
|
32
|
3. Расчет механизма передвижения
тележки
.1 Выбор кинематической схемы,
размеров ходовых колес и типа рельса
Механизм передвижения тележки выполнен по схеме,
показанной на рис. 12.
Рис. 12 - Кинематическая схема механизма
передвижения тележки
Вращающий момент от электродвигателя 1 через
редуктор 2 и зубчатые муфты ведомого вала 3 и передается к приводным колесам 4,
которые перемещаются по рельсам 5. На одной из полумуфт установлен колодочный
тормоз 6.
Колеса имеют реборды, предотвращающие сход
тележки с рельсов. Профиль колес - цилиндрический, ширина дорожки качения В=
100 мм [1, прил. LП].
Диаметр цапф ходовых колес d= 60 мм. В качестве
ходового пути принимаем крановые рельсы типы КР70 со скругленной головкой.
Ширина головки рельса b= 30мм. Условие свободного передвижения Δ=100-70=30мм
соблюдается.
Рельсы закреплены на главных балках моста и
имеют ограничители- упоры перемещения хода тележки.
3.2 Определение сопротивления
передвижению
Сопротивление передвижению тележки с номинальным
грузом при установившемся режиме работы определяется по формуле:
,
где Кр - коэффициент сопротивления от трения
реборд колес о рельсы: Кр=2,0 [1, табл.28],
f
- коэффициент трения в подшипниках колеса для сферических роликоподшипников
f=0,020 [1, табл.26],- диаметр цапфы подшипников; d =60мм;т - вес крановой
тележки; Gт= 25000 Н [1, рис.42];
μ
- коэффициент
трения качения колеса по рельсу: μ=0,4 мм [1,
табл.27];ук - сопротивление от уклона пути:
ук=(Q+Gт)α,
где
- α
- расчетный
уклон подтележечного пути α=0,002- для тележки крана.ук= (58860+25000)0,002=168
Н.
Wв
- сопротивление от ветровой нагрузки, Н; Wв=0, т. к. кран работает в помещении
цеха. ст=
3.3
Выбор электродвигателя и редуктора
Двигатель
механизма передвижения тележки крана выбираем по пусковому моменту. Значение
пускового момента должно быть таким, при котором отсутствует пробуксовка
ведущих колес незагруженной тележки относительно рельсов, а коэффициент запаса
сцепления должен быть не менее 1,2.
Для
предварительного выбора двигателя определяем сопротивление передвижению
загруженной тележки в пусковой период:
.
а
- среднее ускорение тележки при пуске привода; а=0,2 м/с (1,табл 29).
Мощность
предварительно выбираемого двигателя:
.т=0,67 м/с
- скорость передвижения тележки;
ψср - средняя
кратность пускового момента=1,6.
Принимаем
электродвигатель типа МТF011-6 мощностью N= 1,7 кВт; nдв= 850об/мин. с
максимальным моментом Мmax= 39 Нм, моментом инерции ротора Iр= 0,021 кгм2.
Угловая
скорость вала двигателя:
.
Номинальный
момент двигателя:
.
Число
оборотов приводных колес:
.
Передаточное
число редуктора:
.
Выбираем
редуктор вертикальный типа ВКН- 280-16 с передаточным числом iр= 16 и мощностью
на быстроходном валу Nр= 3,0 кВт [1, прил. LVШ] (рис. 13, табл.7), схема сборки
1.
Фактическое
число оборотов колеса:

.
Фактическая
скорость передвижения тележки:
.
Величина
отклонения скорости от заданной:
Рис.
13 - Эскиз редуктора ВКН-280-16
Таблица
7 - Основные размеры редуктора ВКН-280-16, мм.
|
Ас
|
Ат
|
Ап
|
Аб
|
А
|
А1
|
В
|
В1
|
Н
|
Н1
|
L
|
l
|
|
280
|
105
|
100
|
75
|
205
|
90
|
150
|
90
|
244
|
122
|
455
|
76
|
Минимальное время пуска двигателя незагруженной
тележки:
,
где ап max - максимальное допустимое ускорение
незагруженной тележки. Для обеспечения запаса сцепления Ксц=1,2 при пуске ее
ускорение должно быть не более значения:
,
где φ - коэффициент
сцепления ведущего колеса с рельсом: φ=0,2 - для
кранов, работающих в помещении;
Время пуска незагруженной
тележки:пх=0,69/0,72=0,96 с.сц-сцепной вес тележки:сц=Gт/2=25000/2=12500Н.
aпmax=
Статический момент сопротивления передвижению
незагруженной тележки, приведенный к валу двигателя:
,
.
Момент инерции подвижных масс тележки, приведенный
к валу двигателя:
,
где Iрм - момент инерции ротора двигателя и
муфты:рм= 0,021+0,0763=0,0972 кгм2пр.х=
кгм2
Средний пусковой момент:
Расчетная мощность двигателя:
.
Принимаем окончательно двигатель типа МТF011-6
мощностью N= 1,7 кВт; nдв= 850об/мин.
Средний пусковой момент двигателя:
Мп.ср=ψсрМн=
1,6. 19,5=31,2 Нм.
Фактическое время пуска двигателя незагруженной
тележки:
.
Фактический запас сцепления ходовых колес:
Фактическое ускорение тележки при пуске:
.
3.4 Выбор тормоза
При торможении тележки без груза допустимое
максимальное ускорение, при котором обеспечивается запас сцепления 1,2, равно:

Время торможения тележки без груза:
.
Допускаемая величина тормозного пути: [1,
табл.31]
.
Допускаемое время торможения:
.
Тормозной момент, исходя из времени торможения:
,
где Мст.т - статический момент сопротивления при
торможении, приведенный к валу двигателя.
,
где
Мст.т=
Требуемый тормозной момент:
Мт=
.
Принимаем тормоз колодочный с
электрогидравлическим толкателем типа ТКГ 160 (рис. 11, табл.8), настроенный на
требуемую величину момента. Тормоз ТКГ- 160 имеет максимальный тормозной момент
Тт.max=200 Нм и диаметр тормозного шкива Dтш= 160 мм.
Таблица 8 - Размеры тормоза ТКГ-160, мм.
|
D
|
L
|
l
|
L1
|
B
|
b1
|
b2
|
H
|
h
|
A
|
a1
|
δ
|
d
|
t
|
|
160
|
490
|
147
|
268
|
201
|
120
|
70
|
415
|
144
|
200
|
90
|
3
|
13
|
15
|
3.5 Расчет узла ходовых колес
Нагрузка на одно ведущее колесо при условии их
одинакового нагружения:
ц - давление на
ведущие колеса от поднимаемого груза.
Расчетная нагрузка на колесо:
Рр=кн кд Рк;
где кн - коэффициент неравномерности
распределения нагрузки по ширине рельса; кн=1,1 для выпуклых рельсов;
кд - коэффициент динамичности нагрузки; при
V<60м/мин, кд>1,0 [1, стр.109].
Рр=21946.1,1=24140 Н.
Контактное напряжение между колесом и рельсом:
,
где кτ- коэффициент,
учитывающий влияние тангенциальной нагрузки; кτ=1,1 для
группы режимов работы 3К.
кr=0,098 при
.-
радиус закругления головки рельса r1=300 мм;
r2 - радиус колеса; r2=125мм [1, табл.33];
Колеса изготовлены из стали 65Г, термообработаны
до твердости НВ=350;
Епр- приведенный модуль упругости; Епр=2,15·105Мпа.
[σк] - допускаемое
контактное напряжение:
;
где σк=26НВ=
=910МПа;пр - приведенное число оборотов колеса:
;
где n1- число оборотов колеса под нагрузкой
Рном,
;
- число часов работы крана с номинальной
нагрузкой; при сроке службы 10 лет машинное время равно:
,
где Кгод - коэффициент годового использования
времени; Кгод=0,5;
Ксут - коэффициент суточного использования
времени; Ксут= 0,33 [1, табл.2].
Тмаш=10.365.0,5.24.0,33= 14454 часа.
Число часов работы определяем в соответствии с
графиком нагрузки механизма подъема крана по данным ВНШПТмаша [3, прил.4] (
рис.9).= 0,4·Tмаш= 5782 часа; h
=
h3=0,3. Т
=4336
часов;
Нагрузка на ведущее колесо при грузе Qном.= Р1=21946Н
Р2=12051/2+0,5.12051/2=9321 Н; Р3=12051/2+0,5.
3150/2=7037Н;
При этих значениях n1=3600.
5782=
14,8.10
оборотов;
= n
=
3600.0,713.3050=1,11.10
оборотов;
тогда приведенное число оборотов
колеса:пр=14,8.10
+1,11.10
(
)
+1,11.10
(
)
=15,2.10
об.
Допускаемое контактное напряжение:
[σк]=910
.
Величина расчетного контактного напряжения:
σк=1,1.0,098
=253,4МПа
< [σк]=
523,6 МПа, т.е. контактная прочность ходовых колес тележки достаточна.
4. Расчет механизма передвижения
крана
.1 Выбор кинематической схемы,
размеров ходовых колес и типа рельса
В соответствии с заданием на проектирование
пролет крана равен 17м.
При пролете крана L>16м рекомендуется
раздельный привод правой и левой стороны моста [1,стр.35], кинематическая схема
которого приведена на рис. 14.
Рис. 14 - Кинематическая схема механизма
передвижения крана
Вал двигателя 2 через зубчатую муфту 3,
объединенную с колодочным тормозом, передает вращение редуктору 5, от которого
вращающий момент через зубчатые муфты 6 передается на ведущие колеса 7.
Колеса стальные, из стали 65Г, двухребордные с
плоской дорожкой качения, термообработаны до твердости НВ=350.
При грузоподъемности Q= 6 т принимаем диаметр
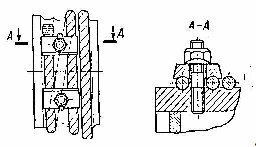
колес Dк= 500 мм, диаметр цапфы d= 110 мм. Колеса установлены на угловых буксах
ОСТ 24.090.09-75 на подшипниках качения (рис. 15). [3,прил.8].
Существует два исполнения букс и колес - с
приводными колесами типа КР2П и с неприводными колесами- типа К2РН.
Рис. 15 - Приводные колеса крана с буксами
Ширина дорожки качения В= 110 мм, наружный
диаметр реборд D= 550 мм. Для подкранового пути выбираем крановые рельсы типа
КР70 ГОСТ 4121-76 с шириной головки рельса b =70мм. Условие гарантированного
зазора по ширине дорожки качения;
Δ= В-b=110-70 =40 мм
выполняется, т.к. Δmin=30мм,
[3,табл.2.12].
кран передвижение тормоз тележка
4.2 Определение сопротивления
передвижению крана
Сопротивление передвижению крана с номинальным
грузом:
,
где Gк - вес крана: при Q= 6,0 т вес крана
принимаем 16 т (160 кН) [1, рис.45],- коэффициент трения в подшипниках; f=0,02,
μ - коэффициент
сопротивления качению, μ=0,8;
Кр - коэффициент трения реборд; Кр=1,5.
.
Сопротивление от ветровой нагрузки Wв=0, т.к.
кран работает на закрытой площадке цеха.
Сопротивление передвижению загруженного крана:
.
а - среднее ускорение крана при пуске;
а=0,2м/с2.
4.3 Выбор электродвигателя и
редуктора
С учетом динамических нагрузок мощность
приводного электродвигателя:
.кр - скорость
передвижения крана; Vкр =1,17 м/с.
Мощность одного двигателя раздельного
привода:=(0,5…0,6) N= 0,6.6,92 = 4,15кВт.
Принимаем электродвигатель крановый типа МТF-
111-6 мощностью N=4,1 кВт (ПВ= 15 %); с частотой вращения nдв = 870 об/мин,
моментом инерции ротора Iр = 0,048 кгм2 [3, табл.II.1.13]. Максимальный момент
Mmax = 85 Нм.
Номинальный момент двигателя:
.
.
Ведущие колеса крана нагружены весом
металлоконструкции, весом кабины управления краном и весом тележки с грузом.
Принимаем вес закрытой кабины машиниста крана
Gкаб=15кН [3, стр.37]. Вес моста крана:
Gм=Gкр-Gкаб-Gт= 160-15-25=120 Кн.
Электродвигатель выбираем по пусковому моменту
механизма передвижения:
.
Для определения параметров, входящих в эту
формулу, вначале необходимо выбрать редуктор.
Число оборотов приводного колеса:
;
Передаточное число редуктора:
.
Расчетная мощность каждого редуктора:р=Кр
N=1,25.4,15=5,18 кВт.
где Кр - коэффициент кратности пускового момента
для режима работы 3К Кр=1,25 [1. табл.14].
Выбираем редуктор типа ВКН -320-20 с
передаточным числом iр=20 и подводимой мощностью к быстроходному валу Nр=5,6
кВт [1, прил. LVШ], (рис.13, табл. 9).
Таблица 9 - Основные размеры редуктора
ВКН-320-20
|
Ас
|
Ат
|
Ап
|
Аб
|
А
|
А1
|
В
|
В1
|
Н
|
Н1
|
L
|
l
|
|
320
|
120
|
100
|
100
|
220
|
105
|
160
|
102
|
292
|
146
|
525
|
81
|
Фактическое число оборотов колеса:
.
Фактическая скорость передвижения крана:
Величина отклонения скорости от заданной:
Для определения нагрузок на ведущие колеса
составляем схему нагружения крана (рис. 16).
Рис. 16 - Схема расчета нагрузок на ходовые
колеса моста
Нагрузки на колеса определяются из уравнений
статики при lкаб=2,4м; lт=2м:
Наименее нагруженными являются колеса опоры А, а
наиболее нагруженными - опоры В. Электродвигатель выбираем по пусковому моменту
механизма передвижения опоры А.
.
Время пуска привода опоры А:
,
где anmax - ускорение при пуске, обеспечивающее
коэффициент сцепления не менее 1,2:
,
где nпр - число приводных колес, nпр=2; nк -
общее число колес моста, nк=4.
=
Приведенный к валу двигателя момент инерции масс,
приходящийся на опорные колеса при ненагруженном кране:
,
где Iрм= Iр+ Iм= 0,225+ 0,0763= 0,301 кгм2.А -
масса крана, приходящаяся на опорные колеса:
.
Статический момент сопротивления передвижению,
приведенный к валу двигателя, определяем при незагруженном кране:
Тогда требуемый средний пусковой момент:
.пх= 1,52 с - время
пуска привода.
Исходя из пускового момента, мощность двигателя:
.
Ψср - средняя
кратность пускового момента, ψср
= 1,6.
Средний пусковой момент двигателя МТF- 311-6
Мп.ср= ψср·Мн=1,6.
45,9=73,44Нм.
Фактическое время пуска привода:
.
Фактический запас сцепления ведущих колес с
рельсами:
Фактическое ускорение привода незагруженной
опоры А:
.
4.4 Выбор тормоза
Для обеспечения запаса сцепления Ксц=1,2 колес с
рельсами механизма передвижения при незагруженном кране максимальное замедление
должно быть не более:
Время торможения привода из условия максимально
допустимого ускорения:
.
Допускаемая величина тормозного пути:
.кр= 1,16 м /с=
69,6 м/мин.
Минимально допускаемое время торможения:
.
Статический момент, приведенный к валу двигателя
при торможении привода при незагруженном кране:
,
где Wст.пх= G
(
Тормозной момент на валу двигателя:
.
Принимаем тормоз колодочный с
электрогидротолкателем типа ТКГ-160 c тормозным моментом Мт=100 Нм, настроенный
на величину требуемого тормозного момента (рис.11, табл.8).
5. Определение основных размеров
металлоконструкции. Выбор сортамента
Металлоконструкция крана состоит из двух главных
и двух концевых балок. Каждая главная балка представляет собой ферму, сваренную
из стандартного прокатного углового профиля №10 ГОСТ 8509-72. Главные балки
соединены с концевыми, которые имеют вид прямоугольников, сваренных из
стального листа. Концевые балки образуют коробчатый профиль, который обладает
высокой прочностью и жесткостью.
В качестве дополнительных конструктивных
элементов используются стандартные прокатные профили в виде уголков равнобокого
и неравнобокого сечения ГОСТ 8509-72, ГОСТ 8510-72, швеллеров ГОСТ 8240-72 и
др.
Металлоконструкция сварная, материал - сталь
Ст.3 кп ГОСТ 380-85.
Высота главных балок:
.
Принимаем для повышения прочности и жесткости Н=
2,5 м.
Высота балки у опоры:
Н1 =(0,6…0,4)Н=(0,6. …0,4).2,5=1,5…1,0м.
Принимаем Н1= 1,2 м.
Длина скосов:с=(0,1…0,2)L= (0,1. …0,2). 35=
3,5….7м.
Принимаем Lc=4м.
Ширина колеи тележки Вт принимается
конструктивно после проработки компоновки тележки и размещения на нем механизма
подъема груза и механизма передвижения.
Изгибающее напряжение в главных балках моста:
,
где
-
изгибающий момент (рис. 17):
Рис. 17 - Схема нагружения балок моста
Мизг=
- момент
сопротивления сечения балок моста крана.
Для балки коробчатого сечения в виде полого
коробчатого прямоугольника (рис. 18):
;
=
Для двух балок:
Wxб =2Wx=9166.104.2=18333.104мм3
Изгибающее напряжение в главных балках:
σизг=1788,3.106/18333.104
=9,75 МПа.
=110МПа
где
МПа
- для стали Ст.3кп, из которой изготовлены балки моста. [6, Т.1, табл.16].
Поскольку
, прочность моста
достаточна.
Рис. 18 - Сечение главных балок
Величина прогиба балок под нагрузкой:
,
где m, M - произведение эпюр от грузовой и
единичной силы (рис.16):
МПа - модуль
упругости II рода;
- момент инерции
поперечного сечения балок.
Для двух балок:
Прогиб главной балки от веса тележки с
номинальным грузом:
.
Поскольку
,жесткость
моста крана также достаточна.
6. Приборы безопасности
Кран мостовой для обеспечения безаварийной
работы оборудуется приборами безопасности. Эти приборы и устройства отключают
приводы механизмов в крайних их положениях, а также при возникновении ситуаций,
близких к предельным состояниям или в аварийных случаях работы.
Механизм подъема груза имеет концевые
выключатели для автоматической остановки привода при подходе крюковой подвески
к упору или к металлоконструкции на расстоянии меньшем, чем 200 мм до упора
(рис. 19).
Рис. 19 - Концевой выключатель
Такие же устройства устанавливаются на
механизмах передвижения крана и грузовой тележки. При этом концевой выключатель
закрепляется таким образом, чтобы отключение двигателя происходило на
расстоянии до упора, равном не менее половины пути торможения. Эти же механизмы
снабжаются отбойными буферами, устанавливаемыми на концевых балках
металлоконструкций для смягчения возможных ударов об упоры в конце пути (рис.
20).
Рис. 20 - Буфер отбойный
Кран оборудуется ограничителем высоты подъема
груза. Конструктивно ограничитель высоты подъема груза выполнен в виде рычага 2
с грузом 3, закрепленного на металлоконструкции и подвешенного на гибком тросе
1, связанном с концевым выключателем (рис. 21). При достижении крюковой
подвеской верхнего положения она нажимает на рычаг, трос ослабляется и контакты
конечного выключателя размыкаются, выключая электродвигатель механизма подъема.
Рис. 21 - Ограничитель высоты подъема груза
Кран также имеет ограничитель грузоподъемности,
который отключает привод механизма подъема груза при превышении веса
поднимаемого груза более, чем на 25%. При превышении допустимой нагрузки планка
нажимает на шток конечного выключателя и отключает привод механизма подъема
груза (рис. 22).

Кран оборудуется звуковым сигналом, хорошо
слышимым в местах подъема и опускания груза. Кабина управления краном,
аппаратные кабины и машинное помещение имеют электрическое освещение, которое
остается включенным при отключении электрооборудования механизмов подъема и
передвижения краном. Все металлические части электрооборудования, не входящие в
электрические цепи и которые могут оказаться под напряжением вследствие порчи
изоляции, должны быть заземлены в соответствии с «Правилами устройства
электроустановок» (ПУЭ).
Крюковая подвеска имеет предупреждающую окраску
в виде чередующихся полос черного и желтого цвета, расположенных под углом 45о.
Все открытые вращающиеся части приводов
механизмов имеют защитные кожухи или ограждения, окрашенные в красный цвет.
Библиографический список
1. Расчеты
грузоподъемных и транспортирующих машин. / Иванченко Ф.К. и др. Вищя школа.
1975. - 520 с.
2. Курсовое
проектирование грузоподъемных машин. / С.А. Казак и др. М. Высшая школа. 1989.
- 319 с.
. Справочник
по кранам. В 2-х т. / Под ред. Гохберга М.М М., Машиностроение. 1988.
. Правила
устройства и безопасной эксплуатации грузоподъемных кранов. М., Металлургия.
1973. - 192 с.
. Подъемно-транспортные
машины. Атлас конструкций / Под ред. М.П. Александрова и Д.Н. Решетова. М.,
1987. - 204 с.
. Решетов
Д.Н. Детали машин. М.: Машиностроение.-1989.496с.
. Анурьев
В.И. Справочник конструктора-машиностроителя. Т.1., М., Машиностроение, 1985 г.