|
Грунт
|
с1
|
с2
|
k
|
M
|
Mq
|
Mc
|
kz
|
|
Супесь
|
1,1
|
1,0
|
1,1
|
0,72
|
3,87
|
6,45
|
1
|
|
Суглинок
|
1,2
|
1,1
|
1,1
|
0,43
|
2,73
|
5,31
|
1
|
Величина сцепления:
Супесь сII=8кПа
Суглинок сII=20кПа
По СП 50-101-2004, п 5.5.11, расчетные показатели g’II принимаются для слоя грунтов ниже
подошвы фундамента, залегающих до глубины b/2 при b<10 м, т.е. 6/2=3м.

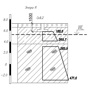
На глубине заложения фундамента d1 = 1,5 (супесь):
кН/м3
γ’II = 19,2
кН/м3
1,1 x
172,4 = 189,6 кПа
На глубине на 0.5м выше нижней границы несущего слоя
(супесь):
кН/м3
Н/м3
1,1 x 245,2 = 269,7 кПа
На глубине на 0.5м ниже верхней границы подстилающего слоя
(суглинок):
кН/м3
Н/м3
1,2 x 238,3 = 285,9 кПа
На глубине на 0.5м выше нижней границы подстилающего слоя
(суглинок):
кН/м3
Н/м3
1,2 x 392,9 = 471,6 кПа
грунт основание фундамент
Вывод
На рассматриваемой площадке под строительство в г. Санкт-Петербург
произведены инженерно-геологические изыскания 5 скважин глубиной 10,5м. Уровень
грунтовых вод находится на глубине 2м. Слои залегают не равномерно с уклоном на
ЮВ, поэтому следует ожидать развития не равномерной осадки здания. Верхний слой
насыпной грунт супесь со строительным мусором мощностью от 0 до 0,85м. Несущий
грунт - супесь легкая пылеватая с растительными остатками мощностью от 0 до
0,8м. По результатам расчета этот грунт является среднесжимаемым, имеет
расчетные характеристики: на глубине заложения фундамента Rf=189,6кПа, R1=269,9кПа, E=14000кПа,φ=24°. Подстилающий слой суглинок
мощностью от 0,4 до 1,8м находится в тугопластичном состоянии, имеет следующие
характеристики R2=285,9кПа, R3=471,6кПа, E=9000кПа,φ=18°, доходит до низа скважин.
2. Расчет осадки фундамента методом послойного суммирования
.1 Определение значения расчётного сопротивления R на уровне заложения
подошвы фундамента при b=6 м
189,6 кПа
γ’II = 19,2
кН/м3
.2 Определение площади подошвы фундамента А и его размеров в плане:
ширины b и длины l
,
Принимаем размеры подошвы фундамента 6´7 м. Следовательно, площадь фундамента составит 42 м2.
.3 Определение абсолютной осадки основания фундамента S и сравнение с
предельной величиной деформации основания Su установленной для
рассматриваемого типа здания или сооружения
Целью расчета является ограничение абсолютных перемещений фундаментов и
подземных конструкций такими пределами, при которых гарантировалась бы
нормальная эксплуатация сооружения и не снижалась бы его долговечность.
Расчет сводится к удовлетворению условия:
S£Su
где S - совместная деформация основания и сооружения, определяемая
расчетом;u - предельное значение совместной деформации основания и
сооружения, устанавливаемое по прил.4 [3]
Определение осадки фундамента методом послойного суммирования.
Осадка основания S с использованием расчетной схемы в виде линейно
деформируемого полупространства определяется методом послойного суммирования по
формуле:
где b=0,8-безразмерный
коэффициент;
szp.i -
среднее, значение дополнительного вертикального нормального напряжения в i-м
слое грунта, равное полусумме указанных напряжений на верхней zi-1 и
нижней zi границах слоя по вертикали, проходящей через центр подошвы
фундамента;i и Еi- соответственно толщина и модуль
деформации i-гo слоя грунта;число слоев, на которое разбита сжимаемая толща
основания.
Для построения эпюр szg и szp разбивают толщу грунта ниже подошвы
фундамента на элементарные слои. При однородном основании высота элементарного
слоя hi может быть принята равной 0,4b, а при неоднородном
основании, принимают hi£0,4b таким образом, чтобы одна из точек находилась на границе
двух различных по составу грунтов.
В нашем случае высота элементарного слоя hi£0,4 *6,0=2,4м.
Вертикальное напряжение от собственного веса грунта на уровне подошвы
фундамента szg 0 при планировке срезкой определится
по формуле:
szg 0=g¢d
szg 0=19,2×1,44=27,6кН/м2.
Вертикальное напряжение от собственного веса грунта szg на границе слоя, расположенного на
глубине z от подошвы фундамента, определяется по формуле
где
gi и hi
- удельный вес и толщина i-го слоя грунта.
Дополнительные вертикальные нормальные напряжения на глубине z от подошвы
фундамента по вертикали, проходящей через центр подошвы фундамента, определятся
по формуле:
szp 0=ap0
где a- коэффициент,
принимаемый по табл. 1 прил. 2 СНиП2.02.01-83* в зависимости от формы подошвы
фундамента, соотношения сторон прямоугольного фундамента h=l/b и относительной глубины x=2z/b.
Нижняя граница сжимаемой толщи основания условно находится на глубине z=Hс
там, где szp=0,5szg.
Для удобства вычисления конечной осадки определяемые величины сведены в
таблицу 4.
Принимаем: pII=189.6кПа
Таблица 4
|
N слоев грунта
|
z, м
|
x=2z/b
|
a
|
szp,i, кПа
|
szpm,i, кПа
|
szg,i, кПа
|
0,5szg,i, кПа
|
szγ=aszg, кПа
|
szγm,i, кПа
|
szpm,i-szγm,i, кПа
|
Еi, МПа
|
Si, м
|
|
0 1
|
0 0,55
|
0 0,18
|
1,000 0,985
|
- 258,1
|
22,6 27,9
|
11,3 13,9
|
22,6 13,7
|
- 18,1
|
- 240
|
14
|
- 0,007
|
|
2 3 4 5
|
2,2 4,53 6,86 9,18
|
0,73 1,51 2,28 3,06
|
0,845 0,517 0,365 0,194
|
160,2 98,0 69,2 36,7
|
237,9 177,1 114,6 72,6
|
47,1 86,5 146,2 226,2
|
23,6 43,25 73,1 113,1
|
19,9 22,4 26,7 21,9
|
16,8 21,1 24,5 24,3
|
221,1 156 90,1 48,3
|
9
|
0,032 0,032 0,016
|
Мощность сжимаемого слоя Нс=6,86м. (0,5*146,2=73,1> 69,2)
Осадку вычисляем по следующей формуле:
3. Определение несущей способности основания
Вертикальную
составляющую силы предельного сопротивления Nu основания, сложенного
нескальными грунтами в стабилизированном состоянии, допускается определять по
формуле:
<#"579627.files/image058.gif">
где
и
-
обозначения те же, что в формуле (12
<#"579627.files/image061.gif"> и
- расчетные значения удельного веса грунтов, кН/м3
(тс/м3), находящихся в пределах возможной призмы выпирания
соответственно ниже и выше подошвы фундамента (при наличии подземных вод
определяются с учетом взвешивающего действия воды);
с1 - расчетное значение удельного сцепления грунта, кПа (тс/м2
);
d - глубина заложения фундамента, м (в случае неодинаковой вертикальной
пригрузки с разных сторон фундамента принимается значение d, соответствующее
наименьшей пригрузке, например, со стороны подвала);
xg, xq, xc -
коэффициенты формы фундамента, определяемые по формулам:
xg = 1 - 0,25/h; xq = 1 + 1,5/h; xc = 1 + 0,3/h,
здесь h = l/b;
l и b - соответственно длина и ширина подошвы фундамента, принимаемые в
случае внецентренного приложения равнодействующей нагрузки равными приведенным
значениям
Таблица 5
|
Угол внутреннего трения грунта Угол наклона к вертикали
равнодействующей внешней нагрузки NγNqNc
|
|
|
|
|
|
20
|
0
|
2,88
|
6,40
|
14,84
|
Коэффициенты формы фундамента:
при
Расчетное
значение удельного веса грунта, находящегося в пределах возможной призмы
выпирания (Hc=6,87 м) ниже/выше подошвы фундамента:
для
супеси: γ
= 16,4 кН/м3, γsb
= 9,8 кН/м3
для
суглинка: γ
= 15,5 кН/м3, γsb
= 8,7 кН/м3
кН/м3
кН/м3
Глубина
заложения фундамента d = 1,44 м
Удельное
сцепление грунта CI =
6 кПа
Подставив
все значения в формулу для определения несущей способности, получим:
24658 кН
Проверка
выполнения условия
Условие
не выполняется. Следует изменить размеры фундамента или глубину заложения. Либо
применить методы усиления грунта.
Список литературы:
1. Механика
грунтов, основания и фундаменты: Методические указания по изучению курса,
задания на курсовой проект и указания по его выполнению (I). Л.: ЛИСИ, 1984. 34 с.
. Механика
грунтов, основания и фундаменты: Методические указания по выполнению курсового
проекта (II). Л.: ЛИСИ, 1985.
. Основания
зданий и сооружений. СНиП 2.02.01-83. М.: Стройиздат, 1985.
. Основания и
фундаменты. СНиП 3.02.01-83. М.: Стройиздат, 1983.