Анализ следящей системы
Содержание
1. Получение уравнения следящей системы
2. Получение передаточной функции системы
3. Исследование системы на устойчивость
3.1 Исследование системы на устойчивость с помощью
критерия Гурвица
3.2 Исследование системы на устойчивость с помощью критерия
Михайлова
3.3 Исследование системы на устойчивость с помощью
критерия Найквиста
3.4 Запас устойчивости. Определение коэффициента
передачи колебательного звена, замыкание системы по номограмме замыкания
4. Исследование системы в динамике: оценка качества
переходного процесса
Заключение
Список использованной литературы
1.
Получение уравнения следящей системы
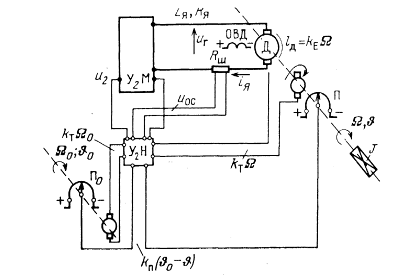
Электромеханическая система, анализ которой необходимо
провести в техническом задании, изображена на рис.1.1.
Рис.1.1 Кинематическая схема следящей системы
В этой системе введены обратные связи по углу поворота
, угловой скорости вращения
и тока
в цепи якоря двигателя.
Будем считать, что все звенья системы являются линейными, за
исключением генератора, т.к. его электродвижущая сила
связана с током возбуждения
нелинейной зависимостью (кривой
намагниченности). Однако, при сравнительно небольших напряжениях якоря
(примерно половина номинального напряжения), зависимость
можно считать линейной, т.к. этот участок
характеристики является линейным.
Таким образом, в данной системе отпадает необходимость в
линеаризации системы, т.к. она уже линеаризована. Для составления уравнений
системы разобьем ее на динамические звенья и найдем их передаточные функции.
Составим уравнение следящей системы, приведенной на рис.1.1.
1) Уравнение двигателя:
для электродвигателя постоянного тока уравнение электрической
цепи, составленной по второму закону Кирхгофа:
(1.1)
имеет вид:
(1.2)
а уравнение механической цепи, составленной на основе второго
закона Ньютона для моментов инерции:
, (1.3)
где момент сопротивления
,
, э. д. с. двигателя
(через
) обозначены соответствующие коэффициенты.
Подставим значения для
в уравнения (1.2), а
(1.3). Получим:
(1.4)
(1.5)
Таким образом, получили систему:
Перейдем в изображения по Лапласу:
Преобразуем систему:
В первом уравнении системы перенесем
в правую часть уравнения:
(1.6)
Выразим
:
(1.7)
. Уравнение обратной связи по угловой скорости:
(1.8)
. (1.9)
Пусть
тогда, уравнение обратной связи по
угловой скорости запишется в виде:
. (1.10)
. Уравнение потенциометрической связи (по углу):
(1.11),
(1.12)
Пусть
Тогда, уравнение потенциометрической связи имеет вид:
(1.13)
. Уравнение обратной связи по току:
(1.14)
. Уравнение усилителя мощности:
(1.15)
(1.16)
Тогда,
Перейдем в изображения по Лапласу, получим:
(1.17)
Структурная схема двигателя имеет вид:
Рис.1.2 Структурная схема двигателя
Далее, необходимо получить передаточную функцию двигателя в
изображениях по Лапласу. Для этого разобьем передаточную функцию на две
подсистемы: электрическую и механическую.
следящая система устойчивость критерий
Рис.1.3 Структурная схема двигателя с выделением
электрической и механической подсистемы
В схеме на рис.1.3,
- передаточная функция электрической подсистемы двигателя,
- передаточная функция механической
подсистемы двигателя в изображениях по Лапласу при нулевых начальных условиях.
Из системы (1.6) очевидно, что
(1.18)
(1.19)
Приведем передаточные функции (1.18) и (1.19) к стандартному виду:
Разделим и числитель и знаменатель дроби на
, тогда получим:
(1.20)
Введем следующие обозначения:
(1.21)
(1.22)
где
постоянная времени электрической
подсистемы двигателя.
Тогда передаточная функция (1.20) примет типовой вид:
(1.23)
Рассмотрим передаточную функцию
(1.19) и приведем ее к типовому виду:
Разделим числитель и знаменатель дроби на
тогда получим:
(1.24)
Введем следующие обозначения:
(1.25)
(1.26)
где
постоянная времени механической подсистемы
двигателя. С учетом введенных обозначений передаточная функция
примет вид:
(1.27)
С учетом проведенных преобразований структурная схема двигателя
примет вид:
Рис.1.4 Структурная схема двигателя
Используя правила преобразования структурных схем, перенесем
местную обратную связь по току в конец структурной схемы:
Рис.1.5 Структурная схема двигателя с
интегратором для выделения
Используя правила преобразования структурных схем, сделаем
обратную связь
единичной.
Рис.1.6. Структурная схема двигателя с единичной
обратной связью
Найдем передаточную функцию
(см. рис.1.6), используя следующую формулу:
(1.28)
Тогда, получим:
где
Раскроем скобки в знаменателе дроби, получим:
(1.29)
Приведем передаточную функцию
к типовому виду, для этого разделим числитель, и знаменатель
дроби на
получим:
(1.30)
Тогда передаточная функция двигателя
может быть получена путем домножения
числителя выражения (1.31) на
Тогда, получим:
(1.31)
Очевидно, что полученная передаточная функция (1.32) представлена
в типовом виде колебательного звена, т. о, получили, что
двигатель является типовым колебательным звеном, и записывается в виде:
(1.32)
Поэтому, можно записать, что
(1.33)
(1.34)
2. Получение
передаточной функции системы
Для дальнейшего анализа следящей системы необходимо составить
функциональную, а затем структурную схему всей системы:
Рис.2.1 Функциональная схема САУ
На основе функциональной схемы, представленной на рис.2.1,
можно составить структурную схему САУ.
Рис.2.2 Структурная схема САУ
Теперь, для нахождения общей передаточной функции замкнутой
системы, необходимо воспользоваться формулой:
(2.1)
в формуле предполагается, что отрицательная обратная связь
является отрицательной;
или в более простой форме:
, (2.2)
где
- передаточная функция прямой разомкнутой
цепи;
- отрицательная передаточная функция
звена, стоящего в цепи обратной связи.
Тогда, для составления передаточной функции САУ, рассмотрим
следующую упрощенную схему:
Рис.2.3 Упрощенная структурная схема САУ
Передаточную функцию
можно определить на основании формулы (2.2), тогда она запишется
в виде:
(2.3)
Т.к.
является передаточной функцией прямой
цепи без интегратора, то ее можно в следующем виде:
(2.4)
Тогда,
будет определяться по формуле:
тогда, в результате преобразования выражения написанного
выражения, получим следующее:
следовательно, окончательно получим:
(2.5)
Сделав отрицательную обратную связь
единичной, получим следующую схему:
Рис.2.4 Упрощенная структурная схема САУ.
Исходя из рис.2.4, передаточную функцию
можно найти по формуле:
(2.6)
Тогда, на основании выражения (2.2), передаточная функция
запишется в виде:

Тогда, упрощая написанное выражение, окончательно получим
следующее выражение для передаточной функции
(2.7)
Тогда, общая передаточная функция разомкнутой цепи будет равна:
(2.8)
Тогда, в соответствии с выражением (2.7) передаточная функция
будет равна:

(2.9)
Преобразуя выражение (2.8), получим следующее:
(2.10)
Обозначим коэффициент передачи прямой цепи через
(2.11)
Тогда, передаточная функция (2.10) примет следующий вид:
(2.12)
Представим полученную передаточную функцию (2.1.11) в стандартном
виде, для этого раскроем скобки в знаменателе.
;
;
Сгруппируем коэффициенты в знаменателе полученной
передаточной функции:
Таким образом, получили передаточную функцию системы,
представленную в стандартном виде:
(2.13)
с коэффициентами:
,
.
Т.о., получили, что наша следящая система описывается уравнением 3
порядка. Теперь, когда есть передаточная функция всей системы, можно
исследовать ее на устойчивость.
3.
Исследование системы на устойчивость
3.1
Исследование системы на устойчивость с помощью критерия Гурвица
Для устойчивости линейной САУ необходимо и достаточно, чтобы при
0 все коэффициенты
передаточной функции замкнутой САУ были
положительными и чтобы были положительными все диагональные определители,
получаемые из матрицы Гурвица:
Рис.3.1.1 Матрица Гурвица
Система находится на границе устойчивости, если
0 и все предыдущие определители матрицы
Гурвица положительны. Последний определитель
матрицы Гурвицы вычисляется по формуле:
(3.1.1)
Поэтому, условие распадается на два:
Ø
0 соответствует апериодической границе
устойчивости;
Ø
0 соответствует колебательной границе
устойчивости.
Для устойчивости систем первого и второго порядков
достаточно, чтобы все коэффициенты характеристического уравнения были
положительными.
Для системы третьего порядка дополнительным условием является
следующее:
(3.1.2)
Для системы четвертого порядка это условие запишется в виде:
(3.1.3)
Исходя из выражения (3.1.2), определим устойчивость системы со
следующей передаточной функцией:
Тогда, характеристический полином замкнутой системы
будет иметь вид:
(3.1.4)
В каноническом виде
для третьего порядка записывается в виде:
(3.1.5)
Тогда, коэффициенты характеристического полинома
равны:
, 
,
(3.1.6)
Т.к. все коэффициенты характеристического полинома положительны,
то по критерию Гурвица для устойчивости системы третьего порядка необходимо и
достаточно выполнение условия:
Тогда, получим:
(3.1.7)
Выразим из формулы (3.1.7) коэффициент усиления прямой цепи.
Тогда, коэффициент усиления прямой цепи может быть найден из соотношения, путем
проведения следующих несложных преобразований:
Отсюда, получаем, что
(3.1.8)
Найдем границы устойчивости:
Ø
Ø
(3.1.9)
Построим одномерную область устойчивости по параметру
Построим двумерную область устойчивости как функцию коэффициента
усиления разомкнутой цепи
от коэффициента передачи тахогенератора:
с помощью программы MathCad
Выражение для граничного коэффициента усиления примет следующий
вид:
(*)
Учитывая то, что мы рассматриваем зависимость коэффициента
усиления прямой цепи
только от коэффициента передачи
тахогенератора, то все остальные переменные полагаются инвариантами по
отношению к рассматриваемой функции:
Ø
Ø
Ø
0,01 с;
0,1 с.
Рис.3.1.3 Зависимость коэффициента усиления прямой цепи от
коэффициента передачи тахогенератора
Здесь, функция
имеет вид:
,
где
соответствует граничному коэффициенту
усиления, а
- коэффициент усиления тахогенератора.
Таким образом, из графика на рис.3.1.3 видно, что чем больше
, тем больше коэффициент усиления прямой
цепи; коэффициент усиления тахогенератора можно увеличивать только в пределах
заштрихованной области.
3.2
Исследование системы на устойчивость с помощью критерия Михайлова
Критерий Михайлова по годографу замкнутой системы позволяет
определить устойчивость этой системы; предполагается, что замкнутая цепь САУ
является устойчивой.
Пусть задан характеристический многочлен линейной системы
-ого порядка
(3.2.1)
с положительными коэффициентами (необходимое условие
устойчивости).
Получим из характеристического многочлена замкнутой системы
(3.2.1) частотный характеристический многочлен по формуле:
, (3.2.2)
тогда, получим:
(3.2.3)
где
(3.2.4)
Годограф начинается при
0 на вещественной положительной полуоси в точке
и при
уходит в бесконечность в соответствующем квадранте. Угол поворота
определяется выражением:
(3.2.5)
где
-порядок характеристического полинома;
- число его корней с положительной
вещественной частью.
Рис. 3.2.1. Годограф
Михайлова для устойчивых систем порядка n.
Из формулы (3.2.4) видно, что при
для
,
,
; для
:
,
при
. Поэтому, годографы для различных
имеют вид, представленный на рис.3.2.1
Эти годографы называются кривыми Михайлова. Практически кривая Михайлова
строится по точкам. Задается несколько разных значений в интервале
.
Для устойчивости линейной системы
-ого порядка необходимо и достаточно, чтобы изменение аргумента
функции
при изменении
равнялось
, т.е.
при
(3.2.6)
Другими словами, для устойчивости линейной системы
-ого порядка необходимо и достаточно,
чтобы годограф Михайлова прошел в положительном направлении (против часовой
стрелки) последовательно
квадрантов, нигде не обращаясь в ноль.
Рассмотрим определение границ устойчивости на основе
критерия Михайлова. Очевидно, что два типа границ устойчивости, приведенные
выше, можно объединить одним равенством
, (3.2.7)
где
- корень характеристического уравнения
0, откуда получаем, что
0 и
0 (3.2.8)
Графически это означает, что одна точка кривой Михайлова должна
пройти через начало координат (рис.3.2.2).
Физически смысл величины
- частота колебаний системы на границе устойчивости. На границе
устойчивости системы все остальные корни, кроме
должны лежать слева от мнимой оси. Поэтому, кроме условия (3.2.8)
требуется, чтобы годограф Михайлова проходила все остальные квадранты, кроме
пропущенного (из-за прохождения через начало координат.
Аналитически это означает, что в дополнение к равенствам
(3.2.8) должен удовлетворяться критерий устойчивости для
следующего многочлена:
(3.2.9)
в котором исключена пара чисто мнимых корней; в случае нулевого
корня:
(3.2.10)
Условие (3.2.10) необходимо проверять только при
, т.к. в противном случае оно переходит
просто в положительность коэффициентов характеристического многочлена
.
Выражение (3.2.8) используется для построения областей
устойчивости системы на плоскости любых параметров А и В (например,
зависимость коэффициента усиления разомкнутой цепи
от постоянной времени). Тогда, выражение
(3.2.8) запишется в виде:
и
. (3.2.11)
Параметры А и В должны входить в коэффициенты выражения (3.2.11).
Таким образом, выражение (3.2.11) представляют собой уравнения границ
устойчивости, изображаемых в виде некоторых кривых на плоскости параметров А,
В. Определим границу устойчивости и устойчивость исследуемой (анализируемой
системы) с помощью критерия Михайлова:
Ø Составим
характеристический полином замкнутой системы:
Ø Найдем
по формуле (3.2.2):
Тогда, получим:
Ø Представим выражение
в виде
Тогда,
,
Ø Тогда, согласно условию
(3.2.11) для границы устойчивости получим:
и
=0
Введем следующие обозначения:
,
.
Тогда, получим систему уравнений:
Тогда, получим, что
(3.2.12)
Подставляя в первое уравнение системы корень
0 получаем, что
0; а второй корень
дает
. (3.2.13)
Сравнивая выражение (*), полученное для границы устойчивости с
помощью критерия Гурвица и критерия Михайлова видно, что они полностью
идентичны, следовательно расчет произведен правильно.
Построим годограф Михайлова, если характеристический многочлен
замкнутой САУ имеет следующий вид:
0
;
;
1
;
1
.
Тогда, годограф Михайлова будет иметь следующий вид
(рис.3.2.3):
Рис.3.2.3. Годограф Михайлова для исследуемой системы
третьего порядка
Из рис.3.2.3 видно, что кривая (годограф) Михайлова проходит
в положительном направ-лении (против часовой стрелки) 3 четверти.
Следовательно, в соответствии с критерием Михайлова система является
устойчивой.
Границы устойчивости, полученные с помощью критерия
устойчивости Михайлова, полностью совпадают с границами устойчивости,
полученные с помощью критерия Гурвица.
Преимущество критерия Михайлова заключается в том, что он
проще и нагляднее и позволяет определять области устойчивости для систем любого
порядка.
3.3
Исследование системы на устойчивость с помощью критерия Найквиста
Частотный критерий устойчивости (критерий Найквиста)
основывается на частотных характеристиках разомкнутой цепи САУ и дает правила,
согласно которым по виду частотной характеристики разомкнутой цепи можно судить
об устойчивости замкнутой.
Различают три случая применения критерия Найквиста:
Ø разомкнутая
цепь устойчива;
Ø разомкнутая цепь системы
находится на границе устойчивости:
Ø разомкнутая
цепь неустойчива.
Система, устойчивая в разомкнутом состоянии. Передаточная функция
разомкнутой цепи записывается в виде:
(3.3.1)
Введем вспомогательную функцию:
(3.3.2)
где
- характеристический многочлен замкнутой
САУ,
- характеристический многочлен
разомкнутой системы.
Подставив
, получим
(3.3.3)
По критерию Михайлова требуется, чтобы
при
было равно
, т.к. предполагается, что замкнутая цепь
устойчива. Т.к. система должна быть устойчивой в замкнутом состоянии, то
при
. Тогда, изменение аргумента
должно быть равно:
(3.3.4)
Это означает, что годограф
не должен охватывать начало координат.
Вернемся к
:
(3.3.5)
которая представляет АФЧХ разомкнутой цепи.
Отсюда, можно сформулировать частотный критерий Найквиста:
если разомкнутая цепь системы устойчива, то для устойчивости замкнутой системы
необходимо и достаточно, чтобы АФЧХ разомкнутой цепи не охватывала точку
.
Построим АФЧХ нашей системы автоматического регулирования.
.
Для построения годографа Найквиста берем следующие значения
переменных:
Ø коэффициент передачи прямой
цепи
100;
Ø коэффициент передачи
0,2;
Ø
;
Ø
60;
Ø
= 0.4;
Ø
40
Тогда, передаточная функция
примет следующий вид:
Годограф
называют диаграммой Найквиста. Диаграмму
можно строить в декартовых (
) или в полярных координатах (рис.3.3.1 а, б).
Рис.3.3.1 а), б). Годограф Найквиста в декартовых и
полярных координатах.
Расстояние от начала координат до точки на диаграмме равно
, а расстояние от критической точки (-1; j0) до точки на диаграмме равно
. В практически реализуемых системах САУ
уменьшается с ростом частоты, хотя не
всегда монотонно, а на высоких частотах стремится к 0.
Слишком близко к критической точке (-1; j0) диаграмма Найквиста проходить не должна, иначе усиление САУ, в
противном случае усиление САУ на этой частоте будет слишком большим, что
приведет к нестабильности системы.
Диаграмму Найквиста обычно строят в логарифмической плоскости в
прямоугольной системе координат для фазы и усиления по петле (на
-плоскости) .
Рис.3.3.2 Годограф Найквиста на логарифмической плоскости
Построим годограф Найквиста на логарифмической плоскости с помощью
программы MathLab 6.5.
Годограф Найквиста в декартовых координатах представлен на
рис.3.3.3.
Рис.3.3.3 Годограф Найквиста
Из рис.3.3.3 видно, что построенный годограф проходит очень далеко
от критической точки, справа от нее, следовательно система является устойчивой.
3.4 Запас
устойчивости. Определение коэффициента передачи колебательного звена, замыкание
системы по номограмме замыкания
Для нормального устойчивого функционирования любая САР должна
быть достаточно удалена от границы устойчивости и иметь достаточной
запас по устойчивости. Необходимость этого, прежде всего, связана со
следующими причинами:
Ø уравнения элементов САР,
как правило, идеализированы, т.е. справедливы лишь при некоторых
допущениях, следовательно, не учитываются второстепенные факторы, которые могут
вносить некоторую малую величину погрешности;
Ø при линеаризации
уравнения системы, погрешности приближения дополнительно увеличиваются;
Ø параметры элементов
определяются с некоторой погрешностью, что обусловлено погрешностями измерения
этих параметров;
Ø параметры однотипных
элементов имеют технологический разброс;
Ø при эксплуатации
параметры элементов изменяются вследствие старения;
Ø в инженерных расчетах в
целях анализа и синтеза очень часто используются асимптотические ЛАХ, что также
вносит некоторую величину погрешности.
Следовательно, устойчивая САР в действительности может
оказаться неустойчивой. В следящих системах запас устойчивости необходим еще
и для хорошего качества регулирования.
О запасе устойчивости можно судить по расположению корней
характеристического уравнения системы: чем дальше левые корни (корни,
лежащие на отрицательной полуоси) отстоят от мнимой оси, тем большим запасом
устойчивости обладает система. Однако, когда порядок системы оказывается
достаточно высоким определение корней характеристического уравнения
является затруднительным. Поэтому,
существуют критерии устойчивости, которые позволяют определять запасы
устойчивости.
Количественный анализ запаса устойчивости зависит от того, какой
критерий устойчивости выбран. В практике инженерных расчетов наиболее широко
используют определение запаса устойчивости на основании критерия Найквиста, по
удалению АФЧХ разомкнутой системы от критической точки с координатами [-1; j0], что оценивается двумя показателями: запасом
устойчивости по фазе
и запасом устойчивости по амплитуде
.
Рис. 3.4.1. Запретная
зона, в которой САР не устойчива.
Для того, чтобы САР имела запасы устойчивости не менее
и
, АФЧХ ее разомкнутой цепи при удовлетворении критерия
устойчивости не должна заходить в часть кольца, заштрихованного на рис.3.4.1
Запретная зона, включающая в себя точку с координатами [-1; j0], ограничена лучами, проведенными из начала осей
координат под углами - 180°+γ и - 180°-γ, и дугами с радиусами
и
, где
определяется соотношением:
(3.4.1)
Если устойчивость определяется по логарифмическим частотным
характеристикам, то для обеспечения запасов устойчивости не менее
и
необходимо выполнение условий:
Ø при
фазовая частотная характеристика
удовлетворяла неравенствам
или
, т.е. она не должна заходить в
заштрихованную область (рис.3.4.2);
Ø при
амплитудно - частотная характеристика
удовлетворяла неравенствам
или
, т.е. не заходила в заштрихованные
области 2 (рис.3.4.2)
Рис. 3.4.2. Область
неустойчивости (запретная зона).
Для абсолютно устойчивой системы запасы устойчивости запасы
устойчивости
и
определяют так, как показано на рис.2.4.3 Запас по фазе
определяется по формуле:
(3.4.2)
где
- частота среза, при которой
Запас по амплитуде определяется
выражением:
(3.4.3.)
Рис. 3.4.3. Определение запаса устойчивости по
логарифмическим частотным характеристикам
Необходимые значения запасов устойчивости зависят от класса
САР и требований к качеству регулирования. При проектировании систем управления
в ТАУ приняты следующие типовые значения запасов устойчивости по
фазе и амплитуде:
Ø запас по амплитуде
=6
20 дБ;
Ø запас по фазе
=30
60°.
Запас устойчивости по амплитуде
показывает на сколько дБ может быть
поднята амплитудная характеристика до границы устойчивости. Подъем
характеристики
на
дБ приводит к увеличению коэффициента усиления разомкнутого
контура разомкнутого контура в
раз. Запас устойчивости по фазе
показывает минимальное угловое расстояние
от фазовой характеристики
до граничных уровней устойчивости на
частотах, где
Для построения ЛАХ всей системы необходимо построить ЛАХ всех
звеньев САУ, сложить их графически, а затем замкнуть получившуюся ЛАХ по
номограмме замыкания.
Найдем ЛАЧХ и ЛФЧХ для передаточных функций
, которые соответственно равны:
(3.4.4)
Тогда, их ЛАЧХ будут соответственно равны:
. (3.4.5)
Их ЛАЧХ будут параллельны оси абсцисс, проводимые соответственно
на уровне
и
(рис.3.4.4).
ФЧХ можно определить по формуле:
0 (3.4.6)

Рис.3.4.4 ЛАЧХ и ЛФЧХ безинерционных звеньев
(усилителей)
Построим ЛАЧХ и ЛФЧХ апериодических звеньев (для двигателя) для
передаточных функций
и
:
и
(3.4.7)
Для построения ЛАЧХ и ЛФЧХ двигателя достаточно построить ЛАХ (и)
этих двух передаточных функций (3.5.7) и просуммировать их ЛАХ (и) графическим
способом.
Звено, передаточная функция которого записывается в виде:
(3.4.8)
где
коэффициент передачи звена,
постоянная времени, называется апериодическим.
Найдем ЛАЧХ для апериодического звена I порядка (для этого сначала необходимо найти АЧХ):
Ø найдем частотную передаточную функцию звена
по формуле:
(3.4.9)
Тогда, получим
(3.4.10)
Для представления частотной характеристики в алгебраической форме,
т. е в виде,
, домножим обе части выражения (3.5.10) на
комплексно сопряженное
Тогда, получим:
(3.4.11)
Ø Найдем амплитудную
частотную характеристику (АЧХ) по формуле:
(3.4.12)
Тогда, получим:
(3.4.13)
Ø Теперь, найдем ЛАЧХ
апериодического звена I порядка
(3.4.14)
Построим асимптотическую ЛАЧХ характеристику по следующим
асимптотам:
Ø
(3.4.15)
Ø
можно принять, что:

(3.4.16)
Зависимость (3.5.15) определяет горизонтальную прямую, а
зависимость (3.5.16) - прямую с наклоном - 20 дб/дек. Чтобы убедиться в этом,
найдем разность
.
Ø Найдем фазовую частотную
характеристику (ФЧХ) по формуле:
(3.4.17)
Тогда, получим:
(3.4.18)
Эти два звена электрической и механической подсистемы двигателя
соединены последовательно, поэтому их ЛАЧХ и ЛФЧХ будут складываться
графически.
Асимптотические ЛАЧХ для звеньев, передаточные функции которых
определяются выражением (3.4.7), представлены на рис.3.4.5 - 3.4.6
Сложив графически две ЛАЧХ, получили то, что изображено на
рис.3.4.7.
Полученные ЛЧХ замыкаются с помощью номограммы замыкания, которая
имеет следующий вид:
Рис.3.4.8 Номограмма замыкания
В итоге, получим следующее:
Теперь, определим ЛАЧХ и ЛФЧХ интегрирующего звена:
(3.4.19)
Для этого, сначала необходимо определить АЧХ и ФЧХ интегрирующего
звена:
Ø определим АЧХ и ФЧХ
интегрирующего звена:
(3.4.20)
A (w) = |W (jw) | =
(3.4.21)
j (w) = arg [W (jw)] =
Тогда, ЛАЧХ будет равна:
(3.4.22)
Определим наклон звена, для этого вычислим приращение
дБ.
ЛАЧХ и ЛФЧХ для интегрирующего звена представлены на рис.
Рис.3.4.10. ЛАЧХ и ЛФЧХ интегрирующего звена
Представим все ЛАЧХ в одной системе координат:
Рис.3.4.12. ЛАЧХ и ЛФЧХ всех звеньев САУ,
изображенных в одной логарифмической системе координат
После сложения всех ЛАЧХ и ЛФЧХ звеньев САУ, представленных
на рис.3.4.12, получаем следующий результат (рис.3.4.13)
Рис.3.4.13. Результирующая незамкнутая ЛАЧХ и
ЛФЧХ всей системы
После замыкания ЛАЧХ и ЛФЧХ по номограмме замыкания и взятия
запаса по фазе 30°, получаем следующее (рис.3.4.14)
Рис.3.4.14. Конечная замкнутая ЛАХ всей системы
4.
Исследование системы в динамике: оценка качества переходного процесса
Устойчивость системы обеспечивает затухание переходных
процессов с течением времени. Однако, требуется, чтобы это установившееся
состояние было достаточно близко к заданному, и, чтобы затухание переходного
процесса было достаточно быстрым, а колебания при этом были невелики.
Поэтому, САУ должна удовлетворять требованиям к качеству
процесса управления, в который входят:
Ø точность системы в установившемся состоянии (определение
установившейся ошибки) для входного сигнала вида
и
;
Ø качество переходного процесса;
Ø время переходного процесса;
Ø перерегулирование.
Все вышеперечисленные критерии качества процесса управления
будем определять на основе непосредственного анализа графика переходного
процесса.
Для того, чтобы найти значение установившейся ошибки,
необходимо знать закон регулирования САУ.
Рис.4.1 Структурная схема системы для определения
установившейся ошибки
с введением передаточной функции регулятора
На рис.4.1 введены следующие обозначения:
- входное воздействие;
- рассогласование (ошибка);
- возмущающее воздействие;
- регулирующее воздействие:
- регулируемая величина;
- передаточная функция регулятора;
- передаточная функция объекта
регулирования (по регулирующему воздействию).
В соответствии с изображенной структурной схемой регулируемая
величина и рассогласование (ошибка) могут быть определены следующим образом:
(4.1)
(4.2)
где
- передаточная функция разомкнутой
системы;
- передаточная функция объекта
регулирования возмущающему воздействию
(здесь
).
С точки зрения теории управления в такой системе можно выделить объект
управления и регулятор. Объект управления обычно представляет собой
устройство, структура и параметры которого жестко заданы, менять их в целях
улучшения характеристик САУ не представляется возможным или можно их изменять,
но в очень узких пределах. Регулятор (управляющее устройство) вводится в
систему для придания ей желаемых качеств. Его структура и параметры могут
варьироваться в достаточно широких пределах. Выходной сигнал управляющего
устройства управляющее воздействие - вырабатывается с учетом полезных и
возмущающих воздействий, а также с учетом того, в каком положении реально
находится система в данный момент.
При этом под законом регулирования - в общем случае законом
управления - понимают функциональную зависимость, в соответствии с которой
управляющее устройство формирует управляющее воздействие
.
Эта зависимость имеет вид
(4.3)
где
- некоторая, в общем случае нелинейная,
функция от ошибки x входного
сигнала Y и возмущающего воздействия f, а также от их производных и интегралов
по времени.
Ограничимся рассмотрением линейных законов, когда управляющее
устройство вырабатывает величину U
(t) в функции ошибки
(4.4)
в соответствии с линейной формой записи
(4.5)
или в операторной форме записи
(4.6)
Во всех дальнейших рассуждениях объект
регулирования будем считать статическим звеном, т.е. звеном, обладающим
передаточной функцией вида
(4.7)
Это означает, что в установившемся режиме
между регулируемой величиной X и регулируемым воздействием U при U = const и равенстве нулю
возмущающих воздействий существует пропорциональная зависимость
(4.8)
где
- коэффициент передачи объекта
регулирования;
Предположим, что система управляется по изодромному закону
с введением производной, т.к. при этом законе регулирования обеспечивается
наилучшее качество управления.
Передаточная функция регулятора
для изодромного регулирования с введением производной
определяется выражением:
(4.9)
Передаточная функция объекта регулирования
имеет вид:
Ø Найдем передаточную
функцию системы по ошибке, которая вычисляется по формуле:
(4.10)
Ø Найдем установившуюся ошибку (
):
0
б)
Ø Найдем
контрольную точку:
где
Тогда, контрольная точка ЛАХ будет равна:
Ø Оценим быстродействие
системы для пропорционального регулятора:
Тогда,
Ø Построим график функции:
Рис. 4.2. Быст-родействие САУ изодромным регулятором с
введением производной
Выводы: изодромное
регулирование с введением производной сочетает в себе качества интегрального,
пропорционального и регулирования по производной, а именно данный регулятор
характеризуется следующими качествами:
ü высокая
точность (влияние астатизма);
ü высокое быстродействие
(особенность пропорционального регулятора);
ü управление по производной приводит к
увеличению запасов устойчивости, т.е. увеличивает скорость реакции системы, ее
быстродействие, уменьшает динамические ошибки
Переходный процесс для исследуемой САУ, полученный м помощью
программы MathLab 6.5, представлен на рис.4.3.
Рис.4.3 График переходного процесса САУ при
единичном ступенчатом воздействии.
По виду переходного процесса видно, что переходный процесс
является затухающим и система переходит в установившееся состояние;
причем из рисунка видно, что установившееся ошибка имеет очень маленькую
величину (при единичном ступенчатом воздействии система стремится к единице).
Время переходного процесса определяется временем,
за которое процесс входит в 5% диапазон установившегося значения. По рис.4.3
видно, что установившемся значением является значение 1,0. Тогда, время будет
определяться точкой, равной 0,09∙0,95 = 0,0855. Точка, которая
соответствует значению 0,0855 показана жирной точкой на рис.4.3 Тогда, абсцисса
этой токи определит время переходного процесса, которое будет равно:
0,095 с.
В принципе, для следящей системы время переходного процесса
зависит от той нагрузки, которую она вращает. Так, если это башня танка, то
время переходного процесса должно лежать в пределах от единиц мкс до десятых
долей секунд. Если нагрузка у следящей системы отслеживает скажем изменение
температуры то время переходного процесса должно находиться в интервале от 4 с
до 8 с и т.д. Т.к. в ТЗ не задано требуемое время переходного процесса, то мы
не можем адекватно оценить получившейся результат.
Время задержки
определяется начальной нелинейностью характеристики, т.е. это время
обуславливает инерционность "разгон" САУ для слежения за объектом.
Тогда, время задержки будет равно
0,08 с.
Из рис.4.3 видно, что система является апериодической,
следовательно выброса нет. Из рис.4.3 видно, что для приведенной апериодической
системы
, поэтому перерегулирования
(4.11)
Заключение
Задачи, которые должны были быть решены в контексте данной
курсовой работы являлись следующие:
Ø составить уравнение
заданной в ТЗ системы по приведенному виду кинематической схемы;
Ø вычленить составные
звенья системы и определить их функциональное назначение;
Ø по выделенным звеньям САУ
и их назначению составить передаточные функции типовых звеньев, входящих в
состав САУ;
Ø на основе полученных
передаточных функций звеньев САУ, составить структурную схему всей системы;
Ø уметь преобразовывать
отдельные блоки структурной схемы и всю структурную схему, если это требуется;
Ø с помощью структурных
преобразований добиться получения единичной обратной связи в том блоке, где это
необходимо;
Ø уметь привести звено САУ
к типовому виду;
Ø по полученной структурной
схеме получить передаточную функцию всей системы;
Ø по полученной
передаточной функции исследовать систему на устойчивость с помощью критерия
Гурвица, Михайлова и Найквиста;
Ø определить границы и
области устойчивости;
Ø уметь выводить и
оперировать частотными характеристиками типовых звеньев, в частности ЛАХ;
Ø обеспечить запас
устойчивости с помощью ЛАХ;
Ø построить все ЛАХ для
каждого звена системы и определить устойчивость системы по полученной в
результате графического сложения конечной ЛАХ, замкнутой с помощью номограммы
замыкания;
Ø определить качество
переходного процесса методом непосредственного анализа переходной
характеристики;
Ø определить
значение установившейся ошибки.
Все поставленные задачи были успешно решечены; для
исследования исходной системы применялись как классические методы анализа
(метод частотных характеристик), предполагающих анализ САУ вручную, т.к. и
программа MathLab 6.5, которая была использована для построения годографа
Найквиста, переходного процесса и логарифмических частотных характеристик; для
построения годографа Михайлова была использована программа Microsoft Excel.
В результате проведенного анализа было установлено, что
система является устойчивой, коэффициент передачи системы был выбран таким
образом, чтобы обеспечить требуемый запас по фазе; однако, на мой время
переходного процесса получилось приемлемым, но не желательным.
Список
использованной литературы
1.
Бесекерский В. А, Попов Е.П. Теория систем автоматического регулирования / В.А.
Бесекерский, Е. П, Попов. - М.: "Наука", 1972. - 768 с.
.
Попов Е.П. Теория линейных систем автоматического регулирования и управления:
Учеб. пособие / Е.П. Попов. - М.: "Наука", 1989. - 304 с.
.
Макаров И.М., Менский Б.М. Линейные автоматические системы: Элементы теории,
методы расчета и справочный материал / И.М. Макаров, Б.М. Менский. - М.:
"Машиностроение", 1982. - 504 с.
.
Никулин Е. А, основы теории автоматического управления: Частотные методы
анализа и синтеза систем / Е.А. Никулин. - С. - Петербург.: "БХВ -
Петербург", 2004. - 640 с.
.
Лурье Б.Я., Энрайт П. Дж. Классические методы автоматического управления / Б.Я.
Лурье, П. Дж. Энрайт. - С. Петербург: "БХВ - Петербург", 2004 - 640
с.