|
№
|
Параметр
|
Единица измерения
|
Значение
|
|
1
|
Номинальное питающее напряжение
|
Un, B
|
|
|
2
|
Диапазон выходного напряжения
|
U, B
|
|
|
3
|
Диапазон выходной частоты
|
Гц
|
|
|
4
|
Номинальный ток
|
In, A
|
|
|
5
|
Ток перегрузки
|
Im, A
|
|
|
6
|
Номинальная мощность двигателя
|
кВт
|
|
|
7
|
Диапазон регулирования
|
|
|
|
8
|
Время пуска
|
tp, c
|
|
|
9
|
Время торможения
|
tb, c
|
|
|
10
|
Задающее напряжение
|
Uz, B
|
|
|
11
|
Разрешающая способность
|
Гц
|
|
|
12
|
Статическая ошибка скорости вращения при изменении
|
сетевого напряжения
|
%
|
|
|
|
нагрузки
|
%
|
|
|
|
температуры
|
%
|
|
|
13
|
Максимальная температура радиатора
|
С
|
|
|
14
|
Охлаждение
|
|
|
|
15
|
Устойчивость к долговременной работе
|
t, час
|
|
|
16
|
Несущая частота выходного сигнала
|
кГц
|
|
|
17
|
К.П.Д.
|
%
|
|
|
18
|
Степень защиты
|
|
|
|
19
|
Габаритные размеры
|
Мм
|
|
|
20
|
Масса
|
кг
|
|
5. ПРОЕКТИРОВАНИЕ СИСТЕМЫ АВТОМАТИЧЕСКОГО УПРАВЛЕНИЯ
.1 Разработка математической модели автоматизированного электропривода
, (5.1)
Где
U1,U2,i1,i2,y1,y2 -напряжения, токи и потокосцепления обмоток статора (индекс1)
и ротора (индекс 2); R1,R2,L1,L2- активные сопротивления и индуктивности фаз обмоток
статора и ротора; L12
-взаимная индуктивность между обмотками статора и ротора и наоборот; W-
электрическая скорость ротора;M -электромагнитный момент машины; i2 -величена
комплексно сопряженная ; m- число фаз обмотки; pn - число пар
полюсов машины; Im- мнимая часть комплексного переменного.
Эти
уравнения в скалярной форме имеют вид:
, (5.2)
где
y1U,y1V,y2U,y2V,-проекции векторов
статора и ротора на оси U, V.
Уравнения
электромагнитного момента машины могут иметь различную форму в зависимости от
используемых переменных состояния машины. В частности, когда в качестве
основных переменных выбраны токи и потокосцепления статора и ротора,
принимаются следующие три формы записи момента (5.3)
Выражения
(5.1- 5.3) дают возможность получить уравнения, записанные в любых осях. При
описании электромеханических процессов, имеющих место в машинах переменного
тока. Используются в основном три вида скорости координатных осей: wк=o; wк=w; wк=w0.
(5.3)
Для
описания процессов в асинхронных двигателях с частотно-векторным управлением
целесообразно выбрать wк=w0, значительно упрощающей расчеты. При этом используется
запись в осях X.Y и уравнения (5.1- 5.3) имеют тот же вид, но с заменой
wк скоростью w0 и индексов u ,v
соответствующими индексами X.Y. Координатная система X,Y
может вращаться с различными скоростями w0 ,определяемыми
тем, по вектору какой переменной сориентирована система координат. В
устанавливающемся режиме скорость w0 является синхронной скоростью АД (w0=2pf1).
Правильный
выбор вектора переменой состояния машины, относительно которого производятся
ориентирование системы координат, позволяет упростить дифференциальные
уравнения электрической машины и синтез системы регулирования.
Переход
от обобщенной машины к реальной трех фазной асинхронной машине осуществляется с
помощью уравнений координатных преобразований и замены параметров обобщенной
машины реальными фазными значениями параметров.
Координатные
преобразования уравнений реальной машины уравнением обобщенным называются
•прямыми, а наоборот, обратными. Формулы координатных преобразований получаются
при условии постоянства мощностей обеих машин. Они выводятся для любых
переменных, записанных в любых осях. Например, формулы прямого преобразования
токов статора (i1А i1В, i1С) в
фазах А, В, С к осям a,b обобщенной машины имеют
следующий вид:
(5.4)
Формулы
обратного преобразования:
(5.5)
где
КС=2/3- согласующий коэффициент, обеспечивающий выполнение
инвариантности мощности при преобразовании переменных.
Для
осуществления векторного управления короткозамкнутым асинхронным двигателем ось
х,у целесообразно ориентировать по направлению результирующего ротора y2. При
этом система координат X,Y будет вращаться в пространстве со скоростью поля
ротора, за которую и принимается скорость поля ротора W0. Таким образом, будем иметь соотношения:
(5.6)
Дифференциальные
уравнения имеют вид :

, (5.7)
где
U1X,U1Y,i1X,i1Y -
проекции вектора напряжения и тока статора двигателя на оси X,Y; y2 -модуль
результирующего вектора потокосцепления ротора;
W, W0, W2,. -
круговая частота скольжения ротора относительно поля ротора.
Математическая
модель асинхронного двигателя может быть получена на основании уравнений (5.7).
Представим третье и четвертое уравнения (5.7) в виде:
(5.8)
Подставляя
их в первое и второе уравнения (5.7) после преобразований получим операторные
изображения проекций напряжений статора:
(5.9)
Здесь
ТЭ =LЭ/RЭ - эквивалентная
постоянная времени статора;
-
эквивалентное сопротивление цепи статора;
- эквивалентная
индуктивность цепи статора.
Составляющие правых частей уравнений (4.7)
(5.10)
представляют собой внутренние связи асинхронного двигателя, которые могут
быть скомпенсированы в блоке развязки системы векторного управления, либо
реализованы внутри структурной схемы двигателя.
Полученные уравнения (5.7)и (5.9) могут быть использованы для построения
полной структурной схемы двигателя. Для этой цели перенесем в левой части
уравнений (5.7) составляющие (5.8), которые представляют собой дополнительные
напряжения суммирующиеся с напряжением статора на входах каналов U1X и U1Y.
Получим:
(5.11)
На
основании этих уравнений может быть определена ПФ
и
. При
компенсации внутренних связей ПФ имеет вид
(5.12)
Для
построения структурной схемы асинхронного двигателя должны быть определены
следующие ПФ звеньев.
ПФ
зависимости между моментом М и током
(5.13)
ПФ
интегрирующего звена, определяемая уравнением движения :
(5.14)
где
MС и J -
момент инерции системы приведенный к валу двигателя. Из уравнения (6.7) получим:
(5.15)
В
главной цепи контура регулирования потокосцепления ротора кроме звена KM включается звено ,преобразующее ток статора i1X
в потокосцепление ротора y2.
(5.16)
Синхронную скорость двигателя можно определить из уравнения:
(5.17)
Помимо
главных цепей системы регулирования потокосцепления и скорости на структурной
схеме двигателя изображены внутренние связи. Входными координатами для них
являются U1X, U1Y,
U2X, U2Y,
соответственно, выходными координатами y2, i1X, i1Y,
W, W0 .
Полученная
структура АД представляет собой сложную систему взаимосвязанных цепей
управления. Однако она позволяет сравнительно просто исследовать динамические
свойства двигателя при задающих и возмущающих воздействиях и осуществить
определение параметров двигателя методами моделирования.
Структурная схема может быть в значительной мере упрощена за счет
компенсации в системе регулирования воздействий, определяемых внутренними
связями двигателя при использовании блока развязки (БР).
На основании выше изложенного составим структурную схему модели АД (рис.5.1).
Рис.5.1. Структурная схема модели АД.
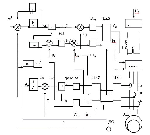
Функциональная схема автоматизированного электропривода, представленая на
рис.5.2., содержит неуправляемый выпрямитель В, фильтр LC на его выходе, АИН, от которого питается двигатель М.
Для формирования контуров тока служат регуляторы тока РТX и РТY, а так же датчик тока, измеряющий мгновенные значения фазных
токов i1A, i1B в фазах А и В. эти сигналы
преобразуются функциональным преобразователем ПК1 в ортогональную неподвижную
систему координат α, β в соответствии с выражениями
;
.
Сформированные
в ПК1 сигналы i1α и i1β поступают в координатный преобразователь ПК2, где
преобразуются величины токов i1x, i1y
во вращающейся со скоростью ωk
ортогональной системе координат x, y. В координатный преобразователь ПК2 поступает также
сигнал, пропорциональный углу θ0. Этот угол, полученный интегрированием скорости ωk,
представляет собой угол между вектором потокосцепления и осью α неподвижной системы координат α, β. По значению угла θ0
осуществляется координатное преобразование из координат α, β в систему координат x, y
путём векторного поворота:
Сигнал
обратной связи по скорости ротора ω получается на выходе датчика скорости BR. Для
формирования сигнала обратной связи по потокосцеплению Ψ2
используется косвенный метод его оценки на основании величины i1x.
На
выходе регуляторов тока РТX и РТY формируются сигналы управления инвертором Ux, Uy. В устройстве векторного поворота ПК3 они
преобразуются в неподвижную систему координат:
Полученные
сигналы управления Uα, Uβ преобразуются устройством ПК4 в трёхфазную систему
сигналов управления инвертором:
Рис.5.2.
Функциональная схема электропривода.
.2
Расчёт параметров объекта управления
Используемые координатные преобразования позволяют выделить в системе два
независимых канала регулирования: потокосцепления и скорости.
Определим
номинальный момент двигателя:
Определим
время пуска двигателя:
где
Рассчитываем номинальный момент двигателя:
Номинальный
ток фазы двигателя:
Рассчитываем
индукционное сопротивление намагниченного контура:
Найдём
индуктивность цепи статора:
.
Найдём
индуктивность цепи ротора:
Найдём
значение взаимоиндукции:
,
где
.
Тогда:
Рассчитаем
эквивалентную индуктивность цепи статора:
Найдём
эквивалентную постоянную статора:
Произведём
синтез системы управления АД с АИН.
Операторное
уравнение выпрямителя:
Операторное
уравнение фильтра:
Контур
тока включает в себя объект второго порядка описываемый передаточными функциями
звеньев Кф и КВ.
Используя
модульный оптимум определим передаточную функцию разомкнутого
нескорректированного контура тока:
(5.18)
В
этом случае при модульном оптимуме будем иметь желаемую передаточную функцию в
виде:
(5.19)
Разделив
(4.19) на (4.18) получаем передаточную функцию регулятора тока:
где
;
где
pk=1
- число пар полюсов;
(5.20)
Следовательно,
регулятор тока ПИ.
где
Кп - коэффициент усиления преобразователя:
kот - коэффициент обратной связи по току:
Тогда:
(5.21)
Определим
передаточную функцию замкнутого контура тока:
(5.22)
Передаточная функция разомкнутого нескоректированного контура скорости
имеет вид:
(5.23)
Подставим
выражение (4.22) в (4.23) получим:
(5.24)
Желаемая
передаточная функция контура скорости имеет вид:
(5.25)
Разделив
выражения (5.25) на (5.24) получаем передаточную функцию регулятора скорости:
(5.26)
Следовательно
регулятор скорости П.
где
кос- коэффициент обратной связи по скорости
Тогда:
В
системе регулирования скорости АД с подчинённой обратной связью по току i1β применяется локальная система стабилизации
потокосцепления ротора в которой применена подчинённая обратная связь по току i1α. Использование компенсационных связей в системе
стабилизации потокосцепления ротора обеспечивает условие автономности. Это
условие даёт возможность выполнить синтез регуляторов потока и тока i1α независимо от координат системы стабилизации
скорости. Аналогичное условие автономности применимо и при синтезе регуляторов
скорости и тока i1β. Контуры регулирования токов i1α и i1β являются одинаковыми.
Передаточная
функция разомкнутого нескорректированного контура потока:
(5.27)
Желаемая
передаточная функция контура потока имеет вид:
(5.28)
Разделив
выражение (4.28) на (4.27) получаем передаточную функцию регулятора потока:
(5.29)
Следовательно
регулятор потока ПИ.
где
.
Тогда:
Структурная
схема электропривода представлена на рис.5.3.
Рис4.3. Структурная схема электропривода.
. РАЗРАБОТКА ИММИТАЦИОННОЙ МОДЕЛИ АВТОМАТИЗИРОВАННОГО ЭЛЕКТРОПРИВОДА
Используя синтез системы произведенный в пункте 4, составим имитационную
модель с помощью программы MatLab
5.3.
Имитационная модель электропривода представлена на рис.5.1.
7. АНАЛИЗ ДИНАМИЧЕСКИХ ХАРАКТЕРИСТИК ЭЛЕКТРОПРИВОДА
Графики представлены на рис. 8. для минимального момента нагрузки и
максимального соответственно. За максимальный момент нагрузки примем момент при
подъёме с грузом, а за минимальный при опускании без груза.
Как видно из графиков, отработка скорости происходит точно с заданием.
При этом, анализируя графики при максимальном и минимальном статическом
моменте, можно сделать вывод, что статизм механической характеристики составляет
около5%. Это значение вполне удовлетворяет требованиям, предъявляемым к
системе.
Рис 7.1 График ω от t
(максимальная нагрузка).
Рис 7.2 График ψ2 от t (максимальная нагрузка).
Рис 7.3. График М от t
(максимальная нагрузка).
Рис. 7.4. График с выхода регулятора скорости (максимальная нагрузка).
Рис 7.5. График с выхода регулятора потока (максимальная нагрузка).
Рис 7.6. График I1x от t (максимальная нагрузка).
Рис 7.7. График I1y от t (максимальная нагрузка).
Рис 7.8. График с выхода регулятора тока в канале стабилизации скорости
(максимальная нагрузка).
Рис 7.9. График с выхода регулятора тока в канале стабилизации
потокосцепления (максимальная нагрузка).
Рис 7.10 График ω от t
(минимальная нагрузка).
Рис 7.11. График М от t
(минимальная нагрузка).
Рис 7.12. График I1x от t (минимальная нагрузка).
8. ОХРАНА ТРУДА
.1 Техника безопасности
Опасными основными производственными факторами в данном ТК являются
вращающиеся и движущиеся части механизма “Стенда” (ременная передачи,
исполнительное устройство) и электрический ток.
Для предупреждения травматизма при работе необходимо, чтобы планировка
участка обеспечивала свободный, удобный и безопасный доступ обслуживающего
персонала к “Стенда”, основному и вспомогательному технологическому
оборудованию, к органам управления и аварийного отключения всех видов
оборудования, входящих в его состав. Для обеспечения безопасности лиц,
обслуживающих “Стенда”, “Стенд” оснащается оградительными, предохранительными,
блокирующими и другими защитными устройствами. В данном “Стенде” предусмотрены
конечные и аварийные (если конечные датчики не сработают) датчики.
Электрооборудование “Стенда” оснащается пусковой аппаратурой, исключающей
самопроизвольное включение при восстановлении внезапно исчезнувшего напряжения
независимо от положения органов управления к этому моменту. Электробезопасность
“Стенда” обеспечивается изготовлением электрооборудования в соответствии с ГОСТ
12.2.007.0-75, ГОСТ 12.2.007.14-75 [9], ГОСТ 12.1.019-79 [7] и соблюдением
правил ПУЭ [22] при их эксплуатации. В частности необходимо произвести защитное
зануление ПК согласно ГОСТ 12.1.030-81 [8]. Обеспечить надежную изоляцию всех
токоведущих частей.
В случае повреждений изоляции токоведущих частей возможно попадание
человека под фазное напряжение.
При установке стационарных блокировок и ограждений они обеспечивают
проход человека в ограждаемую зону только через места, оборудованные
соответствующими устройствами, и исключать возможность падения (вылета и т. п.)
объектов манипулирования . Ограждения окрашивают по ГОСТ 12.4.026-76 [11] (в
данном случае в желтый цвет), а рабочее пространство ПК обозначают сплошными
линиями желтого цвета шириной 50-100 мм. Вход в зону ограждения блокируется с
системой управления, осуществляющей остановку ПК при входе человека в эту зону.
На дверь навешивают знак «Вход воспрещен», выполненный по ГОСТ 12.4.026-76
[11].
Эксплуатация ПК, проводится в соответствии с требованиями ГОСТ
12.2.072-82 [10].
Для персонала, обслуживающего технологический комплекс, должны быть
разработаны и утверждены в установленном порядке инструкции по охране труда в
которых приводят обязанности обслуживающего персонала, безопасные приемы и
методы работы при обучении, наладке, ремонте ПК, формы организации контроля за
мероприятиями и средствами обеспечения безопасности, рациональные режимы труда
и отдыха персонала, обслуживающего данный ПК.
В инструкцию по эксплуатации включают следующие разделы.
· Общие требования безопасности. Указываются назначение и
характеристики ПК, особенности его привода, характеристика опасных и вредных
производственных факторов, действующих на работающих, требования по обеспечению
взрыво и пожаробезопасности, условия допуска лиц к выполнению работы, а также
ответственность работающего за нарушение требований инструкции.
· Требования безопасности перед началом работы. В частности
необходимо указать на то, что оператор должен проверить исправность
оборудования, приспособлений и инструмента, ограждений, сигнализации,
блокировочных и других устройств, защитного заземления, вентиляции, провести
пробный цикл работы на холостом ходу, провести тестовую проверку
функционирования частей комплекса. Особо внимание при этом уделяется
блокировочным устройствам, которые должны срабатывать в соответствии с
электрической схемой.
· Требования безопасности во время работы. Указываются способы
и приемы безопасного выполнения работ, правила использования технологического
оборудования, приспособлений и инструментов.
· Требования безопасности в аварийных ситуациях. Отражаются
порядок безопасного отключения и действия персонала при возникновении опасных,
критических и аварийных ситуаций, которые могут сформировать несчастный случай
или аварию.
· Требования безопасности по окончанию работы. Указывается
порядок отключения и остановки ПК, переключения его на ручной режим, записей в
журнале о техническом состоянии, передачи ПК по смене.
· Требования безопасности, безопасные приемы и методы работы
при обучении, проведении наладочных, ремонтных и профилактических работ.
· Требования к организации контроля за безопасной работой.
Указывается, что контроль за исправностью оборудования и средств защиты на ПК,
соблюдением работающими правил безопасности труда осуществляют ИТР цеха, отдел
охраны труда предприятия совместно со службой, проводящей контроль за
оборудованием с ПК.
Расчет защитного заземления заключается в
определении основных его параметров - числа, размеров и размещения вертикальных
электродов, а также длины горизонтальных соединительных шин, при которых общее
сопротивление растеканию тока не превысит соответствующее, регламентируемое ПУЭ
значение. В электроустановках напряжением до 1000 В сопротивление заземляющего
устройства не должно превышать 4 Ом. При мощности источника питания менее 100
кВА заземляющие устройства могут иметь сопротивление не более 10 Ом.
Сопротивление растеканию зависит от геометрических размеров элементов
заземлителя, глубины заложения, удельного сопротивления грунта.
Контроль за состоянием заземляющего
устройства проводят регулярно не реже одного раза в год в период наименьшей
проводимости грунта. Если окажется, что сопротивление заземляющего устройства Rзу больше нормируемого, то
его следует привести в соответствие с нормой. Уменьшить сопротивление можно
путем солевой обработки грунта вокруг заземлителя, увлажнения грунта или
забивки дополнительных электродов. Сопротивление растеканию защитного
заземления контролируют при помощи измерителей сопротивления заземления типов
МС-08, М416 и др.
Зануление. Как известно, трехфазные сети
переменного тока могут работать как с изолированной, так и с заземленной
нейтралью. В таких сетях напряжением до 1000 В защита персонала от поражения
электрическим током осуществляется занулением.
Занулением называется преднамеренное
электрическое соединение с нулевым защитным проводником металлических
нетоковедущих частей, которые могут оказаться под напряжением .
Защитный эффект зануления заключается в
уменьшении длительности замыкания на корпус, а следовательно, в сокращении
времени воздействия электрического тока на человека. Это достигается
соединением металлических корпусов электроустановки с нулевым проводом питающего
трансформатора. Такое соединение превращает любое замыкание на корпус в
короткое замыкание, при котором срабатывает максимальная токовая защита
(плавкая вставка или автоматический выключатель), отключая поврежденную
электроустановку от сети.
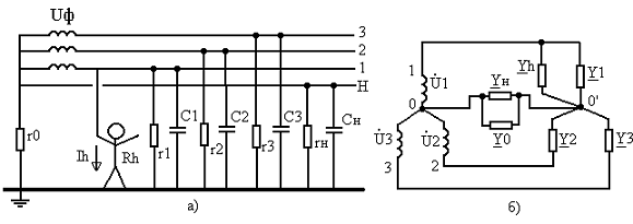
В сети с занулением (рис. 30) следует
различать нулевой защитный проводник (НЗ) и нулевой рабочий проводник (HP). Нулевым защитным
проводником называют проводник, соединяющий зануляемые части с заземленной
нейтральной точкой генератора или трансформатора. Нулевой рабочий проводник служит для
питания электроприемника, и он тоже подключен к заземленной нейтрали источника
питания.
Для обеспечения надежного и быстрого
отключения поврежденной электроустановки сила тока короткого замыкания должна
достигать определенного значения, которое зависит от сопротивления фазного и
нулевого защитного проводников. В соответствии с этим, первое требование ПУЭ в
отношении выполнения зануления определяет, что проводимость фазных и нулевых
защитных проводников, должна быть выбрана такой, чтобы при замыкании на корпус
возникал ток короткого замыкания. Превышающий не менее чем в 3 раза номинальный
ток ближайшей плавкой вставки или уставку тока регулируемого расцепителя
автоматического выключателя.
Рис.8.1.
Принципиальная схема заземления. Потенциальная кривая
.
Расчет тока, проходящего через тело человека при однофазном прикосновении
к фазному проводу трехфазной четырехпроводной сети 380/220В с заземленной
нейтралью при благоприятных и неблагоприятных условиях.
Рис. 8.2. Прикосновение человека к фазному проводу трехфазной
четырехпроводной сети с глухозаземленной нейтралью (а - схема сети; б -
эквивалентная схема)
На рис.11.2. показаны рассматриваемая сеть и ее эквивалентная схема в
момент прикосновения человека к фазному проводу.
В этом случае напряжение, приложенное к телу человека, прикоснувшегося к
фазе 1, в комплексной форме определяется формулой
(11.1)
Ток,
проходящий через тело человека, равен:
(11.2),
где
Y1, Y2, Y3, Yн,
Y0, Yh - полные проводимости изоляции
фазных и нулевого проводов относительно земли, заземления нейтрали и тела
человека, См;ф - фазное напряжение, В;
а
- фазный оператор трехфазной системы, учитывающий сдвиг фаз:
.
,
где
w=2pf - угловая частота, с-1;
f - частота тока, Гц.
Рассмотрим
расчет для двух режимов работы сети: нормального и аварийного.
При
нормальном режиме работы сети проводимость фазных и нулевого проводов
относительно земли по сравнению с Y0 имеют малые значения и с
некоторым допущением могут быть приравнены к нулю, т.е.
Y1=
Y2= Y3=
Yн=0.
В этом случае формулы (11.1) и (11.2) значительно упрощаются. Так,
напряжение прикосновения в действительной форме будет:
(11.3)
или
, (11.4)
а
ток через человека, А,
. (11.5)
Согласно
требованиям «Правил устройства электроустановок» (ПУЭ) наибольшее значение r0
составляет 60 Ом; сопротивление же тела человека не опускается ниже нескольких
сотен Ом. Следовательно, можно пренебречь значением r0.
При
аварийном режиме, когда одна из фаз сети, например фаза 3 (рис.11.3), замкнута
на землю через относительно малое активное сопротивление rзм, (11.1)
имеет вид:
. (11.6)
Рис.8.3
Прикосновение человека к фазному проводу трехфазной четырехпроводной сети с
заземленной нейтралью при аварийном режиме
Учитывая,
что Yзм=1/rзм, Y0=1/r0, Yh=1/Rh,
получим напряжение прикосновения в действительной форме:
В. (11.7)
Ток
через человека:
А. (11.8)
Для
случая нормальной работы примем, что r0=4 Ом; Rh=1000 Ом;
r1=r2=r3=rн=r=104 Ом; С1=С2=С3=Сн=C=0,1
мкФ (Xc=32*103 Ом).
Так
как проводимости каждой фазы и нулевого провода весьма малы по сравнению с
проводимостью заземления нейтрали, то ток через тело человека можно рассчитать
по формуле (11.5):
Ih=220/(1000+4)=219 мА.
В случае аварийного режима при rзм=100 Ом ток через тело
человека будет:
226 мА.
При
rзм=0,5 Ом ток через тело человека равен 362 мА.
Таким
образом, прикосновение человека к исправному фазному проводу сети с заземленной
нейтралью в аварийном режиме более опасно, чем при нормальной работе.
8.4 Пожарная безопасность
В соответствии со ОНТП 24-88 [19] данное производство по пожарной,
взрывной и взрывопожарной опасности можно отнести к категории Д. Категория Д -
это производства, в которых обрабатываются негорючие вещества и материалы в
холодном состоянии. Согласно СНиП 2.01.02-85 [26] здание, в котором
предполагается размещение данного робота, относится ко 2-й степени
огнестойкости. Ко 2-й степени огнестойкости относятся здания с несущими и
ограждающими конструкциями из естественных или искусственных каменных
материалов, бетона или железобетона с применением листовых или плитных
негорючих материалов. В покрытиях зданий допускается применять незащищенные
стальные конструкции. Согласно указанному СНиП 2.01.02-85 допускается
использовать один эвакуационный выход, если число работающих соответствует
приведенному в таблице 14.
Таблица 11.1
|
Степень огнестойкости здания
|
Предельное число эвакуируемых человек с одного этажа здания
при числе этажей
|
|
2
|
3
|
4 и более
|
|
II
|
70
|
35
|
15
|
Ширина эвакуационного прохода составляет не менее 1 м., коридор или
переход в другое здание - не менее 1,4 м. Ширина лестничных маршей не менее
ширины выхода на лестничную площадку с наиболее населенного этажа, но не менее
1 м. Максимальное расстояние от наиболее удаленного рабочего места до
эвакуационного выхода составляет 50 м.
Для предотвращения распространения огня во время пожара с одной части
здания на другую устраивают противопожарные преграды в виде стен, перегородок,
дверей, окон, люков, клапанов. Все виды кабелей прокладываются в металлических
коробах до распределительных щитов или стоек питания.
Помещение, в котором располагается робот должно быть оборудовано
первичными средствами пожаротушения. В качестве таких средств можно применять
углекислотные и порошковые огнетушители, предназначенные для тушения различных
материалов установок под напряжением до 1000В (например, ОУ-2А, ОХП-10, ОК-10).
9. ЭКОНОМИЧЕСКОЕ ОБОСНОВАНИЕ ТЕХНИЧЕСКИХ РЕШЕНИЙ
Расчет технико-экономических показателей осуществляется на основе анализа
сравнительных технических данных двух альтернативных систем электропривода.
Экономическая оценка базируется на принципе минимальных расходов: минимальных
начальных затрат, эксплуатационных затрат, затрат электроэнергии. Наиболее
целесообразным по техническим соображениям принят электропривод постоянного
тока. В качестве альтернативной системы можно выбрать систему ПЧ-АД.
Технические данные двигателей сравниваемых систем приведены в табл.12.1.
Двигатель для альтернативной системы выбран аналогично двигателю
постоянного тока.
Таблица 12.1
Технические данные двигателей сравниваемых систем
|
Номер варианта
|
Первый вариант: Привод постоянного тока
|
Второй вариант: Привод переменного тока
|
|
Тип двигателя
|
2ПО132LУХЛ4
|
4А100S2УЗ
|
|
Мощность, кВт
|
5,5
|
4
|
|
КПД, %
|
0,83
|
0,865
|
|
Частота вращения, об/мин
|
3000
|
3000
|
Начальные затраты определяются путем расчета капитальных вложений,
которые состоят из сметной стоимости электропривода, стоимости
пускорегулирующей аппаратуры, стоимости монтажных работ,
транспортно-заготовительных расходов и плановых накоплений монтажной
организации.
Наиболее дорогостоящими составляющими электропривода являются двигатель и
преобразователь. Таким образом, сметная стоимость электропривода:
для первого вариантаэп1 = kдв1+kп =
700000+2040000 = 2740000руб.,
где kдв1 = 700000 - стоимость электродвигателя (ДПТ), руб.;п1
= 2040000 - стоимость преобразователя, руб.;
для второго варианта
эп2 = kдв2+kп2 = 175000+3060000 = 3235000руб.,
где kдв2 = 175000 - стоимость электродвигателя (АД), руб.; п2
= 3060000 - стоимость преобразователя (ПЧ),руб.
Стоимость пускорегулирующей аппаратуры определяется как определенная
часть (12%) стоимости преобразователя. Тогда:
для первого варианта
пр1 = 0,12×kп1=0,12×2040000=244800руб.,
для второго варианта
пр2 = 0,12×kп2
= 0,12×3060000 = 367200руб.,
Стоимость монтажных работ вычисляется отдельно для электропривода и
рабочего механизма. Для электропривода эту величину можно принять равной 6% от
стоимости электропривода kэп, для рабочего механизма - 5% стоимости
электропривода. Таким образом стоимость монтажных работ:
для первого варианта
мр1 = (0,06+0,05)×kэп1 = (0,06+0,05)×2740000 = 301400руб.,
для второго варианта
мр2 = (0,06+0,05)×kэп2 = (0,06+0,05)×3235000 = 355850руб.,
Транспортно-заготовительные расходы составляют 2% от суммы стоимости
электропривода и стоимости монтажных работ:
для первого варианта
тзр1 = 0,02×(kэп1+kмр1)
= 0,02×(2740000+301400) = 60828руб.,
для второго варианта
тзр2 = 0,02×(kэп2+kмр2)
= 0,02×(3235000+355850) = 71817руб.,
Для наглядности выполненный расчет капитальных вложений для обоих
вариантов сведен в табл.12.2.
Таблица 12.2.
Расчет капитальных вложений
|
Источники затрат
|
Вариант 1 Привод постоянного тока.
|
Вариант 2 Привод переменного тока.
|
|
Стоимость, руб.
|
Стоимость, руб.
|
|
1. Электродвигатель
|
840000
|
450000
|
|
2. Преобразователь
|
2040000
|
3060000
|
|
3. Пускорег. аппаратура
|
244800
|
367200
|
|
4. Монтажные работы
|
301400
|
355850
|
|
5.Транспортно -заготовительные расходы
|
60828
|
71817
|
|
6. Суммарные кап. вложения
|
2740000
|
3235000
|
При расчете эксплуатационных затрат важное значение имеет величина
периода, за который производится расчет. При сравнении приводов постоянного и
переменного тока ограничимся периодом 1 год.
Годовые эксплуатационные расходы - это суммарные затраты на электропривод
и рабочий механизм, необходимые для эксплуатации механизма в течении года и
выпуска годового объема продукции, т.е. себестоимость эксплуатации механизма.
Годовые эксплуатационные расходы в общем случае включают в себя стоимость
потребленной электроэнергии, амортизационные отчисления и годовые затраты по
эксплуатации электрической части установки.
Затраты на электроэнергию определяются количеством энергии, потребляемой
за год, номинальной мощностью двигателя, а также тарифной ставкой на
электроэнергию. Для расчета энергии, потребляемой за год, нужно знать суммарное
время работы электропривода за год, которое определяется коэффициентом
использования:
исп = (ПВ× tраб.см
) /(tсм·100%)=(100×8)/(8·100) = 1 ,
где ПВ - продолжительность включения установки,%;раб.см -
продолжительность работы установки за смену,ч.;см - число рабочих
часов за смену.
Зная коэффициент kисп можно определить число рабочих часов
установки в году:
Тг = Траб.дн×nсм× tсм× kисп = 253×1×8×1 = 2024ч.,
где Траб.дн - число рабочих дней в году;см - число
рабочих смен в сутки;
Энергия, потребляемая за год, определяется по формулам:
для первого варианта
Эг1 = Pдв.н1×Тг / hн1 = 5,5×2024 /
0,83 = 13412 кВт·ч.,
где Pдв.н1,hн1 -
номинальные параметры двигателя постоянного тока (табл.12.1);
для второго варианта
Эг2 = Pдв.н2×Тг / hн2 = 4×2024 /
0,865 = 9359,5кВт·ч.,
где Pдв.н2,hн2 -
номинальные параметры асинхронного двигателя (табл. 12.1).
Таким образом, затраты на электроэнергию:
для первого варианта:
э1= Эг1× Cосн,
э1 = 13412×73,5 =
985782руб.,
где Сосн - тарифная ставка, руб./кВт×ч.(основная оплата );
для второго варианта:
э2= Эг2× Cосн,э2 = 9359,5×73,5 = 687926руб.,
Амортизационные отчисления составляют 9.5 % от сметной стоимости
электропривода. Тогда для первого варианта:
а1 = 0,095×kэп1
= 0,095×2740000 =
260300руб.,
для второго варианта:
а2 = 0,095×kэп2
= 0,095×3235000 =
307325руб.,
где kэп2 - сметная стоимость асинхронного электропривода, руб.
Издержки на эксплуатацию оборудования включают в себя множество
составляющих. Оборудование электроприводов обоих вариантов является
ремонтируемым, оно проходит планово-предупредительные ремонты, периодичность и
объем проведения которых регламентируется сметой планово-предупредительных
ремонтов. Кроме того оборудование нуждается в регулярном техническом
обслуживании, требующем также определенных затрат. Таким образом, затраты на
ремонтно-эксплутационное обслуживание оборудования можно определить как сумму
затрат на заработную плату ремонтных рабочих, стоимости материалов для ремонта
и обслуживания, общецеховых и общезаводских расходов.
Заработная плата ремонтных рабочих определяется количеством времени,
необходимым для проведения ремонтно-эксплутационного обслуживания электрической
части оборудования, которая в свою очередь зависит от норм трудоемкости ремонта
и технического обслуживания оборудования. Всю систему электропривода можно
разделить на 4 основные части: двигатель, преобразователь, трансформатор и
пускорегулирующая аппаратура. Для каждой из этих частей отдельно находится
трудоемкость ремонта и технического обслуживания. Затем эти величины
суммируются. Для расчета трудоемкости требуется определить плановую
продолжительность ремонтного цикла и межремонтного периода, число ремонтов в
год и т.д.
Плановая продолжительность ремонтного цикла (ремонтный цикл - наработка
энергетического оборудования, выраженная в годах календарного времени между
двумя капитальными плановыми ремонтами):
для электродвигателя постоянного тока:
Тпл.1дв= Ттабл.дв×bк×bр×bо=9×0,75×2×0,85 = 11,5 лет,
где Ттабл.дв - продолжительность ремонтного цикла для
электродвигателей;
bк -
коэффициент, учитывающий уменьшение срока службы коллекторных машин;
bр -
коэффициент, определяемый сменностью работы оборудования;
bо -
коэффициент, учитывающий уменьшение ремонтного цикла машин, отнесенных к
категории основного оборудования;
для асинхронного электродвигателя:
Тпл.2дв= Ттабл.дв×bр×bо = 9×2×0,85 = 15,3 года,
для трансформатора:
Тпл.тр = Ттабл.тр×bо = 9×0,85 = 6,8 года,
где Ттабл.тр -- продолжительность ремонтного цикла для
трансформаторов;
для тиристорного выпрямителя
Тпл.вып = Ттабл.вып×bо = 10×0,85 = 8,5 года,
где Ттабл.вып - продолжительность ремонтного цикла для
тиристорных выпрямителей;
для преобразователя частоты:
Тпл.пр = Ттабл.пр×bо = 6×0,85 = 5,1 года,
где Ттабл.вып - продолжительность ремонтного цикла для
преобразователей частоты.
Плановая продолжительность межремонтного периода (межремонтный период -
наработка энергетического оборудования, выраженная в месяцах календарного
времени между двумя плановыми ремонтами):
для двигателя постоянного тока
пл.1дв= tтабл.дв×bк×bр×bо = 9×0,75×2×0,7 = 9,45 мес.,
где tтабл.дв - величина межремонтного периода для двигателя ;
для асинхронного электродвигателя
пл.2дв= tтабл.дв×bр×bо=9×2×0,7 = 12,6 мес.,
для трансформатора
пл.тр = tтабл.тр×bо=6×0,7=4,2 мес.,
где tтабл.тр - продолжительность межремонтного периода для
трансформаторов;
для тиристорного выпрямителя
пл.вып= tтабл.вып×bо = 24×0,7 =
16,8 мес.,
где tтабл.вып - продолжительность межремонтного периода для
тиристорных выпрямителей;
для преобразователя частоты
пл.пр = tтабл.пр×bо = 18×0,7 =
12,6 мес.,
где tтабл.пр - продолжительность межремонтного периода для
преобразователей частоты.
По полученным величинам можно рассчитать количество капитальных и текущих
ремонтов в расчете на 1 год. Количество капитальных ремонтов в год:
для двигателя постоянного тока
Мк.р.1дв=1/Tпл.1дв = 1 / 11,5 = 0,087,
для асинхронного электродвигателя
Мк.р.2дв=1/Tпл.2дв = 1 / 15,3 = 0,065,
для трансформатора
Мк.р.тр=1/Tпл.тр=1 / 6,8=0,147,
для выпрямителя
Мк.р.вып=1/Tпл.вып=1 / 8,5 = 0,118,
для преобразователя частоты
Мк.р.пр=1/Tпл.пр=1 / 5,1= 0,196.
Количество текущих ремонтов в расчете на 1 год определяется аналогично:
Мт.р.1дв = 0,106×Мт.р.2дв = 0,08×Мт.р.тр = 0,238,
Мт.р.вып = 0,06×Мт.р.пр = 0,079.
По заданному количеству ремонтов в год, а также по заданной норме
трудоемкости (табличная величина) определяется годовая трудоемкость ремонтов.
Годовая трудоемкость капитальных ремонтов электрических машин рассчитывается по
формулам:
для двигателя постоянного тока
Тк.р.1дв = Мк.р.1дв × Нк.р.дв × kw×kк = 0,087×32×1,1×1,8 = 5,51чел.-часа,
где Нк.р.дв - норма трудоемкости капитальных ремонтов для электродвигателей
заданной мощности;w - поправочный коэффициент, учитывающий частоту
вращения электродвигателя;к - коэффициент, учитывающий увеличение
трудоемкости эксплуатации коллекторных машин;
для асинхронного двигателя
Тк.р.2дв = Мк.р.2дв × Нк.р.дв × kw = 0,065×32×1,1 = 2,3чел.-часа.
Для трансформатора, тиристорного выпрямителя и преобразователя частоты
годовая трудоемкость капитальных ремонтов рассчитывается следующим образом:
Тк.р.тр = Мк.р.тр × Нк.р.тр = 0,147×88 = 12,94чел.-часа,
Тк.р.вып = Мк.р.вып × Нк.р.вып = 0,118×35 = 4,13чел.-часов,
Тк.р.пр = Мк.р.пр × Нк.р.пр = 0,196×50 = 9,8 чел-часов,
|
где
|
Нк.р.тр - норма трудоемкости капитального
ремонта для трансформаторов ;
|
|
Нк.р.вып и Нк.р.пр - нормы
трудоемкости капитлаьного ремонта выпрямителей и преобразователей частоты
соответственно .
|
Годовая трудоемкость текущих ремонтов для соответствующих типов
оборудования определяется аналогично трудоемкости капитальных ремонтов:
Тт.р.1дв = Мт.р.1дв × Нт.р.дв × kw×kк = 0,106×7×1,1×1,8 = 1,47чел.-часа,
Тт.р.2дв = Мт.р.2дв × Нт.р.дв × kw= 0,08×7×1,1 = 0,62чел.-часа,
Тт.р.тр = Мт.р.тр × Нт.р.тр = 0,238×17 = 4,05чел.-часа,
Тт.р.вып = Мт.р.вып × Нт.р.вып = 0,06×10 = 0,6чел.-часа,
Тт.р.пр = Мт.р.пр × Нт.р.пр = 0,079×15 = 1,19чел.-часа,
где Нт.р.дв, Нт.р.тр, Нт.р.вып и Нт.р.пр
- нормы трудоемкости текущего ремонта для различных типов оборудования
(находятся по тем же таблицам, что и для капитального ремонта).
Для пускорегулирующей аппаратуры годовая трудоемкость капитального
(текущего) ремонта принимается равной 25% от трудоемкости капитального
(текущего) ремонта электропривода, которое в свою очередь складывается из
трудоемкости ремонта двигателя, трансформатора и преобразователя:
для электропривода постоянного тока
Тп.р.к.р.1 = 0,25×(Тк.р.1дв+Тк.р.тр+Тк.р.вып)
= 0,25×(5,51+12,94+4,13) = 5,64чел.-часа,
Тп.р.т.р.1 = 0,25×(Тт.р.1дв+Тт.р.тр+Тт.р.вып)
= 0,25×(1,47+4,05+0,6) = 1,53чел.-часа;
для электропривода переменного тока
Тп.р.к.р.2 = 0,25×(Тк.р.2дв+Тк.р.пр) = 0,25×(2,3+9,8) = 3,03чел.-часа,
Тп.р.т.р.2 = 0,25×(Тт.р.2дв+Тт.р.пр) = 0,25×(0,62+1,19) = 0,45чел.-часа;
Трудоемкость технического обслуживания оборудования принимается равной
10% от нормы трудоемкости текущего ремонта оборудования без учета поправочных
коэффициентов. Таким образом, годовую трудоемкость обслуживания оборудования
можно определить по формулам:
для электропривода постоянного тока
Тт.о.1дв = 0,1×12×Нт.р.дв = 0,1×12×7 = 8,4чел.-часа,
Тт.о.тр = 0,1×12×Нт.р.тр = 0,1×12×17 = 20,4чел.-часа,
Тт.о.вып = 0,1×12×Нт.р.вып = 0,1×12×10 = 12чел.-часа;
для электропривода переменного тока
Тт.о.2пр = 1,2×12×Нт.р.пр = 0,1×12×15 = 18чел.-часов,
Трудоемкость технического обслуживания электропривода за год:
Для удобства сравнения выполненный расчет трудоемкости ремонта и
технического обслуживания для обоих вариантов сведен в таблицу.
Таблица 12.3
Результаты расчетов трудоемкости ремонта и технического обслуживания
оборудования рассматриваемых вариантов.
|
Тип оборудования
|
Электропривод постоянного тока
|
Электропривод переменного тока
|
|
Годовая трудоемкость капитальных ремонтов, чел.-часы
|
|
Электродвигатель
|
5,51
|
2,3
|
|
Трансформатор
|
12,94
|
____________
|
|
Преобразователь
|
4,1
|
9,8
|
|
Пускорегулирующая аппаратура
|
5,64
|
3,03
|
|
Годовая трудоемкость текущих ремонтов, чел.-часы
|
|
Электродвигатель
|
1,47
|
0,62
|
|
Трансформатор
|
4,05
|
____________
|
|
Преобразователь
|
0,6
|
1,19
|
|
Пускорегулирующая аппаратура
|
1,53
|
0,45
|
|
Годовая трудоемкость технического обслуживания, чел.-часы
|
|
Электродвигатель
|
8,4
|
8,4
|
|
Трансформатор
|
20,4
|
____________
|
|
Преобразователь
|
12
|
18
|
|
Пускорегулирующая аппаратура
|
4,08
|
2,64
|
|
Электропривод постоянного тока
|
Электропривод переменного тока
|
|
80,72
|
46,43
|
|
|
|
|
для электропривода постоянного тока
Тп.р.т.о.1 = 0,1×(Тт.о.1дв+Тт.о.тр+Тт.о.вып)
= 0,1×(8,4+20,4+12) = 4,08чел.-часов;
для электропривода переменного тока
Тп.р.т.о.2 = 0,1×(Тт.о.2дв+Тт.о.пр) = 0,1×(8,4+18) = 2,64чел.-часов.
По известной годовой трудоемкости эксплуатации оборудования, учитывая
тарифную ставку ремонтного рабочего, а также соответствующие налоги можно
определить затраты на заработную плату ремонтных рабочих за год:
для первого варианта:
Сз.п.1 = Стар×Снал×Тсум.1,
Сз.п.1 = 620·1,8×80,72 = 90084руб.,
|
где
|
Стар
|
-
|
Часовая тарифная ставка ремонтного рабочего, руб. (по IV
разряду)
|
|
Снал
|
-
|
Коэффициент, определяющий затраты на выплату налогов в
связи с начислением зарплаты:
|
|
Тсум.1
|
-
|
Суммарная трудоемкость эксплуатации оборудования
электропривода постоянного тока ;
|
для второго варианта:
Сз.п.2 = Стар×Снал×Тсум.2,
Сз.п.2 = 620·1,8· 46,43 = 51815руб.,
|
где
|
Тсум.1
|
|
-
|
Суммарная трудоемкость эксплуатации оборудования
электропривода переменного тока ;
|
Стоимость материалов для ремонта и обслуживания оборудования принимается
равной 100% от основной заработной платы ремонтных рабочих без учета затрат на
выплату налогов:
для первого варианта
Смат.1 = Стар×Тсум.1 = 620×80,72 = 50046руб.,
для второго варианта
Смат.2 = Стар×Тсум.2 = 620×46,43 = 28786руб.
Общецеховые расходы принимаются равными 100% от основной заработной платы
без учета налогов, т.е. в данном случае они равны стоимости материалов для
ремонта и обслуживания оборудования:
Сц.1 = Смат.1 = 50046руб.,
Сц.2 = Смат.2 = 28786руб.,
Общезаводские расходы принимаются равными 50% от основной заработной
платы без учета налогов, т.е. в данном случае составляет половину общецеховых
расходов:
Сз.1 = 0,5×Сц.1 = 0,5×50046 = 25023руб.,
Сз.2 = 0,5×Сц.2 = 0,5×28786 =14393руб.
Таким образом, найдены все величины, необходимые для расчета годовых
затрат по эксплуатации электрической части установки а также для определения
годовых эксплуатационных расходов для обоих вариантов Полные же затраты
определяются как сумма капиталовложений и годовых эксплуатационных расходов.
Сэкс.эл = (Сз.п+Смат+Сц+Сз),
Сэкс = (Сз+Са+Сэкс.эл),
Сэкс,эп1 = 90054+50046+50046+25023 = 215169руб.,
Сэкс,эп2 = 51815+28786+28786+14393 = 123780руб.,
Сэкс1 = 1037820+260300+215169 = 1513289руб.,
Сэкс2 = 1105660+307325+123780 = 1536765руб.
Определим полные затраты по сравниваемым приводам:
С∑=Са+Сэ+Сзп+Смат+Сц+Сз+Сэкс.эп+Сэкс,
С∑1=260300+985782+90084+50046+50046+25023+215169+
+1513289= 3189739руб.,
С∑2 =307325+687926+51845+28786+28786+14393+123780+
+1536765 = 2779606руб.
Расчет приведенных затрат произведем по формуле:
,
где
Ен = 0,15 - согласно рекомендациям ЮНИДО для развивающихся
стран.
Зприв,1
= 0,15·2740000+3189739 = 3600739руб.,
Зприв,2
= 0,15·3235000+2779606 = 3264856руб.