|
Назначение
|
Городской
|
|
Габаритные размеры, мм
|
12000 - 2550 - 2920 (3050,
при установленном кондиционере)
|
|
База, мм
|
5900
|
|
Колея колёс
(передних-задних), мм
|
2101 - 1888
|
|
Высота ступеньки над
уровнем дороги, мм
|
270 (при задействованной
системе наклона кузова книлинг)
|
|
Высота пола на площадке
средней двери, мм
|
330
|
|
Допустимая нагрузка на
переднюю-заднюю ось, кг
|
6500 - 11500
|
|
Полная масса, кг
|
18000
|
|
Снаряжённая масса, кг
|
11100 (11270)
|
|
Количество мест для сидения
|
26, 28
|
|
Номинальная вместимость,
чел.
|
105, 104 или 102, 101 (при
установке кондиционера)
|
|
Максимальная скорость, км
|
75-106
|
|
Двигатель
|
Mercedes-Benz OM906LA (Е3)
|
|
Мощность двигателя, кВТ
(л.с.)
|
170 (231) или 205 (279)
|
|
Объём двигателя, л
|
6.37
|
|
Коробка передач
|
Voith Diwa D851.3E
(автоматическая, 3-х ступенчатая)
|
|
Подвеска передней - задней
оси
|
зависимая пневматическая,
двухбалонная - зависимая пневматическая, четырёхбалонная
|
1.2 Анализ взаимодействия оператор - промышленная установка
Оператор размещается в кабине, оборудованной системой управления климатом
и управляет транспортным средством таким образом, который в определенной
степени напоминает управление автомобилем с автоматической трансмиссией. Имеются
три педали: вперед, задний ход и тормоз и рычаг механического тормоза. В
нейтральном положении крутящий момент на валу привода отсутствует, и оператор
может увеличивать число оборотов двигателя посредством нажатия на педаль. В
положении «Вперед» или «Задний ход» при нажатии на педаль дросселя блок
управления тяговым приводом интерпретирует положение педали как команду на
получение определенного крутящего момента и регулирует уровень крутящего
момента для создания необходимого тягового усилия, ускоряя транспортное
средство и поддерживая необходимый уровень скорости. Движение в режиме заднего
хода аналогично движению вперед, за исключением того, что направление крутящего
момента является обратным, а активные ограничения скорости и значения линейного
изменения крутящего момента, как правило, отличаются. При нажатии на педаль
тормоза генерируется электрическая команда на создание тормозного момента и в
соответствии с этим происходит замедление самосвала. Рычаг обеспечивает
оператору независимое управление механическим (рабочим) тормозом.
При эксплуатации автобуса оператор должен выполнять следующие действия:
· проверить техническое состояние системы и узлов по внешнему
виду;
· особенно внимательно осмотреть рулевое управление, рабочую и
стояночную тормозные системы;
· проверить наличие топлива в топливном баке и охлаждающей
жидкости в системе охлаждения;
· проверить уровень масла;
· проверить величину давления в камерах колес;
· если автобус находился долгое время без эксплуатации,
необходимо проверить емкость заряда аккумуляторов;
· на стоянках необходимо вынимать ключ из замка-выключателя для исключения
разрядки аккумуляторных батарей.
1.3 Анализ кинематической схемы. Определение параметров и
составление расчетной схемы механической части
Механическая часть электромеханической системы включает в себя все
связанные движущиеся массы: двигателя, передаточного устройства и
исполнительного механизма установки. К ротору двигателя при скорости w приложен электромагнитный момент М,
под действием которого механическая часть приводиться в движение и на рабочем
органе установки совершается предусмотренная технологией механическая работа.
Так
как по заданию на курсовой проект нужно обеспечить линейную скорость
, а диаметр колеса
. Исходя
из этих данных, кинематическая схема автобуса выглядит как показано на рисунке
1.2.
Рисунок
1.2 - Кинематическая схема электромеханического модуля
На
рисунке 1.2 приведены следующие обозначения:
-
электродвигатель;
-
фрикционная муфта, которая служит для уменьшения пульсаций;
-
колесо;
-
ДВС - двигатель внутреннего сгорания;
-
д - дифференциал
Необходимое передаточное число механической передачи автобуса
определяется по формуле (1.1):
, (1.1)
где DК -диаметр ведущих колес,
принимаем DК =0.225 м;
nmax -максимальная
скорость вращения тягового двигателя, мин-1;
Vmax -конструктивная
максимальная скорость автобуса, км/ч.
Так
как двигатель на данном этапе не выбран, то примем
= 1500 об\мин, за скорость автобуса примем скорость 65
км\ч с допущением на то, что данную скорость автобус должен развивать при своей
максимальной технической массе. Тогда по формуле (1.1):
.
Примем
передаточное число кинематической передачи
=2
2. ВЫБОР
СИСТЕМЫ ЭЛЕКТРОПРИВОДА И АВТОМАТИЗАЦИИ ПРОМЫШЛЕННОЙ УСТАНОВКИ
2.1 Литературный обзор по теме дипломного проекта
Основным недостатком механических трансмиссий является ступенчатое
изменение скорости, осуществляемое для использования полной мощности источника
энергии при изменении тягового усилия, определяемого сопротивлением движению
машины. Помимо этого, при переключениях передач тяговое усилие исчезает
вследствие разрыва силового потока в трансмиссии.
Частичное устранение недостатков механических трансмиссий достигается
установкой на входе коробки передач гидротрансформатора, а внутри ее -
фрикционных муфт, обеспечивающих переключение передач под нагрузкой. Однако
гидромеханические трансмиссии сложнее, дороже, тяжелее и имеют меньший к.п.д.,
чем механические трансмиссии.
Гидрообъемные и электрические трансмиссии свободны от недостатков
механических и гидромеханических трансмиссий.
Трансмиссия с нерегулируемым гидродвигателем содержит одно звено,
преобразующее энергию, - регулируемый насос с диапазоном регулирования 1:4 при
постоянной мощности. В электротрансмиссиях имеется два бесступенчатых
преобразователя энергии - генератор и двигатель, что позволяет изменять
составляющие мощности в отношении 1:20 и шире. Это является основным
преимуществом электрических трансмиссий, которое в сочетании с высокой
надежностью обусловливает их практическое применение.
Принципиально возможны три разновидности электротрансмиссий: трансмиссии
постоянного, переменного и переменно-постоянного тока.
Генератор постоянного тока, как правило, используется для питания тяговых
двигателей постоянного тока мотор-колес.
В дизель-электрическом приводе нередко применяются синхронные генераторы,
трехфазное напряжение которых преобразуется кремниевыми вентилями в постоянное
(точнее, пульсирующее) и подается к двигателям. Такой привод называется
приводом переменно-постоянного тока. Основным преимуществом синхронных
генераторов является отсутствие коллектора, вследствие чего они более надежны,
чем генераторы постоянного тока. Полупроводниковые выпрямители имеют высокую
степень надежности, в особенности при выполнении их из неуправляемых вентилей.
Поэтому надежность привода в целом повышается.
К.п.д. генераторов переменного тока несколько выше, чем постоянного, и с
учетом потерь в выпрямителе можно считать оба привода приблизительно равноценными.
Стоимость синхронного генератора с выпрямителем больше, чем генератора
постоянного тока, из-за высокой стоимости полупроводниковых вентилей, но
стоимость последних достаточно снизилась за последнее время.
Размеры и масса синхронного генератора зависят от его частоты вращения.
При одинаковых частотах вращения генераторов переменного и постоянного тока
(например, при соединении их с дизелем без повышающего редуктора) масса
синхронного генератора меньше массы генератора постоянного тока на 15-25%,
масса выпрямителя составляет приблизительно 5-10% массы генератора, так что
общая масса несколько уменьшается. Более существенный выигрыш в размерах и
массе можно получить, если применить повышающий редуктор между дизелем и
синхронным генератором.
С генератором переменного тока могут быть реализованы универсальные
трансмиссии: а) переменно-постоянного тока, когда за генератором включается
управляемый или чаще неуправляемый выпрямитель; б) переменного тока, когда от
синхронного генератора через преобразователи частоты (со звеном постоянного
тока или непосредственной связью) питаются энергией асинхронные
частотно-управляемые короткозамкнутые двигатели мотор-колес; в) переменного
тока с вентильными двигателями, которые представляют собой быстроходные синхронные
машины (обращенные двигатели постоянного тока), питаемые через инверторы,
оборудованные сложными системами принудительной и машинной коммутации; г)
переменного тока с двигателями, имеющими фазные роторы, и их статорные обмотки
включены последовательно; д) переменного тока с двигателями, имеющими фазные
роторы и управляемыми по схеме группового вентильного каскада.
Трансмиссии постоянного тока являются наиболее простыми, так как
двигатели питаются от генератора без промежуточных силовых преобразователей и
любые характеристики трансмиссии получаются регулированием магнитных потоков
генератора и двигателей по цепи возбуждения. Мощность, необходимая для
возбуждения, составляет 1,0-2,5% от номинальной мощности машин, поэтому
регулировочные устройства могут быть маломощными.
Вместе с тем коллекторно-щеточный узел машин постоянного тока является
наиболее слабым местом машины, и значительная доля неисправностей и повреждений
в трансмиссии вызвана именно работой этих узлов. Это особенно важно для
пневмоколесных машин, предназначенных для работы во внедорожных условиях, где
повышается опасность попадания на коллектор пыли, влаги, грязи, вследствие чего
резко снижается надежность работы коллектора. Бесколлекторные двигатели более
надежны и менее чувствительны к указанным условиям работы.
Основной трудностью при применении бесколлекторных двигателей в
транспортных средствах является сложность регулирования частоты вращения. В
промышленном электроприводе асинхронные двигатели нашли широкое применение
тогда, когда не требуется значительного изменения частоты вращения или она
может изменяться ступенями. В последнем случае применяют двух- и трехскоростные
асинхронные двигатели с переключением полюсов. Для изменения частоты вращения в
небольших пределах используют асинхронные двигатели с фазным ротором, в цепь
которого включают реостаты, конденсаторы или полупроводниковые устройства.
Применяют также схемы с каскадным соединением двух асинхронных двигателей.
Частоту вращения асинхронных короткозамкнутых двигателей в небольших пределах
изменяют включением в цепь статора магнитных усилителей или полупроводниковых
устройств. Все эти способы применяются при постоянной частоте питающего тока и
не обеспечивают экономичного регулирования частоты вращения в широких пределах.
В транспортных средствах двигатели постоянно соединены с большой массой,
при трогании с места они должны развивать наибольший момент. Скорости, если
даже исключить кратковременные пусковые режимы, изменяются в широких пределах,
в особенности для машин повышенной проходимости. Частота вращения двигателей
может изменяться только плавно и относительно медленно из-за большой массы
транспортного средства. Поэтому указанные выше способы ее регулирования могут
быть использованы в отдельных частных случаях, когда самоходная машина должна
работать лишь в узком диапазоне скоростей.
В автономных транспортных средствах можно изменять частоту питающего тока
асинхронных двигателей изменением частоты вращения теплового двигателя. Однако
дизель и газотурбинная установка с блокированной тяговой турбиной допускают
изменение частоты вращения лишь в относительно небольшом диапазоне, при этом с
понижением частоты вращения уменьшается мощность. Следовательно, это возможно
лишь при многоступенчатом переключении полюсов машин переменного тока, что
усложняет их конструкцию и трансмиссию в целом. В большей степени этот способ
может оказаться приемлемым при использовании газотурбинной установки со
свободной тяговой турбиной, к. п. д. и мощность которой сохраняются
относительно высокими в пределах частот вращения 0,5-1,0 номинальной. Такой
диапазон также недостаточен и требует либо дополнительных переключений полюсов,
хотя и при меньшем числе переключений, либо выполнения двигателей с очень
высоким скольжением. Этот способ неприемлем в тех случаях, где по условиям
привода рабочих и вспомогательных механизмов необходима работа теплового
двигателя при постоянной частоте вращения[2].
Основным способом регулирования скорости транспортных средств с
асинхронными двигателями является изменение частоты тока, питающего двигатели,
независимо от частоты тока генератора, приводимого тепловым двигателем. Для
этого используют преобразователи частоты, в которых выходную частоту тока можно
изменять независимо от входной.
Трехфазное напряжение генератора подводится к преобразователям частоты
ПЧ, которые весьма разнообразны по схеме и принципам действия. Наиболее часто
применяемые преобразователи можно разделить на две группы: преобразователи с
явно выраженным звеном постоянного тока (ПЧПТ) и преобразователи с непосредственной
связью входной и выходной цепи, кратко называемые непосредственными
преобразователями (НПЧ).
В ПЧПТ трехфазное напряжение генератора преобразуется выпрямителем в
постоянное напряжение, которое подается на вход инверторов, где преобразуется в
трехфазное напряжение переменной частоты. К инверторам присоединены тяговые
двигатели. В НПЧ одни и те же тиристоры поочередно работают в выпрямительном и
инверторном режимах. Управление тиристорами осуществляется как по входной
частоте тока, получаемой от генератора, так и по выходной частоте, которая
задается системой управления.
При асинхронных тяговых двигателях возможны три варианта выполнения
преобразователей частоты: 1) общий преобразователь для всех двигателей; 2)
несколько преобразователей присоединены к общим шинам, к которым параллельно
присоединены все двигатели; 3) каждый двигатель соединен с отдельным
преобразователем.
Для мотор-колесных машин первый и второй варианты использовать
затруднительно вследствие существенной разницы в радиусе качения, зависящем от
давления внутри шины, вертикальной нагрузки на колесо, разницы сопротивлений
качению различных колес и т. п. Кроме того, при повороте машины колеса разных
бортов имеют различные скорости. Поэтому для приемлемого распределения нагрузки
между двигателями необходимо либо выполнять их с очень высоким скольжением, что
увеличивает размеры двигателя и снижает его к. п. д., либо предусматривать
возможность изменения частоты питающего тока каждого двигателя, для чего каждый
двигатель должен управляться от своего преобразователя. Упругая деформация шин
уменьшает неравномерность распределения нагрузки. При использовании ПЧПТ
выпрямитель может быть как общим для всех или группы инверторов, так и
индивидуальным для каждого. В приводе с синхронными двигателями инверторы в
ПЧПТ или НПЧ должны обязательно выполняться индивидуальными для каждого
двигателя.
Одним из недостатков привода переменного тока является сложность
преобразователей частоты и системы управления приводом. Силовая часть и система
управления преобразователем частоты содержат бесконтактные полупроводниковые
элементы, каждый из которых является высоконадежным. Однако благодаря большому
числу элементов общая вероятность отказов в преобразователе еще достаточно
высока, и до настоящего времени, как показывают предварительные расчеты и
результаты опытов, преобразователи частоты по надежности уступают генератору и
двигателям. Поэтому разработки и исследования по этим системам ведутся главным
образом в направлении повышения надежности преобразователей путем разработки
более совершенных систем управления и создания таких условий работы вентилей,
при которых вероятность отказов в работе минимальна.
К недостаткам приводов с преобразователями частоты следует также отнести
искажения формы кривых силы тока и напряжения, вызываемые работой
преобразователя, что увеличивает потери в генераторе и двигателях.
2.2 Формулирование требований к автоматизированному электроприводу и
системе автоматизации
К автоматизированному электроприводу предъявляются следующие требования:
· минимальная
скорость, развиваемая автобусом -
,
максимальная скорость -
. Диапазон регулирования -
;
· способность
преодоления подъема со средними продольными уклонами 5% с отдельными участками
до 8% протяженностью 1500 м и максимальными уклонами не более 10% на длине не
более 100 м;
· температура
окружающей среды от -40 °С до 65 °С (без выпадения
влаги);
· относительная
влажность воздуха до 98 %;
· разгон и
торможение должны обеспечиваться с ускорением, равным
.
В тяговом электроприводе обычно используется следующий закон управления:
На малых скоростях используется закон постоянства момента, т.к. при разгоне, а
так же возникновений препятствий на дороге (яма, выбоина, неровности асфальта и
д.р.) необходимо поддерживать постоянный момент, а при скоростях ближе к
номинальной и выше используется закон постоянства мощности. Но т.к. в данном
курсовом проекте тяговый электродвигатель используется только при разгоне и
торможении целесообразно применять закон постоянства момента.
2.3 Определение возможный вариантов и выбор рациональной системы
электропривода
Возможные варианты тяговых приводов приведены в пункте 2.1 данного
дипломного проекта. Резюмируя изложенное там, можно увидеть, что в качестве
тягового двигателя в данной системе электропривода может применяться либо
двигатель постоянного тока, либо асинхронный двигатель или шаговый двигатель.
Применение двигателя постоянного тока нерационально из-за больших
размеров двигателей требуемой мощности, также из-за больших потерь и проблем со
щёточным коллектором.
Наиболее перспективным выглядит применение асинхронных двигателей вкупе с
преобразователем частоты, из-за легкости регулирования и хороших статических и
динамических свойств данной системы,
2.4 Проектирование функциональной схемы автоматизированного
электропривода
Функциональная схема содержит определенный набор
устройств или блоков, каждый из которых предназначен для выполнения
определенных функций.
Проектируемая функциональная схема электропривода
тягово-тормозного модуля на рисунке 2.1. Силовая часть состоит из
аккумуляторной батареи и преобразователя, состоящего из линии связи по
постоянному току и трехфазного инвертора.
Постоянное напряжение сети поступает на инвертор,
после чего транзисторный инвертор с использованием широтно-импульсной модуляции
с помощью заданной последовательности коммутации IGBT ─ транзисторов преобразует напряжение постоянного тока
посредством ШИМ в трехфазное переменное напряжение с переменной частотой.
Транзисторы обеспечивают высокую скорость переключения (с несущей частотой 10
кГц).
На рисунке 2.1 предполагается использование обратной связи по току
(датчики тока). Данные по обратным связям поступают на микроконтроллер, где они
обрабатываются и в соответствии с заданной программой поступает сигнал на блок
управления, который в свою очередь управляет ключами инвертора.
Рисунок 2.1 - Проектируемая функциональная схема
автоматизированного электропривода.
На рисунке 2.1 приведены следующие обозначения:
АИН - автономный инвертор напряжения;
М - электродвигатель;
ДТ1,ДТ2 - датчики тока;
МК - микроконтроллер;
БУ - блок управления;
ДВС - двигатель внутреннего сгорания;
ЗУ - зарядное устройство;
ДАБ - датчик аккумуляторной батареи;
ДМ - датчик момента;
ДСД - датчик скорости двигателя.
Система
работает следующим образом: при нажатии на педаль, «Вперед» задание с БУ
подается на ДВС и АД, разгон происходит за счет АД до 1400об/мин, что
соответствует оптимальному режиму дизеля. Оптимальным режимом дизеля будем
считать режим минимального расхода топлива и минимальным выбросом выхлопных
газов. При достижении на дизеле момента равного
,что
соответствует 1400 об/мин, дизель начинает работать в оптимальном режиме, а АД
переходит в генераторный режим и происходит накапливание энергии. На дизеле
изначально стоит датчик момента. В зависимости от отклонения момента АД
работает то в генераторном режиме, то в двигательном. Например, при увеличении
нагрузки момент увеличивается и с датчика момента идет сигнал в МК, с которого
на БУ подается сигнал на включение АД в тяговый (двигательный) режим. Если же с
датчика АБ появился сигнал о заполнении НЭЭ ,то сигнал с МК поступает на БУ и
идет отключение АД.
При
нажатии на педаль “тормоз” происходи рекуперация энергии с отдачей ее в НЭЭ. На
случай аварии предусмотрен механический тормоз.
3..ВЫБОР
ЭЛЕКТРОДВИГАТЕЛЯ
3.1 Расчет нагрузок и построение механической характеристики и
нагрузочной диаграммы механизма
Для проведения расчета воспользуемся типовой скоростной диаграммой
(рисунок 3.1).
Рисунок 3.1 - Типовая скоростная диаграмма
Участок t0-t1 - разгон от нулевой скорости до установившейся скорости
движения (режим тяги);
t1-t2 - режим работы ДВС с постоянной
скоростью(тяговый двигатель отключен);
t2-t3 - уменьшение скорости до
скорости, близкой к маневровой (режим торможения);
t3-t4 - режим «дотягивания»;
t4-t5 - время стоянки на остановочном
пункте.
Определим статическую силу сопротивления качению:
, (3.1)
где Fкач - сила трения качения (3.3);
Fск -
сила трения скольжения в подшипниках ступицы, определяется по формуле (3.4);
Fукл -
сила действия уклона (примем среднее значение уклона 4°), определяется по
формуле (3.2);
Fсопрветра
- сила сопротивления воздушной массы, определяется по формуле (3.6).
, (3.2)
где G - вес автобуса:
Н
где m - масса автобуса. Примем m = 26т.
Определим значения Fкач, Fск и Fукл:
, (3.3)
где
- коэффициент трения качения ходовых колес,
примем значение
= 0,003 м;
RК - радиус
колеса; RК=0,225 м.
Тогда:
Н;
; (3.4)
где
- коэффициент трения скольжения в подшипниках
колес, примем
=0,06;
Rц - радиус
цапфы ходового колеса; Rц=0,1 м.
Н;
Н.
Определим значения Fсопрветра:
, (3.5)
Где
- коэффициент, учитывающий аэродинамические
характеристики кузова трамвая, примем значение
= 0,08;
-
площадь фронтальной поверхности кабины, которая испытывает сопротивление ветра.
= 7.7775м;
-
скорость ветра, примем
=5 м\с;
-
номинальная скорость трамвая, принята
=65км\ч=18м\с;
Определим
моменты механизма:
при
движении вверх по уклону, двигательный режим:

где
- КПД трансмиссии;
=0.9.
Нм
- при движении вверх по уклону, тормозной режим:
Нм
при движении вниз по уклону, двигательный режим:

Нм
при движении вниз по уклону, тормозной режим:
Нм
- при движении по горизонтальному участку, двигательный режим:
Нм
при движении по горизонтальному участку, торможение:
Нм
Рассчитаем теперь момент инерции привода, чтобы далее определить угловые
и линейные замедления.
Момент инерции привода определим по формуле:
, (3.5)
где Jдв - момент инерции двигателя;быстр- момент инерции
быстроходного вала;тих - момент инерции тихоходного вала;шасси- момент
инерции шасси автобуса.
Момент инерции шасси автобуса определим по формуле:
,
где m - масса автобуса.
кг·м2.
Момент инерции тихоходного вала определим как сумму моментов инерции
четырех колес автобуса. Момент инерции колеса будем определять как момент
инерции диска:
;
где mК - масса колеса, mК=25 кг.
кг·м2.
Так
как двигатель еще не выбран, то его момент инерции, и момент инерции связанного
с ним быстроходного вала определим примерно как 15% от суммы
. Таким образом:
кг·м2.
По формуле 3.5 определяем момент инерции привода:
кг·м2.
Рассчитаем теперь параметры нагрузочной диаграммы для горизонтального
участка протяженностью 1000 м. Время разгона определим по формуле:
,
где Vном - номинальная скорость движения, Vном=65 км/ч=18 м/с;
V0 -
начальная скорость движения, V0=0
м/с;
-
ускорение автобуса при разгоне,
=1 м/с2.
с.
Время торможения до маневровой скорости составит:
с.
Время дотягивания определим как:
с.
Протяженность пути разгона определим по формуле:
м;
Дистанция торможения определяется по соотношению:
м
Определим путь установившегося движения, когда работает ДВС:
,
где S1 - общая протяженность участка, S1=1000 м.
м.
Время движения на установившейся скорости (Vном) составит:
с.
Построим теперь нагрузочную диаграмму для горизонтального участка
движения протяженностью 1000 м.
На основании полученных данных строим нагрузочную диаграмму (рисунок
3.2).
Рисунок 3.2 - Нагрузочная диаграмма для прямолинейного участка
протяженностью 1000м
На рассматриваемом участке двигатель работает
с.
Определим
величину эквивалентного момента для этого участка по формуле 3.6.
(3.6)
Подставив в формулу 3.6 численные значения, получим:
Нм
Для
прямолинейного участка движения продолжительностью 1500 м все параметры
нагрузочной диаграммы, за исключением времени и продолжительности участка
движения с установившейся скоростью, аналогичны параметрам нагрузочной
диаграммы, построенной для участка движения протяженностью 1500 м.
с;
м;
с;
м;
с;
м.
Определим
протяженность участка движения с установившейся скоростью.
,
где S2 - общая протяженность участка, S2=1500 м.
м.
Время движения на установившейся скорости составит:
с.
Все значения статических моментов рассчитываемой нагрузочной диаграммы
идентичны значениям статических моментов для нагрузочной диаграммы,
рассчитанной для прямолинейного участка протяженностью 1000м.
Определим эквивалентный момент для рассчитываемого участка движения.
Определим время работы двигателя на этом участке:
с.
Определим
величину эквивалентного момента для этого участка по формуле 3.7.
(3.7)
Подставив в формулу 3.7 численные значения, получим
Нагрузочная диаграмма участка изображена на рисунке 3.3.
Рисунок 3.3 - Нагрузочная диаграмма для прямолинейного участка
протяженностью 1500м
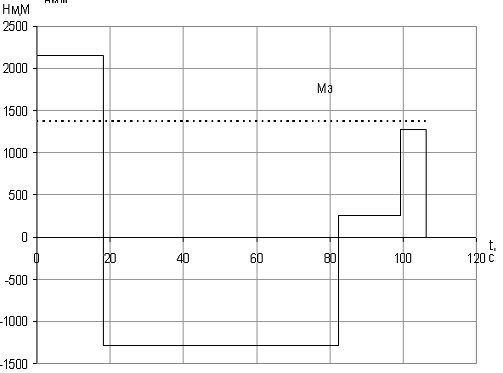
Определим параметры нагрузочной диаграммы для участка с движением под
уклон.
Время
разгона составляет
с.
Время
торможения до маневровой скорости составит:
с.
Время
дотягивания
c.Протяженность пути разгона составляет
м.
Протяженность
торможения определяется по соотношению:
м.
Определим путь установившегося движения:
,
где S3 - общая протяженность участка, S3=700 м.
м.
Время движения на установившейся скорости составит:
с.
Нагрузочная диаграмма изображена на рисунке 3.4.
Рисунок 3.4 - Нагрузочная диаграмма для участка движения под уклон
На рассматриваемом участке двигатель находится под нагрузкой
с.
Определим
величину эквивалентного момента для этого участка по формуле 3.8.
(3.8)
Подставив в формулу 3.8 численные значения, получим
Рассчитаем
параметры и построим нагрузочную диаграмму для участка движения с уклона. Время
разгона составляет
с.
Время
торможения до маневровой скорости составит:
с.
Время
дотягивания
c. Протяженность пути разгона составляет
м.
Дистанция
торможения определяется по соотношению:
Определим путь установившегося движения:
,
где S4 - общая протяженность участка, S4=700 м.
м.
Время движения на установившейся скорости составит:
с.
На рассматриваемом участке двигатель находится под нагрузкой
с.
Определим
величину эквивалентного момента для этого участка по формуле 3.9.
(3.9)
Подставив в формулу 3.9 численные значения, получим:
Нагрузочная диаграмма для этого участка движения изображена на рисунке
3.5.
Рисунок 3.5 - Нагрузочная диаграмма для участка движения с уклона
3.2 Предварительный выбор двигателя по мощности
Для выбора мощности двигателя воспользуемся методом эквивалентных
моментов, а затем, когда определим параметры двигателя, уточним полученные
результаты методом эквивалентных потерь.
Определим статический эквивалентный момент, как для двигателя,
работающего в длительном циклическом режиме с переменной нагрузкой [2] по
формуле:
,
где Мci - статический момент на i-ом интервале нагрузочной диаграммы
механизма;
ti -
продолжительность i-го интервала;
tц -
время цикла;
n -
число интервалов в цикле.
Время цикла определим как сумму всех времен участков движения, времен
стоянок на остановочных пунктах и времени стоянки на конечном пункте. Примем
время стоянки на остановочном пункте tост=30с, время стоянки на конечном пункте tкон=20 мин=1200 с. Тогда время цикла определим как:
,
где
- полное время движения на i-ом
участке.
с
;
;
;
;
Нм.
Мощность двигателя определим из соотношения
,
где k - коэффициент запаса по
мощности, примем значение k= 2;
-
расчетная угловая скорость двигателя, определим ее как
n - количество
электродвигателей.
=
с-1.
Вт.
Номинальный
момент при
об/мин:
.
Номинальный
момент при
об/мин:
.
Исходя из рассчитанной мощности, выберем из справочника [3] тяговый
двигатель 4А355M4У3. Его
параметры сведены в таблицу 3.1.
Таблица 3.1 - Технические параметры двигателя 4А355M4У3
|
Параметр
|
Значение
|
Ед. изм.
|
|
Номинальная мощность, Pном
|
315
|
кВт
|
|
Номинальное напряжение, Uном
|
220
|
В
|
|
Синхронная частота
вращения, nо
|
1500
|
мин-1
|
|
Номинальный КПД, ηном
|
0,945
|
-
|
|
Номинальное скольжение, Sном
|
0,01
|
-
|
|
Момент инерции двигателя, Jдв
|
1,7
|
кгм2
|
|
Коэффициент мощности, cosφ
|
0.92
|
-
|
Синхронная скорость вращения двигателя:
.
Номинальная
скорость вращения двигателя:
.
Рассчитаем
передаточное число редуктора:
.
Номинальный
ток двигателя:
.
3.4 Построение нагрузочной диаграммы электропривода
Для построения нагрузочных диаграмм электропривода необходимо сначала
рассчитать динамические моменты. Найдем величины динамических моментов:
при разгоне:
,
где
- угловое ускорение вала двигателя при разгоне:
рад/с2
Нм;
- при торможении
,
где
- угловое замедление вала двигателя при торможении:
рад/с2
Нм;
Используя рассчитанные в подпункте 3.1 пути, времена движения и
статические моменты, последовательно построим нагрузочные диаграммы для каждого
участка движения.
Построим нагрузочную диаграмму для горизонтального участка движения
протяженностью 1000 м.
При разгоне необходимый крутящий момент на валу двигателя определяется
как сумма динамического момента при разгоне и статического момента при разгоне,
приведенного к валу двигателя:
Нм;
затем
нагрузка будет равна
Нм;
при
торможении нагрузка составит
Нм.
При
дотягивании до остановки момент будет равен
Нм. На
основании полученных данных строим нагрузочную диаграмму (рисунок 3.6).
Рисунок
3.6 - Нагрузочная диаграмма для прямолинейного участка протяженностью 1000м
На
рассматриваемом участке двигатель работает
с.
Определим
величину эквивалентного момента для этого участка по формуле 3.10.
(3.10)
Подставив в формулу 3.10 численные значения, получим
Нм
Для
прямолинейного участка движения продолжительностью 1500 м все параметры
нагрузочной диаграммы, за исключением времени и продолжительности участка
движения с установившейся скоростью, аналогичны параметрам нагрузочной
диаграммы, построенной для участка движения протяженностью 1000 м.
Все
значения моментов рассчитываемой нагрузочной диаграммы идентичны значениям
моментов для нагрузочной диаграммы, рассчитанной для прямолинейного участка
протяженностью 1000 м.
Определим
эквивалентный момент для рассчитываемого участка движения. Определим время
работы двигателя на этом участке:
с.
Определим
величину эквивалентного момента для этого участка по формуле 3.11.
(3.11)
Подставив в формулу 3.11 численные значения, получим:
Нагрузочная диаграмма участка изображена на рисунке 3.7.
Рисунок 3.7 - Нагрузочная диаграмма для прямолинейного участка
протяженностью 1500м
При разгоне на участке, имеющем подъем, необходимый крутящий момент на
валу двигателя определяется как сумма динамического момента при разгоне и
статического момента при разгоне, приведенного к валу двигателя:
Нм;
затем
нагрузка будет равна
Нм;
при
торможении нагрузка составит
Нм.
При
дотягивании до остановки момент будет равен
Нм.
На
рассматриваемом участке двигатель находится под нагрузкой
с.
Определим
величину эквивалентного момента для этого участка по формуле 3.12.
(3.12)
Подставив в формулу 3.12 численные значения, получим:
Нагрузочная
диаграмма изображена на рисунке 3.8.
Рисунок
3.8 - Нагрузочная диаграмма для участка движения под уклон
При
разгоне с уклона необходимый крутящий момент на валу двигателя определяется как
сумма динамического момента при разгоне и статического момента при разгоне,
приведенного к валу двигателя:
Нм;
затем
нагрузка будет равна
Нм;
при
торможении нагрузка составит
Нм.
При
дотягивании до остановки момент будет равен
Нм.
На
рассматриваемом участке двигатель находится под нагрузкой
с.
Определим
величину эквивалентного момента по формуле 3.13.
(3.13)
Подставив в формулу 3.13 численные значения, получим
Нм
Нагрузочная диаграмма изображена на рисунке 3.9.
Рисунок 3.9 - Нагрузочная диаграмма для участка движения с уклона
3.5 Проверка выбранного электродвигателя по нагреву и перегрузочной
способности
Так как выбранный электродвигатель в системе электропривода работает при
примерно постоянном магнитном потоке, то среднеквадратичный (эквивалентный)
момент двигателя отражает его среднюю температуру нагрева. Поэтому для
длительного режима работы с переменной нагрузкой (ПВ=100%) можно найти
эквивалентный момент двигателя за время цикла tц с учетом ухудшения условий охлаждения
(3.3)
где
- электромагнитный момент двигателя на i-ом
участке упрощенной нагрузочной диаграммы электропривода;
-
временной интервал i-го участка;
-
коэффициент охлаждения самовентилируемого двигателя на i-ом участке,
рассчитываемый по формуле:
где
- средняя угловая скорость на i-ом
участке;
-
коэффициент ухудшения охлаждения при неподвижном роторе двигателя.
=0,45-0,55 для закрытых самовентилируемых двигателей.
На
горизонтальном участке расстоянием 1000м:
;
;
;
На
горизонтальном участке расстоянием 1500м:
;
.
;
При
движении вверх под уклон:
;
.
;
При
движении вниз с уклона:
;
;
Найдем
эквивалентный момент:
Предварительно
выбранный электродвигатель будет удовлетворять условиям нагрева, если:
-
условие выполняется, следовательно, данный электродвигатель удовлетворяет
условиям нагрева.
Электродвигатель
будет удовлетворять условиям перегрузки, если максимальный момент
нагрузочной диаграммы электропривода не превышает
максимально допустимого момента для данного двигателя, т.е.
.
Максимальный
момент нагрузочной диаграммы имеет место во время разгона автобуса при движении
под уклон
По
каталожным данным двигателя [3]
, тогда
-
условие выполняется, следовательно выбранный двигатель удовлетворяет условиям
перегрузки.
4. ВЫБОР
КОМПЛЕКТНОГО ПРЕОБРАЗОВАТЕЛЯ ЭЛЕКТРИЧЕСКОЙ ЭНЕРГИИ
4.1 Определение возможных вариантов и обоснование выбора типа комплектного
преобразователя
Для реализации выбранного закона частотного управления электроприводом
выберем преобразователь частоты, выполненный на инверторе напряжения с
использованием ШИМа.
При использовании частотного преобразователя пуск двигателя происходит
плавно, без пусковых токов и ударов, что уменьшает нагрузку на двигатель и
механику, увеличивает срок их службы.
Применение частотных преобразователей с обратной связью обеспечивает
точное поддержание скорости вращения при переменной нагрузке, что во многих
задачах позволяет значительно улучшить качество технологического процесса.
Для питающей сети преобразователь является чисто активной нагрузкой и
потребляет ровно столько энергии, сколько требуется для выполнения механической
работы (с учётом КПД преобразователя и двигателя).
Частотный преобразователь позволяет регулировать выходную частоту в
пределах 0…400 Гц. Разгон и торможение двигателя осуществляется плавно
(по линейному закону), время разгона и торможения можно настраивать в
пределах 0.1…30 мин. Возможен плавный реверс двигателя. При разгоне происходит
автоматическое увеличения момента для компенсации инерционной нагрузки. Момент
при пуске достигает 150% от номинального.
Частотные преобразователи обеспечивают полную электронную защиту
преобразователя и двигателя от перегрузок по току, перегрева, утечки на землю.
Преобразователь позволяет отслеживать и отображать на цифровом пульте основные
параметры системы - заданную скорость, выходную частоту, ток и напряжение
двигателя, выходную мощность и момент, состояние дискретных входов, общее время
работы преобразователя и т. д. В зависимости от характера нагрузки можно
выбрать вольт-частотную характеристику или создать свою собственную.
В настоящее время существует множество фирм ─ производителей
частотных преобразователей («Siemens»,
«Mitsubishi», «ABB» и др.).
Инверторы управляются микропроцессором. Специальный
метод широтно-импульсной модуляции обеспечивает исключительно тихую работу
двигателя. Защита инвертора и двигателя обеспечивается различными защитными
функциями.
Выбор преобразователя для регулируемого электропривода выполняется по
номинальному напряжению и току на входе и выходе, максимально допустимому
моменту и току в переходном процессе:
автоматизированный электропривод двигатель
Для
данного преобразователя проверяем условие возможности работоспособности при
кратковременном токе
, соответствующему максимальному моменту
электропривода:
А
Из
[4] выбираем преобразователь частоты MITSUBISHI ELECTRIC
FR-A540-375k
технические характеристики данного преобразователя приведены в таблице 4.1.
Таблица
4.1 - Технические параметры преобразователя частоты
|
Тип преобразователя
|
FR-A540-375k
|
|
Номинальная мощность
|
375 кВт
|
|
Номинальный выходной ток
|
722 А
|
|
Максимальный ток (до 30 с)
|
1083 А
|
При использовании данного преобразователя условие работы на максимальном
моменте выполняется:
где
- максимальный ток преобразователя, А;
-
максимальный кратковременный ток электропривода, А.
Таким
образом, данный преобразователь выбран верно.
4.2 Расчет параметров и выбор элементов силовой цепи
Выбор
аккумуляторной батареи:
,
где
- КПД кинематической цепи;
- КПД
электродигателя;
- КПД
использования АБ.
,
.
Заказываем
изготовление аккумуляторной батареи, выходное напряжение 600В постоянного тока.
Энергия,
вырабатываемая в процессе торможения должна накапливаться на накопителе, но в
данном технологическом процессе возможен режим торможения при полностью
заряженном накопителе, в таком случае энергия должна рассеиваться на внешнем
тормозном резисторе.
Произведём
расчет тормозного резистора
:
,
где
- мощность освобожденная за время торможения
;
-
коэфициент учитывающий потери в двигателе, инверторе и механизме
;
Сопротивление
тормозного резистора определяем по формуле:
где
- напряжение звена постоянного тока;
4.3 Выбор датчиков регулируемых координат электропривода
Для измерения напряжения в аккумуляторной батарее используем датчик
производства фирмы «Маглем» LV
100/SP51 [6]. Данный датчик построен по
принципу преобразования входного тока, пропорционального приложенному
напряжению (постоянному, переменному, импульсному и т.д.) в пропорциональный
выходной ток с гальванической развязкой между первичной (силовой) и вторичной
(измерительной) цепями. Параметры выбранного датчика приведены в таблице 4.2.
Таблица 4.2 - Параметры датчика напряжения LV 100/SP51
|
Номинальный входной ток, эффективное
значение, мА
|
10
|
|
Диапазон преобразования, мА
|
|
|
Номинальный аналоговый
выходной ток, мА
|
50
|
|
Коэффициент трансформации
|
|
|
Напряжение питания, В
|
|
|
|
Величина нагрузочного
резистора при , Ом
|
|
|
|
Электрическая прочность
изоляции, 50 Гц, 1 мин, кВ
|
9
|
|
Принцип
действия данного датчика основан на преобразовании измеряемого напряжения,
подаваемого на входные клеммы датчика через внешний нагрузочный резистор
. Схема подключения датчика показана на рисунке 4.3.
Рисунок
4.3 - Схема подключения датчика напряжения LV 100/SP51
Выход
«м» является информационным выходом. На входы питания
подается питающие напряжение
В.
5.
ПРОЕКТИРОВАНИЕ СИСТЕМЫ АВТОМАТИЧЕСКОГО УПРАВЛЕНИЯ
5.1 Разработка математической модели автоматизированного электропривода
Для математического описания трехфазного асинхронного двигателя
целесообразно принять следующие допущения:
- намагничивающие силы обмоток двигателя распределены
синусоидально вдоль окружности воздушного зазора;
- магнитная проницаемость стали много больше чем у воздуха;
отсутствуют потери на гистерезис и вихревые токи;
потери в стали статора и ротора отсутствуют;
обмотки статора и ротора строго симметричны со сдвигом осей
обмоток на 1200;
насыщение магнитной цепи отсутствует.
Существует метод математического описания асинхронного электропривода с
преобразователем частоты, основанный на полных дифференциальных уравнениях
асинхронного двигателя записанных на базе теории обобщенной электрической
машины. Такой подход позволяет построить структуру системы управления частотным
электроприводом называемую системой векторного управления и осуществить анализ
и синтез асинхронного электропривода более простыми методами. Для этой цели
управляемые координаты электропривода, измененные в неподвижной системе координат,
преобразуются к вращающейся системе координат, в которой координаты
электропривода рассматриваются как векторные величины. Из этих величин,
расположенных в виде проекций на вращающиеся оси координат, путем координатных
преобразований, выделяются пропорциональные или постоянные величины координат
электропривода, которые используются в качестве сигналов управления в системе
электропривода.
Дифференциальные уравнения асинхронного двигателя
,
где
,
,
,
- проекции
вектора напряжения и тока статора двигателя на оси
и
;
- модуль
результирующего вектора потокосцепления ротора;
-
круговая частота скольжения ротора относительно поля ротора.
Синтез
и анализ системы удобнее проводить в координатной системе (x,y). Для этого
фазные величины трёхфазной машины преобразуют к соответствующим величинам
эквивалентной двухфазной машины в неподвижной координатной системе (a,b), а затем в координатную систему вращающуюся со
скоростью потокосцепления ротора w0 - (x,y).
,
,
ux=uacosw0t+ubsinw0t,
uy=-uasinw0t+ubcosw0t.
В этих координатах электромагнитные процессы асинхронного
короткозамкнутого двигателя описываются следующими уравнениями:
x=i1xR1+y1x-w0y1y,y=i1yR1+y1y-w0y1x,
0=i2xR2+y2x,
=i2yR2+(w0-w2)y2x. .
Здесь: R1,R2 - сопротивление фазных обмоток статора и ротора;
y1x,y2y -
составляющие потокосцепления статора;
y2x=y2 -
потокосцепление ротора;
w0 - частота напряжения статора;
w2=wрп - угловая скорость ротора;
рп - число пар полюсов.
Выражения потокосцеплений имеют вид:
y1x=L1i1x+L12i2x,
y2x=L12i1x+L2i2x,
y1y=L1i1y+L12i2y,
y2y=L12i1y+L2i2. .
Здесь: L12 - взаимная индуктивность фазных обмоток статора и ротора.
Выразим составляющие токов ротора и статора:
,
,
,
.
Здесь:
,
,
.
Электромагнитный
момент равен:
.
Скорость
определяется из выражения
.
Полученная
структура асинхронного двигателя приведена на рисунке 5.1. Она представляет
собой сложную систему взаимосвязанных цепей управления. Однако она позволяет
сравнительно просто исследовать динамические свойства двигателя при задающих и
возмущающих воздействиях и осуществить определение параметров двигателя
методами моделирования.
Рисунок
5.1 - Структура асинхронного двигателя
На
основе эквивалентной электрической схемы можно составить систему
дифференциальных уравнений по законам Кирхгофа:
где
- напряжение на выходе неуправляемого выпрямителя,
-
сопротивление цепи выпрямителя,
- ток на
выходе выпрямителя
Выпрямленная
ЭДС выпрямителя может быть представлена выражением:
,
где
- максимальное значение напряжения питания
выпрямителя,
-
угловая частота напряжения питания выпрямителя
- угол,
соответствующий моменту естественного открывания выпрямителя,
-
пульсность схемы выпрямителя,
- целая
часть от
,
/
Для
математического описания напряжения на выходе выпрямителя выделим два
интервала:
интервал,
соответствующий открытому состоянию диода VD, когда
;
интервал,
соответствующий закрытому состоянию диода VD, когда
.
Следовательно,
напряжение на выходе выпрямителя будет равно:
При
торможении двигателя ключ S7 в цепи торможения управления по сигналам датчика
напряжения. Замыкание ключа происходит в момент, когда напряжение на
конденсаторе фильтра С1 превышает допустимое значение
в остальное время ключ разомкнут. Следовательно, ток
цепи торможения можно описать следующим выражением:
Где
- сопротивление цепи торможения.
Вышеприведенные
уравнения описывают математическую модель системы «сеть-неуправляемый
выпрямитель-фильтр-цепь торможения».
5.2 Расчёт параметров объекта управления
Произведем расчет эквивалентной схемы 3-фазного асинхронного двигателя
представленной на рис 5.2, по каталожным данным для номинального режима.
Рисунок 5.2. - Эквивалентная Т - образная схема для одной фазы
асинхронного двигателя
Рассчитаем номинальный ток статора:
.
Рассчитаем
номинальный момент на валу:
.
Найдем
номинальные потери мощности:
.
Принимаем:
,
Рассчитаем
момент холостого хода:
.
Рассчитаем
электромагнитный номинальный момент:
.
Найдем
переменные номинальные потери мощности в роторе:
.
Задаемся
коэффициентом загрузки kз,m , соответствующим максимальному к.п.д. АД:
Примем
kз,m = 0,9.
Найдем
переменные номинальные потери мощности:
.
Рассчитаем
постоянные потери мощности:
.
Найдем
переменные номинальные потери мощности в обмотках статора:
.
Рассчитаем
активное сопротивление обмотки статора:
.
Найдем
максимальное значение электромагнитного момента:
э,max
= lm Mном + М0=1.9·2006+10,6=3822Нм.
Рассчитаем
коэффициент:
.
Рассчитаем
полное сопротивление:
.
Найдем
приведенное активное сопротивление фазы ротора:
.
Рассчитаем
индуктивное сопротивление короткого замыкания:
Принимаем:
»
=
.
Найдем
потери в стали:

.
Рассчитаем
ток холостого хода:
.
Найдем
эквивалентное сопротивление намагничивающего контура:
.
Рассчитаем
синус j0 холостого хода:
.
Рассчитаем
базовое сопротивление:
=
.
Параметры
эквивалентной схемы АД в абсолютных единицах, т.е. в Омах рассчитывается по
формулам:
= R1* /
,= x1*/
,¢ =
R2¢* /
,¢2 = x¢*2 /
,m = xm* /
.
Расчет
естественной механической и электромеханической характеристики будем
производить по методу профессора Фираго. Механические и электромеханические
характеристики асинхронного короткозамкнутого двигателя выражаются
параметрическими уравнениями:
где:
- активное сопротивление фазы ротора при S = 1;
-
активное сопротивление фазы ротора при S
Sном ,
,
.
Рассчитаем
номинальный ток статора:

.
Рассчитаем
пусковой ток ротора приведенный к току статора:
.
Рассчитаем
синхронную угловую скорость:
.
Рассчитаем
номинальную угловую скорость:
.
Рассчитаем
номинальный момент на валу двигателя:
.
Рассчитаем
пусковой момент двигателя:
.
Рассчитаем
активное сопротивление фазы ротора при S=1:
,
,
,
,
,
,
,
,
,
.
Задаваясь
скольжением
, рассчитываем механическую w(М). Естественная механическая характеристика представлена на рисунке
7.1.
Рисунок
5.3 - Естесственная механическая характеристика двигателя
Расчет
электромеханической характеристики:
,
,
,
,
,
,
,
.
Задаваясь
скольжением
, рассчитываем электромеханическую w(I1) характеристику АД:
.
Естественная
электромеханическая характеристика представлена на рисунке 3.8.
Рисунок
5.4 - Естественная электромеханическая характеристика двигателя
5.3 Определение структуры и параметров управляющего устройства
Рассчитаем коэффициенты схемы.
с -
постоянная времени преобразователя, где
-
частота коммутации ШИМ.
-
коэффициент усиления преобразователя.
,
,
.
Функциональная
схема разомкнутой системы управления с поддержанием постоянства потокосцепления
статора с
компенсацией, обеспечивающим режим постоянства
момента, показана на рисунке 5.4.
Передаточные
функции:
,
.
.
Рисунок
5.4 - Функциональная схема разомкнутой системы управления по закону
с
-
компенсацией
6. РАСЧЕТ И
АНАЛИЗ ДИНАМИЧЕСКИХ И СТАТИЧЕСКИХ ХАРАКТЕРИСТИК ЭЛЕКТРОПРИВОДА
6.1 Разработка имитационной модели электропривода
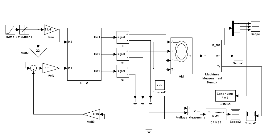
Динамические и статические характеристики электропривода получим в
результате имитационного компьютерного моделирования процесса пуска автоматизированного
электропривода. Для этого воспользуемся библиотекой Simulink пакета MATLAB.является интерактивной,
матрично-ориентированной системой для научных и инженерных расчетов. Система
позволяет решать сложные численные расчеты без написания каких-либо программ.
Программа Simulink является приложением к пакету MATLAB. При моделировании с
использованием библиотеки Simulink реализуется принцип визуального
программирования, в соответствии с которым, на экране из стандартных блоков
создается модель устройства. В ходе моделирования имеется возможность следить
за процессами, происходящими в системе. Для этого используются специальные
устройства наблюдения, входящие в состав библиотеки Simulink.
В разработанной системе электропривода заданием является задание скорости
а именно ее возрастание в соответствии с принятым ускорением. В имитационной
модели задание осуществляется линейно возрастающим сигналом с помощью блока Ramp. Так как возрастание сигнала в блоке
Ramp идёт неограниченно, то за ним
ставится блок Saturation, который и осуществляет ограничение задания.
Коэффициент линейного нарастания в блоке Ramp принимаем равным 0.38.
Имитационная модель электропривода представлена на рисунке 6.1. В ней
асинхронный двигатель представлен в виде стандартного блока со следующими
параметрами:
Рисунок
6.1 - Имитационная модель управления электроприводом по закону
с
-компенсацией
Реализация
преобразователя частоты в пакете MatLab показана на рисунке 6.2.
Рисунок
6.2 - Имитационная модель преобразователь частоты
6.2 Расчёт и определение показателей качества переходных процессов
Графики, полученные в результате работы линеаризованной модели,
приведенной на рисунке 6.1 показаны ниже.
Рисунок
6.3 - Зависимость действующего значения напряжения на выходе ШИМ инвертора
Рисунок
6.4 - Зависимость
Рисунок
6.5 - Зависимость
Рисунок
6.6 - Зависимость
Рисунок
6.7 - Зависимость действующего значения тока фазы статора при разгоне
Рисунок
6.8 - Кривая задатчика интенсивности
Анализ
вышеприведенных графиков показывает, что в результате синтеза системы
управления было получена система, обеспечивающая разгон асинхронного тягового
двигателя в режиме постоянства момента. При пуске двигатель развивает момент,
близкий к критическому, что является допустимым. Разгон автобуса при полной
загрузке осуществляется за 18 секунд, при этом его установившаяся скорость
составляет расчётные 18 м/с.
7.
ОКОНЧАТЕЛЬНАЯ ПРОВЕРКА ДВИГАТЕЛЯ ПО НАГРЕВУ С УЧЁТОМ ТОЧНОЙ НАГРУЗОЧНОЙ
ДИАГРАММЫ ЭЛЕКТРОПРИВОДА
Так как имитационная модель разработанная в пунктах 5, 6 позволяет
достаточно точно наблюдать процессы происходящие с автоматизированным
электроприводом, то на основе значений полученных при моделировании
определенных технологически заданных условий можно получить точную нагрузочную
диаграмму работы электропривода и на основании ее окончательно проверить
двигатель по нагреву.
Проверка по нагреву будет производиться методом эквивалентного тока,
потому что он из методов эквивалентных величин является самым общим методом.
Двигатель будет удовлетворять условиям нагрева, если соблюдается условие:
(7.1)
Эквивалентный
ток определяется по следующей формуле:
(7.2)
где
- действующее значение тока статора двигателя,
определяется по формуле (7.3).
(7.3)
Расчет
данных эквивалентных токов производится в системы Simulinc на
разработанной имитационной модели. График средних значений эквивалентных токов
за цикл изображен на рисунке 7.1.
Рисунок
7.1 - График средних значений эквивалентных токов
Из
графика видно, что среднее значение эквивалентного тока колеблется около 520 .
Так как 520<549 А, то следовательно выбранный двигатель удовлетворяет
условиям нагрева в процессе работы привода.
8.
ПРОЕКТИРОВАНИЕ СИСТЕМЫ АВТОМАТИЗАЦИИ ПРОМЫШЛЕННОЙ УСТАНОВКИ
8.1 Формализация условий работы установки
В разрабатываемой тяговой системе электропривода автоматизации подлежит
пусковой и тормозной режимы работы автобуса, а также реализация различных защит
привода.
Для обеспечения безопасной эксплуатации автобуса и системы привода
применен ряд различных аппаратных и программных средств, способных обнаруживать
и реагировать на:
перенапряжение, перегрузки по току, перегрев;
потерю охлаждения или недостаточное охлаждение;
потерю управляющего электропитания или недостаточное управляющее
электропитание;
Для
начала работы системы привода необходимо переместить ключ зажигания в положение
«Вкл.». При этом включается контактор
, который
обеспечивает электропитание блока управления тяговым приводом и внутреннее
управляющее электропитание шкафа управления (24В). Во время движения должен
контролироваться сигнал «ДВИЖЕНИЕ» о вращении тягового двигателя и при
пропадании сигнала «ВКЛ.» во время движения, необходимо запретить отключение
сигнала «ВКЛ», приводящая к обесточиванию системы управления. Данная фиксация
сигнала предохраняет блок управления тяговым приводом и систему привода от
потери электропитания, в случае если во время движения транспортного средства
переключатель зажигания выключится.
Поворот
ключа зажигания в положение «ЗАПУСК» сопровождается одноименным сигналом,
который включает электродвигатель и дизельный двигатель. После этого происходит
пуск тягового двигателя по команде оператора, согласно разработанному закону
управления.
До
пуска тягового двигателя необходим контроль сигналов педалей: «ВПЕРЕД» и
«НАЗАД». В соответствии с сигналом подаётся выходной сигнал на преобразователь.
При
поступлении сигнала начала торможения генерируется сигнал отключения контактора
КМ1 (подключения инвертора к цепи постоянного тока) и сигнал включения КМ2
(подключение тормозного резистора).
Автоматическая
защита от перегрева основных частей электропривода осуществляется посредством
непрерывного контроля показаний датчиков температуры, которые расположены на
основных узлах автобуса. При поступлении от любого датчика температуры сигнала
логической единицы, система автоматизации должна сформировать сигнал о начале
торможения автобуса. Повторный пуск самосвала возможен только после повторного
поступления команды от оператора «ЗАПУСК».
Проектируемая
система должна обеспечивать обнаружение короткого замыкания на корпус автобуса.
Эта возможность реализуется посредством сравнения напряжения в канале связи
постоянного тока с напряжением положительной шины постоянного тока относительно
шасси автобуса блоком определения короткого замыкания (БКЗ). Если коэффициент
напряжения не соответствует определенному диапазону значений, то блок
управления тяговым приводом (БУТП) принимает это как возникновение короткого
замыкания и принимает соответствующие ответные действия. На основании формы
волны и измеренного коэффициента напряжения блок управления тяговым приводом по
отдельной подпрограмме различает короткое замыкание на «землю», произошедшее на
положительной шине постоянного тока (положительное короткое замыкание), на
отрицательной шине постоянного тока (отрицательное короткое замыкание) или в
тяговых электродвигателях (короткое замыкание переменного тока). Эта информация
фиксируется в памяти контроллера.
При
появлении сигнала с датчика напряжения аккумуляторных батарей (АБ) тяговый
двигатель должен перейти в режим «ТОРМОЖЕНИЕ» для подзарядки АБ.
8.2 Разработка алгоритма и программы управления
Разрабатываемый алгоритм управления представляет собой совокупность
правил выработки управляющих воздействий к исполнительным элементам объекта
управления, учитывая сигналы внешних датчиков и команды, поступающие от
водителя автобуса. Данные управляющие воздействия обеспечивают функционирование
объекта управления с целью решения поставленной перед ним задачи.
Графически последовательность элементарных действий (этапов цикла)
представим в виде блок-схем алгоритма управления в целом представляющего
различные варианты работы автобуса.
Реализацию алгоритма управления обеспечим на языке релейно-контакторных
схем (РКС), который представляет собой совокупность инструкций (команд),
представленных в виде символов РКС. Этот язык основан на методике
проектирования схем электроавтоматики с аппаратной реализацией на основе реле,
контакторов, бесконтактных логических элементов.
Логическая цепь - это соединение элементов релейных схем, символа
присвоения, представляющее собой последовательность команд, выполняемых ПК.
Логическая цепь - это элемент программирования релейных языков. Формат цепи
может быть фиксированным или переменным. Все логические цепи обрабатываются
слева направо, что обеспечивает возможность выделения приоритетных сигналов.
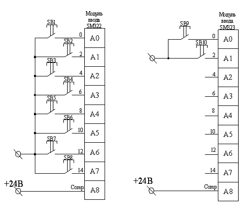
В таблицах 8.1 и 8.2 приведены соответственно входные и выходные сигналы,
используемые в системе автоматизации установки.
Таблица 8.1 - Перечень входных сигналов
|
Входные сигналы
|
|
Функциональное назначение
|
Адрес
|
Обозначение
|
|
Аварийный сигнал от
датчиков температуры
|
X 0.0
|
Т1
|
|
Сигнал с блока определения
короткого замыкания на корпус
|
X 0.1
|
КЗ
|
|
Сигнал подготовки системы
электропривода автобуса к работе
|
X 0.2
|
«ВКЛ»
|
|
Сигнал начала пуска
автобуса
|
X 0.3
|
«ЗАПУСК»
|
|
Сигнал положения рычага
переключения передач в положении «НАЗАД»
|
X 0.4
|
«НАЗАД»
|
|
Сигнал контроля движения
автобуса
|
X 0.5
|
«ДВИЖЕНИЕ»
|
|
Сигнал положения рычага
переключения передач в положении «ВПЕРЕД»
|
X 1.0
|
«ВПЕРЕД»
|
|
Сигнал с датчика скорости
|
X 1.1
|
ДС
|
|
Сигнал с датчика АБ
|
X 1.2
|
ДАБ
|
|
Сигнал на начало торможения
|
X 1.3
|
«торможение»
|
Таблица 8.2 - Перечень выходных сигналов
|
Выходные сигналы
|
|
Функциональное назначение
|
Адрес
|
Обозначение
|
|
Сигнал включения контактора
подачи питания на шкаф управления
|
Y 0.0
|
|
|
Сигнал включения дизельного
двигателя
|
Y 0.1
|
«Д»
|
|
Сигнал включения контактора
КМ1
|
Y 0.2
|
«КМ1»
|
|
Сигнал включения контактора
КМ2
|
Y 0.3
|
«КМ2»
|
|
Сигнал аварийной остановки
автобуса
|
Y 0.4
|
«АВАРИЯ»
|
|
Сигнал направления движения
к преобразователю
|
Y 0.5
|
«ВПЕРЕД»
|
|
Сигнал направления движения
к преобразователю
|
Y 1.0
|
«НАЗАД»
|
|
Сигнал на генераторный
режим АД
|
Y 1.1
|
«ГЕНЕРАТОР»
|
|
Сигнал на отключение АД
|
Y 1.2
|
«отключение»
|
Разработанный алгоритм системы автоматизации приведен в соответствии с
формализованным режимом работы приведен на рисунках 8.1 и 8.2.
Рисунок
8.1 - Алгоритм управляющей программы
Рисунок
8.2 - Алгоритм управляющей программы
Рисунок
8.3 - Алгоритм управляющей программы
Рисунок
8.4 - Схема подключения входных сигналов к модулям контроллера
Рисунок
8.5 - Схема подключения выходных сигналов к модулям контроллера
8.3 Разработка функциональной логической схемы
В качестве программируемого контроллера выбираем контроллер фирмы Siemens SIMATIC S7-300.
SIMATIC S7300 - это
модульные программируемые контроллеры, работающие с естественным охлаждением.
Модульная конструкция, возможность построения распределенных структур
управления, наличие дружественного пользователю интерфейса позволяет
использовать контроллер для экономичного решения широкого круга задач
автоматического управления в различных областях промышленного производства.
Эффективному использованию контроллеров способствует возможность
использование нескольких типов центральных процессоров различной
производительности, наличие широкой гаммы модулей ввода-вывода дискретных и
аналоговых сигналов, функциональных модулей и коммуникационных процессоров.
Функциональная схема контроллера приведена на рис. 8.4., где приведены
следующие условные обозначения: 1 - модуль центрального процессора; 2 -
интерфейсный модуль; 3 - модуль ввода дискретных сигналов; 4 - модуль вывода
дискретных сигналов; 5 - модуль ввода аналоговых сигналов; 6 - модуль вывода
аналоговых сигналов.
Функциональная схема контроллера
Рисунок 8.6 - Функциональная схема контроллера SIMATIC S7-300
Контроллеры SIMATIC
S7-300 имеют модульную конструкцию и
могут включать в свой состав:
·
Модули
центральных процессоров (CPU).
В зависимости от степени сложности решаемых задач в контроллерах могут быть
использованы различные типы центральных процессоров, отличающиеся
производительностью, объемом памяти, наличием или отсутствием встроенных
входов-выходов и специальных функций, наличием или отсутствием коммуникационных
интерфейсов.
·
Сигнальные модули
(SM), предназначенные для ввода-вывода дискретных
и аналоговых сигналов с различными электрическими параметрами.
·
Коммуникационные
процессоры (CP) для подключения к сетям PROFIBUS, Industrial Ethernet, AS интерфейсу или организации связи по PPI (point to point) интерфейсу.
·
Функциональные
модули (FM), способные самостоятельно решать
задачи автоматического регулирования, позиционирования, обработки сигналов.
Функциональные модули снабжены встроенным микропроцессором и способны выполнять
возложенные на них функции даже в случае отказа центрального процессора ПЛК.
При необходимости в составе контроллера могут быть использованы:
·
Модули блоков
питания (PS), обеспечивающие возможность питания
контроллера от сети переменного тока напряжением 120 - 230 В.
·
Интерфейсные
модули (IM), обеспечивающие возможность
подключения к центральному контроллеру стоек расширения ввода-вывода.
Контроллеры SIMATIC S7-300 позволяют использовать в своем составе до 32 сигнальных
и функциональных модулей, а также коммуникационных процессоров, распределенных
по четырем монтажным стойкам. Все модули работают с естественным охлаждением.
8.4 Выбор аппаратов
В качестве центрального процессора выбираем процессор CPU 316-2 DP для построения модульных систем автоматизации со сложными
алгоритмами обработки информации, использующих системы локального
распределенного ввода-вывода, подключаемые по PROFIBUS-DP. Основные технические характеристики данного процессора
приведены в таблице 8.3.
Таблица 8.3 - Технические характеристики процессора CPU 316-2 DP
|
Тип процессора
|
CPU 316-2 DP
|
|
Объем памяти программ
|
128Кбайт/ 42Кбайт
инструкции
|
|
Встроенная, RAM
|
192 Кбайт
|
|
Карта памяти, Flash-EEPROM
|
До 4Мбайт
|
|
Пакет программирования
|
STEP 7 V 5.0
|
|
Время выполнения логические
операции операции со словами операции с таймерами и счетчиками сложение целых
чисел сложение действительных чисел Контроль длительности цикла по умолчанию
допустимый диапазон
|
0,3...0,6 мкс 1,0 мкс 12
мкс 2,0 мкс 50,0 мкс 150 мс 1...6000 мс
|
|
Напряжение питания:
номинальное значение допустимый диапазон изменений Потребляемый ток Пусковой
ток Потребляемая мощность Габариты Масса
|
= 24 В 20,4...28,8 В 1 А 8
А 8 Вт 80х125х130 мм 0,53 кг
|
|
Степень защиты
|
IP 20
|
|
Диапазон рабочих температур
|
0...60°С
|
|
Относительная влажность
|
До 95% без конденсата
|
Выбираем модули ввода дискретных сигналов SM 321, основные характеристики которых приведены в таблице
8.4.
Таблица 8.4 - Технические характеристики модуля ввода
|
Тип модуля
|
SM 322
|
|
Количество входов
|
16
|
|
Напряжение питания модуля:
номинальное значение допустимый диапазон изменений Входное напряжение:
номинальное значение логической единицы логического нуля Изоляция Входной ток
логической единицы Потребляемый ток Потребляемая мощность Габариты Масса
|
= 24 В 20,4...28,8 В = 24
В -13...-30 В -5...+30 В Оптоэлектронная 7,0 мА 10 мА 3,5 Вт 40х125х120 мм
0,2 кг
|
Выбираем модули вывода дискретных сигналов SM 322, основные характеристики которых приведены в таблице
8.5.
Таблица 8.5 - Технические характеристики модуля вывода
|
Тип модуля
|
SM 334
|
|
Количество выходов
|
16
|
|
Напряжение питания нагрузки
L+/L1: номинальное значение допустимый диапазон
изменений Входное напряжение логической единицы: Выходной ток логической
единицы: при номинальном напряжении и 60°С минимальный Выходной ток
логического нуля Суммарный выходной ток Ламповая нагрузки Частота
переключения выходов: при активной нагрузке при индуктивной нагрузке при
ламповой нагрузке Ограничение коммутационных перенапряжений Потребляемый ток:
от шины расширения ввода-вывода от источника питания L+/L1
Потребляемая мощность Габариты Масса
|
= 24 В 20,4...28,8 В L+
- 0,8 В 0,5 А 5 мА 0,5 мА 3,0 А 5 Вт 100 Гц 0,5 Гц 100 Гц L+
- 48 В 90 мА 200 мА 5,0 Вт 40х125х120 мм 0,21 кг
|
9.
ПРОЕКТИРОВАНИЕ СХЕМЫ ЭЛЕКТРОСНАБЖЕНИЯ И ЗАЩИТЫ ПРОМЫШЛЕННОЙ УСТАНОВКИ
9.1 Выбор аппаратов, проводов и кабелей
9.1.1 Выбор автоматических выключателей
Для защиты электрических цепей от коротких замыканий, перегрузок,
снижения напряжения на входе системы устанавливается автоматический
выключатель. Он предназначен для нечастых коммутаций. Автоматический выключатель
выбирается из следующего условия:
, (9.1)
где IНР - номинальный ток расцепителя,
А;
IДЛ -
длительный ток, протекающий через автоматический выключатель, А;
IДЛ = Iном=549 А - номинальный ток
двигателя.
Следовательно, автоматический выключатель должен соответствовать условию IНР ≥549 А. Из справочника [9],
по этому условию выбираем выключатель автоматический типа ВА-57-35.
Автоматические выключатели ВА 57-39 341810 630А предназначены для
проведения тока в нормальном режиме и отключения тока при коротких замыканиях,
перегрузках и недопустимых снижениях напряжений, а также для нечастых,
оперативных включений и отключений электрических цепей.
Параметры автоматического выключателя ВА-57-39:
Номинальное напряжение 600 В;
Номинальный ток 630 А;
Номинальный ток расцепителя 550 А.
Определим требуемую кратность тока отсечки:
, (9.2)
где IПИК -
пиковый ток, который примем равным наибольшему пусковому току электродвигателя;
А;
,25 -
коэффициент, учитывающий разброс защитных характеристик автоматических
выключателей, а также погрешность в определении пикового тока.
По
формуле 9.2 определяем
;
Из
стандартного ряда выберем значение
.
Рассчитаем
ток срабатывания расцепителя:
А.
Проверяем невозможность срабатывания расцепителя автоматического
выключателя при пуске электродвигателя:
;
.
Условие выполнено, поэтому считаем выбор автоматического выключателя
законченным.
9.1.2 Выбор сечения проводов
Выбор сечения проводов и кабелей в электрических сетях до 1 кВ проводится
по следующим условиям:
·
по допустимому
нагреву длительным током нагрузки;
·
по условию
соответствия аппаратов максимальной токовой защиты установленной в начале
линии.
Выбор сечения кабеля по допустимому нагреву производится из таблиц
допустимых токов по условию:
, (9.3)
где kП - коэффициент, учитывающий
фактические условия прокладки, при нормальных условиях прокладки kП =1.
Следовательно, должно выполняться условие IДОП≥549 А.
Выбор сечения по условию соответствия аппаратам максимальной токовой
защиты установленных в начале линии производится по условию:
, (9.4)
где kЗ - кратность длительно допустимого
тока проводника по отношению к IНОМ
или току срабатывания защитного аппарата. При использовании автоматического
выключателя, имеющего только отсечку, kЗ=0,22;
IСР - при
использовании автоматических выключателей с отсечкой
А.
Тогда
по условию 10.4:
А.
Так
как сечение выбирается по наибольшему току, то из условий 9.3 и 9.4 выбираем
наибольший допустимый ток, то есть должно выполняться условие IДОП≥549
А.
Для
кабеля напряжением до 1 кВ с медными жилами, сечение должно быть S≥0,75
мм2 [12]. Следовательно, выбираем провода марки ППСРМО со способом прокладки в
трубе, сечением 1,0 мм2 на напряжение 660В.
9.2 Составление таблицы перечня элементов электрооборудования
производственной установки
На основе вышеприведённого выбора элементов электрооборудования
производственной установки составим таблицу перечня элементов
электрооборудования производственной установки. В таблице 9.1 приведён перечень
элементов силовой схемы электропривода.
Таблица 9.1 - Перечень элементов силовой схемы
|
Поз. обозн.
|
Наименование
|
Кол.
|
Примечание
|
|
Автоматические выключатели
|
|
|
|
QF1, QF2
|
ВА-57-39
|
2
|
|
|
|
|
|
|
Кабель
|
|
|
|
ППСРМО
|
|
|
|
|
|
|
|
Накопитель энергии
|
|
|
|
заказ
|
|
|
|
|
|
|
|
Контроллер
|
|
|
|
S70-300 (CPU
212)
|
|
|
|
|
|
|
|
Электродвигатель
|
|
|
|
М1
|
4A355М4У3
|
1
|
|
10.
ПРОЕКТИРОВАНИЕ СХЕМЫ ЭЛЕКТРИЧЕСКОЙ ПРИНЦИПИАЛЬНОЙ АВТОМАТИЗИРОВАННОГО
ЭЛЕКТРОПРИВОДА
В данной принципиальной схеме используется следующее распределение клемм
силовых цепей, представленных в таблице 10.1.
Таблица 10.1 - распределение клемм силовых цепей
|
Клемма
|
Название клеммы
|
|
|
STF
|
Пуск в прямом направлении
|
Подача сигнала на клему STF
вызывает вращение в прямом направлении. При одновременной подаче сигналов на
клеммы STF и STR выполняется команда STOP
|
|
STR
|
Пуск в обратном направлении
|
Подача сигнала на клему STК
вызывает вращение в обратном направлении. При одновременной подаче сигналов
на клеммы STF и STR выполняется команда STOP
|
|
STOP
|
Импульсное управление для
STF/STR
|
Если на клемму подан сигнал
STOP, сигналы на запуск не требуют фиксации.
|
|
RH, RM, RL
|
Ступенчатое задание
скорости
|
|
|
RES
|
Сброс
|
Выполняется сброс защитной
функции
|
|
AU
|
Активизация токового входа
|
Активизируется задание
частоты входовым сигналом 4 - 20mA DC.
|
|
CS
|
Перезапуск после провала
питания
|
Автоматический перезапуск
после провала сигнала
|
Таблица 10.2 - Сигналы управления
|
Клемма
|
Название клеммы
|
Описание
|
|
2
|
Вход задания сигнала по
напряжению
|
На данную слему подается
потенциал 0 - 5 (10) V. Входное сопротивление 10кОм.
|
|
5
|
Общий для сигнала задания
|
Клемма 5 является
референсной точкой для всех аналоговых входов/выходов инвертора. Клемма не
предусматривает гальванической развязки от референсного потенциала цепей
управления и не должна зазимляться.
|
|
1
|
Вспомогательный вход
задания частоты
|
Вспомогательный вход
задания частоты 0 - 5 (10) V DC соответствует клемме 1 цепей управления. По
умолчанию тип входа: 0-10 V DC, входное сопротивление 10 кОм.
|
|
4
|
Вход сигнала задания по
току
|
Задание тока DC 0/4-20 mA
|
|
10, 10Е
|
Источник питания
потенциометра
|
|
11. ОХРАНА
ТРУДА
11.1 Электробезопасность
Все применяемые в автобусе элементы электрооборудования и электронных
систем устойчивы к воздействию импульсов от электростатических разрядов.
Автобус оборудован устройством контроля токов утечки, отключающем привод
при появлении опасных токов утечки. Величина тока утечки в нормальных
климатических условиях должна быть не более 0,2 мA. Поручни двери и нижние ступеньки изолированы от каркаса
автобуса. Сопротивление изоляции не менее 6,0 МОм.
Каждая электрическая цепь питания любого элемента электрооборудования
оснащена плавким предохранителем или автоматическим выключателем.
При проведении на автобусе сварочных работ или других работ с применением
электроинструмента аккумуляторные батареи должны быть отключены от
электрических цепей. Зажим массы сварочного аппарата должен подключаться как
можно ближе к точке сварки.
При подаче высокого напряжения нахождение обслуживающего персонала внутри
автобуса или на расстоянии менее 2 метров снаружи категорически запрещается.
Проверка должна проводиться специально обученным и имеющим удостоверение об
этом персоналом.
Защита от токов утечки имеет большое значение в плане безопасности
пассажиров и водителей автобуса.
В связи с наличием на автобусе токоприемников в изоляции его корпуса от
земли пневматическими шинами всякое ухудшение или повреждение изоляции
токоведущих частей вызывает появление на корпусе некоторого потенциала. В этом
случае через человека, стоящего на земле и касающегося металлических частей
кузова, проходит ток утечки, при неблагоприятных условиях достигающий опасной
для жизни человека величины. Наиболее опасны токи утечки в сырую погоду
(снеготаяние, туман, дождь и др.).
Для защиты и предохранения от токов утечки можно применять следующие
способы: усиление изоляции электрической проводки и токоведущих частей
электрического оборудования; сокращение протяженности высоковольтной
электрической проводки, разветвленной по кузову; введение в схему
сигнализирующих устройств; введение в схему специальных устройств для отвода
токов утечки через токоприемник и отрицательный контактный провод в землю.
Понижение уровня изоляции между токоведущими частями и корпусом автобуса
может возникнуть уже после выпуска автобуса на линию, особенно при изменившихся
погодных условиях. Поэтому на автобуса желательно иметь сигнализацию о снижении
уровня изоляции.
Одна из простейших схем устройства, сигнализирующего водителю о снижении
уровня изоляции токоведущих частей относительно корпуса автобуса во время его
стоянки и работы на линии, приведена на рисунке 11.2,а. Схема обеспечивает
непрерывный контроль токов утечки между токоведущими частями и корпусом
троллейбуса. Устройство состоит из трех частей: коробки с размещенными в ней
резисторами, диодами и конденсаторами, стрелочного указателя и выключателя. В качестве
указателя используют малогабаритный магнитоэлектрический милливольтметр с малым
потреблением и большой перегрузочной способностью. Зажимы J и Т присоединяют к контактной сети
автобуса. Стрелочный указатель одним зажимом присоединяют к корпусу автобуса, а
вторым через диоды VD и резисторы R1=60 кОм - к токоприемникам.
Конденсаторы С защищают диоды от кратковременных пиков напряжения. При хорошем
состоянии изоляции токоведущих частей по отношению к корпусу автобуса стрелка
указателя не отклоняется. Поэтому для проверки указателя имеется потенциометр,
состоящий из резисторов R2=1800
кОм. При замыкании выключателя П средняя точка резисторов «R2 соединяется с корпусом автобуса.
При этом, если на зажиме J “+”
контактной сети, то ток из сети проходит через левый резистор R2, выключатель П, указатель V, резистор R3=40 кОм, правый диод VD и резистор R1 к
“-” контактной сети. Стрелка указателя отклонится на одну треть шкалы, что
свидетельствует об исправности прибора.
а) б)
При понижении уровня изоляции со стороны плюса (Rиз+) по стрелочному указателю проходит ток утечки.
Расчет тока в указателе Iук и
тока утечки Iчел между корпусом автобуса и
заземлителем можно выполнить с помощью расчетной схемы, представленной на
рисунке 11.2,б. В этой схеме сопротивления изоляции между токоприемниками и
корпусом автобуса представлены в виде сосредоточенных составляющих Rиз+ (между плюсовым проводом и
корпусом) и Rиз- (между минусовым проводом и
корпусом); Rчел - сопротивление между корпусом
автобуса и заземленным минусом тяговой подстанции, имитирующее сопротивление
человека, стоящего на земле и касающегося корпуса; Uп - напряжение между токоприемниками автобуса; ∆U - падение напряжения в одном из
проводов контактной сети; Uпс -
напряжение на шинах тяговой подстанции. Для расчета составим следующую систему
уравнений:
1=Iук+I2+Iчел;
Uп=I1Rиз+ +IукRук;укRук=I2Rиз-;п+∆U=I1Rиз+ + IчелRчел .
Здесь Rук=R1+R3=100 кОм. (11.1)
После совместного решения системы (11.1) и преобразований получим:

(11.2)
(11.3)
Из (11.3) видно, что ток утечки между корпусом автобуса и заземленным
минусом подстанции зависит от Uп , ∆U, Rиз+ , Rиз- ,
Rчел . при конкретных значениях
параметров выражений (11.2), (11.3) можно значительно упростить. Так,
сопротивление резиновых шин имеет обычно большую величину. Поэтому во время
движения. Когда не может быть соприкосновения человека с корпусом автобуса,
можно принять Rчел →∞. Тогда (11.2)
примет вид:
(11.4)
При Iук=0,42 мА стрелка указателя прибора
достигает красной черты, что соответствует минимальному уровню изоляции
токоведущих частей относительно корпуса троллейбуса по условиям безопасности.
Из (11.4) при Uп=600 В, Rук=100 кОм и Iук=0,42
мА:

(11.5)
Эквивалентное расчетное сопротивление изоляции Rиз.э , получается между токоведущими частями и корпусом, а
также расчетный ток утечки Iут
между корпусом и автобуса и заземлителем при установке обоих токоприемников на
плюсовой провод контактной сети:
из.э=Rиз+ Rиз-
/(Rиз+ +Rиз- ) (11.6)ут=Uп/Rиз.э (11.7)
При соприкосновении человека с корпусом автобуса в расчетах обычно
принимают Rчел=1 кОм. Остальные сопротивления,
входящие в (11.3), на два порядка больше Rчел, что позволяет существенно упростить выражение (11.3).
Пусть Uпс=750 В, Uп=600 В, ∆U=75 В и Rчел=1 кОм при таком малом Rчел, ∆U>IукRук, поэтому во время соприкосновения
заземлителя с корпусом автобуса (через Rчел=1 кОм) ток по указателю не проходит, что эквивалентно Rук →∞. При Rчел=1 кОм и Rук →∞ (12.3) преобразовывается:
Iчел=(Uп+∆U)/Rиз+ +∆U/Rиз- (11.8)
В таблице 11.1 приведены результаты расчета Rиз+ , Rиз- ,
Rиз.э , Iут при условии Iук=0,42
мА, а также значение тока Iчел
через человека при соприкосновении его с корпусом для двух значений ∆U - 75 и 100 В.
Таблица 11.1
|
Rиз-, Ом
|
50
|
100
|
250
|
500
|
1000
|
2000
|
∞
|
|
Rиз+, Ом
|
442
|
665
|
950
|
1110
|
1210
|
1265
|
1330
|
|
Rиз.э,кОм
|
44,9
|
87
|
198,5
|
344
|
547
|
694
|
1330
|
|
Iчел, мА, при U=75 В
|
2,885
|
1,765
|
1,011
|
0,759
|
0,635
|
0,571
|
0,57
|
|
Iчел, мА, при ∆U=100 В
|
4,36
|
2,403
|
1,231
|
0,841
|
0,646
|
0,550
|
0,451
|
Как видно из (11.2) - (11.8) и результатов расчетов, отклонение стрелки
указателя на предельный уровень изоляции и ток утечки между корпусом автобуса и
заземлителем зависят не только от состояния изоляции со стороны плюса, но и со
стороны минуса. При низкой изоляции со стороны минуса значительное влияние на
ток Iчел оказывает падение напряжения в
контактной сети (∆U),
что видно из (11.8). Так, при Rиз-
=50 кОм и Rиз+ =442 кОм стрелка указателя
покажет предельное значение уровня изоляции, а ток утечки при ∆U=150 В превысит допустимое значение
по ПТЭ. Таким образом, при Rиз- ≤50
кОм стрелка не укажет недопустимый уровень изоляции по условиям безопасности,
хотя ток утечки при неблагоприятных условиях может быть выше допустимого ПТЭ
(большое ∆U и малое Rчел ). При больших ∆U показания прибора уменьшаются также
при конечном значении изоляции шин, что видно из (11.2).
Важное значение для предупреждения повышенных токов утечки имеет
тщательная и систематическая проверка изоляции токоведущих частей автобуса
перед выпуском их на линию.
Электрическое сопротивление изоляции токоведущих частей должно быть не
менее величин, указанных в таблице 11.2.
Таблица 11.2 - Электрическое сопротивление изоляции
|
Проверяемые цепи
|
Амплитудное значение
испытательного напряжения, В
|
Сопротивление изоляции при
нормальных климатических условиях по ГОСТ 15150 МОм, не менее
|
|
Между электрической цепью с
номинальным напряжением 550 В постоянного тока, 380 В переменного тока и
каркасом автобуса
|
1000
|
6,0
|
|
Между электрическими цепями
с номинальным напряжением 27 В и каркасом автобуса
|
30
|
1,0
|
|
Между электрическими цепями
с номинальным напряжением 550 В постоянного тока,380 В переменного тока и
электрическими цепями с номинальным напряжением 27 В
|
500
|
5,0
|
Изоляция электрических цепей с номинальным напряжением 550 В постоянного
тока и 380 В переменного тока должна выдерживать в течение 1 минуты без пробоя
испытательное напряжение переменного тока согласно таблице 11.3.
Таблица 11.3 - Испытательные напряжения переменного тока
|
Проверяемые цепи
|
Амплитудное значение
испытательного напряжения в нормальных климатических условиях по ГОСТ 15150,
кВ
|
|
Между электрическими цепями
с номинальным напряжением 550 В постоянного тока и 380 В переменного тока и
каркасом автобуса
|
2,7
|
11.2 Пожарная безопасность
Должны быть выполнены требования пожарной безопасности Правил ЕЭК ООН
№36.
Автобус комплектуется двумя огнетушителями. В кабине водителя
устанавливается огнетушитель ОПУ-5.00.00.00, а в пассажирском салоне - ОП-2.
Порошковые огнетушители в настоящее время получили наибольшее
распространение. Они применяются для ликвидации загорания и пожаров всех
классов. Огнетушители выпускаются трех типов: ручные(переносные),возимые и
стационарные.
В качестве огнетушащего средства используют порошки общего и специального
назначения. Порошки обычного назначения используют при тушении пожаров и
возгораний ЛВЖ, газов, древесины, и т.д. Порошки специального назначения
применяются при ликвидации пожаров и загораний щелочных металлов, алюминий- и
кремнийорганических соединений и других пирофорных(способных к самовозгоранию)
веществ.
Огнетушитель ОП-10 приводиться в действие нажатием на пусковой рычаг.
После этого игольчатый шток прокалывает мембрану баллона, поступает по сифонной
трубке под аэроднище. В центре сифонной трубки (по высоте) имеется ряд
отверстий, через которые выходит часть рабочего газа и производится рыхление
порошка. Взрыхленный порошок под действием давления рабочего газа выдавливается
по сифонной трубке и выбрасывается через пасадок на очаг загорания.
В рабочем положении огнетушитель необходимо держать строго вертикально.
Переносной порошковый огнетушитель ОП-1 «Спутник», предназначенный для
тушения небольших загораний, состоит из корпуса, сетки и крышки. Все детали
изготовлены из пластмассы. Для приведения его в действие необходимо отвернуть
крышку на горловине, взять огнетушитель за нижнюю часть корпуса, подойти к
месту загорания, встряхнуть огнетушитель, опрокинуть его горловиной вниз
подавать порошок в очаг горения.
В порошковом огнетушителе ОП-1 «Момент» порошок выбрасывается углекислым
газом, который содержится в стальном баллончике (37г под давлением 0.8 МПа,
кгс/см2). В верхней части огнетушителя на предохранителе закреплена полусфера с
наконечником, служащим для прокола мембраны в горловине баллончика.
Эти огнетушители выпускаются Витебским заводом электроизмерительных
приборов, Новогрудским заводом газовой аппаратуры и Лидским заводом
сельскохозяйственного машиностроения.
Неметаллические материалы, применяемые для отделки салона автобуса, соответствуют
требованиям ГОСТ 25076.
Количество аварийных выходов соответствует требованиям Правил ЕЭК ООН
№36.
Автобус имеет следующие аварийные выходы:
· два аварийных люка крыши;
· четыре запасных окна на левой боковине;
· пять служебных дверей на правой боковине, оборудованных
кнопкой аварийного открывания.
Электроотопители салона и кабины водителя оборудованы автоматическими
устройствами, отключающими нагревательные элементы при повышении температуры
внутри отопителей или остановке вентилятора.
Все аварийные выходы обозначены информационными табличками. Рядом с
каждым запасным окном должен располагаться молоток, позволяющий разбить стекло
запасного окна.
12. ЭКОНОМИЧЕСКОЕ ОБОСНОВАНИЕ ТЕХНИЧЕСКИХ РЕШЕНИЙ
Расчет технико-экономических показателей осуществляется на основе анализа
сравнительных технических данных двух альтернативных систем электропривода.
Экономическая оценка базируется на принципе минимальных расходов: минимальных
начальных затрат, эксплуатационных затрат, затрат электроэнергии, затрат связанных
с вынужденным простоем электрооборудования. По техническим соображениям принят
комплектный электропривод переменного тока фирмы MITSUBISHI ELECTRIC типа FR-A540-375k.
Сравним данный электропривод сэлектроприводом постоянного тока. Технические
данные электрооборудования сравниваемых систем приведены в таблице 12.1.
Таблица 12.1 - Технические данные электрооборудования сравниваемых систем
|
Параметры
|
Вариант с ДПТ
|
Проектируемый вариант
|
|
Тип двигателя
|
под заказ
|
4А355M4У3.
|
|
Мощность, кВт
|
315
|
315
|
|
к.п.д., %
|
88,5
|
94,5
|
|
Частота вращения, об/мин
|
1450
|
1470
|
|
Тип преобразователя
|
-
|
FR-A540-375k
|
|
Мощность преобразователя,
кВт
|
-
|
375
|
|
к.п.д. преобразователя, %
|
-
|
0,98
|
|
Передаточный механизм
|
Коробка скоростей
|
Редуктор
|
Наиболее дорогостоящими составляющими электропривода являются двигатель,
преобразователь и передаточный механизм. Таким образом, сметная стоимость
электропривода для варианта с ДПТ:
,
где
Кдв1 - стоимость электродвигателя под заказ,
Кдв1
= 49067310 руб.,
Кпра
- стоимость пускорегулирующей аппаратуры, Кпра1 = 775000 руб.,
Ккс
- стоимость коробки скоростей, Ккс = 1535000 руб.
.
Для
проектируемого варианта:
,
где
Кдв2 - стоимость электродвигателя 4А355M4У3,
Кдв2
= 18160620 руб.,
Кпр
- стоимость преобразователя MITSUBISHI ELECTRIC ,
Кпр
= 4235380 руб.,
Кр
- стоимость редуктора, Кр = 570000 руб.
Кпра
- стоимость пускорегулирующей аппаратуры, Кпра1 = 374000 руб.,
.
Стоимость
монтажных работ вычисляется отдельно для электропривода и рабочего механизма.
Для электропривода эту величину можно принять равной 6% от стоимости
электропривода, для рабочего механизма - 5% стоимости электропривода. Таким
образом, стоимость монтажных работ:
для
варианта с ДПТ:
.
для
проектируемого варианта:
.
Транспортно-заготовительные
работы, составляют 2% от суммы стоимости электропривода и стоимости монтажных
работ
для
варианта с ДПТ :
.
для
проектируемого варианта:
.
Плановое
накопление монтажной организации составляют 10% от стоимости монтажных работ
для
варианта с ДПТ:
.
для
проектируемого варианта:
.
Для
наглядности выполненный расчет капитальных вложений для обоих вариантов сведем
в таблицу 12.2
Таблица
12.2 - Капитальные вложения для обоих вариантов
|
Источник затрат
|
для варианта с ДПТ
|
Проектный вариант
|
|
Электродвигатель, руб.
|
49067310
|
18160620
|
|
Преобразователь, руб.
|
-
|
4235380
|
|
Пускорегулирующая
аппаратура, руб.
|
775000
|
374000
|
|
Механическая передача, руб.
|
1535000
|
570000
|
|
Монтажные работы, руб.
|
5651500
|
2567400
|
|
Транспортно-
заготовительные работы, руб.
|
1140580
|
518150
|
|
Плановые накопления
монтажной организации, руб.
|
114060
|
51820
|
|
Суммарные капитальные
вложения, руб.
|
58283450
|
26477370
|
При расчете эксплуатационных затрат важное значение имеет величина
периода, за который производится расчет. При сравнении приводов ограничимся
периодом 20 лет.
Затраты на электроэнергию определяются количеством энергии, потребляемой
за год, номинальной мощностью двигателей, а также тарифной ставкой на
электроэнергию. Для расчета энергии, потребляемой за год, нужно знать суммарное
время работы электропривода за год, которое определяется коэффициентом
использования:
,
где
ПВ - продолжительность включения установки, о.е.;
tраб.см -
продолжительность работы установки за смену, tраб.см = 8 ч;
tсм - число
рабочих часов за смену, tсм = 8 ч.
.
Определим
число рабочих часов установки за год:
,
где
Траб.см. - число рабочих дней в году, Траб.см. = 365;
nсм - число смен
в сутки, nсм = 2;
.
Определим
энергию, потребляемую за год:
для
варианта с ДПТ :
,
где
Рндвх, hх - номинальные параметры двигателя, таблица 12.1;
.
для
проектируемого варианта:
.
Таким
образом, затраты на электроэнергию за 20 лет эксплуатации
для
варианта с ДПТ :
;
где
Стс - тарифная ставка, Стс = 87,34 руб/кВт×ч;
.
для
проектируемого варианта:
.
Амортизационные
отчисления составляют 9,5% от сметной стоимости электропривода. Тогда для обоих
вариантов:
;
;
.
Плановая
продолжительность ремонтного цикла (ремонтный цикл - наработка электрического
оборудования, выраженная в годах календарного времени между двумя капитальными
плановыми ремонтами) для асинхронного двигателя:
;
где
Ттабл.дв. - продолжительность ремонтного цикла для электродвигателя, Ттабл.дв.
= 9 лет;
bр - коэффициент,
определяемый сменностью работы оборудования, bр = 2;
bо - коэффициент,
учитывающий уменьшение ремонтного цикла машин, отнесенных к категории основного
оборудования, bо = 0,85;
.
Для
преобразователя частоты:
;
где
Ттабл.пч. - продолжительность ремонтного цикла для преобразователя частоты,
Ттабл.пч. = 6 лет.
.
Для
редуктора:
;
где
Ттабл.р. - продолжительность ремонтного цикла для редуктора, Ттабл.р. = 5 лет.
.
Для
коробки скоростей:
;
где
Ттабл.кс. - продолжительность ремонтного цикла для коробки скоростей, Ттабл.кс.
= 5 лет.
.
Наработка
энергетического оборудования, выраженная в месяцах календарного времени между
двумя плановыми ремонтам, для асинхронного электродвигателя:
.
Для
преобразователя частоты:
.
Для
редуктора:
.
Для
коробки скоростей:
.
По
полученным величинам можно рассчитать количество капитальных и текущих ремонтов
в расчете за 1 год. Количество капитальных ремонтов в год составляет:
;
;
;
.
Количество
текущих ремонтов за один год определяется аналогично:
,
,
,
.
По
заданному количеству ремонтов в год, а также по заданной норме трудоемкости
определяется годовая трудоемкость ремонтов. Годовая трудоемкость электрических
машин рассчитывается по формуле:
,
где
Нк.р.ад - норма трудоемкости капитальных ремонтов для двигателя, Нк.р.ад = 32
человеко-часов;
Кw - поправочный коэффициент, учитывающий частоту вращения
электродвигателя, Кw = 1,1.
.
Для
преобразователя частоты:
.
Для
редуктора:
.
Для
коробки скоростей:
.
Годовая
трудоемкость текущих ремонтов для соответствующих типов определяем аналогично
трудоемкости капитальных ремонтов:
.
.
.
.
Для
удобства сравнения выполненный расчет трудоемкости ремонта и технического
обслуживания для обоих вариантов сведен в таблицу 12.3.
Таблица
12.3 - Трудоемкость ремонта и технического обслуживания для обоих вариантов
|
Тип оборудования
|
Базовый вариант
|
Проект. вариант
|
|
Годовая трудоемкость
капитальных ремонтов, человеко-часы
|
|
Электродвигатель
|
2,4
|
2,4
|
|
Преобразователь
|
-
|
8,4
|
|
Пускорегулирующая аппаратура
|
0,6
|
0,6
|
|
Механическая передача
|
16,8
|
12,4
|
|
Годовая трудоемкость
текущих ремонтов, человеко-часы
|
|
Электродвигатель
|
3,82
|
3,82
|
|
Преобразователь
|
-
|
2,13
|
|
Пускорегулирующая
аппаратура
|
0,95
|
0,95
|
|
Механическая передача
|
15,4
|
12,1
|
|
Годовая трудоемкость технического
обслуживания, человеко-часы
|
|
Электродвигатель
|
22,8
|
22,8
|
|
Преобразователь
|
-
|
28,4
|
|
Пускорегулирующая
аппаратура
|
6,8
|
5,7
|
|
Механическая передача
|
98,8
|
55,8
|
|
Суммарная трудоемкость
эксплуатации оборудования:
|
168,37
|
155,5
|
По известной годовой трудоемкости эксплуатации оборудования, учитывая
тарифную ставку ремонтного рабочего, а также соответствующие налоги, можно
определить затраты на заработную плату ремонтных рабочих:
для варианта с ДПТ:
,
где
Стар - часовая тарифная ставка ремонтного рабочего (по 4-му разряду), Стар =
1003,4 руб/ч;
Снал
- коэффициент, определяющий затраты на выплату налогов в связи с начислением
зарплаты:
%
- чернобыльский налог,
%
- начисление на содержание,
%
- фонд социальной защиты населения,
%
- фонд занятости населения,
%
- начисление на премирование,
%
- начисление на выплату дополнительной зарплаты.
ТS - суммарная трудоемкость эксплуатации оборудования.
.
Для
проектируемого варианта:
.
Стоимость
материалов для ремонта и обслуживания принимается равной 100% от основной
заработной платы ремонтных рабочих без учета выплаты налогов:
для
варианта с ДПТ:
.
Для
проектируемого варианта:
.
Общецеховые
расходы принимаются равными 100% от основной заработной платы без учета
налогов, т.е.:
;
.
Общезаводские
расходы принимаются равными 50% от основной заработной платы без учета налогов:
;
.
Таким
образом, найдены все величины, необходимые для определения годовых
эксплуатационных расходов для обоих вариантов. Приведенные затраты определяем
по формуле:
,
где
;
-
капитал вложения;
-
годовые эксплутационные издержки.
Для
варианта с ДПТ:
Для
проектируемого варианта:
Полученные
показатели сравниваемых вариантов приведены в таблице 12.4.
Таблица
12.4 - Показатели сравниваемых вариантов