Расчет тепловой схемы производственно-отопительной котельной с выбором основного и вспомогательного оборудования
Федеральное агентство по образованию
ГОУ ВПО «Уральский федеральный
университет - УрФУ»
Уральский энергетический институт
Кафедра «Теплоэнергетика и
теплотехника»
КУРСОВОЙ ПРОЕКТ
Генераторы тепла и автономное теплоснабжение зданий
Расчет тепловой схемы
производственно-отопительной котельной с выбором основного и вспомогательного
оборудования
студент:
Чернавская Е.И.
Екатеринбург 2016
СОДЕРЖАНИЕ
1. ИСХОДНЫЕ ДАННЫЕ ДЛЯ КУРСОВОГО ПРОЕКТА
. ТЕПЛОВОЙ РАСЧЕТ КОТЕЛЬНОЙ
2.1 Тепловой расчет подогревателя
сетевой воды и охладителя конденсата
.2 Выбор мощности и числа котлов
.3 Определение потерь воды и
конденсата в тепловой схеме
.4 Тепловой расчет расширителя
непрерывной продувки и ВПУ
.5 Тепловой расчет подогревателей
сырой воды
.6 Расчет конденсатного бака
.7 Тепловой расчет деаэратора
питательной воды
.8 Тепловой расчет охладителя
деаэрированой воды
.9 Уточненный расчет
.10 Выбор диаметров трубопроводов
3. РАСЧЕТ И ВЫБОР ОСНОВНОГО И
ВСПОМОГАТЕЛЬНОГО ОБОРУДОВАНИЯ КОТЕЛЬНОЙ
3.1 Определение количества котлов
.2 Расчет и выбор теплообменных
аппаратов
.3 Выбор насосов
4. РАСЧЕТ ХИМВОДОПОДГОТОВКИ
4.1 Выбор схемы приготовления воды
.2 Расчёт оборудования
водоподготовительной установки
5. КОМПОНОВКА ОБОРУДОВАНИЯ КОТЕЛЬНОЙ
. АЭРОДИНАМИЧЕСКИЙ РАСЧЕТ
6.1 Сопротивление участков тракта
дымовых газов
.2 Сопротивление дымовой трубы.
Расчет самотяги
.3 Сопротивление участков воздушного
тракта
6.4 Выбор дымососа и вентилятора
.5 Разработка схемы ГРП
БИБЛИОГРАФИЧЕСКИЙ СПИСОК
1. ИСХОДНЫЕ ДАННЫЕ ДЛЯ КУРСОВОГО ПРОЕКТА
Задаваемые величины:
Расход пара на производство:
Макс. тепловая нагрузка на отопление, вентиляцию и горячее водоснабжение:
Доля возврата от
конденсата с производства:
Температура конденсата с производства:
Температура прямой сетевой воды:
Температура обратной сетевой воды:
Температура сырой воды:
Температура воды, сливаемой в канализацию,
КПД сетевых подогревателей:
Давление пара:
- на выходе из барабана котла
- на теплофикацию (по манометру)
- в деаэраторе
- в расширителе
- на деаэрацию (по манометру)
- на собственные нужды
- на производство (по манометру)
Свойства сырой воды:
|
Источник (река)
|
Место отбора
пробы
|
Сухой остаток, мг/дм3
|
Жесткость,
мг-экв/дм3
|
|
|
|
Жо
|
Ж
|
ЖСа
|
|
Урал
|
г. Гурьев
|
770
|
6,20
|
3,8
|
5,41
|
Вид топлива - газообразное: попутный газ Барса-Гельмес-Вышка-Небит-Даг
2. ТЕПЛОВОЙ РАСЧЕТ КОТЕЛЬНОЙ
Выписываем из справочника [1. таблица XXIII] теплофизические свойства воды и водяного пара на
линии насыщения по давлениям пара.
Таблица 2.1 Теплофизические свойства воды и водяного пара на линии
насыщения
|
Давление МПа
|
Температура
насыщения, t = ts,°С
|
Удельный объем
воды , м3/кг
|
Удельный объем
пара , м3/кг
|
Энтальпия воды , кДж/кг
|
Энтальпия пара , кДж/кг
|
Теплота
парообразования r, кДж/кг
|
|
Рб =1,4
|
195,04
|
0,0011489
|
0,14072
|
830,1
|
2788,4
|
1958,3
|
|
Рп = 0,7
|
164,96
|
0,0011082
|
0,27234
|
697,1
|
2762,9
|
2065,8
|
|
Рт = 0,9
|
175,36
|
0,0011213
|
0,21484
|
742,6
|
2773,0
|
2030,4
|
|
Рс.н.= 0,2
|
120,23
|
0,0010608
|
0,88592
|
504,7
|
2706,9
|
2202,2
|
|
Рвд = 0,12
|
104,33
|
0,0010472
|
1,48064
|
437,36
|
2683,0
|
2245,7
|
|
Рр = 0,15
|
111,37
|
0,0010530
|
1,1597
|
467,13
|
2693,9
|
2226,8
|
2.1
Тепловой расчет подогревателя сетевой воды и охладителя конденсата
Уравнение теплового баланса для пары теплообменных аппаратов для
подогрева сетевой воды [2. Формула (3.1)]:
.
Расход сетевой воды из уравнения теплового баланса [2. Формула (3.2)],
кг/с:
.
Расход пара на подогрев сетевой воды из теплового баланса [2. Формула
(3.3)], кг/с:
,
где
- заданная суммарная тепловая нагрузка на отопление,
;
- расход сетевой воды, кг/с;
- расход пара на отопление и т.д., кг/с;
и
- заданные температуры прямой и обратной сетевой воды,
,
;
- энтальпия редуцированного пара при давлении Рт перед
подогревателями сетевой воды,
(таблица 1);
- изобарная теплоемкость воды;
- КПД сетевых подогревателей, принимается равным 0,98;
- энтальпия конденсата после ОК при температуре
, кДж/кг;
.
Уравнение теплового баланса для охладителя конденсата:
, откуда
,
где
- энтальпия воды при давлении Рт.
Составляем схему подогревателя сетевой воды.
.2 Выбор
мощности и числа котлов
Котлы должны производить пар в количестве, достаточном для производства Dп, для подогрева сетевой воды Dт и для собственных нужд котельной.
Точное значение расхода пара на собственные нужды Dс.н определим после расчета всех
элементов тепловой схемы.
Предварительно принимаем Dс.н ,
равным 10 % от суммарного расхода на производство и подогрев сетевой воды [2.
Формула (3.4)], кг/с:
.
Предварительно определим число котлов:
,
где D - паропроизводительность одного
котла, т/ч.
. Предварительно число котлов nк=2.
Выбираем три котла марки ДЕ-10-1,4 , с паропроизводительностью 10 т/час. Согласно СниП Котельные установки (7) в котельной
нельзя ставить менее двух котлов.
2.3
Определение потерь воды и конденсата в тепловой схеме
Потери воды в теплосети [2. Формула (3.5)], кг/с:
.
Потери воды из паровой части схемы (их компенсируют подачей воды в
питательный деаэратор) складываются из:
а) потери конденсата на производстве [2. Формула (3.6)], кг/с:
,
где Dп и g - расход пара на производство и доля конденсата,
возвращаемого с производства;
б) потери конденсата в цикле котельной установки [2. Формула (3.7)],
кг/с:
;
в) потери воды из котла с непрерывной продувкой [2. Формула (3.8)],
кг/с:
,
где
- процент непрерывной продувки, принимаем 3 % (затем эту
величину уточним при расчете оборудования водоподготовительной установки).
Так как
, для подпиточной воды не требуется собственный деаэратора и
в общей схеме котельной будет один деаэратор.
2.4
Тепловой расчет расширителя непрерывной продувки и ВПУ
Продувочная вода не вся сбрасывается в канализацию. За счет снижения
давления воды в дроссельном клапане часть ее превращается в пар в расширителе
непрерывной продувки.
Пар идет в деаэратор питательной воды, а оставшаяся шламовая вода
направляется в теплообменник, где охлаждается, подогревая сырую воду на 5…10 ºС, и сбрасывается в канализацию.
Количество пара, получаемого в расширителе непрерывной продувки (РНП),
рассчитывается по тепловому балансу [2. Формула (3.9)], кг/с:
,
где
- энтальпия котловой воды,
(таблица 1);
и
- энтальпии пара и воды, выходящих из расширителя
непрерывной продувки при
,
и
.
Расход шламовой воды на выходе из расширителя непрерывной продувки (РНП)
[2. Формула (3.10)], кг/с:
,
Все потери воды восполняем химически очищенной водой [2. Формула (3.11)]:
,
Подача воды на водоподготовительную установку (ВПУ) [2. Формула (3.12)] поскольку,
примерно 25 % воды расходуется на собственные нужды ВПУ (промывка фильтров,
приготовление раствора соли и т.д.), кг/с:
,
.
Составляем схемы водоподготовительной установки (ВПУ) и непрерывной
продувки.
2.5
Тепловой расчет подогревателей сырой воды
Температура воды перед ВПУ должна быть
=30…35 оС по условию не выпадения
росы на наружных поверхностях труб и оборудования [2. Стр.15]. Поэтому сырая
вода нагревается паром в теплообменнике сырой воды.
Расход пара на подогреватель сырой воды [2. Формула (3.16)] кг/с:
,
Так как
, то устанавливаем первичный теплообменник для подогрева
сырой воды.
Рассчитаем теплообменник охладителя непрерывной продувки.
= 5 ºС.
.
Составляем схемы водяного и парового подогревателей сырой воды
2.6 Расчет
конденсатного бака
Уравнение материального баланса [2. Формула (3.24)] кг/с:
- суммарный расход конденсата из бака, кг/с.
Из баланса энергии найдем температуру конденсата на выходе из
конденсатного бака [2. Формула (3.25)], ºС:
,
где
- энтальпия конденсата, возвращаемого с производства,
кДж/кг,
.
tкп -
заданная температура конденсата, возвращаемого с производства,
.
Составляем расчетную схему конденсатного бака
2.7
Тепловой расчет деаэратора питательной воды
Расход пара на деаэрацию определяется из совместного решения уравнений
материального и теплового баланса [2. Формула (3.26)], кг/с:
,
где все значения расходов, температур и энтальпий берем из предыдущих
расчетов. Расход выпара из колонки деаэратора в расчетах принимаем равным нулю.
Уравнение материального баланса деаэратора:
Составляем схему деаэратора питающей воды
2.8
Тепловой расчет охладителя деаэрированой воды
Химочищенную воду перед питательным деаэратором подогревают до 60 оС в
теплообменнике [2. Формула (3.22)], кг/с:
, кг/с
Из уравнения теплового баланса определяем температуру питающий воды на
выходе из охладителя tподп
при заданной температуре питательной воды [2. Формула (3.21)], ºС:
,
где tхов - температура химически очищенной
воды на входе в охладитель деаэрированной воды, из схемы tхов=30 ºС;
- температура воды на выходе из деаэратора,
при
;
t’хов
- температура химически очищенной воды на выходе из теплообменника и
поступающая в питающий деаэратор t’хов
=60 ºС;
- расход воды из деаэратора, равный расходам
поступающим в него потоков,
Составляем схему охладителя питающей сетевой воды.
2.9
Уточненный расчет
Уточненный расход пара на собственные нужды, кг/с:
Уточненная паропроизводительность котельной [2. Формула (3.28)], кг/с:
.
Невязка с предварительно принятой паропроизводительностью котельной [2.
Формула (3.29)], %:
,
.
Составляем тепловую схему котельной с расчетными параметрами (рисунок
10). На тепловой схеме указываем расходы и температуру воды или пара на всех
трубопроводах, соединяющих агрегаты.
2.10 Выбор
диаметров трубопроводов
Определяем внутренний диаметр трубопровода dвн-расч, мм [3. Формула (10.107)]:
,
где G -расход среды, протекающий по
трубопроводу, м3/ч или кг/с;
ω -рекомендуемая скорость среды, м/с.
Для насыщенного пара давлением до 1,4 Мпа принимаем ωп=30 м/с, для воды в напорных
трубопроводах принимаем ωв=2,0 м/с, во всех других
трубопроводах принимаем ωв=1,5 м/с;
ρ - плотность среды, кг/м3;
υ - удельный объем среды, м3/кг (таблица
1).
Расчетный диаметр dвн-расч
округляем до ближайшего значения условного диаметра dвн по ГОСТ 3262-75 «Трубы стальные водогазопроводные.
Технические условия».
Определяем по принятому диаметру трубопровода dвн действительную скорость среды ω, м/с [3. Формула (10.108)]:
,
Материал и толщина стенок трубопроводов выбираются по давлению и
температуре протекающей среды. Водогазопроводные обыкновенные трубы
могут применяться для среды с давлением менее 1,0 Мпа и температурой менее 200 ºС, а усиленные - при давлении
менее 1,6 Мпа и температуре менее 200 ºС.
Сокращенное обозначение позиций на схеме (рисунок 10) представлены в
таблице 1.2.
Таблица 2.2 Принятые сокращения в тепловой схеме котельной
|
п/п
|
Принятое
сокращение
|
Расшифровка
принятого сокращения
|
|
1.
|
Д
|
Деаэратор
|
|
2.
|
ББ
|
Барботажный бак
|
|
3.
|
ПСВ
|
Подогреватель
сетевой воды
|
|
4.
|
ВПУ
|
Водоподготовительная
установка
|
|
5.
|
ОК
|
Охладитель
конденсата
|
|
6.
|
КБ
|
Конденсатный
бак
|
|
7.
|
РНП
|
Расширитель
непрерывной продувки
|
|
8.
|
ОДВ
|
Охладитель
деаэрированной воды
|
|
9.
|
ПсыВ1
|
Подогреватель
сырой воды и охладитель непрерывной продувки
|
|
10.
|
ПсыВ2
|
Подогреватель
сырой воды
|
|
11.
|
ДУ
|
Дроссельное
устройство
|
|
12.
|
ВЭК
|
Экономайзер
|
|
13.
|
СН
|
Собственные
нужды
|
|
14.
|
КН
|
Канализация
|
|
15.
|
СВ
|
Сырая вода
|
Таблица 2.3 Выбор диаметров трубопроводов
|
Наименование
трубопровода
|
№ п/п
|
t,ºС
|
D, G, кг/с
|
ν, м3/кг
|
ωрасч,
м/с
|
dрасч, мм
|
dвн, мм
|
ω, м/с
|
|
|
|
|
|
|
|
|
|
|
1
|
2
|
3
|
4
|
5
|
6
|
7
|
8
|
9
|
|
Пар
|
|
Котел-тройник
|
1
|
195,04
|
2,741
|
0,141
|
30
|
128,0
|
150
|
21,838
|
|
Тройник-гребёнка
|
2
|
195,04
|
5,482
|
0,141
|
30
|
181,0
|
200
|
24,567
|
|
Гребенка - РУ
на производство
|
3
|
195,04
|
1,220
|
0,141
|
30
|
85,4
|
100
|
21,870
|
|
РУ-паропровод
на производво
|
4
|
195,04
|
1,220
|
0,316
|
30
|
127,9
|
150
|
21,797
|
|
Гребенка-РУ на
теплофикацию
|
5
|
195,04
|
3,797
|
0,141
|
30
|
150,6
|
200
|
17,017
|
|
РУ-ПСВ
|
6
|
195,04
|
3,797
|
0,240
|
30
|
196,8
|
200
|
29,059
|
7
|
195,04
|
0,465
|
0,141
|
30
|
52,7
|
65
|
19,721
|
|
РУ- тройник на
соб. Нужды
|
8
|
195,04
|
0,465
|
0,886
|
30
|
132,2
|
150
|
23,308
|
|
Тройник на ПсыВ2
|
9
|
195,04
|
0,101
|
0,886
|
30
|
61,7
|
65
|
27,013
|
|
Тройник-
деаэратор
|
10
|
195,04
|
0,364
|
0,886
|
30
|
116,9
|
125
|
26,259
|
|
РНП-Деаэратор Д
|
11
|
111,37
|
0,027
|
1,160
|
30
|
36,5
|
50
|
15,948
|
|
Конденсат
|
|
Производ.
-Конденсатный бак
|
12
|
46,000
|
0,561
|
0,001
|
1,5
|
21,9
|
25
|
1,15
|
|
ПСВ-ОК
|
13
|
175,360
|
1,899
|
0,001
|
1,5
|
42,4
|
50
|
1,08
|
|
ОК-
Конденсатный бак
|
14
|
80,000
|
3,797
|
0,001
|
1,5
|
60,0
|
65
|
1,28
|
|
Конденсатный
бак-Деаэратор
|
15
|
76,639
|
4,459
|
0,001
|
1,5
|
63,1
|
65
|
1,41
|
|
ПсыВ -
Конденсатный бак
|
16
|
120,230
|
0,101
|
0,001
|
1,5
|
9,5
|
20
|
0,34
|
|
Вода
|
|
Ввод сырой
воды-насос1 (всас-й)
|
17
|
5
|
2,557
|
0,001
|
1,5
|
46,6
|
50
|
1,303
|
|
Насос 1 -
тройник
|
18
|
5
|
2,557
|
0,001
|
1,5
|
46,6
|
50
|
1,303
|
|
Насос 1 - ПсыВ1
|
19
|
5
|
2,557
|
0,001
|
1,5
|
46,6
|
50
|
1,303
|
|
ПсыВ1-ПсыВ2
|
20
|
8,659
|
2,557
|
0,001
|
1,5
|
46,6
|
50
|
1,303
|
|
ПсыВ2-
ВПУ(напорный)
|
21
|
30
|
2,557
|
0,001
|
2
|
40,5
|
50
|
1,309
|
|
ВПУ - ОДВ
(напорный)
|
22
|
30
|
2,045
|
0,001
|
2
|
36,2
|
50
|
1,048
|
|
ОДВ-Деаэратор
(напорный)
|
23
|
60
|
2,045
|
0,001
|
2
|
36,4
|
50
|
1,060
|
|
Деаэратор-ОДВ
(напорный)
|
24
|
104,33
|
6,896
|
0,001
|
2
|
67,8
|
80
|
1,437
|
|
ОДВ-тройник
(всасывающий)
|
25
|
95.249
|
6.896
|
0,001
|
1.5
|
78.0
|
80
|
1.427
|
|
Тройник-насос2
(всасывающий)
|
26
|
95,249
|
1,083
|
0,001
|
1,5
|
30,9
|
32
|
1,401
|
|
Насос 2-тройник
|
27
|
95.249
|
1,083
|
0,001
|
1,5
|
30,9
|
32
|
1,401
|
|
Тройник- ВЭК
(напорный)
|
28
|
95.249
|
2,907
|
0,001
|
2
|
43,9
|
50
|
1,540
|
|
Тройник
(напорный)- Насос 3
|
29
|
95.249
|
5,813
|
0,001
|
2
|
62,1
|
65
|
1,823
|
|
Ввод обратной
тройник
|
30
|
70
|
54,125
|
0,001
|
1,5
|
216,8
|
200
|
1,763
|
|
Тройник-насос4
|
31
|
70
|
54,125
|
0,001
|
1,5
|
216,8
|
200
|
1,763
|
|
Насос
4-тройник(напорный)
|
32
|
70
|
54,125
|
0,001
|
2
|
187,8
|
200
|
1,763
|
|
Тройник-ОК
(напорный)
|
33
|
70
|
27,063
|
0,001
|
2
|
132,8
|
150
|
1,567
|
|
ОК ПСВ
(напорный)
|
34
|
76,685
|
27,063
|
0,001
|
2
|
133,1
|
150
|
1,575
|
|
ПСВ- тройник
(напорный)
|
35
|
110
|
27,063
|
0,001
|
2
|
135,0
|
150
|
1,621
|
|
Тройник-Сеть
(напорный)
|
36
|
110
|
54,125
|
0,001
|
2
|
191,0
|
200
|
1,824
|
|
НПР котла-РНП
(напорный)
|
37
|
195,04
|
0,166
|
0,001
|
2
|
11,0
|
20
|
0,606
|
|
РНП- ПсыВ1
|
38
|
111,37
|
0,139
|
0,001
|
1.5
|
11.1
|
20
|
0,465
|
|
ПсыВ1-Барботажный
бак
|
39
|
40
|
0.139
|
0,001
|
1.5
|
11.1
|
20
|
0.465
|
|
Барботажный
бак-канализация
|
40
|
40
|
0.139
|
0,001
|
1.5
|
11.1
|
20
|
0.465
|
3. РАСЧЕТ И ВЫБОР ОСНОВНОГО И ВСПОМОГАТЕЛЬНОГО ОБОРУДОВАНИЯ КОТЕЛЬНОЙ
3.1
Определение количества котлов
Количество котлов:
,
Принимаем nк=2 котла
ДЕ-10-14 с расчетной производительностью Dр=10 т/ч насыщенного пара
температурой 195,04°С и давлением 1,4 МПа.
3.2 Расчет
и выбор теплообменных аппаратов
Для расчетов используем уравнения теплового баланса, расходы греющего
пара или воды через теплообменники.
Таблица 3.1 Расчет тепловых мощностей в аппаратах
|
Наименование
|
Формула
|
ед.изм.
|
Знач.
|
Тип
|
|
ПСВ
|
|
кВт
|
9071,4
|
п-в
|
|
ОК
|
|
кВт
|
1515.993
|
в-в
|
|
Конд.бак
|
|
кВт
|
1432.001
|
|
|
ОДВ
|
|
кВт
|
257.113
|
в-в
|
|
ПСыВ2
|
|
кВт
|
226.386
|
п-в
|
|
ПСыВ1
|
|
кВт
|
41.440
|
в-в
|
|
РНП
|

|
60.095
|
|
|
Деаэратор
|
|
кВт
|
837.852
|
|
Площадь поверхности нагрева (F) теплообменника, м2 [2. формула (4.2)]:
,
где Qi - тепловая мощность теплообменника,
кВт;
k -
коэффициент теплопередачи, кВт/(м2 · К), при учебных расчетах k принимается равным:
- для водоводяных теплообменников 1 кВт/(м2 · К),
- для пароводяных - 2 кВт/(м2 · К);
- для пластинчатых - в 2 раза больше;
- коэффициент, учитывающий потери теплоты от наружного
охлаждения;
- температурный напор, определяется по [2. формула
(4.3-4.4)]:
При
При
где
и
- большая и меньшая разности температур теплоносителей на
разных концах теплообменного аппарата.
Таблица 3.2 Расчет площади поверхности нагрева по формуле (27-29)
|
Наименование
|
Q,
кВт
|
ΔtБ, ºC
|
ΔtМ, ºC
|
|
|
Δt, ºC
|
F,
м2
|
фаза
|
к
|
|
ПСВ
|
9071,4
|
98.675
|
65.36
|
1.510
|
<1,7
|
82.018
|
56.430
|
п - в
|
2
|
|
ОК
|
1515.993
|
98.675
|
10.000
|
9.868
|
>1,7
|
38.736
|
39.936
|
в - в
|
1
|
|
КБ
|
1432.001
|
|
|
|
|
|
|
|
|
|
ОДВ
|
257.113
|
65.249
|
44.33
|
1.472
|
<1,7
|
54.790
|
4.788
|
в - в
|
1
|
|
ПСыВ2
|
226.386
|
111.362
|
90.23
|
1.234
|
<1,7
|
100.796
|
1.146
|
п - в
|
2
|
|
ПСыВ1
|
41.440
|
102.502
|
35
|
2.929
|
>1,7
|
62.820
|
0.673
|
в - в
|
1
|
|
РНП
|
60.095
|
|
|
|
|
|
|
|
|
|
Деаэратор
|
837.852
|
|
|
|
|
|
|
|
|
Таблица 3.3 Принятые диаметры и действительные скорости в трубах
аппаратов
|
Наименование
|
Среда
|
dвн, мм
|
ω, м/с
|
|
ПСВ
|
пар
|
200
|
29.059
|
|
вода
|
150
|
1.621
|
|
ОК
|
конденсат
|
65
|
1.277
|
|
вода
|
150
|
1.567
|
|
ПСыВ2
|
пар
|
65
|
27.013
|
|
вода
|
50
|
1.309
|
|
ПСыВ1
|
вода
|
20
|
0.465
|
|
вода
|
20
|
1.303
|
|
ОДВ
|
вода
|
50
|
1.060
|
|
вода
|
80
|
1.437
|
При расчете температурного напора для каждого теплообменника строим
графики, указав значения температур, большие и меньшие перепады температур и
направление движения потоков.
Выбор
теплообменника подогрева сетевой воды
Для котельной второй категории нужно 2 параллельно работающих
теплообменника подогрева сетевой воды на расчетную мощность, т.е. вдвое меньшей
площади.
По расчетной поверхности нагрева выбираем теплообменник, имеющий
ближайшую большую поверхность нагрева.
По [2. таблица 3] выбираем тип теплообменника ПП-1-71-2-II для температурного графика 70/95ºС.
Определяем для выбранного теплообменника скорость подогреваемой воды в
трубах, которая не должна превышать 1,5-2,0 м/с [2. формула (4.5)]:
где D - расход подогреваемой воды в
трубах, кг/с;
ν’ - удельный объем воды, м3/кг;
f -
живое сечение для прохода воды, f
=0,0302 м2. (справочн. данные)
Скорость воды в трубах одного теплообменника при полном расходе:
Принимаем горизонтальный пароводяной теплообменник ПП-1-71-2-II и количество устанавливаемых
теплообменников - два параллельно работающих.
Характеристика:
- Площадь поверхности нагрева: 71,0 м2.
- Давление греющего пара: 2,0 МПа.
- Расход воды номинальный: 342,0 Т/ч.
- Гидравлическое сопротивление при расчетном расходе
воды: 0,021 МПа.
- Длина трубок (мм) × количество трубок (шт.): 2000
× 792.
- Сечение для прохода воды: 0,0604 м2.
- Диаметр корпуса: 820 мм.
- Длина подогревателя: 3155 мм.
- Число ходов по воде: 2 шт.
- Масса: 2125 кг.
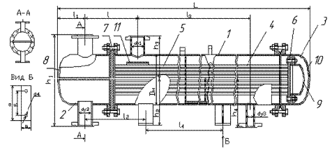
Подогреватель представляет собой кожухотрубный теплообменник
горизонтального типа, основными узлами которого являются: корпус, трубная
система, передняя и задняя (плавающая) водяные камеры, крышка корпуса (рисунок
2.2).
Сборка подогревателя производится из основных узлов с помощью разъемного
фланцевого соединения, обеспечивающего возможность профилактического осмотра и
ремонта.
Нагреваемая вода движется по трубкам, а греющий пар через патрубок в
верхней части корпуса поступает в межтрубное пространство, в котором
установлены сегментные перегородки, направляющие движение парового потока.
Конденсат греющего пара стекает в нижнюю часть корпуса и отводится из
подогревателя. Не конденсирующиеся газы (воздух) отводятся через патрубок на
корпусе аппарата.
Выбор
теплообменника охладителя конденсата
Для котельной второй категории нужно 2 параллельно работающих
теплообменника охладителя конденсата на расчетную мощность - т.е. вдвое меньшей
площади.
В подогревателях для систем отопления греющая вода (конденсат) проходит
по трубному пространству, а нагреваемая (сетевая вода) - по межтрубному
(рисунок 2.4). В подогревателях для систем водоснабжения греющая вода проходит
по межтрубному пространству, а нагреваемая - по трубкам.
Для охладителя конденсата скорость подбираем по сечению трубного
пространства, так как аппарат используется в системе отопления.
Подогреватель эффективно работает при скоростях воды:
- в трубном пространстве - 0,7…1,3 м/с;
- в межтрубном пространстве - 0,7…1,1 м/с.
Для подбора скоростей меняем число секций, набирая из нескольких секций
потребную площадь теплообмена.
Требуемая площадь трубного пространства при расходе конденсата Dт=1,902 кг/с и скорости ω=1,279 м/с:
Выбираем по [2. Таблица 5] теплообменник ПВ-Z-06 с параметрами:
- Наружный диаметр трубы × длина по фланцевому разъему: 89
× 4000 мм.
- Поверхность нагрева одной секции: 2,24 м2.
- Площадь сечения межтрубного пространства: 0,00287 м².
- Площадь сечения трубного пространства: 0,00185 м².
- Z - число секций в теплообменнике.
Действительная скорость конденсата в трубном пространстве:
, что допустимо.
Для требуемой площади нагрева FOK = 39,936 м2 составляем секцию из 18-ти корпусов, соединенных калачами,
тогда площадь нагрева в теплообменнике составит 18∙2,24 м2=40,32
м2/секций.
Действительная скорость сетевой воды в межтрубном пространстве:
.
Скорость подогреваемой воды в межтрубном пространстве больше
допускаемой, поэтому лишнюю нагреваемую воду пускаем по байпасной линии в обход
теплообменника.
Принимаем горизонтальный водо-водяной теплообменник ПВ-18-06.
Количество устанавливаемых теплообменников: два параллельно работающих.
Размеры корпуса: Dн=89
мм. L1=4000 мм.
Выбор
теплообменников подогрева сырой воды
Подберём паровой подогреватель сырой воды ПСыВп2.
Подогреватели пароводяные типа ППВ предназначены для подогрева воды,
поступающей на химводоочистку в отопительных, отопительно-производственных и
производственных котельных. Представляет собой аппарат горизонтального типа, с
неподвижными трубными решетками. Состоит из трубной системы, передней и задней
крышек, арматуры и КИП (рисунок 2.6). Греющий пар поступает в межтрубное пространство,
разделенное горизонтальной перегородкой на две части, благодаря чему имеет два
хода. Нагреваемая вода движется по трубам трубной системы и за счет перегородок
в передней и задней крышках имеет четыре хода. Коррозионно-стойкие латунные
теплообменные трубки повышают надежность работы подогревателя. Указатель уровня
жидкости позволяет визуально наблюдать за уровнем конденсата в трубной системе,
а термодинамический конденсатоотводчик служит для постоянного его отвода.
Выбираем теплообменник ППВ-25.
Характеристика:
- Площадь поверхности нагрева: 3,97 м2.
- Температура среды, ºС: на входе - 8,4; на выходе - 30.
- Длина трубок (мм) × количество трубок (шт.): 1700 × 40.
- Диаметр трубки × толщина стенки:
16×1, мм.
- Сечение для прохода воды: 0,00452 м2.
- Масса: 275 кг.
Скорость воды в трубном пространстве при расходе сырой воды 2,557 кг/с:
Подберём водяной подогреватель сырой воды ПСыВ1.
Для подогревателя сырой воды скорость подбираем по сечению межтрубного
пространства, так как аппарат используется в системе водоснабжения.
Требуемая площадь межтрубного пространства при расходе G’пр=0,131 кг/с и скорости ω=1,1
м/с:
Выбираем по [2. Таблица 5] теплообменник ПВ-Z-01 с параметрами:
- Наружный диаметр трубы × длина по фланцевому разъему:
57 × 4000 мм.
- Поверхность нагрева в одном корпусе: 0,75 м2.
- Площадь сечения межтрубного пространства: 0,00115 м².
- Площадь сечения трубного пространства: 0,00062 м².
- Z - число секций в теплообменнике.
Действительная скорость шламовой воды в межтрубном пространстве:
,
скорость откорректировать дроссельным устройством.
Действительная скорость сырой воды в трубном пространстве:
Для требуемой площади нагрева FПСыВ1=0,673 м2 составляем секцию из 1-го корпуса,
тогда площадь нагрева в теплообменнике составит 0,75∙1=0,75 м2
Принимаем горизонтальный водо-водяной теплообменник ПВ-1-01.
Количество устанавливаемых теплообменников: один ППВ 25 и один ПВ-1-01.
Выбор
теплообменника охладителя деаэрированной воды
Для охладителя деаэрированной воды скорость подбираем по сечению
межтрубного пространства, так как аппарат используется в системе водоснабжения.
Требуемая площадь межтрубного пространства при расходе Gпит=6,896 кг/с и скорости ω=1,1 м/с:
Выбираем по [2. Таблица 5] теплообменник ПВ-Z-09 с параметрами:
- Наружный диаметр трубы × длина по фланцевому разъему:
168 × 4000мм.
- Поверхность нагрева в одном корпусе: 3,54 м2.
- Площадь сечения межтрубного пространства: 0,0122 м².
- Площадь сечения трубного пространства: 0,0057м².
- Z - число секций в теплообменнике.
Действительная скорость деаэрированной воды в межтрубном пространстве:
, что допустимо.
Действительная скорость х.о.в. воды в трубном пространстве:
Для требуемой площади нагрева Fодв=4,780 м2 составляем секцию из 2-х корпусов, соединенных калачём,
тогда площадь нагрева в теплообменнике составит 3,40∙2=6,8 м2
Принимаем горизонтальный водо-водяной теплообменник ПВ-2-09. Количество
устанавливаемых теплообменников: один рабочий.
Выбор
деаэратора питающей воды
Выбор деаэратора производится по расходу деаэрированной воды.
По [2. Таблица 7] выбираем деаэратор атмосферного давления ДА-25 с
характеристиками:
- Номинальная производительность: 25 Т/ч = 6,944 кг/с.
- Диаметр и толщина стенки корпуса колонки: 530×6 мм.
- Высота колонки: 2195 мм.
- Полезная вместимость аккумуляторного бака: 8,0 м3.
- Диаметр аккумуляторного бака: 1616,0 мм.
- Толщина стенки аккумуляторного бака: 8,0 мм.
- Поверхность охладителя выпара: 2,0 м2.
Выделяющиеся газы О2 и СО2, и вместе с ними небольшое количество водяного
пара, выбрасываются в атмосферу. Концентрация кислорода не должна превышать за
атмосферным деаэратором 30 - 50 мкг/кг. Содержание свободной углекислоты в
деаэрированной воде должно быть равно нулю.
Установка резервных деаэраторов не предусматривается. Для предотвращения
кавитации в питательных и в подпиточных насосах деаэраторы в зависимости от
охлаждения питательной воды устанавливаются на высоту 2,0 м при 80 ОС.
Деаэраторы атмосферного типа состоит из деаэраторного бака, деаэрационной
колонки и гидрозатвора (рисунок 2.6).
Рис. 3.6 Общий вид деаэратора
Для обеспечения безопасной эксплуатации деаэратора предусмотрено
предохранительное устройство - гидрозатвор, защищающий его от опасного
превышения давления и уровня воды в баке. В деаэраторах атмосферного типа
применена двухступенчатая схема дегазации - первая, струйная, вторая,
барботажная. подогреватель конденсат трубопровод
котельная
Расчет и
выбор конденсатного бака
Для приема конденсата с производства, из теплообменников собственных нужд
в котельных устанавливают конденсатный бак.
Определяем емкость бака, равную получасовому расходу возвращаемого
конденсата [2. Формула (4,6)], м3:
,
где ν' - удельный объем воды, м3/кг (из таблицы 1);
,5 - время, час.
Принимаем цилиндрический бак с эллиптическими днищами БТ(Б)-10-0,0-В
с характеристиками:
- Объем: 10 м3
- Диаметр D:
1900 мм
- Высота H:
3750 мм
- Высота с опорами H1: 4050 мм
- Масса: 1370 кг
3.3 Выбор
насосов
Насосы выбираются по производительности и напору. Напор рассчитывается
как сумма линейных и местных сопротивлений при движении воды, геометрической
разности уровней воды и разности избыточных давлений в аппаратах, между
которыми установлен насос.
Питательный
насос на ВЭК
Расчетный напор питательного насоса [2. формула (4.7)], кПа:
,
где рк - избыточное давление в барабане котла, рк =1300 кПа;
- запас давления на открытие предохранительных клапанов,
принимается равным 0,10 номинального давления в барабане котла;
рэк
- сопротивление водяного экономайзера, по воде принимается равным 150 кПа;
- сопротивление питательных трубопроводов от насоса до котла
с учетом сопротивления автоматических регуляторов питания котла принимается
равным 150 кПа;
- сопротивление всасывающих трубопроводов принимается равным
50 кПа;
рс.в - давление, создаваемое столбом воды, равным по высоте расстоянию между
осью барабана котла и осью деаэратора. Высота от площадки до оси барабана котла
3250 мм. Деаэратор установлен на высоте 4,72 метра от площадки до центральной
оси деаэратора. При этих размерах разница между осями барабана и бака составит
(-1,47) м или (-14,7) кПа;
рд -
избыточное давление в деаэраторе, рд=20 кПа;
1,1
- коэффициент запаса.
Это избыточное давление, а абсолютное должно быть на 0,1 МПа больше, т.е.
2,02 МПа.
Производительность всей котельной:
Все вспомогательное оборудование принимается исходя из работы основного
оборудования в номинальном режиме, т.е. на котлы в номинальном режиме их работы
нужно подавать с учетом запаса в 10% - 23,02 т/час питательной воды. По [2.
таблице 12] Принимаем секционный насос ЦНСГ 38-132, производства ОАО
«Катайский насосный завод» с характеристиками:
- Производительность: 38 м3/ч, что превышает требуемую 23,02
м3/час.
- Полный напор: 132 м.вод.ст.
- Температура перекачиваемой среды до:
+105 ºС.
- Мощность двигателя: 20,4 кВт.
Устанавливаем один рабочий насос на два котла и один резервный насос.
Давление на выходе питательных насосов будет равно сумме давления на входе в
насос (на выходе из деаэратора) и полного напора насоса 132 м.вод.ст.=1,32 МПа.
Поскольку давление на выходе из деаэратора Рвд= 0,12 МПа, а в каждом
теплообменнике давление воды падает примерно на 0,05 МПа (5 м.вод.ст). Тогда
абсолютное давление на входе: Р = 0,12 МПа - 0,05 МПа = 0,07 МПа, на выходе Р = 0,07 МПа + 1,42 МПа = 1,49 МПа, это, а избыточное давление Р=1,39 МПа, что не
превышает необходимое 2,02 МПа.
Сетевой
насос
Примерно 10 м.вод.ст. теряется при прохождении сетевых подогревателей. В
каждом теплообменнике давление воды падает примерно на 0,05 МПа (5 м.вод.ст).
С другой стороны, чугунные радиаторы не выдерживают избыточное давление
выше 0,6 МПа.
Напор сетевых насосов: Hсн=Нп + Нс = 10 + 30 = 40 м.в.ст,
где Нп - сопротивление сетевых подогревателей, принимаем Нп =10
м.вод.ст.;
Нс - сопротивление сети и абонента, принимаем Нс = 30 м.вод.ст.
Расход сетевой воды Gс = 54,125 кг/с = 194,851 Т/ч.
К установке принимаем 2 сетевых насоса (1 рабочий и 1 резервный).
Выбираем насос Wilo CronoBloc-BL 125/245-15/4, c характеристиками:
- Подача: 200 м3/ч.
- Напор: 19 м.вод.ст.
- Температура перекачиваемой среды до +140
ºС.
На выходе из насосов давление будет равно сумме абсолютного давления на
входе в насосы Р=0,37 МПа и абсолютного напора насоса Р=0,29 МПа,
т.е. Р=0,66 МПа. В теплообменниках подогрева сетевой воды потеряется
около 0,1 МПа и на выходе из котельной прямая сетевая вода будет иметь
абсолютное давление Р=0,56 МПа, а избыточное давление не выше 0,46
МПа. Давление воды в чугунном радиаторе на 1 этаже ближайшего к котельной
дома будет ниже допустимого 0,6 МПа.
Конденсатный
насос на деаэратор
Напор, развиваемый конденсатным насосом:
Нкн=Рд+Нск+Нд=2+15+5=22 м.вод.ст.,
где Рд - избыточное давление в деаэраторе, Рд =0,02 МПа =2
м.вод.ст.;
Нск
- сопротивление нагнетающего трубопровода, принимаем Нск=15 м.вод.ст.;
Нд -
высота установки деаэратора, принимаем Нд = 5 м.
Расход конденсата Gк = 4,459 кг/с = 16,054 Т/ч.
К установке принимаем 2 конденсатных насоса (1 рабочий и 1 резервный)
типа Кс 20-50, производства ОАО «Катайский насосный завод» с
характеристиками:
- Подача: 20 м3/ч.
- Напор: 50 м.вод.ст.
- Допускаемый кавитационный запас: 1,8 м.
- Мощность электродвигателя: 7,5 кВт.
На выходе из насосов давление будет равно сумме абсолютного давления на
входе в насосы Р=0,1 МПа и абсолютного напора насоса Р=0,6 МПа, т.е. Р=0,7 МПа,
а избыточное давление Р=0,6 МПа.
Подпиточный
насос
Этот насос поддерживает необходимое давление в тепловой сети. Напор,
развиваемый насосом должен быть не менее давления обратной сетевой воды. Обычно
это давление выбирается из расчета полного заполнения тепловой сети в ее верхних
точках. При горизонтальном рельефе местности и 5 этажных домах достаточно 20
м.вод.ст., то есть Нобр.сети=20 м.вод.ст.
Количество подпиточной воды Gподп = 1,083 кг/с =3,897 Т/ч.
К установке принимаем 2 моноблочных насоса (1 рабочий и 1 резервный) типа
ЛМ32-6,3/20, производства ОАО «Катайский насосный завод» с
характеристиками:
- Подача: 6,3 м3/ч;
- напор: 20 м.вод.ст.;
- мощность электродвигателя: 1,5 кВт;
- частота вращения: 2900 об/мин;
- допускаемый кавитационный запас: 2,8 м.
Избыточное давление в обратной магистрали будет 20 м.вод.ст. или 0,2 МПа,
а абсолютное Р=0,3 МПа.
Давление на выходе из подпиточных насосов будет равно сумме давления на
входе в насос (на выходе из теплообменника после деаэратора) и напора насоса.
Поскольку абсолютное давление на входе в насос составляет Рвд= 0,07 МПа,
т.к. в каждом теплообменнике давление воды падает примерно на 0,05 МПа
(5 м.вод.ст), тогда абсолютное давление на выходе Р = 0,07 МПа + 0,3 МПа =
0,37 МПа.
Насос
сырой воды
Насос сырой воды должен преодолеть сопротивление теплообменников (5
м.вод.ст. на каждый) и водоподготовки до 20-30 м.вод.ст. и поднять воду в
деаэратор. Давление исходной, сырой воды редко превышает 10-20 м.вод.ст.
Напор, развиваемый насосом:
Нсв = Нск + Нто + Нхво + Нд = 15 + 15 + 30 + 5 = 65 м.вод.ст.,
где Нто - сопротивление теплообменников, принимаем Нэк = 3∙5=15
м.вод.ст.;
Нтр
- сопротивление нагнетающего трубопровода, принимаем Нск=15 м.вод.ст.;
Нвпу - сопротивление ВПУ, принимаем Нвпу=30 м.вод.ст.;
Нд
- с учетом высоты установки и высоты колонки деаэратора принимаем Нд=5 м.вод.ст.;.
Количество сырой воды Gсв = 2,547 кг/с = 9,170 Т/ч.
К установке принимаем 2 центробежных консольных насоса (1 рабочий и 1
резервный) типа К50-32-125, производства ОАО « Катайский насосный завод»
с характеристиками:
- подача: 12,5 м3/ч;
- напор: 20 м.вод.ст.;
- мощность электродвигателя: 2,2 кВт.
Давление на выходе из подпиточных насосов будет равно сумме давления на
входе в насос и напора насоса 20 м.вод.ст. = 0,2 МПа, тогда абсолютное давление
на выходе Р = 0,45 МПа + 0,3 МПа = 0,75 МПа.
4. РАСЧЕТ ХИМВОДОПОДГОТОВКИ
Качество питательной воды для паровых котлов с рабочим давлением 1,4 МПа
в соответствии с нормативными документами:
- общая жесткость: 0,02 мг.экв/л;
- растворенный кислород: 0,03 мг/л;
- свободная углекислота: отсутствие.
При выборе схем обработки воды и при эксплуатации паровых котлов качество
котловой (продувочной) воды нормируют по общему солесодержанию (сухому
остатку). Величина его обуславливается конструкцией сепарационных устройств,
которыми оборудован котел, и устанавливается заводом изготовителем.
Таблица 3.1. Качество воды источника водоснабжения
|
Источник (река)
|
Место отбора
пробы
|
Сухой остаток,
мг/дм3
|
Жесткость,
мг-экв/дм3
|
|
|
|
Жо
|
Ж
|
ЖСа
|
|
Урал
|
г. Гурьев
|
770
|
6,20
|
3,8
|
5,41
|
Жо -
жесткость исходной воды;
Ж
- карбонатная жесткость воды;
ЖСа - кальциевая жесткость воды.
4.1 Выбор
схемы приготовления воды
Небольшие котельные обычно используют водопроводную воду, которая уже
очищена от дисперсных и органических примесей и в котельной проводится только
умягчение воды.
Наиболее дешевая и распространенная из схем ВПУ - Na-катионирование. В процессе Na-катионирования жесткость воды
уменьшается до требуемых норм.
Определяем показатель
[2. формула (5.1)], мг/дм3:
где
где SИВ - cухой остаток исходной воды (источника
водоснабжения), мг/кг;
ЖСа и ЖMg - кальциевая и магниевая жёсткость
исходной воды, мг-экв/кг;
ЭNa , ЭCа , ЭMg - эквивалентные
массы ионов Na+=23, Са2+=20 и Mg2+=12,2 мг/мг-экв.

Относительная щелочность обработанной и котловой воды [2. формула (5.2)]:
,
где
- эквивалентная масса NаОН;
-катионирование может не подходить для некоторых типов
исходной воды. Проверка проводится по трем критериям:
. По величине продувки котла, которая для котлов с давлением до
1,4 МПа не должна превышать 10 % [2. формула (5.3)]:
,
где
- доля обработанной воды в питательной. Она равна отношению
расхода химически очищенной воды Gхов,
втекающей в питательный деаэратор, к расходу воды, вытекающей из деаэратора Gпит;
SКВ -
допустимые предельные концентрации солей в котловой воде для котлов типа ДЕ при
работе без пароперегревателя составляют 3000 мг/дм3.
;
.
Принимали
2. По допустимой величине относительной щелочности
котловой воды,
которая для котлов с вальцованными соединениями не должна превышать 50 %:
Условие выполняется.
3. По концентрации СО2 в паре, которая не должна превышать 20
мг/кг. СО2 образуется за счет разложения в котле солей NaHCO3, определяющих щелочность воды [2. формула (5.5)]:
ССО
= ЭСО
ЩОВ β (σ1 + σ),
где ЭСО
=22 мг/мг-экв - эквивалентная масса СО2;
s1 = 0,4 - доля разложения NaHCO3
в котле (остальное разлагается ещё в деаэраторе);
s = 0,7- доля разложения Na2CO3 в котле.
Условие не выполняется.катионирование не подходит по концентрации СО2 в
паре.
4.2 Расчёт
оборудования водоподготовительной установки
Для сокращения количества устанавливаемого оборудования и его унификации
принимают однотипные конструкции фильтров для первой и второй ступени. Для
первой устанавливаем два фильтра и один для второй ступени: один из фильтров
первой ступени используется для второй ступени в период регенерации фильтра
второй ступени.
Требуемая площадь фильтрования:
,
где
- максимально допустимая скорость фильтрования (при останове
одного из фильтров на регенерацию), м/ч. Для фильтров 2-й ступени
м/ч, для 1-й ступени
зависит от жесткости исходной воды и
типа фильтра:
При Жо < 5 мг-экв/дм3
м/ч,
При Жо =5 - 10 мг-экв/дм3
м/ч,
При Жо > 10 мг-экв/дм3
м/ч.
Скорость фильтрования в первой ступени принята в зависимости от жесткости
исходной воды:
Жо = 6,20 мг.экв/л
м/ч.
Скорость фильтрации в фильтре второй ступени принимаем такой же, поскольку
приняли одинаковые фильтры первой и второй ступеней.
Коэффициент собственных нужд химводоочищенной воды
Количество сырой воды, поступающей на химводоочистку:
Площадь фильтров:
Диаметр фильтра:
Выбираем фильтр ФИПа I-1,0-0,6 Na, c характеристиками:
- Диаметр фильтра: dф = 1000 мм.
- Высота слоя катионита: hкат = 2 м.
Полная площадь фильтрования:
Полная емкость фильтра:
где Ер = 1000 г-экв/м3 - рабочая обменная емкость сульфоугля при
Nа-катионировании для катионита КУ-2 8.
Количество соли на одну регенерацию:
,
где
, тогда
,
но учитывая реальный расход соли на регенерацию, который примерно вдвое
больше расчетного, т.к. часть соли не прореагировав проскакивает через фильтр,
получаем:
.
Тогда исходя из выше сказанного, примем
.
Этого количества соли хватит на следующий объем:
.
Период регенерации фильтров:
Число регенераций в неделю
Þ
раз
Расход соли на 1 регенерацию:
,
где b - удельный расход соли на регенерацию, b=120 г/г-экв.
Суточный расход соли:
В данном оборудовании на время регенерации фильтра работает только одна
ступень катионирования.
5. КОМПОНОВКА ОБОРУДОВАНИЯ КОТЕЛЬНОЙ
Проектирование новых и реконструкция существующих котельных установок
независимо от мощности должно производиться в соответствии с требованиями СНиП
II-35-76.
Компоновка оборудования котельной должна быть закрытой, т.к. район
Екатеринбурга имеет расчетную температуру наружного воздуха -32 °С. При
закрытой компоновке все оборудование котельной располагается в помещении.
Размеры пролетов зданий и сооружений и шаг колонн следует принимать
кратными 6 м. Котлы устанавливаются, как правило, в одноэтажной части
здания по фронту с расстоянием между котлами не менее 1-2 м.
Вспомогательное оборудование располагают в двухэтажной (иногда в одноэтажной)
части здания. Для расширения котельной (при монтаже паровых или водогрейных
котлов) оставляется свободным от установки вспомогательного оборудования торец
здания, так называемый «временный торец».
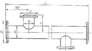
На рис. 5.1-5.2 приведена компоновка оборудования одноэтажной котельной с
тремя котлами ДЕ-10-14, разработанная в качестве типовой институтом
«Сантехпроект». Котельная предназначена для теплоснабжения потребителей II категории. Основным топливом в
котельной является природный газ, резервным - мазут. Строительная часть
котельной выполняется из сборных железобетонных конструкций.
1 - фильтр Н-катионитный 1-й ступени;
- бак;
- блок насосов декарбонизированной воды;
- декарбонизатор;
- фильтр Н-катионитный буферный;
- блок приготовления исходной воды;
- фильтр Na-катионитный 1-й
ступени;
- фильтр Na-катионитный 2-й
ступени;
- таль ручная передвижная;
- верстак слесарный;
- блок насосов горячего водоснабжения;
- блок сетевых насосов;
- крупноблочная установка горячего водоснабжения;
- блок сепаратора непрерывной продувки;
- дымосос;
- крупноблочная деаэрационная питательная установка;
- дутьевой вентилятор;
- чугунный водяной экономайзер;
- котел;
- блок редукционной установки;
- блок подогревателей сетевой воды;
- блок холодильника отбора проб;
- газоход котла;
- всасывающий воздухопровод;
- дымовая труба.
9 - таль ручная передвижная;
- блок насосов горячего водоснабжения;
- крупноблочная установка горячего водоснабжения;
- дымосос;
- чугунный водяной экономайзер;
- котел;
- блок редукционной установки;
- блок холодильника отбора проб;
- газоход котла;
- всасывающий воздухопровод;
- дымовая труба.
6. АЭРОДИНАМИЧЕСКИЙ РАСЧЕТ
Исходные данные из расчета котла:
. Номинальная паро-производительность: Dном = 10 т/ч= 2,778
кг/с.
. Расход топлива (природного газа) на один котел, эту величину
нужно считать для своего топлива, кг/с:
,
где
- заданная величина непрерывный продувки (из верхнего
барабана), равная
, где
- уточненная паропроизводительность котельной (п. 2.9).;
- уточненное процентное количество воды непрерывной
продувки,
(п. 4.1). Выполним уточняющий расчет:
;
- энтальпия кипящей воды, определяется при давлении воды в
барабане,
;
- энтальпия сухого насыщенного пара при заданном давлении в
барабане Рб,
;
- энтальпия питательной воды на входе в ВЭК при
(уже рассчитана как
):
;
- коэффициент полезного действия котла (в долях),
=92,1% [3. Стр.250 таблица
8.20].
- низшая теплота сгорания газа [5. Стр.140 таблица 4].
3. Водяной экономайзер типа ЭП2-236 [3. Таблица 8.20, стр
248 ].
. Тип горелки: ГМ-7 [3. Таблица 8.20, стр 248 ].
. Аэродинамическое сопротивление горелки при tв=30о С, hГ=1,1 кПа [3. Таблица 7.53, стр. 212 ].
6. КПД котла,
.
. Число котлов - 2.
8. Температура питательной воды на входе в водяной экономайзер tпв
= tпит = =95,153 ºС.
9. Температура уходящих дымовых газов на выходе из экономайзера tух= 146 ºС [3. Стр.250 таблица 8.20].
10. Температура «холодного» воздуха: tх.в = 30 ºС.
11. Коэффициент расхода воздуха в топке
=1,1.
12. Коэффициент расхода воздуха в уходящих газах
=1,5.
13. Площадь сечения для прохода продуктов сгорания F = 0,25 м2.
14. Характеристики дымовых газов месторождения
Барса-Гельмес-Вышка-Небит-Даг:
- Плотность газа при нормальных условиях r0 = 0,778 кг/м3 [5. Таблица4, стр.
140].
- Объем продуктов сгорания
. [4. Таблица13, стр 152].
- Теоретически необходимый объем воздуха
. [4. Таблица13, стр 152].
6.1
Сопротивление участков тракта дымовых газов
Дымовые газы выходят из экономайзера с температурой tух и объемом Vух1 при
. В процессе движения по газоходу от котла до дымовой трубы в
дымовые газы подсасывается еще немного холодного воздуха (Δ
), за счет этого объем газов на входе
в дымовую трубу
еще увеличивается на величину Δ
.
Определяем объемы Vух,
м3/м3:
,
Температура дымовых газов перед дымовой трубой за счет разбавления
холодным воздухом уменьшается до значения
[2. формула 7.1)], оС:
.
В самом газоходе температура tср газов берётся средней между значениями на выходе из экономайзера и на
входе в трубу:
.
Расход продуктов сгорания в газоходе, в том числе и через дымосос
[2. формула 7.2)], м3/с:
,
Сечение газоходов и боровов (подземных газоходов) подбирают по скорости
движения газов (w = 2-6 м/с) из условия возможности
проникновения в них при чистке и ревизии. Для боровов выбранные «а и в»
(а ~ 0,6…1,5 м, в ~1…2 м).
Площадь сечения газохода, м2:
,
где ω - расчетная скорость газов в ВЭК, м/с.
,
где, F - площадь сечения для прохода
продуктов сгорания F= 0,348 м2;
Vо -
объёмный расход дымовых газов при tух= 146 ºС, м3/с.
.
Fав = F
Сечение борова м2:
, откуда сторона газохода:
.
Принимаем а=0,5 м, тогда
Принимаем сечение газохода 800×1000 мм (из условия для возможности
проникновения в них при чистке и ревизии).
Проверяем скорость,
.
(Попадаем в нужный диапазон w = 2-6 м/с)
Эквивалентный диаметр борова [2. формула (7.9)], м:
,
где F - площадь живого сечения канала, м2;
U -
полный периметр сечения, омываемый протекающей средой, м.
.
Сопротивление газового тракта от топки котла до дымососа и от дымососа до
выхода газов из дымовой трубы состоит из суммы сопротивлений участков [2.
формула (7.3)], Па:
где hэк - аэродинамическое сопротивление
водяного экономайзера [3. Таблица 9.2, стр. 317 ] hэк= 343 Па
hк -
сопротивление котла, по [2. таблица 16] hк =720 Па;
hБ -
суммарное сопротивление боровов-газоходов котла, Па;
hЗ -
сопротивление заслонки на дымососе принимается равным 20 Па;
hД.ТР.
- сопротивление дымовой трубы, Па (расчет в пункте 6.2)
НС - самотяга дымовой трубы, Па (расчет в пункте 6.2)
Аэродинамическое сопротивление участка тракта [2. формула (7.4)], Па:
,
где 
сопротивление трения на отдельном участке, Па;

местные сопротивления на участке газохода, Па.
Сопротивление трения [2. формула (7.5)], Па:
,
где
- коэффициент сопротивления трения, для стального газохода
=0,02;
l -
суммарная длина газохода - канала, l =6+4+2=12 м;
- скорость протекающей среды,
= 4 - 8 м/с;
- эквивалентный (гидравлический) диаметр, м;
- плотность протекающей среды, кг/м3.
Объемная плотность газа кг/м3:
,
где
- плотность дымовых газов при нормальных условиях [5.
Таблица 4, стр. 140].
Местные сопротивления [2. формула (7.9)], Па:
,
где
- коэффициент местного сопротивления, зависящий от
геометрической формы участка (а иногда и от критерия Рейнольдса). Для всего
газового тракта (от котла до устья дымовой трубы) принимаем, что скорость газа
одна и та же (
= 4- 8 м/с). По [2. таблица 15]:
- плавное расширение (выход из ВЭК вход в газоход перед
дымососом) принимаем x=0,12;
- колено 90º - 2 места, принимаем x=1,2.
- колено 45º (плавный поворот) - 2 места, принимаем
x=0,355.
- расширение канала в трубу,
.
Для всего газового тракта принимаем, что скорость газа
.
.
.
6.2
Сопротивление дымовой трубы. Расчет самотяги
Суммарный расход газов от всех подключенных к трубе котлов при
номинальной нагрузке и скорости газов на выходе из трубы, (принимается
= 8-15 м/с.) рассчитывается
внутренний диаметр трубы (для кирпичной - на выходе газов):
, м3/с
где nk - число котлов, nk=2 шт.
.
Принимаем скорость
.
Диаметр трубы расчетный верхний, м:
,
.
Скорость газов на выходе из дымовой трубы и высота трубы определяют
условия рассеивания газов в районе расположения котельной. Максимальная
концентрация вредных газов уменьшается с увеличением высоты трубы и выходной
скорости газов.
Принимаем стальную трубу с диаметром 1 м и высотой H=20 м.
Проверка скорости:
попадаем в нужный диапазон (8-15 м/с).
Сопротивление трения для стальной трубы Па:
где l - коэффициент
трения для стальной трубы, l=0,02.
Местные сопротивления [2. формула (7.9)], Па:
,
где
- коэффициент местного сопротивления, для всех труб
.
Величина самотяги для дымовой трубы [2. формула (7.11)], Па:
,
где Н - высота дымовой трубы, м;
tТР -
средняя температура газового потока на данном участке (в дымовой трубе), °С;
g -
ускорение силы тяжести, g=9,81 м/с2;
- температура наружного (холодного) воздуха, °С.
.
.
Сопротивление дымовой трубы:
Проверка на подсос воздуха в тракте:
Т.к. на выходе из дымососа отрицательное давление - продукты
сгорания не будут просачиваться в помещение котельной.
6.3
Сопротивление участков воздушного тракта
Расход воздуха [2. формула (7.12)], м3/с:
,
где
- расчетный расход топлива, принимаем 0,155 м3/с;
- теоретический объем воздуха, принимаем 12,37 м3/м3;
- коэффициент расхода воздуха в топке котла принимаем 1,1;
- температура холодного воздуха, принимается по заданию, 30
оС.
.
Рассчитаем сечение воздушного тракта исходя из полученного расхода
воздуха и рекомендованной скорости потока в диапазоне 8-10 м/с:
.
Рассчитаем сторону сечения квадратного воздуховода:
.
Примем сечение воздушного тракта 500×500 мм.
Соответственно его площадь F= (0,5 м)2=0,25 м2.
Рассчитаем реальную скорость воздушного потока в воздуховоде:
- данная скорость укладывается в заданный диапазон.
Эквивалентный диаметр [2. формула (7.9)], м:
,
где U - периметр равняеся 4а.
.
Объемная плотность воздуха, кг/м3:
,
где
- плотность воздуха при нормальных условиях.
.
Аэродинамическое сопротивление участка тракта [2. формула (7.4)], Па:
,
где hГ - сопротивление горелки hГ=1100 Па.
Сопротивление трения [2. формула (7.5)], Па:
,
где
- коэффициент сопротивления трения,
для стального газохода
=0,02;
l -
суммарная длина канала, l=21 м;
- скорость протекающей среды,
;
- эквивалентный диаметр,
;
-объемная плотность воздуха,
.
Местные сопротивления [2. формула (7.9)], Па:
,
где
- коэффициент местного сопротивления, по [2. таблица 15]:
колено 60º - 2 места, принимаем x=0,56.
колено 45º- 1 место, принимаем x=0,355.
патрубок с отводом для забора воздуха, принимаем x=0,2 без заслонки и x=0,3 с заслонкой.
тройник симметричный, принимаем x=1,05.
Для всего воздушного тракта принимаем, что скорость
.
.
.
6.4 Выбор
дымососа и вентилятора
Дымосос и вентилятор должны преодолеть сопротивление газового тракта при
соответствующих расходах дымовых газов для одного котла.
Расчетная производительность для дымососа [2. формула (7.17)], м3/ч:
,
где Vсг - расход продуктов сгорания для дымососа, м3/с;
- коэффициент запаса по производительности, [2. таблица 18]:
;
- барометрическое давление в месте установки машины, равное
760 мм.рт.ст.
,
Расчетное полное давление (напор), которое должен создавать дымосос
(вентилятор) [2. формула (7.18)], Па:
,
где
-коэффициент запаса по напору по [2. таблица 18]:
;
- перепад полных давлений в газовом тракте
.
Приведенное давление [2. формула (7.19)], Па:
,
где
- плотность перемещаемых газов при 0 °С и 760 мм. рт.ст.,
;
t -
температура продуктов сгорания (воздуха) перед машиной,°С: t = tср;
tхар -
температура, для которой в каталоге приводится напор машины, [2. Таблица 20]: tхар =200 °С.
.
Мощность потребляемая дымососом (вентилятором) [2. формула (7.20)], кВт:
,
где
= (0,7 - 0,8) - КПД машины.
Расчетная мощность электродвигателя определяется по потребляемой мощности
с коэффициентом запаса
[2], кВт:
,
|
Марка дымососа
|
Производительность,
м3/ч
|
Напор при t °C, кПа
|
КПД, %
|
Масса без
двигателя, кг
|
Тип двигателя,
мощность
|
|
ДН-10
|
19,60 · 103
|
2,21 при t = 200 °C
|
83
|
677
|
4А-160S6 (11 кВт)
|
Для вентилятора:
По каталогу выбираем вентилятор ВДН-9 с параметрами:
|
Тип
электродвигателя вентилятора
|
Установл.
мощность двиг., кВт
|
Произ-ть
вентилятора, ×1000 м3/ч
|
Давл., кПа
|
|
4А-160S6
|
11
|
14,65
|
Т.к. характеристики у выбранных вентилятора и дымососа избыточны, то
подключение их производим через частотный регулятор, тем самым мы добьёмся
значительного понижения эксплуатационных расходов, и попадания параметров
работы в необходимые расчётные цифры
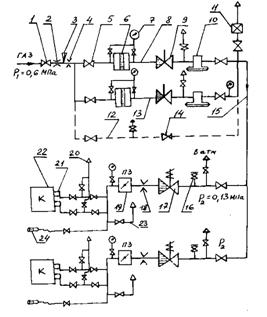
6.5 Разработка схемы ГРП
Газорегуляторные установки размещаются в газифицированных зданиях
непосредственно в помещениях котельных или цехов, где находятся
газоиспользующие агрегаты, или в смежных помещениях, имеющих не менее чем
трехкратный воздухообмен в час и соединенных с первым открытым проемом. Подача
газа от ГРП к потребителям в других отдельно стоящих зданиях не допускается.
Рис. 6.2 Принципиальная схема газорегуляторного пункта:
1 - предохранительно-сбросный клапан (сбросное устройство);
- задвижки на байпасной линии;
- манометры;
- импульсная линия ПЗК;
- продувочный газопровод;
- байпасная линия;
- расходомер газа;
- задвижка на входе;
- фильтр;
- предохранительно-запорный клапан (ПЗК);
- регулятор давления газа;
12 - задвижка на выходе.
Газопроводы ГРП устроены из трех линий: основная, байпасная 6 (обводная)
и рабочая. На основной линии газовое оборудование располагается в следующей
последовательности: запорное устройство на входе (задвижка 8); продувочный
газопровод 5; фильтр 9 для очистки газа от возможных механических примесей;
предохранительно-запорный клапан (ПЗК) 10, автоматически отключающий подачу
газа при повышении или понижении давления газа в рабочей линии за установленные
пределы; регулятор 11 давления газа, который снижает давление газа на рабочей
линии и автоматически поддерживает его на заданном уровне независимо от расхода
газа потребителями; запорное устройство (задвижка 12) на выходе из основной
линии.
Схема разводки к котлам представлена на рисунке 6.3.
Рис. 6.3 Схема разводки газа к котлам:
1 - входная задвижка;
- предохранительная трубка;
- термометр;
- измерительная диафрагма;
- задвижка;
- механический фильтр;
- манометр;
- первая нитка;
- предохранительный запорный клапан ПЗК;
- регулятор давления универсальный Казанцева РДУК;
- предохранительный сбросной клапан;
- байпас;
- вторая нитка;
- задвижка байпаса;
- газопровод низкого давления;
- патрубок для гидравлических испытаний;
- предохранительный клапан низкого давления ПКН;
- измерительная диафрагма расхода газа на теплогенератор;
- поворотная заслонка ПЗ;
- продувочная свеча горелки;
- горелка;
- теплогенератор;
- продувочная свеча;
- запальн.
На байпасной линии имеется продувочный газопровод 5, два запорных
устройства (задвижки 2), одно из которых используется для ручного регулирования
давления газа в рабочей линии во время выполнения ремонтных работ на
отключенной основной линии.
На линии рабочего давления (рабочая линия) устанавливается
предохранительно-сбросный клапан 1 (ПСК), который служит для сброса газа через
сбросную свечу в атмосферу при повышении давления газа в рабочей линии выше
установленного предела.
В ГРП устанавливаются следующие контрольно-измерительные приборы:
термометры для измерения температуры газа и в помещении ГРП; расходомер газа 7
(газовый счетчик, дроссельный расходомер); манометры 3 для измерения входного
давления газа, давления в рабочей линии, давления на входе и выходе газового
фильтра.
БИБЛИОГРАФИЧЕСКИЙ
СПИСОК
1. Тепловой
расчет котлов (Нормативный метод). Издание 3, переработанное и дополненное
СПб.: Изд. НПОЦКТИ, 1998. - 256 с.
2. А.П.
Лумми, Н.Ф. Филипповский, Е.В. Черепанова. Расчет котельной (тепловой и
аэродинамический расчет). Методические указания к выполнению курсового проекта.
Екатеринбург: ГОУ ВПО УГТУ-УПИ, 2007.- 49 с.
. Роддатис
К.Ф., Полтарецкий А.Н. Справочник по котельным установкам малой
производительности. М.: Энергоатомиздат, 1989. 487с.
4. Таблица № 13 «Объёмы воздуха и
продуктов сгорания газообразных топлив» стр. 152
. Таблица
№ 4 «Расчётные характеристики газообразных топлив» стр. 140
. Котлы
ДЕ и их горелочные устройства . Методические указания.
. Екатеринбург:
ГОУ ВПО УГТУ-УПИ, 2007.- 26 с.
. СНиП
- II-35-76 Котельные установки.