Расчет производственно–отопительной котельной с котлами ДКВР 20–13
Министерство
образования и науки РФ
Казанский
государственный архитектурно-строительный университет
Кафедра
Теплоэнергетики
Курсовой
проект
Расчет
производственно-отопительной котельной с котлами ДКВР 20-13
Выполнил: студент гр. 2ТГ30
Федорова А.
Руководитель Лавирко Ю.В.
Казань - 2015
Содержание
Введение
Исходные
данные
1. Характеристика воды
2. Описание котельной
2.1 Описание здания котельной
2.2 Топливное хозяйство котельной
3. Описание взаимного расположения
котельных агрегатов и вспомогательного оборудования в здании котельной и за ее
пределами
4. Тепловая схема котельной и ее
описание
5. Расчет количества котлов по
тепловой нагрузке
6. Деаэрация воды. Расчет и подбор
бака-аккумулятора и деаэраторной колонки
6.1 Расчет и подбор бака-аккумулятора
и деаэраторной колонки
7. Работа натрий-катионитовых фильтров
8. Аэродинамический расчет
котлоагрегата
8.1 Расчет газового сопротивления
8.2 Расчет сопротивления воздушного
тракта
9. Подбор тягодутьевых устройств.
Расчет и выбор типа дымососов и дутьевых вентиляторов
10. Золоулавливание
1. Расчет и выбор питательных
устройств
1.1 Определение производительности
питательного насоса
1.2 Определение напора питательного
насоса
1.3 Определение мощности
электродвигателя насоса
1.4 Определение емкости питательного
бака
2. Техника безопасности и охрана
окружающей среды
Заключение
Список
использованной литературы
Введение
В данном курсовом проекте выполнен расчет производственно-отопительной
котельной с котлами ДКВР 20-13.
В разделе 1 подробно описывается используемая вода, её качество: надежная
и экономическая работа котлоагрегатов в значительной степени зависит от
качества воды, применяемой для ее питания.
В разделе 2 описывается сама котельная, удобное расположение, ее
архитектурная компоновка, конструкция частей здания; а также условия, которые
необходимо учесть при ее проектировании; топливное хозяйство котельной,
необходимые мероприятия по безопасной и устойчивой работе котельной.
В разделе 3 описывается взаимное расположение котельных агрегатов, и в
частности вспомогательного оборудования в самой котельной; местоположение
котлов, их топок, экономайзеров, питательных, подпиточных и сетевых насосов,
дутьевых вентиляторов, оборудования для химической очистки воды, площадок для
обслуживания и контрольно-измерительных приборов; габариты помещения.
В разделе 4 подробно описывается тепловая схема котельной, движение и
распределение теплоносителя в ее пределах, а именно движение и распределение
воды и пара.
В 5 разделе произведен расчет количества котлов по тепловой нагрузке.
В 6 разделе рассматривается заключительная стадия технологического
процесса - деаэрация. Производится расчет объема бака-аккумулятора и его
подбор.
В 7 разделе рассмотрена работа натрий-катионитовых фильтров, их подбор.
В 8 разделе произведен аэродинамический расчет котлоагрегата (по
упрощенному варианту), в частности расчет газового сопротивления и
сопротивления воздушного тракта.
В 9 разделе произведен подбор тягодутьевых устройств, расчет и выбор типа
дымососов и дутьевых вентиляторов, их конструктивные характеристики.
В 10 разделе рассмотрены особенности золоуловителей, а также их подбор,
конструктивные характеристики.
В 11 разделе произведен расчет и выбор питательных устройств: определение
производительности, напора питательного насоса, мощности электродвигателя
насоса, определение емкости питательного бака.
В 12 разделе рассмотрена техника безопасности и охрана окружающей среды.
Исходные данные
Поверхность нагрева, установленная за котлом - экономайзер
Номинальная паропроизводительность котла - 20 т/ч
Давление пара 14 атм (ата)
Температура питательной воды (после деаэратора) - 800С
Вид топлива - Березовский уголь марки Б-2
Способ сжигания топлива - в слое
Температура наружного воздуха (в котельной) - 250С
Местонахождение котельной - г. Новосибирск
Расчетное потребление пара на технологические нужды - 90т/ч
1. Характеристика воды
Исходная вода, поступающая из хозяйственно-питьевых водопроводов.
содержит различные примеси. Для нормальной и безаварийной работы котельных
установок исходная вода должна обладать определенными качествами, а если они не
отвечают требуемым, то вода должна подвергаться необходимой обработке.
Качество воды характеризуется прозрачностью (содержанием взвешенных
веществ), сухим остатком, жесткостью, щелочностью и окисляемостью.
Сухой остаток содержит общее количество растворенных в воде веществ
кальция, магния, натрия, аммония, железа, алюминия и др., которые остаются
после выпаривания воды и высушивания остатка. Сухой остаток выражают в мг на 1
л воды.
Жесткость воды - это общее содержание солей кальция и магния.
Общая жесткость
; (1)
где
- карбонатная жесткость, или временная (исчезающая
при кипячении), обуславливается наличием бикарбонатов кальция Са(НСО3)2, и
магния Mg(НСО3)2;
-
некарбонатная жесткость, или постоянная, обуславливается наличием сульфатов и
хлоридов кальция и магния: СаSO4, MgSO4, CaCl2, MgCl2.
Щелочность
воды характеризует количество находящихся в ней щелочных соединений. К ним
относятся гидраты, например NaOH - едкий натр, карбонаты, в частности Na2CO3 -
кальцинированная сода, бикарбонаты NaHCO3 и др.
Щелочность
котловой воды в известных пределах полезна, т.к. парализует вредное
корродирующее воздействие стенку: кислорода и углекислоты. Однако чрезмерная
щелочность воды вызывает вспенивание воды паровых котлов и частичное ее
выбрасывание вместе с паром.
Вспенивание
воды затрудняет наблюдение за уровнем воды в барабане по водоуказательным
стеклам, а выброс воды с паром увлажняет его и является причиной появления
накипи в паровом тракте, в частности в трубках пароперегревателя.
Окисляемость
косвенно характеризует загрязненность воды органическими веществами. Ее
выражают в мг кислорода, израсходованного на окисление органических веществ в 1
л воды.
Водоподготовка должна обеспечивать осветление воды и удаление из нее
взвешенных веществ, умягчение ее, снижение щелочности и солесодержания, а также
удаление растворенных газов, в том числе кислорода и углекислого газа.
В проектируемой котельной подготовка воды состоит из двух основных
операций, это натрий-катионирование подпиточной воды, а также деаэрация.
Согласно
СанПиН 2.1.4.1074-01 "Питьевая вода" обобщенными показателями и по
содержанию вредных химических веществ, наиболее часто встречающихся в природных
водах, а также веществ антропогенного происхождения, получивших глобальное
распространение, является:
Таблица 1
Показатели качества воды
|
Показатели
|
Единицы измерения
|
Нормативы ПДК, не более
|
Показатель вредности
|
Класс опасности
|
|
1
|
2
|
3
|
4
|
5
|
|
Обобщенные показатели
|
|
Водородный показатель,
|
единицы рН
|
в пределах 6 - 9
|
|
|
|
Общая минерализация (сухой
остаток)
|
мг/л
|
1000 (1500)
|
|
|
|
Жесткость общая
|
ммоль/л
|
7,0 (10) 2)
|
|
|
|
Окисляемость перманганатная
|
мг/л
|
5,0
|
|
|
|
Нефтепродукты, суммарно
|
мг/л
|
0,1
|
|
|
|
Поверхностно-активные
вещества (ПАВ), анионоактивные
|
мг/л
|
0,5
|
|
|
|
Неорганические вещества
|
|
Алюминий (Аl3+)
|
мг/л
|
0,5
|
с.-т.
|
2
|
|
Барий (Ва2+)
|
-"-
|
0,1
|
-"-
|
2
|
|
Бериллий (Ве2+)
|
-"-
|
0,0002
|
-"-
|
1
|
|
Бор (В, суммарно)
|
-"-
|
0,5
|
-"-
|
2
|
|
Железо (Fе, суммарно)
|
-"-
|
0,3 (1,0) 2) орг.
|
3
|
|
|
Кадмий (Сd, суммарно)
|
-"-
|
0,001
|
с.-т.
|
2
|
|
Марганец (Мn, суммарно)
|
-"-
|
0,1 (0,5) 2)
|
орг.
|
3
|
|
Медь (Сu, суммарно)
|
-"-
|
1,0
|
-"-
|
3
|
|
Молибден (Мo, суммарно)
|
-"-
|
0,25
|
с.-т.
|
2
|
|
Мышьяк (Аs, суммарно)
|
-"-
|
0,05
|
с.-т.
|
2
|
|
Никель (Ni, суммарно)
|
мг/л
|
0,1
|
с.-т.
|
3
|
|
Нитраты (по NО3)
|
-"-
|
45
|
орг.
|
3
|
|
Ртуть (Нg, суммарно)
|
-"-
|
0,0005
|
с.-т.
|
1
|
|
Свинец (Рb, суммарно)
|
-"-
|
0,03
|
-"-
|
2
|
|
Селен (Sе, суммарно)
|
-"-
|
0,01
|
-"-
|
2
|
|
Стронций (Sr2+)
|
-"-
|
7,0
|
-"-
|
2
|
|
Сульфаты (SO42-)
|
-"-
|
500
|
орг.
|
4
|
Нормы для котлов, работающих на твердом топливе:
содержание взвешенных веществ 50 мг/л;
общая жесткость 100 мг-экв/л;
содержание растворенного кислорода 100 мг/л.
Водоподготовка должна обеспечивать осветление воды и удаление из нее
взвешенных веществ, умягчение, снижение щелочности и солесодержания, а также
удаление растворенных газов, в том числе кислорода и углекислого газа.
2.
Описание котельной
2.1
Описание здания котельной
Согласно СНиП II-35-76 "Котельные установки" котельные
установки с котлами высокого давления, работающие на воде, нагретой выше 115оС,
или при давлении пара в них более 0,7 ати, вынесены в отдельно стоящие
помещения. Проектирование и сооружение котельной выполнено в соответствии с
действующими правилами и нормативными документами, утвержденными
Ростехнадзором.
Так как котельная располагается внутри жилого квартала, использовано
проектное решение закрытого типа. Все оборудование расположено внутри здания.
Выбор места расположения котельной определен
архитектурными условиями (расположение дымовой трубы в комплексе зданий),
уровнем грунтовых вод, возможностью рационального размещения склада топлива и
др. Площадь основного котельного помещения определена после выбора типа котлов
и расчета их количества.
Площадка котельной выбрана с учетом минимальных затрат на планировку ее
территории и прокладки подъездных путей и предусматривает возможность расширения
здания, для чего имеется одна свободная торцевая стена, а конструкции
перекрытия опираются на продольные стены котельной. Длина котельной 48 м (1-9),
ширина - 24 м (А-Д). Продольный шаг между осями колонн принята 6 м, для
торцовых колонн шаг также составляет 6 м. Здание котельной отделена от
ближайших жилых и общественных зданий озелененной санитарно-защитной зоной,
которая для котельной, работающей на твердом топливе, составляет 200 м.
Котельная выполнена одноэтажной, однопролетной с расположением вспомогательного
оборудования в общем зале без выделения их в отдельные помещения, по осям 1-3
имеется дополнительный этаж на отметке 7,200 м, вход на которую обеспечивается
по лестничной клетке между осями 1-2 и Б-В.
Здание отдельно стоящей котельной выполнено с железобетонным каркасом,
который состоит из железобетонных балок-ферм, опирающихся на железобетонные
колонны, панели аналогично железобетонные длиною 6 м. Длина пролета балок-ферм
составляет 24 м (оси А-Д).
Трансформаторная, резервуар мокрого хранения соли и продувочный колодец
расположены снаружи основного помещения котельной, со стороны ее фасада, около
дымовой трубы.
В котельной запроектировано 2 выхода: первый - с левого торца (оси Б-В),
второй с правого торца (оси А-Б). Выходы предусмотрены на случай чрезвычайной
ситуации. Распашка дверей - наружу. Здание котельной имеет развитое остекление,
что является мерой предосторожности при взрыве.
В здании котельной также имеется отопление, обеспечивающее температуру в
производственных помещениях не ниже 120C, летом - не выше чем на 50C
по сравнению с наружным воздухом; естественная вентиляция, обеспечивающая
трехкратный воздухообмен в основных помещениях, удаление загрязненного воздуха
и поддержание необходимой температуры в производственных помещениях. Механическая
вентиляция отсутствует во избежание создания разряжения.
Так как котельная работает на твердом топливе, то предусмотрено
твердотопливное хозяйство котельной, расположенное с левого торца здания.
Подача угля осуществляется ленточным конвеиром.
Процессы золоудаления, шурфования и подачи топлива механизированы.
Шлак с ленточно-цепной решетки топки падает на поддон гидросмыва и
отправляется в зольный бункер по каналам глубиной 0,6 м, откуда смывается в
сборный бак и вывозится в золоотвал.
2.2
Топливное хозяйство котельной
В качестве топлива в котельной используется Экибастузский уголь марки СС.
Топливо доставляется в котельную железнодорожным транспортом в
саморазгружающихся вагонах. Ширина железнодорожной колеи 1525 мм. Для хранения
топлива сооружены отдельные склады: базисный (расположен вблизи железной
дороги, также служит для снабжения других объектов), и расходный (сооружен
непосредственно вблизи котельной, имеет емкость месячного запаса).
Для зимнего периода предусмотрено устройство для размораживания топлива.
Топливо не дозволено хранить долгое время, во избежание его самовозгорания (при
длительном хранении происходит окисление с выделением теплоты) и ухудшения
качества топлива. Топливо, подлежащее хранению, складируется в штабеля, в
поперечном сечении близком к равнобедренной трапеции.
Транспортировка топлива в пределах котельной осуществляется ленточным
конвейером. Со склада твердого топлива уголь погрузочным устройством
загружается на ленточный конвейер. Далее топливо перемещается на конвейере в
котельную, где далее передвигаясь надо котлами ссыпается в желоба угле
приемники. Транспортер угля от воздействия внешний факторов закрыт галереей.
3.
Описание взаимного расположения котельных агрегатов и вспомогательного
оборудования в здании котельной и за ее пределами
В данной котельной каждый котел скомпонован следующими оборудованиями:
котел сообщается экономайзером посредством газохода, к экономайзеру подключен
золоулавитель батарейный циклон БЦ2 7Х (5+3), далее дымосос Д-15.5. Шесть
котельных агрегатов находятся в зале размерами 48х24 м, соответственно в зале
установлены 6 батарейных циклонов, 6 дымосов, 6 дутьевых вентиляторов ВД-10.
Расстояние от стены до фронта котла составляет 2,4 м. Расстояние между котлами
составляет 1,4 м. Крайний котельный агрегат располагается от стены от оси 9 на
расстоянии 1,6 м. Ширина прохода между отдельными выступающими частями,
расстояние между котлами и задней стеной, а также проходы между оборудованием
также соответствуют нормативным требованиям. Дымососы расположены на расстоянии
1,9 м от оси Д, батарейный циклон находится впритык к лестничной площадке
экономайзера, расстояние от оси котла до оси выхода циклона - 2,9 м. Циклон
подключен к экономайзеру переходом 750х630 на 1300х900 длиной 0,45м и поворотом
на 900 1300х900. Высота котельного зала определена исходя из обеспечения
удобства работы и составляет 14,4 м. Площадки для обслуживания арматуры и
контрольно-измерительных приборов (КИП) имеют ширину 0,7-1 м, а ширина лестниц
составляет 0,6 м. Экономайзеры размещены вдоль осей В-Г, 3 питательных насоса
находятся на оси 2, резервный паровой насос отстоит от оси Г на 1200 мм, насосы
сырой воды насос сырой воды - между колоннами 2-3 оси Г, оборудование для
химической обработки воды (ХВО) (натрий-катионитовые фильтры) в количестве 4-х
шт. стоят под деаэратором.
Расстояние от верхней рабочей площадки, предназначенной для обслуживания
котлов или экономайзеров, до нижних конструктивных частей покрытия котельной
составляет более 2 м, расстояние до наивысшей рабочей площадки - 10 м.
Деаэраторный бак расположен на уровне, превышающем на 7 м уровень
установки питательных насосов, с таким расчетом, чтобы последние всегда
находились под заливом. Дымовая труба отстоит от стены здания котельной на
расстоянии 8,4 м до центра трубы, с внутренним диаметром 2,085 м.
С левого торца здания между осями Г и Д к зданию котельной примыкает
канал с тепловой камерой, в которых проходят трубопроводы Т1 и Т2. Подающий
трубопровод связан с 2-мя сетевыми насосами, расположенными на первом этаже. Трубопроводы
Т1 и Т2 подключены к 3-ем последовательным сетевым теплообменникам на втором
этаже.
Расположение оборудования в котельной запроектировано максимально
безопасным и простым для эксплуатации и имеется несложная схема коммуникаций
трубопроводов.
4.
Тепловая схема котельной и ее описание
Тепловая схема представляет собой графическое изображение основного и
вспомогательного оборудования тепловых станций, объединяемого линиями
трубопроводов для транспорта теплоносителей в виде пара и воды.
Холодная вода из водопровода (В3) насосами сырой воды попадает в
пароводяной теплообменник, где нагревается до 25оС. Далее эта вода
проходит химводоподготовку (происходит умягчение воды путем замены катионов
магния и кальция на катионы натрия). Затем умягченная вода (В6) попадает в
водо-водяной теплообменник, где нагревается до 36оС, после чего
направляется в охладитель выпара, где прогревается до 39оС. После
охладителя выпара нагретая вода (В14) идет в деаэрированную колонку, затем в
бак-аккумулятор и далее (В29) с помощью питательных насосов (В29Н) поступает в
котлы. Питательные насосы предназначены для обеспечения подачи воды в
барабанные паровые котлы. Паровой насос используется в качестве резервного.
Насосы поршневые паровые работают на насыщенном или перегретом паре, его
температура не превышает 300°С. Насосы такого типа обладают способностью
бесступенчато регулировать показатели подачи и давления на выходе в интервале
от 25 до 100% их основной величины. Происходит это благодаря изменению давления
пара на входе в насос.
Насыщенный пар (Т97) из котла с давлением 14 ата попадает в редуктор, где
его давление снижается до 7 ата, этот пар (Т92) идет к сетевым теплообменникам.
Пар нагревает холодную воду в пароводяном теплообменнике. Образуется конденсат
(Т81Н), после чего поступает в деаэратор.
С другой стороны пароводяной теплообменник подключен к сети Т1 и Т2.
Охлажденный теплоноситель нагреваясь в теплообменниках становится Т1 и сетевыми
насосами нагнетается потребителю.
Часть пара с давлением 14 ата используется для работы парового насоса.
Чтобы лучше утилизировать тепло непрерывной продувки используются сепараторы
непрерывной продувки. Продувочная вода, проходя через водо-водяной
теплообменник, охлаждается до 40оС. Пар образуется в сепараторе
непрерывной продувки за счет снижения давления и используется для подогрева
воды в деаэраторе.
Выходя из деаэратора, пар (Е0) нагревает воду в охладителе выпара. В
колонке деаэратора смешивается три водяных потока при средней температуре 80оС.
Тепловая схема представлена на листе 2 графической части.
5.
Расчет количества котлов по тепловой нагрузке
Нагрузка котельной по пару в общем случае определяется как сумма
технологической нагрузки QТ, нагрузки на отопление, вентиляцию и горячее
водоснабжение QОВ и Г В, нагрузки на собственные нужды Qсн и потери пара в
котельной Qп.
К=Q Т+Q ОВ И ГВ+QС Н +QП, т/ч. (2)
Так как в котельной нет котельных агрегатов, работающих на ОВ и ГВ, то
QОВ и Г В=0.
Расход пара на собственные нужды составит:
(3)СН=0,05·90=4,5
т/ч.
Потери
в котельной определяют по формуле:
(4)
т/ч;к=90+4,5+2,84=97,34
т/ч.
Количество
котлов определяем по формуле:
шт; (5)
шт.
6.
Деаэрация воды. Расчет и подбор бака-аккумулятора и деаэраторной колонки
Деаэраторный бак представляет собой горизонтальный сосуд цилиндрической
формы, устанавливаемый на двух катковых опорах со средним неподвижным упором
между ними. Деаэраторные баки предназначены в основном для аккумулирования
запаса питательной воды. Кроме того, в деаэраторном баке заканчивается процесс
дегазации воды, то есть осуществляется выделение дисперсных газов и разложение
бикарбонатов. Вода, поступающая в деаэратор на обработку, и возвращаемый
потребителями конденсат могут содержать растворенные в них газы: кислород,
двуокись углерода и др. Эти газы вызывают развитие химической коррозии
питательных трубопроводов, поверхностей нагрева котла, что снижает надежность
его работы. Кроме того, продукты коррозии, попадая с питательной водой в котлы,
способствуют нарушению циркуляции, что приводит к пережогу труб котельного
агрегата.
В котельной применяется термический способ деаэрации.
Деаэратор установлен для удаления из воды, поступающей в котельные
установки и системы теплоснабжения, растворенных коррозионно-активных газов -
кислорода и свободной углекислоты. Эти газы вызывают коррозию поверхности
нагрева и трубопроводов котельных и тепловых систем.
Деаэрация воды основана на повышении ее температуры до кипения, при
которой происходит выпаривание газов.
В котельной установлен атмосферный деаэратор с рабочим давлением 0,12 МПа
на отметке 7,200 м.
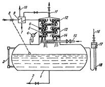
Т.к. в атмосферном деаэраторе (рис.2) поддерживается давление несколько
выше атмосферного, кипение воды происходит за счет нагрева воды паром до температуры
104°С, поступающим в колонку деаэратора. В данном проекте принят деаэратор
ДА-300/75. На рисунке 3 приведена схема атмосферного деаэратора смешивающего
типа.
Рис. 2. Деаэратор атмосферный: общий вид.
Рис. 3. Деаэратор атмосферный: 1 - бак (аккумулятор), 2 - выпуск
питательной воды из бака, 3 - водоуказательное стекло, 4 - манометр, 5, 6 и 12
- тарелки, 7 - спуск воды в дренажный бак, 8 - автоматический регулятор подачи
химически очищенной воды, 9 - охладитель пара, 10 - выпуск пара в атмосферу, 11
и 15 - трубы, 13 - деаэраторная колонка, 14 - парораспределитель, 16 - впуск
воды в гидравлический затвор, 17 - гидравлический затвор, 18 - выпуск лишней
воды из гидравлического затвора.
Водяной пар и неконденсирующиеся газы после деаэратора направляются в
теплообменник-охладитель выпара ОВА - 8 с поверхностью теплообмена 8 м2,
(ширина 516 мм, длина 2860 мм, высота 580 мм) для утилизации теплоты. Выпар в
атмосферном деаэраторе вытесняется в охладитель выпара избыточным давлением.
Охладитель данного типа прост и удобен в эксплуатации. Установка охладителя
выпара над деаэрационными колонками, на высоте, обеспечивающей самотечный слив
конденсата выпара в верхнюю часть колонок, обеспечивает надежный и полный
возврат охлажденного исходной водой выпара в колонку деаэратора, и
предотвращает унос ценного теплоносителя по трубопроводу отвода
неконденсирующихся газов в атмосферу.
Рис. 4. Охладитель выпара ОВА-8 с поверхностью нагрева
8 м2.
6.1
Расчет и подбор бака-аккумулятора и деаэраторной колонки
Необходимый объем бака - аккумулятора вычисляется по формуле:
(6)
где
0,5 - коэффициент, учитывающий запас деаэрированной воды в баке - аккумуляторе
на 30 мин;
,1
и 0,85 - коэффициенты, соответственно учитывающие расход воды на продувку и
заполнение бака-аккумулятора;- максимальная производительность 1 котла т/час;к
- число работающих котлов в котельной;д - количество принимаемых деаэраторов.
Устанавливаем
два деаэратора типа ДА-300/75 с характеристиками: Р=0,12 МПа, tводы=104,25оС,
производительность номинальная 300 т/ч, полезный объем бака 75 м3/ч,
габаритные размеры (бак с колонкой):
длина
12500 мм;
высота
5770 мм.
Технические
характеристики деаэрационной колонки КДА-100: рабочее давление 0,12 МПа,
температура воды 104,25оС, габаритные размеры: диаметр - 1800 мм,
высота 2750 мм.
Технические
характеристики деаэраторного бака БДА-75: полезная вместимость 75 м3/ч,
общая вместимость 84,2 м3/ч, рабочее давление 0,2 МПа, температура
воды 104,25оС.
7. Работа натрий-катионитовых
фильтров
Фильтр 1-ой ступени предназначен для умягчения исходной воды.
Фильтр 2-ой ступени используются на водоподготовительных установках
котельных и предназначены для глубокого умягчения исходной воды, а также
улавливания проскоков солей жесткости после первой ступени обработки. Цикл
работы фильтра состоит из следующих операций: умягчение, взрыхление,
регенерация, отмывка.
Умягчение происходит следующим образом: вода, прошедшая обработку на
Nа-катионитных фильтрах первой ступени, под давлением 0,6 МПа поступает в
Nа-катионитный фильтр второй ступени и проходит через слой зернистого
ионообменного материала в направлении сверху вниз. При этом катионит поглощает
из воды ионы Cа2+ и Мg2+, обусловливающие ее жесткость, и заменяет их
эквивалентным количеством ионов Na+.
Взрыхление предназначено для устранения уплотнения ионообменного
материала, препятствующего свободному доступу регенерационного раствора к его
зернам.
Регенерация катионита для обогащения его ионами Nа+ производится 5-8%-ным
раствором NaCl.
Отмывка ионообменного материала от регенерационного раствора и продуктов
регенерации происходит в направлении сверху вниз.
Преимущества метода:
значительное снижение сточных вод с выделением ионов жесткости в виде
твердого осадка, удобного для утилизации,
резкое снижение расхода поваренной соли,
использование доступных реагентов,
реализация процесса при использовании стандартного оборудования.
При использовании данных фильтров в схемах глубокого обессоливания из
воды удаляются практически все катионы и анионы, за исключением кремниевой
кислоты, а при использовании в схемах полного химического обессоливания
удаляется и кремниевая кислота. Рабочий цикл фильтра заканчивается при проскоке
катионов натрия в фильтрат.
Рис. 5. Схема фильтра Схема подключения
В данном проекте представлен фильтр типа ФИПа II-1,4-0,6-Na,
характеристики представлены в таблице 2.
Таблица 2
|
Типоразмер
|
Рабочее давление, МПа
|
Условный диаметр фильтра,
мм
|
Высота фильтрующей
загрузки, мм, не более
|
Произв., м3/ч
|
Масса в объеме комплекта,
кг
|
|
1
|
2
|
3
|
4
|
5
|
6
|
|
ФИПа II-1,4-0,6- Na
|
0,6
|
1 424
|
1 500
|
92
|
1 562
|
8.
Аэродинамический расчет котлоагрегата
8.1 Расчет газового сопротивления
Таблица 3
|
№п/п
|
Наименование величины
|
Обозначение
|
Расчетная формула или
способ определения
|
Размерность
|
Величина
|
|
1
|
2
|
3
|
4
|
5
|
6
|
|
1
|
Разрежение в топочной
камере
|
Принимается в зависимости от вида топлива и типа
топки по приложению ХI [10].мм.вод. ст.
|
2
|
|
|
2 Сопротивление котла 
где: D - паропроизводительность котла, кг/час;П-
поверхность нагрева котла, включая топочные экраны, пароперегреватель и
конвективные пучки,
;значения HП принимаются по приложению ХII [10];
|
αух - коэффициент избытка воздуха за водяным
экономайзером (воздухоподогревателем) (из теплового расчета).мм.вод. ст.19,5
|
|
|
|
3 Сопротивление водяного экономайзера 
;
где: z2 - число рядов труб экономайзера (из теплового
расчета);
ωг - средняя скорость газов в экономайзере (из
теплового расчета);
γг - средний удельный вес газов при средней температуре
газов θср, кг/м3;
θср - средняя температура газов (из теплового расчета);
γг0 - удельный вес газов при нормальных условиях,
равный 1,34
;
|
мм.вод. ст.6,24
|
|
|
|
4 Сопротивление трубчатого
воздухоподогревателя (с газовой стороны) 
;
где:
-
средняя скорость газов (из теплового расчета), м/с;
|
lср - средняя длина труб,
м. мм.вод. ст.-
|
|
|
|
5 Сопротивление борова 
;
|
где: lб - длина борова, м;
принимается в зависимости от количества котлов и вида топлива ориентировочно
по приложению XIII [10] мм.вод. ст.2,88
|
|
|
|
6 Сопротивление шиберов 
;
|
где: n - число шиберов,
принимаемое при сжигании газа (мазута) равным 4 для твердых топлив-6.0,1-1,5
мм вод. ст .-сопротивление одного шибера.мм.вод. ст.12
|
|
|
|
|
|
7
|
Сопротивление
золоулавливающего устройства
|
Принимаем ориентировочно для батарейных циклонов
35-50мм вод. ст. (приложение XI [10] )мм.вод. ст.40
|
|
|
|
8 Скорость газов на выходе из дымовой
трубы
Принимаем согласно рекомендациям:
|
при искусственной тяге ωг=12-18 м/сек (для котлов ДКВР-4,ДКВР-6,5,ДКВР-10
при сжигании твердых топлив и котлов ДКВР-6,5 и ДКВР-10(газ и мазут))м/с15
|
|
|
|
|
|
9
|
Высота трубы
|
Принимается при искусственной тяге по приложению XV
[10]м30
|
|
|
|
10 Охлаждение газов в трубе на 1 пог. м.
Для кирпичных труб на 1 пог. м. высоты:
;
|
∑D - суммарная
паропроизводительность (т/ч) всех одновременно работающих котлов 0,0012
|
|
|
|
|
|
11
|
Охлаждение газов по всей
высоте трубы
|
-
|
 ºС0,036
|
|
|
12 Температура газов на выходе из трубы 
,
|
где ºС199,9
|
Средняя температура газов в
трубе
|
 ºС199,95
|
|
|
|
|
14
|
Удельный вес газов в трубе
|
 кг/м30,773
|
|
|
|
|
15
|
Потеря при выходе газов из
трубы
|
 мм.вод.
ст.
|
8,8
|
|
|
16 Внутренний диаметр трубы 
,
,
где: Vтр - суммарный расход газов через трубу при
одновременной работе всех котлов, определяемый как Bp(Vг)вэm,
где m - число котлов;(Vг)вэ- объем газов после
водяного экономайзера (воздухоподогревателя) по данным теплового расчетам2,5
17 Потеря на преодоление сопротивления
трения в трубе 
,
|
где: λ - коэффициент трения, принимаемый для кирпичных труб: λ=0,02 мм.вод. ст.0,14
|
|
|
|
18 Полное сопротивление газового тракта 
мм.вод.
ст.
|
(кг/м2)91,56
|
|
|
|
|
|
19
|
Самотяга трубы (при
искусс-твенной тяге)
|
 мм.вод.
ст.
|
12,8
|
|
|
|
20
|
Перепад пол-ного давления
газового тракта
|
При искусственной тяге: мм.вод. ст.
|
78,76
|
|
|
21 Высота трубы, обеспечивающая
необходимую естественную тягу 

|
где: γхв - удельный вес наружного воздуха, принимаемый
равным 1,2 кг/м3 (tхв=200C)м174,9
|
|
|
|
8.2
Расчет сопротивления воздушного тракта
Таблица 4
|
№ п/п
|
Наименование величины
|
Обозначение
|
Расчетная формула и способ
определения
|
Размерность
|
Величина
|
|
1
|
2
|
3
|
4
|
5
|
6
|
1 Сопротивление слоя топлива и решетки
Принимается из расчетных характеристик топок:
|
1) для бурых углей с
Ap>10%, антрацитов и древесных отходов (опилки, кора)100-110; 2) для
остальных видов твердого топлива 60-80 мм.вод.ст.мм.вод.ст.70
|
|
|
|
|
|
2
|
Сопротивление воздуховода
|
Принимаем ориентировочно 5-8мм вод.ст.мм.вод.ст8
|
|
|
|
3 Сопротивление воздухоподогревателя (с
воздушной стороны) 

;
|
где: и -
соответственно число рядов труб и скорость воздуха, принимаемые из теплового
расчетамм.вод.ст-
|
|
|
|
|
|
4
|
Сопротивление горелочных
устройств
|
При сжигании газа и мазута принимаем 150-200мм. вод.
ст.мм.вод.ст-
|
|
|
|
5 Общее сопротивление воздушного тракта 
(газ или
мазут)мм.вод.ст.
9. Подбор тягодутьевых устройств. Расчет и выбор типа
дымососов и дутьевых вентиляторов
Таблица 5
|
№п/п
|
Наименование величины
|
Обозначение
|
Расчетная формула и способ
определения
|
Размерность
|
Величина
|
|
1
|
2
|
3
|
4
|
5
|
6
|
1 Производительность дымососа 
;
где: Bp - расход топлива, кг/ч (нм3/ч);г - объем
газов, нм3/кг (нм3/нм3);
|
θвэп - температура газов на выходе из экономайзера,  47728,8
|
|
|
|
2 Полное расчетное давление дымососа 
,
|
где: Hп - перепад полного
давления газового тракта, принимаемый из табл.3 аэродин.расчета 94,51
|
|
|
|
3 Мощность на валу дымососа 
,
|
где: - эксплуатационный КПД дымососа, принимаемый по
приложению XVII [10], для данного расчетного режимакВт20,47
|
|
|
|
4 Мощность электродвигателя 
,
где: ηп - КПД
передачи: для муфтовой передачи ηп=0,95;
|
k-коэффициент запаса
мощности, принимаемый в зависимости от мощности на валу мотора и вида
передачи по приложению ХVI [10]кВт24,78
|
|
|
|
|
|
5
|
Конструктивные
характеристики дымососа
|
-
|
Принимается в соответствии
с выбранным типом машины по приложению ХVIII [10]
|
Д-15,5; n=970 об/мин;
Вбар=760 мм.рт.ст; h=375 мм; h1=600 мм; h2=350 мм, b=125 мм; А=580 мм; В=907
мм; А1=714 мм.
|
|
6
|
Производительность
вентилятора
|
  25386,4
|
|
|
|
|
7
|
Полный напор вентилятора
|
Нв
|
мм. вод.ст.99,4
|
|
|
|
8
|
Мощность на валу
вентилятора
|
 кВт14,197
|
|
|
|
|
9
|
Мощность электродвигателя
|
 кВт16,439
|
|
|
|
|
10
|
Конструктивные
характеристики вентилятора
|
-
|
Принимается в соответствии
с выбранным типом машины по приложению ХVIII [10]
|
ВД-10: n=970 об/мин;
Вбар=760 мм.рт.ст; h=280 мм; h1=400 мм; h2=250 мм, b=80 мм; А=376 мм; В=580
мм; А1=488 мм.
|
10. Золоулавливание
Очистка дымовых газов от золы н уноса необходима при сжигании твердого
топлива. Это уменьшает загрязнение атмосферного воздуха и улучшает
санитарно-гигиенические условия воздушного бассейна, а также повышает
надежность эксплуатации дымососов, так как снижается их золовой износ.
В котельных, сжигающих уголь и торф в слоевых и камерных топках,
применяют два вида золоуловителей: сухие и мокрые. Для котлов
паропроизводительностью до 20 т/ч обычно устанавливают сухие золоуловители.
Сухие золоуловители более просты, экономичны и надежны и обеспечивают степень
очистки дымовых газов от золы при слоевом сжигании до 80-90%, а при камерном -
до 70-80%.
Мокрые золоуловители более эффективны и даже при камерном сжигании
обеспечивают степень очистки дымовых газов от золы до 90-92%, однако они более
сложны и требуют более тщательного ухода. Их целесообразно применять при
гидравлическом шлакозолоудаленин и количестве дымовых газов свыше 100000 м3/ч.
Из мокрых золоуловителей получили распространение центробежные скрубберы
(ЦС-ВТИ). Из сухих золоуловителей в настоящее время применяются циклоны,
скомпонованные в блоки (блок-циклоны) и батарейные циклоны (мультициклоны).
В обоих типах золоуловителей зола из дымовых газов выделяется под
действием центробежной силы, возникающей в результате вращательного движения и
различия плотности газа и золы.
Рис. 6. Батарейный циклон
В данном проекте применены батарейные циклоны типоразмера БЦ2 7Х (5+3) в
количестве 5 штук (по числу котлов). Батарейный циклон установлен на 4 стойках
внутри здания. Температура очищаемого газа не выше 400°С.
Батарейный циклон (рис. 6) имеет 56 циклонных элементов малого диаметра
(250 мм) скомпонованных внутри общего кожуха, разделенного на две секции,
каждая из которых имеет свой бункер для улавливания золы, подводящий патрубок и
распределительную камеру. Выхлопная камера является общей для обеих параллельно
работающих секций батарейного циклона. Разделение циклона на две секции
выполнено для отключения одной из них и сохранения качества очистки дымовых
тазов при снижении их расхода. Секции отключают языковым шибером.
Аэродинамическое сопротивление батарейного циклона составляет 45 мм вод. ст.
Основные размеры батарейного циклона: размеры в сечении блока циклонов -
2440х2160 мм, с выступающим патрубком 3585х2440 мм, высота - 5020 мм.
11. Расчет и выбор питательных
устройств
1.1 Определение производительности питательного насоса
Производительность питательного насоса:
(7)
где
1,05 - коэффициент, учитывающий возмещение потери воды при продувке котла;
,2
- коэффициент запаса расхода воды;
Дмакс
- максимальный расход воды, равный максимальной суммарной
паропроизводительности всех котлов (120000 кг/ч).
11.2
Определение напора питательного насоса
Напор питательного насоса:
(8)
где
рк - избыточное давление в котле, ати;
Нс
- суммарное сопротивление всасывающего и напорного участка питательной сети.
11.3 Определение мощности электродвигателя насоса
Мощность электродвигателя насоса:
(9)
где
- коэффициент полезного действия питательного насоса
(0,60-0,65);
,1
- коэффициент запаса мощности электродвигателя.
Выбираем
4 питательных насоса типа ЦНСГ-60-165 (4МСГ-10) по производительности и напору
[10]. Производительность 60 м3/ч, количество ступеней 5, полный
напор 165 м вод. ст., КПД=66%, скорость вращения 2950 об/мин, потребляемая
мощность 40,7 кВт, электродвигатель: тип А-083-2, мощность 55 кВт, синхронная
скорость вращения 3000 об/мин. Устанавливаем четыре питательных насоса по
параллельной схеме: три с электроприводом, другой - с паровым поршневым
двигателем (резервный).
1.4 Определение емкости
питательного бака
Емкость
питательного бака должна быть рассчитана на часовой запас воды.
Объем
питательного бака:
котельная вода пар фильтр
(10)
Как
правило, в котельных устанавливают два питательных бака высотой Н=1.2-1.8 м,
тогда емкость каждого составит:
(11)
Площадь
поперечного сечения бака:
(12)
.
12.
Техника безопасности и охрана окружающей среды
Котельная - это зона повышенной опасности. Безответственное поведение
может привести к травмам, отравлению, пожару, порче котла, оборудования.
Поэтому необходим контроль за всем оборудованием и недопущение работы
неисправных механизмов.
Работать в котельной могут только лица старше 18 лет
после проведения с ними вводного инструктажа и первичного инструктажа на
рабочем месте по охране труда, обученные безопасным методам работы и имеющие
соответствующее удостоверение. Не прошедший своевременно повторный инструктаж по
охране труда (не реже 1 раза в 3 месяца) и ежегодную проверку знаний по
безопасности труда работник не допускается к работе.
При приеме на работу в котельную работник должен
проходить предварительный медосмотр, а в дальнейшем периодические медосмотры в
сроки, установленные Минздравом России. Правила внутреннего трудового
распорядка, принятые на предприятии должны соблюдаться всеми рабочими.
Продолжительность рабочего времени не должна превышать
40 ч. в неделю. Продолжительность ежедневной работы (смены) определяется
правилами внутреннего трудового распорядка или графиком сменности,
утверждаемыми работодателем по согласованию с профсоюзным комитетом.
При сгорании топлива в котлах выделяются вредные газы
и пыль. Основными вредными газами являются, оксид углерода, оксиды азота,
углеводороды, оксиды серы и т.п., а также угольная пыль. Попадая вместе с
вдыхаемым воздухом в организм человека, газы могут привести к отравлению, а
пылевидные частицы к поражению верхних дыхательных путей.
В административной части здания котельной должны быть
созданы комфортные для работы условия: достаточное освещение, вентиляция и др.
Также в определенных местах должны висеть предупреждающие и информирующие
плакаты, таблички.
Работник котельной должен пользоваться тем
инструментом и приспособлениями, обращению с которыми обучен и
проинструктирован. Он должен работать в специальной одежде и использовать
другие средства, индивидуальной защиты.
При сжигании различных видов органического топлива трубы промышленных
предприятий выбрасывают огромное количество продуктов сгорания (дымовых газов):
твердые частицы; газообразные окислы серы; окислы азота; оксид углерода;
диоксид углерода. Для уменьшения выброса вредных веществ и загрязнения
окружающей среды устанавливают в котельных герметизированное технологическое
оборудование, газо- и пылеулавливающие установки, высокие трубы.
Автоматизация котельной обеспечивает экономное использование топлива, а
также полноту его сжигания. Также контролируется содержание O2 в дымовых газах
и регулируется расход воздуха с коррекцией по содержанию кислорода в дымовых
газах, что позволяет обеспечить полноту сжигания топлива.
Приняты нормы по предельно-допустимым концентрациям. На стадии
проектирования нового предприятия рассчитывают количество вредных выбросов с учетом
уже существующего фона загрязнений.
В соответствии с требованиями природоохранного законодательства
деятельность предприятия в части охраны окружающей среды отражена в
документации различного вида - государственной статистической отчетности,
журналах аналитического контроля и работы очистного оборудования, а также
инструкциях, приказах, утвержденных планах мероприятий и пр.
Эксплуатация котельного агрегата заключается в следующем: в растопке и
остановке агрегата, в контроле за работой котельного агрегата и управлением им,
выборе оптимальных режимов работы и наивыгоднейшего распределения нагрузок,
соблюдении правил технической и безопасной эксплуатации, в организации
ремонтных работ, профилактике аварий и т.д. Современный котельный агрегат
требует самого тщательного контроля и безошибочного управления. Задачей
контроля и управления является обеспечение в каждый момент требуемой
паропроизводительности или теплопроизводительности и заданных параметров пара и
воды при надежной и экономичной работе агрегата. Производительность является
основным показателем работы котельной установки. В продуктах сгорания,
выбрасываемых в атмосферу, содержатся вредные компоненты, основными из которых
являются:
)твердые частицы при сжигании твердого и жидкого топлива;
) газообразные окислы серы SO2;
) окислы азота NOх;
) оксид углерода CO;
) диоксид углерода СО2;
) углеводороды;
) бензапирен.
Подготовка котла к работе. Перед растопкой проверяют исправность котла и
готовность его к пуску, для чего производят тщательный внутренний (если котел
открыт) и наружный осмотр агрегата. Проверяют исправность всей арматуры и
арматуры топки и газоходов котла, взрывных клапанов, плотность закрытия лазов и
люков, готовность к пуску дымососов и вентиляторов опробованием их работы и пр.
После этого открывают воздушные краны (если они имеются) на котле и
экономайзере или приподнимают предохранительный клапан для выпуска воздуха,
Далее открывают питательный клапан, и котел заполняют водой. Заполнение котла
водой производится через экономайзер (если он имеется), при этом воздушный кран
или предохранительный клапан на экономайзере должны быть открыты; при появлении
в них воды их закрывают.
Одновременно производят заполнение водогрейных котлов и всей системы
отопления. Котел заполняют водой надлежащего качества при температуре ее в
пределах 50-900С. Неравномерное прогревание или охлаждение котла
может вызвать термические деформации. Заполняют котел медленно (1-2 ч) до
наинизшей отметки водоуказательного стекла с учетом того, что уровень воды при
нагреве ее повысится. Затем начинают растопку котла: зажигают слой топлива на
решетке, растопочные мазутные форсунки или газовые горелки. Одновременно ведут
наблюдение за плотностью котла и отсутствием утечек по уровню воды в
водоуказательном стекле. Растопку котла вначале производят при слегка
приоткрытом шибере за котлом (без дымососа) без вентиляторного дутья, затем
включают вентилятор и увеличивают тягу. Перед растопкой газоходы котла
необходимо провентилировать естественной тягой или включением дымососа в течение
5 - 15 мин.
При установке экономайзера газы пропускают через него и непрерывно
прокачивают воду; температура воды по выходе из экономайзера не должна
превышать 600С. Растопку котла производят по графику, согласно которому первую
половину всего нагрева воды в котле до начала образования пара. Второй период
времени делится на два этапа. На первом этапе давление в котле поднимают на 1/4
предельного рабочего давления, а на втором - до предельного. Быстрый нагрев
котла при растопке вызывает неравномерное расширение поверхностей нагрева, что
часто является основной причиной разрушения вальцовочных и других соединений.
Поэтому растопку производят в течение 2-4 ч. При повышении давления в котле
выше атмосферного предохранительные клапаны закрывают и приводят в рабочее
состояние. Проверку и продувку водомерных стекол, пробных кранов и манометров
производят при достижении давления в котле 0,05-0,15 МПа (манометрических) и
вторично перед включением котла в магистраль. Проверяют также состояние
продувочных (спускных) вентилей котла (на ощупь по нагреву труб). При давлении
0,3-0,4 МПа продувают барабан котла и нижние коллекторы экранов (при наличии
их). При растопке заливка пароперегревателя водой для охлаждения не
допускается.
Одновременно с растопкой котла при достижении давления пара в барабане до
0,2-0,3 МПа прогревают соединительный паропровод от котла к магистрали. Через
25-30 мин после начала прогрева медленно и осторожно открывают вентиль или
задвижку на соединительном паропроводе у магистрали. При этом котел остается
отключенным от магистрали только с помощью одной задвижки на барабане или за
пароперегревателем (главной паровой задвижки). Перед подключением котла к
магистрали при давлении в барабане на 0,05-1 МПа ниже давления в магистрали
проверяют действие предохранительных клапанов осторожным их подъемом и
опусканием. По мере повышения давления в котле постепенно прикрывают
продувочный вентиль пароперегревателя, но избежание излишней потери пара.
При давлении в котле на 0,02-0,05 МПа ниже давления в общем паропроводе
(магистрали) медленно и осторожно открывают паровой вентиль (задвижку) на
барабане котла и соединяют котел с паропроводом. После включения котла в
паропровод снова тщательно проверяют состояние всего агрегата и его арматуры.
При снижении уровня воды в котле начинают питать его водой. Таким образом,
котлоагрегат переводят на рабочий режим.
Обслуживание котла во время работы сводится к поддержанию нормального
режима, который обеспечивает наибольшую выработку пара заданных параметров
При наименьших затратах топлива в условиях безопасной и надежной работы
котельного агрегата, технологические и экономические показатели,
характеризующие режим работы котла при разных нагрузках, указываются в режимной
карте, в соответствии с которой персонал и осуществляет ведение
технологического процесса. Основными из этих показателей являются: давление и
температура отпускаемого пара; температура питательной воды; водный режим котла
и режим продувок; содержание кислорода в дымовых газах, температуры последних
по газовому тракту и т.п. Все отклонения режимов от рекомендуемых устраняются
системой автоматического регулирования или с помощью персонала, воздействуя на
регулирующие и запорные органы дистанционно или вручную на месте их установки.
В задачу персонала при обслуживании котельного агрегата входит
поддержание паропроизводительности котла в соответствии с его нагрузкой.
Несоответствие между ними приводит к изменению давления пара в барабане котла.
Паропроизводительность котла необходимо регулировать таким образом, чтобы обеспечивался
нормальный режим работы топки (тепловой и воздушный), исключающий ее
шлакование. Персонал должен следить за питанием котла и уровнем воды в
барабане, поддерживая его примерно на середине водоуказательного стекла.
Следует правильно вести процесс горения в топке, не допуская отклонения
содержания СО2 или О2 в отходящих газах от установленных норм; необходимо
поддерживать минимально допустимое разрежение в топке, нельзя допускать резкого
повышения температуры уходящих газов. Присосы воздуха в газоходы котельного
агрегата не должны превосходить установленных норм. Все неплотности обмуровки и
гарнитуры следует устранять в процессе работы, не дожидаясь очередной остановки
котла.
Обслуживающий персонал следит за температурой пара и температурой воды на
выходе из экономайзера, не допуская повышения ее выше установлен ной величины,
а также следит за состоянием поверхностей нагрева и при необходимости
периодическими обдувками устраняет наружные загрязнения их шлаком и уносом. О
необходимости обдувки судят по повышению температуры уходящих газов и
сопротивлению газового тракта. Не реже 1 раза в смену проверяют исправность
действия манометра, предохранительных клапанов и водоуказательных приборов.
Регулярно по нагреву труб (на ощупь) проверяют плотность спускных и дренажных
вентилей. Все записи о работе оборудования, замеченных его дефектах и
проведенных мероприятиях по их устранению дежурный персонал заносит в
оперативный журнал и ремонтную книгу. Кроме того, записывают показания приборов
(показывающих и регистрирующих), На основании этих записей и анализа суточных
ведомостей по работе котельных агрегатов составляют первичную отчетность. Во
вторичную отчетность входят обобщенные данные по котельной за определенный
период, по которым судят о работе котельной установки.
Остановка котла может быть плановой, кратковременной и аварийной.
Плановую (полную) остановку котла производят по графику в определенной
последовательности. Прекращается подача топлива, в слоеной топке дожигаются его
остатки на решетке, прекращается подача воздуха (останавливается вентилятор), в
течение 10 мин вентилируются газоходы; затем останавливаются дымососы и
закрывается шибер за котлом. После прекращения горения в топке и выработки пара
котел отключают от паровой магистрали и открывают продувку пароперегревателя на
30-50 мин для его охлаждения. Во время остановки котла непрерывно наблюдают за
уровнем воды в котле и его питанием. После отключения котла от паровой
магистрали его подпитывают до допустимого верхнего предела. В течение 4-6 ч котел
медленно остывает, при этом топочные дверцы и шибер за котлом должны быть
закрыты. Через 4-6 ч после остановки проветривают газоходы с помощью
естественной тяги и продувки котла. Спустя 8-10 ч после остановки для ускорения
охлаждения открывают шибер за котлом и включают дымосос, продувку повторяют.
Воду полностью удаляют из котла только после охлаждения ее до 70-800С.
Воду спускают медленно, открывая при этом воздушные краны или предохранительные
клапаны. Затем котел отсоединяют от других котлов установкой металлических
заглушек между фланцами на паровых, питательных, спускных и продувочных линиях.
После этого осматривают топку, котел, вспомогательное оборудование; о всех
замеченных неисправностях делают записи в журнале; во время остановки котла эти
неисправности устраняют.
При остановке котла на длительный срок (более 10 сут.) принимают меры по
защите котла от коррозии, возникающей вследствие действия влаги и кислорода.
Для этой цели используют различные способы защиты, выбор которых определяется
местными условиями. Наиболее часто применяют следующие: сухой способ, при
котором котел освобождают от воды и в нем поддерживают постоянную сухость
воздуха с помощью влагопоглотителей (хлористый кальций - 1 кг/м3
внутреннего объема, известь - 2 кг/м3 и т. д.); мокрый способ - весь
объем котла заполняют щелочным раствором (при на- полнении питательной водой с
содержанием в растворе 2 кг/м3 едкого натра, 5 кг/м3
тринатрийфосфата или 10 кг/м3 кальцинированной соды); способ
избыточного давления, заключающийся в том, что на остановленном котле постоянно
поддерживают давление выше атмосферного (за счет подвода пара от других котлов
или периодического разогрева путем сжигания топлива). Таким образом,
предотвращают доступ воздуха в котел.
Кратковременная остановка котельного агрегата может быть вызвана
нарушением его нормальной работы вследствие неисправности оборудования или по
другим причинам, которые могут вызвать аварию. Последовательность операций в
этих случаях такая же, как и при плановой остановке котла. После отключения
котла от паровой магистрали ведут наблюдения за манометром, водоуказательным
прибором и общим состоянием топки и котла.
Аварийная остановка котлоагрегата может быть в следующих случаях: при
повышении давления пара в котле сверх допустимого (несмотря на уменьшение
подачи топлива, дутья и тяги и усиленное питание водой); при утечке воды и
переполнении котла водой; выходе из строя обоих предохранительных клапанов;
вследствие неисправности манометра и всех водоуказательных приборов; выходе из
строя всех питательных насосов и прекращения питания котла водой; наличии
существенных повреждений элементов котла (разрыве трубы, появлении трещины,
выпучины, течи и т.п.); обнаружении ненормальностей в работе котла (ударов,
стуков, шума, вибрации); разрушении кладки, разогрева докрасна каркаса, обшивки
котла; при возникновении пожара, угрожающего котлу.
При аварийной остановке котел немедленно отключают от главной паровой
магистрали, прекращают подачу топлива и воздуха, резко снижают тягу; горящее
топливо в слоевых топках немедленно удаляют или осторожно заливают водой.
Заключение
Проект выполнен согласно заданию с использованием всей необходимой
справочной и нормативной литературы и новейших методов расчета. В работе
приведены рисунки, таблицы с характеристиками подобранного оборудования.
В результате расчетов определили размеры котельной исходя из необходимых
пяти котлов. Для обеспечения потребностей подобран деаэратор ДА 300/75, 3
питательных насоса ЦНСГ-60-165 (4МСГ-10): 3 с электродвигателями А-083-2, 1
паровой (резервный). Для обеспечения выброса газов в атмосферу подобраны 6
дымососов Д-15.5, а для обеспечения котла необходимым количеством воздуха для
стабильной работы - 6 дутьевых вентиляторов ВД-10. Также расчетом определена
высота дымовой трубы - 30 м, диаметр - 2085 мм, что обеспечивает необходимую
естественную тягу. Также определен необходимый объем бака-аккумулятора, выбран
вид натрий-катионного фильтра, составлена спецификация на оборудование.
Чертежи выполнены согласно утвержденному техническому проекту и
техническим данным (чертежам, техническим условиям и характеристикам) на
выделенное оборудование в объеме, достаточном для производства строительных и
монтажных работ.
Список использованной литературы
1. Аэродинамический
расчет котельных установок: Нормативный метод. Л.: Энергия, 1977.
2. Тепловой
расчет котельных агрегатов: Нормативный метод. 2-е изд., перераб. - М.:
Энергия, 1973.
. Гусев
Ю.Л. Основы проектирования котельных установок. - М.: Стройиздат, 1967, 1973.
. Роддатис
К.Ф. Котельные установки. - М.: Энергия, 1977.
. Котельные
установки. Учебное пособие по курсовому проектированию котлоагрегатов.
Ленинград. ЛИСИ, 1969.
. Эстеркин
Р.И. Котельные установки. Курсовое и дипломное проектирование. Л:
Энергоатомиздат, 1989.
. Тарасюк
В.М. Практическое пособие для оператора котельной. Эксплуатация котлов. М:
Издательство НЦ ЭНАС, 2006.
. СНиП
II-35-76. Котельные установки.
9. Ланцов А.Е., Ахмерова Г.М. Методические указания для расчета
котельного агрегата и экономайзера. К курсовой работе / Казань, 2007. - 26 с.
10. Ланцов
А.Е., Ахмерова Г.М. Расчетные нормали, приложения и номограммы к
поверочно-конструкторскому и аэродинамическому расчетам котельного агрегата и
экономайзера к курсовой работе и курсовому проекту по ТГУ для
студентов-заочников специальности 270109 / Казань: КГАСУ, 2012. - 54 с.
11. Ланцов А.Е., Ахмерова Г.М. Методические указания для
аэродинамического расчета (упрощенному) котельного агрегата и экономайзера к
курсовому проекту по ТГУ для студентов-заочников специальности 270109 / Казань:
КГАСУ, 2012. - 16 с.