Датчик линейного перемещения
Министерство образования и науки
Российской Федерации
Федеральное государственное
автономное образовательное учреждение высшего образования
"Национальный исследовательский
Томский политехнический университет"
Энергетический институт
Направление подготовки
(специальность) 140400 "Электроэнергетика и электротехника"
(Электрические и электронные аппараты)
Кафедра "Электротехнические
комплексы и материалы"
ПОЯСНИТЕЛЬНАЯ ЗАПИСКА
к курсовому проекту/работе
по дисциплине "Электронные и
электрические аппараты систем автоматики"
на тему "Датчик линейного
перемещения"
Выполнил студент гр. 5Г 2Г
В.А. Гончаров
Руководитель
Е.П. Богданов
Томск 2015 г.
Оглавление
. Датчик
перемещения
.1 Емкостные
датчики перемещения
.2 Оптические
датчики перемещения
.3 Индуктивные
датчики перемещения
.4
Вихретоковые датчики перемещения
.5
Ультразвуковые датчики перемещения
.6
Магниторезистивные датчики перемещения
.7 Датчики на
основе эффекта Холла
.8
Магнитострикционные датчики перемещения
.9
Потенциометрические датчики перемещения
.10
Индуктивный датчик перемещения типа LVDT серии SM
. Расчетная
часть
.1 Исходные
данные для расчета
.2
Электромагнитный расчет
.3 Тепловой
расчет
. Определение
параметров и построение характеристик
.1
Определение нелинейности характеристики выходного напряжения датчика линейного
перемещения ЛДТ
.2 Выходная
характеристика датчика
.3 График
коэффициента крутизны выходной характеристики
.4 Построение
нагрузочной характеристики
Заключение
Список
литературы
1. Датчик перемещения
Датчик перемещения - это прибор, предназначенный для определения величины
линейного или углового механического перемещения какого-либо объекта.
Разумеется, подобные приборы имеют колоссальное количество практических
применений в самых разнообразных областях, поэтому существует множество классов
датчиков перемещения, которые различаются по принципу действия, точности, цене
и прочим параметрам. Следует сразу отметить, что все датчики перемещения можно
разделить на две основных категории - датчики линейного перемещения и датчики
углового перемещения (энкодеры). В рамках данного обзора основное внимание
будет уделено именно датчикам линейного перемещения.
По принципу действия датчики перемещения могут быть:
· Емкостными
· Оптическими
· Индуктивными
· Вихретоковыми
· Ультразвуковыми
· Магниторезистивными
· Потенциометрическими
· Магнитострикционными
· На основе эффекта Холла
.1
Емкостные датчики перемещения
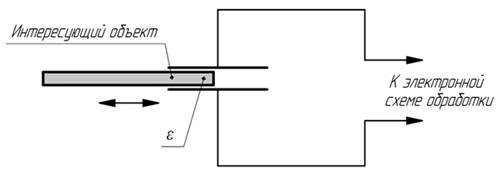
В основе работы датчиков данного типа лежит взаимосвязь ёмкости
конденсатора с его геометрической конфигурацией. В простейшем случае речь идёт
об изменении расстояния между пластинами вследствие внешнего физического
воздействия (рис. 1). Поскольку ёмкость конденсатора изменяется обратно
пропорционально величине зазора между пластинами, определение ёмкости при
прочих известных параметрах позволяет судить о расстоянии между пластинами.
Изменение ёмкости можно зафиксировать различными способами (например, измеряя
его импеданс), однако в любом случае конденсатор необходимо включить в
электрическую цепь.
Рис. 1. Емкостной датчик линейного перемещения с изменяющейся величиной
зазора.
Другой схемой, где выходным параметром является электрическая ёмкость,
является схема, содержащая конденсатор с подвижным диэлектриком (рис. 2).
Перемещение диэлектрической пластины между обкладками конденсатора также
приводит к изменению его ёмкости. Пластина может быть механически связана с
интересующим объектом, и в этом случае изменение ёмкости свидетельствует о
перемещении объекта. Кроме того, если сам объект обладает свойствами
диэлектрика и имеет подходящие габариты - он может быть использован
непосредственно в качестве диэлектрической среды в конденсаторе.
Рис. 2. Емкостной датчик линейного перемещения с подвижным диэлектриком.
.2
Оптические датчики перемещения
Существует множество вариаций схем датчиков перемещения, основанных на
различных оптических эффектах. Пожалуй, наиболее популярной является схема
оптической триангуляции - датчик положения является, по сути, дальномером,
который определяет расстояние до интересующего объекта, фиксируя рассеянное
поверхностью объекта излучение и определяя угол отражения, что даёт возможность
определить длину d - расстояние до объекта (рис. 3). Важным достоинством
большинства оптических датчиков является возможность производить бесконтактные
измерения, кроме того такие датчики обычно довольно точны и имеют высокое
быстродействие.
Рис. 3. Оптический датчик перемещения на основе схему оптической
триангуляции.
В другой реализации оптического датчика, предназначенной для регистрации
и определения параметров малых перемещений и вибраций, используется двойная
решётчатая конструкция, а также источник света и фотодетектор (рис. 4). Одна
решётка неподвижна, вторая подвижна и может быть механически закреплена на
интересующем объекте или каким-либо способом передавать датчику его движение.
Малое смещение подвижной решётки приводит к изменению интенсивности света,
регистрируемой фотодетектором, причём с уменьшением периода решётки точность
датчика возрастает, однако сужается его динамический диапазон.
Рисунок 4. Оптический датчик перемещения на основе дифракционных решеток.
Дополнительными возможностями применения обладают оптические датчики,
учитывающие поляризацию света. В таких датчиках может быть реализован алгоритм
селекции объектов по отражательным свойствам поверхности, т.е. датчик может
"обращать внимание" только на объекты с хорошей отражающей
способностью, прочие объекты игнорируются. Разумеется, чувствительность к
поляризации негативно сказывается на стоимости подобных устройств.
.3
Индуктивные датчики перемещения
В одной из конфигураций датчика данного типа чувствительным элементом
является трансформатор с подвижным сердечником. Перемещение внешнего объекта
приводит к перемещению сердечника, что вызывает изменение потокосцепления между
первичной и вторичной обмотками трансформатора (рис. 5). Поскольку амплитуда
сигнала во вторичной обмотке зависит от потокосцепления, по величине амплитуды
вторичной обмотки можно судить о положении сердечника, а значит и о положении
внешнего объекта.
Рис. 5. Индуктивный датчик перемещения на трансформаторе.
Другая конфигурация имеет более простую схему, однако она пригодна лишь
для небольшого количества приложений, где требуется определять незначительные
перемещения или вибрации объектов, состоящих из ферромагнитного материала. В
данной схеме интересующий ферромагнитный объект играет роль магнитопровода,
положение которого влияет на индуктивность измерительной катушки (рис. 6).
Рис. 6. Индуктивный датчик перемещения для объектов из ферромагнитных
материалов.
.4
Вихретоковые датчики перемещения
Датчики данного типа содержат генератор магнитного поля и регистратор, с
помощью которого определяется величина индукции вторичных магнитных полей.
Вблизи интересующего объекта генератор создаёт магнитное поле, которое,
пронизывая материал объекта, порождает в его объёме вихревые токи (токи Фуко),
которые, в свою очередь, создают вторичное магнитное поле (рис. 7). Параметры
вторичного поля определяются регистратором, и на их основании вычисляется
расстояние до объекта, так как чем объект ближе, тем больший магнитный поток
будет пронизывать его объём, что усилит вихревые токи и индукцию вторичного
магнитного поля. Подобный принцип используется и в вихретоковых дефектоскопах,
однако там на параметры вторичного магнитного поля влияет не расстояние до
объекта, а наличие в его внутренней структуре скрытых несовершенств. Метод
является бесконтактным, однако может применяться только для металлических тел.
Рис. 7. Вихретоковый датчик перемещения.
.5
Ультразвуковые датчики перемещения
трансформатор электромагнитный датчик обмотка
В ультразвуковых датчиках реализован принцип радара - фиксируются
отражённые от объекта ультразвуковые волны, поэтому структурная схема обычно
представлена источником ультразвуковых волн и регистратором (рис. 8), которые
обычно заключены в компактный корпус. Определение временной задержки между
моментами отправки и приёма ультразвукового импульса позволяет измерять расстояние
до объекта с точностью, доходящей до десятых долей миллиметра. Наряду с
оптическими, ультразвуковые датчики на сегодняшний день являются, пожалуй,
наиболее универсальным и технологичным бесконтактным средством измерения.
Использование этого принципа измерений опять же можно найти в детекторах
обнаружения дефектов, только на этот раз уже в ультрозвуковых дефектоскопах.
Рис. 8. Ультразвуковой датчик перемещения.
.6
Магниторезистивные датчики перемещения
В магниторезистивных датчиках перемещения используется зависимость
электрического сопротивления магниторезистивных пластинок от направления и
величины индукции внешнего магнитного поля. Датчик, как правило, состоит из
постоянного магнита и электрической схемы, содержащей включённые по мостовой
схеме магниторезистивные пластинки и источник постоянного напряжения (рис. 9).
Интересующий объект, состоящий из ферромагнитного материала, перемещаясь в
магнитном поле, изменяет его конфигурацию, вследствие чего изменяется сопротивление
пластинок, и мостовая схема регистрирует рассогласование, по величине которого
можно судить о положении объекта.
Рис. 9. Магниторезистивный датчики перемещения.
.7 Датчики
на основе эффекта Холла
Датчики этого типа имеют конструкцию подобную конструкции
магниторезистивных датчиков, однако в основу их работы положен эффект Холла -
прохождение тока через проводник, на который воздействует внешнее магнитное
поле, приводит к возникновению разности потенциалов в поперечном сечении
проводника.
.8
Магнитострикционные датчики перемещения
Как правило, магнитострикционный датчик представляет собой протяжённый
канал - волновод, вдоль которого может свободно перемещаться постоянный
кольцевой магнит. Внутри волновода содержится проводник, способный при подаче
на него электрических импульсов создавать магнитное поле вдоль всей своей длины
(рис. 10). Полученное магнитное поле складывается с полем постоянного магнита,
и результирующее поле создаёт момент вращения канала, содержащего волновод
(эффект Вайдемана). Импульсы вращения распространяются по каналу в обе стороны
со скоростью звука материала канала. Регистрация временной задержки между
отправкой электрического импульса и приёма импульса вращения позволяет
определить расстояние до постоянного магнита, т.е. определить его положение.
Канал может иметь довольно большую длину (до нескольких метров), а положение
магнита может быть определено с точностью до нескольких микрометров.
Магнитострикционные датчики обладают отличной повторяемостью, разрешением,
устойчивостью к неблагоприятным условиям и низкой чувствительностью к
температурным изменениям.
Рис. 10. Магнитострикционный датчик перемещения.
.9
Потенциометрические датчики перемещения
Датчик данного типа в своей основе имеет электрический контур, содержащий
потенциометр (рис. 11). Линейное перемещение объекта приводит к изменению
сопротивления потенциометра (переменного резистора). Если через потенциометр
пропускать постоянный ток, то падение напряжения на нём будет пропорционально
величине сопротивления, и, следовательно, величине линейного перемещения
интересующего объекта.
Рис. 11. Потенциометрический датчик перемещения.
Наряду с механическими датчиками перемещения, потенциометрические датчики
получили наиболее широкое распространение в силу своей простоты и низкой
стоимости, однако для универсальных, прецизионных и бесконтактных измерений в
последнее время всё чаще используются датчики на основе оптических эффектов.
При эксплуатации систем автоматики и информационно-измерительной техники
возникает необходимость в измерении и анализе различных физических величин.
Зачастую требуется привести их к виду и форме, удобным для дальнейшей
обработки, но не поддающимся непосредственному восприятию. Для этих целей
служат датчики.
Под датчиком подразумевается элемент, преобразующий контролируемую
величину одного вида в величину другого вида, более удобную для воздействия на
оперативный орган системы автоматического управления. В электрическом датчике
изменение контролируемого (часто неэлектрического) параметра на входе вызывает
определенное изменение выходного электрического параметра, что приводит к
изменению (коммутации) тока или ЭДС в электрической цепи на выходе датчика.
Поэтому датчики принято относить к электрическим аппаратам.
В зависимости от вида контролируемой величины различают датчики:
линейного или углового механического перемещения, скорости, ускорения, момента
вращения, температуры, давления и т. д.
Датчики подразделяются на две большие группы:
Пассивные, или параметрические.
Активные, или генераторные.
К первой группе относятся датчики, которые не в состоянии самостоятельно
создавать на выходе электрический сигнал. Датчик под действием контролируемой
величины лишь меняет свои внутренние параметры, что в конечном итоге и вызывает
изменение выходного сигнала. Активные датчики не нуждаются в постороннем
источнике питания, они сами под воздействием измеряемой величины генерируют
электрический сигнал, как правило в виде ЭДС.
Обзор
существующих конструкций
Среди большого многообразия конструктивных модификаций датчиков линейных
перемещений (ДЛП) с улучшенными эксплуатационными и метрологическими
параметрами, широкими функциональными возможностями выделяются ДЛП на основе
распределенных магнитных систем. Наибольшее распространение среди данного
класса ДЛП получили дифференциальные датчики трансформаторного типа, свойства
которых принято оценивать с помощью нескольких характеристик.
1.
Степень соответствия реальной и расчетной функции преобразования, которую можно
характеризовать отношением нелинейности 
к
коэффициенту усиления Ki. Для линейных датчиков высокой точности нелинейность 
выходной
характеристики не должна превышать 0,1-0,2%.
.
Фазовый сдвиг выходного напряжения относительно напряжения возбуждения
изменение сдвига фазы при перемещении подвижной части ДЛП.
.
Чувствительность ДЛП. При фиксированном напряжении возбуждения она определяется
как тангенс угла наклона выходной характеристики.
Помимо
перечисленных важными параметрами в зависимости от области применения ДЛП
являются также значение реактивных усилий на подвижную часть, габаритные
размеры и масса, повторяемость характеристик, надежность, энергоемкость и др.
Зависимость
выходного параметра Y датчика от входной величины X является основной
характеристикой датчика. В зависимости от типа датчика она может быть линейной
или нелинейной.
Отношение
приращения выходной величины к приращению входной называется чувствительностью
датчика:
Кч=
∆Y/∆X.
Длительность
переходного процесса определяет быстродействие датчика. Обычно к датчикам
предъявляются требования максимальных чувствительности и быстродействия. Кроме
этого, одно из основных требований сводится к тому, чтобы параметры и
характеристики датчика оставались стабильными во времени и при изменении
условий работы (температура, давление, влажность среды, положение датчика и т.
д.).
В
настоящее время широко применяется дифференциальный трансформатор с воздушным ярмом (ЛДТ). В магнитной
цепи этого трансформатора только сердечник выполняется из ферромагнитного
материала, ярмо отсутствует или является воздушным.
Дифференциальные
трансформаторы широко внедрены в приборостроении, поскольку без
магнитопроводящего ярма существенно улучшилась линейность выходной
характеристики и резко уменьшился "соленоидный эффект".
Наилучшие
характеристики имеет трёхкатушечный дифференциальный трансформатор,
представленный на рисунке 1. Датчик состоит из внешнего магнитопровода 1,
подвижного сердечника 2 и катушки, на которой размещены обмотка возбуждения 3 и
секции рабочей обмотки (РО) 4, включенные последовательно встречно.
При
питании обмотки возбуждения датчика от источника переменного тока и среднем
положении сердечника ЭДС, наведённые в секциях рабочей обмотки, находящиеся по
обе стороны сердечника, равны по величине и противоположны по фазе. Поэтому
результирующая ЭДС и выходное напряжение минимальны. В случае смещения
сердечника из среднего положения равновесие нарушается, и напряжение на выходе
увеличивается.
Крутизна
и линейность выходного напряжения определяются равномерностью электромагнитной
связи между обмотками, которая обеспечивается равномерным распределением секций
рабочей обмотки над обмоткой возбуждения и соотношением, витков этих обмоток
над сердечником.
Из
анализа существующих конструкций датчиков следует, что за основу при
проектировании может быть взята конструкция датчика типа ЛДТ (линейный
дифференциальный трансформатор) (рис. 12), поскольку другие конструкции не
обеспечивают требуемых габаритных размеров. Кроме того, датчики подобного типа
отличаются сравнительной простотой конструкции, высокой надёжностью и стабильностью
параметров.
Датчик
представляет собой линейный дифференциальный трансформатор (ЛДТ) с воздушным
ярмом. Датчик состоит из корпуса 1, магнитопровода 2, катушки 3, стакана 4.
Электрическая схема датчика показана на рис. 13.
Рис.
12. Трёхкатушечный дифференциальный трансформатор.
Рис. 13. Электрическая схема датчика ЛДТ.
Корпус представляет собой полый цилиндр с толщиной стенки 1мм. Для
обеспечения требований исходных данных и стойкости при внешних воздействующих
факторах он выполнен из немагнитной трубы (сталь 12X18PI10T).
Для снижения потребляемой датчиком мощности и уменьшения влияния на его
параметры внешних магнитных полей, внутри корпуса помещён внешний
магнитопровод, который представляет собой трубку из ферромагнитного материала
79НМ толщиной 0,35мм. Сплав 79НМ уступает другим магнитомягким материалам по
магнитной проницаемости, но имеет большое удельное электрическое сопротивление
и малую зависимость μ от частоты. Кроме того, он обладает низкой
магнитострикцией и малой коэрцитивной силой. Вязкость и пластичность материала
обеспечивает использование прогрессивных методов изготовления магнитопровода
(вытяжка, штамповка, изгиб и т.д.).
Катушка состоит из каркаса, выполненного из фенопласта, на котором
размещены первичная обмотка ОВ (обмотка возбуждения) и две секции вторичной
обмотки Р 01 и Р 02 (секции рабочей обмотки). Рабочие обмотки включены
последовательно встречно. Выводы обмоток распаяны на лепестки колодки, а затем
монтажным проводом выведены наружу. Стакан представляет собой полый цилиндр из
немагнитной стали, внутри которого с гарантированным зазором размещается
подвижная часть.
Подвижная часть датчика представляет собой сердечник, шихтованный из
магнитомягких пластин. В рассматриваемом датчике используется новый вид
сердечника, как технически совершенного и улучшающего линейность выходной
характеристики. Сердечник представляет собой полую трубку с тягой из
нержавеющей стали (шток), заполненную тонкими пластинами из магнитомягкого
материала, залитых для неподвижности компаундом.
Датчик относится к дифференциально-трансформаторному типу, принцип
действия которого основан на изменении взаимных индуктивностей между секциями
рабочей обмотки и обмотки возбуждения при перемещении сердечника. При питании
обмотки возбуждения датчика от источника переменного тока и среднем положении
сердечника (нулевое положение) ЭДС, наводимые в секциях рабочей обмотки равны
но величине и противоположны по фазе, поэтому результирующая ЭДС и выходное
напряжение минимальны. В случае смещения сердечника из среднего положения
равновесие нарушается, и напряжение на выходе увеличивается.
Выходное напряжение изменяется пропорционально величине перемещения
сердечника. При переходе сердечника через нулевое положение фаза выходного
напряжения изменяется на 180°.
Раздельное применение исполнительного механизма и датчика требует наличия
промежуточного звена между этими приборами, кроме того, увеличивается
количество подводимых проводов. Это приводит к увеличению массы подвижных
частей, габаритов, уменьшается надёжность и возрастает стоимость. Поэтому
исполнительный механизм и датчик объединены в один прибор, называемый линейным
электромагнитным преобразователем со встроенным датчиком положения (ЛЭП)
(рис.14).
Рис. 14. Общий вид ЛЭП.
Рис. 15. Конструктивная схема датчика.
Рис. 16. Конструктивная схема исполнительного механизма.
ЛЭП состоит из двух основных элементов: датчика 1 и исполнительного
механизма 4, объединённых в один прибор. Датчик представляет собой цилиндр, в
котором расположена подвижная часть 3, катушка 2. Исполнительный механизм
состоит из корпуса, внутри которого расположен подвижный якорь 5. Подвижная
часть датчика и якорь жестко связаны между собой и могут перемещаться. Якорь
соединяется с рабочим органом агрегата, перемещение которого измеряется.
При подаче управляющего сигнала на исполнительный механизм, якорь
начинает перемещаться влево или вправо. С катушки датчика снимается переменное
напряжение, амплитуда которого пропорциональна величине перемещения подвижной
части.
Конструктивная схема датчика показана на рис. 15.
За основу конструкции исполнительного элемента была принята
магнитоэлектрическая система, как наиболее полно удовлетворяющая требованиям
технического задания. Конструктивная схема исполнительного механизма (в
дальнейшем преобразователь) показана на рис. 16.
Преобразователь состоит из стального корпуса 1, на внутреннюю поверхность
которого на клей посажены постоянные магниты 4. Для надёжности магниты прижаты
гайкой 3. Внутри корпуса располагается якорь, состоящий из немагнитного каркаса
7 с расположенной на нём обмоткой постоянного тока 5. Якорь может свободно
перемещаться в корпусе на бронзовых втулках 8, 9. Электрическая связь между
внешней цепью и катушкой осуществляется с помощью гибких проводников.
Для увеличения усилия, развиваемого якорем, а также для уменьшения
мощности, потребляемой преобразователем, между магнитами и якорем
устанавливается дополнительный магнитопровод 6, представляющий собой полый
цилиндр, выполненный из ферромагнитного сплава 50НХС.
Для подключения обмоток датчика и преобразователя к внешней цепи на
корпусе установлена вилка 2.
Принцип действия преобразователя основан на взаимодействии двух потоков:
поляризующего, создаваемого постоянными магнитами и рабочего, создаваемого
обмоткой якоря. В результате этого взаимодействия якорь развивает усилие,
величина которого пропорциональна величине тока, протекающего по обмотке.
.10
Индуктивный датчик перемещения типа LVDT серии SM
Линейно регулируемые дифференциальные трансформаторы (LVDT)
(рис. 17) идеально подходят для применения в устройствах, находящихся в жестких
промышленных условиях - таких как высокая температура, давление, постоянная
динамика или длительный цикл производства.
Рис. 17. Индуктивный датчик перемещения типа LVDT серии SM.
Технические характеристики:
Номинальное перемещение (Lном)
0-2…200, мм
Нелинейность, % : 0,2 или 0,3
Номинальный диапазон температур, ○С : -40...+120 (+150)
Класс защиты: IP67 (IP68)
Частота питания, кГц: 2…10
Номинальное напряжение (Uном),
В : 3
Габаритные размеры, мм, не более: диаметр 12 х (220 - 1593)
После проведения анализа существующих конструкций за основу проектирования
взята конструкция датчика типа ЛДТ (линейный дифференциальный трансформатор) и
далее расчет ведется именно по этому датчику.
2. Расчетная часть
.1
Исходные данные для расчета
1. Напряжение питание U1 =7 В;
2. Частота напряжения питания f = 2000 Гц;
. Ток потребления I1 = 0,02A;
. Величина выходного напряжения в нулевом положении Umax = 0,7 В;
5. Крутизна выходной характеристики К=0,05мм-1;
. Рабочий ход подвижной части lp=10˟10-3м;
. Длина сердечника lc=20˟10-3;
8. Эффективная
магнитная проницаемость сердечника (для сплава 50 HXC)
.
. Сечение
сердечника Sc=SB=7˟10-6 м 2;
. Диаметр
каркаса по краям первичной обмотки Dk1=10˟10-3м;
. Диаметр
каркаса под вторичной обмоткой Dk2=8˟10-3м;
. Диаметр
каркаса Dкар=8˟10-3м.
.2 Электромагнитный расчет
Индуктивное сопротивление первичной обмотки:
Индуктивность первичной обмотки:
Количество
витков первичной обмотки под сердечником:
Для
обеспечения высокой линейности характеристики необходимо, чтобы индуктивность
первичной обмотки была величиной постоянной при перемещении сердечника на всем
рабочем ходе. Поэтому обмоткой должна быть намотана плотно виток к витку на
всей длине каркаса. Длина каркаса:
При
выполнении обмотки у щечек каркаса получается нелинейная намотка на длине около
1,5 мм у каждой щечки. В связи с этим длину каркаса необходимо увеличить на 3
мм. Принимаем lk=43 мм. Общее количество витков первичной обмотки:
Для
обмотки выбирается провод марки ПЭТ - 155 с диаметром провода dпр=0,125 мм и диаметром изоляции dиз=0,155 мм.
Число
витков в одном слое:
Число
слоев первичной обмотки:
Число
слоев должно быть целым и по конструкторским соображениям четным, чтобы начало
и конец обмотки были у одной щечки каркаса. Принимаем n1=6 слоев.
Уточненное
число витков первичной обмотки:
Уточненное
число витков первичной обмотки под сердечником:
Уточненное
значение индуктивности:
Полная
индуктивность первичной обмотки:
Активное
сопротивление первичной обмотки:
Полное
сопротивление цепи первичной обмотки:
Потребляемый
датчиком ток:
Плотность
тока первичной обмотки:
Количество
витков секции вторичной обмотки при перемещении сердечника на величину полного
рабочего хода:
Число
витков в слое:
Число
слоев секции вторичной обмотки:
Число
витков обмотки должно быть целым и четным. Принимаем n2=8.
Число
витков секции вторичной обмотки:
Активное
сопротивление секции вторичной обмотки:
Индуктивность
секции вторичной обмотки:
Полная
индуктивность вторичной обмотки:
Наружный
диаметр катушки датчика:

.3
Тепловой расчет
При протекании тока по токоведущим деталям электрического аппарата
возникают потери электрической энергии в виде тепла. В общем случае тепловая
энергия расходуется на повышение температуры аппарата и частично рассеивается в
окружающей среде.
При повышении температуры происходит ускоренное старение изоляции
проводников и уменьшение их механической прочности. Например, срок службы
изоляции при возрастании длительной температуры всего лишь на 8°С выше
номинальной сокращается в два раза. Поэтому во всех возможных режимах работы
температура их не должна превышать таких значений, при которых обеспечивается
заданная длительность работы аппарата.
Рассчитаем превышение температуры катушки датчика.
По закону Ньютона-Рихмана, превышение температуры катушки определяется
как:
В
катушке данного датчика используется изоляция класса А, допустимая температура
нагрева θ=105○С;
Тогда
удельное сопротивление медного провода при температуре 105○С:
Активное
сопротивление при температуре 105○С обмоток:
возбуждения:
рабочих:
Полное
сопротивление цепи первичной и вторичной обмоток:
Мощность,
выделяемая на первичной и вторичной обмотках:
Суммарная
мощность:
Поверхность
охлаждения катушки:
Нагрев
катушки:
Установившаяся
температура поверхности:
Т.е.
температура не превышает допустимую для данного класса изоляции.
Вывод: Исходя из данных
полученных при электромагнитном и тепловом расчете, можно сказать о том, что
полученные параметры являются приемлемыми для данного типа датчика, т.к.
удовлетворяют заданным требованиям, следовательно, можно переходить к
следующему этапу курсового проектирования.
3. Определение параметров и построение характеристик
Рис.18. Лабораторный стенд для снятия характеристик
.1
Определение нелинейности характеристики выходного напряжения датчика линейного
перемещения ЛДТ
Сопротивление нагрузки датчиков 10 кОм:
Рабочий диапазон датчика: ±30 мм;
"+" - перемещение штока в сторону датчика;
"-" - перемещение штока во внутрь датчика.
Определяется зависимость выходного напряжения датчика ЛДТ - 3522 от
перемещения в точках:
;-25;-20;-15;-10;-5;0;5;10;15;20;25;30 мм.
Результаты измерений заносятся в таблицу 1.
Таблица 1. Экспериментальные данные.
|
Перемещение
|
-30
|
-25
|
-20
|
-15
|
-10
|
-5
|
0
|
5
|
10
|
15
|
20
|
25
|
30
|
|
Uвых, В
|
7,5
|
6,5
|
5,5
|
4
|
2,5
|
1,25
|
0,5
|
1
|
2,25
|
3,5
|
5,25
|
6,5
|
7,5
|
|
Нелин.,%
|
0
|
16,7
|
50
|
66,7
|
83,3
|
100
|
83,3
|
66,7
|
50
|
33,3
|
16,7
|
0
|
|
K, В/мм
|
0,3
|
0,2
|
0,2
|
0,1
|
0,1
|
0,0
|
0,0
|
0,0
|
0,1
|
0,1
|
0,2
|
0,2
|
0,2
|
Нелинейность характеристик (рис. 19) рассчитывается по формуле:
где
Ui - напряжение, измеренное в точках, указанных в
таблице, В;
li - точки,
указанные в таблице, мм;
К
- крутизна характеристики выходного напряжения в конце рабочего диапазона; lk = 30 мм - рабочий диапазон.
Пример
расчета для одной точки:
Коэффициент
К рассчитывается раздельно в
положительную и отрицательную стороны по формуле:
где Uвых - напряжение в конце рабочего диапазона.
Рис. 19. Нелинейность характеристики при перемещении датчика
.2 Выходная характеристика датчика
Выходная характеристика датчика представляет собой зависимость выходного
напряжения от положения подвижной части и описывается выражением: Uвых=f(li)
строится по данным, полученным из опыта (рис. 20).
Рис. 20. Выходная характеристика датчика.
3.3 График
коэффициента крутизны выходной характеристики
Рис. 21. Графическая зависимость коэффициента крутизны выходной
характеристики от перемещения датчика.
.4
Построение нагрузочной характеристики
Нагрузочная характеристика необходима для определения
пределов, в которых можно изменять нагрузку так, чтобы выходное напряжение
датчика изменялось незначительно.
Нагрузочная характеристика описывается выражением: Uвых=f(Rн) (рис.22).
Таблица 2
|
Нагрузка RH, кОм
|
2 кОм
|
6 кОм
|
10 кОм
|
|
Напряжение UBbIX, В
|
6,5
|
6,6
|
6,75
|
Рис. 22. Нагрузочная характеристика.
Вывод: В результате исследования параметров и характеристик датчика
линейного перемещения построили 4 различных характеристики. По графикам этих
характеристик видно, что нелинейность характеристики уменьшается с приближением
штока датчика к нулевому положению. Выходная характеристика - не линейна и
минимум ее смещен от нулевого положения штока. Такие результаты можно объяснить
некоторой неравномерностью электромагнитной связи между обмотками, причиной
которой может быть неравномерное распределение секций рабочей обмотки над
обмоткой возбуждения и соотношением витков этих обмоток под сердечником.
Нагрузочная характеристика показывает, что при изменении нагрузки от 2 до
10 кОм Uвых меняется незначительно, и это изменение имеет нелинейный характер,
что объясняется насыщением сердечника при протекании больших токов при меньшей
нагрузке.
Заключение
В данном курсовом проекте был спроектирован бесконтактный аппарат на
примере датчика линейного перемещения. Курсовой проект позволяет глубже понять
и усвоить особенности электромагнитных датчиков, приобрести навыки расчета и
конструирования линейных трансформаторных датчиков, исследования их рабочих
режимов. В ходе курсового проекта был произведен электромагнитный и тепловой
расчеты, а также был произведен выбор параметров. Определена нелинейность
характеристики и рассчитан коэффициент крутизны выходной характеристики, а
также построены выходная и нагрузочная характеристики.
Спроектированный аналог датчика линейных перемещений удовлетворяет всем
требованиям, изложенным в задании.
Список литературы
1. Богданов Е.П. Лабораторный практикум по дисциплине
"Бесконтактные электрические аппараты" для студентов специальности
18020 - "Электрические и электронные аппараты" - Томск: Издательство
ТПУ, 2003.-58с.
. Богданов Е.П. Методические указания к выполнению курсового
проекта по дисциплине на тему: "Бесконтактные электрические аппараты"
для студентов специальности 18020 - "Электрические и электронные аппараты"
- Томск: Издательство ТПУ, 2003. - 20с.
. Буль Б.К. Основы теории электрических аппаратов. - М.:
Высшая школа, 1970.
. Куликовский Л.Ф., Зарипов М.Ф. Индуктивные преобразователи
перемещения с распределенными параметрами. - М.: Энергия, 1966.
. Маталин А.А. Технология машиностроения. - Л.:
Машиностроение, 1985.
. Савченко М.Г., Филиппов В.И.. Марьянов Г.М. Проектирование
устройств электропитания и электропривода. - М.: Энергия, 1973.
. Чунихин А.А. Электрические аппараты. - М.:
Энергоатомиздат,1988.
. Электронные и электромеханические системы и устройства: Сб.
научн. Трудов, НПЦ "Полюс", Томск, 1997.