Датчики перемещения

  • Вид работы:
    Реферат
  • Предмет:
    Информатика, ВТ, телекоммуникации
  • Язык:
    Русский
    ,
    Формат файла:
    MS Word
    180,54 Кб
  • Опубликовано:
    2015-06-06
Вы можете узнать стоимость помощи в написании студенческой работы.
Помощь в написании работы, которую точно примут!

Датчики перемещения

Содержание

Введение

1.      Емкостные датчики перемещения

.        Оптические датчики перемещения

.        Индуктивные датчики перемещения

.        Вихретоковые датчики перемещения

.        Ультразвуковые датчики перемещения

.        Магниторезистивные датчики перемещения

.        Датчики на основе эффекта Холла

.        Магнитострикционные датчики перемещения

.        Потенциометрические датчики перемещения

Введение

Датчик перемещения - это прибор, предназначенный для определения величины линейного или углового механического перемещения какого-либо объекта. Разумеется, подобные приборы имеют колоссальное количество практических применений в самых разнообразных областях, поэтому существует множество классов датчиков перемещения, которые различаются по принципу действия, точности, цене и прочим параметрам. Следует сразу отметить, что все датчики перемещения можно разделить на две основных категории - датчики линейного перемещения и датчики углового перемещения (энкодеры).

По принципу действия датчики перемещения могут быть:

·              ёмкостными;

·              оптическими;

·              индуктивными;

·              вихретоковыми;

·              ультразвуковыми;

·              магниторезистивными;

·              потенциометрическими;

·              магнитострикционными;

·              на основе эффекта Холла.

.       
Емкостные датчики перемещения

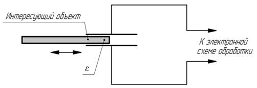
В основе работы датчиков данного типа лежит взаимосвязь ёмкости конденсатора с его геометрической конфигурацией. В простейшем случае речь идёт об изменении расстояния между пластинами вследствие внешнего физического воздействия (Рисунок 1). Поскольку ёмкость конденсатора изменяется обратно пропорционально величине зазора между пластинами, определение ёмкости при прочих известных параметрах позволяет судить о расстоянии между пластинами. Изменение ёмкости можно зафиксировать различными способами (например, измеряя его импеданс), однако в любом случае конденсатор необходимо включить в электрическую цепь.

Рисунок 1 - Емкостной датчик линейного перемещения с изменяющейся величиной зазора

Другой схемой, где выходным параметром является электрическая ёмкость, является схема, содержащая конденсатор с подвижным диэлектриком (Рисунок 2). Перемещение диэлектрической пластины между обкладками конденсатора также приводит к изменению его ёмкости. Пластина может быть механически связана с интересующим объектом, и в этом случае изменение ёмкости свидетельствует о перемещении объекта. Кроме того, если сам объект обладает свойствами диэлектрика и имеет подходящие габариты - он может быть использован непосредственно в качестве диэлектрической среды в конденсаторе.

 

Рисунок 2 - Емкостной датчик линейного перемещения с подвижным диэлектриком

Возможные области применения емкостных датчиков чрезвычайно разнообразны. Они используются в системах регулирования и управления производственными процессами почти во всех отраслях промышленности. Емкостные датчики применяются для контроля заполнения резервуаров жидким, порошкообразным или зернистым веществом, как конечные выключатели на автоматизированных линиях, конвейерах, роботах, обрабатывающих центрах, станках, в системах сигнализации, для позиционирования различных механизмов и т. д.

В настоящее время наиболее широкое распространение получили датчики приближения (присутствия), которые помимо своей надежности, имеют широкий ряд преимуществ. Имея сравнительно низкую стоимость, датчики приближения охватывают огромный спектр направленности по своему применению во всех отраслях промышленности. Типичными областями использования емкостных датчиков этого типа являются:

)        сигнализация заполнения емкостей из пластика или стекла;

)        контроль уровня заполнения прозрачных упаковок;

)        сигнализация обрыва обмоточного провода;

)        регулирование натяжения ленты;

)        поштучный счет любого вида и др.

Емкостные датчики линейных и угловых перемещений являются наиболее распространенными приборами, широко используемыми в машиностроении и на транспорте, строительстве и энергетике, в различных измерительных комплексах.

Сравнительно новыми приборами, доведенными до широкого промышленного применения в последние годы, стали малогабаритные емкостные инклинометры с электрическим выходным сигналом, пропорциональным углу наклона датчика. В качестве основных можно считать следующие области применения инклинометров: использование в системах горизонтирования платформ, определение величины прогибов и деформаций различного рода опор и балок, контроль углов наклона автомобильных и железных дорог при их строительстве, ремонте и эксплуатации, определение крена автомобилей, кораблей и подводных роботов, подъемников и кранов, экскаваторов, сельскохозяйственных машин, определение углового перемещения различного рода вращающихся объектов - валов, колес, механизмов редукторов как на стационарных, так и подвижных объектах.

Емкостные датчики уровня находят применение в системах контроля, регулирования и управления производственными процессами в пищевой, фармацевтической, химической, нефтеперерабатывающей промышленности. Они эффективны при работе с жидкостями, сыпучими материалами, пульпой, вязкими веществами (проводящими и непроводящими), а также в условиях образования конденсата, запыленности.

Емкостные датчики также находят применение в различных отраслях промышленности для измерения абсолютного и избыточного давления, толщины диэлектрических материалов, влажности воздуха, деформации, угловых и линейных ускорений и др.

Емкостные датчики обладают целым рядом преимуществ по сравнению с датчиками других типов. К их достоинствам относятся: простота изготовления, использование недорогих материалов для производства; - малые габариты и вес; - низкое потребление энергии; - высокая чувствительность; отсутствие контактов (в некоторых случаях - один токосъем); долгий срок эксплуатации; потребность весьма малых усилий для перемещения подвижной части емкостного датчика; простота приспособления формы датчика к различным задачам и конструкциям.

К недостаткам емкостных датчиков следует отнести: сравнительно небольшой коэффициент передачи (преобразования); высокие требования к экранировке деталей; необходимость работы на повышенной (по сравнению с 50 Гц) частоте.

Однако в большинстве случаев можно добиться достаточной экранировки за счет конструкции датчика, а практика показывает, что емкостные датчики дают хорошие результаты на широко распространенной частоте 400 Гц. Присущий конденсаторам краевой эффект становится значительным, лишь когда расстояние между обкладками сравнимо с линейными размерами рассматриваемых поверхностей. Этот эффект можно в некоторой степени устранить, использую защитное кольцо, позволяющее вынести его влияние за границы поверхности обкладок, реально используемой при измерении.

.        Оптические датчики перемещения

Существует множество вариаций схем датчиков перемещения, основанных на различных оптических эффектах. Пожалуй, наиболее популярной является схема оптической триангуляции - датчик положения является, по сути, дальномером, который определяет расстояние до интересующего объекта, фиксируя рассеянное поверхностью объекта излучение и определяя угол отражения, что даёт возможность определить длину d - расстояние до объекта (Рисунок 3). Важным достоинством большинства оптических датчиков является возможность производить бесконтактные измерения, кроме того такие датчики обычно довольно точны и имеют высокое быстродействие.

Рисунок 3 - Оптический датчик перемещения на основе схему оптической триангуляции

В другой реализации оптического датчика, предназначенной для регистрации и определения параметров малых перемещений и вибраций, используется двойная решётчатая конструкция, а также источник света и фотодетектор (Рисунок 4). Одна решётка неподвижна, вторая подвижна и может быть механически закреплена на интересующем объекте или каким-либо способом передавать датчику его движение. Малое смещение подвижной решётки приводит к изменению интенсивности света, регистрируемой фотодетектором, причём с уменьшением периода решётки точность датчика возрастает, однако сужается его динамический диапазон.

Рисунок 4 - Оптический датчик перемещения на основе дифракционных решеток

Дополнительными возможностями применения обладают оптические датчики, учитывающие поляризацию света. В таких датчиках может быть реализован алгоритм селекции объектов по отражательным свойствам поверхности, т.е. датчик может «обращать внимание» только на объекты с хорошей отражающей способностью, прочие объекты игнорируются. Разумеется, чувствительность к поляризации негативно сказывается на стоимости подобных устройств.

Оптические измерители расстояния это разновидность бесконтактных датчиков, поскольку механический контакт между сенсором и объектом воздействия отсутствует. Это свойство приборов обуславливает их активное использование в автоматических системах управления. Их дальность действия намного больше, чем у других разновидностей бесконтактных датчиков.

Оптические датчики широко используют для определения количества предметов, присутствия на их поверхностях этикетов, надписей, наклеек, меток, сортировки и позиционирования предметов.

Оптические измерители расстояния позволяют контролировать расстояние и устанавливаются в приборы дистанционного управления и другие автоматизированные системы.

.        Индуктивные датчики перемещения

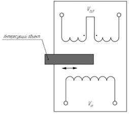
В одной из конфигураций датчика данного типа чувствительным элементом является трансформатор с подвижным сердечником. Перемещение внешнего объекта приводит к перемещению сердечника, что вызывает изменение потокосцепления между первичной и вторичной обмотками трансформатора (Рисунок 5). Поскольку амплитуда сигнала во вторичной обмотке зависит от потокосцепления, по величине амплитуды вторичной обмотки можно судить о положении сердечника, а значит и о положении внешнего объекта.

Рисунок 5 - Индуктивный датчик перемещения на трансформаторе

Другая конфигурация имеет более простую схему, однако она пригодна лишь для небольшого количества приложений, где требуется определять незначительные перемещения или вибрации объектов, состоящих из ферромагнитного материала. В данной схеме интересующий ферромагнитный объект играет роль магнитопровода, положение которого влияет на индуктивность измерительной катушки (Рисунок 6).

Схема индуктивного датчика перемещения для объектов из ферромагнитных материалов

Рисунок 6 - Индуктивный датчик перемещения для объектов из ферромагнитных материалов

. Вихретоковые датчики перемещения

Датчики данного типа содержат генератор магнитного поля и регистратор, с помощью которого определяется величина индукции вторичных магнитных полей. Вблизи интересующего объекта генератор создаёт магнитное поле, которое, пронизывая материал объекта, порождает в его объёме вихревые токи (токи Фуко), которые, в свою очередь, создают вторичное магнитное поле (Рисунок 7). Параметры вторичного поля определяются регистратором, и на их основании вычисляется расстояние до объекта, так как чем объект ближе, тем больший магнитный поток будет пронизывать его объём, что усилит вихревые токи и индукцию вторичного магнитного поля. Подобный принцип используется и в вихретоковых дефектоскопах, однако там на параметры вторичного магнитного поля влияет не расстояние до объекта, а наличие в его внутренней структуре скрытых несовершенств. Метод является бесконтактным, однако может применяться только для металлических тел.

Первые датчики расстояния предоставляли информацию только о наличии или присутствии предмета перед устройством в виде сигнала on/off. Эти простые датчики метки до сих пор используются в разных областях промышленности.

Тем временем для решения более комплексных задач автоматизации технических процессов требуются дополнительные сведения о положении объектов измерения. С этой целью были разработаны датчики метки, которые позволяют определять расстояние до исследуемого объекта и его положение при помощи аналогового выхода, на котором сигнал пропорционален расстоянию до объекта. Такие датчики находят применение в измерении наклона, диаметра и толщины, при центровке.

Индуктивные измерители расстояния определяют расстояние до проводящих металлических объектов, таких как латунь, алюминий, сталь. Так как принцип работы таких датчиков базируется на определении токов взаимной индукции, датчики этого типа очень устойчивы к влиянию неметаллических помех и предметов.

Рисунок 7 - Вихретоковый датчик перемещения

Приоритетной областью использования вихретоковых преобразователей является контроль осевого смещения и поперечного биения валов больших турбин, компрессоров, электромоторов, в которых используются подшипники скольжения. Применение для этих целей датчиков скорости и ускорения, хотя и допустимо, но неоправданно, поскольку из-за уменьшения коэффициента пропорциональности между вибросмещением ротора и опоры на низких скоростях вращения, а также значительного (3…10 раз) ослабления вибрации ротора массивным корпусом установки, результат будет иметь большую погрешность. Вихретоковый метод, напротив, обладает исключительной точностью, поскольку не только не имеет нижнего предела по частоте, но и не требует математической обработки результатов измерения ввиду прямого соответствия выходного сигнала текущему смещению вала или измерительного буртика относительно корпуса.

В малых турбинах, генераторах и компрессорах, где используются подшипники качения и масса корпуса относительно невелика, для измерения вибрации вала целесообразно использовать датчики скорости и ускорения, размещаемые на корпусе механизма.

. Ультразвуковые датчики перемещения

В ультразвуковых датчиках реализован принцип радара - фиксируются отражённые от объекта ультразвуковые волны, поэтому структурная схема обычно представлена источником ультразвуковых волн и регистратором (Рисунок 8), которые обычно заключены в компактный корпус. Определение временной задержки между моментами отправки и приёма ультразвукового импульса позволяет измерять расстояние до объекта с точностью, доходящей до десятых долей миллиметра. Наряду с оптическими, ультразвуковые датчики на сегодняшний день являются, пожалуй, наиболее универсальным и технологичным бесконтактным средством измерения. Использование этого принципа измерений опять же можно найти в детекторах обнаружения дефектов, только на этот раз уже в ультрозвуковых дефектоскопах.

Схема ультразвукового датчика перемещения

Рисунок 8 - Ультразвуковой датчик перемещения

. Магниторезистивные датчики перемещения

В магниторезистивных датчиках перемещения используется зависимость электрического сопротивления магниторезистивных пластинок от направления и величины индукции внешнего магнитного поля. Датчик, как правило, состоит из постоянного магнита и электрической схемы, содержащей включённые по мостовой схеме магниторезистивные пластинки и источник постоянного напряжения (Рисунок 9). Интересующий объект, состоящий из ферромагнитного материала, перемещаясь в магнитном поле, изменяет его конфигурацию, вследствие чего изменяется сопротивление пластинок, и мостовая схема регистрирует рассогласование, по величине которого можно судить о положении объекта.

С помощью ультразвуковых датчиков могут определяться твердые, жидкие, зернообразные и порошкообразные объекты.

Объекты, величина шероховатости поверхности которых превышает 0,15 мм, имеют преимущество в том, что их поверхность не должна быть направлена точно на сам датчик, однако для них рабочий диапазон уменьшается.

Окраска объекта не оказывает никакого влияния на расстояние срабатывания; также прозрачные объекты из стекла или оргстекла определяются надежно. Температура объекта влияет на рабочий диапазон: горячие поверхности отражают звук хуже, чем холодные.

Поверхности жидкостей отражают звук подобно твердым, гладким телам. Следует обращать внимание на правильную ориентацию датчика. Ткани, поропласты, вата и др. поглощают звук. Рабочий диапазон, поэтому становится меньше.

Рисунок 9 - Магниторезистивный датчики перемещения

В мостовой схеме одна пара диагональных элементов моста включает шунтирующие полосы, которые расположены под углом +45̊ к оси полосы, другая пара - под углом -45̊. Увеличение сопротивления одной пары резисторов под влиянием поля соответствует равному уменьшению второй пары. Результирующий дифференциальный сигнал является линейной функцией амплитуды внешнего магнитного поля, нормального к оси полосы в ее плоскости.

Для увеличения чувствительности датчика каждое плечо моста с алюминиевыми перемычками формируют из нескольких магниторезистивных пленок, параллельно ориентированных на подложке наподобие лабиринта.

Поэтому мостовые датчики в исполнении с зазубренными полосами рекомендуются для многих измерений - скорости, углов, тока, а также подходят для измерений слабых полей. Достоинствами таких преобразователей являются: высокая чувствительность, линейность, возможность определить направление поля.

Конкурентами магниторезистивных датчиков в задачах измерений скорости, положения и тока являются датчики Холла. Если сравнивать эти датчики, то магниторезистивные имеют ряд преимуществ:

)        действует направление поля вместо величины поля, как в эффекте Холла - широкий выбор магнитов для измерений, независимо от их остаточной намагниченности (но в пределах насыщающих значений поля);

)        действие в зоне насыщенности напряженности поля датчика означает независимость от магнитного дрейфа во времени и под действием температуры; независимость от механических допусков (расстояние между магнитом и датчиком); независимость от температурных эффектов за счет вычисления функции арктангенса в угловых измерениях;

)        малое смещение мостовых магниторезисторов;

)        магниторезистивные мостовые датчики после компенсации температурно стабильны и имеют широкий диапазон (-40…160̊ С).

Указанные преимущества особенно полезны в автомобильных применениях, в условиях жесткой эксплуатации, которая характеризуется повышенной загрязненностью, перепадами температур, повшенными механическими вибрациями. Высокая чувствительность позволяет использовать данные датчики для измерений слабых полей в навигационных системах, где эффект Холла обычно не применяется.

. Датчики на основе эффекта Холла

Датчики этого типа имеют конструкцию подобную конструкции магниторезистивных датчиков, однако в основу их работы положен эффект Холла - прохождение тока через проводник, на который воздействует внешнее магнитное поле, приводит к возникновению разности потенциалов в поперечном сечении проводника.

Датчики Холла находят широкое применение в различных областях современной промышленности, например, в машиностроении, автомобильной электронике, авиации. В отличие от механических и оптических систем, датчики Холла обладают важным преимуществом - они нечувствительны к механическим воздействиям и изменению параметров окружающей среды, обеспечивая при этом минимизацию стоимости готового решения. Набольшее распространение получили так называемые ключевые датчики Холла, т.е. такие датчики, выход которых меняет свое логическое состояние при превышении напряженностью магнитного поля определенной величины. Однако существует отдельный класс интегральных микросхем с элементом Холла, позволяющий значительно расширить область применения. Речь идет о так называемых линейных датчиках Холла. Среди областей применения линейных датчиков Холла можно выделить две наиболее распространенные. Это устройства измерения линейного или углового перемещения и измерения электрического тока. В большинстве случаев для измерения перемещения объектов используют линейные датчики Холла совместно с постоянными магнитами. Это обусловлено тем, что для поддержания максимальной линейности необходимо обеспечить большую величину изменения магнитного поля при изменении расстояния между датчиком и опорной точкой на перемещающемся объекте. Линейная зависимость и изолированность от измеряемого тока делает линейный токовый датчик идеальной схемой для контроля двигателя. Выход интегральной схемы датчика Холла пропорционален току в проводнике, выходной линейный сигнал точно воспроизводит форму измеряемого тока. Следует отметить, что линейный токовый датчик определяет величину магнитного поля, создаваемого протекающим током, но не сам ток. Форма напряжения на выходе датчика Холла соответствует форме измеряемого тока. Конструктивное исполнение обеспечивает изоляцию датчика и гарантирует нормальную работу при большом токе или высоком напряжении. Кроме того, надо помнить, что токовые датчики следует использовать в области значений, близких к максимальным, т.к. это уменьшает влияние шумов.

. Магнитострикционные датчики перемещения

Как правило, магнитострикционный датчик представляет собой протяжённый канал - волновод, вдоль которого может свободно перемещаться постоянный кольцевой магнит. Внутри волновода содержится проводник, способный при подаче на него электрических импульсов создавать магнитное поле вдоль всей своей длины (Рисунок 10). Полученное магнитное поле складывается с полем постоянного магнита, и результирующее поле создаёт момент вращения канала, содержащего волновод (эффект Вайдемана). Импульсы вращения распространяются по каналу в обе стороны со скоростью звука материала канала. Регистрация временной задержки между отправкой электрического импульса и приёма импульса вращения позволяет определить расстояние до постоянного магнита, т.е. определить его положение. Канал может иметь довольно большую длину (до нескольких метров), а положение магнита может быть определено с точностью до нескольких микрометров. Магнитострикционные датчики обладают отличной повторяемостью, разрешением, устойчивостью к неблагоприятным условиям и низкой чувствительностью к температурным изменениям.

Схема магнитострикционного датчика перемещения

Рисунок 10. Магнитострикционный датчик перемещения.

Магнитострикция - изменение размеров и формы кристаллического тела при намагничивании - вызывается изменением энергетического состояния кристаллической решетки в магнитном поле, и, как следствие, расстояний между узлами решетки. Наибольших значений магнитострикция достигает в ферро- и ферритомагнетиках, в которых магнитное взаимодействие частиц особенно велико.

Магнитострикционные преобразователи преобразуют энергию магнитного поля в механическую (звуковую или ультразвуковую) энергию. Их действие основано на магнитоупругом эффекте, т.е. на том, что некоторые металлы (железо, никель, кобальт) и их сплавы деформируются в магнитном поле. Ярко выраженными магнитоупругими свойствами обладают и ферриты (материалы, спекаемые из смеси окиси железа с окислами никеля, меди, кобальта и других металлов). Если магнитоупругий стержень расположить вдоль переменного магнитного поля, то этот стержень станет попеременно сокращаться и удлиняться, т.е. испытывать механические колебания с частотой переменного магнитного поля и амплитудой, пропорциональной его индукции. Вибрации преобразователя возбуждают в твердой или жидкой среде, с которой он соприкасается, волны ультразвука той же частоты. Обычно такие преобразователи работают на собственной частоте механических колебаний, так как на ней наиболее эффективно преобразование энергии из одной формы в другую. Магнитострикционные преобразователи из тонкого листового металла работают лучше всего в низкочастотном ультразвуковом диапазоне от 20 до 50 кГц, на частотах выше 100 кГц у них очень низкий КПД.

На практике используют два типа магнитострикционных преобразователей: стержневые и кольцевые, изготовленные из магнитных сплавов или ферритов. Металлические сплавы используют для изготовления мощных магнитострикционных преобразователей, поскольку они имеют высокие прочностные характеристики. Однако большая электропроводность сплавов обусловливает кроме потерь на перемагничение значительные потери на макровихревые токи, или токи Фуко. Поэтому преобразователи выполняют в виде пакета пластин толщиной (0,1 ч 0,2) мм. Значительные потери определяют сравнительно низкий КПД таких преобразователей (40 % ч 50 %) и необходимость их водяного охлаждения. Ферритовые преобразователи обладают более высоким к. п. д. (70 %), так как при большом электросопротивлении не имеют потерь на токи Фуко, но их мощностные характеристики весьма ограничены из-за низкой механической прочности.

Во всем мире два десятилетия с успехом применяются датчики линейных перемещения (или как их еще называют: датчики линейного положения, датчики и измерители пути) основанные на эффекте магнитострикции.

. Потенциометрические датчики перемещения

Датчик данного типа в своей основе имеет электрический контур, содержащий потенциометр (Рисунок 11). Линейное перемещение объекта приводит к изменению сопротивления потенциометра (переменного резистора). Если через потенциометр пропускать постоянный ток, то падение напряжения на нём будет пропорционально величине сопротивления, и, следовательно, величине линейного перемещения интересующего объекта.

Схема потенциометрического датчика перемещения

Рисунок 11. Потенциометрический датчик перемещения.

Потенциометрический датчик представляет собой переменный резистор, к которому приложено питающее напряжение, его входной величиной является линейное или угловое перемещение токосъемного контакта, а выходной величиной - напряжение, снимаемое с этого контакта, изменяющееся по величине при изменении его положения.

По способу выполнения сопротивления потенциометрические датчики делятся на

·        ламельные с постоянными сопротивлениями;

·        проволочные с непрерывной намоткой;

·        с резистивным слоем.

Ламельные потенциометрические датчики использовались для проведения относительно грубых измерений в силу определенных конструктивных недостатков.

В таких датчиках постоянные резисторы, подобранные по номиналу специальным образом, припаиваются к ламелям.

Ламель представляет собой конструкцию с чередующимися проводящими и непроводящими элементами, по которой скользит токосъемный контакт (рисунок 11). При движении токосъемника от одного проводящего элемента к другому суммарное сопротивление подключенных к нему резисторов меняется на величину соответствующую номиналу одного сопротивления. Изменение сопротивлений может происходить в широких пределах. Погрешность измерений определяется размерами контактных площадок.

Рисунок 11 Ламельный потенциометрический датчик

Проволочные потенциометрические датчики предназначены для более точных измерений. Как правило их конструкции представляют собой каркас из гетинакса, текстолита или керамики, на который в один слой, виток к витку намотана тонкая проволока, по зачищенной поверхности которой скользит токосъемник.

Диаметр проволоки определяет класс точности потенциометрического датчика (высокий-0,03-0,1 мм , низкий 0,1-0,4 мм). Материалы провода: манганин, фехраль, сплавы на основе благородных металлов. Токосъемник выполнен из более мягкого материала, чтобы исключить перетирание провода.

Преимущества потенциометрических датчиков: простота конструкции; малые габариты и вес; высокая степень линейности статических характеристик; стабильность характеристик; возможность работы на переменном и постоянном токе.

Недостатки потенциометрических датчиков: наличие скользящего контакта, который может стать причиной отказов из-за окисления контактной дорожки, перетирания витков или отгибание ползунка; погрешность в работе за счет нагрузки; сравнительно небольшой коэффициент преобразования; высокий порог чувствительности; наличие шумов; подверженность электроэррозии под действием импульсных разрядов.


Не нашли материал для своей работы?
Поможем написать уникальную работу
Без плагиата!
Без нейросетей!