Расчет и проектирование стержневой сварной конструкции
Курсовая
работа
Расчет и
проектирование стержневой сварной конструкции
СОДЕРЖАНИЕ
ВВЕДЕНИЕ
. ИСХОДНЫЕ ДАННЫЕ
. АНАЛИЗ РАСЧЕТНОЙ СХЕМЫ
. ТИП ПОПЕРЕЧНОГО СЕЧЕНИЯ БАЛКИ
. ОПРЕДЕЛЕНИЕ РАЗМЕРА СЕЧЕНИЯ БАЛКИ
.1 ОПРЕДЕЛЕНИЕ ВЫСОТЫ БАЛКИ ИЗ
УСЛОВИЯ ПРОЧНОСТИ
.2 ОПРЕДЕЛЕНИЕ ВЫСОТЫ БАЛКИ ИЗ
УСЛОВИЯ ЖЕСТКОСТИ И МАКСИМАЛЬНОГО ПРОГИБА
.3 ВЫБОР ГЕОМЕТРИЧЕСКИХ РАЗМЕРОВ
СЕЧЕНИЯ
. ПРОВЕРОЧНЫЙ РАСЧЕТ
.1 РАСЧЕТ НА ПРОЧНОСТЬ
.2 ПРОВЕРКА ОБЩЕЙ УСТОЙЧИВОСТИ БАЛКИ
.3 ПРОВЕРКА МЕСТНОЙ УСТОЙЧИВОСТИ
. НАЗНАЧЕНИЕ РАЗМЕРОВ ПЛАНОК,
СОЕДИНЯЮЩИ ВЕТВИ БАЛКИ
. РАСЧЕТ КРЕПЛЕНИЯ СТЕРЖНЕВОЙ
КОНСТРУКЦИИ К СТЕНЕ
СПИСОК ИСПОЛЬЗОВАННОЙ ЛИТЕРАТУРЫ
поперечное сечение
стержень прочность балка
ВВЕДЕНИЕ
Сварные металлические конструкции благодаря
своим высоким технико-экономическим качествам применяются во всех отраслях
народного хозяйства. Широкое использование в строительстве металлических
конструкций позволяет проектировать сборные элементы зданий и сооружений
сравнительно малой массы, организовывать поточное производство конструкций на
заводах и поточно-блочный монтаж их на строительной площадке.
Проектирование экономически эффективных
металлических конструкций, основанное на правильном выборе конструктивных форм,
использование типовых и унифицированных решений и соответствующем расчете -
начальный и один из главных этапов создания сварной металлической конструкции.
1.
ИСХОДНЫЕ ДАННЫЕ
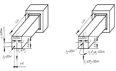
Стержневая конструкция одним концом жестко
прикреплена к стенке, нагружена продольной силой Pz = 300 кН
и поперечной Qy = 0,5Pz (x, y - главные оси
поперечного сечения, z - продольная ось). Сила Pz приложена
внецентренно, с эксцентриситетами ex - 0 и ey - 400 мм (ey
> 0 при приложении силы Pz ниже центра сечения).
Поперечное сечение ограничено габаритами hmax =450мм и bmax
=300мм. Длина стержня L=2м. Материал - сталь ВСт3сп. Нагрузка циклическая,
пульсирующая (с коэффициентом асимметрии цикла ρ=0),
число циклов за срок службы n=106. При работе на выносливость
наибольшую концентрацию напряжений создают угловые швы, присоединяющие
конструкцию к стенке (6-я группа по СНиП).
Максимальное поперечное перемещение свободного
конца при расчете на жесткость f= L/100=20мм.
2.
АНАЛИЗ РАСЧЕТНОЙ СХЕМЫ
На рисунке 1.а представлена схема приложения сил
к стрежневой системе.
Рисунок 1. Схема приложения сил к стержневой
конструкции.
После анализа исходных данных, преобразуем схему
приложения сил (рисунок 1.б): воспользовавшись теоремой о параллельном переносе
силы (известно из теор. механики), переносим силу Pz в точку
пересечения осей X и У, прибавляя при этом пару сил с моментом, равным моменту
силы Pz относительно точки, куда переносится сила (mPz=
Pzx ey=120 кНм).
Из преобразованной схемы видно, что изгиб
стержня происходит только относительно оси Х, т.е. Му=0.
Определим максимальный изгибающий момент,
относительно оси X. Для этого определим опорные реакции и посмотрим эпюры
поперечных сил и изгибающих моментов.
Рисунок 2. Эпюры поперечных сил и изгибающих
моментов.
V=150 кН; H= 300 кН; m0= 360 кНм.
Как видно из рисунка 2, максимальный изгибающий
момент относительно оси Х - Мх= 360 кНм.
Предположим, что поперечное сечение
рассматриваемого стержня - сплошной прямоугольник.
Тогда площадь поперечного сечения:
А= hmaxx bmax
=0,45х0,3=0,135 м2
Момент сопротивления сечения относительно оси X
и У соответственно:
Значение относительных эксцентриситетов:
(т.к. My=0).
Согласно СНиП, если наибольший из
эксцентриситетов имеет значение от 5 до 20, то стержневой элемент является
изгибаемой балкой, при расчете которой необходимо учитывать действие сжимающей
силы.
3.
ТИП ПОПЕРЕЧНОГО СЕЧЕНИЯ БАЛКИ
Рисунок 3. Тип поперечного сечения балки.
4.ОПРЕДЕЛЕНИЕ
РАЗМЕРА СЕЧЕНИЯ БАЛКИ
4.1.
ОПРЕДЕЛЕНИЕ ВЫСОТЫ БАЛКИ ИЗ УСЛОВИЯ ПРОЧНОСТИ
Рисунок 4. Схематизация сечения.
Для основной балки нагрузка является изгибающий
момент. Условие прочности:
где [σ]
- допускаемое напряжение.
Допускаемое напряжение из условий статической
прочности и устойчивости:
где Ry= σT/γm - расчетное
сопротивление по пределу текучести, для Ст3сп σT=250 МПа, γm=1,05 (коэф.
надежности по материалу),
Ry=238 МПа;
φ=0,6 -
коэффициент зависящий от гибкости и учитывающий эксцентриситет.
[σ]=238х0,6=142
Мпа
Допустимое напряжение при работе на
выносливость:
[σ]=
ɑxγvxRv
где Rv=45 МПа - расчетное сопротивление,
выбирается по СНиП в зависимости от марки стали и концентрации напряжений в
сварном соединении; ɑ=1,63 - коэффициент
зависящий от числа циклов нагружения (n=106); γv=2/(1-
ρ)=2
- коэффициент, отражает зависимость допустимых напряжений от показателя асимметрии
цикла (ρ=0).
[σ]=1,63х2х45=146,7
МПа
Из двух значений допустимых напряжений выбираем
меньшее:
Оптимальная высота балки из условий прочности:

4.2
ОПРЕДЕЛЕНИЕ ВЫСОТЫ БАЛКИ ИЗ УСЛОВИЯ ЖЕСТКОСТИ И МАКСИМАЛЬНОГО ПРОГИБА
Оптимальная высота балки из условия жесткости:
где E=2,06x105 МПа - модуль
упругости.
Требуемый момент инерции сечения:
4.3
ВЫБОР ГЕОМЕТРИЧЕСКИХ РАЗМЕРОВ СЕЧЕНИЯ
Из условия равенства требуемых моментов инерции
сечения (Jxσ=Jxf),
определяем порог высоты балки, ниже которого действуют уравнения жесткости, а
выше уравнения прочности.
Из расчета видно hσ˃h*,
следовательно для данного сечения, при данных нагрузках оптимальной является
высота hσ=724,5 мм. Но по
условию задания высота балки ограничена hmax=450мм. Из этого следует
что высота сечения h= hmax=450мм.
Требуемый момент инерции сечения:
Толщину стенки назначаем из условия обеспечения
местной устойчивости:
Момент инерции двух стенок:
Суммарный момент инерции двух полок:
Площадь одной полки:
An1=2 Jxn/h=2x4,9406x10-4/0,45=21,9582x10-4
м2
Толщина полки:
Sn=An1/b=21,9582x10-4/0,3=0,0073
м=7 мм
5.
ПРОВЕРОЧНЫЙ РАСЧЕТ
5.1
РАСЧЕТ НА ПРОЧНОСТЬ
Уточняем площадь поперечного сечения балки:
площадь двух стенокc=0,45х0,005х2=0,0045
м2
площадь 2 полокn=(0,3-2х0,005)х0,007х2=0,00406
м2
площадь всего сечения
А=0,0045+0,00406=0,00856 м2
Момент инерции сечения относительно оси Х:
Нормальное напряжение в балке:
(т.к. My=0)
Нормальное напряжение рассчитываем для двух
точек:
место соединения полки швеллера со стенкой
(y=h/2)
- край у швеллера (у=0)
Касательные напряжения в сечении:
где AQ=AC=0,0045 м2
- суммарная площадь сечения элементов, плоскость которых параллельна плоскости
действия силы Qy.
Условие прочности:
Как видно из расчета, условие прочности не
выполнено, присутствует большое перенапряжение. Это связано с тем, что
оптимальная высота балки больше назначенной (габаритные размеры балки
ограничены по условию задания). Для снижения напряжений необходимо увеличить
площадь сечения балки.
Принимаем:
- толщина стенки Sс=10
мм;
толщина полки Sп=15 мм;
высота и ширина балки без изменений.
Корректируем расчет.
Уточняем площадь поперечного сечения балки:
площадь 2 стенок
Ас=0,45х0,01х2=0,009 м2
площадь 2 полок
Ап=(0,3-2х0,01)х0,015х2=0,084 м2
площадь всего сечения
А=0,009+0,084=0,093 м2
Момент инерции сечения относительно оси Х:
Нормальное напряжение в балке в месте соединения
полки швеллера со стенкой (y=h/2)
у края швеллера (y=0)
.
Касательные напряжения в сечении:
где AQ=AC=0,009 м2
- суммарная площадь сечения элементов, плоскость которых параллельна плоскости
действия силы Qy.
Условие прочности:
Условие прочности выполнено. Запас прочности
составляет ≈ 8%.
Рисунок 5. Размеры элементов сечения.
Соединение полок швеллеров со стенкой
осуществляется автоматической сваркой, шов У7; подготовка кромок и
конструктивные размеры шва по ГОСТ 8713-79.
5.2
ПРОВЕРКА ОБЩЕЙ УСТОЙЧИВОЧТИ БАЛКИ
Сечение балки состоит из двух одинаковых ветвей
- швеллеров, соединенных между собой планками (связями). Расстояние между осями
связей - 1 м.
Рисунок 6. Швеллер.
Условие обеспечения устойчивости:
Mx/Wx < Ryφu
Определение значения коэффициента φu:
-коэффициент α
Где L=1 м - расстояние между закреплениями,
препятствующими перемещениям в горизонтальной плоскости;n=0,15 м -
ширина полки швеллера.
-коэффициент ψ
(при α≤
40)
ψ=2,25+0,07
α=2,25+0,07х0,604414693=2,292309029
коэффициент φ1
где Jx и Jy - моменты
инерции ветви (одного швеллера)
φ1
˃0,85,
тогда φu=0,68+0,21φ1=0,68+0,21х19,61=4,8
Общая устойчивость балки обеспечивается при
значениях φu
≥1.
5.3
ПРОВЕРКА МЕСТНОЙ УСТОЙЧИВОСТИ
Устойчивость стенки обеспечивается при условии:
Принятая толщина стенки 10 мм больше
требуемой по условию обеспечения устойчивости. Значит, устойчивость стенки
обеспечена.
Устойчивость полки швеллера
обеспечивает при условии:
Местная устойчивость полки швеллера
обеспечивается.
6.
НАЗНАЧЕНИЕ РАЗМЕРОВ ПЛАНОК, СОЕДИНЯЮЩИХ ВЕТВИ БАЛКИ
Определим условную поперечную силу, приходящуюся
на систему планок, вызванную наличием эксцентриситетов.
Qусл<Qy , следовательно
в расчете используем большее из значений - =120 кН.
При соединении ветвей балки планками силу Q
следует считать распределенной равномерно между планками.
Рисунок 7. Соединение планками.
В планке возникает напряжение, вызванное
изгибающим моментом:
(условие прочности)
M=QL/4=120x1/4=30 кНм
где L=1 м - расстояние между центрами планок;
Sпл - толщина планки
(принимаем - 15 мм);
lпл - длина планки;
[σ]p
= 210 МПа.
Из условия прочности:
принимаем lпл=300 мм
Ширину планки принимаем равной расстоянию между
осями ветвей0=b-2u=0,3-2х0,0412=0,22 м
В планке возникают нормальные и касательные
напряжения, поэтому условие прочности для планки:
где
силу приходящую на одну планку принимаем Q1=Q/2=120/2=60
кН.
При принятых размерах планки условие прочности
выполняется.
Катет шва, соединяющего планку с балкой
назначаем из конструктивных соображений k=5 мм.
При действии на угловой шов изгиба и среза,
суммарные напряжения проверяют по формуле:
7.
РАСЧЕТ КРЕПЛЕНИЯ СТЕРЖНЕВОЙ КОНСТРУКЦИИ К СТЕНЕ
Катет шва назначаем из условия:
Откуда:

Принимаем:
Соединение балки со стенкой производится
полуавтоматической сваркой в среде углекислого газа, швы Т1 по ГОСТ14771-76;
приварка полок швеллера катетом kn=17 мм, стенки швеллера катетом kc=11
мм.
СПИСОК
ИСПОЛЬЗОВАННОЙ ЛИТЕРАТУРЫ
1.СНиП 11-23-81 «Стальные
конструкции»
.Николаев Г. А., Винокуров В. А.
Сварные конструкции. Расчет и проектирование: Учеб. для вузов. - М.: Высш. шк.,
1990. - 446 c.: ил.
.Мандриков А. П. Примеры расчета
металлических конструкций: Учеб. пособие для техникумов. - М.: Стройиздат,
1991. -431 c.: ил.
.Справочник по специальным работам.
Часть 1: «Сварочные работы в строительстве». Под ред. В. Д. Тарана. - М.:
Стройиздат, 1971 г.