Звіт проведення експрес-аудиту екологічного менеджменту на Ладижинському заводі біо- та ферментних препаратів 'Ензим'

  • Вид работы:
    Курсовая работа (т)
  • Предмет:
    Экология
  • Язык:
    Украинский
    ,
    Формат файла:
    MS Word
    3,27 Мб
  • Опубликовано:
    2015-10-03
Вы можете узнать стоимость помощи в написании студенческой работы.
Помощь в написании работы, которую точно примут!

Звіт проведення експрес-аудиту екологічного менеджменту на Ладижинському заводі біо- та ферментних препаратів 'Ензим'

МІНІСТЕРСТВО ОСВІТИ І НАУКИ УКРАЇНИ

Національний авіаційний університет

Інститут екологічної безпеки





КУРСОВА РОБОТА

(пояснювальна записка)

з дисципліни «Екологічний аудит біотехнологічних підприємств»

Тема:

Звіт проведення експрес-аудиту екологічного менеджменту на Ладижинському заводі біо- та ферментних препаратів «Ензим»

аудит екологічний забруднення водоспоживання

Виконала: студентка 504 групи

Пастушенко Т.В.

Керівник: Поштаренко А.В.





Київ 2015

РЕФЕРАТ

Пояснювальна записка до курсової роботи «Звіт про проведення експрес-аудиту екологічного менеджменту на Ладижинському заводі біо- та ферментних препаратів “Ензим”»: 44 с., 2 рисунки, 2 таблиці; 15 літературних джерел, 6 додатків.

Об’єкт дослідження - Ладижинський завод біо- та ферментних препаратів «Ензим».

Предмет дослідження - експрес-аудит екологічного менеджменту.

Мета роботи - дослідити та проаналізувати особливості екологічного менеджменту на підприємстві.

Методи дослідження - літературний пошук за темою, аналіз екологічного менеджменту на підприємстві, систематичний підхід.

ЕКОЛОГІЧНИЙ АУДИТ, ЕКОЛОГІЧНИЙ МЕНЕДЖМЕНТ, ФЕРМЕНТНІ ПРЕПАРАТИ, МІКРОБІОЛОГІЧНИЙ СИНТЕЗ, ЗАБРУДНЮЮЧІ РЕЧОВИНИ, ЕКОЛОГІЧНА ПОЛІТИКА

ВСТУП

Єдиним великим біотехнологічним підприємством в Україні після розпаду СРСР залишився Ладижинський завод біо- та ферментних препаратів, який на сьогодні є найбільшим біотехнологічним промисловим майданчиком на території України, здатним випускати до 6000 товарних тонн продукції на рік, і спеціалізується на виробництві технічних ферментних препаратів.

Рис. 1 Ладижинський завод біо- та ферментих препаратів «Ензим»

Підприємство розташоване в Вінницькій області. На відстані 1,65 км із західної сторони від підприємства знаходиться Південний Буг, та на відстані 1,46 км на південь знаходиться річка Сільниця (Додаток 1). Також на відстані 529 м з південної сторони, а також 712 м з північної сторони розташовані ліси. На відстані 2,82 км знаходиться шосе.

На території основного виробництва містяться такі споруди: головний виробничий корпус, науково-дослідний та лабораторний корпус, технічний блок лабораторного корпусу, господарський корпус, очисні споруди, адміністративний корпус, складські приміщення.

Генеральний план підприємства наведений в Додатку 2.

Після тимчасового занепаду в 90-х рр. підприємство відновило свою діяльність і навіть розширило асортимент продукції. Використовуючи 30-річний досвід роботи і сучасні технологічні рішення, воно виробляє продукцію високої якості, оперативно підбираючи оптимальні рішення для кожного конкретного споживача [1].

Таким чином, Ладижинський завод біо- та ферментних препаратів «Ензим» випускає широкий спектр ферментних препаратів з різним механізмом дії на основі бактерій та мікроскопічних грибів. Ферментні препарати цього виробника використовуються в багатьох галузях народного господарства: в харчовій промисловості (виробництво борошняних кондитерських виробів, хлібопекарна, спиртова, виноробна, пивоварна, крохмале-патокова, плодоовочева, сироробна промисловість), у целюлозно-паперовій промисловості, в легкій промисловості (виробництво натуральних шкір), у хімічній промисловості (виробництво СМЗ), у сільському господарстві (птахівництво, тваринництво та рибництво) [2].

Підприємство спеціалізується на випуску продукції, отриманої шляхом мікробного синтезу. Асортимент продукції включає:

препарати для сільського господарства (кормові добавки до комбікормів, біологічні засоби захисту рослин, інсектициди, препарати для силосування), ветеринарні препарати, ферментні препарати, мікродобриво, препарати для виробництва побутової хімії, парфумерії тощо;

препарати для нафтової промисловості, біодеструктори для очисти навколишнього середовища;

медичні субстанції і готові лікарські форми;

харчові добавки.

Характеристика продукції ТОВ «Ензим» наведена в Додатку 3.

На підприємстві інтегрована система менеджменту якості (СМЯ) за стандартом ISO 9001, яка складає основу управління якістю на ТОВ «Ензим» (сертифікат відповідності № UA2.044.08505-14, виданий національним органом сертифікації Державним підприємством «Київський обласний науково-виробничий центр стандартизації, метрології і сертифікації», зареєстрований в реєстрі Системи сертифікації УкрСЕРПО 25.06.2014).

Керівництво з якості описує вищу форму організаційних заходів із забезпечення якості продукту. СМЯ діє для ТОВ «Ензим». Керівництво з якості не поширюється на систему техніки безпеки і охорони праці та на бухгалтерську діяльність підприємства.

У 2004 році компанія розпочала впровадження високотехнологічного екологічного проекту з очищення стічних вод, що відповідає сучасним світовим нормам. Інвестиції в цей проект склали понад 5 мільйонів євро. У результаті біологічної очистки стічних вод утворюється сировина для виробництва органо-мінеральних добрив <#"879702.files/image002.gif">

Рис.2. Продукція ТОВ «Ензим»

Щорічно збільшується лінійка препаратів на два-три найменування, цей рік також не став виключенням і ознаменувався появою таких препаратів як: "АдюМакс" (адювант супер-змочувач) і "Метаризин" (ґрунтовий біоінсектицид). Кожен з препаратів є унікальною розробкою і, практично, не має аналогів на ринку України.

Ладижинський завод ферментних препаратів введений в експлуатацію в 1976 році [1].

Підприємство сертифіковано на відповідність вимогам стандарту ДСТУ ISO 9001:2008.

Діяльність підприємства базується на принципах:

повного виконання вимог природоохоронного законодавства, місцевих державних природоохоронних організацій та власних інструкцій;

повного контролю та поліпшення природоохоронних показників;

інтеграції екологічного менеджменту з управління виробничими процесами на виробництві;

запобігання негативного впливу підприємства на навколишнє середовище;

навчання та підвищення свідомості працівників підприємства.

Дана політика поширюється на весь колектив підприємства, що дозволять виробляти продукцію високої якості.

Головною метою підприємства є забезпечення випуску конкурентоспроможної продукції при зниженні шкідливого впливу на навколишнє середовище з дотриманням всіх норм і вимог екологічної безпеки процесів виробництва, що забезпечують імідж підприємства.

Основні принципи екологічної політики підприємства:

. Здійснювати виробничу діяльність згідно з вимогами нормативних документів та екологічного законодавства України;

. Максимально зменшувати ступінь екологічного впливу виробничої діяльності підприємства на навколишнє середовище.

. Регулярно здійснювати моніторинг впливів діяльності підприємства на навколишнє природне середовище, враховуючи його результати при ухваленні ділових рішень з метою зменшення негативного впливу на навколишнє природне середовище;

. Розробка й реалізація заходів щодо раціонального використання природних і сировинних ресурсів, по зниженню викидів в атмосферу, скидів забруднюючих речовин зі стічними водами, мінімізації й утилізації відходів;

. Підвищувати рівень обізнаності персоналу у сфері охорони навколишнього природного середовища та стосовно екологічних аспектів, проводити для працівників підприємства навчання з питань екології та захисту навколишнього природного середовища;

. Надавати всім зацікавленим сторонам повну та актуальну інформацію щодо діяльності підприємства з охорони навколишнього природного середовища, забезпечити необмеженому колу осіб ознайомлення з екологічною політикою підприємства;

. Здійснювати регулярний перегляд цих зобов’язань з метою забезпечення відповідності сучасним вимогам, а також вимогам нормативних та законодавчих актів.

Екологічна політика підприємства спрямована на забезпечення ефективного використання та відтворення природних ресурсів (поверхневих та підземних вод, атмосферного повітря, ґрунтів та ін.), охорону навколишнього природного середовища та забезпечення екологічної безпеки виробництв.

ЛАДИЖИНСЬКИЙ ЗАВОД БІО- ТА ФЕРМЕНТНИХ ПРЕПАРАТІВ «ЕНЗИМ»

Адреса: вул. Хлібозаводська, 2, м. Ладижин, Тростянецький р-н, . Вінницька обл.

Телефон: +38(04343) 6-10-56, 6-10-90

Місяць, рік, проведення екоаудиту: травень 2015 р.

Місце проведення: м. Ладижин

АУДИТ ЕКОЛОГІЧНОГО МЕНЕДЖМЕНТУ

Екологічний аудит - це процес збирання і об’єктивного оцінювання доказів для встановлення відповідності певних видів діяльності, заходів, умов, системи екологічного менеджменту та інформації з цих питань вимогам законодавства України про охорону навколишнього середовища.

Екологічний аудит в системі екологічного менеджменту розглядається як провідний функціональний елемент, який забезпечує гармонізацію діяльності підприємства із навколишнім природнім середовищем.

Загалом цілями природоохоронних екоаудитів можуть бути:

отримання об'єктивної оцінки природоохоронної діяльності об'єкта аудитування в цілому або окремих напрямків цієї діяльності відносно рівня екологічної безпеки підприємства;

виявлення пріоритетів вирішення екологічних проблем підприємства;

визначення достовірності і повноти офіційної екологічної інформації підприємства, екологічної звітності про свою діяльність;

перевірка наявності на підприємстві необхідних норм, нормативів, планів заходів, графіків контролю тощо, погодження їх в органах державного нагляду;

виявлення недоліків і помилок у звітній, обліковій, поточній, експлуатаційній, фінансовій документації;

визначення повноти і своєчасності виконання природоохоронних заходів та розпоряджень органів державного нагляду;

перевірка виконання вимог екологічного законодавства, норм, правил та інструкцій з безпеки;

оцінка рівня організаційної роботи, нормативно-методичного і технічного забезпечення (лабораторного, комп'ютерного), рівня підготовки персоналу.

Аудит системи екологічного менеджменту підприємств, крім стандартних цілей, передбачає підготовку підприємства до декларування своєї екологічної політики і намірів щодо її реалізації [3].

З огляду на державні природоохоронні інтереси і функції управління екоаудит здійснюється для надання допомоги владі в пошуку додаткових заходів щодо вивчення ризиків і забезпечення безпеки, а для суб'єктів господарювання - з метою швидкого впровадження модернізованих засобів запобігання ризикам.

Оцінювання системи екоменеджменту. За результатами огляду виробничого процесу безпосередньо в цехах і на дільницях підприємства можна зробити наступний крок - оцінити ефективність системи екоменеджменту. Для цього аудитори за сприяння екоменеджера проводять бесіди з представниками вищої ланки керівництва підприємства, для того щоб мати повне уявлення про діючу на підприємстві систему екоменеджменту. В ході зустрічей керівники підприємства відповідають на всі запитання, які цікавлять аудиторів.

Отриману під час таких зустрічей інформацію аудитори використовують для порівняння діючої на підприємстві системи екоменеджменту з кращими існуючими зразками систем на аналогічних підприємствах, як українських, так і зарубіжних. При цьому особливу увагу вони приділяють виявленим недолікам, підвищеному ризику на тій чи іншій стадії технологічного процесу, прагнучи з'ясувати, чи не є вони результатом тих або інших недоліків системи екоменеджменту.

У процесі оцінювання системи екоменеджменту доцільно розглядати її за такими блоками питань:

з екологічної політики підприємства, програм і процедур;

стосовно відповідальності, визначеної для персоналу;

щодо створення, обробки, передачі та використання інформації;

щодо освіти, професійної підготовки, екологічного виховання.

По кожному з цих блоків питань аудитори мають дати відповідь, чи здатна діюча система екоменеджменту ліквідувати існуючі екологічні недоліки, знизити екологічний ризик там, де він є невиправдано високим.

Аудит може здійснюватись персоналом підприємства та/або представниками уповноваженого органу чи залученими зі сторонни особами, яких вибирає організація. У будь-якому випадку особи, які проводять аудит, повинні мати можливість діяти неупереджено та об'єктивно [4].

ЗВЕДЕНИЙ ЗВІТ ПРО ВІДПОВІДНІСТЬ ВИМОГАМ НОРМАТИВНО-ПРАВОВОЇ БАЗИ

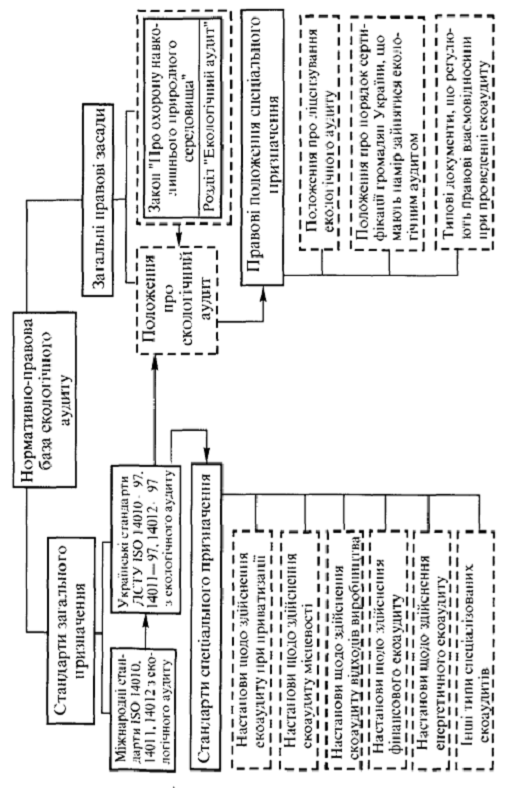
Нормативно-правова база

Нормативно-правова база проведення екологічного аудиту наведена в додатку 4.

Для проведення екоаудиту важливими є документи й записи всіх видів, що стосуються підприємства. Тому екоменеджер повинен завчасно з'ясувати, які саме документи і записи потрібні аудиторам, і своєчасно надати їх або зняти з них необхідні копії. Такими документами підприємства є:

дозволи па природокористування;

паспорт водного господарства;

екологічний паспорт;

паспорт відходів;

журнали аналізів сировини, викидів, скидів, відходів;

форми статистичної звітності 2-тп(повітря), 2-тп(водгосп) та ін.;

накази по підприємству, які стосуються природоохоронної діяльності;

висновки та приписи екологічної інспекції;

заяви, скарги, листування з приводу екологічних проблем;

документи, що підтверджують законність видалення відходів;

звіти про попередні аудити;

звіти підприємства державним органам;

документи, що висвітлюють проведену роботу з професійної підготовки, екологічного виховання та ін.

Необхідно зібрати достатні свідчення (докази) відповідності СЕМ підприємства критеріям аудиту СЕМ. Зібрану інформацію треба перевірити, зібравши додаткові дані від незалежних джерел, виділити (позначити) ненадійні свідчення.

Аудитори повинні перевірити, чи забезпечують існуючі на підприємстві методики відбору проб та аналітичних вимірювань достовірність ненадійної інформації.

На підставі цих документів, даних про огляд ділянки, бесід з персоналом аудитор створює власні аналітичні документи, проілюстровані фотографіями/[5].

Відповідальні особи за екологічну безпеку, дотримання вимог природокористування та охорони навколишнього середовища

До осіб відповідальних за екологічну безпеку, дотримання вимог природокористування та охорони навколишнього середовища відносяться:

Заступник директора Микитенко Юлія Яківна;

Інженер-еколог Дмитренко Петро Дмитрович.

МЕНЕДЖМЕНТ СТАНУ МІСЦЕВОСТІ

Колектив Ладижинського заводу біо- та ферментних препаратів «Ензим» усвідомлює важливість та відповідальність до підходу охорони навколишнього природного середовища та прикладає всі зусилля для підвищення результативності природоохоронної діяльності підприємства.

Відділ «Охорони навколишнього середовища» надає методичну допомогу з питань охорони навколишнього природного середовища всім структурним підрозділам підприємства.

На підприємстві розроблені, впроваджені та успішно функціонують Системи екологічного менеджменту у відповідності до вимог стандарту з управління навколишнім середовищем ДСТУ ІБО 14001:2006(Ж), 14001:1996.

Екологічна політика підприємства спрямована на забезпечення ефективного використання та відтворення природних ресурсів (поверхневих та підземних вод, атмосферного повітря, ґрунтів та ін.), охорону навколишнього природного середовища та забезпечення екологічної безпеки виробництв.

Для попередження забруднення навколишнього середовища на підприємстві впроваджені такі заходи:

. Організація точок відбору проб викидів в атмосферу, стічних вод та забезпечення контрольних вимірів;

. Установка ефективних пиловловників в системах вентиляції;

. Підвищення технологічної дисципліни з метою виключення порушень по якісному складу і кількості стічних вод від підрозділів.

Захист ґрунту від забруднення твердими відходами здійснюють шляхом збору сміття в контейнери на спеціальних майданчиках.

Проте в системі екологічного моніторингу контролюються не всі екологічні аспекти діяльності підприємства. На підприємстві відсутні свердловини для спостереження за станом підземних вод промділянок і спостережень за забрудненням ґрунтів, що є порушенням діючих нормативів.

Спостереження за станом промислових майданчиків на основному і експериментальному заводі не ведуться.

Водночас на промділянках розміщені потенційні джерела забруднення: мазутосховище для ТЕЦ; підземні та надземні резервуари, які експлуатуються тривалий час. Не проведено обвалування надземного резервуара. Такий самий стан складів паливно-мастильних матеріалів (520 м3 - надземні ємкості, 80 м3 - підземні), уздовж яких немає також дощової каналізації, не збирається забруднений поверхневий стік.

Відсутність свердловин для спостереження за станом підземних вод промділянок і спостережень за забрудненням ґрунтів є порушенням діючих нормативів [5].

МЕНЕДЖМЕНТ СТАНУ ПОВЕРХНЕВИХ ВОД, ВОДОСПОЖИВАННЯ ТА ЯКОСТІ СТІЧНИХ ВОД

Стан поверхневих вод

СЕС на замовлення ферментного заводу веде спостереження за р.Південний Буг (у місцях забору води на технічні потреби, скидання стічних вод першої категорії та витоку води із ставу). Дані аналізів свідчать, що показники якості у межах показників для культурно-господарських водойм, крім вмісту загального заліза (3-4 ГДК). Проте це залізо може мати природне походження, оскільки така сама його кількість міститься і в підземних водах.

У нижній частині річки органіки приблизно на 2 мг/л більше, ніж у верхній (7-8 мг/л або 1,1-1,3 ГДК), а в місці виходу стічних вод на 1 мг більше.

Відведено 773,6 тис. м3 води на поля фільтрації (як забрудненої) і 1141тис. м3 води у р. Південний Буг (як нормативно чистої).

Водоспоживання

Водоспоживання у 2014 р. збільшилося на 8,8 %. Ситуація зумовлена збільшенням випуску готової продукції, у технологічному циклі випуску якого використовують більше води очищеної та води для ін’єкцій, а також підготовкою і запуском нових виробничих дільниць.

Питну воду поставляють у бутлях. Вода для миття туалетів подається із водяної свердловини, а завозиться вантажним автомобілем.

Переробляються також питомі норми водоспоживання та водовідведення. Господарсько-питне водопостачання здійнюється із 6 артезіанських свердловин (2 резервні). Технічний стан свердловин задовільний, оголовки загерметизовані, санітарно-захисна зона дотримана на всіх свердловинах.

Технічний водозабір на річці Південний Буг обладнано рибозахисним пристроєм. Усі свердловини обладнані лічильниками ВТ-80. Журнали обліку ведуться за встановленою формою.

Технічний водозабір обладнаний лічильниками ДРК-М (4 шт.). Журнали обліку технічної води і води на господарсько-питні потреби ведуться за встановленими формами первинної звітності про використання води - 2тп (водгосп). За 2014 р. використано (тис. м3):

технічної води - 2250;

артезіанської води - 404,7;

стічних вод - 8,8.

На 2014 р. Держуправлінням екологічної безпеки області (№5-9/164 від 26.01.14) видано такий ліміт на забір води (тис. м3): технічної- 2 791,5; підземної- 4 1,4.

Для експериментального виробництва, м3/т : водоспоживання - 1,955; водовідведення - 1,78.

Фактично у 2013 р. на переробку 1 т сировини на основному виробництві водоспоживання становило 8,43 м3/т, а водовідведення - 7,15 м3/т. На експериментальному заводі у норми вклалися,а на основному виробництві вони були перевищені.

Згідно з розробленими в 2014 р. питомими нормами водоспоживання на переробку 1 т сировини передбачалось витратити 5,205 м3/т, на водовідведення - 4,295 м3/т.

Для експериментального виробництва витрати води дорівнюють, м3/т:

водоспоживання - 1,655;

водовідведення - 1,436.

Якість стічних вод

Стічні води, що утворюються на підприємстві можна розділити на три групи: промислові, побутові та атмосферні.

Промислові стічні води, у свою чергу, поділяють на три основні групи:

) промислові води, що утворюються внаслідок безпосереднього використання води саме в технологічних операціях, вони забруднені всіма речовинами, які використовуються в технологічних процесах даного виробництва. Частина цих вод, які отримують при завершальній обробці готового продукту, іноді слабко забруднена, і таку воду відносять до практично умовно чистих.

) води від допоміжних операцій та процесів, які утворюються під час поверхневого охолодження технологічної апаратури та енергетичних агрегатів; головною відмінністю таких вод є, як правило, підвищена температура,

) води із допоміжних цехів і цехів обслуговування (сховищ сировини та готової продукції, транспортування сировини і палива, котельних тощо), ці води забруднені різноманітними речовинами.

Стічні води ферментних підприємств здебільшого містять невеликі кількості органічних і неорганічних забрудників, тому їх об’єднують з побутовими.

Спуск зливових і виробничих стічних вод у каналізаційну мережу проводиться тільки у відповідності з санітарними нормами промислових підприємств («Санітарні норми проектування» СНіП 2.04.03-85) (Додаток 5). Спуск води з виробничих корпусів здійснюється за трьома окремими каналізаційним пристроями: для відпрацьованих чистих виробничих вод (конденсатор, холодильники і т.п.); для забруднених промислових стоків; для фекально-господарських вод. Умовно чисті виробничі води гранично регенеровані з метою їх повторного використання у виробництві, і тільки у виняткових випадках допускається скидання цих вод у каналізацію. Виробничі стічні води, що містять кислоти або лугу, нейтралізуються, після чого дозволяється спуск їх у заводську мережу фекально-господарської каналізації. Спуск фекально-господарських і забруднених виробничих стічних вод у поглинальні колодязі і свердловини заборонений.

Виробничі стічні води перед скиданням із цеху в зовнішню каналізацію піддаються первинному очищенні з метою вилучення, регенерації і утилізації цінних продуктів, максимального зниження концентрації органічних речовин і мінеральних солей. Слід проводиться витяг пожежо- і вибухонебезпечних газів, масел, смол, токсичних речовин, які не можуть бути видалені при подальшому біологічному очищенню стічних вод [6].

Стічні води підприємств ферментної промисловості повинні мати наступні характеристики (в мг/л):

хімічна потреба в кисні (ХПК) - не більше 600;

біохімічна потреба в кисні (БПКповн) - не більше 410;

загальний азот - 150;

амонійний азот - 30;

азот нітратів - 33;

фосфор - 1,3;

крупно-дисперсні речовини - 500;

каламутність незначна;

рН 7,0.

Інфікована культуральна рідина перед спуском у каналізацію стерилізується або кип’ятиться протягом години.

Біомаса продуцента при глибинному культивуванні, якщо її концентрація в стічних водах не перевищує допустимої норми по мутності і суспензії, може бути після стерилізації також приєднана до промислових каналізаційних стоків.

Ліміт на скидання стічних вод становить 565 тис. м3. Водночас скид стічних вод у 2014 р. становив 1 141 тис. м3.

Ліміт на скидання забруднювальних речовин на 2014 р. становить, т:

БСК-0,79;

завислих речовин - 29,8;

азоту сольового - 0,68;

ХСК- 11,07.

У звіті 2015 р. зазначено такі цифри забруднювальних речовин: БПК - 20,0 т; БСК - 68,0 т; азоту амонійного - 6,6 т.

Необхідно перевірити правомірність заниження підприємством лімітів скидання стічних вод і забруднювальних речовин, тому що при перевищенні ліміту тариф збільшується у 5 разів.

За скидання забруднювальних речовин завод вносить платежі у розмірі 642 грн. за рік. При перевірці цього показника встановлено, що завод сплачує за ХСК неправомірно, оскільки вноситься плата за БСК. Водночас за сапонін треба вносити плату з розрахунку 2 750 грн., тому що для рибо-господарських водойм ГДК для нього не встановлюється. Отже, платежі за скидання забруднювальних речовин мають становити 1 303 грн.

Миття автомобілів здійснюється без зворотної системи водопостачання, є лише відстійник. Вода після миття автомобілів складається з бруду та паливно-мастильних матеріалів [7].

МЕНЕДЖМЕНТ ОХОРОНИ АТМОСФЕРНОГО ПОВІТРЯ

Викиди в атмосферу регулюються „Законом України про охорону атмосферного повітря”, Санітарними нормами і правилами контролю атмосферного повітря населених пунктів.

Керівництво заводу затвердило план заходів щодо зниження викидів забруднюючих речовин в атмосферу, згідно з яким виконано роботи з поліпшення режиму спалювання газу.

На ферментному заводі повітряний басейн забруднюється газовими викидами котелень та автотранспортом.

Також завод викидає такі хімічні речовини як: нітроген (IV) оксид та карбон (II) оксид та фреон . Викиди яких в атмосферне повітря не перевищують лімітів затверджених для ферментних заводів, а саме: діоксид азоту (NO2) - 33,730 т/рік, оксид вуглецю (CO) - 22,663 т/рік.

Викиди котелень містять частки сажі, окису вуглецю, сірки і азоту, а також водяну пару.

ГДК для діоксину вуглецю в атмосферному повітрі населених пунктів повинна бути:

максимально разова - 3 мг/м3;

середньодобова - 1 мг/м3.

У повітрі робочої зони ГДК для діоксину вуглецю - 20 мг/м3.

ГДК для соляної кислоти:

максимально разова - 0,2 мг/м3;

середньодобова - 0,2 мг/м3.

ГДК для сажі в атмосферному повітрі становить 0,89 мг/ м3.

ГДК для сірки в атмосферному повітрі становить 0,75 мг/ м3.

ГДК для азоту в атмосферному повітрі становить 1,2 мг/ м3.

Підприємство веде постійний контроль за викидами в атмосферне повітря шкідливих речовин, які не перевищують гранично-допустимих концентрацій. Підприємство має нормативний пакет гранично допустимих викидів (ГДВ). Щорічно він затверджується Державним управлінням екологічної безпеки області відповідно до лімітів на викиди забруднюючих речовин. Підприємство щорічно складає звіт про викиди забруднюючих речовин.

Ступінь впливу виробництва на довкілля відслідковується на ТОВ «Ензим» за допомогою лабораторного контролю, що забезпечений атестованими лабораторіями виробничих центрів підприємства.

Лабораторії оснащені сучасним обладнанням, необхідною матеріальною базою. Екологічний контроль і моніторинг здійснюється своєчасно і в повній мірі.

Основними й найбільш дійовими методами боротьби з забрудненням атмосфери на підприємстві є екологічні. Діє продумана система заохочувальних і заборонних заходів, які допомагають запобігти забрудненню. Впровадження підприємством певних систем очисних фільтрів дає їм переваги над конкурентами [8].

Всі системи вентиляції виробничих приміщень підприємства, де існує можливість утворення шкідливих забруднюючих речовин, обладнані пилогазовідловлюючим обладнанням.

У 2014 р. фахівці енергетичної служби реалізували свою ідею зі збору та повторного використання фреону в системі компресорно-конденсаторних агрегатів ліофільної сушки. В результаті кількість викидів фреону в атмосферне повітря в порівнянні з 2013 р. зменшилася на 1 т.

На заводі відремонтовані та приведені в справний технічний стан бункери циклонів, гнучкі вставки і газоходи, деякі пилогазоуловлюючі установки.

У проектах з реконструкції виробничих ділянок передбачене встановлення фільтрів тонкого очищення ФТОВ на ділянках, де є виділення пилу забруднюючих речовин.

Значним недоліком менеджменту атмосферного повітря є відсутність вимірювання викидів забруднючих речовин. Другим недоліком є відсутність приладів для вимірювання викидів забруднювальних речовин автотранспортом.

Автотранспорт, є вагомим забруднювачем атмосферного повітря.

У відпрацьованих газах автомобільних двигунів налічується біля 100 різних компонентів, більшість з яких токсичні.

Серед токсичних компонентів, які викидаються автотранспортом майже 75,9% становлять оксиди вуглецю, 11,5% - неметанові леткі органічні сполуки, 10,2% - оксиди азоту, 1,1 % - сажа, 0,97% - сірчистий ангідрид,

МЕНЕДЖМЕНТ ПРОМИСЛОВИХ ВІДХОДІВ

Відходи переробки сировини утворюються в кількості 3,85 тон на 1тону виробленої продукції, а саме - це технологічна вода (45%), конденсат(10%), осад з дна резервуарів(35%). Технологічну воду закачують у свердловини, конденсат використовують під час видобутку нафти, осад з дна резервуарів збирає і видаляє субпідрядник.

Кількість промислових відходів (нерозчинні залишки після виробничого культивування) на 1 тону виробленої продукції становить 1,58 тон, з яких 0,73 т йде на отримання біошроту, 0,45т - після відповідної обробки входять до складу середовища культивування інокулята, а інші 0,4 т - надходять до пункту збору відходів, а далі переплавляються на утилізацію.

На підприємстві не встановлено випадків застосування поліхлорбіфенілів (ПХБФ) або азбесту.

Для запобігання змішування відходів у виробничих підрозділах встановлені контейнери для роздільного збору паперу, картону, поліетилену і побутових відходів, що дозволяє проводити максимально повний збір вторинної сировини в місцях його утворення.

Щодня виробничий процес супроводжується роздільним збиранням відходів, вся некондиційна продукція, для якої існують методи утилізації чи знезараження, збирається і передається спеціалізованим організаціям.

ПЕРЕЛІК КОНТРОЛЮЮЧИХ ОРГАНІВ

Контролюючі природоохоронні організації:

Місцева рада народних депутатів;

Органи Мінекології України: міжрайонна екологічна інспекція;

Державне управління екологічної безпеки в області;

Органи Міністерства охорони здоров’я України, районна санепідемстанція.

Інші організації:

Держенергонагляд України;

Інспекція Держкомохорони праці України.

Опис офіційних претензій до підприємства з боку контролюючих організацій та громадськості

Викиди підприємства не перевищують затверджених лімітів, тому офіційних претензій до підприємства з боку контролюючих організацій та громадськості не було.

КРИТЕРІЇ ОЦІНКИ МЕНЕДЖМЕНТУ

Пріоритетна система, класифікує результати аналізу на три групи за такими основними критеріями:

Ризики (в свою чергу поділяють на три групи)

високий ризик:

дії чи ситуації, які спричинюють збитки, а також становлять безпосередню загрозу здоров'ю та безпеці людей, об'єктам власності чи природі;

ситуації, які вимагають великих капіталовкладень на оздоровлення;

дії, які порушують екологічні закони.

) значний ризик:

дії чи ситуації, що становлять деякий ризик для здоров'я та безпеки об'єктів власності, людини чи природи;

ситуації, які вимагають деяких капіталовкладень на ремонт, удосконалення чи модернізацію;

дії, що не узгоджені правильним екологічним менеджментом.

) низький ризик:

ситуація не вимагає або вимагає незначних капіталовкладень на ремонт, удосконалення чи модернізацію;

дії, що потребують вдосконалення загальної промислової практики.

Індекс тривоги - підстава для тривоги (визначається за однією з п'яти позицій):

) реальна нависла загроза пошкодження природного середовища, об'єктів власності або здоров'я людей;

) заборона законом або несумісність з вимогами закону. Юридична відповідальність;

) невідповідність корпоративній політиці або процедурам, письмовим промисловим чи урядовим директивам або іншим критеріям перевірки;

)невідповідність загальноприйнятій практиці екологічного менеджменту;

) залишковий вплив попередніх практик.

Індекс небезпеки (визначається за однією з трьох позицій):

) велика проблема, яка потенційно може призвести до значних витрат на екологію, притягнення до відповідальності або покарань з боку керівних органів; ситуації, що матимуть матеріальний вплив на фінанси корпорації та/або стануть предметом уваги ради директорів;

) проблема, яка потенційно може призвести до значних витрат на екологію або покарань з боку керівних органів;

) невелика проблема, яка потенційно може призвести до порівняно невеликих витрат на екологію або покарання з боку керівних органів [10].

В Додатку 6 наведені значення індексу пріоритетності (Іn), що дорівнює добутку індексу тривоги (Im) та індексу небезпеки (Im).

ВИСНОВКИ

Під час аудиту з екологічного менеджменту виявлено такі недоліки:

Не ведуться спостереження за станом ґрунтів проммайданчиків та якістю підземних вод під ними на основному і експериментальному виробництві.

Немає зворотної системи водопостачання для миття автотранспорту.

Завод не проводить лабораторний контроль та виміри викидів автотранспортом.

Висновки за приорітетами:

В таблиці 1 наведено проблеми функціонування системи екологічного менеджменту підприємства за пріоритетами.

Таблиця1

Проблеми функціонування системи екологічного менеджменту Ладижинсько заводу ферментних препаратів «Ензим» за пріоритетами

№ за пріоритетом

Об’єкт

Найменування проблеми

Індекс тривоги

Індекс небезпеки

Індекс пріоритетності

Можливий ризик виникнення відповідальності

Повнота інформації, %

1


2

3

4

5

6


1

Контроль викидів (скидів) забруднювальних речовин

Не ведуться лабораторні дослідження окремих забруднювальних речовин при викидах автотранспорту

2

2

4

Високий

100









2

Пром-майданчик

4

2

8

Середній

90


Пром-майданчик

Не ведуться спостереження за якістю підземних вод

4

3

12

Середній

50

3

Миття автотранспорту

Немає зворотної системи

3

3

9

Середній

100


РЕКОМЕНДАЦІЇ

В таблиці 2 наведено рекомендації щодо вирішення проблем вдосконалення системи екологічного менеджменту підприємства.

Таблиця 2

Рекомендації щодо вирішення проблем вдосконалення системи екологічного менеджменту Ладижинського заводу біо- та ферментних препаратів «Ензим» (за приорітетами)

№ за пріоритетом

Рекомендації

Приорітет

Вплив на ефективність та терміновість вирішення

Вартість, $США

1

Придбати обладнання для здійснення вимірів шкідливих речовин від викидів автотранспортом

4

Високий

2000

2

Забезпечити проведення спостережень за якістю ґрунтів

9

Середній

2000

3

Збудувати зворотну систему миття автотранспорту

9

Середній

5000

4

Забезпечити проведення спостережень за якістю підземних вод

12

Середній

1500



СПИСОК ВИКОРИСТАНОЇ ЛІТЕРАТУРИ

ЭНЗИМ: Ладыжинский завод био- и ферментных препаратов: наша продукция [Електронний ресурс] // Энзим - завод био- и ферментных препаратов. - М., 2012. - Режим доступу: <#"879702.files/image003.gif">

ДОДАТОК 2

Рис.2.1. Генеральний план виробництва:

- головний виробничий корпус; 2 - науково-дослідний та лабораторний корпус 3 - технічний блок лабораторного корпусу; 4 - господарський корпус; 5 - майданчик перспективної забудови; 6 - зона відпочинку; 7 - очисні споруди; 8 - адміністративний корпус; 9 - складські приміщення

- зона викидів;             - складські приміщення

ДОДАТОК 3

Характеристика продукції Ладижинсько заводу біо- та ферментих препратів «Ензим»



ДОДАТОК 4

Праве і нормативне забезпечення впровадження та функціонування системи екологічного менеджменту та аудиту

ДОДАТОК 5

Витяг з СНиП 2.04.03-85

СТРОИТЕЛЬНЫЕ НОРМЫ ПРАВИЛА. КАНАЛИЗАЦИЯ. НАРУЖНЫЕ СЕТИ И СООРУЖЕНИЯ. РАСЧЕТНЫЕ РАСХОДЫ СТОЧНЫХ ВОД. ГИДРАВЛИЧЕСКИЙ РАСЧЕТ КАНАЛИЗАЦИОННЫХ СЕТЕЙ

Расчетные расходы производственных сточных вод промышленных предприятий следует принимать:

для общезаводских и внеплощадочных коллекторов предприятия - по совмещенному часовому графику;

для внеплощадочного коллектора группы предприятий - по совмещенному часовому графику с учетом времени протекания сточных вод по коллектору.

При разработке схем, перечисленных в п. 1.1, удельное среднесуточное (за год) водоотведение допускается принимать по табл. 3.

Объем сточных вод от промышленных и сельскохозяйственных предприятий должен определяться на основании укрупненных норм или имеющихся проектов-аналогов.

Самотечные линии, коллекторы и каналы, а также напорные трубопроводы бытовых и производственных сточных вод следует проверять на пропуск суммарного расчетного максимального расхода по пп. 2.7 и 2.8 и дополнительного притока поверхностных и грунтовых вод в периоды дождей и снеготаяния, неорганизованно поступающего в сети канализации через неплотности люков колодцев и за счет инфильтрации грунтовых вод.

Таблица 3

Удельное среднесуточное (за год) водоотведение на одного жителя в населенных пунктах

Объекты канализования

Удельное среднесуточное (за год водоотведение на одного жителя в населенных пунктах, л/сут


до 2000 года

до 2020 года

Города  Сельские населенные пункты

500 125

550 150

Примечания 1. Удельное среднесуточное водоотведение допускается изменять на 10-20% в зависимости от климатических и других местных условий и степени благоустройства.

Примечания 2. При отсутствии данных о развитии промышленности за пределами 2020 года допускается принимать дополнительный расход сточных вод от предприятий в размере 25% расхода, определенного по табл.3.

Величину дополнительного притока qаd, л/с, следует определять на основе специальных изысканий или данных эксплуатации аналогичных объектов, а при их отсутствии - по формуле

qad=0,15L(md)½ (1)

где L - общая длина трубопроводов до рассчитываемого сооружения (створа трубопроводов), км;- величина максимального суточного количества осадков, мм, определяемая согласно СНиП 2.01.01-82.

Проверочный расчет самотечных трубопроводов и каналов поперечным сечением любой формы на пропуск увеличенного расхода должен осуществляться при наполнении 0,95 высоты.

ДОДАТОК 6

Визначення індексу пріоритетності (Iп)

Індекс тривоги

Індекс небезпеки

Індекс пріоритетності Іп = Іт х Ін

Можливий ризик виникнення додаткової відповідальності

1

2

3

4

1

1

1

Дуже високий

1

2

2

Дуже високий

2

1

2

Дуже високий

1

3

3

Високий

3

1

3

Високий

2

2

4

Високий

4

1

4

Високий

5

1

5

Високий

2

3

6

Середній

3

2

6

Середній

2

8

Середній

3

3

9

Середній

5

2

10

Середній

4

3

12

Низький

5

3

15

Низький


Похожие работы на - Звіт проведення експрес-аудиту екологічного менеджменту на Ладижинському заводі біо- та ферментних препаратів 'Ензим'

 

Не нашли материал для своей работы?
Поможем написать уникальную работу
Без плагиата!
Без нейросетей!