Проектування мережі стільникового зв’язку з багатодистанційним доступом з кодовим розподілом каналів (СDMA) на основі стандарту IS-95
Курсова робота
Проектування
мережі стільникового зв’язку з багатодистанційним доступом з кодовим розподілом
каналів (СDMA) на основі стандарту IS-95
Вступ
В останні роки значний прогрес у
телекомунікаційних технологіях досягнутий завдяки переходу на цифрові види
зв'язку, які, в свою чергу, базуються на стрімкому розвитку мікропроцесорів.
Яскравий приклад цього - поява й швидке впровадження технології зв'язку із
застосуванням цифрових шумоподібних сигналів і методів багатостанційного доступу
з кодовим розподілом каналів (англ. CDMA).
Чудова властивість цифрового зв'язку із
застосуванням шумоподібних сигналів - захищеність каналу зв'язку від
перехоплення, перешкод і підслуховування. Саме тому дана технологія була
спочатку розроблена і використовувалася для збройних сил США. Американська
компанія Qualcom на основі цієї технології створила стандарт IS-95 (CDMA one) і
передала його для комерційного використання.
Основні напрямки використання і впровадження CDMA
- це наземні фіксовані бездротові телефонні мережі, стільникові мобільні
системи зв'язку й супутникові системи зв'язку.
Стандарт CDMA розроблявся з метою домогтися
більшої, у порівнянні з TDMA, ємності мереж і увібрав у себе численні
удосконалення технологій бездротової передачі, що дозволило збільшити зону
покриття і підвищити якість передачі.
1. Основні параметри стандарту
Зв'язок в зоні покриття CDMA, як правило, у
порівнянні з іншими стандартами більш стійкий. Пояснюється це властивостями
зв'язку в стандарті CDMA. По-перше - велика завадозахищеність, яку сигнал
набуває внаслідок дуже широкого спектру сигналу (1,25 МГц). Такому сигналу не
страшні завади промислового походження (наприклад автомобілі), так як їх спектр
нездатний перекрити сигнал CDMA. По-друге - від абонента, що розмовляє по
телефону стандарту CDMA, сигнал приймається не однією базовою станцією, як в
інших стандартах, а двома чи навіть трьома найближчими до нього. Це дає ряд
переваг:
при переміщенні з соти в стільнику
відбувається плавна естафетна передача абонента від однієї базової станції до
іншої, таким чином виключаються перерви зв'язку при русі;
підтримуючи зв'язок одночасно з
двома-трьома базовими станціями, вибирається найкращий сигнал. Більш того, якщо
жоден канал не забезпечує належної якості, то сигнал будується з «поганих»
складових, в сумі дають хороший результат. Типовий приклад: у підземному
переході, де телефони GSM, NMT або DAMPS втрачають зв'язок, телефон CDMA,
вловлюючи багаторазово відбиті сигнали, що приходять з різних напрямків, може
впевнено тримати зв'язок.
Перераховані властивості підводять нас до ще
одного чудового висновку: для зв'язку мобільного телефонного апарату з базовими
станціями досить дуже незначною потужності передавача. Це «досягнення» і
широкосмугового сигналу, що дозволяє розподілити потужність по всьому спектру,
і описаного вище рознесеного прийому, за допомогою якого телефон може вибрати
найменш зашумлений канал і, отже, передавати з меншою потужністю, регулюючи її
в процесі розмови. У самому найгіршому випадку, ця потужність досягає 0.2 Вт (а
в нормальних умовах вона дорівнює одиницям міліват), В той час як в інших
стандартах вона коливається від 0.6Вт до 2 Вт Особливо це актуально в світлі
розгорнутої не так давно дискусії про шкоду випромінювання мобільних телефонів.
Хоча одні дослідження підтверджують наявність такої шкоди, а інші заперечують,
до з'ясування істини найкраще мінімізувати вплив електромагнітного
випромінювання на органи і, в першу чергу, на головний мозок. В умовах
сучасного бізнесу досить важливий і фактор конфіденційності переговорів. Адже
мобільний телефон - це універсальний засіб зв'язку, що надає голосової,
факсимільний і навіть інтернет-канали комунікацій. Природно, для більшості
бізнес-користувачів конфіденційність передачі даних коштує нарівні з зручністю
використання засобів зв'язку. Можливості апаратури перехоплення розмов ростуть,
упав навіть GSM, оголошений колись як стандарт, який неможливо прослухати.
Стійкість CDMA теж не безмежна, але з наявних на ринку стільникового зв'язку
стандартів самий захищений. Щоб уявити собі витрати, необхідні для перехоплення
сигналу CDMA, можна підрахувати вартість однієї базової станції мережі, причому
з усією інфраструктурою.
Для представлення перспектив CDMA досить сказати,
що зв'язок третього покоління 3G заснований на CDMA.
Недоліків у CDMA небагато, хоча на вирішення
деяких проблем знадобився не один десяток років. Головним стримуючим фактором
її практичного застосування довгі роки була складність обладнання. Коло
виробників, яким до снаги створювати таку апаратуру (особливо базові станції),
не назвеш широким.
Інший недолік - виникнення взаємних перешкод, що
погіршують умови прийому при зростанні числа активних абонентів, що
позначається на зв'язку периферійних віддалених абонентських станцій. Головні ж
камені спотикання на шляху впровадження технології CDMA - висока чутливість до
розкиду потужностей абонентських станцій і складність синхронізації базових
станцій. Перша з цих проблем була вирішена за рахунок створення унікальної
високоточної системи управління потужністю (крок 0,5-1 дБ, швидкість 0,8 або
1,6 кбіт / с), а друга - за допомогою сигналів GPS.
Для підвищення якості зв'язку однієї абонентської
станції за допомогою м'якого перемикання каналів потрібно одночасно виділяти
для неї два або більше каналів, що знижує пропускну здатність загального каналу
радіозв'язку.
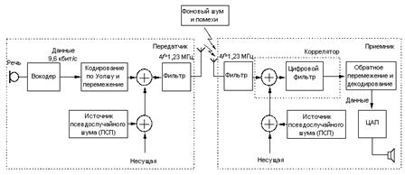
Порядок проходження мовних даних в мобільній
станції до моменту відправлення в ефір:
. Мовний сигнал надходить на мовної кодек. На
цьому етапі мовний сигнал оцифровується і стискається за алгоритмом CELP.
. Сигнал надходить на блок перешкодостійкого
кодування, який може виправляти до 3-х помилок у пакеті даних.
. Сигнал надходить до блоку переміжного сигналу.
Блок призначений для боротьби з пачками помилок в ефірі. Пачки помилок -
спотворення кількох біт інформації поспіль. Принцип такий. Потік даних
записується в матрицю по рядках. Як тільки матриця заповнена, починаємо з неї
передавати інформацію по стовпцях. Отже, коли в ефірі спотворюються поспіль
кілька біт інформації, при прийомі пачка помилок, пройшовши через зворотну
матрицю, перетвориться в одиночні помилки.
. Сигнал надходить до блоку кодування (від
підслуховування). На інформацію накладається маска (послідовність) довжиною 42
біта. Ця маска є секретною. При несанкціонованому перехоплення даних в ефірі
неможливо декодувати сигнал, не знаючи маски. Метод перебору всіляких значень
не ефективний тому при генерації цієї маски, перебираючи всілякі значення,
доведеться генерувати 8.7 трильйона масок довжиною 42 біта. Хакер, користуючись
персональним комп'ютером, пропускаючи через кожну маску сигнал і перетворюючи
його в файл звукового формату, потім, розпізнаючи його на наявність мови,
витратить багато часу.
. Блок на код Уолша. Цифровий потік даних
перемножується на послідовність біт, згенерованих по функції Уолша. На цьому
етапі кодування сигналу відбувається розширення спектру частот, тобто кожний
біт інформації кодується послідовністю, побудованої за функцією Уолша, довжиною
64 біта. Швидкість потоку даних в каналі збільшується в 64 рази. Отже, в блоці
модуляції сигналу швидкість маніпуляції сигналу зростає, звідси і розширення
спектру частот. Так само функція Уолша відповідає за відсів непотрібної
інформації від інших абонентів. У момент початку сеансу зв'язку абоненту
призначається частота, на якій він буде працювати і один (з 64 можливих)
логічних каналів, який визначає функція Уолша. У момент прийняття сигнал за
схемою проходить у зворотний бік. Прийнятий сигнал множиться на кодову
послідовність Уолша. За результатом множення обчислюється кореляційний інтеграл.
Якщо Z порогова відповідає граничному значенню, отже, сигнал наш. Послідовності
функції Уолша ортогональні і володіють хорошими кореляційними і
автокореляційних властивостями, тому ймовірність сплутати свій сигнал з чужим
дорівнює 0.01%.
. Блок перемножування сигналу на дві М-функції
(М1 - довжиною 15 біт, М2 - довжиною 42 біта) або ще їх називають
ПСП-псевдовипадковими послідовностями.
. Блок призначений для перемішування сигналу для
блоку модуляції. Кожній призначеній частоті призначаються різні М-функції.
. Блок модуляції сигналу. У стандарті CDMA
використовується фазова модуляція ФМ4, ОФМ4.
Схема проходження мовних даних в мобільній
станції
У системах з CDMA використовують процедуру, що
називається розширенням спектра сигналів. Це еквівалентно переходу
вузькосмугових сигналів до широкосмугових (ШПС). Основною характеристикою
широкосмугості сигналів є база сигналу, обумовлена як добуток ширини його
спектра F на тривалість Т:
= F * T
Розширення спектра частот переданих цифрових
повідомлень може здійснюватися двома методами або їхньою комбінацією:
1. прямим розширенням спектра частот;
2. стрибкоподібною зміною частоти несучої;
В існуючих і розроблювальних системах
стільникового зв'язку, для яких виконується умова (1.1), переважно
використовуються ШПС, формування яких здійснюється по методу прямого розширення
спектра (Direct Sequence-CDMA-DS-CDMA).
Для практичного застосування у системах
стільникового зв'язку з CDMA найбільше часто використовується послідовний складений
сигнал, що складається з різнополярних прямокутних імпульсів (пряме розширення
спектра). Складений сигнал являє собою послідовність імпульсів різної
полярності (рис 1.2). Така послідовність будується по визначеному закону. Якщо
закон формування псевдовипадковий, то такий складений сигнал називається
псевдовипадковою послідовністю (ПСП).
Як імпульсні послідовності можуть бути обрані
кодові послідовності Бакера, послідовності Хаффмена (М-послідовності), функції
Уолша та ін.
Властивості функцій Уолша й алгоритми їхнього
синтезу вивчені досить добре.
Звичайно функції Уолша одержують з більш простих
функцій Радемахера, що утворюються із синусоїдальних функцій за допомогою
співвідношення
,
де
= 1, 2, 3,… - порядок функцій
Радемахера;() - знакова функція, обумовлена як
Система функцій Уолша володіє поганими кореляційними властивостями.
Це виражається в тім, що більшість функцій автокореляції (АКФ) і функції
взаємної кореляції (ВКФ) послідовностей Уолша мають великі бічні піки
Формування складного сигналу
Перевагою функцій Уолша як системи ортогональних
широкосмугових сигналів є простота їхнього формування й обробки засобами
цифрової мікросхемотехніки.
На рисунку 1.3 представлені графіки функцій Уолша
перших вісьми порядків. Довжина короткої псевдовипадкової послідовності
дорівнює 215-1 = 32767 знаків, довгої ПВП - 242-1 =
4,4х1012 знаків. Довжина дискрету для всіх трьох функцій однакова и
відповідає частоті появи дискретів 1,2288 МГц.
Графіки функцій Уолша перших вісьми порядків
Стандарт IS-95 (CDMA), був представлений
компанією QUALCOMM як системА для організації комерційних мереж зв'язку і
прийнятий після тривалих іспитів і доробок як стандарт стільникових мереж
Асоціацією промисловості засобів електрозв'язку в липні 1993 р. В даний час це
стандарт Міжнародного союзу електрозв'язку, і компанія QUALCOMM передала
ліцензіЇ на виробництво устаткування мережної інфраструктури і на виробництво
портативних телефонних апаратів цього стандарту різним виготовлювачам світу.
Основні параметри стандарту IS-95
|
Характеристика
|
Технічні
дані
|
|
Смуга
частот, Мгц - передавач МС - передавач БС
|
824-849
869-894
|
|
Рознесення
дуплексних частот, Мгц
|
45
|
|
Смуга
частот, виділена для передачі на одній несучій, Мгц
|
1.25
|
|
Число
несучих в частотному діапазоні
|
20
|
|
Спосіб
організації багатостанційного доступу
|
МДКР
|
|
Число
каналів на одній несучій
|
64
|
|
Тип
модуляції
|
QPSK
(БС), O-QPSK (ПС)
|
|
Швидкість
передачі інформації на одній несучій, кбит/с
|
1228.8
|
|
Мовний
кодер, швидкість передачі, кбит/с
|
QCELP
8; 4; 2; 1
|
|
Канальний
кодер
|
сверточное
кодування, 1/2
|
19.2;
9.6; 4.8; 2.4
|
|
Тривалість
кадру, мс
|
20
|
|
Потужність
передавача рухомої станції, Вт
|
0.6
|
|
Регулювання
потужності передавачів
|
має
|
|
Номінальна
величина відношення сигнал / перешкода, дБ
|
6
|
2. Структура стільникового зв’язку
Для реалізації м'якого режиму «естафетної
передачі» в мережу введені пристрої вибору кадру (УВК) або SU, що пов'язані з
базовими станціями БС і контролерами базових станцій (КБС) або BSC. Керує
мережею центр комутації рухливого зв'язку (ЦКРЗ) або MSC, при якому
організована база даних (БД) - DB і центр керування й обслуговування (ЦОУ) -
OMC.
Структурна схема мережі стандарту IS-95.
(Base Tranceiver Station) - базова
станція.(Selector Unit) - пристрій для вибору кадру.(Base Station Controller) -
контролер базових станцій.(Operation and Maintenance Centre) - центр управління
і обслуговування.(Mobile Switching Centre) - центр комутації рухомої
мережі.(Data Base) - база даних про абонентів і устаткування.
Принцип роботи системи стільникового зв'язку
стандарту CDMA.
У CDMA канали для передачі з базової станції
називаються прямими (Forward), для прийому базовою станцією - зворотними
(Reverse) [2].
Прямі канали в CDMA:
- ведучий канал - використовується рухомою
станцією для початкової синхронізації з мережею і контролю за сигналами базової
станції за часом, частотою і фазою;
канал синхронізації - забезпечує ідентифікацію
базової станції, рівень випромінювання пілотного сигналу, а також фазу
псевдовипадкової послідовності базової станції. Після завершення зазначених
етапів синхронізації починаються процеси встановлення з'єднання;
канал виклику - використовується для виклику
рухомої станції. Після прийому сигналу виклику рухома станція передає сигнал
підтвердження на базову станцію, після чого по каналі виклику на рухому станцію
передається інформація про встановлення з'єднання і призначення каналу зв'язку.
Канал персонального виклику починає працювати після того, як рухома станція
одержить усю системну інформацію (частота несучої, тактова частота, затримка
сигналу по каналу синхронізації);
канали прямого доступу (1…55) - призначені для
передачі мовних повідомлень і даних, а також керуючої інформації з базової
станції на рухому.
Зворотні канали в CDMA:
канал доступу - забезпечує зв'язок від рухомої
станції до базової станції, коли рухома станція не використовує канал трафіку.
Канал доступу використовується для установлення викликів і відповідей на
повідомлення, передані по каналу виклику, команди і запити на реєстрацію в
мережі. Канали доступу сполучаються (поєднуються) з каналами виклику;
канал зворотного трафіку - забезпечує передачу
мовних повідомлень і керуючої інформації з рухомої станції на базову станцію.
У стандарті IS-95 регулювання рівня потужності
сигналу, випромінюваного рухомою станцією, здійснюється в динамічному діапазоні
84 дБ із кроком 0.5…1 дБ. Це забезпечує можливість прийому сигналів рухомих
станцій базовою станцією з практично однаковим рівнем потужності незалежно від
віддалення від базової станції. Чим ближче рівень потужності сигналів від
рухомих станцій на вході базової станції до мінімальної необхідної якості
зв'язку, тим менше рівень взаємних завад у системі і, отже, тим вище її
ємність.
3. Розрахунок параметрів мережі
Розрахунок кількості абонентів, що водночас
працюють в одному стільнику.
Кількість абонентів, що водночас працюють в одному секторі
кожного стільника або в стільнику при заданій якості прийому сигналів будь-якої
MS (що визначається 
) та заданій надійності прийому (що визначається Рt),
визначається виразом [1]:
де Вinf - швидкість передачі інформації (біт/с);r
- смуга частотного каналу (Гц);
λ=0.2 - частина потужності
передавача BTS, що витрачається на передачу пілот-сигналу.:
α=3/8 - частка часу, від загальної
тривалості розмови, що припадає на паузи;0 - розрахунковий параметр;
Кt - коефіцієнт, пов'язаний з допустимим
процентом часу Рt виразом:
В даному випадку Кt = X1 та
визначається за таблицею додатку А [1].
При Рт = 5% Кт = 1.64.
Величина параметра m0 визначається
відношенням
0 = m1 - m2,
γ = 0.1ln(10) = 0.23;
де σ - дисперсія флуктуації рівня сигналу в
точці прийому.
За умовою σ = 4 дБ, отже нам необхідно перевести цю
величину в рази.
σ = 100.4 = 2.512 (раз).
m2 = 0,195ˑ2.512 = 0.49.
Підставимо значення параметрів відповідно до
завдання і даного стандарту, проведемо обчислення. Оберемо 3х-секторну антену
(в цьому випадку кількість «заважаючих» базових станцій М=2) і значення k=3 [1].
.
m0 =0.986 - 0.49 = 0.496.
Параметр σ0, що визначає дисперсію гаусівської
випадкової величини, середнє значення якої дорівнює нулю, визначається
співвідношенням:
Обчислимо, підставивши необхідні дані у вказані вище
формули.
.
Р0 візьмемо 7дБ, для розрахунків переведемо
величину в рази.
Р0 = 100.7 = 5.012 (раз).
За формулою (3.1) визначимо кількість абонентів, що
водночас працюють в одному стільнику.
0 = 10.
Розрахунок допустимого телефонного навантаження.
Величина допустимого телефонного навантаження в кожному
секторі стільника в даному випадку визначається за формулою:
де 
- допустима кількість абонентів, які можуть водночас працювати в
одному секторі кожного стільника.
,
візьмемо na=35 (згідно стандарту),- кількість частотних
каналів, що використовується для обслуговування абонентів в одному секторі
стільника.

= int (64/3*3) = 7 (каналів).
n0 = 7*35 = 245, 
= 0.051.
Так як Рв=0.04 за умовою, отже Рв<
, а це означає, що ми можемо знайти величину допустимого
телефонного навантаження за формулою (3.11):
(Ерл).
Розрахунок кількості абонентів, що обслуговуються однією
BTS.
Кількість обслуговуваних однією BTS абонентів провадиться
за формулою:
= (237.295/0.012)*3 = 5,934*104 (абонентів).
Розрахунок кількості базових станцій.
Кількість базових станцій у мережі визначається за
формулою:
= int (120000/59340) = 2 (станції).
Розрахунок величини радіуса стільника.
Величина радіуса стільника визначається за формулою:
(км).
Розрахунок потужності передавача, що припадає на одного
абонента.
Потужність передавача BTS, що припадає на одного абонента,
визначається співвідношенням:
Останній член даної формули визначає запас на завмирання
корисного сигналу. Цей запас у системі CDMA виявляється менше, ніж у інших
системах, оскільки в ній МS здійснює вибір тієї BTS, яка забезпечує найбільший
рівень сигналу, тобто по суті на МS забезпечується рознесений прийом. Тому
флуктуації сигналу, що приймаються, характеризуються дисперсією σ2,
виявляють значно менше флуктуацій рівнів сигналів, що надходять від кожної
окремої BTS, дисперсія яких дорівнює σ (σ2 = 0.173 σ).
Проведемо обчислення.
σ2 = 0.173 σ = 0.173ˑ2.512 = 0.435,
αф = lфˑ α0,
де lф - довжина фідера, α0 - погонне ослаблення фідера.
Як фідер використовується коаксіальний кабель, тип і
параметри якого обираються за частотою і мінімальними втратами з таблиці
додатку В [1]. Оберемо кабель типу РК75-17-31 - радіочастотний коаксіальний кабель
з напівповітряною ПЕ ізоляцією, для якого α0 = 0.11 дБ/м.
Нехай дана станція знаходиться в сільській місцевості,
враховуючи це довжину фідера обираємо враховуючи висоту підвісу антени та
необхідну додаткову довжину L = 7-8 м.
Тоді αф = (25+7)ˑ0.11 = 3.52.
Чутливість приймача виразимо в дБВт, PPRMS =
-145 дБВт.

(дБВт).
Всі обчислення виконані за допомогою середовища Mathcad.
стільниковий телефонний мережа мобільний
4. Додаткове завдання
Необхідно дослідити залежність кількості одночасно
працюючих абонентів в одному стільнику від швидкості передачі та надійності
зв’язку.
Спочатку прослідкуємо залежність від швидкості передачі.
Значення швидкостей візьмемо з таблиці основних параметрів [1]. Кількість
одночасно працюючих абонентів в залежності від цих параметрів розрахуємо за
формулою (3.1) розділу 3.
Результати розрахунків
|
n0
|
10
|
20
|
39
|
78
|
|
Binf
|
9600
|
4800
|
2400
|
1200
|
Залежність кількості одночасно працюючих
абонентів в одному стільнику від швидкості передачі
Далі визначимо залежність від надійності зв’язку.
Для цього використаємо заданий нам параметр ймовірності зриву зв’язку Pt.
Результати розрахунків
|
n0
|
8,996
|
9,708
|
10,87
|
11,672
|
12,352
|
|
Pt, %
|
3
|
5
|
10
|
15
|
20
|
Графік залежності кількості одночасно працюючих абонентів в
одному стільнику від ймовірності зриву зв’язку.
Висновки
В ході виконання курсової роботи були розглянуті
характеристики мережі стандарту IS-95 (CDMA one). Також була розглянута її
структура і принцип роботи.
Також було проведено проектування мережі зв'язку,
розраховані основні параметри мережі, такі як с кількості одночасно працюючих
абонентів в одному стільнику, число абонентів, що обслуговуються однією BTS,
радіус стільника, кількість частотних каналів для обслуговування абонентів в
одному секторі стільника та ін.
Ми дослідили залежність кількості одночасно
працюючих абонентів в одному стільнику від швидкості передачі та надійності
зв’язку. Проілюстрували графіками отримані результати. Побачили, що зі
зростанням кількості одночасно працюючих абонентів швидкість передачі
зменшується, і при збільшенні кількості абонентів надійність зв’язку
знижується.
Перелік посилань
1. Методичні вказівки до курсового проектування з дисципліни
«Системи мобільного зв’язку» для студентів усіх форм навчання напрямку 6.050903
- Телекомунікації/Упоряд.: Ємельянов В.В., Свид І.В. - Харків: ХНУРЕ, 2011. -
56 с.
.Ємельянов В.В. Системи стільникового рухомого радіозв’язку
[Текст]: навч. посіб./В.В.Ємельянов, І.В. Свид. - Х.:ТОВ «Компанія СМІТ», 2011.
- 336 с.