Планирование и реализация инновационных проектов

  • Вид работы:
    Курсовая работа (т)
  • Предмет:
    Менеджмент
  • Язык:
    Русский
    ,
    Формат файла:
    MS Word
    5,19 Мб
  • Опубликовано:
    2014-06-13
Вы можете узнать стоимость помощи в написании студенческой работы.
Помощь в написании работы, которую точно примут!

Планирование и реализация инновационных проектов

МИНИСТЕРСТВО ОБРАЗОВАНИЯ И НАУКИ
РОССИЙСКОЙ ФЕДЕРАЦИИ

ФЕДЕРАЛЬНОЕ АГЕНТСТВО ПО ОБРАЗОВАНИЮ

Федеральное государственное бюджетное образовательное учреждение высшего профессионального образования
 «Казанский национальный
исследовательский технологический университет»

Факультет промышленной политики и
бизнес-администрирования

Кафедра экономики

КУРСОВАЯ РАБОТА

по дисциплине

«Планирование на предприятии»

на тему:

Планирование и реализация инновационных проектов


Выполнила:  студентка гр.3201-85

Леонтьева И.М

Проверила:

Дылевская А.И.




Казань 2014

СОДЕРЖАНИЕ

ВВЕДЕНИЕ. ТЕОРЕТИЧЕСКИЕ ОСНОВЫ ИННОВАЦИОННЫХ ПРОЕКТОВ И МЕТОДОВ ИХ ОЦЕНКИ

.1 Содержание и виды планирования проектов

.2 Основные участники, виды, содержание и принципы управления инновационными проектами

.3 Исследование инвестиционных возможностей проекта

.4 Методы отбора инновационных проектов. ИННОВАЦИООНЫЙ ПРОЕКТ ООО «ГАЗПРОМ ТРАНСГАЗ ТОМСК»

.1 Общая информация о компании ОАО «Газпром трансгаз Томск»

.2 Планирование и реализация инновационного проекта по разработке системы очистки сточных вод в ООО «Газпром трансгаз Томск»

ЗАКЛЮЧЕНИЕ

СПИСОК ИСПОЛЬЗУЕМОЙ ЛИТЕРАТУРЫ

ПРИЛОЖЕНИЕ

планирование инновационный проект

ВВЕДЕНИЕ

В настоящее время происходит постепенный переход российской экономики на инновационный путь развития. В связи с этим большое внимание уделяется реализации государственных инновационных мер, позволяющих более успешно внедрять научно-технические разработки. Для этого на уровне государства, территориальных образований и отдельных хозяйствующих субъектов утвержден ряд нормативных актов и целевых программ, направленных на стимулирование инновационных процессов.

Успешно реализованные инновационные проекты, кроме государственного значения, являются важнейшими факторами поддержания конкурентоспособности предприятий и роста их стоимости на отечественном и международном рынках. В то же время недостаточность государственных мер по поддержке инновационной деятельности, отсутствие сотрудничества университетов с производствами, неразвитость института финансирования в фундаментальные исследования приводят к технологическому отставанию от конкурентов, а, следовательно, к снижению результатов научно-технической и производственной деятельности.

В современных экономических условиях инновационная политика предприятия предполагает формирование портфеля инновационных проектов и выбор наиболее эффективного из них. Однако сложность отбора для внедрения того или иного инновационного решения заключается в многоплановости его воздействия. Это обусловливает необходимость комплексного анализа эффективности вовлечения новшеств, связанных с реализацией инновационных проектов в хозяйственный оборот предприятия, в определении не только экономической результативности научно-технических разработок, но и социальных, экологических и других показателей эффективности проектов.

Таким образом, важной задачей становится формирование методов оценки эффективности инновационных проектов, позволяющих учесть все аспекты, связанные с их реализацией.

Объектом исследования в данной курсовой работе является ООО «Газпром трансгаз Томск», предметом является инновационный проект по разработке системы очистки сточных вод.

Целью данной работы является изучение планирование и реализации инновационных проектов.

Данная цель обуславливает необходимость решения следующих основных задач:

.Изучение содержания и видов планирования проектов;

.Рассмотреть стадии и этапы создания инновационных проектов;

. Изучения методов отбора инновационных проектов;

. Исследование инвестиционных возможностей проекта;

.Рассмотреть планирование и реализацию инновациоонного проекта на предприятии ООО «Газпром трансгаз Томск».

Методологической основой курсовой работы послужили Барышева А.В., Филобокова Л. Ю., Ильенкова С.Д., тематические материалы периодических изданий, таких как журнал «Трубопроводный транспорт нефти», электронный научный журнал «Нефтегазовое дело», а так же официальный сайт ООО «Газпром трансгаз Томск».

Структура данной работы включает введение, две главы, заключение и список использованной литературы.

Во введении обосновывается актуальность проблемы, отражаются цели и задачи исследования, дается краткая характеристика работы.

В первой главе представлены содержания и выды ииновациооных проектов, основные разделы инновационного проекта, основные участники, виды, содержание и принципы управления инновационными проектами, а так же методы отбора инновациооных проектов.

Во второй главе рассмотрена общая характеристика компании ООО «Газпром трансгаз Томск» и планирование инновационного проекта по разработке системы очистки сточных вод в ООО «Газпром трансгаз Томск».

В заключении подводится итог проделанной работы, определяется степь достижения поставленных задач.

I. ТЕОРЕТИЧЕСКИЕ ОСНОВЫ ИННОВАЦИОННЫХ ПРОЕКТОВ И МЕТОДОВ ИХ ОЦЕНКИ

.1 Содержание и виды планирования проектов

В управлении проектом планирование (программирование, разработка, детальной программы) занимает основное место, воплощая организующее начало процесса реализации проекта. Основная цель планирования - интеграция всех участников проекта для выполнения комплекса работ, обеспечивающих достижение конечных результатов проекта. План реализации инновационного проекта представляет собой детальный, развернутый во времени, сбалансированный по ресурсам и исполнителям, взаимоувязанный перечень научно-технических, производственных, организационных и других мероприятий, направленных на достижение общей цели или решение поставленной задачи. Таким образом, план содержит указания кому, какую задачу и в какое время решать, а также какие ресурсы нужно выделить на решение каждой задачи. Как правило, он оформляется в виде комплексной инновационной программы [6,52-54].

При управлении инновационными проектами выделяется система планов, представленная на рис. 1.1

Рис. 1.1 Виды планов инновационного проекта

Во временном разрезе (по периоду планирования) различают долгосрочные планы, период реализации которых превышает 5 лет; среднесрочные планы, с периодом реализации от 3 до 5 лет; краткосрочные планы - на период менее 3 лет. По целям различают стратегический и текущий планы реализации проекта. Стратегический план определяет целевые этапы и основные вехи проекта, характеризующиеся сроками завершения комплексов работ, поставки продукции (оборудования), подготовки фронта работ и т. д.; кооперацию организаций-исполнителей; потребности в материальных, технических и финансовых ресурсах с распределением по годам и кварталам. Основное назначение стратегического плана - показать, как промежуточные этапы реализации проекта логически выстраиваются по направлению к его конечным целям. Текущий план уточняет сроки выполнения комплексов работ и потребность в ресурсах, устанавливает четкие границы между комплексами работ, за выполнение которых отвечают различные организации-исполнители, в разрезе года и квартала.

Планы могут детализироваться по уровню проекта (степени охвата работ проекта): план проекта в целом, планы организаций-участников проекта, планы отдельных видов работ (этапов, стадий, основных вех). План проекта в целом называется сводным, или комплексным, и охватывает все работы проекта. Планы отдельных организаций-участников (поставщиков, инвесторов и исполнителей) или отдельных видов работ (план НИОКР, бюджет проекта, план поставок и т. д.) являются частными или детальными. Содержательно планы подразделяются на продуктово-тематические, объемно-календарные, технико-экономические (ресурсные) и бизнес-планы [6,14-15].

Продуктово-тематический план инновационного проекта представляет собой увязанный по ресурсам, исполнителям и срокам осуществления комплекс заданий, тем НИР и ОКР, а также работ по их обеспечению для эффективной реализации целей проекта. В процессе продуктово-тематического планирования по заданиям, включенным в проект, определяются следующие параметры: состав этапов работ и сроки их выполнения; состав ответственных исполнителей и соисполнителей по этапам; сметная стоимость каждого этапа (в том числе затраты на НИОКР, капитальные вложения, прочие затраты с разбивкой по годам); перечень важнейших материально-технических ресурсов, необходимых для реализации задания (с разбивкой по годам); расчеты экономической эффективности; карты технического уровня по новым видам продукции и технологическим процессам. Эффективными методами разработки продуктово-тематического плана являются программно-целевые методы, инструментами - дерево целей и дерево работ, а основной формой - разработка комплексной программы реализации проекта [2,39].

Объемно-календарный план инновационного проекта определяет продолжительность и объем работ, даты начала и окончания выполнения работ, тем и заданий проблемно-тематического плана, резервы времени и величины ресурсов, необходимых для реализации проекта. Цель календарных расчетов - регламентация согласованного хода работ с учетом целесообразной их последовательности и взаимосвязи по каждой теме (заданию) проблемно-тематического плана и по отдельным организациям-исполнителям (детальные календарные планы), а также по проекту в целом (сводный оптимальный календарный план). В качестве метода календарного планирования в системе управления инновационными проектами рекомендуется использовать методы сетевого планирования и управления (СПУ), получившие с начала 1960-х гг. широкое распространение в бывшем СССР. Система СПУ предусматривает детальное изучение будущих работ и представление их в виде специального чертежа - сетевого графика. Использование при календарном планировании проекта сетевых методов позволяет определить перечень наиболее ответственных работ, составляющих критический путь проекта; установить минимальное время завершения проекта; выделить работы, задачи с высоким риском; выделить слишком интенсивные периоды деятельности [12,320].

Основные процедуры и методы сетевого планирования инновационных проектов применяются в соответствии с известной общей практикой сетевого планирования и управления. Для проектов, состоящих из нескольких сотен наименований работ, качественное и оперативное выполнение функций управления вручную становится либо очень трудоемким, либо попросту невозможным. Неоспоримые преимущества ЭВМ вызвали к жизни широкий спектр специализированных систем управления проектами. В настоящее время программное обеспечение для сетевого планирования разработано практически для всех видов ЭВМ.

Технико-экономический план (ТЭП), или ресурсный план, представляет собой план ресурсного обеспечения инновационного проекта (материально-технического, интеллектуального, информационного, финансового) и определяет состав и потребность в ресурсах сроки поставок и потенциальных поставщиков и подрядчиков. В процессе ресурсного планирования подготавливаются и проводятся подрядные торги, заключаются договоры (контракты) на поставку. Договор поставки ресурсов является основополагающим документом, регламентирующим сроки, объемы и условия поставки ресурсов. Особым видом ресурсов являются денежные средства (финансы). Планирование затрат должно осуществляться таким образом, чтобы они могли удовлетворять потребности в финансовых ресурсах в течение всего срока осуществления проекта. Для этого составляется бюджет проекта[4,68-70].

Бюджет инновационного проекта - это план, выраженный в количественных показателях и отражающий затраты, необходимые для достижения поставленной цели. Общий бюджет показывает расход средств на проект по годам в течение всего периода времени его осуществления. При этом бюджет первого года с поквартальной и помесячной разбивкой определяется довольно точно, а бюджеты последних лет могут изменяться с учетом динамики цен. На общем бюджете основываются планы отдельных исполнителей. Бюджет проекта имеет двоякое значение: во-первых, это план действия, а во-вторых, инструмент для руководства и контроля. Бюджет проекта направлен на решение двух основных задач:

• обеспечение динамики инвестиций, которая позволила бы выполнить проект в соответствии с временными и финансовыми ограничениями;

• снижение объема затрат и риска проекта за счет соответствующей структуры инвестиций и максимальных налоговых льгот.

Исходной информацией для планирования затрат на проект являются сметная документация по проекту и календарный план проекта[1,54-55]. Планирование затрат при составлении бюджета проекта ведется от общего к частному, и распределение денежных средств на проект по календарным периодам осуществляется в три шага.

Шаг 1. Последовательно суммируется стоимость всех работ календарного плана и строится интегральная кривая освоения денежных средств в течение срока осуществления проекта. При этом рассматриваются альтернативные варианты планирования затрат: при ранних сроках начала работ, при его поздних сроках и усредненный, наиболее вероятный вариант распределения затрат во времени.

Шаг 2. Размер необходимых затрат в каждый временной период определяется путем суммирования стоимости работ, которые выполнены в этот период по календарному плану.

Шаг 3. Осуществляется распределение затрат во времени по каждому виду работ. При этом рассматриваются возможные варианты пользования средств: нормальный, ускоренный и замедленный.

Элементы стоимости, рассчитанные на основе калькуляций, составляемых в начале создания проекта, дают возможность сформировать бюджет по статьям затрат в целом на проект, по видам работ и исполнителям.

Различают четыре способа финансирования проекта:

• акционерное финансирование - представляет собой вложение денежных средств, оборудования и технологий;

• финансирование из государственных источников - осуществляется в рамках инвестиционных программ путем прямого субсидирования;

• лизинговое финансирование - подразумевает передачу участникам проекта (инвесторам) прав собственности на объект проектирования или его часть;

Бизнес-план инновационного проекта позволяет оценить и обосновать возможность реализации проекта в условиях конкуренции. При составлении бизнес-плана необходимо ответить на такие вопросы: Хороша ли идея плана? На кого рассчитан новый продукт (товар или услуга)? Найдет ли этот продукт своего покупателя? С кем придется конкурировать? Бизнес-план представляет собой краткий программный документ, дающий представление о целях и методах осуществления и ожидаемых результатах инновационного проекта. Он позволяет определить жизнеспособность проекта в условиях конкуренции, содержит ориентир критериев развития проекта и служит важным инструментом финансовой поддержки со стороны внешних инвесторов. Примерный состав, содержание разделов, методы и общие требования к составлению бизнес-плана инновационного проекта такие же, как и при разработке любого бизнес-плана в инновационной сфере [3,72-76].

Процесс планирования. Деятельность по разработке инновационных планов охватывает все этапы проектного управления от разработки концепции проекта до контроля исполнения календарных планов и расходования ресурсов. Основные этапы процесса планирования представлены на рис. 1.2. На этапе разработки концепции проекта формируется продуктово-тематический план проекта в форме инновационной программы. Для этого проводятся количественное уточнение цели проекта и задач по отдельным периодам (дерево целей), выбор организационно-технологических решений, продуктово-тематическая разработка проекта (дерево работ) и расчет его основных параметров.

На этапе планирования реализации инновационного проекта разрабатываются календарные и ресурсные планы. Для этого строятся частные и сводные сетевые модели комплексов работ, разрабатываются детальные и сводные календарные планы, определяется потребность в ресурсах и анализируется реализуемость проекта. На этом же этапе производится оформление документов по пакету планов и утверждение планов и бюджета. На этапе контроля хода реализации проекта осуществляется контроль за выполнением плановых заданий и при необходимости корректировка планов.

Рис. 1.2 Основные этапы процесса планирования инновационного проекта

Номенклатура показателей и глубина разработки отдельных планов изменяется в зависимости от масштаба и вида инновационного проекта. Принимаемые в процессе планирования решения должны обеспечить реализуемость проекта в заданные сроки с минимальной стоимостью и затратами ресурсов и при высоком качестве выполнения работ. Различают четыре типа оценок реализуемости проекта: логическая (учет логических ограничений на возможный порядок выполнения работ во времени), ресурсная (учет ограниченности наличных или доступных ресурсов в каждый момент времени выполнения проекта), финансовая (обеспечение положительного баланса денежных средств как особого вида ресурса), экономическая (или оптимизация комплекса работ по времени, стоимости и качеству выполнения) [13,472].

Состав стадий и этапов проекта определяется его отраслевой и функциональной принадлежностью. Основными разделами инновационного проекта являются:

содержание и актуальность проблемы (идеи);

дерево целей проекта, построение на основе маркетинговых исследований и структуризации проблемы;

система мероприятий по реализации дерева целей проекта;

комплексное обоснование проекта;

обеспечение реализации проекта;

экспертное заключение проекта;

механизм реализации проекта и система мотивации.

Любой проект от возникновения идеи до полного своего завершения проходит через определенные ряд последовательных ступеней своего развития. Полная совокупность ступеней развития образует жизненный цикл проекта. Жизненный цикл проекта принято делить на фазы, фазы - на стадии, стадии - на этапы. Стадии жизненного цикла проекта могут различаться в зависимости от сферы деятельности и принятой системы организации работ. Однако у каждого проекта можно выделить начальную (прединвестиционную) стадию, стадию реализации проекта и стадию завершения работ по проекту. Это может показаться очевидным, но понятие жизненного цикла проекта является одним из важнейших для менеджера, поскольку именно текущая стадия определяет задачи и виды деятельности менеджера, используемые методики и инструментальные средства.

Каждый проект независимо от сложности и объема работ, необходимых для его выполнения, проходит в своем развитии определенные состояния: от состояния, когда «проект еще не готов», до состояния, когда «проекта уже нет». Состояния, через которые проходит проект, называются фазами (таблица 1.1).

Между проектом и внешней средой осуществляется связь и перемещение элементов, участвующих в работе по его реализации. Внешняя среда формируется политическими, экономическими, социальными и научно-техническими факторами.

Таблица 1.1.

Содержание фаз жизненного цикла проекта

Прединвестиционная фаза проекта

Инвестиционная фаза проекта

 

Прединвестиционные исследования и планирование проекта

Разработка документации и подготовка к реализации

Проведение торгов и заключение контрактов

Реализация проекта

Завершение проекта

1. Изучение прогнозов

1. Разработка плана проектно-изыскательских работ

1. Заключение контрактов

1. Разработка плана реализации проекта

1. Пуско-наладочные работы

2. Анализ условий для воплощения первоначального замысла, разработка концепции проекта

2. Задание на разработку ТЭО и разработка ТЭО

2. Договор на поставку оборудования

2. Разработка графиков

2. Пуск объекта

3. Предпроетное обоснование инвестиций

3. Согласование, экспертиза и утверждение ТЭО

3. Договор на подрядные работы

3.Выполнение работ

3.Демобилизации ресурсов, анализ результатов

4. Выбор и согласование места размещения

4. Выдача задания на проектирование

4. Разработка планов

4. Мониторинг и контроль

4. Эксплуатация

5. Экологическое обоснование

5. Разработка, согласование и утверждение


5. Корректировка плана

5. Ремонт и развитие производства

6. Экспертиза

6. Принятие окончательного решения об инвестирорвании


6. Олата выполненных работ

6. Закрытие проекта, демонтаж оборудования


Жизненный цикл инновационного проекта начинается с фундаментальных исследований, предусматривает прикладные и опытно-конструкторские разработки. Затем начинается освоение промышленного производства новых изделий (испытания и подготовка производства)[4,98]. Затем процесс промышленного производства, где знания материализуются, и эта стадия предусматривает 2 этапа: промышленное производство и реализация продукции. За производством инноваций следует их использование конечным потребителем с предоставлением услуг по наладке, обслуживанию, обучению персонала. Каждая фаза разработки и реализации проекта имеет свои цели и задачи. Структуризация проекта представляет собой дерево ориентированных на продукт компонентов (оборудование, работы, услуги, информация), а также это организация связей и отношений между элементами. Ведь проект возникает, существует и развивается в определенном окружении, которое называется внешней средой. Состав проекта не остается неизменным в процессе его реализации и развития, в нем могут появляться новые элементы или объекты и из его состава могут удаляться. Проект как всякая система может быть разделен на элементы. При этом между ними должны определяться и поддерживаться связи [10,90-92].

Проект тесно связан с научно-техническим обеспечением, а именно достижения в предметной области проекта и привнесение ноу-хау. Проект объединяет знания и опыт по реализации определенных идей, при этом формируется зона реализации проекта, в которой принимаются решения по управлению проектом, и способствует реализации персонала проекта, который является частью трудовых ресурсов вообще. Проект ориентируется на законодательно-правовые основы, что составляет правовую зону проекта, на их основе заключаются контракты и другие правовые документы. Финансирование проекта создает финансовую зону и ориентируется на инвестиционный рынок.

Проект объединяет знания и опыт по разработке самого проекта и формирует зону разработки проекта, в которой разрабатывается вся проектная документация. Зона разработки проекта тесно взаимодействует и формирует материальное хозяйство, которое образует зону закупок и поставок. Проект объединяет опыт и методы строительства, формируя зону строительства, то есть непосредственно здания и сооружения. Зона строительства предполагает наличие участка строительства, а он образует зону землепользования.

Проект объединяет инженерные знания и опыт, формируя зону инжиниринга, которая занимается технологическим процессом, а технологический процесс ориентирован на конкретное производство и тем самым формируется производственная зона. Прединвестиционная стадия проекта тесно связана со сферой бизнеса и внешней средой. В заключительной фазе, когда уже получена продукция, проект связан с зоной сбыта и конкретно с рынком сбыта [8,300-305].

1.2 Основные участники, виды, содержание и принципы управления инновационными проектами

Реализация замысла инновационного проекта обеспечивается участниками проекта. В зависимости от вида проекта в его реализации могут принимать участие от одной до нескольких десятков (иногда сотен) организаций. У каждой из них свои функции, степень участия в проекте и мера ответственности за его судьбу. Вместе с тем все эти организации в зависимости от выполняемых ими функций принято объединять в конкретные группы (категории) участников проекта:

. заказчик - будущий владелец и пользователь результатов проекта (юридические, физические лица);

. инвестор - юридические, физические лица, которые вкладывают деньги (заказчик и инвестор могут совпадать);

. проектировщик - разработчик проекта;

. поставщик - организация, которая обеспечивает материально-техническое обеспечение;

. руководитель проекта - юридическое лицо, которому заказчик делегирует полномочия по руководству работ по проекту;

. команда проекта, создается на период работ.

Непосредственно же древообразная структура позволяет распределить общий объем работ по проекту на поддающиеся управлению независимые блоки, которые передаются под управление специалистам. Комплекс взаимосвязей между работами часто называют логической структурой проекта, поскольку он определяет последовательность выполнения работ. Структурирование помогает решить следующие задачи: разделение объекта на поддающиеся управлению блоки; распределение ответственности; оценка необходимых затрат средств, времени, материальных ресурсов; создание единой базы для планирования, составления смет и контроля за затратами; увязка работ по проекту с системой ведения бухгалтерских счетов; переход от общих целей к конкретным заданиям [12,400-401].

Этапы создание и реализации проекта:

. Формирование инвестиционного замысла (идеи);

. Исследование инвестиционных возможностей;

. Подготовка контрактной документации;

. Подготовка проектной документации;

. Строительно-монтажные работы;

. Эксплуатация объекта;

. Мониторинг экономических показателей.

Под этапом формирования инвестиционного замысла (идеи) понимается задуманный план действий. На этом этапе необходимо определить субъекты и объекты инвестиций, их формы и источники в зависимости от деловых намерений разработчика идеи.

Субъектом инвестиций являются коммерческие организации и другие субъекты хозяйствования, использующие инвестиции.

К объектам инвестиций могут быть отнесены строящиеся, реконструируемые или расширяемые предприятия, здания, сооружения (основные фонды), предназначенные для производства новых продуктов и услуг, комплексы строящихся или реконструируемых объектов, ориентированных на решение одной задачи (программы) [9,76-78].

В инвестиционном проекте используются следующие формы инвестиций: денежные средства и их эквиваленты (целевые вклады, оборотные средства, ценные бумаги, и т.п.), земля, здания, сооружения, машины и оборудование, измерительные и испытательные средства, оснастка и инструмент, любое другое имущество, используемое в производстве или обладающее ликвидностью, имущественные права, оцениваемые, как правило, денежным эквивалентом.

1.3 Исследование инвестиционных возможностей проекта

- предварительное изучение спроса на продукцию и услуги с учетом экспорта и импорта;

оценку уровня базовых, текущих и прогнозных цен на продукцию (услуги);

подготовку предложений по организационно-правовой форме реализации проекта и составу участников;

оценку предполагаемого объема инвестиций по укрупненным нормативам и предварительную оценку коммерческой эффективности;

подготовку предварительных оценок по разделам ТЭО, в частности оценку эффективности проекта;

утверждение результатов обоснования инвестиционных возможностей;

подготовку контрактной документации на проектно-изыскательские работы.

Цель исследования инвестиционных возможностей - подготовка инвестиционного предложения для потенциального инвестора (8,214-218]. Итак, инновационный проект представляет собой сложную систему взаимообусловленных и взаимоувязанных по ресурсам, срокам и исполнителям мероприятий, направленных на достижение конкретных целей и задач на приоритетных направлениях развития науки и техники. Инновационная программа - это комплекс взаимосвязанных инновационных проектов и проектов поддержки инновационной деятельности. Выделяются следующие виды инновационных проектов: конечные, промежуточные, краткосрочные, среднесрочные, монопроекты, мультипроекты, мегапроекты и другие.

.4.Методы отбора инновационных проектов

Экспертиза должна обеспечить выбор качественного инновационного проекта. Представленные инвесторам инновационные проекты, должны быть сопоставимы и подвергаться анализу с помощью единой системы показателей.

Это значит, что информационная база, точность и методы определения стоимостных и натуральных показателей по вариантам должны быть сопоставимы.

Сопоставимость представленных проектов определяется по:

объему работ, производимых с применением новых методов (технологий, оборудования и т.п.);

качественным параметрам инноваций;

фактору времени;

уровню цен, тарифов;

условиям оплаты труда.

Один из важнейших принципов менеджмента - обеспечение многовариантности мероприятий. Без анализа зарубежного опыта, опыта непосредственных конкурентов инвестиции могут уйти впустую. Следует помнить о соотношении 1:10:100:1000, где 1 доллар - «экономия» на принятии упрощенного решения на стадии его формирования, а 10, 100, 1000 - потери на последующих стадиях жизненного цикла решения. В условиях рыночной экономики вариант инновационного проекта выбирается с учетом интересов инвестора [7,84-85].

При сравнении вариантов необходимо соблюдение принципов системного подхода. Здесь требуется учесть важнейшее свойство систем - эмерджентность, которое обусловливает неравенство совокупного эффекта от комплекса мероприятий и величины эффектов от раздельного их проведения. В основе сравнения инновационных вариантов лежит принцип комплексного подхода, требующий учета всей совокупности мероприятий, которые необходимо осуществить при реализации данного варианта решения.

Одинаковые по величине затраты, осуществляемые в разное время, экономически неравнозначны. Значительная продолжительность жизненного цикла инноваций приводит к экономической неравноценности осуществляемых в разное время затрат и получаемых результатов. Это противоречие устраняется с помощью так называемого метода приведенной стоимости, или дисконтирования, т. е. приведения затрат и результатов к одному моменту. В качестве такого момента времени можно принять, например, год начала реализации инноваций.

Дисконтирование основано на том, что любая сумма, которая будет получена в будущем, в настоящее время обладает меньшей ценностью. С помощью дисконтирования в финансовых вычислениях учитывается фактор времени. Идея дисконтирования состоит в том, что для фирмы предпочтительнее получить деньги сегодня, а не завтра, поскольку будучи инвестированы в инновации, они завтра уже принесут определенный дополнительный доход. Кроме того, откладывать получение денег на будущее рискованно: при неблагоприятных обстоятельствах они принесут меньший доход, чем ожидалось, а то и совсем не поступят.

Разность между будущей стоимостью и текущей стоимостью называется дисконтом.

Коэффициенты дисконтирования рассчитываются по формуле сложных процентов:

= (1 + I) tp, (1.1)

где: I - процентная ставка, выраженная десятичной дробью (норматив дисконтирования);tp - год приведения затрат и результатов (расчетный год);- год, затраты и результаты которого приводятся к расчетному.

При условии приведения к году начала реализации инноваций имеем tp=0 и, следовательно, при положительной величине нормы процента на капитал i коэффициент дисконтирования всегда меньше единицы (в противном случае деньги сегодня стоили бы меньше, чем деньги завтра).

Метод начисления по сложным процентам заключается в том, что в первом периоде начисление производится на первоначальную сумму кредита, затем она суммируется с начисленными процентами и в каждом последующем периоде проценты начисляются на уже наращенную сумму. Таким образом, база для начисления процентов постоянно меняется. Иногда данный метод называют «процент на процент».

Чем ниже ставка процента и меньше период времени t, тем выше современная величина будущих доходов.

С помощью дисконтирования определяется чистая текущая стоимость проекта. Чистую текущую стоимость называют также «чистым приведенным доходом» (W).

Общее правило при принятии решения таково: инновации следует осуществлять, если ожидаемый уровень дохода на капитал не ниже (или равен) рыночной ставки процента по ссудам. Процент выполняет важнейшую роль в решении задачи эффективного распределения ресурсов в рыночном хозяйстве, - выборе наиболее доходного из возможных инновационных решений. Сравнение уровня дохода на капитал с процентной ставкой - это один из способов обоснования эффективности инноваций [1,65-68].

Кроме чистого приведенного дохода, для отбора инновационных проектов используют и другие показатели: срок окупаемости (Ток); период окупаемости (Пок) внутреннюю норму доходности (Вд); рентабельность (R).

Метод перечня критериев. Суть метода отбора инвестиционных проектов с помощью перечня критериев заключается в следующем: рассматривается соответствие проекта каждому из установленных критериев и по каждому критерию дается оценка проекту. Метод позволяет увидеть все достоинства и недостатки проекта и гарантирует, что ни один из критериев, которые необходимо принять во внимание не будет забыт, даже если возникнут трудности с первоначальной оценкой.

Критерии, необходимые для оценки инвестиционных проектов, могут различаться в зависимости от конкретных особенностей организации, ее отраслевой принадлежности и стратегической направленности. При оставлении перечня критериев необходимо использовать лишь те из них, которые вытекают непосредственно из целей, стратегии и задач организации, ее ориентации долгосрочных планов. Проекты, получающие высокую оценку с позиции одних целей, стратегий и задач, могут не получить ее с точки зрения других [5,341-342].

Основными критериями для оценки инвестиционных проектов являются:

цели организации, стратегия, политика и ценности;

совместимость проекта с текущей стратегией организации и долгосрочным планом;

оправданность изменений в стратегии организации (в случае, если этого требует принятие проекта);

соответствие проекта отношению организации к риску;

соответствие проекта отношению организации к нововведениям;

соответствие проекта требованиям организации с учетом временного аспекта (долгосрочный или кратко срочный проект);

соответствие проекта потенциалу роста организации и устойчивости положения организации;

степень диверсификации организации (то есть количество отраслей, не имеющих производственной связи с основной отраслью, в которой осуществляет свою деятельность организация, и их доля в общем объеме ее производства), влияющая на устойчивость ее положения;

влияние больших финансовых затрат и отсрочки получения прибыли на современное состояние дел в организации;

влияние возможного отклонения времени, затрат и исполнения задач от запланированных, а также влияние неудачи проекта на состояние дел в организации.

II. ИННОВАЦИООНЫЙ ПРОЕКТ ООО «ГАЗПРОМ ТРАНСГАЗ ТОМСК»

.1 Общая информация о компании ООО «Газпром трансгаз Томск»

ООО «Газпром трансгаз Томск» - 100 % дочернее предприятие ОАО «Газпром», обеспечивающее поставки газа потребителям в 13 регионах Сибири и Дальнего Востока. В зонах производственной деятельности Общества эксплуатируется более 9 тыс. км магистральных нефте- и газопроводов (МГ). Ежегодный объем транспортируемого предприятием газа - более 17 млрд куб. м.

В составе Общества 22 филиала, в том числе 16 линейных производственных управлений (ЛПУ) МГ, 9 компрессорных станций (КС), 1 насосно-компрессорная станция (НКС), 34 газоперекачивающих агрегата (ГПА), 133 газораспределительных станций (ГРС) и контрольно-распределительных пунктов, 11 автомобильных газонаполнительных компрессорных станций (АГНКС).

Менеджмент качества Общества соответствует требованиям стандартов СТО Газпром 9001-2006 (часть I и II), ИСО 9001:2008, ГОСТ Р ИСО 9001-2008. Обществом внедрена система экологического менеджмента ISO 14001:2004. Коллектив предприятия насчитывает более 6500 человек.

Основные виды деятельности предприятия - транспортировка природного газа и эксплуатация объектов магистральных газопроводов.

Более 400 предприятий сибирского региона являются потребителями природного газа. В их числе - Нижневартовская ГРЭС, ОАО «Томскэнерго», металлургические комбинаты Кузбасса, Кемеровский «АЗОТ», Томский нефтехимический комбинат, Сибирский химический комбинат.

«Газпром трансгаз Томск» выступило в качестве заказчика по строительству магистрального газопровода «Барнаул - Бийск - Горно-Алтайск с отводом на Белокуриху». В 2007 году подан газ городу-курорту Белокуриха (Алтайский край). В конце 2008 года природный газ пришел в Горно-Алтайск. Введены в эксплуатацию производственные объекты транспортировки газа в городе Братске (Иркутская область).

Общество отвечает за эксплуатацию магистрального газопровода «--Сахалин  Хабаровск  Владивосток <#"877457.files/image003.gif">

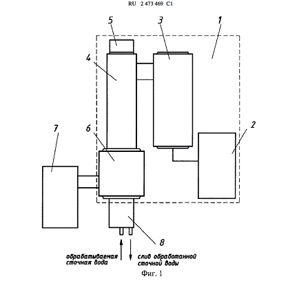
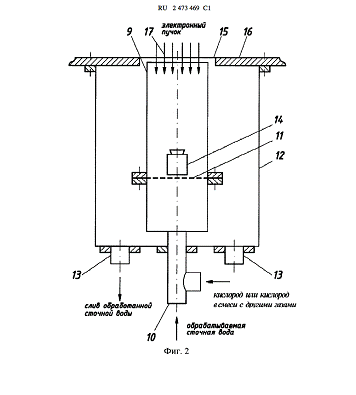
Рис 2.1 Оборудование обеззараживания промышленно-бытовых сточных вод.

Таким образом, по результатам внедрения инновационного проекта по очистке вод достигается качественная очистка и стерилизация воды. Это значительно снижает стоимость установки и делает её конкурентной по очистке и обеззараживанию вод малых и средних предприятий, а также бытовых сточных вод небольших поселков, при этом обеспечивается рациональное промышленное и экологически безопасное природопользование и в целом экологическая безопасность в регионах деятельности ОАО «Газпром» в Российской Федерации.

ЗАКЛЮЧЕНИЕ

В ходе выполнения курсовой работы поставленная цель была выполнена - описаны все этапы планирования инновационного проекта. Решены задачи курсовой работы, а именно:

) дана общая характеристика и классификация проектов.

Инновационный проект представляет собой систему стратегических и тактических задач, направленные на разработку и коммерциализацию конкретной инновации. Инновационные проекты классифицируются по структуре, по сфере деятельности, по длительности, по объему, по степени выполнимости.

Принципы управления проектами включают в себя альтернативный выбор объекта проектирования, гибкое планирование инновационного проекта, целевую ориентацию проекта на вероятностный результат инновации, полноту цикла управления проектом.

) разобраны по пунктам планирование инновационного проекта.

Создания инновационного проекта состоит из трех этапов - это: прединвестиционная, инвестиционная и эксплуатационная.

Риском инновационных проектов служит неопределенность, связанная с принятием решений, реализация которых происходит только с течением времени. А задачами управления рисками являются - обнаружение рисков; оценка; воздействие на потенциальные риски; контроль рисков.

Эффективность управление исследовательскими проектами обеспечивается путем их планирования и проведения на договорной основе. И зависит от учета фактора времени. Экономическая эффективность исследований и разработок определяется путем сопоставления затрат с достигнутыми результатами.

Взаимодействие ООО «Газпром трансгаз Томск» и НИ ТПУ по проведению прикладных НИР и созданию инновационного проекта по разработке системы очистки сточных вод является примером сотрудничества, в результате которого получен инновационный продукт - конкурентоспособная и высокоэффективная система очистки сточных вод. Появление новых организационных форм инновационной деятельности вызвано необходимостью установления тесного взаимодействия между академическо - вузовском сектором и промышленным производством, формирования наукоемких и высокотехнологичных производств, внедрения научно-технических и технологических новшеств. Инновационные структуры должны способствовать вхождению науки в рыночную среду, развитию предпринимательства в научно-технической сфере.

Импортозамещающие разработки составляют до 30% от ежегодно выполняемых работ в рамках плана НИОКР. Программы по импортозамещающим НИОКР выполненные совместно с организациями на базе государственной корпорации «Ростехнологии», Роскосмоса, институтами академии наук РФ и др.

Таким образом, основанием для применения тех или иных инноваций должно быть не только наличие технологическх проблем, но и результаты конторольных сравнений с компаниями-конкурентами. Для оперативного и стратегического управления иновациями требуется составление специальных инновационных программ по каждому направлению инновации, которые бы включали постановку задач, основные ориентиры реализации, механизмы по управлению реализацией программ, механизмы оценки успешности внедрения инноваций и их корректировки в соответствии с данными изенения внешней и внутренней среды.

СПИСОК ИСПОЛЬЗУЕМОЙ ЛИТЕРАТУРЫ

Андрейчиков, А. В. Стратегический менеджмент в инновационных организациях: системный анализ и принятие решений / А. В.

Андрейчиков, О. Н. Андрейчикова. - М. : Вуз. учебник : ИНФРА-М, 2013. - 394 с.

Афонин И.В. Инновационный менеджмент: учебное пособие. -М. Гардарики,2008. - 224с.

Балабанов И.Т. Инновационный менеджмент. - Спб.: ИД «Питер», 2012

А.В. Барышева. Инновационный менеджмент.- М.:Дашков и К,2012

Беляев Ю.М.,Инновационный менеджмент :Учебник для бакалавров - М.: Дашков и К, 2013

Вертакова, Ю.В., Симоненко, Е.С. Управление инновациями: теория и практика: учебное пособие - М.: Эксмо, 2008. - 432с.

Ермасов С.В. Финансовое стимулирование инновационной деятельности. - СПб.: СПЭА, 2009

авлин П.Н., Васильев А.В. Оценка эффективности инноваций. - СПб.: Бизнес-Пресса, 2009.

Зайцев Н.Л. Экономика промышленного предприятия: Учебник; 3-е изд., перераб. и доп. - М.: ИНФРА-М, 2011

Ильенкова С.Д., Гохберг Л.М., Мосякин В.С., Агкацева И.Э. Управление инновационным проектом [Текст]: Учебное пособие / Московский государственный университет экономики, статистики и информатики. - М., 2011. - 105с.

Кирина Л.В., Кузнецова С.А Стратегия инновационной деятельности предприятия. Сб.научных трудов. Формирование механизма управления предприятием в условиях становления рынка [Текст] / Под ред. д.э.н. Титова В.В. и Марковой В.Д., Новосибирск, 2013

МедынскийВ.Г. Реинжиниринг инновационного предпринимательства/ Медынский В.Г., Ильдеменов С.В. - М.: ЮНИТИ, 2012. - 413 с.

Синица, Л.М. Организация производства: учебное пособие. - 3-е изд. / Л. Синица. - Мн.: ИВЦ Минфина, 2010. - 521с.

Филобокова, Л. Ю. Инновационные подходы к управлению конкурентоспособностью малого предпринимательства / Л. Ю. Филобокова, О. В. Григорьева // Менеджмент в России и за рубежом. - 2013. - № 4. - С. 52-57.

<#"877457.files/image005.gif">





Похожие работы на - Планирование и реализация инновационных проектов

 

Не нашли материал для своей работы?
Поможем написать уникальную работу
Без плагиата!
Без нейросетей!