Организация работы сортировочной станции

  • Вид работы:
    Курсовая работа (т)
  • Предмет:
    Транспорт, грузоперевозки
  • Язык:
    Русский
    ,
    Формат файла:
    MS Word
    137,75 Кб
  • Опубликовано:
    2015-06-23
Вы можете узнать стоимость помощи в написании студенческой работы.
Помощь в написании работы, которую точно примут!

Организация работы сортировочной станции

Федеральное агентство железнодорожного транспорта

Федеральное государственное образовательное учреждение высшего профессионального образования

"Петербургский Государственный Университет

Путей Сообщения"

Кафедра "Управление эксплуатационной работой"





Курсовая работа по дисциплине:

Управление эксплуатационной работой

Организация работы сортировочной станции











Санкт-Петербург

г

Содержание

1. Определение объема станции

.1 Техническая оснащенность станции

.2 План формирования поездов

.3 Расписание движения поездов

.4 Объём работы станции

. Технология обработки поездов и вагонов

.1 Специализация путей станции

.2 Обработка транзитных поездов

.3 Обработка составов в парке прибытия

.4 Организация работы горки

.5 Формирование составов

.6 Обработка поездов своего формирования

.7 Обработка грузового двора

.8 Работа СТЦ

.9 Планирование поездообразования

. Ведомость разложения составов

. Расчетные нормативы на маневровую работу

.1 Расформирование составов на горке

.2 Формирование одногруппных поездов

.3 Формирование сборных поездов

.4 Перестановка составов

.5 Обработка грузового двора

.6 Обработка подъездного пути

.7 Расчетная потребность в маневровых локомотивах

. Суточный план-график

. Показатели работы станции

.1 Перечень основных показателей

.2 Простой транзитного вагона без переработки

.3 Простой транзитного вагона с переработкой

.4 Простой местного вагона

.5 Средний простой местного вагона, приходящийся на одну грузовую операцию (грузовой простой)

.6 Коэффициент сдвоенных операций

.7 Норма рабочего парка вагонов

.8 Вагонооборот

.9 Коэффициент загрузки локомотивов

. Определение себестоимости и переработки вагонов

.1 Объём работы станции

.2 Расходы по обработке вагонопотоков

.3 Калькуляция себестоимости

Список литературы

станция поезд состав маневровый

1. Определение объема станции

 

.1 Техническая оснащенность станции


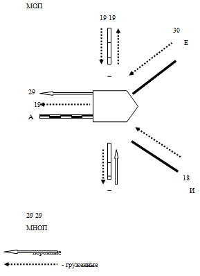
Станция С является односторонней сортировочной станцией с последовательным расположением парков прибытия, сортировочного и отправления. Она расположена в пункте слияния трех линий: однопутных Е - С, И - С и двухпутной А - С (рис. 1). В парке прибытия имеется шесть путей для приема поездов в расформировании с направлений А, Е, И. Сортировочный парк состоит из четырёх пучков по четыре пути в каждом. Между парком прибытия и сортировочным расположена двухпутная автоматизированная сортировочная горка. Парк отправления состоит из восьми путей, предназначенных для отправления поездов своего формирования на все направления и обработки транзитных поездов. Пути отправления соединены с сортировочным парком двумя вытяжными путями.

На станции расположены локомотивное депо и пункт технического осмотра и ремонта вагонов. К парку отправления примыкает грузовой двор и подъездной путь завода. Для обслуживания пассажиров станция располагает пассажирским зданием и двумя пассажирскими платформами. Пассажирское здание расположено со стороны жилого массива города.

 

.2 План формирования поездов


Поезда формируются по назначениям плана формирования, который задается станции. План формирования для станции С приведен в табл. 1. Согласно этому плану станция формирует на три направления (А, Е, И) поезда 12 назначений. при среднем составе поезда 54 вагона имеем 33 поезда в сутки, причем 27 поездов в направлении А (7 назначений), 3 поезда в направлении Е (3 назначения) и два поезда в направлении И (2 поезда).

Таблица 1


1.3 Расписание движения поездов


В расписании указывается время проследования пассажирских поездов, прибытия и отправления транзитных без переработки, прибытия поездов в расформирование и отправления своего формирования. Станция С принимает в расформирование 33 поезда, с направления Е -17 поездов, с И - 10 поездов, с А-6 поездов, и пропускает без переработки 21 поезд, 13 поездов на на Е и 8 поездов на И.

 

.4 Объём работы станции


Под объёмом работы станции понимается количество вагонов различных категорий, перерабатываемых и пропускаемых станцией за сутки (транзитные без переработки, транзитные с переработкой, местные). Весь поток поступающий на станцию и уходит со станции в составах поездов соответствующих направлений и назначений. На основании плана формирования (см. таб. 1), данных расписания о количестве транзитных прибывающих в расформирование поездов (см. таб. 3 и 4) можно составить схему поездопотоков в грузовом движении (рис. 1).


Таблица 5

 От На

В направлении

Местные (выгрузка)

Итого


А

Е

И



А

-

216

108

-

324

Е

888

-

-

30

918

И

522

-

-

18

540

Местные(погр.+порожн.)

48

-

-

-

48

Итого

1458

216

108

48

1830


Суточный объём работы станции с перерабатываемыми и местными вагонами показан в отдельной таблице (таб. 5) .

По данным таблицы 4 строится диаграмма перерабатываемых и местных вагонопотоков станции С (рис.3).

Рис.2.Диаграмма вагонопотоков

Рис.3. Диаграмма местного вагонопотока.

2. Технология обработки поездов и вагонов

 

.1 Специализация путей станции


Специализация должна обеспечивать безопасность движения и способствовать ускорению операций по приему и отправлению и маневровой работы. Главные пути специализируются по направлениям движения. пути парков прибытия и отправления специализируются по направлениям поездопотоков. Для транзитных поездов выделяют крайние пути парка, чтобы не мешать маневровой работе.

Пути сортировочного парка специализируются по назначениям плана формирования и направлениям вагонопотоков

Таблица 6

Наименование путей и парков

Номера путей

Специализация путей

Вагоно-поток

Главные пути  

I II III IV

Для пропуска нечетных пассажирских с Е, И на А Для пропуска четных пассажирских с А на Е, И Для пропуска поездных локомотивов Для приема четных в расформирование с А; для отправления транзита и своего формирования на Е, И

── ── ──  ──

Парк прибытия   

1 2 3 4 5 6

Прием грузовых с направлений Е Прием грузовых с направлений Е Прием грузовых с направлений И Ходовой Прием поездов в расформирование с напр. А Прием поездов в расформирование с напр. А

── ── ── ── ──

Сортировочный

1 2 3 4 5 6 7 8 9 10 11 12 13 14 15 16

Для вагонов в адрес ГД Сборный на участок СГ Участковый на Д Участковый на И Участковый на Г Сквозной на А1 Сквозной на Б Резервный Сквозной на В Сквозной на А Сквозной на А2 Сборный на участок СД Сквозной на Е Сборный на участок СИ Диспетчерский Для вагонов в адрес п/п (завода)

19 54 54 54 108 270 216 - 270 270 270 54 108 54 - 29

Парк отправления

1,2,3 4 5,6 7,8

Отправление на А Ходовой Отправление на Е, И Прием и отправление транзитных поездов на Е,И

 ─ ── ── ──

Прочие пути

19 20,21, 22,23 24 25 26 27 1а 1б 1в 1г

Ходовой Соединительный Соединительный Выгрузочный Погрузочный Выставочный Вытяжной Путь надвига Путь надвига Путь надвига Путь надвига

── ── ── ── ── ── ── ── ── ── ──


2.2 Обработка транзитных поездов


Станция С пропускает транзитные поезда без переработки в четном направлении (с А на Е, И). Техническое обслуживание вагонов выполняется на ПТО, которые располагаются в парке приема и в парке отправления.

Количество бригад ПТО: в парке приема - 1 бригада; в парке Отправления - 2 бригады.

Количество групп в бригаде ПТО: по заданию - 2 группы

Порядок прохода работников ПТО при осмотре состава показан на рис. 4.

Рис.4 Порядок осмотра состава.

Продолжительность технического обслуживания tпто, мин зависит от количества вагонов в составе:


Параллельно с ТО проводится осмотр вагонов в коммерческом отношении группой приемщиков поездов, состоящей не менее чем из двух человек. После прицепки локомотива снимается закрепление состава и машиниста производит пробу тормозов, получает от осмотрщика-автоматчика справку о тормозах и ожидает отправление по расписанию.

Рис.5.Технологический график обработки транзитного поезда

2.3 Обработка составов в парке прибытия


Поезда, поступающие в расформирование на станцию С со всех направлений, принимаются в парк прибытия. Согласно специализации путей, поезда со стороны Е принимаются на 1, 2-й пути, со стороны И - на 3-й путь, 4-й путь ходовой, со стороны А на 5, 6-й пути..

Технологический график обработки состава в парке прибытия приведем на рис.6

Рис. 6 Технологический график обработки состава в парке прибытия

 

.4 Организация работы горки


Расформирование составов производится на сортировочной горке.

Горка оборудована техническими средствами для управления роспуском составов:

горочной автоматической централизацией (ГАЦ);

системой автоматического регулирования скорости скатывания отцепов (АРС);

тремя позициями вагонных замедлителей;

горочным программно-задающим устройством (ГПЗУ);

системой автоматического задания скорости роспуска (АЗСР);

радиосвязью с маневровыми локомотивами;

громкоговорящей связью;

информационной связью с ИВЦ.

Работой горки руководит дежурный по горке (ДСПГ). Системой АРС обеспечивается автоматическое регулирование скорости скатывания отцепов в зависимости от их веса, начальной скорости отрыва и дальности следования на путях сортировочного парка. При этом осуществляется автоматическое тормозное нажатие шинами вагонных замедлителей на каты вагонов. От силы нажатия замедлителей снижается скорость скатывания отцепов до необходимой величины. За роспуском следит горочный оператор.

Горочный локомотив выполняет при расформировании состава следующие операции: заезд, надвиг, роспуск, осаживание.

Из продолжительности этих операций складывается горочный цикл.

Время на каждую из них, в соответствии с [3] рассчитывается исходя из скорости и расстояния передвижения.

Заезд. Под заездом понимается следование локомотива от горба горки по сигналам МГ-1, МГ-2 в тупик за сигнал М-8, а затем по этому сигналу на соответствующий путь под состав. Продолжительность заезда определяют по следующей формуле, мин:


где - расстояние от горба горки за сигнал обгонного тупика в нечетной горловине парка прибытия, м, =1950 м (по заданию);

- длина нечетной горловины парка прибытия, м;

- средняя скорость заезда, км/ч; =10…30 км/ч, примем =25 км/ч;

- время на перемену движения маневрового локомотива, мин; =0,15мин;

Надвиг - это процесс передвижения состава вагонами вперед с пути приёма на путь надвига до горочного сигнала на горбу горки. Реальная скорость при этом колеблется в пределах 6…12 км/ч. Продолжительность надвига можно определить по формуле, мин:


где - расстояние от предельного столбика в горочной горловине парка прибытия до горба горки, м, =400м (по заданию);

- средняя скорость надвига, км/ч; = 6…12км /ч, примем =8 км/ч;

Роспуск - это процесс сортировки вагонов с горки. Продолжительность можно определить по формуле, она зависит от величины состава поезда и числа отцепов в составе, мин:


где  - число вагонов в составе, = 54 (по заданию);

- среднее количество отцепов в составе, =19 (по заданию);

- средняя длина вагона, =15,0м;

- средняя скорость роспуска состава, которая принимается в зависимости от среднего количества вагонов в отцепе; при числе вагонов в отцепе 2,3 и =54 ваг, =23,5 отцепа. При этом = 7,7 км/ч, из табл. П.2.1.;

Осаживание. При роспуске состава отцепы с разными ходовыми свойствами останавливаются на путях сортировочного парка в разных местах, так как прицельное торможение не обладает абсолютной точностью. Поэтому периодически необходимо осаживать вагоны в сторону горловины сортировочного парка со стороны горки или подтягивать с противоположной стороны. Согласно [2], затраты времени на эту операцию, приходящиеся на один расформированный состав, могут быть найдены по формуле, мин:


Суммируя найденные элементы получим продолжительность занятия горочного локомотива по расформированию одного состава, мин:


Рис.6. График работы горки.

Как видно из рис. 6, продолжительность горочного цикла (период между двумя осаживаниями через три состава) равна в данном случае 57 мин. За этот период расформировано три состава, следовательно, горочный интервал:

мин

При работе одного локомотива на горке горочный интервал численно равен занятости локомотива по расформированию одного состава. Перерабатывающая способность горки равна:


где - перерывы в работе горки из-за враждебности маршрутов (120 мин); - смена маневровой бригады (20 мин).

Фактически на горке перерабатывается с учетом местных 1830 вагонов (см. табл.5). Следовательно, расформированием составов горка занята 49% всего резерва времени за сутки.

 

.5 Формирование составов


Составы формируются на вытяжных путях в хвостовой горловине сортировочного парка. В парке два вытяжных пути, к которым примыкает по девять сортировочных путей. На каждой вытяжке может работать один локомотив. Стрелками управляет дежурный по парку ДСПП с поста электрической централизации. После накопления вагонов любого назначения на состав составитель через ДСПП получает команду от маневрового диспетчера (ДСЦ) на формирование состава. Продолжительность формирования поездов всех категорий рассчитывается по методике, приведенной в разд.4.

2.6 Обработка поездов своего формирования


Поезда своего формирования обрабатываются в парке отправления. Составы готовых поездов поступают из сортировочного парка на пути отправления согласно специализации. В парке отправления с составами этих поездов проводятся следующие операции:

Параллельно с этими операциями обрабатываются грузовые документы в СТЦ. К моменту окончания обработки состава документы должны быть в парке отправления.


Рис. 7 Технологический график обработки состава своего формирования в парке отправления.

 

2.7 Обработка грузового двора


Под обработкой грузового двора понимаются операции по подаче груженых на пути выгрузки, перестановке на грузовых фронтах, уборке груженых или порожних вагонов с грузовых фронтов.

В адрес местных вагонов станции С, поступает 48 вагонов, из которых 19 уходят под выгрузку на грузовой двор (ГД). Освободившиеся на грузовом дворе вагоны грузятся назначением на Е. Грузовой двор обслуживается локомотивом станции с первой вытяжки сортировочного парка. При поступлении вагонов в адрес ГД на первый путь сортировочного парка локомотив сцепляет их и по первой вытяжке, используя 27-ой путь, подает на 24-й путь под выгрузку.

2.8 Работа СТЦ


Производственный процесс переработки вагонов на сортировочной станции протекает по двум технологическим линиям: обработка вагонов непосредственно на путях и обработка грузовых документов и информации в СТЦ.

По прибытии поезда на станцию СТЦ получает номера вагонов с поста списывания в порядке их расположения в составе, которые сверяются с ранее полученными в телеграмме-натурке. Получив документы, старший оператор размечает их согласно плану формирования и специализации сортировочных путей. В течение смены оператор СТЦ следит за накоплением вагонов на путях сортировочного парка, ведет учет веса и длины состава, используя данные из АСУСС. В процессе перестановки сформированного состава в парк отправления производится списывание вагонов оператором поста списывания в хвостовой горловине сортировочного парка.

2.9 Планирование поездообразования

Планирование работы станции по переработке вагонопотоков производится в ИВЦ. План рассчитывается по четырехчасовым периодам. расчет поездообразования основывается на информации о подходе поездов и вагонов, а также о наличии поездов, вагонов и локомотивов на станции. в ИВЦ постоянно передается информация в виде телеграмм-натурок о поступающих на дорогу поездах в адрес соответствующих станций.

на базе этой информации в ИВЦ рассчитывается план поездообразования на станции С. В плане указывается:

прибытие поездов в расформирование

прибытие резервных локомотивов

порядок роспуска и накопления составов на станции

план отправления поездов своего формирования с указанием номеров поездов и локомотивов

время уборки местных вагонов.

3. Ведомость разложения составов


Для построения суточного плана-графика работы станции необходимо знать количество вагонов по назначениям плана формирования в каждом составе, прибывающем в расформирование. Вследствие неравномерности вагонопотоков число вагонов и их расположение в составах поездов не бывают одинаковыми. Поэтому для построения суточного плана-графика разрабатывается модель разложения вагонов в составах, близких к средним условиям, основанная на математической статистике.

 

4. Расчетные нормативы на маневровую работу

 

.1 Расформирование составов на горке


Продолжительность расформирования состава на сортировочной горке складывается из суммы двух затрат времени - надвига и роспуска, которые определены во втором разделе настоящего пособия:

мин

 

.2 Формирование одногруппных поездов


Формирование- это комплекс маневровых операций по расстановке вагонов в составе ПТЭ (устранение неподхода центров автосцепки, постановка прикрытия, сцепление вагонов и подтягивание их к предельному столбику соответствующего пути). Поэтому продолжительность формирования зависит от среднего количества расцепок в составе, которые необходимо сделать для расстановки вагонов по ПТЭ, а также от величины состава, мин:


где - нормативные параметры, зависящие от числа расцепок , мин; - технологическое время на сцепление и подтягивание вагонов, мин;

Значение параметров  и приводятся в специальной таблице [3] в зависимости от числа расцепок в составе, в методическом указании.

При  

 

4.3 Формирование сборных поездов


Формирование сборного поезда заключается в выполнении двух основных операций: сортировки вагонов, накопленных на одном пути, для подборки их по группам и сборки групп в соответствии с географическим расположением промежуточных станций на участке. Продолжительность формирования сборного поезда состоит из затрат времени на сортировку и сборку вагонов, мин:


Согласно [3] эти элементы равны:


где  - число групп объединения состава.

Подставив эти выражения в формулу получаем:


где - нормативные параметр, зависящие от способа сортировки (осаживание или толчки), вида маневровой работы (расформирование или формирование), уклона вытяжки и типа локомотива (тепловоз, электровоз); значения параметров даются в [3];

- среднее число отцепов в составе;

- число станций, на которых производится работа сборного поезда на участке, т.е. число групп формирования.

 

.4 Перестановка составов


После окончания формирования состав переставляется в парк отправления для дальнейшей обработки и снаряжения в путь. Продолжительность операций по перестановке зависит от расстояния перестановки, числа вагонов в составе и состоит из затрат времени на следующие элементы:

следование состава в парк отправления;

отцепку локомотива и обгон;

возвращение локомотива на вытяжной путь парка формирования.

Продолжительность полурейс, зависящие от длины полурейсов, мин, определяется согласно[3]:


где - нормативные параметры, зависящие от длины полурейса, типа локомотива и состояния вагонов. Продолжительность полурейсов перестановки можно определить по[3, табл. 5.1-5.4], прил.2, табл. П.2.4, П.2.5. в методическом указании.

Расчет продолжительности перестановки с использованием [3] приведен в табл. 7.

Технологические затраты времени на перестановку состава из сортировочного парка в парк отправления:


Таблица 7

 Наименование полурейсов

Маршрут следования

Длина полурей-са

Продолжительность полурейсов

 Примечание


от

до


заезд

перестановка


Следование с пути сортировочного парка в парк отправления

 Предельный столбик

Сигнал Н-1

1980

 -

8,59

Табл. П.2.4 Рабочий полурейс

Отцепка локомотива и следование в обгонный тупик

Сигнал Н-1

Сигнал М-9

350

1,61

-

Холостой полурейс

Следование локомотива на вытяжной путь

Сигнал М-9

Сигнал М-20

2120

8,71

-

Холостой полурейс

Итого

-

-

-

10,32

8,59

-


4.5 Обработка грузового двора


Под обработкой грузового двора понимается ряд операций, связанных с обслуживанием погрузочно-разгрузочных фронтов на грузовом дворе. К таким операциям относятся: подача вагонов под выгрузку или погрузку, перестановка порожних от фронта выгрузки к фронтам погрузки, уборка груженных или порожних от фронтов погрузки, выгрузки. Продолжительность каждой из этих операций складывается из затрат времени на отдельные передвижения (полурейсы) и элементы.

Подача вагонов под погрузку. Вагоны в адрес грузового двора поступают в процессе роспуска на первый путь сортировочного парка согласно специализации путей. С этого пути они подлежат подаче на 24-й путь, где имеются три фронта выгрузки, крытый пакгауз, платформа для навалочных грузов и платформа для выгрузки техники. Поэтому перед подачей вагоны нужно подформировывать в порядке расположения грузовых фронтов.

Продолжительность подачи складывается из затрат времени на следующие элементы:

подформирование на вытяжке;

следование на 27-й путь;

следование на путь выгрузки;

расстановка вагонов по фронтам выгрузки;

следование локомотива обратно на 27-й руть;

следование локомотива на вытяжной путь.

Продолжительность подформирования определяется, мин:


где  - нормативные параметры, согласно [3], мин., А =0,34мин, Б=0,30 мин.;

- число грузовых фронтов на данном грузовом пункте, =3;

- среднее число отцепов при подформировании группы вагонов (даётся в задании на проект), =1,5;

- среднее число вагонов в одной подаче, ваг., =19 ваг;


здесь - суточный размер вагонопотока, поступающего на грузовой двор;

- среднее число подач за сутки; определяется в зависимости от выбранного порядка грузового двора: по графику (несколько раз в сутки), по готовности и наличию вагонов к подаче, по заявке приемосдаточного грузового двора.

На расстановку вагонов к местам выгрузки отводится по одной минуте на один вагон. В это время входят операции по осмотру места выгрузки, подкладка тормозного башмака под вагоны, расцепка вагонов. Поэтому затрата времени в минутах на расстановку вагонов под выгрузку или погрузку будет численно равна количеству физических вагонов в одной подаче.

Расчет общей продолжительности подачи вагонов на грузовой двор сводится в табл.8.

Таблица 8

Наименование операций и полурейсов

Длина полурейса

Число ванов

Продолжи-тельность, мин

Примечание

Подформирование

-

10

10

По формуле

Следование за сигнал М-11

1097

10

4,8

Табл. П.2.4.

Следование на ГД

420

10

2,45

Табл. П.2.6.

Следование по 24 пути

200

10

3,06

Табл. П.2.7.

Расстановка вагонов

-

10

10

-

Следование локомотива за сигнал М-11

420

-

1,66

Табл. П.2.6.

Следование локомотива в сортировочный парк на вытяжку

930

-

4,11

Табл. П.2.4.

Общая затрата времени

-

-

36,08

-

 

Таким образом продолжительность подачи гружённых вагонов на ГД составляет около 36 минут; её можно округленно подразделить на следующие элементы, мин:

Перестановка порожних вагонов. После выгрузки на 24-м пути вагоны подлежат перестановке на 25-й путь под погрузку. Продолжительность этой операции рассчитывается в табл. 9.

Таблица 9

Наименование операций и полурейсов

Длина полурейса

Число вагонов

Примечание

Следование локомотива за сигнал М-11

720

-

2,31

Табл. П.2.4.

Следование локомотива на 24-й путь

420

-

1,66

Табл. П.2.6.

Осмотр и сцепление вагонов

-

10

10

-

Следование за сигнал М-11

???

10

2,81

Табл. П.2.6

Следование на ГД

420

10

2,45

Табл. П.2.6

Следование по пути 25

210

10

3,54

Табл. П.2.7.

Расстановка вагонов под погрузку

 -

10

10

-

Следование локомотива за сигнал М-11

420

-

1,66

Табл. П.2.6

Следование локомотива на вытяжной путь

720

-

3,31

Табл. П.2.4.

Общая затрата времени

-

-

37,74

-


Из полученных значений в табл.9 мы видим что продолжительность перестановки составляет около 38 мин, который распределяются следующим образом, мин:


Уборка вагонов с грузового двора. После окончания грузовых операций на ГД по запросу старшего приемосдатчика вагоны выводятся с путей погрузки (выгрузки) и направляются на путь сортировочного парка согласно специализации. В данном примере ГД грузит вагоны в адрес станции Е (см. табл.5). Поэтому груженные вагоны необходимо после уборки с ГД направить на 12-й путь сортировочного парка, где накапливаются вагоны этого назначения (см. табл.6). Среднее число вагонов в одной уборке принимается равным числу поданных (), так как, согласно заданию, вагоны, выгруженные на ГД, тут же подлежат погрузке. Количество уборок будет - 19/102. Продолжительность уборки вагонов рассчитана в табл.10.

Таблица 10

Наименование операций и полурейсов

Длина полурейса

Число ванов

Продолжи-тельность, мин

Примечание

Следование локомотива за сигнал М-11

720

-

3,31

Табл. П.2.4.

Следование локомотива на 25-й путь

420

-

1,66

Табл. П.2.6.

Осмотр и сцепление вагонов на 25-м пути

-

10

10

-

Следование состава за сигнал М-11

537

10

2,81

Табл. П.2.6

Следование состава вагонами вперед на 12-й путь

1080

10

4,89

Табл. П.2.4.

Следование локомотива на вытяжной путь

210

-

1,21

Табл. П.2.4.

Общая затрата времени

 -

10

23,88

-


Здесь продолжительность уборки согласно табл.10, составляет около 24 мин., это время можно разделить на элементы, мин:


Таким образом, при обработке грузового двора время затрачивается на следующие операции, мин:


4.6 Обработка подъездного пути


Станция С работает работает с подъездным путём завода на основе ЕТП (единого технологического процесса). Порядок уборки и подачи вагонов в адрес завода определяется договором на эксплуатацию подъездного пути. Подача вагонов в адрес завода на пути необщего пользования будет осуществляться 2 раза в сутки равнозначными подачами. В адрес завода ежедневно поступает 29 вагонов (см.табл.5), тогда получаем 29/2. Подача осуществляется через парк отправления с осмотром вагонов и включением автотормозов. Продолжительность обработки группы вагонов определяется технологическим процессом ПТО и принимается не менее 10мин. Локомотив станции подает груженные и убирает порожние вагоны. Маневровые операции внутри цехов осуществляет собственный локомотив завода.

Продолжительность обработки подъездного пути приведена в табл.11

Таблица 11

Наименование операций и полурейсов

Длина полурейса, м

Число ваго-нов

Скорость следова-ния, км/ч

Продолжи-тельность, мин

Прим.

1. Сцепление вагонов на 18 пути

-

15

-

15

По 1 мин на ваг.

2. Перестановка в парк отправления

1155

15

-

4,89

табл.п.2.4

3. Осмотр вагонов, проба тормозов, получение документации

-

15

-

10

По нормам ПТО

4. Следование на завод

6625

15

30

13,25

По расчету

5. Приём и сдача вагонов

-

29

-

29

По 1 мин на ваг.

6. Следование с завода в парк прибытия

3150

15

30

6,3

 По расчету

7.Осажинваие порожних вагонов на 15-й путь

1570

15

-

6,49

табл.п.2.4

8. Следование локомотива по собственному пути на вытяжку

3300

-

-

6,6

табл.п.2.4

Общая продолжительность

-

-

-

91,53

-



4.7 Расчетная потребность в маневровых локомотивах


Ориентировочная потребность в маневровых локомотивах, занятых на формировании поездов и облуживании пунктов местной работы станции, определяется по формуле:


где - суммарная затрата локомотиво-минут в течение суток;

- продолжительность экипировки маневрового локомотива, мин;

- затрата времени на смену бригад, мин;

- технологические перерывы, мин;

Продолжительность экипировки можно принимать от 90 до 120 мин, смена бригад производится два раза в сутки, продолжительность смены - не более 20 мин, технологические перерывы - до 90 мин.

Подсчет суммарной затраты локомотиво-минут производится в табл. 12.

Таблица 12

Наименование маневровых работ

Продолжительность, мин.

Число операций

Итого локомотиво-минут

Формирование одногруппных

15

30

450

Формирование сборных

45

3

135

Перестановка составов

19

33

627

Обработка грузового двора: Подача груженых вагонов Перестановка порожних Уборка груженных

 36 38 24

 2 2 2

 72 76 48

Обработка подъездного пути

92

2

184

Итого

-

-

1592


Итого для работы по формированию поездов и обработке пунктов местной работы два локомотива. Всего на станции в данном должны работать три локомотива: один на горке и два в хвостовой горловине сортировочного парка.

 

5. Суточный план-график


5.1 Исходные данные

Суточный план-график является технологическим документом, определяющим основные параметры работы станции. на плане-графике показываются:

занятие путей парков прибытия и отправления

работа горки, вытяжных путей, маневровых локомотивов

график подхода поездов в расформирование, отправление поездов своего формирования, транзитных и пассажирских поездов

накопление вагонов на путях сортировочного парка работа с местными вагонами

На основании суточного плана-графика определяются основные технические показатели и нормативы работы станции.

Суточный план-график составляется на основе следующих данных:

а) графика движения поездов

б) разложения составов поездов, прибывающих в расформирование

в) технологических норм на обработку составов и вагонов

г) нормативов на маневровую работу

Для построения суточного плана-графика затраты времени на отдельные маневровые элементы округляются до величин, удобных для изображения на графике. Округление производится в большую или меньшую сторону в пределах общей продолжительности данной операции. С учетом этого затраты времени приведены в табл. 13.

Таблица 13

Расформирование на горке: заезд надвиг и роспуск осаживание после трех составов

 6 10 12

Формирование составов: одногруппных сборных перестановка в парк отправления

 15 45 19

Подача на грузовой двор: подформирование следование на путь выгрузки расстановка вагонов холостой рейс обратно

 10 10 10 6

Перестановка на грузовом дворе: холостой рейс на ГД перестановка порожних холостой рейс обратно

 8 25 5

Уборка вагонов с грузового двора: холостой рейс на ГД сборка вагонов на ГД следование в парк

 5 10 9

Обслуживание подъездного пути: сцепление и перестановка вагонов парк отправления подача на завод приемосдаточные операции на заводе уборка с завода

 30 13 29 20

 

6. Показатели работы станции

 

6.1 Перечень основных показателей


По данным суточного плана-графика определяются следующие основные технические показатели работы станции:

простой транзитного вагона без переработки tтр;

простой транзитного вагона с переработкой tпер;

простой местного вагона tм;

грузовой простой (простой на одну грузовую операцию) tгр;

коэффициент сдвоенных операций kсд;

норма рабочего парка вагонов п;

вагонооборот Uоб;

коэффициент загрузки маневровых средств α.

Порядок перечисленных показателей приводится далее.

6.2 Простой транзитного вагона без переработки


Расчет простоя этой категории вагонопотока приведен в табл. 14.

 ч.

Таблица 14

№ поезда

Время, ч, мин

Число вагонов в составе

Продолжи-тельность обработки, ч

Вагоно-часы простоя


прибытия

отправления




2002

00-10

00-49

54

0,65

35,1

2004

01-05

01-44


0,65

35,1

2702

02-45

03-24


0,65

35,1

2704

05-15

05-54


0,65

35,1

2706

06-50

07-29


0,65

35,1

2006

07-20

08-59


0,65

35,1

2708

09-25

10-04


0,65

35,1

2008

10-25

11-04


0,65

35,1

2010

10-55

11-34


0,65

35,1

2012

11-50

12-29


0,65

35,1

2014

12-40

13-19


0,65

35,1

2016

13-10

13-49


0,65

35,1

2710

15-50

16-29


0,65

35,1

2018

16-10

16-49


0,65

35,1

2020

17-15

17-54


0,65

35,1

2712

18-55

19-34


0,65

35,1

2022

19-25

20-04


0,65

35,1

2024

10-10

20-49


0,65

35,1

2714

20-30

21-09


0,65

35,1

2716

22-15

22-54


0,65

35,1

2026

22-30



35,1

Итого

-

-

1134

-

737,1

 

.3 Простой транзитного вагона с переработкой


Простой транзитного вагона с переработкой состоит из следующих элементов:

ожидание прибытия tопр;

обработки по прибытии tпр;

расформирование на горке tрасф;

накопление tнак;

ожидание формирования ;

формирование и перестановка tф;

ожидание обработки по отправлениюtоо;

обработка по отправлению tот;

, ч

Затраты вагонно-часов на обработку вагонов в подсистеме "парк прибытия - горка" и расчет среднего простоя вагона по элементам , , tор,  входящим в формулу, рекомендуется свести в табл. 15.

Таблица 15

№ поез-да

Число вагонов в составе

Продолжительность, ч

Вагоно-часы



ожидание обработки+ обработки

ожидании роспуска

расфор-мирования

В ожидании обработки + обработки

В ожидании роспуска

Расфор-мирования

2324

54

0,48

-

0,32

26,4

-

17,1

3454


0,90

-

0,32

49,5

-

17,1

3421


0,48

-

0,32

26,4

-

17,1

2513


0,48

-

0,32

26,4

-

17,1

2425


0,65

-

0,32

35,75

-

17,1

3402


0,48

-

0,32

26,4

-

17,1

2427


0,80

-

0,32

44

-

17,1

2429


0,53

-

0,32

29,15

-

17,1

2515


0,48

-

0,32

26,4

-

17,1

2401


0,48

-

0,32

26,4

-

17,1

2302


0,96

-

0,32

52,8

-

17,1

2501


0,61

-

0,32

33,55

-

17,1

2403


0,85

-

0,32

46,75

-

17,1

2405


0,48

-

0,32

26,4

-

17,1

2407


0,48

-

0,32

26,4

-

17,1

2503


0,48

-

0,32

26,4


17,1

2409


0,48

-

0,32

26,4

-

17,1

2304


0,48

-

0,32

26,4

-

17,1

2411


0,48

-

0,32

26,4

-

17,1

2413


0,48

-

0,32

26,4

-

17,1

3201


0,55

-

0,32

30,25

-

17,1

2415


0,48

-

0,32

26,4

-

17,1

3002


0,48

-

0,32

26,4

-

17,1

2505


0,48

-

0,32

26,4

-

17,1

2507


0,48

-

0,32

26,4

-

17,1

3101


0,55

-

0,32

30,25

-

17,1

2417


0,48

-

0,32

26,4

-

17,1

2509


0,48

-

0,32

26,4

-

17,1

2419


0,48

-

0,32

26,4

-

17,1

2306


0,96

-

0,32

52,8

-

17,1

2421


0,48

-

0,32

26,4

-

17,1

2511


0,80

-

0,32

44

-

17,1

2308


0,48

-

0,32

26,4

-

17,1

Итого

1782

-

-

-

1029,6

-

564,3


По данным табл. 17 находим:

а) ;

б) ;

в)

Затраты вагоно-часов на накопление и средний простой вагона под накоплением определяются по безномерному способу, как это показано в таблице 16.

Таблица 16.

Часы суток

Число вагонов

Вагоно-часы


Поступило в сортировочный парк

закончено накопление


Остаток

-

-

418

18-19

54+15

162

325

19-20

108

162

271

20-21

54

54

271

21-22

54-9

54

262

22-23

108

54

316

23-00

108

0

424

 00-01

54

54

424

 01-02

108

162

370

 02-03

108

108

370

 03-04

54

54

370

 04-05

108+9

54

433

 05-06

54

108

379

 06-07

54-10

54

396

 07-08

54

54

369

 08-09

108

0

477

 09-10

54-15

162

354

 10-11

54+14

108

 11-12

54+10

54

324

 12-13

54

54

324

 13-14

108

108

324

 14-15

54

108

270

 15-16

108

54

324

 16-17

54

0

378

17-18

54-14

0

418

Итого

1782

1782

8487


;

Затрата вагоно-часов на ожидание формирования, формирование и перестановку, а также среднее время нахождения вагонов под этими операциями определяется в табл. 17.

Таблица 17.

Номера поездов своего формирования

Число вагонов в составе

Продолжительность, ч

Вагоно-часы



Ожидание формирования

Формирование и перестановка

Ожидания формирования

Формирования и перестановки

2047

54

0

0,57

0

30,78

2049


0

0,57

0

30,78

3005


0,08

0,57

4,32

30,78

3202


1,58

0,57

85,32

30,78

2051


0,67

0,57

36,18

30,78

2404


2,5

0,57

135

30,78

2057


0,95

0,57

51,3

30,78

2055


0,25

0,57

13,5

30,78

2001


0

0,57

0

30,78

2005


0

0,57

0

30,78

2007


0

0,57

0

30,78

2402


2,76

0,57

149,04

30,78

2009


0,9

0,57

48,6

30,78

3001


0,37

0,57

19,98

30,78

2011


0,53

0,57

28,62

30,78

2013


0,63

0,57

34,02

30,78

2015


0

0,57

0

30,78

2009


0

0,57

0

30,78

3452


4,7

1,07

253,8

57,78

2021


1,7

0,57

91,8

30,78

3422


0,75

1,07

40,5

57,78

3401


1,15

1,07

62,1

57,78

2027


0

0,57

0

30,78

2029


0,57

0,57

30,78

30,78

2031


0,82

0,57

44,28

30,78

3102


0,63

0,57

34,02

30,78

2033


0,45

0,57

24,3

30,78

2035


0

0,57

0

30,78

2037


0,42

0,57

22,68

30,78

2039


0,28

0,57

15,12

30,78

2041


0,53

0,57

28,62

30,78

3003


1,3

0,57

70,2

30,78

2043


0,97

0,57

52,38

30,78

Итого

1782

-

-

1376,46

1096,74


;

.

Аналогично рассчитываются затраты вагоно-часов в ожидании операций по отправлению, на ожидание обработки по отправлению, обработку и в ожидании отправления, а также средний простой вагона под этими операциями. Расчет сведем в таблицу 18.

Таблица 18

Номера поездов своего формирования

Число вагонов в составе

Продолжительность, ч

Вагоно-часы



ожидание обработки+обработки

Ожидании отправления

Ожидания обработки по отправлению

В ожидании отправления

2047

54

0,65

0,07

35,1

3,78

2049


0,78

0

42,12

0

3005


0,65

0

35,1

0

3202


1,17

0

63,18

0

2051


0,65

0

35,1

0

2404


0,65

0

35,1

0

2057


1,53

0

82,62

0

2055


0,65

0

35,1

0

2001


1,27

0,37

68,58

19,98

2005


0,65

0,2

35,1

10,8

2007


0,65

0,13

35,1

7,02

2402


0,65

0

35,1

0

2009


0,65

1,02

35,1

55,08

3001


0,65

0

35,1

0

2011


0,65

0

35,1

0

2013


0,65

0

35,1

0

2015


0,65

0

35,1

0

2009


0,65

0

35,1

0

3452


1,85

0

99,9

0

2021


0,65

0

35,1

0

3422


0,65

0

35,1

0

3401


0,65

0

35,1

0

2027


1,02

0

55,08

0

2029


0,9

0

48,6

0

2031


0,97

52,38

0

3102


0,65

0

35,1

0

2033


0,65

0

35,1

0

2035


0,65

0

35,1

0

2037


0,65

0

35,1

0

2039


0,65

0

35,1

0

2041


0,65

0

35,1

0

3003


0,65

0

35,1

0

2043


0,65

0

35,1

0

Итого

1782

-

-

1389,96

96,66

;


Подставив найденные величины в формулу, получим средний простой транзитного вагона с переработкой:

 0,6+0 +0,32+4,8+0,8+0,6+0,8+0,6 = 8,5ч

На основании предыдущих расчетов строится график расчлененного простоя транзитного вагона с переработкой.

Рис.График расчлененного простоя транзитного вагона с переработкой

 

.4 Простой местного вагона


Продолжительность нахождения местных вагонов на станции определяется с момента прибытия до отправления. За этот отрезок времени вагоны проходят те же операции, что и транзитные, связанные с обработкой их на грузовых фронтах. Причем часть вагонов может выгружаться и в порожнем состоянии отправляться со станции. такие вагоны проходят одну грузовую операцию. Другая часть вагонов может после выгрузки подаваться под погрузку. Эта часть вагонов проходит сдвоенные операции. Такие вагоны согласно заданию прибывают в адрес грузового двора.

Простой вагонов с одной грузовой операцией можно определить по формуле, ч:

,

где tпер - простой транзитного с переработкой;

t′под - продолжительность подачи вагонов в адрес подъездного пути завода;

tвыгр - затрата времени на выгрузку;

t′у - продолжительность уборки вагонов с подъездного пути завода;

t′прсд - затрата времени на приемосдаточные операции на путях завода;

 - ожидание подачи;

 - ожидание уборки.

Из перечисленных элементов неизвестными являются два последних ( и ). Остальные из предыдущих расчетов:

tпер = 8,5 ч;

t′под = 43 мин=0,7 ч;

tвыгр = 2,5 ч (по заданию) ;

t′прсд = 29 мин = 0,5 ч.

t′у = 20 мин = 0,3 ч;

Таблица 19

Число вагонов

Продолжительность,ч

Вагоно-часы

в подаче

в группе

ожидания подачи

ожидания уборки

в ожидании подачи

в ожидании уборки

15

1

12,5

5,12

12,5

76,8


1

12


12



2

11,01


22,02



1

8


8



2

7,4


14,8



1

5,6


5,6



1

4,4


4,4



2

3,7


7,4



1

2,2


2,2



3

-


-


14

3

5,5

13,8

16,5

193,2


2

4,2


8,4



3

3,7


11,1



2

3,8


7,6



1

2,6


2,6



2

1,5


3



1

-


-


 итого

29

-

-

138,12

270


Определим неизвестные элементы по данным из суточного плана-графика, где указана продолжительность ожидания подачи на 18-м пути сортировочного парка каждой группой вагонов, прибывших в адрес завода, а также продолжительность уборки с завода после окончания выгрузки:


Подставим найденные и известные значения элементов простоя в формулу и найдем простой местного вагона с одной грузовой операцией:


Простой вагона с двумя грузовыми операциями (прибывающими в адрес грузового двора) можно найти по формуле, ч:


Из числа элементов, входящих в формулу, известны:

tпер = 8,5 ч;

t″под = 36 мин = 0,6 ч;

tвыгр = 2,5 ч( по заданию);

t″перест = 38 мин = 0,6ч;

tпогр = 2 ч ( по заданию);

t″у = 24 мин = 0,4 ч;

Таблица 20

Число вагонов

Продолжительность ожидания, ч

Вагоно-часы ожидания

в подаче

в группе

подачи

перестан-овки

уборки

подачи

перестановки

уборки

10

1

6,3

-

-

6,3

-

-


2

5,2



10,4




3

2,2



6,6




1

0,75



0,75




3

-



-



9

1

11,6

-

1,4

11,6

-

12,6


2

7,8



15,6




1

6,95



6,95




2

6,3



12,6




1

5,2



5,2




1

0,95



0,95




1

-



-



итого

19

-

-

-

76,95

-

12,6

Из табл. 22 получаем:

;

 ч;

 ч.

Подставляя найденные ранее известные элементы в формулу, находим простой местного вагона со сдвоенными грузовыми операциями:


Простой местного вагона в целом по станции составит, ч:

.

Подставляя имеющиеся данные в формулу, находим простой местного вагона


График расчлененного простоя местного вагона приведен на рисунке ниже.

График расчлененного простоя местного вагона.


6.5 Средний простой местного вагона, приходящийся на одну грузовую операцию (грузовой простой)


Грузовым простоем называется затрата времени, приходящаяся на одну грузовую операцию, ч:

,

где ∑Utм - суммарные вагоно-часы простоя местных вагонов;

Uп, Uв - объем погрузки и выгрузки соответственно, вагоны;

 ч.

 

6.6 Коэффициент сдвоенных операций


Коэффициентом сдвоенных операций называется отношение количества грузовых операций к числу местных вагонов:

;

 ч.

6.7 Норма рабочего парка вагонов


Норму рабочего парка вагонов определяют по формуле, ваг.-сут:

,

 ваг.-сут.

6.8 Вагонооборот


Суммарное количество принятых и отправленных вагонов всех категорий за сутки называется вагонооборотом станции, ваг.:

;

 

6.9 Коэффициент загрузки локомотивов


,

где ∑МТманн - суммарная затрата локомотиво-минут за сутки;

Млок - число маневровых локомотивов;

Рассчитаем коэффициент по трем локомотивам (горочному и двум в сортировочном парке для формирования поездов):

;

7. Определение себестоимости и переработки вагонов

 

7.1 Объём работы станции


Деятельность станции определяется годовым производительно-финансовым планом. Финансирует станцию отделение дороги в соответствии с выполненным объемом работы на основе расчетных цен за единицу продукции, куда входит и себестоимость как составная часть. Для расчета себестоимости необходимо знать объём работы за определенный период и расходы по обработке вагонов.

Продукцией сортировочной станции являются отправленные вагоны по категориям: транзитные без переработки, транзитные с переработкой, местные. Расчет месячного объёма работы по данным категориям вагонопотоков приводится в табл. 21.

Таблица 21

Категории вагонопотоков

Суточное отправление

Местный объем работы


поездов

Вагонов


Транзитные без переработки

20

1100

33000

Транзитные с переработкой

32

1715

51450

Местные

-

45

1350

Всего отправлено

52

2860

85800


7.2 Расходы по обработке вагонопотоков


Расходы складываются из двух основных частей: общего фонда заработной платы и расходов на маневровую работу.

Общий фонд зарплаты в свою очередь складывается из зарплаты основного контингента работников станции, накладных расходов (зарплаты АУР, соцстраха, отопления, освещения, материалов) и начислений на зарплату (премии, прогрессивные, замещение отпускных и пр.). Накладные расходы и начисления определяются по заданному проценту от основного фонда зарплаты.

Зарплата основного контингента зависит от штатного расписания станции и должностных окладов. Расчет основного контингента работников станции и основного фонда зарплаты приведен в таблице 22

Таблица 22

Профессия

Контингент

Месячный фонд зарплаты, руб.



на одного

на всех

Маневровый диспетчер

4

50000

200000

Дежурный:




 по горке

4

30000

120000

 по станции

8

30000

240000

 по парку

4

30000

120000

Сигналист

8

25000

200000

Составитель

12

25000

300000

Помощник составителя

13

20000

260000

Старший оператор СТЦ

9

30000

180000

Оператор СТЦ

14

30000

420000

Старший приемщик поездов

9

30000

180000

Приемщик поездов

18

20000

360000

Оператор при диспетчере

5

32000

160000

Оператор при работе ДСЦ

5

32000

160000

Оператор при работе ДСП

9

32000

288000

Работники ПТО

9

20000

180000

5

20000

100000

Старший приемщик груза

5

20000

100000

Приемосдатчик груза

9

20000

180000

Основной фонд зарплаты

-

-

3748000


Расчет общего фонда зарплаты приведен в таблице 23

Таблица 23

Статья расходов

Процент отчислений

Месячный фонд, руб.

Основной фонд зарплаты

-

3748000

Накладные расходы

20

749600

Начисление на зарплату

20

749600

Общий фонд зарплаты

-

5247200


Расходы на маневровую работу определяются исходя из себестоимости маневрового локомотива-часа. Эти расходы перечисляются станцией на расчетный счет локомотивного депо. Расчет расходов по маневровым локомотивам приведен в таблице 24

Таблица 24

Локомотивы

Число локомотивов

Число часов работы в сутки

Стоимость локом.-ч., руб

Расходы, руб





За сутки

За месяц

Горочный

1

24

1500

36000

1080000

Маневровый

1

24

1500

36000

1080000

Маневровый

1

24

1500

36000

1080000

итого

3

72

-

108000

3240000


7.3 Калькуляция себестоимости


Зная расходы и объем выполненной работы (продукции), можно определить себестоимость одного отправленного вагона по видам обработки. Калькуляция себестоимости приведена в таблице 25.

Таблица 25

Категория вагонопотков

Число вагонов за месяц

Норма времени на обработку, ч

Коэффициент приведения по трудоемкости

Приведенные вагоны

Доля приведенных вагонов

Сумма расходов, руб.

Себестоимость, руб.







зарплата

Маневровые локомотивы

Всего


Транзитный без переработки

34200

0,54

1

34200

0,09

472248

-

472248

13,81

Транзитный с переработкой

51060

3,2

5,93

302786

0,80

4197760

2737800

6935560

135,83

Местный

1140

19,4

35,93

40961

0,11

577192

502200

1079392

972,43

итого

86400

-

-

377947

1,00

5247200

3240000

8487200

98,23


Все основные технические и экономические показатели сводятся в итоговую таблицу (таблица 26).

Таблица 26

Показатели

Единицы измерения

Число едениц

Отправленный транзитный поезд

поезд

21

Поезд принятый в формирование

-

33

Поезд своего формирования

-

33

Отправленный транзитный вагон без переработки

Вагон

1134

Отправленный транзитный вагон с переработкой

-

1734

Отправленный местный вагон

-

48

Вагонооборот

-

5832

Погрузка

-

19

Выгрузка

-

48

Простой транзитного вагона без переработки

Ч

0,65

Простой транзитного вагона с переработкой

-

8,5

Простой местного вагона

-

24,05

Грузовой простой

-

22,7

Коэффициент сдвоенных операций

-

1,4

Норма рабочего парка

Ваг.-сут.

692

Коэффициент использования маневрового локомотива

-

0,4

Использование перерабатывающей способности горки

%

49

Себестоимость отправленного вагона в том числе:

Руб.

98,23

 Транзитного

-

13,81

 Транзитного с переработкой

-

135,83

 Местного

-

972,43


Список литературы


1. Технология переработки вагонопотоков на сортировочой станции: Учебное пособие / В.И.Бадах, М.В.Стрелков, И.А.Мокейчева, А.С.Аль-Шумари.- СПб.:ПГУПС,2003.- 69с.

. Управление эксплуатационной работой на железнодорожном транспорте. Том 2.

Похожие работы на - Организация работы сортировочной станции

 

Не нашли материал для своей работы?
Поможем написать уникальную работу
Без плагиата!
Без нейросетей!