Машини та апарати хімічних та нафтопереробних виробництв

  • Вид работы:
    Книга / Учебник
  • Предмет:
    Другое
  • Язык:
    Украинский
    ,
    Формат файла:
    MS Word
    2,01 Мб
  • Опубликовано:
    2015-12-25
Вы можете узнать стоимость помощи в написании студенческой работы.
Помощь в написании работы, которую точно примут!

Машини та апарати хімічних та нафтопереробних виробництв

МІНІСТЕРСТВО ОСВІТИ І НАУКИ УКРАЇНИ

НАЦІОНАЛЬНИЙ ТЕХНІЧНИЙ УНІВЕРСИТЕТ УКРАЇНИ

“Київський Політехнічний Інститут”

Кафедра машин та апаратів хімічних та нафтопереробних виробництв








КОНСПЕКТ ЛЕКЦІЙ

Машини та апарати хімічних та нафтопереробних виробництв

Виконала:

ст. Ражик Н. В. о група ХД-31, ХТФ е

Перевірив: Новохат О. А.









Київ 2015

Розділ І. «Вентилятори, компресори, насоси, машини для переміщення рідин та газів»

.1 Гвинтовий компресор

Рисунок І.1 Схема гвинтового компресора

, 2 - ротори; 3 - корпус.

Будова. Гвинтовий компресор має два ротори 1 і 2 з паралельними осями, що обертаються в корпусі 3. Ротор 1 являє собою циліндр з декількома зубцями (зазвичай 3-4), розташованими на циліндрі по гвинтовій лінії. На роторі 2 є заглиблення, також розташовані по гвинтовій лінії, і які відповідають по формі зубцям ротора 1.

Принцип дії. При обертанні ротора 1 гвинтові зуб’я входять в зціплення з заглибленнями на роторі 2 і витісняють газ, що знаходиться в порожнинах, обмежених поверхнями роторів і корпуса.

Переваги:

Компактність;

Чистота газу.

Швидкохідність.

Недоліки:

Складність виготовлення гвинтових роторів;

Великий шум при роботі.

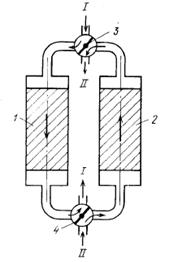
.2 Одноступінчатий відцентровий насос

Рисунок І.2. Схема відцентрового насосу

- всмоктуючий трубопровід; 2 - робоче колесо; 3 - корпус; 4 - лопатки; 5 - нагнітальний трубопровід

Призначення. Для більшості хімічних підприємств, де необхідні властивості вказані в перевагах.

Принцип дії. В відцентрових насосах всмоктування та нагнітання рідини відбувається рівномірно та безперервно під дією відцентрової сили, що виникає при обертанні робочого колеса з лопатками, що міститься в спіралеподібному корпусі.

В одноступінчастому відцентровому насосі (див. рис. І.1) рідина зі всмоктуючого трубопроводу 1 поступає вздовж вісі робочого колеса 2 в корпус 3 насосу та, попадаючи на лопатки 4, набуває обертального руху. Відцентрова сила відкидає рідину в канал змінного перерізу міх корпусом та робочим колесом, в якому швидкість рідини зменшується до значення, рівного швидкості в нагнітальному трубопроводі 5. При цьому, як слідує з рівняння Бернуллі, відбувається перетворення кінетичної енергії потоку рідини в статичний напір, що забезпечує підвищення тиску рідини. На вході в колесо створюється понижений тиск, і рідина з приємної ємкості безперервно поступає в насос.

Тиск, що розвивається відцентровим насосом, залежить від швидкості обертання робочого колеса. Внаслідок значних зазорів між колесом та корпусом насосу розрідження, що виникає при обертанні колеса, недостатньо для підйому рідини по всмоктуючому трубопроводу, якщо він і корпус не залитті рідиною. Тому перед пуском відцентровий насос заливають рідиною, що перекачується. Щоби рідина не виливалася із насосу та всмоктуючого трубопроводу при заливці насосу чи при короткочасних його зупинках, на кінці всмоктуючої труби, зануреному в рідину, встановлюють зворотній клапан, оснащений сіткою (на рисунку не показаний).

Напір одноступінчастих відцентрових насосів обмежений і не перевищує 50 м.

Переваги:

Висота всмоктування відцентрових насосів значно вища, аніж поршневих, так як відсутні втрати на подолання сил інерції.

Відцентрові насоси компактні та мають безпосередній привід від двигуна. Відносно низька вартість їх виготовлення та встановлення.

Велика продуктивність при відносно невеликому напорі.

Гарна пристосованість для перекачування рідин, що містять тверді взвішенні речовини, так як в цих насосах відсутні клапани, що легко засмічуються.

Недоліки. Необхідність заливання лінії всмоктування перед пуском рідиною, а якщо тиск всередині насосу стане рівним тиску парів рідини при даній температурі, то в ньому відбувається інтенсивне пароутворення, виділення розчиненого в рідині повітря і відрив рідини від лопаток колеса. Наступає явище кавітації, спряжене з різким падінням продуктивності та ККД насосу і виникненням ударів, що руйнують колесо і корпус насосу. Для запобігання кавітації необхідно правильно підбирати висоту всмоктування, знижувати температуру рідини і створювати підпір при перекачуванні гарячої рідини.

.3 Водокільцеві компресори

Рисунок І.3 Схема ротаційного водокільцевого компресора (а) і схема його установки для відкачування газів (б)

- корпус; 2 - ротор; 3 - всмоктуючий отвір; 4 - нагнітальний отвір; 5 - бачок; 6 - переливна труба для заповнення вакуум-насосу рідиною

Призначення. Для отримання помірного розрідження (до 90-95%) і переміщення агресивних, вибухонебезпечних і вологих газів і парів на хімічних підприємствах, а також в якості газодувок і вакуум-насосів.

Принцип дії. Перед пуском компресор заповнюється приблизно на половину водою, яка при обертанні ротору відкидається до периферії і утворює водяне кільце, співвісне з корпусом компресора і ексцентричне по відношенню до ротору. Кількість рідини, що заливається в компресор, повинна бути такою, щоби кінці всіх лопаток були занурені в водяне кільце. Між лопатками ротору і водяним кільцем утворюються комірки, об’єм яких за час першої половини оберту ротору збільшується, а за час другої половини -зменшується. Газ засмоктується в комірки, об’єм яких зростає, через отвір 3 в торцевій кришці компресора. При подальшому обертанні ротору газ стискається внаслідок зменшення об’єму комірок і в кінці оберту виштовхується в нагнітальний отвір 4 в кришці компресора. Пристрій оснащений бачком 5 і переливною трубою 6 для заповнення компресора водою.

В компресорах такого типу рідинне кільце грає по суті роль поршня; за допомогою кільця змінюється об’єм робочих камер. Тому ці компресори називаються також компресорами з рідинним поршнем.

Переваги. Володіють перевагами відцентрових машин в порівняні з поршневими (див одноступінчасті відцентрові насоси).

Недоліки. Ротаційні водокільцеві компресори створюють дуже невеликий надлишковий тиск, мають менший ККД за поршневі компресори.

.4 Одноступінчасті турбогазодувки

Рисунок І.4. Схема турбогазодувки

- корпус; 2 - робоче колесо; 3 - напрямний апарат; 4 - всмоктуючий патрубок; 5 - нагнітальний патрубок

Призначення. Турбогазодувки застосовуються там, де є підвищені вимоги до чистоти газу, не забрудненого мастилом. Вони розповсюджені в виробництві сірчаної кислоти, синтетичного аміаку, азотної кислоти, кисню тощо.

Будова. В корпусі 1 турбогазодувки обертається робоче колесо 2 з лопатками, подібними лопаткам відцентрового насосу.

Принцип дії. Колесо зазвичай розміщують всередині напрямного апарату 3, в якому відбувається перетворення кінетичної енергії газу в потенційну енергію тиску. Напрямний апарат являє собою два кільцевих диска, з’єднаних між собою лопатками з нахилом, протилежним нахилу лопаток робочого колеса. Газ поступає в турбогазодувку через патрубок 4 виходить з нагнітального патрубка 5.

Ступінь стиснення в турбогазодувках не перевищує 3-3,5, тому газ в турбогазодувках не охолоджують.

Переваги. Відрізняються компактністю, простотою будови, рівномірністю подачі, відсутність інерційних зусиль і швидкохідність дозволяють монтувати турбогазодувки на більш легких фундаментах з безпосереднім приєднанням до приводу (як правило, до газової чи парової турбіни), або через підвищуючу число обертів передачу до електродвигуна, так як швидкість обертання електродвигуна часто недостатня.

Недоліки. Турбогазодувки за значенням ККД значно поступаються поршневим.

.5 Монтежю

Рисунок І.5. Схема монтежю

- корпус; 2-6 - крани; 7 - труба для перетискування

Призначення. Для перекачування забруднених, хімічно агресивних та радіоактивних рідин.

Будова. Монтежю являє собою горизонтальний чи вертикальний резервуар 1, в якому для перекачування рідини використовується енергія стисненого повітря чи інертного газу. Монтежю працює періодично.

Принцип дії. Рідина поступає в монтежю по трубі наповнення через відкритий кран 2, для чого відкривають кран-повітряник 3 (якщо наповнення відбувається під атмосферним тиском) чи кран 4, що з’єднує монтежю з вакуум-лінією (якщо наповнення відбувається під вакуумом). При перетисканні рідини закривають крани 2,3 і 4 й відкривають кран 6 на нагнітальній трубі 7 і кран 5 для подачі стисненого газу, тиск якого контролюється по манометру. Після випорожнення монтежю закривають крани 5 і 6 та відкривають кран 3 для сполучення монтежю з атмосферою.

Переваги. Відсутність в монтежю рухомих частин, які швидко руйнуються із-за стирання та корозії. Це і обумовлює область застосування монтежю.

Недоліки. Громіздкість, вимога постійного спостереження та низький ККД - не вище 15-20%. Низька продуктивність періодично працюючих монтежю (до 45 м3/год), а подача рідини при безперервній роботі відбувається нерівномірно.

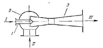
.6 Струйні насоси

Рисунок І.6 Схема струйного насосу

Принцип дії. В струйних насосах для переміщення рідин і створення напору використовують кінетичну енергію іншої рідини, яку називають робочою. В якості робочих рідин зазвичай застосовують пару чи воду. Робоча рідина І поступає з великою швидкістю із сопла І через камеру змішування 2 в дифузор 3, захоплюючи за рахунок поверхневого тертя рідину, що перекачується ІІ. В найбільш вузькій частині дифузора, виконаного у вигляді труби Вен тури, швидкість суміші робочої та перекачуємої рідини досягає найбільшого значення, а статичний тиск потоку, в відповідності з рівнянням Бернуллі, стає найменшим. Перепад тисків в камері змішування та дифузорі забезпечує подачу рідини ІІ в камеру змішування із всмоктуючої лінії. В частині дифузора, що розширюється, швидкість потоку зменшується, але збільшується потенційна енергія тиску, і рідина під напором поступає в нагнітальний трубопровід.

Переваги.

. Простота конструкції.

. Можуть бути виготовлені з хімічно стійких матеріалів.

Недоліки.

. Низький ККД;

Використання можливе тільки в тому випадки, якщо робоча рідина і перекачувана рідина можна змішувати.

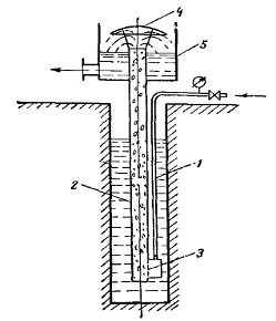
1.7 Повітряні підйомники (ерліфти)

Рисунок І.7 Повітряний підйомник

- труба для подачі стисненого повітря; 2 - змішувач; 3 - підйомник; 4 - відбійник; 5 - приймач

Призначення. Повітряні підйомники застосовують для підйому самих різноманітних рідин, в тому числі і кислот.

Принцип дії. Дія повітряного підйомника заснована на принципі сполучених посудин, заповнених рідинами з різною густиною.

Якщо в трубу 3, заповнену рідиною, через трубу 1 меншого діаметру ввести знизу під тиском повітря, то його пузирі будуть насичувати рідину, остання внаслідок зменшення густини піднімається по трубі 3 і повітряно-рідина суміш на виході з неї буде огинати відбійник 4. При цьому із суміші виділяється повітря, а рідина поступає в приймач 5. Для того щоб, забезпечити задану висоту підйому рідини, необхідний деякий надлишковий тиск, що відповідає глибині занурення Н підйомної труби 3.

Стиснене повітря подається зазвичай від компресора по трубі 1 в підйомну трубу 3 через змішувач 2, який для уникнення витікання стисненого повітря встановлюють на 1-1,5 м вище нижнього краю труби 1.

Після початку роботи такого насосу на відкачуванні води із свердловини рівень рідини понижується від статичного горизонту а-а до динамічного b-b; відповідно зменшується глибина занурення змішувача до величини Н.

Переваги. Основною перевагою повітряного підйомника в порівняні являється простота пристрою та відсутність любих механізмів і рухомих частин. Окрім цього, повітряні підйомники працюють в умовах підвищених температур, тобто тоді, коли відцентрові насоси не можуть всмоктувати рідини.

Недоліки. Повітряні підйомники мають порівняно низький ККД (не більше 25-35%) та малу продуктивність, вимагають наявності компресорної станції для стисненого повітря і повинні встановлюватися із значним заглибленням. Для того щоб зменшити заглиблення, застосовують багатоступеневі повітряні підйомники, але це пов’язано із збільшенням витрати повітря.

.8 Пластинчасті компресори

Рисунок І.8 Схема ротаційного пластинчастого компресора,B,C,D,E - нерівні за об'ємом камери; 1 - корпус; 2 - ротор; 3 - ковзаючі пластини

Принцип дії. В корпусі 1 компресора, обертається ротор 2, ексцентрично розташований відносно внутрішньої поверхні корпуса. Пластини 3 вільно переміщуються в пазах ротора і при його обертанні викидаються відцентровою силою із пазів. Ця ж сила щільно притискає пластини до внутрішньої поверхні корпуса. Таким чином, серповидний робочий простір між ротором і корпусом розділяється за допомогою пластин на ряд нерівних по об’єму камер.

Газ поступає із всмоктуючого патрубка і заповнює порожнини камер.

В камері, що знаходиться в положенні В, всмоктування припиняється (так як вона відділена від всмоктуючого простору) і починається стиснення газу. При обертанні камери вправо об’єм її зменшується і газ, що знаходиться в ній, стискається. Стиснення газу закінчується, коли камера досягає положення С. В цьому положенні порожнина камери сполучається з нагнітальним трубопроводом, після чого відбувається нагнітання газу. В положенні D газ повністю витісняється з робочої камери. Зазор між ротором і циліндром в нижній частині утворює мертвий простір Е. від положення D до положення А відбувається розширення газу в мертвому просторі. В точці А починається всмоктування газу. Згодом цикл повторюється.

Переваги:

Призначений для в'язких рідин, що не містять твердих домішок;

Можливість використання насоса при високому тиску.

Недоліки:

Невеликі подачі рідини (не вище 5-6 м3/мин.).

1.9 Осьові вентилятори

Рис. І.9 Схема осьового вентилятора

- корпус;

- робоче колесо;

- лопатки;

- рама.

Призначення. Осьові вентилятори застосовуються для переміщення великих кількостей газу при незначному опорі мережі.

Будова. Такий вентилятор має корпус 1 в вигляді короткої ділянки циліндричної труби, в якій розміщено робоче колесо 2 - пропелер з лопатками 3, вигнутими по гвинтовій поверхні. Вентилятор кріпиться в рамі 4.

Принцип дії. При обертанні робочого колеса лопатки захоплюють газ і переміщують його вздовж вісі колеса.

Переваги. Внаслідок низького опору, виявляємим вентилятором рухомому потоку газу, і незначності втрат на тертя о лопатки, ККД осьових вентиляторів значно вищий, ніж у відцентрових.

Недоліки. Напір, що розвивається осьовими вентиляторами, в 3-4 рази менший, ніж у відцентрових.

1.10 Одногвинтові насоси


Рис. І.10 Схема одногвинтового (героторного) насосу

- корпус;

- циліндр;

- гвинт;

- всмоктуючи порожнина;

- напірний трубопровід.

Призначення. Ці насоси можуть бути використані для перекачування забруднених і агресивних рідин, розчинів і пластмас з високою в’язкістю, якщо їх обойми виготовлені із різноманітних корозійностійких матеріалів.

Будова. В корпусі 1 насосу, в якому міститься циліндр 2 з внутрішньою профільованою гвинтовою поверхнею, що називається обоймою, встановлюється однозахідний гвинт 3.

Принцип дії. Між обоймою і гвинтом утворюються замкнені порожнини, що заповнюються при роботі рідиною; при обертанні гвинта вони переміщуються вздовж вісі насосу.

В довільному перерізі насосу, в тому числі і в перерізі, що відповідає входу рідини в насос, при обертані гвинта об’єм порожнини 4 не залишається постійним, змінюючись від 0 до деякого максимального значення (при певному куті повороту гвинта). Із збільшенням об’єму порожнини 4 відбувається всмоктування рідини, яка захоплюються гвинтом і переміщується в осьовому напрямку до напірного трубопроводу 5.

Переваги. Ці насоси значно економніші за відцентрові насоси малої продуктивності, якщо тиск нагнітання перевищує 10 ат.

Недоліки. Область застосування одно гвинтових (героторних) насосів обмежена продуктивністю 3,6-7 м3/год та тиском 10-25 ат.

РОЗДІЛ II. «Теплообмінні апарати»

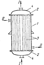
.1 Кожухотрубний одноходовий теплообмінник

Рисунок 2.1 Кожухотрубчастий одноходовий теплообмінник

- корпус; 2 - трубні решітки; 4 - кришки; 5 - перегородки в кришках;

- перегородки в міжтрубному просторі

Призначення. Це найбільш часто використовуваний поверхневий теплообмінник. Раціонально використовувати, коли швидкість процесу визначається величиною коефіцієнта тепловіддачі в міжтрубному просторі, а також в процесі випаровування рідин.

Принцип роботи. В кожухотрубчастому теплообміннику одне з середовищ, що обмінюються теплом, рухається всередині труб (в трубному просторі) - 1, а інша 2 - у міжтрубному просторі. Середовища направляють противотоком одне до одного. При цьому середовище, що нагрівається, спрямовують знизу вгору, а середовище, що віддає тепло - згори вниз. Цей напрям співпадає з напрямом, в якому прагне рухатись дана рідина під впливом зміни її густини при нагріванні чи охолодженні, а також дає більш рівномірне розподілення швидкостей і ідентичні умови теплообміну по площі поперечного перерізу апарату. В протилежному випадку, наприклад, при подачі рідини, що нагрівається, зверху, більш нагріта, а значить і більш легка частина рідини, може збиратися у верхній частині апарату, утворюючи так звані «застійні» зони. При порівняно невеликих витратах рідини її швидкість в трубах одноходових теплообмінників невелика, а значить, коефіцієнти тепловіддачі невеликі. Для збільшення останніх при даній поверхні теплообмінника можна збільшити висоту (довжину) труб, зменшивши їх діаметр.

Переваги. Дозволяють отримувати достатньо високі швидкості в трубах при великих об'ємних витратах рухомого в них середовища.

Недоліки. Низькі коефіцієнти тепловіддачі, при порівняно невеликих витратах рідини.

.2 Кожухотрубний теплообмінник з лінзовим компенсатором

Рисунок 2.2 Кожухотрубний теплообмінник з лінзовим компенсатором

І, ІІ - різні середовища, 1 - корпус, 2 - трубні решітки, 3- труби, 4 - кришки, 5 - компенсатор

Призначення. Для зменшення температурних деформацій, обумовлених великою різницею температур труб і кожуха(> 50), çíà÷íîþ äîâæèíîþ òðóá. ð³çíèöÿõ òåìïåðàòóð òðóá ³ êîæóõà > 50, îñê³ëüêè òàê³ òåïëîîáì³ííèêè íåæîðñòêî¿ êîíñòðóêö³¿ äîïóñêàþòü äåÿêå ïåðåì³ùåííÿ òðóá â³äíîñíî êîæóõà àïàðàòà.

Ïåðåâàãè. Ïðîñòîòà êîíñòðóêö³¿.

Íåäîë³êè. Çàñòîñóâàííÿ ëèøå ïðè íåâåëèêèõ íàäëèøêîâèõ òèñêàõ â ì³æòðóáíîìó ïðîñòîð³.

 

.3 Êîæóõîòðóáíèé òåïëîîáì³ííèê ç U-ïîä³áííèìè òðóáàìè

 

Рисунок 2.3 Кожухотрубний теплообмінник з U-подібними трубами

І, ІІ - різні середовища, 1 - корпус, 2 - трубна решітка, 3 - кришки, 4 - перегородки до кришок, 5 - U-подібні труби

Призначення. При різницях температур труб і кожуха, більше 500С, або при значній довжині труб, застосовують кожухотрубні теплообмінники нежорсткої конструкції, яка допускає деяке переміщення труб відносно кожуха апарата.

Принцип роботи. В кожухотрубному теплообміннику з U-подібними трубами самі труби 5 виконують функцію компенсуючих пристроїв. При цьому спрощується та полегшується конструкція апарата, який має лише одну нерухому трубну решітку.

Переваги. Спрощена конструкція, зовнішня поверхня труб може бути легко очищена при виїмці всієї трубчатки з корпуса апарата. Крім того, в теплообмінниках такої конструкції, які є дво- або багатоходовими, досягається досить сильний теплообмін.

Недоліки. Важкість очистки внутрішньої поверхні труб, важкість розміщення великої кількості труб в трубній решітці.

.4 Кожухотрубний теплообміник з подвійними трубами

Рисунок 2.4 Кожухотрубчастий теплообмінник з подвійними трубами

,3 - трубна решітка; 2 - внутрішні труби; 4 - зовнішні труби

Призначення. Застосовуються в контактно-каталітичних та реакційних процесах.

Принцип роботи. З одної сторони апарата розміщено дві трубні решітки, причому в решітці 1 закріплений пучок труб 2 меншого діаметра, відкритих з обох кінців, а в решітці 3 - труби 4 більшого діаметра з закритими лівими кінцями, встановлені концентрично відносно труб 2. Рідина 1 рухається по кільцевим просторам між трубами 2 і 4 та виводиться з міжтрубного простору теплообміннику по трубам 2. Друга рідина 2 рухається зверху вниз по міжтрубному простору корпуса теплообмінника, омиваючи труби 4 ззовні.

Переваги. В теплообмінниках такої конструкції труби можуть подовжуватися під дією температури незалежно від корпуса теплообмінника.

Недоліки. Дорогий та більш важкий процес монтажу.

.5 Двотрубний теплообмінник

Рисунок 2.5 Двотрубний теплообмінник

- внутрішні труби; 2 - зовнішні труби; 3 - калач; 4 - патрубок

Призначення. В контактно-каталітичних та реакційних процесах, що відбуваються при високих температурах, і коли необхідно забезпечити вільне подовження всіх труб.

Принцип роботи. Теплообмінники такої конструкції, які називають також теплообмінниками типу «труба в трубі» включають декілька розташованих один над одним елементів, причому кожен елемент складається з двох труб: зовнішньої труби 1 більшого діаметру і концентрично розташованої усередині неї труби 2. Внутрішні труби елементів сполучені один з одним послідовно; так само зв'язані між собою і зовнішні труби. Один теплоносій рухається по внутрішніх трубах 1, а інший - по кільцевому зазору між внутрішніми 1 та зовнішніми 2 трубами. Внутрішні труби (зазвичай діаметром 57-108 мм) з’єднуються калачами 3, а зовнішні труби, які мають діаметр 76-159 мм, - патрубками 4.

Переваги.

) високий коефіцієнт теплопередачі унаслідок великої швидкості обох теплоносіїв;

) простота виготовлення;

) ефективна робота при невеликих витратах теплоносіїв, а також при високих тисках.

) можливість збільшення поверхні теплообміну, за рахунок приєднання в ці апарати декількох паралельних секцій.

Недоліки.

) громіздкість;

) висока вартість зважаючи на велику витрату металу на зовнішні труби, що не беруть участь в теплообміні;

) трудність очищення міжтрубного простору.

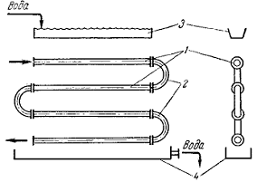
.6 Зрошувальний теплообмінник

Рисунок 2.6 Зрошувальний теплообмінник

- секції прямих труб; 2 - калачі; 3 - розподілювальний жолоб; 4 - піддон

Призначення. Використовуються для охолодження або нагрівання сильно агресивних середовищ.

Принцип роботи. Такий теплообмінник представляє собою змійовики 1 з розміщених один над одним прямих труб, які з’єднані між собою калачами 2. Труби зазвичай розміщені в вигляді паралельних вертикальних секцій (на рис.2.9 показана лише одна секція) з загальними колекторами для подачі та відводу охолоджуюючого середовища (води). Згори змійовики зрошуються водою, рівномірно розділюваною в вигляді крапель та струменів за допомогою жолоба 3 з зубчатими краями. Відпрацьована вода відводиться з піддона 4, встановленого під змійовиками.

У зв’язку з випаровуванням води, що підсилюється при недостатньому зрошуванні, теплообмінники цього типу частіше за все встановлюють на відкритому повітрі; їх огороджують дерев’яними решітками (жалюзі), головним чином для того, щоб звести до мінімуму розповсюдження бризок води.

Недоліки. Зрошувальні теплообмінники працюють при невеликих теплових навантаженнях та коефіцієнти теплопередачі в них не високі, громіздкі, нерівномірність змочування зовнішньої поверхні труб, корозія труб киснем повітря, наявність крапель та бризок, які попадають в навколишній простір.

Переваги. Відносно мала витрата води, простота конструкції, легкість очищення зовнішньої поверхні труб, придатні для процесів теплообміну при високих тисках.

.7 Спіральний теплообмінник

Ðèñóíîê 2.7 Ñï³ðàëüíèé òåïëîîáì³ííèê

,2 - ëèñòè, çâåðíóò³ â ñï³ðàë³; 3 - ïåðåãîðîäêà; 4,5 - êðèøêè

Ïðèçíà÷åííÿ. Çàñòîñîâóþòüñÿ ãîëîâíèì ÷èíîì äëÿ íàãð³âó òà îõîëîäæåííÿ ãàç³â òà êîíäåíñàö³¿ ïàð³â.

Ïðèíöèï ðîáîòè.  ñï³ðàëüíîìó òåïëîîáì³ííèêó ïîâåðõíÿ òåïëîîáì³íó óòâîðþºòüñÿ äâîìà ìåòàëåâèìè ëèñòàìè 1 ³ 2, çâåðíóòèìè ïî ñï³ðàë³. Âíóòð³øí³ ê³íö³ ëèñò³â ïðèâàðåí³ äî ãëóõî¿ ïåðåãîðîäêè 3, à ¿õ çîâí³øí³ ê³íö³ çâàðåí³ îäèí ç îäíèì. Ç òîðö³â ñï³ðàë³ çàêðèò³ âñòàíîâëåíèìè íà ïðîøàðêàõ ïëîñêèìè êðèøêàìè 4 òà 5. Òàêèì ÷èíîì, âñåðåäèí³ àïàðàòà óòâîðþþòüñÿ äâà ³çîëüîâàíèõ îäèí â³ä ³íøîãî ñï³ðàëüíèõ êàíàëà (øèðèíîþ 2-8 ìì), ïî ÿêèì, çàçâè÷àé ïðîòèâîòîêîì, ðóõàþòüñÿ òåïëîíîñ³¿. ßê ïîêàçàíî íà ðèñ.10, òåïëîíîñ³é 1 íàäõîäèòü ÷åðåç øòóöåð òà âèäàëÿºòüñÿ ÷åðåç áîêîâèé øòóöåð â ïðàâ³é êðèøö³ òåïëîîáì³ííèêà, à òåïëîíîñ³é 2 âõîäèòü â âåðõí³é øòóöåð òà âèäàëÿºòüñÿ ÷åðåç áîêîâèé øòóöåð âë³â³é êðèøö³.

Ïåðåâàãè. Ñï³ðàëüí³ òåïëîîáì³ííèêè äîñèòü êîìïàêòí³, ïðàöþþòü ïðè âèñîêèõ øâèäêîñòÿõ òåïîíîñ³¿â (äëÿ ð³äèí 1-2 ì/ñåê) òà ìàþòü ïðè ð³âíèõ øâèäêîñòÿõ ñåðåäîâèù ìåíøèì ã³äðàâë³÷íèì îïîðîì, í³æ òðóá÷àñò³ òåïëîîáì³ííèêè ð³çíèõ òèï³â.

Íåäîë³êè. Ñêëàäí³ â âèðîáíèöòâ³ òà ïðàöþþòü ïðè îáìåæåíèõ íàäëèøêîâèõ òèñêàõ, ÿê³ íå ïåðåâèùóþòü 10 àòì, îñê³ëüêè íàìîòêà ñï³ðàëåé óñêëàäíþºòüñÿ ç³ çá³ëüøåííÿì òîâùèíè ëèñò³â; êð³ì òîãî, âèíèêàþòü òðóäíîù³ ïðè ñòâîðåíí³ ù³ëüíîãî ç’ºäíàííÿ ì³æ ñï³ðàëÿìè òà êðèøêàìè.

2.8 Áëî÷í³ òåïëîîáì³ííèêè

Ðèñóíîê 2.8. Áëî÷íèé òåïëîîáì³ííèê ç ãðàô³òó.

- ãðàô³òîâ³ áëîêè;2 - âåðòèêàëüí³ êðóãë³ êàíàëè; 3 - ãîðèçîíòàëüí³ êðóãë³ êàíàëè; 4 - áîêîâ³ ïåðåòî÷í³ êàìåðè;5 - òîðöåâà êðèøêà.

Ïðèçíà÷åííÿ. Äëÿ ïðîöåñ³â òåïëîîáì³íó, ÿê³ ïðîò³êàþòü â õ³ì³÷íî àãðåñèâíèõ ñåðåäîâèùàõ.

Ïðèíöèï ðîáîòè. Áëî÷íèé òåïëîîáì³ííèê ç ãðàô³òó ñêëàäàºòüñÿ ç îêðåìèõ ãðàô³òîâèõ áëîê³â 1, ÿê³ ìàþòü íàñêð³çí³ âåðòèêàëí³ êàíàëè 2 êðóãëîãî ïåðåð³çó òà ïåðïåíäèêóëÿðí³ ¿ì êàíàëè 3. Òåïëîíîñ³é 1 ðóõàºòüñÿ ïî âåðòèêàëüíèì êàíàëàì, à òåïëîíîñ³é 2 - ïî ãîðèçîíòàëüíèì êàíàëàì 3, ïðîõîäÿ÷è ïîñë³äîâíî âñ³ áëîêè, ÿê ïîêàçàíî íà ðèñ. 11. Ãîðèçîíòàëüí³ êàíàëè ð³çíèõ áëîê³â ç’ºäíóþòüñÿ îäíå ç îäíèì ÷åðåç áîêîâ³ ïåðåòî÷í³ êàìåðè 4. Ãðàô³òîâ³ êàìåðè óù³ëüíÿþòüñÿ ì³æ ñîáîþ ïðîøàðêàìè ç ðåçèíè àáî òåôëîíó òà ñòÿãóþòüñÿ òîðöåâèìè êðèøêàìè 5 íà áîëòàõ.

Ïåðåâàãè. Âèñîêèé êîåô³ö³ºíò òåïëîïðîâ³äíîñò³ 92-116 âò/(ì*ãðàä).

Íåäîë³êè. Ðîáî÷èé òèñê íå ïåðåâèùóº 3 àò.

.9 Øíåêîâ³ òåïëîîáì³ííèêè

Ðèñóíîê 2.9 Øíåêîâèé òåïëîîáì³ííèê

- êîðïóñ; 2 - ðóáàøêà; 3,4 - ïîðîæíèñò³ øíåêè; 5 - ñàëüíèêè ïîðîæíèñòèõ âàë³â

Ïðèçíà÷åííÿ. Ïðè òåïëîâ³é îáðîáö³ âèñîêîâ’ÿçêèõ ð³äèí òà ñèïó÷èõ ìàòåð³àë³â, êîòð³ âîëîä³þòü íèçüêîþ òåïëîïðîâ³äí³ñòþ, òåïëîâ³ääà÷à ìîæå áóòè ³íòåíñèô³êîâàíà øëÿõîì áåçïåðåðâíîãî îíîâëåííÿ ïîâåðõí³ ìàòåð³àëà, ÿêèé äîòèêàºòüñÿ ç³ ñò³íêàìè àïàðàòó. Öå äîñÿãàºòüñÿ ïðè ìåõàí³÷íîìó ïåðåì³øóâàíí³ òà îäíî÷àñíîìó ïåðåì³ùåíí³ ìàòåð³àëà çà äîïîìîãîþ øíåê³â.

Ïðèíöèï ðîáîòè. Ìàòåð³àë íàäõîäèòü â îäíîìó ê³íö³ êîðïóñà 1 ç ðóáàøêîþ 2 òà ïåðåì³øóºòüñÿ îáåðòàþ÷èìèñÿ íàçóñòð³÷ îäèí îäíîìó øíåêàìè 3 ³ 4, ÿê³ òðàíñïîðòóþòü éîãî äî ïðîòèëåæíîãî, ðîçâàíòàæåíîãî ê³íöÿ êîðïóñà. ²íîä³ äëÿ çá³ëüøåííÿ ïîâåðõí³ òåïëîîáì³íó øíåêè âèðîáëÿþòü ïîðîæíèñòèìè ³ â íèõ ÷åðåç ïîðîæíèñò³ âàëè, îñíàùåí³ ñàëüíèêàìè 5, òåïëîíîñ³é íàäõîäèòü â ïîðîæíèñò³ âèòêè øíåê³â.

Ïåðåâàãè. ²íòåíñèô³êàö³ÿ ïðîöåñó çà ðàõóíîê áåçïåðåðâíîãî îíîâëåííÿ ïîâåðõí³ ìàòåð³àëó.


2.10 Ðåãåíåðàòèâí³ òåïëîîáì³ííèêè

Ðèñóíîê 2.10 Ñõåìà ðîáîòè ðåãåíåðàòîð³â ç íåðóõîìîþ íàñàäêîþ

,2 - ðåãåíåðàòèâí³ òåïëîîáì³ííèêè ç íàñàäêîþ; 3,4 - êëàïàíè;

² ³ ²² - õîëîäíèé òà ãàðÿ÷èé òåïëîíîñ³¿.

Ïðèçíà÷åííÿ.  õ³ì³÷í³é ïðîìèñëîâîñò³ äëÿ íàãð³âàííÿ ð³äèí òà ãàç³â.

Ïðèíöèï ðîáîòè. Ðåãåíåðàòèâí³ òåïëîîáì³ííèêè çàçâè÷àé ñêëàäàþòüñÿ ç äâîõ àïàðàò³â öèë³íäðè÷íî¿ ôîðìè, êîðïóñè ÿêèõ çàïîâíþþòü íàñàäêîþ â âèãëÿä³ çâåðíóòî¿ â ñï³ðàëü ãîôðîâàíî¿ ìåòàëåâî¿ ñòð³÷êè, öåãëè, øìàòê³â øàìîòó, ëèñòîâîãî ìàòåð³àëó òà ³íøèõ ìàòåð³àë³â. Öÿ íàñàäêà ïîïåðåì³ííî íàãð³âàºòüñÿ ïðè äîòèêàíí³ ç ãàðÿ÷èì òåïëîíîñ³ºì, ïîò³ì, â³ääຠéîìó ñâîþ òåïëîòó.

 ïåð³îä íàãð³âó íàñàäêè ÷åðåç àïàðàò 1 ïðîïóñêàþòü ãàðÿ÷èé ãàç, ÿêèé îõîëîäæóºòüñÿ òà íàäõîäèòü íà ïîäàëüøó îáðîáêó, à ÷åðåç ³íøèé àïàðàò 2 - õîëîäíèé ãàç, ÿêèé â³äí³ìຠòåïëîòó â íàñàäêè, ðîç³ãð³òî¿ â ïîïåðåäíüîìó öèêë³. Êîæíèé öèêë, òàêèì ÷èíîì, ñêëàäàºòüñÿ ç äâîõ ïåð³îä³â: ðîç³ãð³âó íàñàäêè òà ¿¿ îõîëîäæåííÿ. Ïåðåêëþ÷åííÿ àïàðàò³â ï³ñëÿ êîæíîãî ïåð³îäà íàãð³âàííÿ òà îõîëîäæåííÿ, êîòðå òðèâຠçàçâè÷àé ïî äåê³ëüêà õâèëèí, â³äáóâàºòüñÿ àâòîìàòè÷íî çà äîïîìîãîþ êëàïàí³â 3 òà 4.

Ïåðåâàãè. Êîìïàêòí³ñòü, äåøåâèçíà ìàòåð³àë³â, ç ÿêèõ â³í âèãîòîâëÿºòüñÿ.

ÐÎÇÄ²Ë ²²². «Âèïàðí³ àïàðàòè»

.1 Ç쳺âèêîâèé âèïàðíèé àïàðàò


Ïðèçíà÷åííÿ. Âèïàðþâàííÿ ðîçâåäåíèõ ðîç÷èí³â. Ìîæëèâå âèïàðþâàííÿ íåâåëèêèõ ê³ëüêîñòåé õ³ì³÷íî àãðåñèâíèõ ðå÷îâèí.

Ïðèíöèï 䳿.  êîðïóñ³ 1 òàêîãî àïàðàòà ðîçì³ùåí³ ïàðîâ³ çì³éîâèêè 2, à â ïàðîâîìó ïðîñòîð³ âñòàíîâëåíî áðèçêîóëîâëþâà÷ 3. Ïðè ïðîõîäæåíí³ êð³çü áðèçêî-óëîâëþâà÷ ïîò³ê âòîðèííî¿ ïàðè çì³íþº íàïðÿìîê ñâîãî ðóõó, ³ ç íüîãî âèä³ëÿþòüñÿ óíåñåí³ âíåñåí³ ïàðîþ êðàïë³ ð³äèíè.

Ïåðåâàãè. Âåëèêà ïîâåðõíÿ òåïëîîáì³íó. Ìîæëèâ³ñòü âèïàðþ-âàííÿ õ³ì³÷íî àãðåñèâíèõ ðå÷îâèí. Êîìïàêòí³ø³, ïîð³âíÿíî ç âèïàðíèìè àïàðàòàìè ç ðóáàøêîþ ³ â³äð³çíÿþòüñÿ äåùî á³ëüøîþ ³íòåíñèâí³ñòþ òåïëîâ³ääà÷³.

Íåäîë³êè. Î÷èñòêà ³ ðåìîíò çì³éîâèê³â çíà÷íî óñêëàäíåí³.

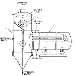
3.2 Âèïàðíèé àïàðàò ç ãîðèçîíòàëüíîþ òðóá÷àòîþ íàãð³âàëüíîþ êàìåðîþ ³ âåðòèêàëüíèì öèë³íäðè÷íèì êîðïóñîì


Ïðèçíà÷åííÿ. Âèïàðþâàííÿ ðîçâåäåíèõ ðîç÷èí³â.

Ïðèíöèï 䳿.  íèæí³é ÷àñòèí³ êîðïóñà 1 òàêèõ àïàðàò³â çíàõîäèòüñÿ íàãð³âàþ÷à êàìåðà 2, ùî ñêëàäàºòüñÿ ç ïó÷êà ãîðèçîíòàëüíèõ òðóá, ïî ÿêèì ðóõàºòüñÿ ãð³þ÷à ïàðà. Âåðõíÿ ÷àñòèíà êîðïóñó ñëóãóº ñåïàðàòîðîì 3, ïðèçíà÷åíîãî äëÿ çìåíøåííÿ ìåõàí³÷íîãî óíåñåííÿ ð³äèíè ïàðîþ.

Ïåðåâàãè. Äàíèé òèï âèïàðíèõ àïàðàò³â âèã³äíî â³äð³çíÿºòüñÿ â³ä âåðòèêàëüíèõ ìåíøîþ âèñîòîþ øàðó ðîç÷èíó, ùî âèïàðþºòüñÿ, ùî çíà÷íî çíèæóº òåìïåðàòóðí³ âòðàòè âíàñë³äîê ã³äðîñòàòè÷íî¿ äåïðåñ³¿. Êð³ì òîãî ãîðèçîíòàëüí³ àïàðàòè ìàþòü á³ëüøèé îá’ºì ïàðîâîãî ïðîñòîðó, ùî ïîëåãøóº âèïàðþâàííÿ â íèõ ðîç÷èí³â, ÿê³ ñèëüíî ï³íÿòüñÿ.

Íåäîë³êè. Ãðîì³çäê³ñòü ³ ìåòàëîºìí³ñòü êîíñòðóêö³¿. Íåïðèäàòí³ñòü äëÿ âèïàðþâàííÿ ðîç÷èí³â, ùî êðèñòàë³çóþòüñÿ ³ç-çà ñêëàäíîñò³ ìåõàí³÷íî¿ î÷èñòêè çîâí³øíüî¿ ïîâåðõí³ òðóá. Íåâèñîê³ êîåô³ö³ºíòè òåïëîâ³ääà÷³ â ãîðèçîíòàëüíèõ ïàðîâèõ òðóáàõ (âñåðåäèí³ êîòðèõ çáèðàºòüñÿ øàð êîíäåíñàòó).

3.3 Âèïàðíèé àïàðàò ç âíóòð³øíüîþ íàãð³âàëüíîþ êàìåðîþ ³ öåíòðàëüíîþ öèðêóëÿö³éíîþ òðóáîþ


Ïðèçíà÷åííÿ. Âèïàðþâàííÿ ðîç-âåäåíèõ ðîç÷èí³â.

Ïðèíöèï 䳿.  íèæí³é ÷àñòèí³ âåðòèêàëüíîãî êîðïóñà 1 çíàõîäèòüñÿ íàãð³âàþ÷à êàìåðà 2, ùî ñêëàäàºòüñÿ ç äâîõ òðóáíèõ ðåø³òîê, â ÿêèõ çàêð³ïëåí³, ÷àñò³ø çà âñå ðîçâàëüöüîâàí³, êèï’ÿòèëüí³ òðóáè 3 (äîâæèíîþ 2-4 ì) ³ öèðêóëÿö³éíà òðóáà 4 âåëèêîãî ä³àìåòðó, âñòàíîâëåíà ïî â³ñ³ êàìåðè. Ó ì³æ òðóáíèé ïðîñò³ð íàãð³âàëüíî¿ êàìåðè ïîäàºòüñÿ ãð³þ÷à ïàðà.

Ðîç÷èí ïîòðàïëÿº â àïàðàò íàä âåðõíüîþ òðóáíî. ðåø³òêîþ ³ îïóñêàºòüñÿ ïî öèðêóëÿö³éí³é òðóá³ óíèç, ïîò³ì ï³ä³éìàºòüñÿ ïî êèï’ÿòèëüíèì òðóáàì ³ íà äåÿê³é â³äñòàí³ â³ä ¿õ íèæíüîãî êðàþ çàêèïàº. Òîìó íà á³ëüø³é ÷àñòèí³ äîâæèíè òðóá ïðîõîäèòü ðóõ âãîðó ïàðî ð³äèííî¿ ñóì³ø³, âì³ñò ïàðà â ÿê³é çá³ëüøóºòüñÿ ïî ì³ð³ ¿¿ ðóõó. Âòîðèííà ïàðà ïîòðàïëÿº ó ñåïàðàö³éíèé (ïàðîâèé) ïðîñò³ð 5, äå çà äîïîìîãîþ áðèçêîóëîâëþâà÷à 6, ùî çì³íþº íàïðÿìîê ðóõó ïàðîâîãî ïîòîêó, â³ä ïàðè ï³ä 䳺þ ³íåðö³éíèõ ñèë â³ää³ëÿºòüñÿ óíåñåíà ¿ì âîëîãà. ϳñëÿ öüîãî âòîðèííà ïàðà âèäàëÿºòüñÿ êð³çü øòóöåð çâåðõó àïàðàòà.

Âèïàðåíèé ðîç÷èí âèäàëÿºòüñÿ êð³çü íèæí³é øòóöåð êîí³÷íîãî äíà àïàðàòà â ÿêîñò³ ïðîì³æíîãî àáî ê³íöåâîãî ïðîäóêòó.

Ïåðåâàãè.  ðåçóëüòàò³ íåâèìóøåíî¿ öèðêóëÿö³¿ ïîêðàùóºòüñÿ òåïëîïåðåäà÷à ³ çìåíøóºòüñÿ óòâîðåííÿ íàêèïó íà ïîâåðõí³ òåïëîîáì³íó.

Íåäîë³êè. Öèðêóëÿö³éíà ³ êèï’ÿòèëüí³ òðóáè îá³ãð³âàþòüñÿ ïàðîì, ùî çíèæóº ð³çíèöþ ãóñòèí ðîç÷èíó ³ ïàðî-ð³äèííî¿ ñóì³ø³ ³ ìîæå ïðèçâîäèòè äî íåáàæàíîãî ïàðîóòâîðåííÿ â ñàì³é öèðêóëÿö³éí³é òðóá³. Æîðñòêå êð³ïëåííÿ êèï’ÿòèëüíèõ òðóá, ùî íå äîïóñêຠçíà÷íî¿ ð³çíèö³ òåïëîâîãî âèäîâæåííÿ òðóá ³ êîðïóñà àïàðàòà.

.4 Âèïàðíèé àïàðàò ç âíóòð³øíüîþ íàãð³âàëüíîþ êàìåðîþ ³ öåíòðàëüíîþ öèðêóëÿö³éíîþ òðóáîþ


Ïðèçíà÷åííÿ. Âèïàðþâàííÿ ðîç-âåäåíèõ ðîç÷èí³â.

Ïðèíöèï 䳿. Íàãð³âàëüíà êàìåðà 1 ìຠâëàñíó îáè÷àéêó ³ â³ëüíî âñòàíîâëåíà â íèæí³é ÷àñòèí³ êîðïóñà 2 àïàðàòà. Ãð³þ÷à ïàðà ïîäàºòüñÿ êð³çü òðóáó 3 ³ ïîòðàïëÿº ó ì³æ òðóáíèé ïðîñò³ð íàãð³âàëüíî¿ êàìåðè, çíèçó ÿêî¿ â³äâîäèòüñÿ êîíäåíñàò. Ðîç÷èí, ùî ïîäàºòüñÿ íà âèïàðþâàííÿ, îïóñêàºòüñÿ âíèç ïî êàíàëó ê³ëüöåâîãî ïîïåðå÷íîãî ïåðåð³çó, ùî óòâîðåíèé ñò³íêàìè îáè÷àéêè ï³äâ³ñíî¿ êàìåðè ³ ñò³íêàìè êîðïóñà àïàðàòà. Ðîç÷èí ï³ä³éìàºòüñÿ ïî êèï’ÿòèëüíèì òðóáàì, ³, òàêèì ÷èíîì, âèïàðþâàííÿ ïðîõîäèòü ïðè íåâèìóøåí³é öèðêóëÿö³¿ ðîç÷èíó.

Âòîðèííà ïàðà ïðîõîäèòü áðèçêîóëîâëþâà÷ 4 ³ âèäàëÿºòüñÿ çâåðõó àïàðàòà. ³äîêðåìëåíà â³ä âòîðèííî¿ ïàðè ð³äèíà çëèâàºòüñÿ ïî òðóáàõ 5. Äëÿ ïåð³îäè÷íî¿ ïðîìèâêè àïàðàòà â íüîãî ï³äâîäèòüñÿ âîäà, ÿêà ðîç ïðèä³ëÿºòüñÿ çà äîïîìîãîþ ïåðôîðîâàíî¿ òðóáè 6.

Ïåðåâàãè. Öèðêóëÿö³éíèé ê³ëüöå-âèé êàíàë ìຠâåëèêèé ïîïåðå÷íèé ïåðåð³ç ³ çíàõîäèòüñÿ çà ìåæàìè íàãð³âàëüíî¿ êàìåðè, ùî ìຠïîçèòèâíèé âïëèâ íà öèðêóëÿö³þ ðîç÷èíó. Çàâäÿêè â³ëüíîìó ï³äâ³ñó íàãð³âàëüíî¿ êàìåðè óñóâàºòüñÿ íåáåçïåêà ïîðóøåííÿ ù³ëüíîñò³ ç’ºäíàííÿ êèï’ÿòèëüíèõ òðóá ç òðóáíèìè ðåø³òêàìè âíàñë³äîê ð³çíîñò³ òåïëîâèõ âèäîâæåíü òðóá ³ êîðïóñà àïàðàòà. ϳäâ³ñíà êàìåðà ìîæå áóòè äîñèòü ëåãêî çíÿòà ³ çàì³íåíà íà íîâó.

Íåäîë³êè. Óñêëàäíåííÿ êîíñòðóêö³¿. Âèòðàòà ìàòåð³àëó íà îäèíèöþ ïîâåðõí³ òåïëîîáì³íó äëÿ öèõ àïàðàò³â âèùà, í³æ äëÿ àïàðàò³â ç öåíòðàëüíîþ öèðêóëÿö³éíîþ òðóáîþ.

²íòåíñèâí³ñòü öèðêóëÿö³¿ â àïàðàòàõ ç ï³äâ³ñíîþ íàãð³âàëüíîþ êàìåðîþ íåäîñòàòíÿ äëÿ åôåêòèâíîãî âèïàðþâàííÿ âèñîêîâ’ÿçêèõ ³ îñîáëèâî ðîç÷èí³â, ùî êðèñòàë³çóþòüñÿ, îáðîáêà ÿêèõ ïðèçâîäèòü äî ÷àñòèõ ³ äîâãîòðèâàëèõ çóïèíîê öèõ àïàðàò³ äëÿ î÷èñòêè ðîáî÷èõ ïîâåðõîíü.

3.5 Âèïàðíèé àïàðàò ç âèíîñíîþ öèðêóëÿö³éíîþ òðóáîþ


Ïðèçíà÷åííÿ. Âèïàðþâàííÿ ðîç-âåäåíèõ ðîç÷èí³â.

Ïðèíöèï 䳿. Ïðè ðîçì³ùåíí³ öèðêóëÿö³éíèõ òðóá çà ìåæàìè êîðïóñà àïàðàòà ä³àìåòð íàãð³âàëüíî¿ êàìåðè 1 ìîæå áóòè çìåíøåíèé ïîð³âíÿíî ç êàìåðîþ ïîïåðåäíüîãî àïàðàòà., à öèðêóëÿö³éí³ òðóáè 2 êîìïàêòíî ðîçì³ùåí³ íàâêîëî íàãð³âàëüíî¿ êàìåðè. ³äöåíòðîâèé áðèçêîóëîâëþâà÷ 3 äëÿ îñóøêè âòîðèííî¿ ïàðè òàêîæ âèíåñåíèé çà ìåæ³ ñåïàðàö³éíîãî (ïàðîâîãî) ïðîñòîðó 4 àïàðàòà.

Ïåðåâàãè. Íåâèìóøåíà öèðêóëÿö³ÿ ðîç÷èíó ïîñèëþºòüñÿ çà ðàõóíîê òîãî, ùî ðîç÷èí íà íèçõ³äí³é ä³ëÿíö³ öèðêóëÿö³éíîãî êîíòóðó ëèøå îõîëîäæóºòüñÿ. Á³ëüø ³íòåíñèâíà òåïëîâ³ääà÷à ³ ìåíø³ âèòðàòè ìåòàëó íà êâàäðàòíèé ìåòð ïîâåðõí³ íàãð³âó ïîð³âíÿíî ç àïàðàòàìè ç ï³äâ³ñíîþ íàãð³âàëüíîþ êàìåðîþ àáî öåíòðàëüíîþ öèðêóëÿö³éíîþ òðóáîþ.

Íåäîë³êè. Çá³ëüøóºòüñÿ ñêëàäí³ñòü êîíñòðóêö³¿. Íåìîæëèâ³ñòü âèïàðþâàííÿ ðîç÷èí³â, ùî êðèñòàë³çóþòüñÿ.

3.6 Âèïàðíèé àïàðàò ç âèíîñíîþ íàãð³âàëüíîþ êàìåðîþ


Ïðèçíà÷åííÿ. Âèïàðþâàííÿ ðîç-âåäåíèõ ðîç÷èí³â.

Ïðèíöèï 䳿. Âèõ³äíèé ðîç÷èí ïîäàºòüñÿ ï³ä íèæíþ òðóáíó ðåø³òêó íàãð³âàëüíî¿ êàìåðè ³, ï³äí³ìàþ÷èñü ïî êèï’ÿòèëüíèì òðóáàì, âèïàðþºòüñÿ. ²íîä³ ïîäà÷ó âèõ³äíîãî ðîç÷èíó ïðîâîäÿòü, ÿê ïîêàçàíî íà ðèñóíêó, â öèðêóëÿö³éíó òðóáó. Âòîðèííà ïàðà â³äîêðåìëþºòüñÿ â³ä ð³äèíè â ñåïàðàòîð³ 2. гäèíà îïóñêàºòüñÿ ïî öèðêóëÿö³éí³é òðóá³ 3, ÿêà íå îá³ãð³âàºòüñÿ, çì³øóºòüñÿ ç âèõ³äíèì ðîç÷èíîì, ³ öèêë öèðêóëÿö³¿ ïîâòîðþºòüñÿ çíîâó. Âòîðèííà ïàðà, ïðîéøîâøè áðèçêîóëîâëþâà÷ 4, âèäàëÿºòüñÿ çâåðõó ñåïàðàòîðà. Âèïàðåíèé ðîç÷èí â³äáèðàºòüñÿ êð³çü áîêîâèé øòóöåð â êîí³÷íîìó äí³ ñåïàðàòîðà.

Ïåðåâàãè. Ïðè ðîçì³ùåíí³ íàãð³âàëüíî¿ êàìåðè çà ìåæàìè êîðïóñà àïàðàòà º ìîæëèâ³ñòü çá³ëüøèòè ³íòåíñèâí³ñòü âèïàðþâàííÿ íå ò³ëüêè çà ðàõóíîê çá³ëüøåííÿ ð³çíèö³ ãóñòèí ð³äèíè ³ ïàðî-ð³äèííî¿ ñóì³ø³ â öèðêóëÿö³éíîìó êîíòóð³, àëå ³ çà ðàõóíîê çá³ëüøåííÿ äîâæèíè êèï’ÿòèëüíèõ òðóá.

Âèíîñíà íàãð³âàëüíà êàìåðà 1 ëåãêî â³ää³ëÿºòüñÿ â³ä êîðïóñà àïàðàòà, ùî ïîëåãøóº ³ ïðèñêîðþº ¿¿ ÷èñòêó. Ðåâ³ç³þ òà ðåìîíò íàãð³âàëüíî¿ êàìåðè ìîæíà ïðîâîäèòè áåç ïîâíî¿ çóïèíêè àïàðàòà, ÿêùî ïðèºäíàòè äî éîãî êîðïóñà äâ³ êàìåðè.

Øâèäê³ñòü öèðêóëÿö³¿ â àïàðàòàõ ç âèíîñíîþ íàãð³âàëüíîþ êàìåðîþ ìîæå äîñÿãàòè 1,5 ì/ñ, ùî äîçâîëÿº âèïàðþâàòè â íèõ êîíöåíòðîâàí³ ðîç÷èíè ³ ðîç÷èíè ùî êðèñòàë³çóþòüñÿ, íå ïîáîþþ÷èñü çàíàäòî øâèäêîãî çàáðóäíåííÿ ïîâåðõí³ òåïëîîáì³íó. Çàâäÿêè óí³âåðñàëüíîñò³, çðó÷íîñò³ åêñïëóàòàö³¿ ³ ãàðí³é òåïëîïåðåäà÷³ àïàðàòè òàêîãî òèïó îòðèìàëè øèðîêå ïîøèðåííÿ.

Íåäîë³êè. Ñêëàäí³ñòü òà äîðîæíå÷à êîíñòðóêö³¿. Íåìîæëèâ³ñòü âèïàðþâàííÿ ðîç÷èí³â, ùî êðèñòàë³çóþòüñÿ.

.7 Âèïàðíèé àïàðàò ç ãîðèçîíòàëüíîþ âèíîñíîþ íàãð³âàëüíîþ êàìåðîþ

Ïðèçíà÷åííÿ. Äëÿ âèïà-ðþâàííÿ êîíöåíòðîâàíèõ ðîç-÷èí³â, à òàêîæ ðîç÷èí³â ùî êðèñòàë³çóþòüñÿ.

Ïðèíöèï 䳿. Êèï³ííÿ ðîç÷èíó â òàêîìó àïàðàò³ ïðîõîäèòü â ãîðèçîíòàëüíèõ òðóáàõ, ïðèºäíàíèõ äî êîðïóñà 1 íàãð³âàëüíî¿ êàìåðè 2. Â ì³æ òðóáíîìó ïðîñòîð³ êàìåðè ðóõàºòüñÿ ãð³þ÷à ïàðà. Âòîðèííà ïàðà âèäàëÿºòüñÿ çâåðõó êîðïóñà àïàðàòà, ïðîéøîâøè áðèçêî-óëîâëþâà÷ 3, à âèïàðåíèé ðîç-÷èí - êð³çü øòóöåð â íèæí³é ÷àñòèí³ êîí³÷íîãî äíà êîðïóñà àïàðàòà. ßêùî âèïàðþâàííÿ ïðîâîäÿòüñÿ îäíî÷àñíî ç êðèñòàë³çàö³ºþ òî ç êîí³÷íîãî äíà âèäàëÿþòüñÿ êðèñòàëè ³ àïàðàò ç’ºäíóºòüñÿ ç³ çá³ðíèêîì ÷è ô³ëüòðîì.

Ïåðåâàãè. Ìîæëèâ³ñòü ëåãêîãî â³ä’ºäíàííÿ íàãð³âàëüíî¿ êàìåðè, âñòàíîâëåíî¿ íà â³çêó, äëÿ ÷èñòêè, ðåìîíòó òà çàì³íè.

Íåäîë³êè. Óìîâè êèï³ííÿ ðîç÷èíó â òðóáàõ íå º ñïðèÿòëèâèìè, îñê³ëüêè â íèõ óòâîðþþòüñÿ çàñò³éí³ çîíè, ùî çíèæóþòü ³íòåíñèâí³ñòü öèðêóëÿö³¿ ³ çìåíøóþòü òåïëîïåðåäà÷ó, à ³íîä³ ïðèçâîäÿòü äî ì³ñöåâî¿ êðèñòàë³çàö³¿ ðå÷îâèí. Ãðîì³çäêà êîíñòðóêö³ÿ àïàðàòà. Î÷èñòêà U-ïîä³áíèõ óñêëàäíåíà, à âèòðàòè ìåòàëó íà îäèíèöþ ïîâåðõí³ íàãð³âó çíà÷í³.

ÐÎÇÄ²Ë ²V. «Ñóøàðêè»

.1 Êàìåðí³ ñóøàðêè

Ðèñóíîê 4.1. Ñõåìà êàìåðíî¿ ñóøàðêè

- ñóøèëüíà êàìåðà; 2 - âàãîíåòêè; 3 - êîçèðêè; 4, 6, 7 - êàëîðèôåðè; 5 - âåíòèëÿòîð; 8 - øèáåð

Ïðèçíà÷åííÿ. Ö³ ñóøàðêè º àïàðàòàìè ïåð³îäè÷íî¿ ä³¿, ÿê³ ïðàöþþòü ïðè àòìîñôåðíîìó òèñêîâ³.Âîíè âèêîðèñòîâóþòñÿ â âèðîáíèöòâàõ íåâåëèêîãî ìàøòàáó äëÿ ìàòåð³àë³â, ÿê³ äîïóñêàþòü íåâèñîêó òåìïåðàòóðó ñóøêè, íàïðèêëàä êðàñèòåë³â.

Ïðèíöèï 䳿. Ìàòåð³àë â öèõ ñóøàðêàõ ñóøèòüñÿ íà ëîòêàõ (ïðîòèâíÿõ), âñòàíîâëåíèõ íà ñòåëàæàõ àáî âàãîíåòêàõ, ÿê³ çíàõîäÿòüñÿ âñåðåäèí³ ñóøèëüíî¿ êàìåðè 1 (ðèñ.1). Íà êàðêàñ³ êàìåðè ì³æ âàãîíåòêàìè 2 âñòàíîâëåí³ êîçèðüêè 3, ÿê³ íåìîâáè ä³ëÿòü ïðîñò³ð êàìåðè íà òðè ðîçì³ùåí³ îäèí íàä îäíèì çîíè, âçäîâæ ÿêèõ ïîñë³äîâíî ðóõàºòüñÿ ñóøèëüíèé àãåíò. Ñâ³æå ïîâ³òðÿ, íàãð³òå â çîâí³øíüîìó êàëîðèôåð³ 4, çàñàñóºòüñÿ âåíòèëÿòîðîì 5 òà ïîäàºòüñÿ âíèç êàìåðè ñóøàðêè. Òóò â³í ðóõàºòüñÿ (øëÿõ ïîâ³òðÿ ïîêàçàíèé íà ðèñóíêó ñòð³ëêàìè), äâà ðàçè çì³íþþ÷è íàïðÿì òà äâ³÷³ íàãð³âàþ÷èñü â ïðîì³æíèõ êàëîðèôåðàõ 6 è 7. ×àñòèíà â³äïðàöüîâàííîãî ïîâ³òðÿ çà äîïîìîãîþ øèáåðà 8 ïðÿìóº íà çì³øóâàííÿ ç³ ñâ³æèì.

Ïåðåâàãè. Cóøàðêà ïðàöþº ç ïðîì³æíèì ï³ä³ãð³âîì òà ÷àñòêîâîþ ðåöèðêóëÿö³ºþ ïîâ³òðÿ, òîáòî ïî âàð³àíòó, ÿêèé çàáåçïå÷óº íèçüêó òåìïåðàòóðó òà á³ëüø ì’ÿê³ óìîâè ñóøêè.

Íåäîë³êè. Âíàñë³äîê ñóøêè â íåðóõîìîìó òîâñòîìó øàð³ ñóøàðêè öüîãî òèïó âîëîä³þòü íèçüêîþ ïðîäóêòèâí³ñòþ òà òðèâàë³ñòü ñóøêè â íèõ âåëèêà. Êð³ì òîãî, ñóøêà â íèõ íåð³âíîì³ðíà ÷åðåç íåð³âíîì³ðíîñò³ òåìïåðàòóð â êàìåð³, ÿê³ âèíèêàþòü çà ðàõóíîê ÷àñòêîâîãî ïåðåõîäó ïîâ³òðÿ â âèùåðîçì³ùåíí³ çîíè íàéêîðîòøèì øëÿõîì (÷åðåç çàòîðè). Îáñëóãîâóâàííÿ êàìåðíèõ ñóøàðîê ïîòðåáóº âåëèêèõ çàòðàò ðó÷íî¿ ïðàö³.

.2 Òóíåëüí³ ñóøàðêè

Ðèñóíîê 4.2 Ñõåìà áóäîâè òóíåëüíî¿ ñóøàðêè

- êàìåðà; 2 - âàãîíåòêè; 3 - âåíòèëÿòîðè; 4 - êàëîðèôåðè

Ïðèçíà÷åííÿ. Âèêîðèñòîâóþòñÿ äëÿ ñóøêè âåëèêèõ ê³ëüêîñòåé øòó÷íèõ ìàòåð³àë³â, íàïðèêëàä êåðàì³÷íèõ âèðîá³â.

Ïðèíöèï 䳿. Ö³ ñóøàðêè (ðèñóíîê 2) â³äð³çíÿþòüñÿ â³ä êàìåðíèõ òèì, ùî â íèõ ç’ºäíàí³ îäèí ç îäíèì âàãîíåòêè ïîâ³ëüíî ïåðåì³ùóþòüñÿ íà ðåëüñàõ âçäîâæ äóæå äîâãî¿ êàìåðè ïðÿìîêóòíîãî ïåðåð³çó (êîðèäîðà). Íà âõîä³ òà âèõîä³ êîðèäîð ìຠãåðìåòè÷í³ äâåð³, ÿê³ îäíî÷àñíî ïåð³îäè÷íî â³äêðèâàþòüñÿ äëÿ çàãðóçêè òà âèãðóçêè ìàòåð³àëà: âàãîíåòêà ç âèñóøåíèì ìàòåð³àëîì âèäàëÿºòüñÿ ç êàìåðè, à ç ïðîòèëåæíîãî ê³íöÿ â íå¿ íàäõîäèòü íîâà âàãîíåòêà ç âîëîãèì ìàòåð³àëîì. Ïåðåì³ùåííÿ âàãîíåòîê â³äáóâàºòüñÿ çà äîïîìîãîþ òðîñà òà ìåõàí³÷íî¿ ëåá³äêè. Ñóøèëüíèé àãåíò ðóõàºòüñÿ ïðÿìîñòðóìîì àáî ïðîòèñòðóìîì äî âèñóøóâàþ÷îãî ìàòåð³àëó.

Ïåðåâàãè. Ïðàöþþòü ç ÷àñòêîâîþ ðåöèðêóëÿö³ºþ ñóøèëüíîãî àãåíòà.

Íåäîë³êè. Ïî ³íòåíñèâíîñò³ ìàëî â³äð³çíÿþòüñÿ â³ä êàìåðíèõ: äîâãà òà íåð³âíîì³ðíà ñóøêà, ðó÷íå îáñëóãîâóâàííÿ.

.3 Ñòð³÷êîâ³ ñóøàðêè

Ðèñóíîê 4.3 Ñõåìà áóäîâè ñòð³÷êîâî¿ ñóøàðêè

- êàìåðà ñóøàðêè; 2 - áåçê³íöåâà ñòð³÷êà; 3 - âåäó÷³ áàðàáàíè; 4 - âåäîì³ áàðàáàíè; 5 - êàëîðèôåð; 6 - äæåðåëî; 7 - îïîðí³ ðîëèêè

Ïðèçíà÷åííÿ. Áåçïåðåðâíà ñóøêà ìàòåð³àë³â ïðè àòìîñôåðíîìó òèñêó.

Ïðèíöèï 䳿.  êàìåð³ 1 ñóøàðêè (ðèñ.3) øàð âèñóøóâàíîãî ìàòåð³àëó ðóõàºòüñÿ íà áåçê³íöåâ³é ñòð³÷ö³ 2, íàòÿãíóò³é ì³æ âåäó÷èì 3 òà âåäîìèì 4 áàðàáàíàìè. Âîëîãèé ìàòåð³àë ïîäàºòüñÿ íà îäèí ê³íåöü ñòð³÷êè, à ï³äñóøåíèé âèäàëÿºòüñÿ ç ³íøîãî ê³íöÿ. Ñóøêà çä³éñíþºòüñÿ ãàðÿ÷èì ïîâ³òðÿì àáî òîïî÷íèìè ãàçàìè, ÿê³ ðóõàþòüñÿ ïðîòèñòðóìîì àáî ïåðåõðåñòíèì ñòðóìîì ïî íàïðÿìó ðóõó ìàòåð³àëà.

 îäíîñòð³÷êîâèõ ñóøàðêàõ ç ñóö³ëüíîþ ñòð³÷êîþ çàçâè÷àé ñïîñòåð³ãàºòüñÿ íåð³âíîì³ðíå âèñóøóâàííÿ ìàòåð³àëà: â âíóòð³øí³é ÷àñòèí³ øàðó, ïîâåðíóòî¿ äî ñòð³÷êè, ê³íöåâà âîëîã³ñòü âèùå, í³æ â éîãî çîâí³øí³é ÷àñòèí³, ùî îìèâàºòüñÿ ãàçàìè àáî ïîâ³òðÿì.

Á³ëüø åôåêòèâíå çàñòîñóâàííÿ áàãàòîñòð³÷êîâèõ ñóøàðîê ç ñòð³÷êàìè ç ìåòàëåâî¿ ñ³òêè.

Ïåðåâàãè.  íèõ ñóøèëüíèé àãåíò ðóõàºòüñÿ ïåðïåíäèêóëÿðíî ïëîùèí³ ñòð³÷êè ÷åðåç ìàòåð³àë ùî â í³é çíàõîäèòüñÿ (ïåðåêðåñòíèé ñòðóì). Ïðè ïåðåñèïàíí³ ìàòåð³àëó ç ñòð³÷êè íà ñòð³÷êó çá³ëüøóºòüñÿ ïîâåðõíÿ éîãî äîòèêó ç ñóøèëüíèì àãåíòîì, ùî ñïðèÿº çá³ëüøåííþ øâèäêîñò³ òà ð³âíîì³ðíîñò³ ñóøêè. Ñòð³÷êîâ³ ñóøàðêè ìîæóòü ïðàöþâàòè ïî ð³çíèì âàð³àíòàì ñóøèëüíîãî ïðîöåñó.

Íåäîë³êè. Ñòð³÷êîâ³ ñóøàðêè ãðîì³çäê³ (ïîä³áíî òóíåëüíèì ñóøàðêàì) òà ñêëàäí³ â îáñëóãîâóâàíí³, ãîëîâíèì ÷èíîì ÷åðåç ïåðåêîñè òà ðîçòÿãíåííÿ ñòð³÷îê; ¿õ ïèòîìà ïðîäóêòèâí³ñòü (íà 1 êâ.ì ïîâåðõí³ ñòð³÷êè) íåâåëèêà, à ïèòîì³ âèòðàòè òåïëà (íà 1 êã âèïàðåíî¿ âîëîãè) äîñèòü âèñîê³. Êð³ì òîãî, âîíè íåïðèäàòí³ äëÿ ñóøêè ïàñòîïîä³áíèõ ìàòåð³àëîâ, òîìó äëÿ ö³º¿ ìåòè ¿õ âèêîðèñòîâóþòü â êîìá³íàö³¿ ç âàëüöîâèìè ñóøàðêàìè.

4.4 Áàãàòîêàìåðí³ ñóøàðêè

Ðèñóíîê 4.4 Äâîõêàìåðíà ñóøàðêà ç êèïëÿ÷èì øàðîì

- âåðõíÿ êàìåðà; 2 - íèæíÿ êàìåðà; 3 - ðîçðèõëþâà÷

Ïðèçíà÷åííÿ. Äëÿ âèñóøóâàííÿ ïîë³ìåðíèõ ìàòåð³àë³â.

Ïðèíöèï 䳿. Ñêëàäàþòüñÿ ç äâîõ òà á³ëëüøå êàìåð, ÷åðåç ÿê³ ïîñë³äîâíî ðóõàºòüñÿ âèñóøóâàíèé ìàòåð³àë. Êàìåðè ðîçì³ùóþòüñÿ àáî ïîðó÷, àáî îäíà íàä ³íøîþ (ðèñóíîê 5).

Ãàðÿ÷å ïîâ³òðÿ ç á³ëüøîþ øâèäê³ñòþ (60-70 ì/ñåê) ïîäàºòñÿ ÷åðåç îòâîðè ðåø³òêè, ðîçì³ùåíî¿ â íèæí³é ÷àñòèí³ êîæíî¿ êàìåðè. Ìàòåð³àë íàäõîäèòü â âåðõíþ êàìåðó 1, ï³äñóøóºòüñÿ â í³é òà ïåðåñèïàºòüñÿ â íèæíþ êàìåðó 2, ç ÿêî¿ âèäàëÿºòüñÿ âèñóøåíèé ìàòåð³àë. Ïîâ³òðÿ ïîäàºòüñÿ â êîæíó êàìåðó îêðåìî òà â³äâîäèòüñÿ ç êàìåð â çàãàëüíèé êîëëåêòîð äëÿ î÷èñòêè â³ä ïèëó, ï³ñëÿ ÷îãî âèêèäóºòüñÿ â àòìîñôåðó. Íàä ðåø³òêîþ âåðõíüî¿ êàìåðè âñòàíîâëåíî ìåõàí³÷íèé ðîçðèõëþâà÷ 3 äëÿ êîìêóþ÷îãîñÿ âèñóøóâàíîãî ìàòåðèàëó.

Ïåðåâàãè.  íèõ çðó÷íî ïîºäíóâàòè ïðîöåñè ñóøêè òà îõîëîäæåííÿ ìàòåð³àëó.

Íåäîë³êè. Áàãàòîêàìåðí³ ñóøàðêè á³ëüø ñêëàäí³ ïî êîíñòðóêö³¿ (òà â³äïîâ³äíî â åêñïëóàòàö³¿), í³æ îäíîêàìåðí³, ïîòðåáóþòü á³ëüøèõ ïèòîìèõ âèòðàò ñóøèëüíîãî àãåíòà òà åëåêòðîåíåð㳿. Êð³ì òîãî, ïðîöåñ â íèõ ñêëàäí³øå ï³ääàºòüñÿ àâòîìàòèçàö³¿. Çàñòîñóâàííÿ áàãàòîêàìåðíèõ ñóøàðîê äîö³ëüíî ëèøå äëÿ ìàòåð³àë³â ³ç çíà÷íèì îïîðîì âíóòð³øíüî¿ äèôó糿 âîëîãè, ïîòðåáóþ÷èõ äîâãî¿ ñóøêè, à òàêîæ äëÿ ìàòåð³àë³â, ïîòðåáóþ÷èõ ðåãóëþâàííÿ òåìïåðàòóðíîãî ðåæèìà ñóøêè (äëÿ çàïîá³ãàííÿ ïåðåãð³âó)

.5 Ïíåâìàòè÷í³ ñóøàðêè

Ðèñóíîê 4.5 Ïíåâìàòè÷íà ñóøàðêà

- áóíêåð; 2 - äæåðåëî; 3 - òðóáà; 4 - âåíòèëÿòîð; 5 - êàëîðèôåð; 6 - çá³ðíèê - àìîðòèçàòîð; 7 - öèêëîí; 8 - ðîçâàíòàæóâàëüíèé ïðèñòð³é; 9 - ô³ëüòð

Ïðèçíà÷åííÿ. Äëÿ ñóøêè â çâàæåíîìó ñòàí³ çåðíèñòèõ (íåçëèïàþ÷èõñÿ) òà êðèñòàë³÷íèõ ìàòåð³àë³â.Äëÿ ñóøêè ìàòåð³àë³â ç âåëèêèìè ÷àñòèíêàìè, à òàêîæ äëÿ âèäàëåííÿ ç ìàòåð³àëó çâ’ÿçàíî¿ âîëîãè ¿õ êîìá³íóþòü ç ñóøàðêàìè ³íøèõ òèï³â.

Ïðèíöèï 䳿. Ñóøêà çä³éñíþºòüñÿ â âåðòèêàëüí³é òðóá³ äîâæèíîþ äî 20 ì. ×àñòèíêè ìàòåð³àëó ðóõàþòüñÿ â ïîòîö³ íàãð³òîãî ïîâ³òðÿ (àáî òîïî÷íèõ ãàç³â), øâèäê³ñòü ÿêîãî ïåðåâèùóº øâèäê³ñòü âèòàííÿ ÷àñòèíîê òà ñêëàäຠ10 - 30 ì/ñåê.  ïîä³áíèõ òðóáàõ - ñóøàðêàõ, ïðîöåñ ñóøêè òðèâຠñåêóíäè òà çà òàêèé êîðîòêèé ÷àñ ç ìàòåð³àëó âäàºòüñÿ âèïàðóâàòè ò³ëüêè ÷àñòèíó â³ëüíî¿ âîëîãè.

 ïíåâìàòè÷í³é ñóøàðö³ (ðèñ. 10) ìàòåð³àë ç áóíêåðà 1 ïîäàºòüñÿ äæåðåëîì 2 â òðóáó 3 òà çàõîïëþºòüñÿ ïîòîêîì ïîâ³òðÿ, ÿêå íàãí³òàºòüñÿ âåíòèëÿòîðîì 4 òà íàãð³âàºòüñÿ â êàëîðèôåð³ 5. Ïîâ³òðÿ âèíîñèòü âèñîõøèé ìàòåð³àë â çá³ðíèê - àìîðòèçàòîð 6 òà ïîò³ì â öèêëîí 7, äå â³ää³ëÿºòüñÿ â³ä ÷àñòèíîê ìàòåð³àëó. Âèñóøåíèé ìàòåð³àë âèäàëÿºòüñÿ çà äîïîìîãîþ ðîçâàíòàæóâàëüíîãî ïðèñòðîþ 8. ³äïðàöüîâàíå ïîâ³òðÿ äëÿ îñòàòî÷íî¿ î÷èñòêè â³ä ïèëó ïðîõîäèòü ÷åðåç ô³ëüòð 9, ï³ñëÿ ÷îãî óäàëÿºòüñÿ â àòìîñôåðó.

Ïåðåâàãè. Êîìïàêòí³ñòü òà ïðîñòîòà ïðèñòðîþ.

Íåäîë³êè. Âèòðàòè åíåð㳿 çíà÷í³, ïðè÷îìó âîíè çíèæàþòüñÿ ç³ çìåíøåííÿì ðîçì³ðó ÷àñòèíîê ìàòåð³àëó, ÿêèé íå ïîâèíåí ïåðåâèùóâàòè 8 - 10 ìì. Ñôåðà çàñòîñóâàííÿ ñóøàðîê îáìåæåíà óìîâàìè.

4.6 Äâîõâàëüöåâà ñóøàðêà

Ðèñóíîê 4.6 Äâîõâàëüöåâà ñóøàðêà

- êîæóõ; 2 - âåäîìèé ïîëèé âàëåöü íà ðóõîìèõ ï³äøèïíèêàõ; 3 - âåäó÷èé ïîëèé âàëåöü (âñòàíîâëåíèé íåðóõîìî); 4 - ñèôîíí³ òðóáêè äëÿ â³äâîäó êîíäåíñàòà; 5 - ïðèâ³ä; 6 - íîæ³, ðîçì³ùåíí³ âçäîâæ óòâîðþþ÷î¿ âàëü³îâ; 7 - âåðõí³ äîñóøóâàòåë³; 8 - íèæí³ äîñóøóâàòåë³

Ïðèçíà÷åííÿ.  öèõ ñóøàðêàõ çä³éñíþºòüñÿ áåçïåðåðâíà ñóøêà ð³äèí òà òåêó÷èõ ïàñòîïîä³áíèõ ìàòåð³àë³â ïðè àòìîñôåðíîìó òèñêó àáî ïðè ðîçð³äæåíí³. Íàéá³ëüø ÷àñòî çàñòîñîâóºòüñÿ â õ³ì³÷íèõ âèðîáíèöòâàõ.

Ïðèíöèï 䳿. Îñíîâíîþ ÷àñòèíîþ äâóõâàëüöîâèõ ñóøàðîê (ðèñ. 12.) º âàëüö³ - 2 ³ 3, ùî ïîâ³ëüíî îáåðòàþòüñÿ â êîæóõó 1 íàçóñòð³÷ó îäíå îäíîìó. Çâåðõó ì³æ âàëüöÿìè áåçïåðåðâíî ïîäàºòüñÿ âèñóøèâàºìèé ìàòåð³àë. Ãð³þ÷èé ïàð íàäõîäèòü ÷åðåç ïîëó öàïôó âñåðåäèíó êîæíîãî ç âàëüö³â, ïàðîâèé êîíäåíñàò â³äâîäèòüñÿ ÷åðåç ñèôîííó òðóáêó 4. Ââ³ä ïàðà òà âèâ³ä êîíäåíñàòó â³äáóâàºòüñÿ ç³ ñòîðîíè, ïðîòèëåæíî¿ ïðèâîäó 5. Âàëüö³ ìîæóòü òàêîæ îá³ãð³âàòèñÿ ãàðÿ÷îþ âîäîþ àáî âèñîêîòåìïåðàòóðíèìè îðãàí³÷íèìè òåïëîíîñ³ÿìè.

Ìàòåð³àë ïîêðèâຠïîâåðõíþ âàëüö³â òîíêîþ ïë³âêîþ, òîâùèíà ÿêî¿ âèçíà÷àºòüñÿ âåëè÷èíîþ çàçîðà ì³æ âàëüöÿìè. Çàçâè÷àé øèðèíà çàçîðà íå ïåðåâèùóº 0,5 - 1 ìì òà ðåãóëþºòüñÿ øëÿõîì ïåðåì³ùåííÿ âåäîìîãî âàëüöÿ 2, ùî ìຠðóõîì³ ï³äøèïíèêè, â³äíîñíî íåðóõîìî âñòàíîâëåíîãî âåäó÷îãî âàëüöÿ 3. Âèñóøóâàííÿ ìàòåð³àëà â³äáóâàºòüñÿ ³íòåíñèâíî â òîíêîìó øàð³ ïðîòÿãîì îäíîãî íåïîâíîãî îáîðîòà âàëüö³â. Ïë³âêà ï³äñóøåíîãî ìàòåð³àëà çí³ìàºòüñÿ íîæàìè 6, ðîçì³ùåííèìè âçäîâæ óòâîðþþ÷î¿ êîæíîãî âàëüöÿ. ×èì òîíøå øàð ìàòåð³àëà íà âàëüöÿõ, òèì øâèäøå òà ð³âíîì³ðí³øå â³í ñóøèòüñÿ.

 ñóøèëö³ íà ðèñóíêó 9 ìàòåð³àë ï³ñëÿ âàëüö³â ïîñë³äîâíî ïðîõîäèòü ñïî÷àòêó âåðõí³é äîñóøèâàòåëü 7, ïîò³ì íèæí³é äîñóøèâàòåëü 8.

Ïåðåâàãè. Âèñîêà ³íòåíñèâí³ñòü ñóø³ííÿ.

Íåäîë³êè. Âíàñë³äîê ìàëî¿ òðèâàëîñò³ ñóøêè ÷àñòo ïîòðåáóºòüñÿ äîñóøêà ìàòåðèàëà,ùî çä³éñíþºòüñÿ â ãîðèçîíòàëüíèõ ëîòêàõ ç ïàðîâèì îá³ãð³âîì (äîñóøèâàòåëÿõ), â ÿêèõ îáåðòàþòüñÿ âàëè ç ãðåáêàìè.

.7 Âèñîêî÷àñòîòí³ (ä³åëåêòðè÷í³) ñóøàðêè

Ðèñóíîê 4.7 Âèñîêî÷àñòîòíà (ä³åëåêòðè÷íà) ñóøàðêà.1 - ëàìïîâèé âèñîêî÷àñòîòíèé ãåíåðàòîð; 2 - ñóøèëüíà êàìåðà; 3, 4 - ïëàñòèíè êîíäåíñàòîð³â; 5, 6 - íåñê³í÷åíí³ ñòð³÷êè, íà ÿêèõ çíàõîäèòüñÿ ìàòåð³àë, ùî âèñóøóºòüñÿ; 7 - âèïðÿìëÿ÷

Ïðèçíà÷åííÿ. Âèñóøóâàííÿ òîâñòîøàðîâèõ ìàòåð³àë³â, ïëàñòìàñ òà ³íøèõ ìàòåð³àë³â, ùî âîëîä³þòü ä³åëåêòðè÷íèìè âëàñòèâîñòÿìè.

Ïðèíöèï 䳿. Âèñîêî÷àñòîòíà ñóøàðêà ñêëàäàºòüñÿ ç ëàìïîâîãî âèñîêî÷àñòîòíîãî ãåíåðàòîðà òà ñóøèëüíî¿ êàìåðè 2. Çì³ííèé ñòðóì ç ìåðåæ³ ïîñòóïຠâ âèïðÿìëÿ÷ 7, çãîäîì â ãåíåðàòîð, äå ïåðåòâîðþºòüñÿ â çì³ííèé ñòðóì âèñîêî¿ ÷àñòîòè. Öåé ñòðóì ï³äâîäèòüñÿ äî ïëàñòèí êîíäåíñàòîð³â 3 ³ 4, ì³æ ÿêèìè ðóõàºòüñÿ íà ñòð³÷ö³ âèñóøóâàíèé ìàòåð³àë. Äàíà ñóøàðêà ìຠäâ³ ñòð³÷êè 5 ³ 6, íà ÿêèõ ïîñë³äîâíî âèñóøóºòüñÿ ìàòåð³àë. ϳä 䳺þ åëåêòðè÷íîãî ïîëÿ âèñîêî¿ ÷àñòîòè ³îíè òà åëåêòðîíè â ìàòåð³àë³ (ùî ì³ñòèòü çàçâè÷àé äåÿêó ê³ëüê³ñòü åëåêòðîë³òó, íàïðèêëàä ðîç÷èíó ñîëåé) çì³íþþòü íàïðÿìîê ðóõó ñèíõðîííî ç³ çì³íîþ çíàêó çàðÿäó ïëàñòèí êîíäåíñàòîðó; äèïîëüí³ ìîëåêóëè íàáóâàþòü îáåðòàëüíîãî ðóõó, à íåïîëÿðí³ ìîëåêóëè ïîëÿðèçóþòüñÿ çà ðàõóíîê çì³ùåííÿ ¿õ çàðÿä³â. Ö³ ïðîöåñè, ùî ñóïðîâîäæóþòüñÿ òåðòÿì, ïðèçâîäÿòü äî âèä³ëåííÿ òåïëîòè òà íàãð³âàííþ âèñóøóâàíîãî ìàòåð³àëó.

Ïåðåâàãè. Øâèäêà òà ð³âíîì³ðíà ñóøêà òîâñòîøàðîâèõ ìàòåð³àë³â.

Íåäîë³êè. Âåëèê³ ïèòîì³ âèòðàòè åíåð㳿.

õ³ì³÷íèé íàôòîïåðåðîáíèé ìàøèíà àïàðàò

4.8 Ïåòåëüíà ñóøàðêà

- ïîæèâëþâà÷ âîëîãîãî ìàòåð³àëó; 2 - âàëêè, ùî îá³ãð³âàþòüñÿ äëÿ âòèñêóâàííÿ ìàòåð³àëó ó ñ³òêó; 3 - íåñê³í÷åííà ñ³ò÷àñòà ñòð³÷êà; 4 - öåïíèé êîíâåºð äëÿ ïåðåì³ùåííÿ ïåòåëü ñ³ò÷àñòî¿ ñòð³÷êè; 5 - óäàðíèé ìåõàí³çì; 6 - áóíêåð ³ç øíåêîì

Ðèñóíîê 4.8 Ïåòåëüíà ñóøàðêà

Ïðèçíà÷åííÿ. Äëÿ ñóøêè ìàòåð³àë³â ïðè àòìîñôåðíîìó òèñêó.

Ïðèíöèï 䳿. Ïîæèâëþâà÷ 1 ïîäຠìàòåð³àë íà íåñê³í÷åííå ãíó÷êó ñ³ò÷àñòó ñòð³÷êó 3, ÿêà ïðîõîäèòü ì³æ âàëüöÿìè 2, ÿê³ ï³ä³ãð³âàþòüñÿ ïàðîþ, ùî âäàâëþþòü ïàñòó âñåðåäèíó êîì³ðîê ñòð³÷êè. Ñòð³÷êà ç óïðåñîâàíèì ìàòåð³àëîì ïîòðàïëÿº â ñóøèëüíó êàìåðó, äå óòâîðþº ïåòë³. Öå äîñÿãàºòüñÿ ç äîïîìîãîþ øàðí³ðíî ç’ºäíàíèõ ä³ëÿíîê ñòð³÷êè ³ ðîçòàøîâàíèõ íà í³é ÷åðåç äåÿê³ ïðîì³æêè ïîïåðå÷íèõ ïëàíîê, ùî ñïèðàþòüñÿ íà ëàíöþãîâèé êîíâåºð 4. Çà äîïîìîãîþ íàïðÿìëÿþ÷îãî ðîëèêà ñòð³÷êà â³äâîäèòüñÿ äî àâòîìàòè÷íîãî óäàðíîãî ïðèñòðîþ 5, çà äîïîìîãîþ ÿêîãî âèñóøåíèé ìàòåð³àë ñêèäàºòüñÿ äî áóíêåðó 6 ç ðîçâàíòàæóâàëüíèì øíåêîì. Ñóøèëüíèé àãåíò ðóõàºòüñÿ âïîïåðåê ñòð³÷êè.

Ñóøêà â³äáóâàºòüñÿ â øàðó íåâåëèêî¿ òîâùèíè ïðè äâîá³÷íîìó îìèâàíí³ ñòð³÷êè ãàðÿ÷èì ïîâ³òðÿì ³ ïðîãð³âàííÿ çàïðåñîâàíîãî ìàòåð³àëó ìåòàëåâèì êàðêàñîì (ñ³òêîþ), ùî íàãð³òà âàëüöÿìè.

Ïåðåâàãè. Âåëèêà øâèäê³ñòü ñóøêè.

Íåäîë³êè. Ö³ ñóøàðêè ìàþòü ñêëàäíó êîíñòðóêö³þ ³ ïîòðåáóþòü çíà÷íèõ åêñïëóàòàö³éíèõ âèòðàò.

Ðàçìåùåíî íà Allbest.ru

Похожие работы на - Машини та апарати хімічних та нафтопереробних виробництв

 

Не нашли материал для своей работы?
Поможем написать уникальную работу
Без плагиата!
Без нейросетей!