Технические характеристики плоскошлифовального станка

  • Вид работы:
    Курсовая работа (т)
  • Предмет:
    Другое
  • Язык:
    Русский
    ,
    Формат файла:
    MS Word
    2,17 Мб
  • Опубликовано:
    2015-09-06
Вы можете узнать стоимость помощи в написании студенческой работы.
Помощь в написании работы, которую точно примут!

Технические характеристики плоскошлифовального станка

Введение

Машиностроение является одной из важнейших отраслей в народном хозяйстве. Оно создаёт условие для развития многих других видов производства и отраслей промышленности. Развитие самого машиностроения зависит от станкостроения. Новые станки различного технологического назначения, прогрессивные конструкции режущего инструмента обеспечивают автоматический процесс обработки, сокращение времени для наладки оборудования, возможность многостаночного обслуживания, повышение качества продукции, производительность труда и культуры производства. В настоящее время на ряд ус задачей повышения эффективности существующего оборудования поставлена задача увеличения производства средств автоматизации, оснащённых микропроцессорами и малыми ЭВМ, а так же гибких производственных систем. Станки с ЧПУ постепенно заменяют оборудование с ручным управлением.

В устройстве металлорежущих станков имеется много общего. Это объясняется самой сущностью процесса резания.

Основу устройства металлорежущих станков составляет совокупность механизмов и других технических устройств, обеспечивающих главным образом два движения - движение резания (резцом, фрезой, сверлом и т. д.) и движение подачи заготовки или режущего инструмента.

1. Общие сведения о металлорежущих станках

.1 Анализ конструкции современных металлорежущих станков

Шлифовальный станок, в металлообработке - металлорежущий станок для обработки заготовок абразивным инструментом.

В соответствии с принятой для металлорежущих станков классификацией шлифовальные станки подразделяют на кругло- и внутришлифовальные (в т. ч. бесцентрово-шлифовальные, планетарные), специализированные, плоскошлифовальные и др., работающие абразивным инструментом. Специфика используемого инструмента предъявляет к конструкции и конструкционным материалам некоторые дополнительные требования: виброустойчивость, износостойкость, интенсивный отвод абразивной пыли. Главное движение шлифовального станка - вращение абразивного инструмента, причём его скорость, как правило, значительно выше скорости подачи и других движений.

Наибольшее распространение получили круглошлифовальные станки (например, станок марки 3М196). На этих станках заготовку устанавливают на центрах или в патроне и приводят во вращение навстречу шлифовальному кругу; вместе со столом станка она может совершать возвратно-поступательное движение. Шлифовальный круг в конце каждого (или двойного) хода стола получает поперечное перемещение на глубину резания. На кругло шлифовальных станках обычно шлифуют наружные цилиндрические и конические поверхности и торцы заготовок. На врезных кругло шлифовальных станках шлифование наружных цилиндрических, конических и фасонных поверхностей производится широким кругом (шире размера заготовки); продольная подача здесь отсутствует.

Внутришлифовальные станки предназначены для шлифования внутренних поверхностей вращения. Примером такого станка может служить станок марки 3К228А.

Наиболее распространены внутришлифовальные станки, у которых обрабатываемая заготовка вращается вокруг оси шлифуемого отверстия, а шлифовальный круг - вокруг своей оси. Продольную и поперечную подачи осуществляют кругом. При обработке отверстий крупных заготовок, которые привести во вращение трудно, применяют планетарные внутришлифовальные станки. В этих станках шлифовальный круг вращается вокруг своей оси и вокруг оси шлифуемого отверстия одновременно.

В работе рассмотрен плоскошлифовальный станок марки 3Г71, который предназначен для обработки плоскостей заготовок периферией или торцом шлифовального круга. На таких станках, работающих периферией круга, стол с закрепленной на нём заготовкой совершает возвратно-поступательное или вращательное движение, а вращающийся шлифовальный круг получает поперечную подачу на каждый ход или оборот стола, а также перемещение на глубину резания. В плоскошлифовальных станках, работающих торцом шлифовального круга, в отличие от станков, работающих периферией круга, поперечная подача отсутствует, т.к. диаметр круга больше поперечного размера обрабатываемой заготовки (врезное шлифование).

Специализированные шлифовальные станки предназначены, как правило, для обработки деталей заданной формы, например для шлифования шеек коленчатых валов, деталей штампов, шаблонов, шлицевых деталей и т.д. Обработку заготовок на этих станках осуществляют в основном методом копирования, реже методом огибания.

В общую группу шлифовальных станков входят также станки: притирочные, полировальные, доводочные, заточные, шлицешлифовальные, хонинговальные и др., работающие абразивным инструментом.

Знание функционально общих основных узлов различных типов металлорежущих станков позволяет лучше и быстрее ознакомиться с устройством, управлением и работой любого конкретного станка.

1.2 Назначение и принцип работы станка плоскошлифовального станка модели 3Г71

плоскошлифовальный металлорежущий станок

Плоскошлифовальный станок модели 3Г71 в основном предназначен для шлифования поверхностей периферией круга. На станке торцом круга возможна обработка поверхностей, расположенных под углом 900 к зеркалу стола. С применением различных приспособлений возможно профильное шлифование различных деталей. Точность профиля при этом зависит от метода заправки профиля круга и от точности применяемого приспособления для крепления детали.

На плоскошлифовальном станке при работе периферией круга по методу врезания можно выполнять черновое и чистовое шлифование изделий, ширина которых меньше ширины круга (рис. 1.1, а), и чистовое шлифование изделий с профильными поверхностями небольшой ширины и глубины профиля (рис. 1.1, б). При этом необходимы три движения формообразования. Вращательное главное движение сообщается шлифовальному кругу и определяет скорость резания. Шлифовальной бабке сообщается вертикальная подача на глубину резания. Продольное перемещение на величину подачи сообщается столу с заготовкой. При работе периферией круга с поперечной подачей можно выполнять черновое и получистовое шлифование изделий с достаточной жесткостью, большой глубиной резания и малой поперечной подачей (рис. 1.1, в) и чистовое шлифование термообработанных изделий с малой глубиной резания и большой поперечной подачей (рис. 1.1, г). При этом методе обработки необходимы четыре движения, так как добавляется поперечная подача. Четыре движения необходимы также и при шлифовании торцом круга поверхностей, расположенных под углом 900 к зеркалу стола.

На станке может также выполняться обработка фасонной поверхности изделий по участкам непрофилированным (прямолинейные участки) и профилированным (криволинейные участки) кругом (рис. 1.1, д) с использованием синусных тисков, магнитных поворотных плит, делительных приспособлений и т.д.

Рис. 1.1 - Схемы обработки на плоскошлифовальном станке

1.3 Технические характеристики плоскошлифовального станка модели 3Г71

Расстояние от оси шпинделя до стола, мм:

наименьшее                                                       80

наибольшее                                                       450

Наименьшее продольное механическое перемещение стола, мм 70

Наибольшее перемещение стола, мм:

ручное: продольное 710

поперечное 235

механическое: продольное 700

поперечное 235

Наибольшие размеры шлифуемых изделий, мм:

длина                                                        630

ширина                                                     200

высота                                                      320

Скорость продольного перемещения стола, м/мин:

наименьшая                                                       5

наибольшая                                                       20

Поперечная автоматическая подача стола на каждый ход, мм:

наименьшая                                                       0,2

наибольшая                                                       4

Вертикальная автоматическая подача

(ступенчатая через 0,005), мм:

наименьшая                                                       0,005

наибольшая                                                       0,05

Размер шлифовального круга, мм         250х25х75

Окружная скорость шлифовального круга, м/с       35

Число оборотов шлифовального круга, об/мин 2680

Число оборотов электродвигателя, об/мин 2800

.4 Основные узлы плоскошлифовального станка

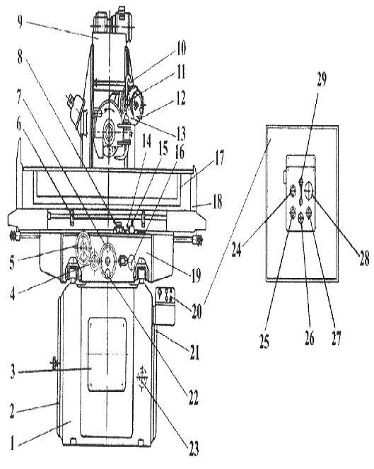
Основными базовыми деталями и узлами станка являются (рис. 1.2): станина 1, крестовый суппорт 19, стол 17, колонна 9, шлифовальная бабка 11.

Рис. 1.2 - Плоскошлифовальный станок

Станина 1 является основной базовой деталью, представляет собой жесткую коробчатую отливку и служит для размещения всех узлов станка.

Крестовый суппорт 19 представляет собой чугунную отливку с нижними V-образными и верхними одной V-образной и другой плоской направляющими. Он перемещается в поперечном направлении по двум V-образным направляющим качения.

Стол 17 является чугунной отливкой и по V-образной и плоской направляющим перемещается по крестовому суппорту в продольном направлении. На верхней его части имеются три Т-образных паза для крепления приспособлений. На передней стенке стола имеется Т-образный паз, в котором закреплены два упора 6, устанавливаемые в положение, зависящее от длины заготовки.

Колонна 9 представляет собой жесткую отливку и устанавливается на заднюю площадку станины. По ее направляющим перемещается шлифовальная бабка 11.

Шлифовальная бабка имеет шпиндель, привод которого осуществляется от электродвигателя через плоскоременную передачу. Шпиндель 1 (рис. 1.3) вращается в двух бронзовых регулируемых подшипниках скольжения 2, со смазкой самозатягиванием.

Рис. 1.3 - Шпиндельный узел плоскошлифовального станка

Регулировка радиальных зазоров производится путем осевого перемещения вкладышей подшипника 2 с наружной конической поверхностью (уклон 1:20) во втулках 3. Перемещение производится при помощи червяков 19 и косозубых шестерен 4, которые соединены с подшипниками 2 прямоугольной резьбой и упираются торцами во втулки 3. Зазор между косозубыми шестернями 4 и втулками 3 выбирается гайкой 6, которая стопорится через проставки 18 винтами 17. От проворота подшипники 2 стопорятся винтами. При перемещении подшипника 2 происходит уменьшение радиальных зазоров, т.е. приближение контактных полосок подшипников к поверхности шейки шпинделя. Одновременно промежуточные части вкладыша между опорными полосками деформируются и образуют камеры с пониженным давлением, в которые интенсивно засасывается смазка через трубки 7 из ванны 5. Контроль уровня масла производится по указателю, который расположен с левой стороны головки.

Осевые усилия, возникающие на шпинделе, воспринимаются упорными кольцами 16 и 15. При регулировке осевого зазора кольцо 15 перемещается в осевом направлении винтами 14. После регулировки зазора винты стопорятся гайками 13. Шлифовальный круг устанавливается между двумя фланцами 8 и 10 и затягивается гайкой 11. После балансировки грузиками 9 круг устанавливается на коническую поверхность шпинделя 1 и затягивается винтом 12, который при его вывинчивании стягивает фланцы с конуса шпинделя.

Внутри станины установлен гидроагрегат, а с правой стороны в нише монтируется электроаппаратура станка.

.5 Органы управления станком

Основными органами управления станком являются (рис. 1.2 и рис. 1.4): лимб 2 ручной поперечной микрометрической подачи стола; рукоятка 3 ручной поперечной подачи стола; лимб 4 установки автоматической поперечной подачи стола; рукоятка 5 ручного продольного перемещения стола; рукоятка 10 установки величины автоматической вертикальной подачи; рукоятка 11 ручной вертикальной подачи; рукоятка крана 12 регулировки подачи охлаждающей жидкости; упоры 13 продольного реверса стола; рукоятки 14 ручного продольного реверса стола; рукоятка 15 установки скорости движения стола; рукоятки "Пуск" стола, "Стоп" стола и "Разгрузка" 16 гидропривода; кнопка включения и реверсирования поперечной подачи 17; пульт управления 18, вводный пакетный выключатель (сзади станка) 19; барабанный переключатель 20 ускоренного перемещения шлифовальной головки; кнопка 21 "Все стоп"; кнопка 22 "Пуск шпинделя"; кнопка 23 сигнализации "Станок включен"; кнопка 24 "Пуск гидропривода"; кнопка 25 "Стоп гидропривода".

Рис. 1.4 - Пульт управления станком

1.6 Виды движений на станке

Движение резания - вращение шпинделя шлифовальной бабки с абразивным кругом. Продольная подача - прямолинейное возвратно-поступательное движение стола с деталью. Поперечная и вертикальная подачи - периодические поступательные перемещения, сообщаемые шлифовальной бабке с абразивным кругом. Вспомогательные движения - установочные и быстрые перемещения шлифовальной бабки в поперечном и вертикальном направлениях.

На станине установлена колонна, на которой в горизонтальном и поперечном направлениях может перемещаться каретка шлифовальной бабки.

Заготовка закрепляется непосредственно на столе, либо на магнитной плите, установленной на столе.

.7 Конструктивные особенности станка

Особенностью кинематики плоскошлифовального станка (рис. 3.1) является отсутствие коробки скоростей и подач, наличие тяговых механизмов в виде передач винт-гайка скольжения для обеспечения вертикального перемещения шлифовальной бабки и поперечного перемещения крестового суппорта и реечной передачи для ручного продольного перемещения стола. На станке имеются индивидуальные электродвигатели для сообщения главного движения резания шлифовальному кругу и ускоренного автоматического перемещения шлифовальной бабки.

2. Расчет базовых элементов станка

.1 Обоснование вида направляющих станка и выбор материала

Наибольшее распространение в станках получили направляющие скольжения и качения. Направляющие скольжения <#"866598.files/image005.gif">

Рис. 2.1 - Станина

Колонна представляет собой жесткую отливку бочкообразной формы. На верхней части колонны установлен редуктор, который предназначен для ускоренного перемещения шлифовальной головки. Привод редуктора осуществляется от электродвигателя через предохранительную муфту. Вращение получает червяк, который находится в зацеплении с червячной шестерней. При вращении винта происходит подъем или опускание шлифовальной головки, так как червячная шестерня находится в зацеплении с червяком механизма вертикальной подачи и сидит на шпоне и гайке, таким образом удерживая последнюю от поворота.

3. Кинематический анализ станка

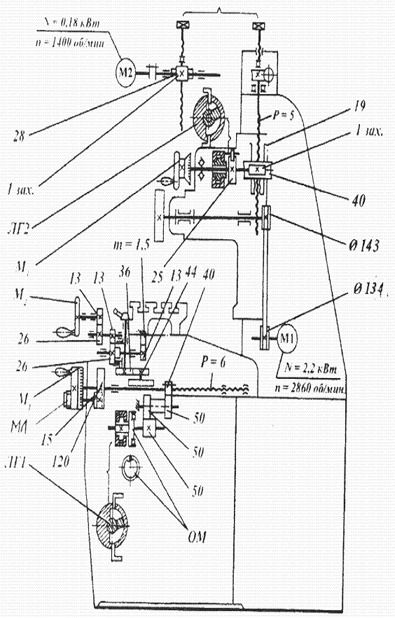
.1 Описание кинематической схемы станка

Особенностью кинематики плоскошлифовального станка (рис. 3.1) является отсутствие коробки скоростей и подач, наличие тяговых механизмов в виде передач винт-гайка скольжения для обеспечения вертикального перемещения шлифовальной бабки и поперечного перемещения крестового суппорта и реечной передачи для ручного продольного перемещения стола.

На станке имеются индивидуальные электродвигатели для сообщения главного движения резания шлифовальному кругу и ускоренного автоматического перемещения шлифовальной бабки. Автоматическая периодическая подача шлифовальной бабки и поперечная подача крестовому суппорту сообщаются от лопастных поворотных гидроцилиндров. Автоматическая продольная подача стола осуществляется гидроцилиндром. При включении давления в гидросистеме реечная шестерня ручной подачи автоматически выводится из зацепления с рейкой.

Рис. 3.1 - Кинематическая схема плоскошлифовального станка

3.2 Движение резания

Главное движение резания или вращательное движение шпинделя шлифовального круга осуществляется от электродвигателя через ременную передачу и имеет частоту вращения 2700 об/мин. При работе новым шлифовальным кругом диаметром 250 мм скорость главного движения резания

 м/сек

При работе наиболее изношенным шлифовальным кругом диаметром 150 мм минимальная скорость главного движения резания

 м/сек

Следовательно, по мере износа шлифовального круга скорость главного движения резания уменьшается.

3.3 Движения подач

Механизм вертикальной подачи

Как ручная так и автоматическая вертикальные подачи обеспечиваются механизмом вертикальной подачи (рис. 3.2). Ручная подача осуществляется от маховичка 6 через червяк 5 и червячную шестерню, которая крепится жестко с гайкой, смонтированной в корпусе шлифовальной бабки. Винт вертикальной подачи закреплен в колонне и неподвижен в осевом направлении. При вращении гайки она перемещается по винту, а вместе с ней шлифовальная бабка. При работе с ручной подачей необходимо вывести собачку 10 из зацепления с храповым колесом 4, для чего лимб 8 необходимо установить в нулевое положение рукояткой 3.

Рис. 3.2 - Механизм вертикальной подачи

При работе с автоматической вертикальной подачей необходимо установить величину подачи рукояткой 3, вместе с которой поворачиваются лимб 8 и заслонка 9. Заслонка может перекрывать определенное число зубьев храпового колеса. При вертикальной подаче, которая включается при поперечном реверсе крестового суппорта, масло под давлением подается в полость лопастного гидроцилиндра и поворачивает ротор 1, на котором жестко закреплен рычаг 2 с собачкой 10. Собачка скользит по заслонке 9, путь скольжения зависит от величины установленной подачи, а затем входит в зацепление с храповым колесом 4 и поворачивает его. Поворот храпового колеса происходит вместе с червяком. При обратном движении собачка скользит по зубьям храпового колеса или по заслонке.

Для установки лимба 7 в нулевое положение последний может поворачиваться свободно на маховичке.

Механизм поперечной подачи

Механизм поперечной подачи объединяет механизм ручной и автоматической поперечной подач суппорта.

Маховичок 7 (рис. 3.3) при ручной подаче сцепляется кнопкой 8 с ходовым винтом 5 поперечного перемещения крестового суппорта. Поворотный лимб 10 на маховичке 7 позволяет вести отсчет подачи с ценой деления 0,05 мм. Маховичок-лимб 9 обеспечивает поперечную подачу с ценой деления 0,01 мм через зубчатую передачу с внутренним зацеплением.

Рис. 3.3 - Механизм поперечной подачи

Автоматическая поперечная подача крестового суппорта включается в конце каждого продольного хода стола. От лопастного гидроцилиндра 11 через обгонную муфту 1, зубчатые колеса 2, 4 или при реверсировании 2, 3, 4 движение сообщается ходовому винту 5. Величина подачи устанавливается поворотом лимба 12, который управляет величиной угла поворота лопасти гидроцилиндра 11. Золотник 6 выполняет реверсирование подачи суппорта, вводя в зацепление шестерню 4 с колесами 2 или 3.

При включении ручной поперечной подачи шестерня 4 устанавливается золотником 6 в нейтральное положение (см. рис. 3.3).

Цепь продольной подачи

Цепь автоматической продольной подачи

Автоматическая продольная подача стола осуществляется от гидроцилиндра с 2-х сторонним штоком, который крепится к крестовому суппорту, а шток с двух сторон закреплен в кронштейнах стола. Стол с деталью получает при перемещении штока гидроцилиндра автоматическую продольную подачу, которая настраивается расходом рабочей жидкости с помощью дросселя и реверсируется при крайних положениях стола гидрораспределителем.

.4 Вспомогательные движения

Вспомогательные движения - установочные и быстрые перемещения шлифовальной бабки в поперечном и вертикальном направлениях.

.5 Кинематический расчет, построение структурной сетки и графика частот вращения

Привод шпинделя осуществляется от электродвигателя через плоскоременную передачу.

Вращение шлифовального круга постоянно со скоростью n=2680 об/мин. Структурную сетку и график частот вращения не строим.

4. Указания по эксплуатации и обслуживанию станка

От правильной установки станка в значительной мере зависит чистота и точность шлифования.

При выборе места под фундамент необходимо соблюдать следующие требования:

а)      рядом с устанавливаемым станком не должно быть машин, вызывающих вибрацию станка;

б)      помещение, в котором устанавливается станок, должно иметь температуру 16- 20°С с суточным колебанием +1.5°.

Установку станка следует производить по уровню при помощи клиньев с уклоном 1:20, изготовленных из твердого дерева или сталли.

Глубина заложения фундамента принимается в зависимости от грунта.

Для правильной работы всех узлов и увеличения срока службы станка рекомендуется соблюдать следующий порядок настройки:

1. Установить и закрепить деталь. Закрепление детали на магнитной плите производится поворотом рукоятки тумблера в положение «Плита включена».

2. В зависимости от размеров шлифуемой детали устанавливаются кулачки продольного реверса так, чтобы продольный ход стола был больше длины детали на во-100 мм.

3. Включить поочередно шлифовальный круг и гидропривод.

4. Дроссельный кран гидропанели установить в положение «Пуск».

5. Рукоятку «Скорость стола» медленно выводить из положения «Меньше», постепенно увеличивая скорость стола.

6. При скорости стола 8-10 м:мин. подвести шлифовальный круг к изделию, вначале пользуясь механизмом ускоренного перемещения, а затем вручную до искры.

7. В случае работы с автоматической поперечной подачей установить необходимую величину поперечной подачи. Маховик поперечной подачи должен быть при этом разъединен с валом, т. е. кнопка должна быть вытащена на себя.

8. В случае работы с автоматической вертикальной подачей поворотом рукоятки установить необходимую величину вертикальной подачи. При работе с ручной вертикальной подачей рукоятка должна быть установлена в положение «О».

9. Правку круга осуществлять по мере затупления круга, вначале грубо, затем с малой подачей алмаза (0.02-0.04 мм:об). Величина снимаемого слоя при правке круга может быть в пределах 0,1 до 0,3 мм. Для осуществления правки круга необходимо стойку с алмазом жестко закрепить на столе либо на магнитной плите.

10. Перед установкой на станок шлифовальный круг сбалансировать статически, для чего в собранном виде круг с планшайбами закрепляется на конусной оправке, которая устанавливается на ножи или валики балансировочного приспособления.

С помощью подвижных грузов на фланце производят предварительную балансировку круга. Затем устанавливают круг на шпиндель и грубо правят его до тех лор. пока круг будет заправлен по всему диаметру.

Для окончательной балансировки круг вторично балансируют с особой тщательностью, а грузы зажимают стопорными винтами.

По мере износа круга необходимо периодически проверять его сбалансированность, так как при износе первоначальная сбалансированность нарушается.

5. Требования техники безопасности и экологии при работе на станке

Развитие промышленности и освоение новых, более эффективных технологических процессов с целью повышения производительности труда привело к возрастанию всевозможных производственных отходов, образующихся вместе с готовой продукцией в результате переработки разнообразных природных ресурсов и вызывающих загрязнение окружающей среды, экологические процессы являются также источниками шума и вибрации. В машиностроении и металлообработке наибольшее значение с точки зрения загрязнения воздушного бассейна имеют разнообразные пыли - в воздухе частицы твердых веществ.

Производственными сточными водами называются воды, использования промышленным предприятием и подлежащие очистке от различных Иных примесей. К последним относятся эмульсии нерастворимых в воде (например, масел), взвешенных в виде более или менее мелких велек, и суспензии - взвеси твердых частиц, размеры которых могут составлять нескольких миллиметров.

Промышленные твердые отходы делятся на токсичные и нетоксичные. Основная масса твердых отходов машиностроения и металлообработки нетоксична (металлическая стружка, окалина, зола, отходы дерева, резина, всякого рода мусор). Примерами токсичных твердых отходов могут быть названы шламы гальванических цехов и травильных участков.

Промышленный шум большой интенсивности не только поражает органы слуха, но также оказывает общее отрицательное воздействие на организм человека, повышая его утомляемость, рассеивая его внимание. Шум может привести к снижению производительности, росту брака, к травматизму и хроническим заболеваниям.

Не допускать рабочего к станку, не ознакомив его предварительно с правилами техники безопасности. При работе на станке необходимо строго соблюдать следующие требования:

2. Перед установкой на станок круги должны подвергаться испытанию на разрыв на специальной машине.

3. Не включать шлифовальную головку с кругом при незакрытом кожухе.

4. Включать шлифовальную головку с кругом можно, только убедившись в том, что круг надежно и правильно закреплен.

5. После установки деталей и включения магнитной плиты необходимо проверить надежность закрепления детали.

6. При работе на станке руководствоваться режимами и припусками, установленными для данного типа станков.

7. Запрещается прикасаться к кругу рукой непосредственно при закрытом кожухе.

8. Запрещается установка, снятие, измерение дета пей при вращающемся круге над зеркалом стола или магнитной плитой.

9. Запрещается проверять натяжение ремня при вращающемся круге.

10. После окончания работы станок отключить от сети вводным пакетным выключателем.

11. Соблюдать правила защиты экологической среды.

12. Приступать к работе в рабочей оснастке.

. Запрещается открывать крышку электрошкафа.

14. Строго соблюдать порядок и правило включения и пуска станка.

6. Обоснование экономической эффективности станка

Плоскошлифовальный станок высокой точности в основном предназначен для шлифования поверхностей периферией круга. В определенных границах (в зависимости от выступающей части шлифовального круга из защитного кожуха) возможна обработка поверхностей, расположенных под углом 90° к зеркалу стола.

По специальному заказу за отдельную плату вместе со станком может быть поставлен ряд приспособлений. расширяющих технологические возможности станка.

С применением различных приспособлений возможно профильное шлифование различных деталей. Точность профиля при этом зависит от метода заправки профиля круга и от применяемого приспособления для крепления деталей.

Станок поставляется со стандартной электромагнитной плитой.

7. Проектирование режущего инструмента, применяемого на станке

.1 Назначение режущего инструмента

Абразивные материалы широко используются для обработки материалов из металла, камня, бетона и др. Благодаря высоким параметрам твердости, они способны шлифовать, полировать, финишировать поверхности самых прочных предметов и точно отрезать необходимые части. Основные сферы применения абразивных материалов - заготовительное производство и конечная обработка материалов.

Круг шлифовальный - это инструмент для шлифовальных станков и шлифмашинок, расходный материал, который применятеся для шлифования и заточки разных материалов, для обработки камня, деталей и конструкций из металла, нержавеющей стали, чугуна, зачистки сварных швов, для заточки режущих поверхностей инструментов. При выборе шлифовального круга, следует обратить внимание на его основные параметры: размер, зернистость, тип связки, рабочая скорость.

Круг абразивный шлифовальный применяется на ручных и напольных станках. Абразивные круги применяются в машиностроительной, энергетической и других областях промышленности. Круг абразивный используется для шлифования и притирки материалов, он обеспечивает идеальное выравнивание и низкую шероховатость для металлическиих и прочих

.2 Технические требования, предъявляемые к режущему инструменту

Абразивным может быть любой природный или искусственный материал, зерна которого обладают определенными свойствами: твердостью, прочностью и вязкостью; формой абразивного зерна; зернистостью, абразивной способностью, механической и химической стойкостью, т. е. способностью резания и шлифования других материалов. Естественные абразивные материалы -- кремень, наждак, пемза, корунд, гранат, алмаз и др.; искусственные -- электрокорунд, монокорунд, карбид кремния, боразон, эльбор, синтетический алмаз и др. Главной особенностью абразивных материалов является их высокая твердость по сравнению с другими материалами и минералами. Именно на различии в твердости основаны все процессы шлифовки и резки материалов.

Под абразивной способностью понимают возможность одного материала обрабатывать другой или группу различных материалов. Абразивная способность характеризуется массой снимаемого при шлифовании материала до затупления зерен, либо определяется количеством сошлифованного за определенное время материала

Под механической стойкостью понимают способность абразивного материала выдерживать механические нагрузки и не разрушаться при резке, шлифовке и полировке. Механическая стойкость абразивных материалов характеризуется пределом прочности при сжатии, который определяют, раздавливая зерно абразивного материала и фиксируя нагрузку в момент его разрушения. При повышении температуры предел прочности абразивных материалов снижается, поэтому в процессе шлифования необходимо контролировать температуру.

Под химической стойкостью понимают способность абразивных материалов не изменять своих механических свойств в растворах щелочей, кислот, а также в воде и органических растворителях. Абразивные материалы часто используют в виде суспензий микропорошков определенной зернистости в различных растворах.

Размер зерен абразивных материалов оказывает существенное влияние на глубину залегания механически нарушенного слоя на поверхности материала при резке, шлифовке и полировке.

7.3 Элементы конструкции и геометрические параметры инструмента

Абразивный инструмент представляет собой твердое тело, состоящее из зерен абразивного (шлифовального) материала, скрепленных между собой связкой. Значительную часть объема абразивного инструмента занимают воздушные поры. Абразивные инструменты в подавляющем большинстве используются в виде шлифовальных кругов разнообразной формы. Кроме того, они могут использоваться в виде брусков, шкурок, паст и порошков.

Рис.7.1- Схема резания и расположения абразивных зерен, пор и связки в абразивном инструменте при шлифовании

Рисунок 7.2 - Конструкция стандартного шлифовального круга: где Dk диаметр шлифовального круга, мм; Вк - высота шлифовального круга, мм; d R - величина радиального зазора, мм.

.4 Расчет геометрических параметров инструмента

 

Тип 1 круг предназначен для плоского, круглого, бесцентрового, внутреннего шлифования, заточки, прорезки пазов, шелушения круп. ГОСТ 2424-83


D - диаметр, мм- высота, мм- отверстие, мм   - 13 - 1060- 3 - 200- 6 - 305

Таблица 7.1 Тип выбранного шлифовального круга

Примечание. Размеры, заключенные в скобки, применять не рекомендуется

Заключение

В ходе выполнения курсового проекта был произведено ознакомление с технологическими возможностями плоскошлифовального станка модели 3Г71, устройством и принципом его действия. В ходе курсового проектирования был произведён кинематический анализ плоскошлифовального станка. Также было произведено ознакомление с правилами эксплуатации и технического обслуживания станка и требованиями безопасности при работе на нём. Было выполнено проектирование режущего инструмента, применяемого на станке.

При выполнении курсового проекта были использованы знания о кинематике станков, использовались ГОСТы, нормативные документы и справочная литература. А также для разработки чертежей использовалась программа как kompas V12.

Список использованных источников

1. Глубокий В.И. Металлорежущие станки и промышленные роботы. Ч. 1. Конструирование металлорежущих станков. - Мн., 1988.

. Жданович В.В. Техническая эксплуатация технологического оборудования: курсовое и дипломное проектирование/ В.В. Жданович.- Мн.: «Беларусь», 2006- 278с.:ил.

. Локтева С. Е. Станки с программным управлением: Учебн. Пособие для машиностроительных техникумов. - М.: Машиностроение, 1979.- 288 с.,ил.

. Копылов Р.Б. Работа на строгальных и долбежных станкахУчебн. Пособие для машиностроительных техникумов. - М.: Машиностроение, 1979.- 392с.,ил

. Чернов Н.Н. Металлорежущие станки: Учебник для машиностроительных техникумов.-3-е изд., перераб. и доп.- М.: «Машиностроение»,1978-389 с., ил.

. Черпаков Б. И., Альперович Т. А. «Металлорежущие станки», Москва, ACADEMIA, 2004 г.

. ГОСТ 12.1.030-81. Система стандартов безопасности труда. Электробезопасность. Защитное заземление, зануление. - Москва: Госстандарт: Межгос. совет по стандартизации, метрологии и сертификации, 1982.

. ГОСТ 12.2.009-99. Система стандартов безопасности труда. Станки металлообрабатывающие. Общие требования безопасности. - Минск: БелГИСС: Межгос. совет по стандартизации, метрологии и сертификации, 1999.

Похожие работы на - Технические характеристики плоскошлифовального станка

 

Не нашли материал для своей работы?
Поможем написать уникальную работу
Без плагиата!
Без нейросетей!