Терморезистивные датчики
Первое высшее
техническое учебное заведение России
Министерство
образования и науки Российской Федерации
федеральное
государственное бюджетное образовательное учреждение высшего профессионального
образования
"Национальный
минерально-сырьевой университет "Горный"
Реферат
Терморезистивные
датчики
Выполнили:
студент гр. АПГ-13
Морозов А.Д.
Проверил:
доцент Булатов В.В.
Санкт-Петербург
год
Оглавление
Введение
. Резистивные
детекторы температуры
. Терморезистор
.1
Температурный коэффициент сопротивления
.2
Конструкция и разновидности терморезисторов
.3 Режимы
работы терморезистра
Заключение
Список литературы
Введение
Терморезистивные датчики - устройства предназначенные для измерения
температуры. Основаны на принципе изменения электрического сопротивления
(полупроводника или проводника) при изменении температуры. Основным элементом
является терморезистор - элемент изменяющий свое сопротивление в зависимости от
температуры окружающей среды. На рис.1 изображены несколько примеров внешнего
исполнения терморезистивных датчиков. [2]
Рис. 1. Примеры внешнего исполнения терморезистивных датчиков
Хамфри Дэви еще в 1821 году заметил, что электрическое сопротивление
различных металлов зависит от температуры. Вильям Сименс в 1871 году разработал
первый платиновый резистивный термометр. А в 1887 году Хью Каллендар
опубликовал статью, в той он описал способы практического применения платиновых
термометров. Достоинствами терморезистивных датчиков являются высокая
чувствительность, простота создания интерфейсных схем и долговременная
стабильность. Такие датчики можно разделить на две подгруппы: РДТ (резистивные
датчики температуры) и термисторы (терморезисторы). [4]
1.
Резистивные детекторы температуры
Этот термин обычно относится к металлическим детекторам, которые бывают
проволочными и тонкопленочными. Поскольку удельное сопротивление всех металлов
и большинства сплавов зависит от температуры, на их основе можно разрабатывать
чувствительные элементы для измерения температуры. Хотя для изготовления
температурных детекторов подходят практически все металлы, но все же, в
основном, для этих целей используется только платина. Это объясняется
воспроизводимостью ее характеристик, долговременной стабильностью и прочностью.
Для измерения температур выше 600°С применяются вольфрамовые РДТ. Все РДТ
обладают положительными температурными коэффициентами. Выпускаются несколько
типов РДТ:
. Тонкопленочные РДТ, изготовленные из тонких слоев платины или ее сплавов,
нанесенных на подходящую подложку, к примеру, на кремниевую микромембрану. РДТ
часто формируются в виде серпантинной структуры для получения высокого
отношения длины к ширине
. Проволочные РДТ, в которых платиновая проволока намотана внутри
керамической трубочки и прикреплена к ней при помощи высокотемпературного клея.
Такая конструкция позволяет изготавливать датчики, обладающие очень высокой
стабильностью. [4]
2.
Терморезистор
Терморезистор - полупроводниковый прибор, электрическое сопротивление которого
изменяется в зависимости от его температуры. Был изобретён Самюэлем Рубеном в
1930 году.
Терморезисторы изготавливаются из материалов с высоким
температурным коэффициентом сопротивления (ТКС), который обычно на порядки
выше, чем ТКС металлов и металлических сплавов. [5]
.1
Температурный коэффициент сопротивления
Температурный коэффициент электрического сопротивления
- величина, равная относительному изменению электрического сопротивления
участка электрической цепи или удельного сопротивления вещества при изменении
температуры на единицу.
Температурный коэффициент сопротивления характеризует
зависимость электрического сопротивления от температуры и измеряется в
кельвинах в минус первой степени (K−1).
Для большинства металлов температурный коэффициент
сопротивления положителен: их сопротивление растёт с ростом температуры
вследствие рассеяния электронов на фононах (тепловых колебаниях кристаллической
решётки).
Для полупроводников без примесей он отрицателен (сопротивление
с ростом температуры падает), поскольку при повышении температуры всё большее
число электронов переходит в зону проводимости, соответственно увеличивается и
концентрация дырок.
Температурная зависимость сопротивления металлических
сплавов, газов, легированных полупроводников и электролитов носит более сложный
характер.[4]
.2
Конструкция и разновидности терморезисторов
Резистивный элемент терморезистора изготавливают
методом порошковой металлургии из оксидов, галогенидов, халькогенидов некоторых
металлов, в различном конструктивном исполнении, например в виде стержней,
трубок, дисков, шайб, бусинок, тонких пластинок, и размерами от 1-10
микрометров до нескольких сантиметров.
По типу зависимости сопротивления от температуры
различают терморезисторы с отрицательным (термисторы или NTC-термисторы, от
слов "Negative temperature coefficient") и положительным (позисторы
или PTC-термисторы, от слов "Positive temperature coefficient")
температурным коэффициентом сопротивления (или ТКС). Для позисторов - с ростом
температуры растёт их сопротивление; для термисторов - увеличение температуры
приводит к падению их сопротивления.
Условно терморезисторы классифицируют как
низкотемпературные (предназначенные для работы при температурах ниже 170 К),
среднетемпературные (от 170 до 510 К) и высокотемпературные (выше 570 К).
Выпускаются терморезисторы, предназначенные для работы при температурах от 900
до 1300 К.
Терморезисторы способны работать в различных
климатических условиях и при значительных механических нагрузках. Однако, с
течением времени, при жёстких условиях его эксплуатации, например,
термоциклировании, происходит изменение его исходных термоэлектрических
характеристик, таких как:
· температурного коэффициента
сопротивления.
Также существуют комбинированные приборы, такие как
терморезисторы с косвенным нагревом. В этих приборах в одном корпусе совмещены
терморезистор с гальванически изолированным нагревательным элементом, задающего
температуру терморезистора, и, соответственно, его сопротивление. Такие приборы
могут использоваться в качестве переменного резистора, управляемого
напряжением, приложенным к нагревательному элементу такого терморезистора. [3,
с. 8]
Рис. 2
Условное обозначение терморезистора
терморезистивный
датчик детектор полупроводник
2.3 Режимы
работы терморезистра
Режим работы терморезисторов зависит от того, на каком участке
статической вольт-амперной характеристики (ВАХ) выбрана рабочая точка. В свою
очередь ВАХ зависит как от конструкции, размеров и основных параметров
терморезистора, так и от температуры, теплопроводности окружающей среды,
тепловой связи между терморезистором и средой.
Типовая ВАХ терморезистора представлена на рис. 3 (пунктиром показана
смещенная характеристика при более высокой температуре окружающей среды или при
большем токе подогрева).
Терморезисторы с рабочей точкой на начальном (линейном) участке ВАХ
используются для измерения и контроля температуры и компенсации температурных
изменений параметров электрических цепей и электронных приборов. Терморезисторы
с рабочей точкой на нисходящем участке ВАХ (с отрицательным сопротивлением)
применяются в качестве пусковых реле, реле времени, измерителей мощности
электромагнитного излучения на СВЧ, стабилизаторов температуры и напряжения.
Рис. 3. Типовая ВАХ терморезистора
Режим работы терморезистора, при котором рабочая точка находится также на
ниспадающем участке ВАХ (при этом используется зависимость сопротивления
терморезистора от температуры и теплопроводности окружающей среды), характерен
для терморезисторов, применяемых в системах теплового контроля и пожарной
сигнализации, регулирования уровня жидких и сыпучих сред; действие таких
терморезисторов основано на возникновении релейного эффекта в цепи с
терморезистором при изменении температуры окружающей среды или условий
теплообмена терморезистора со средой.
Существуют терморезисторы особой конструкции - с косвенным подогревом. В
таких терморезисторах имеется подогревная обмотка, изолированная от
полупроводникового резистивного элемента (если при этом мощность, выделяющаяся
в резистивном элементе, мала, то тепловой режим терморезистора определяется
температурой подогревателя, а, следовательно, током в нём). Таким образом,
появляется возможность изменять состояние терморезистора, не меняя ток через
него. Такой терморезистор используется в качестве переменного резистора,
управляемого электрически на расстоянии.
Из терморезисторов с положительным температурным коэффициентом наибольший
интерес представляют терморезисторы, изготовленные из твёрдых растворов на
основе BaTiO. Их и называют позисторами. Известны терморезисторы с небольшим
положительным ТКС (0,5-0,7%/К), выполненные на основе кремния с электронной
проводимостью; их сопротивление изменяется с температурой примерно по линейному
закону.
Такие терморезисторы используются, например, для температурной
стабилизации электронных устройств на транзисторах. [3, с. 9]
На рис.4 показана Зависимость сопротивления терморезистора от
температуры. Линия 1 - для ТКС < 0, линия 2 - для ТКС > 0.
Рис. 4. Зависимость сопротивления терморезистора от температуры
.4 Применение
термисторов
Основным применением термисторов является измерение температуры.
Температура является важным параметрам для функционирования различной техники,
как бытовой так и промышленного назначения. Так же значение температуры имеет
большое влияние на протекания различных процессов, особенно в химической промышленности.
Для измерения используется различные датчики температуры, в зависимости от
условий измерений, в том числе и терморезистивные датчики.
Термисторы являются пассивными элементами электрической цепи, величина
сопротивления которых зависит от температуры. Поэтому для измерения температуры
можно обратится к любому известному методу измерения величины сопротивления.
Однако высокий коэффициент сопротивления и его нелинейная зависимость от
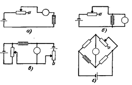
температуры вносят некоторую специфику в расчет измерительной схемы (рис. 5).
[2, с. 133]
В качестве примера, термисторы можно встретить в любой технике, где имеет
место гидравлическая система, т.к. важным параметром жидкости в любой
гидравлической системе является температура. Некоторые типы проходческих
комбайнов имеют в составе датчика контроля масла терморезистор для контроля
температуры. Во многих насосных станция так же установлены терморезисторы для
контроля температуры рабочей жидкости. Так же терморезисторы применяются во
многих электродвигателях для их защиты от перегрева обмотки и во многих других
устройствах.

а, б - цепь Rт,R; в - патенциометрическая; г -
мостоавя.
Терморезисторы могут быть использованы не только как датчики температуры,
но и как индикаторы уровня, датчики для измерения давления, излучения, скорости
потоков и др. Однако такое применение терморезисторов встречается реже.
Заключение
В настоящее время терморезистивные датчики используются практически во
всех областях деятельности человека. Они установлены в микроволновых печах,
холодильниках, кондиционерах, мобильных телефонах, автомобилях, телевизорах и
во многих других электронных устройствах, которыми человек пользуется каждый
день.
Так же этот вид датчиков активно используется в области автоматизации в
промышленности для дистанционного контроля не только температуры, но и многих
других параметров. А устойчивость к механическим повреждениям и способность
терморезистивных датчиков работать в экстремальных для человека климатических
условиях, позволила осуществлять контроль над процессами без непосредственного
присутствия человека вблизи этих процессов.
Резюмируя, можно сказать, что благодаря своим преимуществам, таким как:
простота конструкции, относительно маленькие размеры, способность работать в
различных климатических условиях при значительных механических нагрузках и др.,
терморезистивные датчики нашли свое применение во многих областях деятельности
человека, как повседневных, так и промышленного масштаба.
Список
литературы
1. Зайцев
Ю.В. Полупроводниковые резисторы. - М.: Энергия, 1969. - 26 с.
. Шашков
А.Г., Касперович А.С. Динамические свойства цепей с термисторами. - М.:
Госэнергоиздат, 1962. - 210 с.
. Мэклин Э.Д
[Macklen E.D.]. Терморезисторы: пер. с англ. / Под общей редакцией К.И.
Мартюшева. - М.: Радио и связь, 1983. - 207 с.
.
Терморезистивные датчики. [Электронный ресурс] // datchikisensor.narod.ru:
датчики и сенсоры он-лайн журнал. - URL:
http://datchikisensor.narod.ru/0128.html (дата обращения: 21.11.2015).
. Датчики
температуры. [Электронный ресурс] //.devicesearch.ru поиск контрольно
измерительных приборов и датчиков. - URL:
http://www.devicesearch.ru/article/datchiki-temperatury (дата обращения:
21.11.2015).