Расчет основного оборудования для схемы очистки воздуха от аммиака
Содержание
Введение
. Схема
абсорбционной установки
2. Насосная
установка
2.1 Принцип
действия
.2 Расчет
насосной установки
.
Теплообменный аппарат
3.1 Принцип действия
3.2 Расчет
теплообменного аппарата
4. Абсорбционный аппарат
4.1 Принцип
действия
4.2 Расчет
абсорбера
Выводы
Заключение
Список
источников
Введение
Актуальность проблемы очистки воздуха от аммиака можно объяснить с двух
точек зрения: экологической и экономической.
С экологической точки зрения аммиак в больших количествах и концентрациях
оказывает губительное воздействие на окружающую среду и здоровье человека.
Предельно допустимой нормой является содержание аммиака - 20 мг на кубический
метр воздуха [1].
По физиологическому действию на организм аммиак относится к группе
веществ удушающего и нейротропного действия, способных при ингаляционном
поражении вызвать токсический отёк лёгких и тяжёлое поражение нервной системы.
Животные, подвергшиеся воздействию аммиака испытывают симптомы, похожие на те,
которые испытывает человек, в частности, трудности с дыханием [1].
Аммиак в основном используется для производства азотных удобрений (нитрат
и сульфат аммония, мочевина), взрывчатых веществ и полимеров, азотной кислоты,
соды (по аммиачному методу) и других продуктов химической промышленности. В холодильной
технике используется в качестве холодильного агента. Аммиачная вода является
азотным удобрением. Нашатырный спирт используют в медицине. В связи с этим
очищать воздух от аммиака не только экологически необходимо, но и выгодно с
экономической точки зрения [1].
1. Схема абсорбционной установки
Абсорбция - это массообменный процесс, при котором компонент из газовой
фазы переходит в жидкую фазу - поглотитель. Различают физическую и химическую
абсорбцию. В данной курсовой работе происходит химическая абсорбция.
Хемосорбция - это процесс, при котором распределяемый компонент вступает
в химическую реакцию с поглотителем.
При взаимодействии с водой идет абсорбция аммиака водой:
+H2O
NH4OH
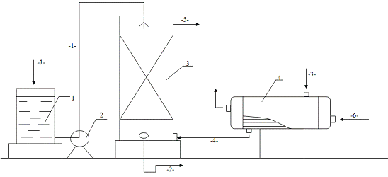
Схема абсорбционной установки представлена на рисунке 1.1.
Регенерированная вода из ёмкости 1 центробежным насосом 2 подается на
верх абсорбера 3 (поток -1-). Через форсунку вода разбрызгивается по общему
сечению аппарата.
Насыщенная аммиаком жидкость (поток -2-) выводится на регенерацию.
Горячий воздух, содержащий аммиак (поток -3-) поступает в межтрубное
пространство теплообменника 4, где охлаждается с помощью технической воды
(поток -6-), которая вводится в трубное пространство теплообменника.
Охлажденный воздух (поток -4-) подается в штуцер абсорбера и поднимается наверх
в абсорбер. В абсорбере соблюдается противоток газа и жидкости: жидкость
движется вниз, а газ вверх. При контакте воздуха с водой, аммиак из воздуха
переходит в жидкую фазу, а очищенный воздух выходит в атмосферу (поток -5-).
Рис. 1.1. Схема абсорбционной установки
Условные обозначения:
1 - ёмкость с регенерируемой жидкостью
- центробежный насос;
- абсорбер;
- холодильник
Потоки:
-1- - регенерация воды
- - вода насыщается аммиаком
- - горячий воздух
- - охлажденный воздух
- - очищенный воздух
- - охлаждаемая вода
2. Насосная установка
Для перемещения капельных жидкостей служат насосы. Их разделяют на
следующие основные типы: поршневые, центробежные, осевые, ротационные, струйные.
Поршневые насосы получили широкое распространение в XIX в. С появлением
быстроходных электродвигателей поршневые насосы стали вытесняться центробежными
насосами, конструкции которых достигли большого совершенства в течении
последних десятилетий. Рассмотрим этот тип насосов подробнее [1].
.1 Принцип действия
В центробежных насосах всасывание и нагнетание жидкости происходит под
действием центробежной силы, возникающей при вращении заключенного в корпус
колеса с лопатками (рис. 2.1).
В чугунном корпусе спиралевидной формы вращается вал приводимый в
движение непосредственно от электродвигателя или от трансмиссии; на валу
закреплено рабочее колесо с лопатками определенной формы, образующими между
собой каналы для прохода жидкости [1].
Рис. 2.1. Схема центробежного насоса
Корпус насоса снабжен двумя штуцерами. Один находится на осевой части
корпуса и непосредственно сообщается с пространством внутренней окружности
колеса; к этому штуцеру присоединен всасывающий трубопровод. Второй штуцер
помещен тангенциально на боковой части корпуса и соединяется с нагнетательным
трубопроводом [1].
Приемный клапан служит для того, чтобы залить насос жидкостью перед
пуском и предотвратить опоражнивание всасывающего трубопровода (при остановке
насоса). Чтобы предотвратить обратный слив жидкости и защитить насос от
гидравлического удара при внезапной остановке, в напорном трубопроводе часто
устанавливают обратный клапан [1].
Если внутреннее пространство корпуса заполнено жидкостью, то при вращении
колеса лопатки придают жидкости, находящейся в колесе, вращательное движение.
При этом возникающая при вращении центробежная сила отбрасывает жидкость от
центра к периферии колеса; отсюда она затем выбрасывается в корпус и поступает
в нагнетательный трубопровод.
При вращении колеса жидкость непрерывно засасывается из бассейна или
резервуара в насос и выталкивается из насоса. Таким образом, в центробежном
насосе, в отличие от поршневого, всасывание и нагнетание жидкости протекают
равномерно и непрерывно. Давление, развиваемое центробежной силой в насосе, а
следовательно, и высота нагнетания зависят от скорости вращения рабочего колеса
и будут тем больше, чем большее число оборотов делает колесо [1].
Высота подачи центробежного насоса с одним рабочим колесом ограничена.
Поэтому насосы в зависимости от требуемой высоты подачи изготавливают с
несколькими рабочими колесами, соединенными друг с другом последовательно [1].
Центробежные насосы обеспечивают плавную и непрерывную подачу
перекачиваемой жидкости при достаточно высоких значениях коэффициента полезного
действия. Относительно простое устройство обеспечивает их высокую надежность и
достаточную долговечность. Отсутствие поверхностей трения, клапанов создает
возможности для перекачивания загрязненных жидкостей. Простота
непосредственного соединения с высокооборотными двигателями способствует
компактности насосной установки и повышению ее к. п.д. Центробежные насосы
наиболее пригодны во всех случаях, когда требуется большая производительность
при относительно небольшом напоре, т.е. для большинства химических производств
[2].
Все эти достоинства лопастных насосов, прежде всего центробежных, привели
к тому, что они являются основными насосами в химической промышленности [2].
К недостаткам центробежных насосов относится ограниченность их применения
в области малых производительностей и больших напоров [2].
.2 Расчет насосной установки
Задание: определить напор, развиваемый центробежным насосом, и
потребляемую им мощность при перекачивании воды из открытой емкости в абсорбер,
работающий при избыточном давлении.
Исходные данные:
. температура воды tВ = 30°C;
2. производительность насоса по воде V = 65 м3/ч;
3. диаметр всасывающего трубопровода d1 = 150 мм;
. диаметр нагнетательного трубопровода d2 = 300 мм;
. длина всасывающего трубопровода l1 = 40 м;
. длина нагнетательного трубопровода l2 = 50 м;
. число отводов под углом 90º на каждом трубопроводе n = 3 шт;
. число вентилей на каждом трубопроводе m = 1 шт;
. абсолютная шероховатость трубопроводов
= 0,1 мм;
. высота подъема жидкости в нагнетательном трубопроводе Н = 15 м;
. коэффициент полезного действия насоса η
= 0,55 ;
. давление избыточное Р = 0,15·10-2 МПа.
Решение
Рис. 2.2. Схема сети насосной установки
- Потребляемая мощность
- Напор
Общие потери
Потери давления на всасывающей линии
Потери давления на нагнетательной линии
Находим скорость воды в нагнетательной и всасывающей линиях по формуле:
Находим критерий Рейнольдса по формуле:
где ρ - плотность воды при 30°C, ρ = 995,7 кг/м3 [4]
μ - вязкость воды при 30°C,
μ = 0,8007·10-3 Па·с
[4]
Режим течения воды: устойчивый турбулентный
По графику зависимости коэффициента трения от критерия Рейнольдса и
степени шероховатости, находим значение коэффициента трения
Для всасывающей линии: при
=1500 и Re = 190636
=0,0151 [4]
Для нагнетательной линии при
= 3000 и Re = 95504
=0,0179 [4]
Сумма коэффициентов местных сопротивлений для всасывающей линии:
- вход в трубу с острыми краями (0,5) [4]
- нормальный вентиль (m) = 4,4 [4]
- отвод под углом 90° (n) = 1
3=3 [4]
Сумма коэффициентов местных сопротивлений для нагнетательной линии:
- вход в трубу с острыми краями (0,5) [4]
- нормальный вентиль (m) = 5,2 [4]
- отвод под углом 90° (n) = 1
3=3 [4]
Потери давления на всасывающей линии:
Потери напора на всасывающей линии:
Потери давления на нагнетательной линии:
Потери давления на нагнетательной линии:
Потери напора на нагнетательной линии:
Дополнительные потери давления
= 1 атм = 101325 Па
Дополнительные потери напора:
Рассчитываем полный напор, развиваемый насосом:
Рассчитываем потребляемую мощность:
По справочным данным устанавливаем, что по заданным напору и
производительности следует выбрать центробежный насос марки X90/33. Для
которого при оптимальных условиях V = 2,5
10-2 м3/с (т.к V=65/3600=1,8
10-2 м3/с) , H = 29,2 м, КПД насоса
= 0,7. Насос снабжен двигателем AO2-71-2, номинальная мощность 22 кВт, частота
вращения вала = 48,3 об/с.
3. Теплообменный аппарат
Теплообменниками называют аппараты, применяемые для осуществления
теплообмена между двумя теплоносителями с целью нагревания или охлаждения
одного из них, а в ряде случаев целевое назначение имеют оба процесса -
нагревание холодного теплоносителя и охлаждение горячего [2].
Теплообменные аппараты можно классифицировать но следующим признакам:
а) но принципу действия: поверхностные и смесительные;
б) но назначению: холодильники, подогреватели, конденсаторы,
испарители;
в) по направлению движения теплоносителей: прямоточные,
противоточные, перекрестного тока и др. [2].
Рассмотрим более подробно классификацию теплообменных аппаратов по
принципу действия. В соответствии с этим классификационным признаком
поверхностные аппараты можно подразделить на следующие типы в зависимости от
вида поверхности теплообмена:
а) аппараты с трубчатой поверхностью теплообмена (кожухотрубчатые
теплообменники, теплообменники "труба в трубе", оросительные
теплообменники, змеевиковые теплообменники);
б) аппараты с плоской поверхностью теплообмена (пластинчатые
теплообменники, спиральные теплообменники, аппараты с рубашкой) [2].
.1 Принцип
действия
Кожухотрубчатые теплообменники различных конструкций - наиболее
распространённый тип теплообменных аппаратов. Они состоят из пучка труб, концы
которых закреплены в специальных трубных решетках путем развальцовки, сварки,
пайки, а иногда на сальниках. Пучок труб расположен внутри общего кожуха,
причем один из теплоносителей движется по трубам, а другой - в пространстве
между кожухом и трубами (межтрубное пространство). Таким образом, горячий и
холодный потоки теплоносителей движутся по разным камерам, не смешиваясь друг с
другом. Процесс теплообмена идет через стенки камер [2].
В одноходовом теплообменнике, теплоноситель движется параллельно по всем
трубам. Многоходовые теплообменники, работающие при смешанном токе
теплоносителей (применяют для повышения скорости их движения в трубах) [2].
Для повышения скорости движения теплоносителя в межтрубном пространстве
устанавливают продольные и поперечные перегородки. Продольные перегородки
применяются в многоходовых теплообменниках для разделения межтрубного
пространства на ходы. Поперечные перегородки используются как в одноходовых,
так и в многоходовых теплообменниках [2].
Используемый в технологической схеме, для очистки воздуха от аммиака,
кожухотрубчатый теплообменник с перегородками изображен на рисунке 3.1.
Рисунок 3.1. - Кожухотрубный теплообменник
Достоинства кожухотрубчатых теплообменников: компактность, небольшой
расход металла, легкость очистки труб изнутри (за исключением теплообменников с
U-образными трубами) [2].
Недостатками таких теплообменников являются: трудность пропускания
теплоносителей с большими скоростями (этот недостаток в известной мере
устраняется в многоходовых и элементных теплообменниках), трудность очистки
межтрубного пространства и малая доступность его для осмотра и ремонта,
трудность изготовления из материалов, не допускающих развальцовки и сварки
(чугун, ферросилид и др.) [2]
.2 Расчет теплообменного аппарата
Исходные данные:
. Расход воздуха G = 8, кг/с;
. Температура воды: начальная t1 = 20°C, конечная t2 = 60°C;
. Температура воздуха: начальная t3 = 70°C, конечная t4 = 28°C;
Решение
Характер изменения температуры теплоносителей вдоль поверхности труб для
принятой схемы движения теплоносителей (противоток) показан на рисунке 3.2.
Рисунок 3.2. - Схема движения теплоносителей при противотоке
Для определения расхода охлаждающих агентов составим уравнение теплового
баланса:
Qгор = Qхол + Qпот,= G · Cвозд · (t3 - t4) = G · Своды · (t2 - t1),
где Q - количество теплоты, отданное воздухом при его охлаждении, кг/с;,
- расход воздуха и воды соответственно, кг/с;возд =1005, Своды=4187 - удельные
теплоемкости воздуха и воды [4], Дж/(кг·К).
Из уравнения материального баланса, определяем тепловую нагрузку:
= G · Cвозд · (t3 - t4) = 8 · 1005 · (70 - 28) = 337680 Вт.
Определяем расход охлаждающей воды по формуле:
Поверхность нагрева теплообменника определим по уравнению теплопередачи:
Q = K · F · Δtcp , откуда
где K - коэффициент теплопередачи, Вт/(м2 · К);- поверхность
теплообмена, м2;
Δtcp - средняя разность температур, °C.
Так как
=
= 1,25 < 2, то
где
и
- разность температур воды и воздуха на входе и на выходе из
теплообменника.
Коэффициент теплопередачи рассчитывается по формуле:
Для определения числа Нуссельта необходимо знать характер движения воды в
трубе. Для этого вычислим значение критерия Рейнольдса по формуле:
Для вынужденного движения W =
15
30 (м/с)= 0,025 (м) по условию
возд при 9
= 1,247
(кг/м3) [4]
возд при 9
=
0,0000176 (Па
с) [4]
λвозд при 9
=0,0251
(Вт/ м
= 0,5 (м/с) по условию= 0,021
(м) по условию
возд при 20
= 999
(кг/м3) [4]
возд при 20
=
0,001005 (Па
с) [4]
λвозд при 20
=0,599
(Вт/ м
при 20
= 7,02
[4]
Так как Re > 10 000 (устойчивое турбулентное движение), то расчет
критерия Нуссельта проводим по уравнению:
Находим коэффициент теплопередачи:
ст = 2
[4]
λст = 46,5 (Вт/ м
Таким образом, поверхность теплообменника составит:
В соответствии с ГОСТ 15118 - 79, ГОСТ 15120 -79, ГОСТ 15122 - 79 принят
кожухотрубный теплообменник КТХ. Параметры теплообменника:
. площадь теплообмена F = 352 м2;
. длина труб L = 6 м;
. число ходов n = 1;
. число трубок в одном ходу - 747;
. диаметр трубок dт = 25×2 мм;
. диаметр внутреннего кожуха D = 1000 мм.
4.
Абсорбционный аппарат
Абсорбция - процесс избирательного поглощения компонентов из газовых или
парогазовых смесей жидким поглотителем - абсорбентом.
Процесс абсорбции происходит только в том случае, когда парциальное
давление извлекаемого компонента в данной смеси выше, чем в жидком абсорбенте,
вступающим в контакт с этим газом [3].
Абсорбция, как и другие процессы массопередачи, протекает на поверхности
раздела фаз.
Поэтому абсорбционные аппараты - абсорберы, должны обеспечить развитую
поверхность контакта между жидкой и газовой фазами.
По способу образования этой поверхности, что непосредственно связано с
конструктивными особенностями абсорберов, их можно подразделить на четыре
основные группы: пленочные, насадочные, тарельчатые, распыливающие [3].
4.1 Принцип действия
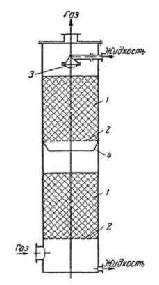
Насадочный абсорбер показан на рисунке 4.1.
- насадка; 2 - решетка; 3 - распределительный стакан (брызгалка); 4 -
направляющий конус.
Рисунок 4.1. - Насадочный абсорбер
Насадка опирается на решетки, в которых имеются отверстия для прохождения
газа и стока жидкости. Газ поступает в колонну снизу и движется вверх
противотоком по отношению к жидкости. Подаваемая на насадку жидкость должна
быть равномерно распределена по сечению колонны. Для подачи жидкости применяют
желоба, дырчатые трубы и другие устройства [3].
В абсорбере, показанном на рисунке, жидкость подается на насадку при
помощи распределительного стакана (брызгалка), в котором имеется большое
количество отверстий диаметром 3-6 мм. Жидкость поступает в распределительный
стакан из напорного бака или подается непосредственно насосом и вытекает из
отверстий стакана отдельными струями [3].
Чтобы предотвратить растекание жидкости к стенкам, иногда насадку
засыпают не сплошь на всю высоту, а в виде отдельных слоев. Высота отдельных
слоев 1,5-3 м. Для перераспределения жидкости и отвода ее от стенок под каждым
слоем насадки, кроме нижнего, устанавливают направляющий конус [3].
Однако насадочные колонны мало пригодны при работе с загрязненными
жидкостями, а в случае малых количеств орошающей жидкости не дают
удовлетворительных результатов, так как при низкой плотности орошения не
достигается полная смачиваемость насадки. Кроме того, в насадочных колоннах
затруднен отвод тепла, выделяющегося при поглощении газа [3].
.2 Расчет абсорбера
Задание: определить минимальный расход поглотителя и среднюю движущую
силу при абсорбции аммиака из воздуха водой, рассчитать диаметр и высоту
насадочной части абсорбера. Насадка - беспорядочно насыпанные кольца Рашига
размером 25×25×3 мм.
Исходные данные:
. расход воздуха G =8, кг/с;
. концентрация распределяемого компонента в воздухе:
) на входе в абсорбер у1 = 0,05,
) на выходе из абсорбера у2 = 0,003;
. концентрация распределяемого компонента в поглотителе на входе в
абсорбер х1 = 0;
. давление воздуха Р = 0,15 · 10-2, МПа;
. температура воздуха t = 28, °C;
. скорость движения воздуха в общем сечении аппарата W = 0,61,
м/с;
. коэффициент массопередачи Ку = 0,40 , кмоль/(м2·ч);
Решение
Массу аммиака, переходящего в процессе абсорбции из газа в воду
рассчитываем из уравнения материального баланса:
Минимальный расход поглотителя:
Система аммиак + воздух + вода подчиняется закону Генри, и для нее
справедливо уравнение равновесия:
- коэффициент распределения компонента между фазами при равновесии и
рассчитывается по формуле:
где Е - константа Генри, для NH3 E = 2080 мм. рт.ст [4]
П - общее давление воздуха.
мм.рт.ст
.
кмоль Н2О/с
Диаметр абсорбционной колонны D рассчитываем по уравнению расхода для
газового потока:
ρ - плотность воздуха, равная 1,29 кг/м3[4]
при нормальных условиях.
Найдем плотность при фактических условиях:
Площадь поверхности массопередачи:
аммиак абсорбционный насос теплообменный
где
- средняя движущая сила.
Оптимальный расход поглотителя рассчитывается по формуле:
,
Где

кмоль NH3/кмоль возд.
кмоль NH3/кмоль возд.
кмоль NH3/кмоль возд.
Тогда:
м2.
Зная по справочным данным удельную поверхность насадки σ
= 204 м2/м3
[4], рассчитаем объем слоя керамических колец необходимый для создания
найденной поверхности:
(м3).
Площадь сечения абсорбера:
Высота насадочной части абсорбера:
(м).
Принимаем количество ярусов насадочной части n = 3, по высоте hяр = 1,2.
Тогда высота насадки Hн = 3,6 м.
Выводы
В курсовой работе был выполнен расчет основного оборудования для схемы
очистки воздуха от аммиака. В него вошли расчет насосной установки,
теплообменника и абсорбера.
|
Наименование аппарата
|
Расчетные величины
|
Стандартные величины
|
Процент запаса
|
|
Насос
|
Q=0,55 H=26 м N=8,41кВТ
|
Q=0,7 H=29 м N=22 кВт
|
21% 10% 61%
|
F=344
|
F=352
|
2%
|
Для абсорбера рассчитали минимальный расход поглотителя, равный 0,86
кмоль Н2О/с и среднюю движущую силу при абсорбции аммиака из воздуха водой, она
равна 0,017 кмоль NH3/кмоль возд., рассчитали диаметр и высоту насадочной части
абсорбера, они равны 3,76 м и 3,45 м соответственно. Высота аппарата равна
12,12 м.
Заключение
С целью очистки газовоздушной смеси, содержащей аммиак, был произведен
расчет абсорбционной установки. Даны понятия абсорбции и хемосорбции.
В предложенной технологической схеме в качестве поглотителя использована
вода, как доступный и относительно дешевый ресурс.
По расчетам были выбраны следующие аппараты.
1. Центробежный насос марки X90/33. Для которого при оптимальных
условиях V = 2,5
10-2 м3/с, H = 29,2 м, КПД насоса = 0,7. Насос
снабжен двигателем AO2-71-2, номинальная мощность 22 кВт, частота вращения вала
= 48,3 об/с.
2. В соответствии с ГОСТ 15118 - 79, ГОСТ 15120 -79, ГОСТ 15122 - 79
принят кожухотрубный теплообменник КТХ. Параметры теплообменника:
площадь теплообмена F = 352 м2;
длина труб L = 6 м;
число ходов n = 1;
число трубок в одном ходу - 747;
диаметр трубок dт = 25×2 мм;
диаметр внутреннего кожуха D = 1000 мм.
. Для абсорбера рассчитали минимальный расход поглотителя, равный
0,86 кмоль Н2О/с и среднюю движущую силу при абсорбции аммиака из воздуха
водой, она равна 0,017 кмоль NH3/кмоль возд., рассчитали диаметр и высоту
насадочной части абсорбера, они равны 3,76 м и 3,45 м соответственно. Высота
аппарата равна 12,12 м.
Список
источников
1. Плановский
А.Н. Процессы и аппараты химической технологии / А.Н. Меликов, В.М. Рамм, С.З.
Каган. - М.: Химия, 1968. - 848 с.
. Касаткин
А.Г. Основные процессы и аппараты химической технологии / А.Г. Касаткин. - М.:
Госхимиздат, 1961. - 830 с.
. Дытнерский
Ю.И. Процессы и аппараты химической технологии / Ю.И. Дытнерский. - М.: Химия,
1995. - 768 с.
. Павлов К.Ф.
Примеры и задачи по курсу процессов и аппаратов химической технологии / К.Ф.
Павлов, П.Г. Романков, А.А. Носков. - Л.: Химия, 1987. - 576 с.