|
Калекин В.С. (RU), Ильин
А.В. (RU), Калекин В.В. (RU), Калекин Д.В. (RU), заявка № 2004116891/15,
приоритет от 03.06.2004, опубл. 27.09.2005
<#"553469.files/image003.gif">
Рисунок
1 - схема заявляемого барботажного абсорбера, общий вид
Рисунок
2 - то же, вид сечения А-А на рисунке 1
Рисунок
3 - узел I на рисунке 1 (увеличено)
Рисунок
4 - вид сечения Б-Б на рисунке 3
Использование: газоочистное оборудование, которое предназначено для
очистки газов от газообразных примесей в различных отраслях промышленности.
Сущность изобретения: барботажный абсорбер содержит корпус с турбинной мешалкой
в виде вала с погруженными в жидкость лопатками, средство для подачи газа к
лопаткам, успокоитель потока и патрубок для отвода очищенного газа. Лопатки
прикреплены к верхней и нижней частям роторного колеса, выполненного в виде
соединенных между собой основаниями конусов, а средство для подачи газа
установлено в виде соосно размещенной на валу трубы, соединенной с кожухом
роторного колеса, причем указанный кожух снабжен по периметру кольцевой щелью с
сечением в виде трубы Вентури и размещенным в нижней части окном для подачи
жидкости. Верхняя часть кожуха в горловине кольцевой щели снабжена эжекционными
отверстиями, а к периферийной части роторного колеса прикреплен кольцеобразный
перфорированный диск с концентрично размещенными гофрами.
Изобретение относится к газоочистному оборудованию и предназначено для
очистки газов от газообразных примесей в различных отраслях промышленности.
Известен барботажный абсорбер, содержащий корпус с мешалкой, патрубок для
подачи очищаемого газа под мешалку и патрубок для отвода очищаемого газа.
Недостатком известного абсорбера является малая эффективность очистки газа
из-за низкой степени диспергации пузырьков газа мешалкой.
Наиболее близким к заявляемому известным техническим решением является
барботажный абсорбер, содержащий корпус с турбинной мешалкой в виде вала с
погруженными в жидкость лопатками, средство для подачи газа к лопаткам,
успокоитель потока и патрубок для отвода очищаемого газа. В известном
устройстве газ под крыльчатку подается через кольцевой перфорированный
коллектор, что позволяет несколько увеличить межфазный контакт, однако
интенсивность фазообмена остается все же недостаточной и не обеспечивает
требуемое качество очистки газа.
Техническая задача изобретения повышение качества очистки газа, она
решается за счет того, что в барботажном абсорбере, содержащем корпус с
турбинной мешалкой в виде вала с погруженными в жидкость лопатками, средство
для подачи газа к лопаткам, успокоитель потока и патрубок для отвода очищенного
газа, в соответствии с заявляемым изобретением лопатки прикреплены к верхней и
нижней частям роторного колеса, выполненного в виде соединенных между собой
основаниями конусов, а средство для подачи газа установлено в виде соосно
размещенной на валу трубы, соединенной с кожухом роторного колеса, причем
указанный кожух снабжен по периметру кольцевой щелью с сечением в виде трубы
Вентури и размещенным в нижней части окном для подачи жидкости.
Техническая задача решается также за счет того, что верхняя часть кожуха
в горловине кольцевой щели снабжена эжекционными отверстиями.
Техническая задача решается также за счет того, что к периферийной части
роторного колеса прикреплен кольцеобразный перфорированный диск с концентрично
размещенными гофрами.
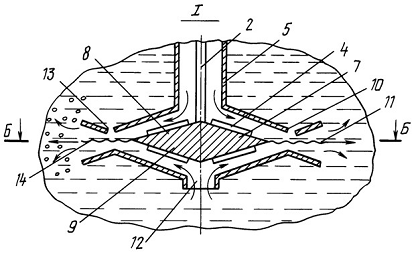
Заявляемый барботажный абсорбер содержит цилиндрический корпус 1 с
турбинной мешалкой в виде вала 2 с приводом 3 и погруженными в жидкость
лопатками 4, средство для подачи газа к лопаткам в виде соосно размещенной на
валу трубы 5, соединенной с входным патрубком 6 для газа. Лопатки 4 прикреплены
к верхней и нижней частям роторного колеса 7, выполненного в виде соединенных
между собой основаниями конусов 8 и 9. Нижняя часть трубы 5 для подачи газа
соединена с кожухом 10 роторного колеса 7. Кожух 10 снабжен по периметру
кольцевой щелью 11 с сечением в виде трубы Вентури и размещенным в нижней части
окном 12 для подачи жидкости. Верхняя часть кожуха 10 в горловине кольцевой
щели 11 снабжена эжекционными отверстиями 13. К периферийной части роторного
колеса 7 прикреплен кольцеобразный перфорированный диск 14 с концентрично
размещенными гофрами 15. Корпус 1 снабжен успокоителем потока в виде
вертикально укрепленных пластин 16. В верхней части корпуса укреплен
каплеуловитель 17 и выходной патрубок 18 для газа. В нижней части корпуса
укреплен патрубок 19 для слива жидкости.
Заявляемый барботажный абсорбер работает следующим образом. Загрязненный
газ по патрубку 6 подается в трубу 5, откуда верхними лопатками 4 вращающегося
колеса 7 отбрасывается к кольцевой щели 11. Одновременно с этим жидкость
подсасывается через окно 12 и нижними лопатками 4 центробежными силами
направляется также к кольцевой щели 11. В связи с тем, что газовый и жидкостный
потоки сходятся в периферийной части колеса 7 под острым углом из-за
двухсторонней конусности указанного колеса, происходит интенсивное
перемешивание и дробление слоев жидкости и газа с образованием высокодисперсной
газожидкостной смеси, которая при своем дальнейшем движении сужается из-за
выполнения щели 11 в сечении в виде трубы Вентури. Вследствие сужения
газожидкостного потока увеличивается его скорость с одновременным падением
давления, что вызывает частичное вскипание жидкости в пузырьках газа при
одновременном интенсивном перемешивании слоев из-за различной инерционности
фаз. Все это в совокупности обеспечивает качественную очистку газа. Далее
газожидкостная смесь выходит из щели 11 и мельчайшие пузырьки газа поднимаются
вверх, где лопаются на поверхности жидкости и освобожденный газ проходит через
каплеуловитель 17 и через патрубок 18 направляется потребителю. При выполнении
отверстий 13 на верхней части кожуха 10 жидкость эжектируется из окружающего
пространства и распыляется в движущемся к щели 11 газожидкостном потоке, что
дополнительно повышает фазообмен. При установке диска 14 жидкость и газ,
отбрасываемые лопатками 14 в периферийную часть колеса 10, многократно
пересекают перфорацию гофров указанного диска, что повышает дробление струй
жидкости и газа и интенсифицирует межфазный обмен.
Крепление лопаток к верхней и нижней частям роторного колеса, выполнение
колеса в виде соединенных между собой основаниями конусов, установка средства
для подачи газа в виде соосно размещенной на валу трубы, соединение трубы с
кожухом рабочего колеса, снабжение кожуха по периметру кольцевой щелью, выполнение
этой щели в сечении в виде трубы Вентури и размещенным в нижней части окном для
подачи жидкости позволяет обеспечить подсос одним рабочим колесом одновременно
жидкости и газа и их интенсивное перемешивание в периферийной части колеса и
кольцевой щели. Снабжение верхней части кожуха в горловине кольцевой щели
эжекционными отверстиями позволяет обеспечить дополнительное распыление
жидкости в газожидкостный поток, двигающийся через кольцевую щель. Крепление в
периферийной части роторного колеса кольцеобразного перфорированного диска с
концентрично размещенными гофрами позволяет обеспечить многократное пересечение
перфорации этого диска потоками газа и жидкости и создать дальнейшее повышение
фазообмена.
Технико-экономическая эффективность заявляемого барботажного абсорбера
заключается в повышении качества очистки до 12-15% за счет интенсификации
дробления и перемешивания струй жидкости и газа благодаря использованию
роторного колеса с креплением лопаток в его верхней и нижней частях, что
обеспечивает одновременную подачу к периферийной части жидкости и газа под
острым углом и их взаимное пересечение с последующим многократным
перемешиванием при высокой движущей силе процесса абсорбции из-за быстро
обновляющихся поверхностей при межфазном контакте. Использование эжекционных
отверстий в верхней части кожуха дополнительно повышают орошение газа.
Дальнейшее повышение интенсивности фазообмена обеспечивается за счет
гофрированного перфорированного диска, укрепленного к роторному колесу.
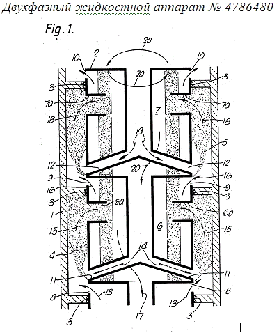
Центробежно-барботажный аппарат № 2261138
<#"553469.files/image008.gif">
Рисунок
6 - узел I рисунок 5.
Центробежно-барботажный аппарат состоит из верхней крышки 1 с патрубком
"Б", камеры 2 с верхней 3 и нижней 4 торцевыми крышками с
отверстиями, внутренней обечайки 5 в виде обратного перфорированного конуса с
перфорацией в виде отверстий и размещенной в камере 2, перегородки 6 в виде
пластины, размещенной между цилиндрической стенкой камеры 2 и внутренней
обечайкой 5, соединяющей верхнюю 3 и нижнюю 4 торцевые крышки и выполненной в
форме улитки от места сопряжения тангенциального патрубка ввода газа
"В" с цилиндрической стенкой камеры 2, подводящей трубы 7 с патрубком
"Г" для жидкости, ориентированной внутрь обечайки 5 и снабженной
тарелкой 8 для подачи и слива жидкости и размещенной в нижней торцевой крышке 4
с возможностью образования зазора или без него с его внутренней поверхностью,
конического днища 9 с патрубком "Д". Верхняя часть внутренней
обечайки 5 выступает над верхней торцевой крышкой 3 камеры 2, образуя
распределительную тарелку.
Аппарат может работать на нижнем (тарелка 8 установлена с зазором) и
верхнем (тарелка 8 установлена без зазора) орошении конуса. В первом случае
жидкость попадает в патрубок "Г". Пройдя трубу 7 и тарелку 8,
закручивается газовым потоком и за счет центробежных сил выбрасывается из
внутренней обечайки 5 на верхнюю торцевую крышку 3, выполняющую роль
распределительной тарелки, откуда через отверстия попадает в зазор,
образованный перегородкой 6 и цилиндрической стенкой камеры 2, и далее через
отверстия нижней торцевой крышки 4 сливается в коническое днище 9 и отводится
через патрубок "Д". Частично жидкость, находящаяся в коническом днище
9, засасывается конусом через кольцевой зазор и вовлекается в циркуляционное
движение внутри аппарата, подвергаясь многократному контактированию с газом.
При верхнем орошении внутренней обечайки 5 жидкость попадает в патрубок
"Д" и, поднимаясь, через отверстия нижней торцевой крышки 4 и зазор,
образованный перегородкой 6 и цилиндрической стеной вихревой камеры 2, а также
отверстия верхней торцевой крышки 3 заполняет верхнюю торцевую крышку 3
выполняющую роль распределительной тарелки, откуда сливается во внутрь обечайки
5. После взаимодействия с газом жидкость, пройдя тарелку 8 и трубу 7, отводится
из аппарата через патрубок "Г".
Газовый поток подается в пространство, образованное перегородкой 6 и
внутренней обечайкой 5 через патрубок "Д". Дополнительно закручиваясь
в отверстиях внутренней обечайки 5, газ вступает во взаимодействие с жидкостью,
образуя вращающийся газо-жидкостный слой. Очищенный газовый поток отводится из
аппарата через патрубок "Б".
За счет того, что из камеры удалены переточные трубы, снижается
гидравлическое сопротивление внутри камеры, создается равномерная структура
газожидкостного слоя внутри обратного перфорированного конуса, упрощается
конструкция аппарата.
Роторная массообменная колонна №2009685
Область использования: изобретение относится к аппаратурному оформлению
процессов массообмена в системе газ/пар - жидкость, а более конкретно к
роторным массообменным колоннам, и может найти применение для ректификации под
вакуумом термически нестойких продуктов. Сущность изобретения заключается в
том, что контактные элементы выполнены в виде гофрированных лопастей,
закрепленных на стакане с перфорациями, причем перфорация выполнена во впадинах
гофр, а лопасти закреплены на стакане под углом к вертикальной плоскости.
Изобретение относится к аппаратурному оформлению процессов массообмена в
системе газ(пар)-жидкость, а более конкретно к роторным массообменным колоннам,
и может найти применение для ректификации под вакуумом термически нестойких
продуктов.
Цель изобретения - повышение эффективности разделения за счет
диспергирования жидкости в объеме ступени и снижение гидравлического
сопротивления за счет увеличения динамического напора потока.
Рисунок
7 - схематическое изображение общего вида колонны
Рисунок
8 - сечение А-А на рисунке 7
Рисунок
9 - сечение Б-Б на рисунке 8
Роторная массообменная колонна состоит из корпуса 1, переливных желобов
2, распределительного стакана 3, гофрированных лопастей 4, приемного кольцевого
канала 5.
Роторная массообменная колонна работает следующим образом.
Поток пара (газа) поднимается по колонне 1 и поступает в пространство
между перфорированными лопастями 4. Жидкость из распределительного стакана 3
через отверстия в стакане поступает во впадины гофр лопастей и под действием
центробежных сил течет по впадинам гофр в виде пленки от стакана к периферии, при
этом на разных участках длины лопасти часть жидкости через отверстия во
впадинах гофр в виде капель и струй диспергируется в пространство между
лопастями, при этом капли летят от одной лопасти к следующей и ударяются о ее
поверхность и т. д. Скорость вращения ступени должна быть более 2 м/c. По
сравнению с известными роторными лопастными колоннами, где массообмен протекает
в основном в пленке на поверхность лопастей, в предлагаемой колонне
эффективность массообмена возрастает за счет диспергирования жидкости в объеме
ступени и соударения капель с поверхностью лопастей в зависимости от скорости
вращения ступени и количества орошающей жидкости на 15-20% . Для большинства
роторных аппаратов с распределительными стаканами КПД составляет 0,5-0,6, в
предлагаемой конструкции - до 0,75.
Установка лопастей под углом к вертикальной плоскости позволяет создать в
колонне вентиляционный эффект, т. е. лопасти ступени работают в качестве
лопастей вентилятора. Это позволяет обеспечить работу колонны при нулевом или
отрицательном сопротивлении.
Роторная массообменная колонна рекомендуется для ректификации под
вакуумом при остаточном давлении менее 5 мм рт. ст. термически нестойких
продуктов, в частности капролактама (понижение давления повышает качество
продукта).
Массообменная установка № 2166980
Массообменная установка относится к технике химводоподготовки на тепловых
электростанциях и котельных, а также к технике химической технологии и может
быть использована в качестве абсорбера или десорбера, например, при
производстве серной кислоты. Цель изобретения - повышение качества десорбции
газов из жидкости или абсорбции жидкостью определенных газов из общего потока
газов. Массообменная установка состоит из двух аппаратов (первой и второй
ступени). Первой ступенью является массообменник центробежно-вихревого типа.
Второй ступенью установки является емкость с устройством для обеспечения
контакта жидкой среды с газообразной. Новым в первой ступени является установка
обечайки (отрезка трубы) внутри корпуса на нижней крышке корпуса. Новым в
установке является установка патрубка подвода газообразной среды к емкости
второй ступени и соединение обеих ступеней по жидкостному и газовому потокам
при помощи труб и установка в емкости устройства для диспергирования жидкости.
Изобретение относится к области теплоэнергетики и может быть использовано
в системах химводоподготовки на тепловых электростанциях и котельных в качестве
декарбонизатора. Кроме того, изобретение относится к химической технологии и
может быть использовано в качестве абсорбера, например, при производстве серной
кислоты и в качестве десорбера.
Целью изобретения является: повышение качество десорбции и абсорбции
газов и создание установки, позволяющей осуществить способ массообмена между
жидкостью и газом, а именно повышение качества десорбции газов из жидкости или
абсорбции определенных газов жидкостью (например, при декарбонизации воды или
абсорбции соединений серы из потока газов при производстве серной кислоты),
сведение к минимуму капельного уноса жидкости без установки дополнительного
каплеуловителя, уменьшение потери скорости воды при закрутке воды, чтобы
использовать эту скорость для лучшего контакта сред.
Указанная цель достигается тем, что в известном массообменном аппарате
центробежно-вихревого типа, содержащем цилиндрический (или составленный из двух
цилиндров разного диаметра) корпус с верхней и нижней торцевыми крышками,
имеющими центральные отверстия (крышки в виде шайб), центробежное контактное
устройство (циклон), выполненное в виде обечайки большего диаметра, охватывающей
нижнюю часть корпуса, подводящими и отводящими патрубками жидкой и газообразной
сред, из которых по меньшей мере подводящие патрубки (патрубок) жидкой среды
подсоединены тангенциально корпусу, к нижней крышке, по кромке отверстия
присоединена обечайка диаметром, меньшим диаметра корпуса (отрезок трубы),
образующая порог, препятствующий сливу воды через отверстие в крышке. Причем
указанный аппарат является только первой ступенью установки. Кроме этого
предлагаемая установка имеет аппарат, используемый в качестве второй ступени
контакта сред, выполненный в виде вертикальной емкости круглого сечения
(цилиндрической) со свободным сливом жидкости в другую емкость (или емкость с
регулируемым уровнем), в верхней части которой размещено устройство для диспергирования
жидкости (например, выполненное в виде перфорированной трубы или трубы со
щелями, соединенной с патрубком, отводящим жидкость из первой ступени
установки). При необходимости, ниже этого диспергирующего устройства может быть
размещена дырчатая тарелка (другое диспергирующее устройство).
Эта емкость имеет патрубок подвода газообразной среды и патрубок отвода
газообразной среды, присоединенный к патрубку подвода газообразной среды
аппарата первой ступени установки. Вторая ступень установки выполняется
единственной, а аппаратов первой ступени может быть несколько (один, два, три
или четыре).
Рисунок
10 - предлагаемая массообменная установка, продольный разрез
Рисунок
11 - вариант первой ступени установки (центробежно-вихревого массообменника)
Массообменная установка содержит соединенные между собой последовательно
два аппарата: центробежно-вихревой массообменник (первая ступень установки,
которых может быть несколько, включенных между собой параллельно), состоящий из
деталей 1-13, и капельно-струйный массообменник, состоящий из деталей 14-21.
Первая ступень установки (центробежно-вихревой массообменник) содержит
цилиндрический корпус 1 (или корпус, составленный из двух цилиндрических
обечаек разного диаметра) с верхней 2 и нижней 3 торцевыми крышками, имеющими
центральные отверстия, патрубком 4 для отвода отработавшей газообразной среды,
порогом 5 (обечайкой, отрезком трубы), тангенциальный патрубок 6 (их может быть
два и более), отверстия 7 в нижней части корпуса (отверстия могут быть круглого
сечения, в виде продольных щелей или в виде коротких тангенциальных патрубков
7a, центробежное контактное устройство (циклон), имеющее обечайку 8 большего,
чем корпус диаметра, в которую опущена нижняя часть корпуса 1, верхнюю крышку
9, нижнюю крышку 10, патрубок подвода газообразной среды 11, представляющий
собой отрезок трубы, пропущенный через нижнюю крышку 10, с образованием борта, и
соединенный трубой 21 с аппаратом второй ступени, патрубок отвода жидкой среды
12, подсоединенный к корпусу тангенциально (возможно присоединение патрубка 12
к нижней крышке 10a, если она выполнена конической, и если подвод газообразной
среды осуществлен трубой 21, подсоединенной тангенциально к обечайке 8, см.
вариант на фиг. 2) шайбой 13.
Работу массообменной установки рассмотрим сначала при использовании ее в
качестве десорбера (декарбонизатора воды).
Воду, насыщенную углекислотой, полученной при ее умягчении в
водородкатионитовых фильтрах, подают внутрь корпуса 1 через тангенциальный
патрубок 6 и вода приобретает вращательное движение, за счет чего свободная
углекислота сепарируется за счет центробежных сил и уносится потоком воздуха
наружу (через патрубок 4)Далее вода, контактируя с воздухом и перемещаясь по
спирали вниз, преодолевает шайбу 13 (установка шайбы необязательна, однако она
создает определенную толщину вращающегося слоя жидкости) и попадает в кольцевое
пространство между корпусом 1 и обечайкой 5 и далее, через отверстия 7 или
через короткие тангенциальные патрубки 7a (см. фиг. 2) попадает в кольцевое
пространство между корпусом 1 и обечайкой 8 (попадает в центробежное контактное
устройство - циклон). При прохождении через отверстия 7 (патрубки 7a) вода
дробится на отдельные струи и капли (диспергируется) и эжектирует воздух.
Происходит интенсивный контакт воды с воздухом. Далее вода, сохраняющая
вращательное движение, прижимается к стенке 8 и отделяется от воздуха.
Происходит сепарация. Отсепарированный воздух вновь возвращается в корпус 1
через обечайку 5 вместе с воздухом, поступающим из трубы 21. Частично
декарбонизированная вода, сохраняющая динамический напор вращательного
движения, подается через патрубок 12 во вторую ступень установки - в
диспергирующее устройство 15 и разбрызгивается внутри емкости 14, контактируя с
вращающимся потоком воздуха. Далее вода стекает по стенкам в тарелку 16 и еще
раз диспергируется и контактирует с вращающимся потоком воздуха. Окончательно
освобожденная от углекислоты вода по трубе 19 стекает в бак-накопитель или
подается непосредственно потребителю, если в нижней части емкости 14
удерживается определенный уровень воды. Воздух от дутьевого вентилятора
подается в массообменную установку через тангенциальный патрубок 18 и
приобретает вращательное движение внутри емкости 14, контактируя с потоками
диспергированной воды до и после тарелки 16. (Газообразная среда может быть
отсасываема всасывающим вентилятором, если его присоединить к патрубку 4).
Далее, частично отработавший воздух подается через патрубок 20, по трубам 21 в
один или в несколько центробежно-вихревых массообменников (в первую ступень установки)
и контактирует с водой (описано выше). В зависимости от производительности
включаются в работу один, два, три или четыре аппарата первой ступени.
Например, производительность одного аппарата первой ступени - 120 т/ч, а всей
установки - до 480 т/ч. При нагрузке 200 т/ч можно включить два аппарата. На
каждом аппарате устанавливаются запорные устройства по жидкости и газу.
Работа установки в качестве абсорбционной аналогична работе в качестве
десорбционной. Например, при производстве серной кислоты в тангенциальные
патрубки 6 подают серную кислоту, а в патрубок 18 нагнетают (или через этот
патрубок отсасывают, если вместо дутьевого имеется отсасывающий вентилятор,
присоединенный к патрубку 4) газы, содержащие соединения серы. При многократном
контакте серной кислоты с газами сернистые газы поглощаются кислотой.
Концентрация серной кислоты возрастает.
Подсоединение подводящего патрубка газообразной среды к емкости и
соединение емкости газоходом (трубой) с патрубком подвода газообразной среды
центробежно-вихревого аппарата первой ступени позволяют использовать дутьевой
или отсасывающий вентилятор для подачи газообразной среды и осуществить более
глубокий массообмен между жидкостью и газом (осуществить десорбцию или
абсорбцию) за счет увеличения количества газообразной среды и организации
двухступенчатого процесса массообмена.
Наличие внутри емкости одной или нескольких диспергирующих тарелок
позволяет осуществлять более глубокий процесс массообмена между жидкостью и
газами (процесс десорбции или абсорбции газов).
Наличие нескольких, присоединенных параллельно, центробежно-вихревых
аппаратов первой ступени и соединение каждого из них газоходом и
жидкостепроводом с аппаратом второй ступени позволяют достигнуть большого
диапазона регулирования нагрузки (увеличения глубины регулирования нагрузок) от
5 до 100 процентов.
Наличие порога (отрезка трубы, обечайки) с диаметром, равным диаметру
отверстия в нижней крышке корпуса центробежно-вихревого аппарата и
располагающегося внутри корпуса, позволяет направить весь поток жидкости через
отверстия или тангенциальные патрубки и подвергнуть его диспергации и заставить
этот поток жидкости эжектировать газообразную среду и интенсивно осуществлять
контакт и массообмен между ними.
Пропуск патрубка подвода газообразной среды (от аппарата второй ступени к
аппарату первой) через нижнюю крышку центробежно-контактного устройства и
установка его с зазором от нижней крышки корпуса (от нижней кромки обечайки,
образующей порог), позволяет уменьшить и свести к минимуму капельный унос жидкости
газообразной средой.
Выполнение второй ступени установки в виде вертикальной емкости,
подсоединение тангенциально патрубка подвода газообразной среды и наличие в
центре верхней крышки отводящего патрубка газообразной среды позволяют этому
аппарату работать и как циклон, т.е. сепарировать жидкость к периферии, а
газообразную среду освобождать от капель влаги, что значительно уменьшает унос
влаги из установки и позволит обходиться без специальных каплеуловителей.
Пенный массообменный аппарат № 2294790
Изобретение относится к технике мокрой очистки газов и может быть
использовано в устройствах для проведения тепломассообменных процессов. Пенный
массообменный аппарат содержит вертикальный корпус 1, патрубки для подачи 2 и
вывода 3 газа, сборник 4 очищающей жидкости, размещенный в нижней части корпуса
1, патрубки для подачи 5 очищающей жидкости и ее слива 6, газораспределительное
контактное устройство, выполненное в виде абсорбционной тарелки, включающей
одну или несколько сеток 7. Патрубок 2 для подачи очищаемого газа выполнен
проходящим сквозь боковую стенку корпуса 1, а вход патрубка 2 заглублен ниже
контактного устройства в подсеточное пространство 8, в котором размещен
струйный фильтр, который включает распылитель, установленный по оси корпуса 1
аппарата с выходом очищающей жидкости, направленным к боковым стенкам корпуса
1. Распылитель может быть выполнен в виде форсунки 9, например центробежной,
вращающейся или отбойно-струйной, распылитель также может быть выполнен в виде
набора отдельных струйных цельнофакельных форсунок, установленных по окружности
патрубка 11, подающего очищающую жидкость из сборника 4. Очищаемый газ подается
в патрубок 2 с помощью вентилятора 12, а очищенный газ выводится через патрубок
3, минуя каплеотделитель 14, при этом подача очищающей жидкости к патрубку 5
для орошения сетки 7 абсорбционной тарелки и к патрубку 11 распылителя
струйного фильтра осуществляется насосом 13. Изобретение обеспечивает
эффективную работу пенного массообменного аппарата.
<#"553469.files/image015.gif">
Рисунок
13 - разрез по А-А с видом сверху на распылитель, выполненный в виде набора
отдельных струйных цельнофакельных форсунок.
Изобретение относится к технике мокрой очистки газов и может быть
использовано в устройствах для проведения тепломассообменных процессов,
например в пенных скрубберах, применяемых для очистки газов в химической,
нефтехимической, целлюлозно-бумажной, металлургической и других отраслях
промышленности.
Технической задачей изобретения является создание новой конструкции
пенного массообменного аппарата, обладающего высокой эффективностью работы.
Техническая задача решается при создании пенного массообменного аппарата,
содержащего вертикальный корпус, патрубки для подачи и вывода газа, сборник
очищающей жидкости, размещенный в нижней части корпуса, патрубки для подачи
очищающей жидкости и ее слива, а также газораспределительное контактное
устройство, выполненное в виде абсорбционной тарелки, включающей одну или
несколько сеток, причем патрубок для подачи очищаемого газа выполнен проходящим
сквозь боковую стенку корпуса, а выход патрубка заглублен ниже контактного устройства
в подсеточное пространство, в котором согласно изобретению в подсеточном
пространстве размещен струйный фильтр, который включает распылитель,
установленный по оси корпуса аппарата с выходом очищающей жидкости,
направленным к боковым стенкам корпуса.
Распылитель может представлять собой, например, центробежную форсунку,
вращающуюся или отбойно-струйную форсунку, которые создают сплошную завесу
перед сеткой, или может представлять собой набор отдельных струйных
цельно-факельных форсунок, установленных по окружности патрубка, подающего
очищающую жидкость из сборника.
В такой конструкции пенного массообменного аппарата одна часть
поступающего сбоку в подсеточное пространство очищаемого газового потока в
приосевой области проходит к нижней сетке абсорбционной тарелки, захватывая
только мелкодисперсную фракцию потока очищающей жидкости, создаваемой
распылителем, а другая часть очищаемого газового потока смешивается с
капельно-жидкостной струей, создаваемой распылителем, движется вместе с ней и
проходит первичную очистку в завихренном осесимметричном газожидкостном потоке.
Газовый поток выходит из струи как в верхнем, так и нижнем направлении в
области подсеточного пространства, образуя вихрь и захватывая мелкодисперсную
часть капель, образующихся при ударе крупных капель о стенки корпуса.
Вследствие захвата части газа струями жидкости движение газового потока,
проходящего через струйный фильтр, становится осесимметричным и равномерным.
Кроме того, устойчивость движения газового потока возрастает благодаря наличию
значительного количества в газовом потоке мелкодисперсных капель очищающей
жидкости. Это позволяет поддерживать равномерный по высоте слой пены на сетках
и увеличить ее устойчивость.
Таким образом, установка в подсеточном пространстве струйного фильтра
значительно увеличивает эффективность очистки газа, проходящего через пенный
массообменный аппарат.
Сопоставительный анализ заявляемого пенного массообменного аппарата и
прототипа выявляет наличие отличительных признаков у заявляемого устройства по
сравнению с наиболее близким аналогом, что позволяет сделать вывод о
соответствии заявляемого устройства критерию изобретения "новизна".
Наличие отличительных признаков дает возможность получить положительный
эффект, заключающийся в создании нового устройства пенного массообменного
аппарата, повышающего эффективность очистки газа.
Поскольку при исследовании объекта изобретения по патентной и
научно-технической литературе не выявлено решений, содержащих признаки
заявляемого изобретения, отличные от прототипа, следует сделать вывод, что
заявляемое изобретение соответствует критерию "существенность
отличий".
Использование заявляемого изобретения при производстве устройств,
реализующих теплообменные процессы, в частности пенных скрубберов, обеспечивает
ему соответствие критерию "промышленная применимость".
Пенный массообменный аппарат содержит вертикальный корпус 1, патрубки
подачи 2 и вывода 3 газа, сборник 4 очищающей жидкости, размещенный в нижней
части корпуса 1, патрубки для подачи 5 очищающей жидкости и ее слива 6, а также
газораспределительное контактное устройство, выполненное в виде абсорбционной
тарелки, включающей одну или несколько сеток 7, причем патрубок 2 для подачи
очищаемого газа выполнен проходящим сквозь боковую стенку корпуса 1, a выход
патрубка 2 заглублен ниже контактного устройства в подсеточное пространство 8,
в котором размещен струйный фильтр, распылитель которого установлен по оси
корпуса 1 с выходом очищающей жидкости, направленным к боковым стенкам корпуса
1 аппарата.
В таком пенном массообменное аппарате распылитель может быть выполнен в
виде форсунки 9, выполненной, например, центробежной, вращающейся или
отбойно-струйной. Распылитель может быть также выполнен в виде набора отдельных
струйных цельнофакельных форсунок 10, расположенных по окружности патрубка 11,
подающего к ним очищающую жидкость из сборника 4.
Пенный массообменный аппарат работает следующим образом. Неочищенный газ
поступает внутрь корпуса 1 аппарата через патрубок 2 под действием вентилятора
12 в подсеточное пространство 8, где под действием распыленной очищающей
жидкости формируется осесимметричный жидкостно-газовый поток, который попадает
на верхнюю поверхность сетки 7, равномерно распределяясь по ней в виде пены.
При этом в образовании пены участвуют мелкодисперсные капли, которые образуются
не только при дроблении жидкости, выходящей из распылителя, но и при ударе
потока распыленной жидкости о боковые стенки корпуса 1. Таким образом
подсеточное пространство 8 заполняется газожидкостной осесимметричной струей,
образуя струйный фильтр, в котором происходит первичная очистка газа от вредных
примесей. Насыщение газового потока мелкодисперсными каплями очищающей
жидкости, движущимися вместе с ним, увеличивает инерционность газового потока,
дополнительно стабилизируя движение газа при попадании на сетку. Газ проходит
сквозь нижнюю сетку 7 вместе с мелкими каплями очищающей жидкости, которые,
частично оседая на сетке, образуют пенный слой, в котором улавливаются и
неосевшие на сетке капли. Далее газовый поток проходит через верхнюю сетку 7 с
пенным слоем, который образуется орошением ее сверху через патрубок 5 очищающей
жидкостью.
При двухсеточном типе абсорбционной тарелки сетки ее могут быть выполнены
как провальной, так и переливной конструкции. В случае выполнения нижней сетки
переливной, обеспечивается постоянный слив жидкости, образующей пену, через
переливной патрубок 6 слива в сборник очищающей жидкости 4 или в другую
емкость, откуда очищающая жидкость вновь подается в аппарат насосом 13 через
патрубки 5 и 11. Далее газ проходит через каплеуловитель 14 и выходит очищенным
через патрубок 3.
В заявляемой конструкции пенного массообменного аппарата абсорбционная
тарелка может быть изготовлена как тканой из полимерных или металлических
нитей, так и нетканой пластмассовой или металлической.
Заявляемая конструкция пенного массообменного аппарата, обладая более
эффективной очисткой газа, выгодно отличается от прототипа.
3. Экспериментальная часть
.1 Цель исследования
Целью данной части работы являлось изучение работы двухроторного аппарата
в процессе десорбции двуокиси углерода из воды в воздух.
3.2 Описание экспериментальной установки
Для определения массообмена аппарата было проведено исследование на
экспериментальной установке (рисунок 20).
На созданной экспериментальной установке, исследовался двухроторный
аппарат с междисковыми зазорами 20 мм, 30 мм, 40 мм. В качестве модельного газа
был выбран воздух, в качестве модельной жидкости - вода.
Изучение эффективности заключалось в определении интенсивности
массообмена в зависимости от гидродинамических параметров системы. В качестве
таких параметров использовались расход газовой и жидкой фаз, частота вращения
роторов, а также уровень жидкости в аппарате. Влияние каждого параметра на
массообмен исследовалось отдельно. При этом значения двух других параметров
оставались постоянными.
Рисунок
20 - Схема экспериментальной установки
1 - роторный аппарат; 2 - диафрагма; 3 - ЛАТР; 4 - дифманометр; 5 - манометр; 6, 10 - вентили; 7 - бак; 8 - уровнемер; 9 - центробежный насос; 11 -регулирующий вентиль; 12 - ротаметр; 13 - электродвигатель; 14 - гибкая муфта; 15 - тахогенератор; 16 - тахометр; 17 - амперметр; 18 - выпрямитель; 19- баллон с газом; 20 - редуктор; 21 - барботер; 22, 23 - пробоотборники; 24 - шкивы ременной
передачи; 25 - воздуходувка; 26 - фотоаппарат
Перед началом экспериментов бак 7 заполнялся водой, затем в барботер 21
из баллона 19 подавался газ СО2. Насыщение воды происходило в течение 25 минут.
После этого установка выводилась на рабочий режим.
Воздух в аппарат 1 подавался по воздуховоду от стационарной воздуходувки.
Расход воздуха контролировался U образным дифманометром 4, измеряющим перепад
давления на диафрагме 2. Отработанный воздух выводился в атмосферу через
отверстия, расположенные в крышке аппарата. Гидравлическое сопротивление
насадки определялось U-образным манометром 5. Уровень воды в баке
контролировался уровнемером 8. Из бака 7 вода нагнеталась в аппарат 1
центробежным насосом 9. Расход воды контролировался ротаметром 12. Из аппарата
вода сливалась в бак 7 через гидрозатвор. Частота вращения роторов
контролировалась тахометром 16. Напряжение на щетках двигателя замерялось
вольтметром выпрямителя. Для измерения тока якоря в цепь якоря был включен
амперметр 17.
После выхода установки на стационарный режим из пробоотборников 22 и 23,
отбирались пробы жидкости. В которых методом щелочного титрования определялась
концентрация СО2.
Для визуальной фиксации структуры газожидкостного слоя была проведена
фотосъёмка с малой выдержкой (1/500 сек) в отраженном и проходящем свете.
Для повышения контрастности изображений, к фотографиям были применены
методы обработки растровых изображений (использовался редактор Paint и windows live photo gallery).
4. Конструкторская часть
.1 Описание аппарата и выбор материалов
Данный химический аппарат является вертикальным с перемешивающим
устройством, в качестве которого выступает перфорированные диски. Аппарат
состоит из обечайки круглого сечения, плоского днища и плоской крышки. Его
объем составляет 0,06 м3. Принимаем, что корпус аппарата литой. Срок
эксплуатации τ = 20 лет. Колебания нагрузки во времени отсутствуют.
Этот аппарат работает при температуре 40-50оС. В нем обеспечен
естественный противоток газовой и жидкой фазы.
Рисунок 21 - Двухроторный аппарат
Экономичность и надежность аппарата в значительной степени зависят от
правильного выбора конструкционных материалов. При выборе материалов основным
критерием является его химическая и коррозионная стойкость в заданной среде.
Обычно выбирают материалы абсолютно или достаточно стойкие в среде при рабочих
параметрах.
Основным конструкционным материалом аппаратов, работающих под давлением,
являются стали. Для выбранного материала устанавливают скорость коррозии в
рабочей среде (П мм/год), которая затем учитывается при определении
соответствующей прибавки к расчетной толщине. Неметаллические материалы,
используемые для изготовления уплотнительных элементов (прокладок, сальниковой
набивки и т.д.) выбирают аналогично.
Заданные условия: температура 40о С, карбамид и нитрозные газы.
Вполне стойкие материалы ( П<0,1 мм/год):
марки стали: 15ХМ.
полиэтилен ВТУМХП 4138-55.
Фторопласт-1 ТУ6-05-559-74.
резины: КЩ ГОСТ7338-65.
В итоге выбираем для корпуса выбираем Фторопласт 1, как самый оптимальный
материал для корпуса данного аппарата . Фторопласт-1 уникальный материал, полученный
химическим путем. Фторопласт отличается высокой химической стойкостью. Вместе с
феноменальной инертностью, фторопласт-1 характеризуется малой пористостью,
отличными диэлектрическими и механическими свойствами. Фторопласт обладает
низким, почти не зависящими от температуры коэффициентом трения, совершенно
гидрофобен, физиологически инертен.
.2 Расчет долговечности подшипников
.2.1 Выбор подшипников для фиксирующей опоры
Основным критерием работоспособности подшипника качения является его
динамическая грузоподъемность.
Номинальная долговечность подшипника №101 в часах
,
где С=5070
Н - динамическая грузоподъемность по каталогу;
Р
- эквивалентная нагрузка;=3 - показатель степени.
Определим
Р. Для однорядных и двухрядных сферических радиальных шарикоподшипников
эквивалентная нагрузка
Сначала
найдем значение е:
 ,
следовательно
е=0,24,
где
Со=2240Н - статическая грузоподъемность по каталогу;
При

где
Fа=122 H - нагрузка на вал,

где
радиальная нагрузка состоит из реакции опоры максимальной
Итак,
получим

Используемые
коэффициенты из таблиц.
По
расчетам получается итоговая долговечность:  часов,
это удовлетворяет поставленной задачи.
4.2.2 Выбор подшипников для плавающей опоры
Планируется, что подшипник будет работать в агрессивных средах без
возможности смазки. Для этого подбираем специальные подшипники компании xiros®.
Ниже приведено описание подшипника, а приложении П4 даны технические
характеристики, позволяющие сделать их расчет на долговечность.
Пластмассовые шарикоподшипники xiros®
являются однорядными, с осевой канавкой и изготовлены по стандарту DIN 625. Не
требующие смазки и техобслуживания шарикоподшипники состоят из четырех
компонентов: внешнее кольцо, внутреннее кольцо, сепараторное кольцо, тела
качения-шарики
Внутренние и внешние кольца изготовлены из трибополимеров igus® для
максимального увеличения срока службы и уменьшения коэффициента трения. В
отличие от металлических шарикоподшипников, пластмассовые подшипники xiros®
абсолютно не требуют смазки. По этой причине они подходят для широкого
практического применения, которое требует не экстремальных скоростей вращения и
нагрузок, а всего лишь отсутствия смазки, в отличие от постоянно смазываемых
металлических шарикоподшипников. Этими сферами применения являются, например,
пищевая и медицинская промышленности, упаковочная и текстильная, либо
химическая промышленность и практическое применение в условиях стерильности, а
также электроника и офисная техника.
Полимерные шарикоподшипники xirodur®
A500 в сочетании с сепаратором PEEK и стеклянными шариками часто используются в
условиях, когда требуется высокая химическая стойкость, а применение
компонентов из нержавеющей стали недопустимо вообще.
· Не требуют смазки и обслуживания
· Пригодны для эксплуатации при высоких
температурах до +150 °С
· Стойкие к коррозии
· Немагнитные и поддающиеся очистке
водой
· Химически стойкие
· Прогнозируемый срок службы
· Низкий вес
· Для вала диаметром 3-20 мм
· Обеспечивают электрическую изоляцию
Номинальная долговечность подшипника в часах
,
где С=137
Н - динамическая грузоподъемность по каталогу в Приложении П4;
Р
- эквивалентная нагрузка;=3 - показатель степени.
Определим
эквивалентную динамическую радиальную нагрузку Р.

Используемые
коэффициенты из таблиц.
По
расчетам получается итоговая долговечность:  часов,
это удовлетворяет поставленной задаче.
4.3 Расчет зубчатой передачи
U= 1
n=1500
об/мин;
Тмах=10000 Нм;
tΣ= 10 000 ч.;
Степень точности - предварительно 8.
) Выбор материала колеса и определение твёрдости.
Колесо
1:  =300;
Колесо
2:  =248,5;
)
Определение допускаемых напряжений.
Определение
наработки:
N=t*60*(n3/U)*c =
9*10^8 циклов
Определение
коэффициента эквивалентности (Кне) для заданного класса нагрузки по контактным
напряжениям:
KHE=0,800;
Определение
базы контактных напряжений NHG в соответствии с твёрдостью выбранных материалов:
NHG1=25*10^6
циклов;
NHG2=12,5*10^6
циклов;
Определение
коэффициента долговечности по контактным напряжениям:
KHD= KHE* ≤1
Принимаем
KHD1= 1 и KHD2=1
Определение
значения передела выносливости σHlim для шестерни и колеса и коэффициента безопасности SH:
σHlim1=2НВ1+70=670
МПа;
σHlim2=2НВ2+70=567
МПа;
SH=1,1
Определение
лимитирующей способности:
Т.к.
выполняется условие KHD≤1, то при НВ1<НВ2* , т.е.
при 300>285,5 , лимитирующей нагрузочную способность является колесо 1, и
допускаемые контактные напряжения определяются:
[σН]= σHlim1/ SH=670/1,1=515,5 МПа;
Определение
предела длительной выносливости по изгибным напряжениям σFlim1
зубчатого колеса и запас прочности SF:
σFlim1=1,8НВ1=447,3
МПа;
SF=1,75;
Определение
допускаемых напряжений изгиба при работе только одной стороны зуба:
[σF]= σFlim1/SF=255,6
МПа;
)
Определение межосевых расстояний, модулей зацепления и числа зубьев.
Определение
коэффициента ширины колеса:
Ψа=b2/a=0.4;
Определение
межосевого расстояния:
Принимаем,
а=90 мм;
Определение
ширины колеса 1 и колеса 2:
b1=b2= Ψа*a=0,4*90=36 мм;
υ=2аπ*n3/(U+1)*60=7,07
м/с;
Определение
модуля зацепления.
mn=(0.01 -
0.02)*a
принимаем
m=1;
Определение
угла наклона линии зуба для косозубого колеса:
β=arcsin(3,5m/b2)=5,58º;
Определение
суммарного числа зубьев для косозубой передачи:
zΣ=z1+z2=(2a/m)*cosβ=180;
Определение
числа зубьев шестерни:
z1= zΣ/(U+1)=90>15
z2=180-90=90;
)
Определение конструктивных размеров зубчатых колёс:
Определение
делительного диаметра:
колеса
1: d1=mn*z1/cosβ=90,4 мм;
колеса
2: d2=mn*z2/cosβ= 90,4 мм
Определение
диаметров вершин зубьев:
колеса
1: da1=d1+2m=92,4 мм;
колеса
2: da2=d2+2m=92,4 мм;
Определение
диаметров впадин зубьев:
колеса
1: df1=d1-2,5m= 87,9 мм;
колеса
2: df2=d2-2,5m= 87,9 мм;
4.4 Таблица экспериментальных данных
|
Gж, мм
|
hж, мм
|
Ω
вала, об/мин
|
Сила тока
|
Насос V
|
Температура
|
P возд. в аппарате
|
|
|
|
A
|
V
|
|
t лев
|
t прав
|
|
|
56
|
35
|
450
|
12,5
|
10
|
40
|
21,5
|
25,9
|
75
|
|
59
|
30
|
475
|
14
|
10
|
40
|
21,5
|
23
|
85
|
|
64
|
30
|
450
|
11,5
|
10
|
40
|
21,7
|
24
|
55
|
Заключение
В данном курсовом проекте была разработана схема двухроторного
массообменного аппарата.
Были изучены свойства нитрозных газов, проведен анализ существующих
методов очистки воздуха от нитрозных газов, в ходе которого были выявлены
преимущества и недостатки каждого из них.
Был проведен патентный поиск аналогичного оборудования с целью сравнения
лабораторной установки с ранее разработанными устройствами. Двухроторные
массообменные аппараты представляются наиболее перспективными конструкциями
массообменных аппаратов.
Была предложена конструкция двухроторного массообменного аппарата.
Конструкторская часть содержит необходимые прочностные и механические
расчеты, а именно был подобран и рассчитан стандартный подшипник №101, а также
подшипник специальной конструкции, не нуждающийся в смазке по критерию
работоспособности и долговечности.
Был произведен расчет зубчатой передачи.
Графический материал представлен на 4 листах и включает в себя:
· Схема двухроторного аппарата (1 лист формата А1,);
Список литературы
. Касаткин А. Г. Основные процессы и аппараты химической
технологии: Учеб. для хим.-технол. спец. вузов. - 9-е изд. - М.: Химия, 1973. - 750 с.
. Рамм В. М. Абсорбционные процессы в химической
промышленности. - M.: Госхимиздат,
1951. - 352 с.
4. http://www1.fips.ru
. http://www.freepatentsonline.com/
Похожие работы на - Двухроторный массообменный аппарат
|