Разработка технологической документации на процесс изготовления одежды в массовом производстве
Министерство образования и науки
Российской Федерации
Санкт-Петербургский государственный
университет технологии и дизайна
РЕГИОНАЛЬНЫЙ ИНСТИТУТ НЕПРЕРЫВНОГО
ПРОФЕССИОНАЛЬНОГО ОБРАЗОВАНИЯ
Кафедра конструирования и технологии
швейных изделий
КУРСОВАЯ РАБОТА
По дисциплине "Технология
швейных изделий"
На тему: "Разработка
технологической документации на процесс изготовления одежды в массовом
производстве"
Санкт-Петербург 2012
Реферат
Курсовая работа содержит пояснительную записку.
Пояснительная записка изложена на ___ страниц печатного
текста, 22 рисунка, 15 таблиц, Список использованных источников составляет 16
наименований, 5 приложений.
МУЖСКОЙ ПИДЖАК, МАТЕРИАЛЫ, ФУРНИТУРА, ВЫБОР ОБОРУДОВАНИЯ,
МЕТОДЫ ОБРАБОТКИ, ЭКОНОМИЧЕСКАЯ ЭФФЕКТИВНОСТЬ, СХЕМА СБОРКИ, ТЕХНОЛОГИЧЕСКАЯ
ПОСЛЕДОВАТЕЛЬНОСТЬ ИЗГОТОВЛЕНИЯ ИЗДЕЛИЯ.
Объектом исследования является пиджак мужской.
Цель работы - обобщение, углубление и закрепление знаний,
полученных в процессе обучения, и применение этих знаний при решение научных,
технических и экономических задач.
Задачей данного курсового проекта является выбор материалов,
анализ и разработка методов обработки деталей и узлов изделий, выбор
оборудования, режимов обработки, и разработка технологической
последовательности на изготовление изделия в массовом производстве.
Содержание
Введение
1. Выбор перспективных моделей и описание их внешнего вида
1.1 Направление моды для изделий заданного ассортимента на текущий
период
1.2 Описание коллекции моделей
1.2.1 Художественно - техническое описание моделей
1.3 Обоснование выбора моделей для разработки документации
2. Выбор и характеристика материалов
2.1 Направления моды для материалов заданного ассортимента
2.2 Характеристика применяемых материалов
3. Нормативно-техническая документация на изделие
4. Анализ и разработка методов обработки деталей и узлов изделий
4.1 Начальная обработка
4.2 Обработка шлицы
4.3 Обработка карманов
4.4 Обработка застежки
4.5 Обработка воротника и соединение его с горловиной изделия
4.6 Обработка низа рукава и соединение его с изделием
4.7 Обработка низа изделия, подкладки и соединие ее с изделием
5. Выбор оборудования, приспособлений и режимов обработки
5.1 Выбор режимов клеевых соединений
5.2 Выбор оборудования для выполнения клеевых соединений
5.3 Топография расположения клеевых прокладочных материалов
5.4 Выбор режимов ниточных соединений
5.5 Выбор оборудования для выполнения ниточных соединений
5.6 Выбор режимов ВТО
5.7 Выбор оборудования для ВТО
6. Нормирование времени технологически неделимых операций
7. Разработка технологической последовательности изготовления
изделия
7.1 Схема обработки и сборки изделия
7.2 Технологическая последовательность изготовления изделия
Заключение
Список использованных источников литературы
Введение
Лёгкая промышленность - совокупность специализированных
отраслей промышленности, производящих главным образом предметы массового
потребления из различных видов сырья. Лёгкая промышленность занимает одно из
важных мест в производстве валового национального продукта и играет значительную
роль в экономике страны. Лёгкая промышленность осуществляет как первичную
обработку сырья, так и выпуск готовой продукции. Предприятия лёгкой
промышленности производят также продукцию производственно-технического и
специального назначения, которая используется в мебельной, авиационной,
автомобильной, химической, электротехнической, пищевой и других отраслях
промышленности, в сельском хозяйстве, в силовых ведомствах, на транспорте и в
здравоохранении.
Среди отраслей легкой промышленности, изготавливающих товары
для населения, одно из ведущих мест занимает швейная.
Современная швейная промышленность - вторая по объему валовой
продукции отрасль легкой индустрии. Она отличается более свободным характером
размещения и теснее связана с потребителем. Состояние дел в швейной
промышленности в России в последнее время достаточно подробно анализируется.
Для получения характеристики состояния швейной
промышленности, необходимо изучение тенденций, закономерностей и основных
событий, наблюдающихся в легкой промышленности в целом.
Насыщение рынка зарубежными швейными изделиями обостряет
проблему конкурентоспособности швейных изделий отечественного производства.
Важным показателем, характеризующим качество швейных изделий,
является его технологичность. Для того, что бы покупатель приобретал
качественное и не дорогое изделие, необходимо, что бы оно изготовлялось с
использованием прогрессивных методов обработки и оборудования [1].
Технология швейных изделий постоянно совершенствуется на базе
дальнейшего развития моделирования и конструирования одежды, широкого внедрения
в производство современных высокопроизводительных машин и аппаратов,
специализированных машин с программным управлением, механизации и
автоматизации; обработки и сборки отдельных деталей и узлов одежды, применения
наиболее прогрессивных форм поточных процессов, разработки и внедрения средств
малой механизации, использования новых материалов и т.д. Совершенствование
процессов изготовления одежды осуществляется в различных направлениях: замена
ручных операций машинными, внедрение параллельно-последовательных и методов
обработки, при которых за один переход выполняется несколько операций;
внедрение параллельных методов обработки с широким использованием клеевых
материалов и способов клеевого соединения деталей одежды, обеспечивающих
наиболее эффективную их обработку и сборку. Высокоэффективно также широкое
внедрение машин полуавтоматического и автоматического действия, а также средств
малой механизации. Актуальность применения прогрессивных технологий несомненна,
так как выбор технологической обработки изделия должен принимать во внимание
огромное количество новых текстильных материалов, которые в последнее время
наполнили отечественный рынок, постоянно совершенствующееся оборудование, и
свойства обрабатываемых материалов [2].
Очевидно, что при подборе методов технологической обработки
швейных изделий должны быть максимально использованы последние достижения
науки, техники и прикладного искусства, выбраны оптимальные технологические
решения, что позволит швейным изделиям отвечать потребностям потребителей, и
одновременно повысит рентабельность отечественных предприятий.
Главной задачей швейной промышленности является
удовлетворение потребностей потребителей одеждой высокого качества и
разнообразного ассортимента. Решение этой задачи достигается путем увеличения
эффективности производства, роста производительности труда, повышения качества
изделий, совершенствования труда и производства за счет использования методов
научной организации труда.
В настоящее время с развитием науки и техники значительно
расширился ассортимент применяемых материалов, увеличилась номенклатура
оборудования и средств малой механизации. С увеличением ассортимента
выпускаемых изделий возникла необходимость в сокращении сроков подготовки
производства новых моделей [1].
Целью работы является разработка технологической документации
на изготовление мужского пиджака в массовом производстве, необходимая для
систематизации знаний, расширения навыков и профессионального уровня.
В работе будут представлены: перспективные модели с описанием
их внешнего вида; рекомендуемые материалы для данного ассортимента;
нормативно-техническая документация; анализ и разработка методов обработки
деталей и узлов изделия; разработка технологических режимов обработки, выбор оборудования
и приспособлений; нормирование времени выполнения технологически неделимых
операций; разработка технологической последовательности изготовления изделия.
мужской пиджак массовое производство
1. Выбор
перспективных моделей и описание их внешнего вида
1.1
Направление моды для изделий заданного ассортимента на текущий период
Тенденции мужской моды очень отличаются от женской. Они
существуют, да. Но они менее склонны к переменам. Прежде всего, это относится к
костюмам.
Следует отметить, что цикличность стилей мужской одежды
гораздо медленней, чем возращения тенденций женской моды. Особенно это касается
мужских костюмов. Хотя существует множество модных в 2011 году стилей костюмов,
следует отметить, что они не являются новинками - по правде говоря, большинство
из них будут популярны даже в 2012 и следующих годах
В то время как костюмы и официальность мужской одежды не
зависит от сезона и остается модной на протяжении нескольких лет, в 2011 и 2012
году главными качествами любого современного мужского костюма будут:
приверженность классике, мужественность.
Хороший костюм в этом десятилетии использует лучшие элементы
из различных исторических периодов (официальность Викторианской эпохи, ноу-хау
1930-х и, в некоторой степени, обтягивающие модели 1960-х) для создания
современного силуэта.
Мужские костюмы 2011 и 2012 года покроены таким образом,
чтобы подчеркнуть достоинства мужского телосложения; визуально расширить плечи
и подчеркнуть талию (или по крайней мере показать её наличие) тренированного
тела. Короче говоря, это такой пошив, что дает владельцу почувствовать себя
более мужественным и уверенным. Именно это ощущение является ключевым.
Некоторым мужественность придадут модели простого покроя
однотонных расцветок, другим подойдут вещи с множеством дополнительных
элементов, которые указывают на стиль жизни (можно сказать, что экземпляры от
Тома Форда попадают в последнюю категорию - они отличаются мужественностью,
однако сделаны для мужчин с определенным отношением к жизни) [3].
Покрой мужского костюма.
Облегающие вещи пользуются популярностью, а свободный покрой
уже вышел из моды. Таким образом, когда мы описываем мужской костюм 2011 года,
мы должны сказать: выбирайте облегающий покрой.
Говоря об облегающем покрое, стоит отметить, что хороший
костюм не должен быть ни чересчур облегающим, ни слишком свободным, и мог бы
подойти офицеру, акцентируя внимание на мужественности при помощи трех ключевых
элементов силуэта:
широкие плечи,
тонкая талия,
обтягивающие брюки.
Однобортные костюмы. Они никогда не выходят из
моды. Но в 2011 и 2012 году их также можно назвать господствующим стилем.
Причиной стремительного роста популярности является их контраст с двубортными,
модными в 2009 и 2010. Однобортный мужской костюм 2011 года будет иметь две
разновидности:
Прямой покрой. Первый из двух доминирующих видов
однобортных костюмов 2011 года - это так называемый костюм с прямым покроем.
Особенности:
наличие маленького или среднего зубчатого лацкана
верхняя пуговица должна быть расположена где-то в районе
пупка
нагрудный карман, который подходит только для видимости части
носового платка, - это то, что отличает носовой платок Дона Дрейпера от
аккуратно сложенного платка Тома Форда, что не сразу бросается в глаза.
Самоуверенный покрой. Как и все другие модные
мужские костюмы 2011 и 2012 года, такой наряд должен соответствовать
классическому стилю и подчеркивать мужественность владельца. В отличие от
прямого покроя, такой стиль имеет одну дополнительную особенность: вместо
небольшого зубчатого лацкана, самоуверенный крой 2011 имеет заостренные
отвороты. В этом отношении облик очень похож на модели 30-х и 70-х. Благодаря
своей очевидной привлекательности, самоуверенный фасон подходит не только
однобортным мужских костюмам. Что касается модных двубортных моделей, то данный
пошив можно назвать наиболее распространенным.
Двубортные костюмы и пиджаки. На сегодняшний день
основная задача таких костюмов - акцентировать внимание при помощи V-образного
выреза и продуманного силуэта.
Двубортный пиджак на четыре пуговицы с глубоким вырезом делает
мужчину визуально выше, стройнее, добавляет ширины в плечах - именно за эти
свойства силуэт двубортного костюма и был некогда позаимствован штатскими у
военных.
Свободный покрой костюма. У каждой тенденции есть
анти-тенденция.
Несмотря на то, что в 2011 и 2012 будет распространяться мода
на модели, подчеркивающие мужественность, довольно популярной тенденцией
останутся так называемые "свободные пятницы". Так, многие детали
мужских костюмов обретают более классические черты.
Новый свободный костюм подчеркивает покатые плечи, которые
собственно и стали источником вдохновения для создания подобного покроя, но по
сравнению с первоначальными вариантами отличается более стройной талией, хотя и
не такой тонкой, как это сейчас модно.
Костюмы-тройки. На протяжении длительного
периода жилеты были вне игры, но благодаря всплеску его популярности в мужской
уличной одежде, жилет снова в моде. И он вернулся как выразительный элемент,
показывающий, что, владелец, имеете представление о моде и понимаете в этом
вопросе гораздо больше других представителей сильного пола. Возвратившись в
гардероб современных мужчин, жилет стал обязательной частью наряда, что
закономерно привело к возрождению популярности костюмов-троек. Все элементы
"троек" в 2011-2012 должны сочетаться между собой. Теперь жилет
должен быть сделан из того же материала, что и пиджак с брюками
В качестве аксессуаров дизайнеры предлагают узкие кожаные
подтяжки (DSquared2), шелковые шейные платки (Roberto Cavalli, DSquared2). В
остальном, стандартные аксессуары в виде сумок, шарфов, галстуков и ремней, как
всегда представлены в большом ассортименте и каждый мужчина сможет найти в
коллекциях различных дизайнеров именно те модели, которые будут более всего
подходить его ансамблю.
Во многих коллекциях мужской одежды известнейших модных
дизайнеров и брендов нового сезона можно проследить необычное и даже смелое
решение - дополнение самого что ни на есть классического, строгого делового
костюма нарочито ярким галстуком. Пожалуй, можно смело говорить о том, что добавление
ярких деталей к строгому офисному гардеробу - одна из главных тенденций в
мужской моде последнего сезона.
Цветные костюмы - еще одна тенденция, характерная для мужских
коллекций сезона осень-зима 2011-2012. Рассчитанные, разумеется, отнюдь не на
соответствие строгим рамкам делового дресс-кода, деловые костюмы для мужчин
нового сезона порой отличаются действительно смелыми цветовыми решениями. Так,
например, модный бренд Salvatore Ferragamo в новую коллекцию включил модели
деловых костюмов насыщенно-бирюзового цвета, дополнив их соответствующими по
цвету шарфами и широкополыми шляпами. Костюмы всевозможных оттенков оранжевого
- от сочного апельсинового до более приглушенного и благородного темного, почти
горчичного и кирпичного - появились в коллекциях Thierry Mugler, Roberto
Cavalli, D&G.
Яркие аксессуары и костюмы необычных, бросающихся в глаза
цветов - не единственное нововведение, предложенное модными дизайнерами для
мужского гардероба сезона осень-зима 2011-212. Еще одна, не менее интересная
тенденция - это деловые костюмы из нестандартных тканей. Вместо традиционной
для зимних деловых костюмов плотной шерсти дизайнеры выбирают варианты куда
более интересные - так, например, модный бренд Kenzo вообще представил серию
деловых костюмов из бархата, как и Dolce & Gabbana, где такие костюмы,
впрочем, были вечерними [3].
1.2 Описание
коллекции моделей
На основе изложенного анализа направления моды на текущий
сезон предлагается коллекция мужских пиджаков.
1.2.1
Художественно - техническое описание моделей
Пиджак мужской. Модель 1
Пиджак мужской (рисунок 1) для младшей и средней возрастной
группы из полушерстяной костюмной гладкокрашеной ткани; полуприлегающего
силуэта, длиной до линии бёдер; с плечевыми накладками.
Перед с центральной бортовой застёжкой на две обметанные
петли и пластмассовые пуговицы на два прокола диаметром 2,5 см; отрезными
бочками и талиевыми вытачками; с боковыми накладными карманами с закруглёнными
нижними углами; с прорезным верхним карманом с листочкой с настрочными концами
и с наклонным входом на левой полочке.
Спинка со средним швом, заканчивающимся шлицей.
Рисунок 1 - Пиджак мужской. Модель 1
Воротник пиджачного типа с отворотом, с отрезной стойкой.
Рукава втачные, двухшовные с верхней и нижней частями,
длинные. Локтевой шов заканчивается открытой шлицей, с четырьмя декоративными
петлями, закрепляющейся пластмассовыми пуговицами диаметром 1 см.
Пиджак с притачной подкладкой и с двумя внутренними
прорезными карманами с двумя обтачками на правой и левой полочках.
Отделочная строчка проложена по воротнику, лацкану, краю
борта в тон верха шириной шва 0,5 см.
Рекомендуется использовать нитки и пластмассовые пуговицы на
2 прокола в тон основного цвета ткани.
Пиджак мужской. Модель 2
Пиджак мужской (рисунок 2) для младшей и средней возрастной
группы из полушерстяной костюмной гладкокрашеной ткани; полуприлегающего
силуэта, длиной чуть выше линии бёдер; с плечевыми накладками.
Перед с двубортной застёжкой на четыре обметанные петли и
пластмассовые пуговицы на два прокола диаметром 2,5 см; с отрезными бочками и
талиевыми вытачками, выходящими из подреза боковых прорезных карманов с
клапанами и двумя обтачками.
Спинка со средним швом.
Воротник отложной с отворотом, с отрезной стойкой.
Рукава втачные, двухшовные с верхней и нижней частями,
длинные. Локтевой шов заканчивается открытой шлицей, с четырьмя декоративными
петлями, закрепляющейся пластмассовыми пуговицами диаметром 1 см.
Пиджак с притачной подкладкой и с двумя внутренними
прорезными карманами с двумя обтачками и с застёжкой на навесную петлю и
пуговицу на правой и левой полочках.
Пиджак мужской. Модель 3
Пиджак мужской (рисунок 3) для младшей и средней возрастной
группы из полушерстяной костюмной гладкокрашеной ткани; полуприлегающего
силуэта, длиной до линии бёдер; с плечевыми накладками.
Перед с центральной бортовой застёжкой на две обметанные
петли и пластмассовые пуговицы на два прокола диаметром 2,5 см; с отрезными
бочками и талиевыми вытачками, выходящими из подреза боковых прорезных карманов
с двумя обтачками.
Боковые швы заканчиваются шлицей.
Спинка цельная.
Воротник отложной с отворотом, с отрезной стойкой.
Рисунок 2 - Пиджак мужской. Модель 2
Рисунок 3 - Пиджак мужской. Модель 3
Рукава втачные, двухшовные с верхней и нижней частями,
длинные. Локтевой шов заканчивается открытой шлицей, с четырьмя декоративными
петлями, закрепляющейся пластмассовыми пуговицами диаметром 1 см. Пиджак с
притачной подкладкой и с двумя внутренними прорезными карманами с двумя
обтачками на правой и левой полочках.
1.3
Обоснование выбора моделей для разработки документации
Проектирование и изготовление одежды всегда направлено на
развитие и поддерживание соответствующего качества, которому покупатель отдает
особое предпочтение. Качество продукции, ее конкурентоспособность на мировом
рынке рассматриваются сегодня как самый объективный показатель
научно-технического прогресса, уровня организации производства. Качество одежды
определяется степенью удовлетворения разнообразных потребительских требований,
которые составляют целую группу: эргономических, эстетических и
эксплуатационных [4]. В порядке значимости к выбранному ассортименту
предъявляются следующие требования: гигиенические - защита человека от
воздействий неблагоприятных факторов внешней среды; обеспечение нормальной
жизнедеятельности организма (кожное дыхание, газообмен); вентиляция пододежного
слоя воздуха; поддержание теплового баланса благодаря выбору материала из
ассортимента шерстяных тканей для пошива данного изделия; эксплуатационные -
обеспечение удобства в носке благодаря достаточной свободе движений и
правильному выбору застежек; прочность и надежность в эксплуатации,
характеризующиеся хорошим сопротивлением материалов и швов разрывным нагрузкам,
формоустойчивостью деталей и износостойкостью материалов; эстетические -
художественное оформление одежды; функциональные - соответствие своему
основному назначению, соответствие свойств ткани назначению модели и выбор
ткани в соответствии с сезоном; экономические - проектируемые изделия
характеризуются минимальной площадью деталей и, соответственно, минимальными
отходами материалов при раскрое; технологические - уменьшение трудоемкости
обработки за счет ликвидации отдельных операций, упрощения способов обработки,
создания условий для максимальной механизации технологических процессов и
повышения производительности труда [6]. Принимая во внимание требования,
предъявляемые к изделиям костюмного ассортимента, а также потребительские
требования, тенденции моды на сезон 2011-2012 гг., из разработанной коллекции
моделей мужских пиджаков для разработки документации выбрана модель № 1
(рисунок 7), которая отличается художественным оформлением изделия, отвечающим
современным направлениям моды; конструктивным и технологическим решением
модели, приемлемыми для запуска в массовое производство с применением
рациональных методов обработки, высокотехнологичного оборудования и средств
малой механизации.
2. Выбор и
характеристика материалов
2.1
Направления моды для материалов заданного ассортимента
В моде вельвет, бархат, атлас, кашемир, шелк, ангора, нубук,
шерсть, рельефная кожа, фланель.
Модными цветами и оттенками, на которые стоит обратить
внимание, являются: коралловый, бордо, багряный, лиловый, цвет шоколада,
черный, камуфляжный зеленый, медовый, ультрамарин, черничный с молоком, серое
железо, розовый цемент, бронза, глубокий фиолет, темный гранат, беж, слоновая
кость, бирюза, фуксия, розово-лиловый, неон, сине-фиолетовый, мокрый белый.
Всемирно известный бренд Corneliani, чей показ состоялся в
Милане одним из первых, обратился к традиционной серо-черной палитре цветов.
Скромную ноту яркости в показы первых дней Milano Moda Uomo
внесли работы Bottega Veneta. На подиуме появились "острый" оранжевый
и "глухой" синий, разбавив своим присутствием базовые черный и
асфальтовый.
Инновационной можно назвать последнюю коллекцию Мартина
Бэйлла для дома Versace. Монохром цвета только оттенял новаторские модели,
выполненные из стеганой кожи и трикотажных полотен, переплетенных с кожаными
полосками. Хитом коллекции стали принты 3D, украшающие оригинальные кожаные
изделия.
В мужском костюме главенствуют фактурные цветные ткани.
Отказавшись еще год назад от цвета как такового, дизайнеры только сейчас стали
порционно добавлять его вновь. Но совсем по чуть-чуть, в отдельных деталях, сам
же костюм продолжает оставаться серым и радует либо клеткой (довольно крупной,
как у Canali), либо пестрой рябью, как на экране сломанного старого телевизора
(в коллекции McQueen). Этой осенью явное предпочтение отдано именно пиджакам в
клетку, а не в полоску или цветные принты. Один из самых популярных узоров
осени - британская клетка, крупная и мелкая. Еще одним интересным трендом можно
считать крупную красно-черно-бежевую клетку. Такую расцветку в стиле Burberry
"позаимствовали" многие французские и итальянские марки мужской
одежды.
К примеру, один из лучших производителей костюмных тканей
Ermenegildo Zegna предлагает однотонные костюмы сложных и в то же время не
очень насыщенных цветов. Так, изысканно и необычно смотрится бирюзовый,
смешанный с серым. Цвет получился очень легким, он адекватно воспринимается в
"серой" офисной среде, но при этом его уже не назовешь чрезмерно
скучным.
2.2
Характеристика применяемых материалов
Мужской костюм является многослойным видом
одежды, поэтому для его изготовления используются не только материалы,
необходимые для верха пиджака и брюк, но и подкладочные, прокладочные и
прикладные.
Мужской костюм - один из наиболее
консервативных по форме и назначению видов одежды. Основными материалами для
изготовления мужских костюмов являются костюмные шерстяные и полушерстяные
ткани, ткани из полиэфирных и текстурированных нитей, ворсовые ткани и
формоустойчивые трикотажные полотна. Используются и другие материалы: ткани
хлопчатобумажные, льняные, шелковые; трикотажные и нетканые полотна различного
волокнистого состава. Кроме того, мужские пиджаки и брюки шьют из натуральной
кожи.
Основной удельный вес среди них занимают
шерстяные ткани с лавсаном - 30% и вискозой - 33%; шерстяные ткани с нитроном
составляют 13%, чистошерстяные-13%, с лавсаном и вискозой - 6%, с нитроном и
вискозой - 3%. Наименьший удельный вес занимают полушерстяные ткани с
хлопком-2%.
Общими требованиями, предъявляемыми к
костюмным материалам, являются: несминаемость, способность к формообразованию,
износостойкость, устойчивость к растяжению, устойчивость к химчистке.
Гигиенические требования жестко регламентируются только у материалов для летних
костюмов.
В действующих стандартах не нашла отражения
значительная категория свойств, предопределяющих процесс пошива и оказывающих
влияние на качество швейных изделий - осыпаемость, жесткость, раздвигаемость
нитей, способность ткани к сутюживанию. Не учитываются в стандартах некоторые
физико-механические свойства тканей, имеющие важное гигиеническое значение
(например, воздухопроницаемость).
Кроме того, показатели, по которым
существующие документы рекомендуют оценивать качество ткани, в подавляющем
большинстве не имеют обоснованных норм.
В связи с этим были выделены следующие
характеристики физико-механических, гигиенических и технологических свойств
тканей, совокупность которых наиболее полно характеризует качество костюмных
тканей: толщина, жесткость при изгибе, несминаемость, %; стойкость к истиранию
до изменения внешнего вида; усадка, %; разрывная нагрузка, даН; стойкость
окраски, баллы; сопротивление осыпаемости, даН; сопротивление раздвигаемости
нитей, даН.
В реальных условиях эксплуатации ткань
подвергается воздействию трения, многократного растяжения, сжатия и изгиба,
светопогоды, стиркам, химическим чисткам [7].
Совокупность этих воздействий вызывает
общее старение ткани, приводящее изделие к полной потере внешнего вида без
разрушения материала.
В связи с этим в технические требования к
костюмным тканям целесообразно включить совокупность показателей, соблюдение
которых обеспечило бы как можно более длительный срок носки изделия при
сохранении его удовлетворительного внешнего вида.
Рациональной величиной толщины была
принята толщина, равная 0,6-0,8 мм. Поскольку уменьшение толщины костюмных
тканей приводит к их облегчению, ухудшению свойств (жесткости, несминаемости) и
внешнего вида в готовом изделии, а увеличение толщины - к возрастанию массы
ткани и готового изделия, из существующих значений колебаний толщины
целесообразно выделить средние. Эти значения составляют 0,6 - 0,9 мм. Ткани
такой толщины составляют около 80% в ассортименте костюмных тканей [8].
Характеристика материалов верха
представлена в таблице 1.
Таблица 1 - Характеристика материалов верха
|
Наименование,
артикул
|
Волокнистый
состав, %
|
Линейная
плотность, текс
|
Число нитей на
10 см
|
Ширина, см
|
Поверхностная
плотность, г/м2
|
Отделка
|
Переплетение
|
|
О
|
У
|
О
|
У
|
О
|
У
|
|
|
|
|
|
43741 Roudier
|
68 - полиэстер
30-шерсть 2 - эластан
|
30
|
34
|
250
|
230
|
150
|
205
|
Гладкокра-шеная
|
Полотняное
|
|
45564 Roudier
|
64-шерсть 36 -
полиэстер
|
32
|
36
|
256
|
236
|
152
|
215
|
Гладкокра-шеная
|
Основная саржа
|
|
43687 Roudier
|
45-шерсть
2-эластан 53-полиэстер
|
28
|
30
|
245
|
220
|
150
|
213
|
Гладкокра-шеная
|
Полотняное
|
|
|
|
|
|
|
|
|
|
|
|
Подкладочные материалы улучшают
эксплутационные свойства швейных изделий. Они оформляют одежду с изнаночной
стороны и в процессе эксплуатации подвергаются интенсивному трению.
Подкладочные материалы должны иметь
гладкую поверхность для обеспечения удобства пользования одеждой, быть
несминаемыми, стойкими к истиранию, окраска их должна быть устойчива к сухому и
мокрому трению, действию пота, влажно-тепловой обработке. Подкладочные
материалы не должны электризоваться, не должны иметь раздвигания нитей в швах,
вызывать затруднений при уходе. Они должны иметь небольшую осыпаемость и
обладать низким коэффициентом трения,
Подкладочная ткань должна сочетаться по
цвету с основной тканью, а также соответствовать ей по толщине и поверхностной
плотности. Рекомендуются ткани с малым значением прорубаемости.
Подкладочная ткань выбрана с учётом цвета
основного материала. Ткань износоустойчивая, обладает хорошими гигиеническими
свойствами.
Подкладочный материал имеет гладкую
лицевую поверхность, что обеспечивает удобство пользования одеждой. Окраска
материала устойчива к сухому и мокрому трению, влажно-тепловой обработке, она
не электризуется и не раздвигается в швах.
По художественно-эстетическим показателям
подкладочные ткани должны соответствовать образцам-эталонам, а по
физико-механическим свойствам - требованиям, указанным в ГОСТах.
Для большего скольжения вырабатывается
подкладочная ткань с атласным переплетением или саржевым.
Выбор подкладочной ткани зависит от
поверхностной плотности ткани верха. Усадка, технологические свойства и режимы
влажно-тепловой обработки должны совпадать у подкладочных материалов с
основными тканями.
Выбранные подкладочные материалы являются
наиболее рациональными, так как ткани из вискозных нитей имеют наилучшие
физико-механические свойства среди всех видов подкладочных материалов [8].
Вискозные нити обладают хорошей
гигроскопичностью, светостойкостью, мягкостью, устойчивостью к истиранию. Ткани
из вискозных нитей не электризуются.
Средняя поверхностная плотность выбранных
тканей, гладкость поверхности, цветовая гамма полностью соответствует основным
материалам.
В соответствии с требованиями,
предъявляемыми к подкладочным материалам и представленными основными
материалами, выбраны взаимозаменяемые подкладочные материалы.
Характеристика подкладочных материалов
представлена в таблице 2.
Таблица 2 - Характеристика подкладочных
материалов
|
Наименование,
артикул
|
Волокнистый
состав, %
|
Линейная
плотность, текс
|
Число нитей
наи10см
|
Ширина, см
|
Поверхностная
плотность, г /м2
|
Отделка
|
Переплетение
|
|
О
|
У
|
О
|
У
|
О
|
У
|
|
|
|
|
|
Ткань
подкладочная арт.32661 Россия
|
100 -
вискозное волокно
|
15
|
14
|
564
|
354
|
150
|
93
|
Гладкокра-шеная
|
Основная саржа
|
|
Ткань
подкладочная арт.550008 Германия
|
100 -
вискозное волокно
|
15
|
14
|
640
|
320
|
150
|
93
|
Пестротка-ная
|
Саржевое
|
|
Ткань
подкладочная арт.32876 Россия
|
100 -
вискозное волокно
|
13
|
14
|
534
|
324
|
150
|
86
|
Пестротка-ная
|
Саржевое
|
|
|
|
|
|
|
|
|
|
|
|
Прокладочные материалы используются для
придания тканям верха жёсткости, упругости и формоустойчивости (особенно важное
свойство для мужских пиджаков), предохранения отдельных участков от растяжения,
снижения воздухопроницаемости одежды, повышения теплозащитных свойств одежды.
Прокладочные материалы должны иметь более
тонкую структуру, гладкую, ровную поверхность, чтобы не проступала через ткань
верха. Усадка должна быть равна ткани верха.
Лучшего внешнего вида и качества одежды
можно добиться, если использовать в качестве прокладок термоклеевые
прокладочные материалы.
Для этих материалов характерны, высокая
упругость, несминаемость, одинаковая растяжимость по всем направлениям,
небольшая толщина, усадка и поверхностная плотность; удовлетворительные
гигиенические свойства. При применении нитепрошивных материалов детали кроя не
осыпаются по краям.
Структура текстильных материалов легко
деформируется даже под действием собственной массы, что приводит к искажению
деталей одежды, изменению их формы. Это, прежде всего, относится к тем участкам
деталей, которые выкроены в косом и поперечном направлениях. Поэтому в пиджаке
по линии перегиба воротника, срезу борта, срезу лацкана, по плечевому срезу
полочки, по горловине и пройме спинки и полочки проложена клеевая кромка.
Для усиления переда для создания формы
используются несколько материалов, обладающих большой объёмностью и жёсткостью.
Применение таких прокладочных материалов
делает детали пиджака несминаемыми, упругими, гибкими.
В соответствии с требованиями,
предъявляемыми к прокладочным материалам и данной моделью, выбраны
взаимозаменяемые прокладочные материалы, характеристика которых представлена в
таблице 3.
Швейные нитки являются основным материалом
для соединения отдельных деталей одежды, однако могут служить и в качестве
отделочного материала.
Для изготовления одежды применяются
швейные нитки различные по сырьевому составу (х/б, шелковые, синтетические),
структуре и способу производства (мононити, комплексные, штапельные,
армированные, смешанные).
В процессе образования строчки под
действием трения, растяжения, раскручивания, закручивания происходит изменение
структуры швейных ниток и потеря их прочности на 10-40%, поэтому основное
требование, которое предъявляется к швейным ниткам, - это высокая прочность
[9].
Выбор номера швейных ниток и
соответствующих игл должен проводиться в зависимости от толщины стачиваемых
материалов и вида выполняемых работ.
Качество ниток характеризуется прочностью,
растяжимостью, упругостью, ровнотой, степенью белизны, прочностью окраски,
уравновешенностью крутки, наличием пороков внешнего вида.
Х/б нитки могут отличаться невысокой
прочностью, стойкостью к истиранию, растяжимостью, а также неоднородностью
структуры, вызывающей неудобства в технологическом процессе. Синтетические
нитки более упруги, имеют значительные удлинения и прочность, но плавятся при
относительно низких температурах, поэтому для изготовления данного изделия
выбираем армированные нитки. Выбор и показатели физико - механических свойств
ниток выбираем из инструкции "Ассортимент швейных ниток".
В таблице 4 представлена характеристика
скрепляющих материалов для данного изделия.
Таблица 3 - Характеристика прокладочных
материалов
|
Наименование,
артикул
|
Поверхностная
плотность, г/м2
|
Вид клея и
способ нанесения
|
Волокнистый
состав, %
|
Назначение
материала, дополнительные сведения
|
|
|
|
О
|
У
|
|
|
Арт.7200/193
|
58
|
с клеевым
покрытием 6 меш, двойное точечное
|
73 - вискоза,
27 - пэ
|
73 - вискоза,
27 - пэ
|
С усиленными
основными нитями, обладающий большой объемностью, предназначенный для
усиления переда, смещенная цепочка, нитепрошивной
|
|
Куфнер R6611G53
|
74
|
двойное
точечное покрытие Double-Snot 11 меш (22 точек/см)
|
полиэфир
|
вискоза
|
Для
фронтального дублирования, легкий, мягкий, гибкий рамельный материал,
смещенная цепочка
|
|
Политейл 856512
ZMU
|
70
|
спец. Полиамид,
17 меш
|
30 - хлопка, 70
- вискоза
|
30 - хлопка, 70
- вискоза
|
Фиксирующая
лента (клеевая кромка), смещенная цепочка, нитепрошивной
|
|
|
|
|
|
|
|
|
|
|
|
|
|
Арт.3157/181
|
69
|
с клеевым
покрытием
|
60 - вискозы,
40 - хлопок
|
60 - вискозы,
40 - хлопок
|
Мягкий и очень
объемный про-дукт, для фронтального дуб-лирования переда, смещенная цепочка,
нитепрошивной
|
|
Куфнер В471N57
|
80
|
Double-Spot; 17 меш (52 точки/ см)
неориентированное
|
полиэфир
|
полиэфир
|
Обладает
эластичностью и устойчивостью, идеально при-годна для любых современных
проблематичных верхних тка-ней, смещенная цепочка
|
Таблица 4 - Показатели физико-механических
свойств ниток
|
Назначение
|
Наименование,
торговый номер
|
Структура,
линейная плотность, текс
|
Допустимые
отклонения от линейной плотности, %
|
Разрывная
нагрузка, сН
|
Удлинение при
разрыве, %
|
|
Стачивание
деталей кроя ткани верха
|
35 ЛЛ
|
16,7 * 2
|
+-6
|
1450,0
|
22
|
|
36 ЛХ
|
16,7 * 2
|
+-5
|
1275,0
|
19
|
|
Стачивание
деталей кроя подкладки
|
25 ЛХ
|
12,5 * 2
|
+6
|
915
|
20
|
|
27ЛШ
|
12,5*2
|
+-8
|
589
|
20
|
|
Для
прокладывания отделочных строчек
|
45ЛЛ
|
21,0*2
|
+-6
|
1725
|
22
|
|
Для обмётывания
петель, пришивания пуговиц
|
44ЛХ
|
21,5*2
|
+-5
|
1620
|
17
|
|
Для подшивания
низа изделия
|
№200/2
"AMANN" Serafil
|
5 х 4
|
+-4
|
500
|
20
|
Фурнитура - вспомогательные изделия, необходимые в швейном
производстве. Фурнитура служит для застегивания швейных изделий, прикрепления,
упрочнения деталей этих изделий, а также для удобства эксплуатации одежды. К
фурнитуре швейного производства относятся пуговицы, застежки-молнии, кнопки,
крючки, петли, пряжки и т.п.
В качестве фурнитуры используются пластмассовые пуговицы для
костюмов. Форма пуговиц круглая, поверхность гладкая, отделка матовая. Пуговицы
имеют два отверстия. Размер пуговицы для пришивания к центральной застёжке
равен 2,5 см, а к шлице рукавов 1 см.
Пуговицы для пиджаков должны быть устойчивы к органическим
растворителям, применяемым при химчистке, должны отвечать утверждённому
эталону. Не допускается отклонение диаметра пуговиц и отверстий от заданных,
иначе исключается использование швейных полуавтоматов для их пришивания.
При выборе необходимо учитывать, чтобы пуговицы были без
царапин, трещин, пятен, не иметь острых краев и заусенцев. Это особенно
относится к глазкам, так как нитки стежков, удерживающих пуговицу, могут быстро
перерезаться об острые края [10].
3.
Нормативно-техническая документация на изделие
Таблица 5 - Характеристика
нормативно-технической документации
|
Номер и
наименование документации
|
Область
применения
|
|
"Отраслевые
поэлементные нормативы времени по видам работ и оборудования при пошиве
верхней одежды"
|
Содержит
отраслевые поэлементные нормативы времени по видам работ и оборудования при
пошиве верхней одежды, предназначены для нормирования труда рабочих,
учитывает различные виды тканей, оборудование и методы обработки
|
Используется
при нормировании труда рабочих при пошиве верхней одежды, учитывая различные
виды тканей, соответствующее им оборудование и методы обработки
|
|
ГОСТ 12807-2003
"Изделия швейные. Классификация стежков, строчек и швов"
|
Содержит
классификацию, условные и графические изображения и кодовые обозначения
стежков, строчек и швов, применяемых при изготовлении швейных изделий.
|
Служит для
определения кодового обозначения стежков, строчек и швов по ГОСТу
|
|
Инструкция.
"Технические требования к соединениям деталей швейных изделий"
|
Даёт число
стежков на 1 см для различных ассортиментных групп и тканей, технические
требования к стежкам и строчкам, рекомендации по выбору швейных ниток
|
Для определения
технологических параметров швов и строчек
|
|
ГОСТ 4.45-86
"Изделия швейные бытового назначения. Номенклатура показателей"
|
Стандарт
содержит номенклатуру показателей качества швейных изделий бытового
назначения.
|
При оценке
уровня качества изделий при разработке и постановке продукции на производство,
при разработке и пересмотре технической и нормативно-технической
документации.
|
|
ГОСТ 20521-75
"Технология швейного производства. Термины и определения"
|
Содержит
термины и определения основных понятий, относящихся к технологии швейного
производства.
|
Для правильного
применения терминов в различных видах описания швейной промышленности
|
|
Номер и
наименование документации
|
Краткое
содержание
|
Область
применения
|
|
ГОСТ 25295-91
"Одежда верхняя пальтово-костюмного ассортимента. Общие технические
условия"
|
Настоящий
стандарт распространяется на мужскую, женскую и детскую верхнюю одежду
пальтово-костюмного ассортимента. Содержит допускаемые отклонения от
абсолютных величин основных измерений, величины припусков обработки изделий
|
Используется
при составлении технического описания, выборе технологии обработки и сборки
изделия
|
|
ГОСТ 22977-89
(СТ СЭВ 64-84-88)"Детали швейных изделий. Термины и определения"
|
Устанавливает
термины и определения основных деталей швейных изделий бытового назначения.
|
Во всех видах
документов и литературы, входящих в сферу работ по стандартам или
использующих результаты этих работ.
|
|
ГОСТ 2566-88
"Изделия швейные бытового назначения. Определение сортности"
|
Содержит
основные критерии сортности изделий.
|
При проверке
качества швейных изделий и определения их сортности.
|
|
ГОСТ 10581-91
"Изделия швейные. Маркировка, упаковка, транспортирование и
хранение"
|
Устанавливает
общие условия по маркировке, упаковке, транспортированию и хранению швейных
изделий.
|
При маркировке,
упаковке, транспортированию и хранению швейных изделий.
|
|
ГОСТ 4103-82
"Изделия швейные. Методы контроля качества"
|
Настоящий
стандарт распространяется на все виды швейных изделий и устанавливает методы
контроля качества готовых изделий.
|
Во время
приёмки изделий на ОТК.
|
|
ГОСТ 23948-80
"Изделия швейные. Правила приёмки"
|
Устанавливает
общие правила приёмки швейных изделий.
|
При приёмке
швейных изделий.
|
|
ГОСТ 29403-80
"Изделия швейные. Термины и определения дефектов"
|
Устанавливает
термины и определения всех встречающихся видов дефектов швейных изделий.
|
При проверке
качества швейных изделий.
|
4. Анализ и
разработка методов обработки деталей и узлов изделий
Мужские пиджаки состоят из многослойных
пакетов различных материалов, сборка которых представляет определенные
сложности в отношении обеспечения требуемой точности соединения деталей и
узлов. В связи с этим в технологии мужских пиджаков существуют различные
варианты обработок однотипных деталей и узлов, использование которых в каждом
конкретном случае определяется как моделью пиджака и материалами,
употребляемыми для его изготовления, так и наличием соответствующего
оборудования для выполнения различных операций.
Например, устойчивость формы полочек может
достигаться дублированием полочек клеевыми прокладками, представляющими собой
набор различных деталей, соединяемых в пакет; применением многозональных
прокладок, что позволяет ликвидировать дополнительные прокладки и плечевые
накладки.
Соединение нижнего воротника с верхним
производится челночной зигзагообразной строчкой; другой способ обработки
предусматривает при выполнении зигзагообразной строчки одновременное
прокладывание клеевой паутинки, которая при заутюживании воротника скрепляет
детали верхнего и нижнего воротника и придает устойчивое положение канту из
ткани верхнего воротника.
Углы воротника в одних случаях обтачивают
с последующим их вывертыванием на лицевую сторону, в других обтачивания не
производят, а боковые стороны воротника скрепляют с помощью полосок клеевого
материала.
Прокладывание клеевой кромки и паутинки можно
выполнить, применяя утюг (или утюжильный стол), но наиболее производительным
является прокладывание детали из клеевой ткани, вырезанной по форме проймы, на
полуавтомате с запрограммированной посадкой ткани, пиджака около среза проймы.
Наиболее широкое применение для соединения
деталей пиджака имеют однолинейные строчки с челночным переплетением, которыми
выполняются стачные, настрочные и накладные швы.
При выполнении различных строчек особое
внимание должно быть обращено на предотвращение посадки стачиваемых материалов.
С этой целью целесообразно применение швейных машин с дополнительными, кроме
нижней зубчатой рейки, механизмами перемещения материала.
Кроме обычной челночной линейной строчки
при пошиве пиджака применяют зигзагообразную челночную, строчку с простейшим
раппортом - 2. Такая строчка необходима для соединения верхнего воротника со
стойкой, настрачивания верхнего воротника на отлет нижнего и т.п.
Однониточные цепные стежки используются
для получения временной строчки при вымётывании воротников, лацканов, бортов и
низа пиджака. Кроме этого, однониточными цепными Стежками производится
пришивание пуговиц. Ввиду легкости распускания таких стежков нёобходимо следить
за правильностью закрепления нитки после пришивания пуговицы.
На пиджаках выполняются обметочные фигурные петли (с
глазком), состоящие из зигзагообразных двухниточных цепных стежков. Для
закрепления концов петли ставится закрепка, состоящая из таких же стежков или
из челночных зигзагообразных.
Для увеличения производительности труда и
повышения качества соединительных операций кроме одноигольных стачивающих
швейных машин имеются и специализированные машины, предназначенные для
выполнения конкретных операций, например для втачивания рукавов в проймы, для
выполнения отделочных строчек, для настрачивания подзора и стачивания подкладки
кармана, для окантовывания срезов деталей и др.
Применение двухигольных швейных машин,
выполняющих челночную или двухниточную цепную строчку, позволяет увеличить
производительность за счет применения параллельно-последовательного метода
обработки на следующих операциях: стачивание деталей нижнего воротника,
окантовывание срезов деталей и т.д.
Значительную группу составляют швейные
машины-полуавтоматы. Наряду с традиционными полуавтоматами для изготовления
закрепок, петель и пришивания пуговиц при изготовлении пиджаков целесообразно
применение ряда других машин полуавтоматического действия, позволяющих
выполнять следующие операции: обтачивать клапаны карманов, стачивать срезы
деталей нижнего воротника, подбортов; стачивать вытачки на полочках пиджака с
одновременным их разрезанием; притачивать отрезные боковые части к полочкам;
стачивать углы шлиц на верхних и нижних частях рукавов; стачивать средние срезы
спинки с одновременной обработкой шлицы; настрачивать обтачку клапана с
одновременным разрезанием входа в карман и надсеканием углов и др.
Важной частью технологического процесса
изготовления мужских пиджаков является влажно-тепловая обработка деталей, узлов
и готового изделия. Применение различных клеевых прокладок и других клеевых
материалов значительно расширило область влажно-тепловой обработки и привело к
созданию специальных прессов, предназначенных для дублирования деталей пиджака
клеевыми материалами.
Прессы (с различными видами подушек),
применяемые для влажно-тепловой обработки деталей и узлов пиджака,
преимущественно являются специальными, т.е. предназначаются для выполнения
определенных операций: формования спинки пиджака в области лопаток; формования
бортовой прокладки; разутюживания передних и локтевых швов рукавов;
разутюживания стачных швов и т.д.
Окончательная влажно-тепловая обработка,
осуществляемая на специальных прессах, включает выполнение операций:
приутюживание окатов рукавов, проймы и верхней части рукавов; приутюживание
воротника и верхнего плечевого пояса; приутюживание бортов и т.д.
Наибольшее применение при изготовлении мужских пиджаков имеют
приспособления, обеспечивающие расположение срезов деталей параллельно
прокладываемым строчкам, например лапка с выдвижной направляющей линейкой,
лапка с пружинным бортиком и др.
Технологический процесс обработки деталей и сборки узлов
мужских пиджаков состоит из большого количества разнообразных операций,
большинство из которых выполняются на швейных машинах.
4.1 Начальная
обработка
В начальной обработке основных деталей можно выделить
следующие этапы: дублирование деталей, обработка вытачки и рельефного шва на
переде, обработка мелких деталей.
Для улучшения внешнего вида изделия и увеличения срока носки
применяется фронтальное дублирование детали переда по всей поверхности, клеевая
прокладка должна входить в швы стачивания, обтачивания, втачивания на 2-3 мм.
Эту операцию проделывают до стачивания вытачек и притачивания бочка. Места
расположения карманов и линии перегиба лацкана наносят после дублирования.
Плечевую накладку наклеивают на дополнительный слой бортовой прокладки,
выкроенной из полульняной бортовой ткани. Дополнительный слой бортовой
подкладки соединяют по срезам пройм, горловины и плечевым срезам на стачивающей
машине на расстоянии 0,5 см от срезов. Предварительно к внешнему срезу
дополнительного слоя притачивают клеевую кромку шириной 2,0-2,5 см. С помощью
этой кромки прокладку приклеивают параллельно линии перегиба лацкана, отступив
от нее 0,5-1,0 см. Лацкан дублируют прокладкой лацкана.
Для сохранения формы и придания большей упругости дублируют
детали: полочка, бочок, верхнюю часть подборта, верхний воротник, стойка
верхнего воротника, клапан, листочку, обтачку бокового кармана, обтачку
внутреннего кармана - клеевая прокладка должна входить в шов на 2-3 мм.
Для предохранения от растяжения срезов деталей по пройме,
горловине, а также по припуску на подгиб низа спинки и рукава прокладывают
полоску клеевого материала, вырезанную по форме срезов. Прокладка должна
входить в швы соединения деталей. Клеевую прокладку в шлицу располагают на 10
мм за линию перегиба. Для сохранения формы и придания большей упругости клеевую
прокладку располагают в низ рукавов, располагая со стороны припуска на подгиб
низа по ширине припуска. К операциям начальной обработки относится операция
соединения рельефов полочек и спинки, стачивание срезов рукавов которые выполняются
соединительным стачным швом в вразутюжку. Формование деталей полочки и спинки
необходимо для получения выпуклой формы в области лопаток и груди, что
достигается при прессовании с применением сферических подушек.
4.2 Обработка
шлицы
Шлица является декоративным элементом изделия и в то же время
выполняет утилитарные функции, обеспечивая свободу движения и сохранение формы
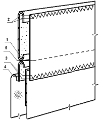
изделия в процессе носки. Шлица располагается в среднем шве спинки. На рисунках
4-5 представлены сборочные схемы обработки шлицы модели 1.
Рисунок 4 - Методы обработки шлиц в среднем шве спинки
а
б
в
Рисунок 5 - Методы обработки шлиц в среднем шве спинки
Проанализировав методы обработки шлиц в среднем шве спинки,
для изготовления модели 1 выбран наиболее рациональный: рисунок 5 б.
4.3 Обработка
карманов
Карманы в изделии имеют функциональное и декоративное
значение. Их внешний вид, размеры, число и места расположения разнообразны.
Применение карманов различных видов позволяет разнообразить модели одежды. По
технологической обработке различают карманы: накладные, в швах, прорезные.
Для разработанных моделей мужских пиджаков предложены
накладные карманы, прорезные с клапаном и двумя обтачками, прорезные с двумя
обтачками. Способы обработки этих карманов зависят от вида материала и
применяемого оборудования.
Прорезной карман с клапаном. В таком кармане нижний срез
прореза основной детали обрабатывают обтачкой. Верхний срез прореза обтачивают
или только клапаном, или верхней обтачкой и клапаном. Клапан, длина которого
должна равняться длине входа в карман, изготовляют заранее. Разметку этого
кармана производят на лицевой стороне основной детали так же, как кармана с
двумя обтачками.
Накладные карманы обрабатываются различными способами в
зависимости от их формы, ширины шва настрачивания кармана на основную деталь,
свойств материалов. Обработка включает в себя отделку верхнего края,
являющегося входом в карман, обработку боковых и нижнего срезов, соединение
кармана с изделием. В пиджаках накладные карманы, как правило на подкладке. По
припуску на обработку верхнего края кармана может быть проложена клеевая или не
клеевая кромка. Верхний край кармана может быть прямым или фигурным. Прямой
верхний край может быть цельнокроеным с основной деталью или с отрезной
обтачкой. Фигурный срез кармана обрабатывается только обтачкой или косой
бейкой. В зависимости от модельных особенностей отрезные обтачки могут
размещаться на изнанке и или на лицевой стороне детали [6].
Прорезные карманы с листочкой располагаются на деталях переда
в различных направлениях: горизонтальном, вертикальном и наклонном. По форме
листочки бывают прямоугольными и фигурными. Они могут быть с подкладкой из
основной или подкладочной ткани. При соединении с передом боковые концы могут
быть закреплены по-разному: втачаны или настрочены.
Верхний прорезной карман модели №1 с настрочными концами.
Карманы в изделии должны иметь ровные края, строчки, канты;
прочные углы; устойчивый к растяжению вход; недеформирующиеся клапаны,
листочки, обтачки. Парные карманы должны располагаться на изделии симметрично.
На рисунках 6-7 представлены методы обработки накладных
карманов полочек модели №1.
а
б
Рисунок 6 - Методы обработки боковых накладных карманов на
полочках
Рисунок 7 - Метод обработки боковых накладных карманов на
полочках
На рисунках 8-9 представлены методы обработки верхних
прорезных карманов с настрочной листочкой карманов полочек модели №1.
Рисунок 8 - Метод обработки верхнего прорезного кармана с
настрочной листочкой на полочках
Рисунок 9 - Метод обработки верхнего прорезного кармана с
настрочной листочкой на полочках
Анализируя методы обработки боковых накладных карманов, для
обработки модели№1 выбран метод рисунка 6б.
Анализируя методы обработки верхних прорезных карманов с
настрочной листочкой, для обработки модели№1 выбран метод рисунка 8.
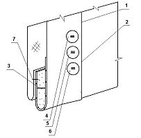
На рисунке 10 изображен метод обработки внутреннего кармана
на полочках подкладки мужского пиджака модели№1
Рисунок 10 - Метод обработки внутреннего кармана на полочках
подкладки мужского пиджака модели№1
4.4 Обработка
застежки
Застежка имеет функциональное назначение. Она позволяет свободно
надевать и снимать одежду. Часто застежке придают вид отделочной детали.
Обработка края борта - это одна из наиболее ответственных
операций, от точности, выполнения которой зависит внешний вид одежды:
симметричность и идентичность формы левого и правого борта по их форме и
рисунку ткани, правильное положения лацкана и борта в готовом виде. Отделочную
строчку по краю борта выполняют после соединения воротника с горловиной изделия
одновременно по воротнику и бортам.
В моделях мужских пиджаков разработанной коллекции применен
один вид застежки - с помощью петель и пуговиц.
На рисунке 11 представлены методы обработки застежки мужских
пиджаков разработанной коллекции моделей.
а
б
в
Рисунок 11 - Методы обработки застежки мужских пиджаков
Анализируя методы обработки застежки мужских пиджаков, для
обработки модели№1 выбран метод рисунка 11б.
4.5 Обработка
воротника и соединение его с горловиной изделия
Особенностью обработки воротников мужских пиджаков является
форма припусков концов верхнего воротника; по отлету верхний воротник соединяют
швом вподгибку; концы воротников - обтачным швом.
Нижний воротник выкроен из специального нетканого войлокообразного
материала (фильца) в цвет ткани верха пиджака (деталь цельная) она хорошо
формуются, что дает возможность при незначительных затратах времени на ВТО
придать воротнику форму, обеспечивающую хорошую посадку на фигуре. По отлету и
концам воротник выкраивают без припусков на обработку. Соединение стойки с
верхним воротником - на стачивающей машине расстрочным швом шириной 0,7-0,8 см.
При соединении верхнего и нижнего воротников, срезы верхнего воротника
настрачивают на нижний воротник по срезу отлета на машине зигзагообразной
строчки. Концы нижнего вороника обтачиваются верхним воротником. Воротник
соединяется с изделием накладным швом.
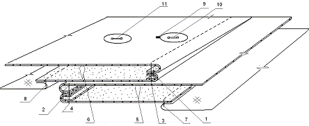
На рисунке 12, представлена сборочная схема обработки
воротника и соединение его с изделием.
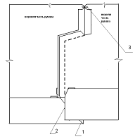
Рисунок 12 - Обработка воротника и соединение его сгорловиной
изделия модели№1
4.6 Обработка
низа рукава и соединение его с изделием
Рукава верхней одежды очень разнообразны по конструкции и
отделке. В данном изделии втачные двухшовные рукава.
Обработка таких рукавов включает в себя операции по
соединению срезов деталей (верхней и нижней части), обработка шлицы и низа,
втачивание рукава в закрытую пройму (после притачивания подкладки пиджака). При
обработке локтевых швов одновременно обрабатывается открытая шлица на машине
"Дюркопп-Адлер" (Германия) 749-5-24 кл.
Красивый внешний вид изделия, удобство при носке, свобода
движений рук в значительной степени зависит от правильности соединения рукавов
с проймами изделия. Операция втачивания рукава в пройму относится к ряду
наиболее ответственных операций, от которых зависит качество изделия и его
внешний вид. Основным требованием при выполнении этой операции является
правильное расположение посадки по окату рукава, совмещением контрольных
надсечек. Для втачивания рукавов используется спецмашина
"Дюркопп-Адлер" (Германия) 541-15103 кл.
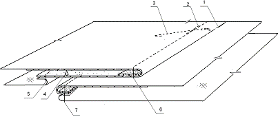
На рисунке 13 представлена сборочная схема обработки открытой
шлицы рукава.

а б
Рисунок 13 - Обработка открытой шлицы рукава модели№1
4.7 Обработка
низа изделия, подкладки и соединие ее с изделием
Отличительной особенностью соединения подкладки с изделием в
мужском пиджаке является последовательность обработки изделия. Подкладку
соединяют с изделием до соединения его плечевых срезов. Притачивают подкладку
по внутренним срезам подбортов и по низу изделия, обрабатывают плечевые швы
изделия, втачивают воротник и рукава, затем соединяют подкладку по плечевым
срезам, втачивают рукава подкладки, соединяют с воротником.
Плечевые накладки применяют для придания необходимой формы
плечевому участку изделия и сохранению ее в процессе носки. Плечевые накладки
прикрепляют к шву втачивания рукава на специальной машине. При этом плечевую
накладку располагают со стороны переда и спинки, середину плечевой накладки
совмещают с плечевым швом, а срезы - со срезами проймы изделия. Строчка,
прикрепляющая плечевую накладку, проходит на расстоянии 1-2 мм от строчки
втачивания рукава в пройму.
Обработка подкладки состоит из обработки кармана, стачивания
среднего среза спинки; боковых срезов переда и спинки; стачивание частей
подкладки рукава; втачивание подкладки рукава в пройму подкладки изделия.
Завершающие операции по изготовлению пиджака это обметывания
петель, пришивание пуговиц, чистка и окончательное ВТО готового изделия.
5. Выбор
оборудования, приспособлений и режимов обработки
При разработке технологических процессов для производства
изделий, для каждой операции устанавливают технологические параметры и режимы
обработки в соответствии с видом, моделью, конструкцией изделия и применяемыми
материалами.
Основной задачей выбора режимов обработки изделия, является
обеспечение высокого качества обработки основных узлов и деталей одежды при
максимальной экономичности и максимальной степени использования оборудования,
что и является показателем эффективности технологических процессов.
От выбора технологических режимов обработки деталей и узлов,
выбора оборудования и приспособлений напрямую зависит производительность труда,
улучшение качества и себестоимость изделий.
.1 Выбор
режимов клеевых соединений
Разные материалы различно реагируют на процессы ВТО, что
зависит от волокнистого состава материала, от степени крутки и переплетения
нити ткани, толщины обрабатываемого пакета. Поэтому для получения желаемого
результата необходимо уметь подбирать оборудование (таблица 6) и режимы ВТО:
температура, влажность, давление и время выдержки (таблица 7)
Таблица 6 - Параметры образования клеевых соединений деталей
изделия
|
Наименование и
артикул клеевого материала
|
Параметры
процесса
|
|
Температура
подушки пресса, С
|
Удельное
давление, МПа
|
Время выдержки,
с
|
Увлажнение, %
|
|
Клеевой
прокладочный материал с двойным точечным покрытием, Арт.7200/193
|
120-130
|
0,03-0,04
|
10 - 15
|
25
|
|
Клеевой
прокладочный материал с двойным точечным покрытием, Куфнер R6611G53
|
140-150
|
0,04-0,05
|
15-20
|
30
|
|
Клеевая
кромочная ткань с полиамидным клеевым покрытием, Политейл 856512 ZMU
|
130-140
|
0,03-0,04
|
15-20
|
30
|
|
Наименование и
артикул клеевого материала
|
Параметры
процесса
|
|
Температура
подушки пресса, С
|
Удельное
давление, МПа
|
Время выдержки,
с
|
Увлажнение, %
|
|
Клеевой
прокладочный материал с двойным тотчечным покрытием, Арт.3157/181
|
120-130
|
0,03-0,04
|
10 - 15
|
25
|
|
Клеевой
прокладочный материал с полиамидным покрытием, Куфнер В471N57
|
140-150
|
0,04-0,05
|
15-20
|
30
|
5.2 Выбор
оборудования для выполнения клеевых соединений
Повышению качества швейных изделий способствует широкое
внедрение в промышленность оборудования для дублирования деталей клеевыми
прокладочными материалами.
Прессовое оборудование используют для дублирования крупных
деталей частично или по всей поверхности клеевыми пастами или клеевыми
прокладочными материалами в целях придания изделиям устойчивой формы, а также
для соединения с прокладками небольших деталей.
Для дублирования крупных и мелких деталей кроя клеевыми
прокладками предлагается использовать пресс непрерывного действия фирмы
"Каннегиссер" YH-1400 (Германия). Характеристика пресса для
дублирования представлена в таблице 7.
Таблица 7 - Технологическая характеристика оборудования для
дублирования деталей
|
Наименование
оборудования, фирма производитель
|
Марка (тип)
|
Производительность,
циклов/ч
|
Тип привода
|
Тип нагрева
подушки
|
Температура
нагрева подушки
|
Длительность
автоматического цикла, с
|
Габариты, мм
|
|
|
|
|
|
|
|
|
|
|
|
|
нижней
|
верхней
|
нижней
|
верхней
|
|
длина
|
ширина
|
высота
|
|
Пресс для
дублирования деталей (мелких, крупных)
|
АНV-1690-7, ф.
"Майер"
|
75
|
Гидравлический
|
ппаровой
|
электрический
|
105-100
|
50-300
|
30
|
6100
|
1800
|
2900
|
|
Пресс для
дублирования деталей верхней одежды
|
CS-371 КМН - I
+ 12 - 36А + 956, ф. "Паннония"
|
50
|
Пневматический
|
паровой
|
электрический
|
105-110
|
140-160
|
60
|
4390
|
1700
|
2700
|
5.3
Топография расположения клеевых прокладочных материалов












- Основная часть бортовой прокладки
- Нагрудная часть бортовой прокладки
- Клеевая прокладка подборта
- Клеевая прокладка проймы бочка
- Клеевая прокладка верхнего воротника
- Клеевая прокладка оката верхней части рукава
- Клеевая прокладка листочки верхнего кармана
- Клеевая прокладка стоек воротника
- Клеевая прокладка накладного кармана
- Клеевая прокладка припуска на подгиб бочка
- Клеевая прокладка полочки
- Клеевая прокладка припуска на подгиб верхней части рукава
- Клеевая прокладка припуска на подгиб средней части спинки и
шлицы
- Клеевая прокладка припуска на подгиб нижней части рукава
- Клеевая прокладка по плечевому срезу и пройме средней части
спинки
5.4 Выбор
режимов ниточных соединений
Для данного вида изделия был выбран ниточный способ
соединения деталей.
Ниточные соединения являются классическими и занимают
наибольший удельный вес не только в швейной, но и других отраслях легкой промышленности
(трикотажной, обувной, кожгалантерейной и т.д.), где применяют аналогичные
способы при изготовлении изделий
При выборе ниточных соединений необходимо учитывать внешний
вид узла и свойства применяемых материалов. Использование швов той или иной конструкции
оказывает влияние на технологическую оснащенность процесса изготовления одежды.
При проектировании и создании швейных машин и приспособлений учитывается
необходимость соблюдения заданных параметров швов, устанавливаемых
конструкторами одежды с целью достижения его современного вида и технологами,
выбирающими такие методы изготовления швов, которые обеспечивают высокую
производительность и качество при выполнении ниточных соединений, а также
надежность их при эксплуатации одежды.
В соответствии с необходимыми требованиями, видами
материалов, конструктивными особенностями были выбраны следующие виды швов для
изготовления мужского пиджака модели 1, которые представлены в таблице 8.
Таблица 8 - Режимы ниточных соединений
|
№ соединения
|
Наименование
соединения
|
Характеристика
соединения
|
Тип и номер
иглы
|
Тип и номер
ниток
|
Схема
соединения
|
Код соединения
|
|
|
шва
|
строчек
|
|
|
|
|
|
|
Название
|
Параметры
|
Название
|
Параметры
|
|
|
|
|
|
1
|
Плечевой шов,
средний шов спинки, боковой, локтевой, передний, втачивание стойки в горловину
на участке спинки
|
Стачной
вразутюжку
|
Ш=10 мм
|
Стачивающая
строчка 2-х ниточного челночного стежка
|
4ст/см
|
№90-100
|
35ЛЛ, 36ЛЛ
|
|
1.01.01/301
|
|
2
|
Стачивание
деталей подкладки
|
Стачной в
заутюженном виде с обметанным срезом
|
Ш=10 мм
|
Стачивающая
строчка 2-х ниточного челночного стежка; Обметочная строчка 3-х ниточного
цепного стежка
|
3-4ст/см
|
№70-80
|
25ЛХ, 27ЛШ
|
1.01.02/301.505
|
|
|
3
|
Обработка края
борта
|
Краевой обтачной
"в кант"
|
Ш1=2 мм Ш2=5 мм
|
Стачивающая
строчка 2-х ниточного челночного стежка
|
4ст/см
|
№90-100
|
35ЛЛ, 36ЛЛ
|
|
1.09.01/301.301
|
|
4
|
Застрачивание
отверстия в переднем шве подкладки
|
Накладной с
двумя закрытыми срезами
|
Ш1=2 мм
|
Стачивающая
строчка 2-х ниточного челночного стежка
|
3-4ст/см
|
№70-80
|
25ЛХ, 27ЛШ
|
|
1.06.01/301
|
|
5
|
Обработка низа
|
Вподгибку с
открытым срезом
|
ш =4,0 см
|
Подшивочная
цепного однониточного стежка
|
m=0,5ст/см
|
70
|
№200/2
AMANN Serafil
|
6.02.02/105
|
|
5.5 Выбор
оборудования для выполнения ниточных соединений
При выборе оборудования следует использовать
высокопроизводительное оборудование и полуавтоматы, оснащенные
микропроцессорными системами управления для выполнения основных технологических
операций, агрегатированные рабочие места, разработанные на основе
автоматизированных швейных машин, технологической и организационной оснастки,
комплекты оборудования для ВТО, обеспечивающие обработку изделий в
автоматическом цикле. Для изготовления мужского пиджака используется
оборудование фирмы "Пфафф" Германия.
Для машин этой фирмы характерно:
современный эргономический дизайн в плане уменьшения шума и
повышения удобства в работе;
особая форма рукава машины в области иглы, обеспечивает
свободный обзор рабочей зоны;
легкий запуск всех элементов в работу;
компактность благодаря встроенному сервомотору позволяет
выполнять обрезку ниток, автоматический подъем прижимной лапки, закрепку;
оснащены специальными приспособлениями для протягивания
верхней нитки на изнаночную сторону, для контроля натяжения шва, для слежения
за краем детали [14]
Технологическая характеристика выбранного оборудования
представлена в таблице 9
Таблица 9 - Технологическая характеристика швейных машин
|
Наименование
оборудования, фирма-производитель
|
Тип и класс
машины
|
Код стежка по
ГОСТ 12807-2003
|
Макс. Частота
вращения главного вала, мин - 1
|
Длина стежка,
мм
|
Толщина
сшиваемых материалов, до, мм
|
Дополни тельные
данные
|
|
Универсальные машины
|
|
Одноигольная
стачивающая машина "Пфафф" (Германия)
|
3827-2/34
|
301
|
5000
|
До 4
|
До 4
|
Плавающая
лапка. Ограничительная линейка
|
|
Одноигольная
стачивающая машина "Пфафф" (Германия)
|
1427
|
301
|
5000
|
До 4
|
До 5
|
Верхняя и
нижняя зубчатая рейка
|
|
Машины
специального назначения
|
|
Одноигольная
машина зигзагообразного стежка для настрачивания нижнего воротника на верхний
"Пфафф" (Германия)
|
114-6/01 BSх9,0
|
304
|
3800
|
До 5
|
До 4
|
Нижнее реечное
передвижение материала
|
|
Одноигольная
машина для обтачивания и ступенчатой обрезки бортов "Пфафф"
(Германия)
|
3822-1/44
|
301
|
4200
|
2,5
|
До 6
|
Расстояние от
иглы до ножа 6,5 мм и 3,5 мм. Нож для ступенчатой обрезки срезов
|
|
Одноигольная
машина для притачивания подкладки кармана и застрачивания прорези кармана
сметочным стежком "Пфафф" (Германия)
|
1181-8/11-900/24
|
401.101
|
5000
|
До 6
|
До 5
|
Автом. подъем
лапки. Автомат. обрезка ниток.
|
|
Одноигольная
машина для втачивания рукавов "Дюркопп-Адлер" (Германия)
|
541-15103
|
301
|
2000
|
До 6
|
До 5
|
Специальная
линейка, распред. посадкиавтом. регулировка автом. привод.
|
|
Одноигольная
машина для прикрепления плечевых накладок "Дюркопп-Адлер"
(Германия)
|
697
|
301
|
До 7
|
18
|
Автом. подъем
лапки. Автомат. обрезка ниток
|
|
Машины
полуавтоматического действия
|
|
Для обработки
верхнего прорез ного кармана с листочкой "Дюркопп-Адлер" (Германия)
|
745-7-21/Е116
|
301.301
|
3500
|
2,5
|
До 5
|
Расстояние
между иглами 10мм. Мах длина кармана 125мм.
|
|
Для обработки
прорезного кармана на подкладке пиджака "Дюркопп-Адлер" (Германия)
|
745-5-21/Е20
|
301.301
|
4000
|
До 2,5
|
До 6
|
Расстояние
между иглами 10мм. Мах длина кармана 180мм.
|
|
Для обметывания
петель рукава
|
MBH-180
|
404
|
2700
|
-
|
-
|
Микропроцессорное
устройство
|
|
Для
настрачивания фирменного знака на подкладку пиджака "Пфафф"
(Германия)
|
563-34/01ASN3,5
|
301
|
3000
|
До 5
|
До 4
|
Автом. обрез
нитки
|
|
Для настрачивания
листочки на перед "Пфафф" (Германия)
|
3338
|
304
|
4000
|
8
|
До 5
|
Мах длинна
закрепки 40мм. Плотность стежков 0,2-1,5 мм.
|
|
Для обметывания
петель по краю борта "Дюркопп-Адлер" (Германия)
|
31391-307
|
304
|
2000
|
-
|
-
|
Автом. подъем
лапки. Останов иглы в верхнем полож.
|
|
Для пришивания
пуговицы и обвивки ножки "Дюркопп-Адлер" (Германия)
|
569-113136
|
101
|
1000
|
До 4
|
До 6
|
Автом. подъем
лапки. Подача пуговиц. D=15-60 mm
|
|
Для пришивания
пуговиц на шлицы рукава "Некки" Италия
|
JAN
1441
|
101
|
1200
|
До 3,5
|
4
|
Автом. подъем
лапки. Автом. подача пуговиц. d=до 15mm
|
5.6 Выбор
режимов ВТО
Выбор режимов влажно-тепловой обработки изделия зависит от
волокнистого состава, степени крутки и переплетения нитей тканей, толщины,
цвета и вида поверхности, обрабатываемого материала. Поэтому для предания и
закрепления формы деталей, сохранения нужных физико-механических свойств
материала, необходимо уметь подбирать режимы обработки в каждом конкретном
случае и строго их соблюдать. Под режимами влажно - тепловой обработки
понимается диапазон значений основных факторов (температура, влажность,
продолжительность воздействия и давление) и их взаимосвязь, обеспечивающая
качество и производительность работ.
Продолжительность контакта гладильной поверхности с
полуфабрикатом устанавливают в зависимости от физико-механических свойств
обрабатываемого материала, толщины пакета, а также от выбранных режимов
влажно-тепловой обработки. Установлено, что основная часть деформации (70-80°
%) происходит во время прогрева в течение 1-2 секунд, поэтому необходимо
регулировать температуру нагрева (самостоятельно) по визуальной оценке качества
глажения.
Давление прессования зависит то физико-механических свойств
материала, вида выполняемой операции и составляет в среднем 20-100 кПа. При
прессовании бортов, лацканов, низа изделия следует выбирать наибольшее время
выдержки и близкие к пределам значения температуры и давления. Операции
отпаривания изделий выполняют при минимальном давлении и времени обработки
изделия.
После окончательной влажно-тепловой обработки и отпаривания,
изделие должно быть просушено и охлаждено в подвешенном виде до полного
закрепления приданной ему формы.
Таким образом, для обеспечения высокого качества
влажно-тепловой обработки необходимо правильно выбирать и точно соблюдать
установленные технологические режимы влажно-тепловой обработки.
Характеристика режимов операций внутрипроцессной и
окончательной ВТО представлена в таблице 10.
Таблица 10 - Характеристика режимов операций влажно-тепловой
обработки мужского пиджака
|
Виды операций
ВТО и наименование мате- риала
|
Технологические
параметры выполнения
|
Обору- дование
|
|
Температура С°
|
Усиление
Пресса, кПа (масса утюга, кг)
|
Время об-
работки, с
|
Увлажнение К
массе ма- териала,%
|
|
|
Утюг
|
Пресс
|
Утюг
|
Пресс
|
Утюг
|
Прес
|
Утюг
|
Пресс
|
|
|
Приутюживание
листочки материала верха
|
150
|
-
|
3
|
|
16
|
-
|
20-30
|
-
|
Cs-394 KE+392 ВТП "Паннония"
|
|
Приутюживание
подкладки
|
130-150
|
-
|
3
|
-
|
10-20
|
-
|
30
|
-
|
Cs-394 KE+392 ВТП "Паннония"
|
|
Приутюживание
воротника и верхнего плечевого пояса
|
-
|
140
|
-
|
0,02
|
-
|
15
|
-
|
40-60
|
BPS-800+PS-800+PS-20
|
5.7 Выбор
оборудования для ВТО
Оборудование для производства одежды разнообразно по
назначению, номенклатуре принципам действия, техническому уровню и многообразию
фирм изготовителей.
Для влажно-тепловой обработки используется пресса и
утюжильное оборудование фирмы "Паннония" (Венгрия) и пресс фирмы
"Протомет" (Польша). Для окончательной ВТО пиджака используется
паровоздушный манекен MULTIFORM 8380 Viet (Германия). Чувствительный Stretch-Control и подвижные боковые
натяжители обеспечивают бережную обработку самых сложных изделий, исключают
возможность перекоса низа изделия. Микропроцессное управление дает возможность
точного задания времени воздействия, количества пара и воздуха. Отдельно
устанавливаются такие параметры как продольное и радиальное, количество сжатого
воздуха и пара, а также другие параметры. Более 24 свободно программируемых
программ работы. Бюст с настраиваемыми параметрами без зазора. Также
чувствительные материалы не растягиваются и на них не остается пропечатков.
Изделие обрабатывается изнутри, это предотвращает появление
пропечатков и глянца. Изделие обрабатывается на формовочном бюсте, что придаёт
изделию правильную форму. Обработка изделий происходит автоматически, что ведёт
к постоянному качеству обработки.
Multiform VEIT 8380
Напряжение200-240 V / 50-60 Hz
Сила тока/ Мощность10 A / 1.1 kW
Давление воздуха6 бар
Расход сжатого воздуха80 л/мин
Подключение пара1/2-3/4" дюйма
Рабочее давление5-6 бар
Расход пара (мин.) 50 кг/ч
Расход пара (макс.) 70 кг/ч
Конденсат45%
Подключение конденсата1/2" дюйма
Масса215 кг
Размеры (H x B x L) 700 x 900 x 900 мм
Для влажно-тепловой обработки изделия применяется
высокопроизводительное оборудование, характеристика оборудования для ВТО
представлено в таблице 11.
Таблица 11 - Технологическая характеристика утюжильного
оборудования
|
Назначение
оборудования
|
Марка, тип,
фирма изготовитель
|
Масса утюга, кг
|
Размеры
оборудования, мм
|
Способ обогрева
|
Температура
нагрева, С°
|
Дополнительные
данные
|
|
Гладильные
столы
|
|
Внутрипроцессное
ВТО
|
Cs-394КЕ
|
50
|
1125х710х650
|
Паровой
|
105-110
|
Расход пара 6
кг/ч
|
|
Утюги
|
|
Внутрипроцессное
ВТО
|
Cs-392
|
3
|
245х64х160
|
Электропаравой
|
150
|
Расход пара 3
кг/ч
|
|
Паровоздушный
манекен
|
|
Окончательное
ВТО
|
Viet
8380
|
215
|
700х900х 900
|
Паровой
|
-
|
Расход пара
50-70 кг/ч
|
Следует отметить, что оборудование для тепловой обработки
является тем элементом швейного производства, который не вызывает
количественных изменений в обрабатываемых изделиях, но с помощью которого
удается придавать одежде готовый товарный вид и ставить окончательную точку в
технологическом процессе.
6.
Нормирование времени технологически неделимых операций
Норму времени на изготовление той или иной операции
определяют по отраслевым нормативам времени или по другой справочной литературе
(может использоваться типовая техническая документация по технологии
изготовления, организации производства и труда, разработанная ЦНИИШП). Но часто
норму времени на выполнение операции устанавливают с помощью хронометража,
выполняемого нормировщиком [1].
Необходимость нормирования труда определяется потребностью в
постоянном снижении издержек производства и повышении на этой основе
прибыльности и конкурентоспособности предприятия.
Именно трудовые затраты напрямую определяют эффективность
производства, измеряемую отношением результатов к затратам, от них также
зависит величина заработной платы и уровень жизни работников. Степень этого
влияния определяется главным образом качеством норм труда: чем меньше затраты
на единицу продукции, тем выше результаты, так как сокращение трудовых затрат
(трудоемкости продукции) является одним из главных факторов снижения
себестоимости продукции. Поэтому конкуренция, вынуждающая производителей
снижать цены, порождает заинтересованность в сокращении трудоемкости продукции.
Независимо от вида операции норма времени на нее может быть
определена по формуле:
НВР = tОП × [1 + (аПЗО +
аОТЛ) /100], (1)
где НВР - норма времени на операцию, с.;
tОП - оперативное время, с.;
аПЗО - процент времени на
подготовительно-заключительные работы;
аОТЛ - процент времени на отдых и личные
надобности.
Определить норму времени на выполнение машинной
операции
"Настрочить накладной карман на
полочку"
Условия выполнения операции: несъемный процесс,
агрегатно-групповая форма организации потока. Машина 3827-2/34 кл.
"Пфафф". Частота вращения главного вала на холостом ходу 5000
оборотов в минуту. Длина одной строчки по отлету с закрепками 1с. з = 38 см.
Длина строчки без закрепок будет равна соответственно l б. з =37,5 см; l б. з =7,5 см.
Конфигурация строчек - крывые линии. Количество стежков в 1
см строчки - 3. Наименование вида ткани - ткань костюмная полушерстяная. Число
сложений ткани - 2.
Оперативное время на пошивочные работы, выполняемые на
универсальных и специальных машинах определяют по формуле
= tмp + tпep+ tкач
В таблице 8 [16] необходимо найти данную операцию, определяя
коэффициент использования частоты вращения, длину строчки без перехвата и
затрату времени на перехват.
Строчка в данной операции имеет вид прямой линии. Исходя из
общей длины шва (33 см) по таблице 8 [16] определяем длину строчки без
перехватов, равную 15 см. Найдем количество перехватов по формуле
Кпер = L/lб. п - 1 (2)
где L-общая длина участка, см; lб. п - длина строчки без
перехвата (табл.8 [6]).
Кпер = 38/15 - 1= 1,5
Значит перехват будет 1, а участков без перехватов 2. Значения
этих участков распределяются 16,5 и 16,5.
По таблице 8 [16] определяем коэффициент использования
частоты вращения главного вала машины на холостом ходу на всем участке, т. е
0,38.
Из табл.9 [16] находим рабочую частоту вращения главного вала
на холостом ходу. При 5000 мин-1, частота вращения главного вала машины на
рабочем ходу равна 1900 мин-1. По подаче материала под иглой, равной частному
от деления частоты вращения машины на рабочем ходу, на количество стежков в 1
см строчки т.е. 1900/3=633 см/мин; и длине строчки без перехвата (16,5см х2)
находим по таблице 10а [16] значение машинно-ручного времени для одного
участка;
t1 = 16,5 х 2, при длине 15см (подача 650 см/мин);
tзакрепки = 0,65 см (на закрепку в начале и конце строчки).
tм. р =t1 + tзакр. = (1,76 * 2) + 0,65=4,17 с. (3)
Время определено при условии выполнения строчки с частотой 3
стежка в 1 см.
Основное машинно-ручное время на данную операцию составляет
tм. р = 4,17х 2=8,34 с.
Для определения времени на вспомогательные приемы необходимо
по таблице 16 [16] определить к какой группе деталей относятся обрабатываемые
детали по своему размеру. В данном случае по размеру детали полочек относятся к
группе: средняя площадь деталей до 5000см².
Далее составляется последовательность выполнения операций по
приемам работы. Норматив времени на вспомогательные приемы берем из таблицы 12
[16].
Таблица 12 - Нормативы времени по приемам вспомогательной
работы
|
Номер приема
|
Содержание
приема
|
Норматив
времени на прием вспомогательной работы, с
|
|
31а
|
Взять изделие,
довести до места работы
|
3,0
|
|
156
|
Расправить
изделие, определяя место работы
|
3,0
|
|
133 б
|
Подложить под
лапку край детали с точной установкой под иглой
|
0,9
|
|
-
|
Настрочить
карман на полочку
|
-
|
|
122
|
Переместить
изделие в пределах одной детали на расстоянии 10 см
|
1,5×2
=3,00
|
|
71 а
|
Вынуть край
детали из-под лапки
|
1,2
|
|
107а
|
Отложить две
детали, предварительно складывая
|
1,5
|
|
Итого:
|
12,60
|
Норматив времени на проверку качества операции для четырех
закрепок (1 сложность =0.5 с.):
tКАЧ= 0,5×2= 1,00 с.
Оперативное время на выполнение операции рассчитываем по
формуле:
tОП=8,34+1,50+12,6+1,00=23,44 с.
Норма времени на выполнение данной операции составит:
НВР=23,2× (1+ (6,55+5,85) /100)
=26,1 с.
Значения процентов аПЗО и аОТЛ взять из
таблицы 27 [16] и равны 6,55 % и 5,85 % соответственно.
Определение нормы времени на выполнение машинной
операции
"Обметать петли на полочке"
Мощность: n= 2000 об/мин.
Длина петли 3,2 см.
Периметр петли 3,2×2=6,4 см
Количество стежков в сантиметре 11.
Коэффициент использования скорости к=0,95
Количество стежков в периметре всей петли: 11×6,4=70,4 стежка
Tм= (60×70,4) / (2000×0,95) +0,3= 2,5 сек.
На обметку 2-х петель: 2,5×2= 5,0 сек.
Таблица 13 - Время по приемам вспомогательной работы
|
Номер приема
|
Содержание
приема
|
Норматив
времени на прием вспомогательной работы, с
|
|
1
|
2
|
3
|
|
31а
|
Взять изделие,
довести до места работы
|
2,7
|
|
156
|
Расправить
изделие, определяя место работы
|
2,8
|
|
133б
|
Подложить под
лапку край детали с точной установкой под иглой
|
0,9
|
|
-
|
Обметать петлю
|
-
|
|
122
|
Переместить
изделие в пределах одной детали на расстоянии до 20 см.
|
1,5×2
|
|
43а
|
Взять ножницы
малого размера
|
1,2
|
|
102б
|
Обрезать
ножницами нитки строчки, не выходящей на край детали
|
0,9×3
|
|
111а
|
Отложить
ножницы малого размера
|
0,6
|
|
71а
|
Вынуть край
детали из-под лапки
|
1
|
|
47б
|
Взять вешалку
|
1,2
|
|
90
|
Надеть изделие
на вешалку
|
2,8
|
|
130
|
Повесить
изделие на кронштейн
|
2,8
|
|
Итого:
|
|
21,7
|
Сложность 1, время на проверку качества 0,5 сек.
Tкач= 0,5×3= 1,5 сек.
Топер. =5,0+21,7+1,5= 28,2 сек.
Нвр. =28,2× (1+ (7,35+5,9) /100))
=31,9 сек.
Апзо= 7,35%, Аотл=5,90%.
Определение нормы времени на выполнение
утюжильной операции
"Приутюжить боковые и нижние срезы
кармана"
Условия выполнения операции:
несъемный процесс, агрегатно-групповая форма организации
потока;
длина шва 40 см.;
вес утюга - 1,8 кг.
Оперативное время на работу с утюгом определяем по формуле:
tОП = tОУ+ tВ+ tКАЧ, с. (4)
где
tОУ - основное утюжильное время, с.; tВ - время на выполнение
вспомогательных приёмов работы, с.; tКАЧ - время на проверку качества, с.
Норматив времени на выполнение основной утюжильной работы
определяем по таблице 22 [16] и умножаем на весь объем работы:
tОУ = tУСМ*L, с. (5)
где tУСМ - норматив времени на 1 см. строчки или шва, (tУСМ =0,24 с.);
L - длина шва или строчки, см.
tОУ =0,24*40 =9,6 с.
Для 2-х карманов:
tОУ =9,6х2=19,2 с.
Для определения времени на вспомогательные приемы необходимо
по таблице 16 [16] определить к какой группе деталей относится обрабатываемая
деталь по своему размеру. В данном случае обрабатываемая деталь относится к
группе "деталь".
Далее составляем последовательность выполнения операций по
приемам работы. Нормативы времени на вспомогательные приемы берем из таблицы 17
[16].
Таблица 14 - Нормативы времени по приемам вспомогательной работы
|
Номер приема
согласно таблице 17 [16]
|
Содержание
приема
|
Норматив
времени на прием вспомогательной работы, с.
|
|
3
|
Взять пачку
деталей и положить на стол
|
4,0/010 = 0,40
|
|
21
|
Развязать пачку
деталей (с освобождением от завязок)
|
4,00/10 = 0,40
|
|
31
|
Взять деталь из
пачки, довести до места работы
|
3, 20
|
|
157в
|
Расправить
деталь, укладывая на утюжильном столе
|
3,50
|
|
48
|
Взять утюг и
довести до места работы
|
1, 20
|
|
-
|
Приутюжить
боковые и нижние срезы кармана
|
-
|
|
118
|
Отставить утюг
|
0,80
|
|
170
|
Снять деталь с
утюжильного стола, складывая в пачку
|
3,00
|
|
13 а
|
Отложить пачку
|
2, 20/10 =0,22
|
|
Итого:
|
12,72
|
Время на проверку качества (сложность 3) равно 2,50с (для 2-х
карманов - 5,0 с.). (таблица 24 и 25 [16]). Оперативное время на выполнение
данной операции по формуле (5) равно:
tОП =9,6+12,72+2,5 =24,82 с.
Для 2-х карманов tОП = 49,64 с.
Норма времени на выполнение данной операции по формуле (1)
составит:
НВР=49,64* (1+ (1,82+1,89) /100) = 51,48 с.
Значения процентов аПЗО и аОТЛ по
таблице 27 [16] равны соответственно 1,82 и 1,89.
7. Разработка
технологической последовательности изготовления изделия
Технологический процесс изготовления швейных изделий
представляет собой обработку и сборку деталей и узлов в определенной
последовательности. Все операции процесса изготовления изделий подразделяются
на: заготовительные, монтажные, отделочные. К заготовительным относятся
операции, связанные с заготовкой отдельных деталей (обработка пояса, хлястика,
погон, пат, листочки, воротника, подкладки) и узлов (карманов на полочках,
обработка переда, обработка спинки, рукавов, края борта). К монтажным относятся
операции, связанные со сборкой узлов (соединением переда и спинки по боковым и
плечевым срезам, воротника с горловиной, рукавов с проймами, подкладки с
изделием. Отделочные, которые являются окончательным этапом изготовления
изделия. К отделочным операциям относятся операции, выполняемые на
окончательном этапе изготовления швейного изделия. Ими являются: окончательная
влажно-тепловая обработку, чистка изделий от производственного мусора,
обметывание петель и пришивание пуговиц, контроль качества, маркировка и
упаковка готовых изделий [7].
7.1 Схема
обработки и сборки изделия
Перед составлением технологической последовательности
обработки мужского пиджак следует выполнить схему сборки изделий по узлам.
Схемы сборки модели №1 изображена на рисунке 22.
7.2
Технологическая последовательность изготовления изделия
Технологическая последовательность обработки изделия - это
перечень технологических неделимых операций, соответствующих порядку выполнения
их при изготовлении деталей и узлов изделия с указанием специальности, разряда
работы, затраты времени на выполнение операции, применяемого оборудования,
приспособлений, технических условий, приемов работы. Технологическая последовательность
обработки изделий является итогом работы по выбору моделей, материалов,
способов обработки, оборудования и служит исходным материалом для расчета
потока. Различные способы обработки деталей и узлов швейных изделий, применение
различного оборудования и оргтехоснастки приводят к тому, что одно и тоже
изделие имеет различную трудоемкость и себестоимость при изготовлении на
различных швейных предприятиях. Поэтому способы обработки и последовательность
сборки деталей и узлов должны быть рациональными с учетом конкретных
производственных условий [11].
Рисунок 14 - Схема сборки пиджака мужского (Модель№1)
Каждая технологически неделимая операция выполняется с
помощью машины, приспособления или вручную. При составлении технологической
последовательности указывают, каким образом должна быть выполнена
технологически неделимая операция, и используют сокращенные названия работ,
приведенные ниже:
Р - работа, выполняемая полностью вручную или с помощью
ручных приспособлений;
М - работа, выполняемая с примением универсальной стачивающей
швейной машины;
С - работа, выполняемая с помощью специализированной швейной
машины;
А - работа, выполняемая с помощью швейной машины
полуавтоматического или автоматического действия;
П - работа, выполняемая на прессе;
У - работа, выполняемая с помощью утюга.
Каждую из перечисленных выше работ может выполнять рабочий,
имеющий определенную квалификацию (например, работа на полуавтомате требует от
рабочего более высокой квалификации, чем на стачивающей машине). Разряд работы
устанавливается по Единому тарифно-квалификационному справочнику работ и
профессий рабочих.
Технологическая последовательность изготовления модели№1
мужского пиджака представлена в таблице 15.
Таблица 15 - Технологическая последовательность изготовления
мужского пиджака
|
Номер и наименование
технологических операций
|
Спе-циаль-ность
|
Оборудование,
приспособления, инструменты
|
|
|
|
|
1. Получить
крой, проверить наличие деталей кроя
|
Р
|
Ручка, журнал
|
|
2.
Скомплектовать детали по номеру, разнести по транспортирующим средствам,
запустить в поток.
|
Р
|
Тележка
|
|
Обработка
накладного кармана
|
|
3. Притачать
подкладку кармана к срезу припуска на подгиб верхнего края кармана, ш. ш 1,0
см
|
М
|
3827-2/34 кл.
"Пфафф"
|
|
4. Приутюжить
карман и подкладку кармана
|
У
|
Cs-394
KE+392 ВТП
"Паннония"
|
|
5. Наметить
углы обтачивания карманов
|
Р
|
Мел, лекало
|
|
6. Обтачать
карман подкладкой оставляя нестачаное отверстие, ш. ш 0,7 см
|
М
|
3827-2/34 кл.
"Пфафф"
|
|
7. Подрезать
припуски швов обтачивания в уголках
|
Р
|
Ножницы
|
|
8. Вывернуть
карман на лицевую сторону, выправляя уголки, через нестачаное отверстие
|
Р
|
Спецколышек
|
|
9. Приутюжить
карман, образуя перекант 0,2-0,3 см
|
У
|
Cs-394
KE+392 ВТП
"Паннония"
|
|
Обработка
листочки верхнего кармана
|
|
10. Обтачивание
листочки верхнего кармана по боковым срезам
|
М
|
"Пфафф"
3827-2/34 кл.
|
|
11. Вывертывание
листочки на лицевую сторону
|
Р
|
-
|
|
12.
Приутюживание листочки
|
У
|
Cs-394
KE+392 ВТП
"Паннония"
|
|
Обработка
воротника
|
|
13.
Притачивание стойки верхнего воротника к верхнему воротнику
|
М
|
"Пфафф"
1427 кл.
|
|
14.
Растрачивание шва притачивания стойки воротника
|
М
|
"Пфафф"
1427 кл.
|
|
15.
Настрачивание нижнего воротника на верхний воротник по срезу отлета
|
С
|
"Пфафф"
114-6/01 BSx9,0 кл.
|
|
16. Нарезание
вешалки
|
Р
|
Ножницы
|
|
17.
Притачивание вешалки к верхнему воротнику
|
М
|
"Пфафф"
1427 кл.
|
|
18. Обтачивание
концов нижнего воротника верхним воротником
|
М
|
"Пфафф"
1427 кл.
|
|
19. Прессование
воротника с одновременным вывертыванием на лицевую сторону
|
П
|
BPS-800+PS-800+PS-20
|
|
Обработка
подбортов
|
|
20. Стачивание
срезов верхней и нижней частей подборта
|
М
|
"Пфафф"
1427 кл.
|
|
21. Разутюживание
шва стачивания частей подборта
|
У
|
Cs-394
KE+392 ВТП
"Паннония"
|
|
Обработка
спинки
|
|
22. Стачивание
средних срезов спинки и шлицы
|
А
|
"Дюркопп-Адлер"
749-5-24 кл.
|
|
23.
Разутюживание среднего шва спинки и шлицы
|
У
|
Cs-394
KE+392 ВТП
"Паннония"
|
|
Обработка
переда
|
|
24. Стачивание
вытачки на части переда
|
М
|
"Пфафф"
3827-2/34 кл.
|
|
25.
Разутюживание шва стачивания вытачки, сутюживая слабину вверху вытачки
|
У
|
Cs-394
KE+392 ВТП
"Паннония"
|
|
26. Притачивание бочка к переду
|
А
|
"Дюркопп-Адлер"
749-5-24 кл.
|
|
27. Разутюживание шва притачивания бочка к переду
|
У
|
Cs-394
KE+392 ВТП
"Паннония"
|
|
28. Прокладывание клеевой кромки по линии перегиба лацкана
|
У
|
Cs-394
KE+392 ВТП
"Паннония"
|
|
29. Прокладывание клеевой укрепительной тесьмы по пройме бочка и
переда
|
У
|
Cs-394
KE+392 ВТП "Паннония"
|
|
Обработка
верхнего кармана
|
|
30. Притачивание листочки и подкладки к полочке с разрезанием
входа в карман
|
А
|
"Дюркопп-Адлер"
745-7-21/Е116 кл.
|
|
31. Вывертывание припуска шва притачивания листочки и подкладки
верхнего кармана на изнаночную сторону
|
Р
|
-
|
|
32. Заутюживание шва притачивания подкладки верхнего кармана к
переду
|
У
|
Cs-394
KE+392 ВТП
"Паннония"
|
|
33.
Притачивание подкладки верхнего кармана в шов притачивания листочки
|
С
|
"Пфафф"
1181-8/11-900/24 кл.
|
|
34. Стачивание подкладки верхнего кармана по боковым срезам
|
С
|
"Пфафф"
1181-8/11-900/24 кл.
|
|
35. Скрепление
входа в карман
|
С
|
"Пфафф"
1181-8/11-900/24 кл.
|
|
36.
Приутюживание верхнего кармана в готовом виде
|
П
|
BPS-800+PS-800+PS-20
|
|
37.
Настрачивание боковых сторон листочки на часть переда
|
А
|
"Дюркопп-Адлер"
265-15135кл.
|
|
Обработка
боковых накладных карманов
|
|
|
|
38. Наметить
место расположение карманов на полочках
|
Р
|
3827-2/34 кл.
"Пфафф"
|
|
39. Настрочить
накладные карманы на полочки, ш. ш.0,2 см
|
М
|
3827-2/34 кл.
"Пфафф"
|
|
40. Приутюживание бокового кармана в готовом виде
|
У
|
Cs-394
KE+392 ВТП
"Паннония"
|
|
Обработка
бортовой прокладки
|
|
|
|
41.
Настрачивание бортовой подкладки по срезу проймы и линии перегиба лацкана
|
М
|
"Пфафф"
1427 кл.
|
|
Обработка
рукавов
|
|
|
|
42. Обметывание
петель на верхней части рукава в области шлицы
|
А
|
"Автоджиг"
ф. AMF Reece (США) S-4000ISBH кл.
|
|
43. Стачивание
передних срезов рукава
|
М
|
"Пфафф"
3827-2/34 кл.
|
|
44.
Разутюживание переднего шва рукава
|
У
|
Cs-394
KE+392 ВТП
"Паннония"
|
|
45.
Заутюживание припуска на подгиб низа рукава
|
У
|
Cs-394
KE+392 ВТП
"Паннония"
|
|
46. Стачивание
локтевых срезов рукава с одновременным стачиванием срезов шлицы
|
А
|
"Дюркопп-Адлер"
749-5-24 кл.
|
|
47. Надсекание
припуска локтевого шва в верхней части шлицы рукава
|
Р
|
Ножницы
|
|
48.
Разутюживание локтевого шва, заутюживая шлицу
|
У
|
Cs-394
KE+392 ВТП
"Паннония"
|
|
49. Стачивание
срезов угла верхней части шлицы
|
М
|
"Пфафф"
(Германия) 1427 кл.
|
|
50. Обтачивание
угла нижней части шлицы
|
М
|
"Пфафф"
(Германия) 1427 кл.
|
|
51.
Вывертывание угла верхней части шлицы
|
Р
|
-
|
|
52.
Разутюживания шва стачивания угла верхней части шлицы
|
У
|
Cs-394
KE+392 ВТП
"Паннония"
|
|
53.
Вывертывание угла нижней части шлицы
|
Р
|
-
|
|
54. Скрепление
верхней и нижней части шлицы
|
М
|
"Пфафф"
1427 кл.
|
|
55. Прессование
рукавов
|
П
|
Cs-351
P2+22-219
|
|
Обработка
подкладки рукавов
|
|
|
|
56. Стачивание
передних срезов подкладки рукава
|
М
|
"Пфафф"
3827-2/34 кл.
|
|
57.
Заутюживание переднего шва подкладки рукава
|
У
|
Cs-394
KE+392 ВТП
"Паннония"
|
|
58. Стачивание
локтевых срезов подкладки рукава
|
М
|
"Пфафф"
3827-2/34 кл.
|
|
59.
Заутюживание локтевого шва подкладки рукава
|
У
|
Cs-394
KE+392 ВТП
"Паннония"
|
|
Обработка
подкладки изделия
|
|
|
|
60.
Настрачивание фирменного знака на подкладку левой части переда
|
А
|
"Пфафф"
563-34/01 ASN3,5 кл.
|
|
61.
Притачивание обтачек к подкладке левой части переда с одновременным разрезанием
входа в карман и прокладыванием укрепительной ленты
|
А
|
"Дюркопп-Адлер"
(Германия) 745-5-21/Е20кл.
|
|
62.
Вывертывание припуска шва притачивания обтачек внутреннего кармана на
изнаночную сторону
|
Р
|
-
|
|
63. Закрепление
углов кармана
|
М
|
"Пфафф"
563-34/01 ASN5,6кл.
|
|
64. Нарезание
петли
|
Р
|
ножницы
|
|
65.
Притачивание подкладки внутреннего кармана к верхней обтачке с одновременным
вкладыванием петли
|
М
|
"Пфафф"
1427 кл.
|
|
66.
Притачивание подкладки внутреннего кармана к нижней обтачке
|
М
|
"Пфафф"
1427 кл.
|
|
67. Стачивание
подкладки внутреннего кармана по боковым срезам
|
М
|
"Пфафф"
1427 кл.
|
|
68.
Приутюживание внутреннего кармана
|
У
|
Cs-394
KE+392 ВТП
"Паннония"
|
|
69. Стачивание
средних срезов подкладки спинки
|
М
|
"Пфафф"
3827-2/34 кл.
|
|
70.
Заутюживание среднего шва подкладки спинки
|
У
|
Cs-394
KE+392 ВТП
"Паннония"
|
|
71.
Притачивание подкладки бочка к подкладке переда
|
М
|
"Пфафф"
3827-2/34 кл.
|
|
72.
Заутюживание шва притачивания подкладки бочка к подкладке переда
|
У
|
Cs-394
KE+392 ВТП
"Паннония"
|
|
73. Стачивание
боковых срезов подкладки
|
М
|
"Пфафф"
3827-2/34 кл.
|
|
74.
Заутюживание бокового шва подкладки
|
У
|
Cs-394
KE+392 ВТП
"Паннония"
|
|
Монтаж
|
|
|
|
75. Запускание
узлов в поток
|
Р
|
-
|
|
76.
Притачивание подкладки рукава к нижнему срезу рукава
|
М
|
"Пфафф"
1427 кл.
|
|
77. Закрепление
припусков на подгиб низа рукава по швам
|
М
|
"Пфафф"
1427 кл.
|
|
78. Стачивание
боковых срезов пиджака
|
М
|
"Пфафф"
3827-2/34 кл.
|
|
79.
Разутюживание боковых швов пиджака
|
У
|
Cs-394
KE+392 ВТП
"Паннония"
|
|
80.
Притачивание подборта к подкладке укладывая под строчку клеевую ленту
|
М
|
"Пфафф"
1427 кл.
|
|
81. Обтачивание
борта подбортом
|
С
|
"Пфафф"
3822-1/44 кл.
|
|
82. Подрезание
припуска шва обтачивания борта в углах
|
Р
|
Ножницы
|
|
83.
Настрачивание переда на припуск шва обтачивания борта по линии перегиба
лацкана
|
М
|
"Пфафф"
1427 кл.
|
|
84. Вывертывание
углов борта на лицевую сторону
|
Р
|
-
|
|
85.
Приутюживание борта
|
П
|
Cs-351
P2+22-249
|
|
86.
Заутюживание припуска на подгиб низа пиджака
|
У
|
Cs-394
KE+392 ВТП
"Паннония"
|
|
87.
Вывертывание пиджака на изнаночную сторону
|
Р
|
-
|
|
88.
Притачивание подкладки к нижнему срезу пиджака
|
М
|
"Пфафф"
1427 кл.
|
|
89. Закрепление
припуска на подгиб низа пиджака по боковым швам
|
М
|
"Пфафф"
1427 кл.
|
|
90. Стачивание
плечевых срезов пиджака
|
М
|
"Пфафф"
3827-2/34 кл.
|
|
91.
Разутюживание плечевых срезов пиджака
|
У
|
Cs-394
KE+392 ВТП "Паннония"
|
|
92. Втачивание
нижнего воротника по срезу раскепа переда
|
М
|
"Пфафф"
3827-2/34 кл.
|
|
93.
Разутюживание шва втачивания нижнего воротника по срезу раскепа
|
У
|
Cs-394
KE+392 ВТП
"Паннония"
|
|
94.
Настрачивание верхнего воротника на горловину изделия, подкладывая клеевую
ленту под шов настрачивания
|
С
|
"Пфафф"
114-6/01 BSx9,0 кл.
|
|
95. Втачивание
верхнего воротника по срезу раскепа
|
М
|
"Пфафф"
3827-2/34 кл.
|
|
96.
Разутюживание шва втачивания верхнего воротника
|
У
|
Cs-394
KE+392 ВТП
"Паннония"
|
|
97. Втачивание
верхнего воротника в горловину подкладки пиджака
|
М
|
"Пфафф"
1427 кл.
|
|
98. Втачивание
рукавов пиджака в пройму пиджака с одновременным втачиванием подокатника
|
С
|
"Дюркопп-Адлер"
541-15103 кл.
|
|
99. Сутюживание
посадки рукава
|
У
|
LW-29
(30) + LY154 (155)
|
|
100. Притачивание
плечевой накладки к припуску шва втачивания рукава, вкладывая отрезок для
скрепления
|
С
|
"Дюркопп-Адлер"
697 кл.
|
|
101.
Вывертывание рукавов на изнаночную сторону
|
Р
|
-
|
|
102. Втачивание
подкладки рукава в пройму подкладки пиджака
|
М
|
"Пфафф"
1427 кл.
|
|
103. Скрепление
подкладки по шву втачивания рукава
|
М
|
"Пфафф"
1427 кл.
|
|
104.
Застрачивание отверстия в переднем шве подкладки рукава
|
М
|
"Пфафф"
1427 кл.
|
|
105.
Вывертывание рукавов на лицевую сторону
|
Р
|
-
|
|
106.
Прокладывание отделочной строчки по краям воротника, лацканов, бортов и низу
подбортов
|
М
|
3827-2/34 кл.
"Пфафф"
|
|
107.
Прессование плечевого шва и оката рукава
|
П
|
LW-29
(30) +LY-54 (155)
|
|
108.
Прессование лацкана и воротника
|
П
|
Cs-351
P2+22-213H
|
П
|
Сs-351
|
|
110. Нанесение
места расположения петель на левой части переда
|
Р
|
Мел, лекало
|
|
111.
Обметывание двух петель на левой части переда
|
А
|
"Дюркопп-Адлер"
589-212 Е201 кл.
|
|
112. Нанесение
места расположения пуговиц на правой части переда
|
Р
|
Мел, лекало
|
|
113. Пришивание
двух пуговиц переде с одновременным обвиванием ножки пуговицы
|
А
|
"Дюркопп-Адлер"
569-113136 кл.
|
|
114. Пришивание
четырех пуговиц на правую часть переда с одновременным обвиванием ножки
пуговицы
|
А
|
"Дюркопп-Адлер"
569-113136 кл.
|
|
115. Пришивание
пуговиц к рукаву в области шлицы
|
А
|
"Некки"
(Италия) JAN 1441
|
|
116. Пришивание
одной пуговицы на внутренний карман
|
А
|
"Некки"
(Италия) JAN 1441
|
|
117.
Пропаривание пиджака на паровоздушном манекене
|
П
|
Viet
8380 Multiform (Германия)
|
|
118. Чистка
изделия от производственного мусора
|
Р
|
-
|
|
120. Сдача
изделия на контроль качества
|
Р
|
-
|
Заключение
Задачами курсовой работы являлись разработка технологической
документации, выбор оборудования и разработка технологической
последовательности на процесс изготовления мужского пиджака в массовом
производстве.
В ходе выполнения курсовой работы была разработана коллекция
мужских пиджаков на основании изученых тенденций современной моды сезона осень
- зима 2011-2012 года. На их основе выбрана одна модель № 1 для разработки
технической документации.
Для разработанных моделей коллекции мужских пиджаков был
проведен выбор пакета материалов, изучены и проанализированы их свойства. На
основании анализа свойств материала были подобраны методы и режимы обработки, а
также необходимое оборудование и приспособления.
Далее было произведено нормирование неделимых машинной,
ручной и утюжильной операций.
На основании всего выше проделанного была составлена
технологическая последовательность изготовления одного изделия (модель № 1) и
составлена схема его сборки.
В процессе выполнения курсового проекта были
систематизированы, углублены и закреплены, полученные в процессе обучения,
знания и навыки.
Список
использованных источников литературы
1. Кулешов,
И.В. Современные тенденции развития швейного производства /Швейная
промышленность. - 2003. - №2.
2. Кокеткин,
П.П. Одежда, технология - техника, процессы - качество / П.П. Кокеткин. - М.:
МГУДТ, 2001. - 560 с.
3. <http://about-fashion.ru>
. Савостицкий, А.В.
Технология швейных изделий / А.В. Савостицкий, Е.Х. Меликов. - М.: Легкая и
пищевая промышленность, 1982. - 440 с.
. Штурцева, Е.В.
Методические указания к курсовой работе "Разработка технологической
документации на процесс изготовления швейного изделия в массовом
производстве" / Е.В. Штурцева, Т.Б. Нессирио, И.А. Жукова. - СПб.: СПГУТД,
2006.
. Кокеткин, П.П.
Промышленная технология одежды: справочник / П.П. Кокеткин, Т.Н. Кочегура, В.И.
Барышникова и др. - М.: Легпромбытиздат, 1988. - 640 с.
. Крючкова, Г.Ф.
Технология и материалы швейного производства / Г.Ф. Крючкова. - М.: Академия,
2004г.
. Калмыкова, Е.А.
"Материалы для швейных изделий", Е.А. Калмыкова, О.В. Лобацкая - Мн.:
Выш. шк., 2001 - 412 с.
. Типовая техническая
документация по конструированию, технологии изготовления, основным и прикладным
материалам при изготовлении женских пальто. - М.: ОАО "ЦНИИШП", 1983.
- 319 с.
. Ермакова, Л.В.
Основы промышленной технологии поузловой обработки верхней одежды / Ермакова
Л.В., Колесников П.А. - М.: Легкая индустрия, 1976.
. Труханова, А.Т.
Технология мужской и женской верхней одежды / А.Т. Труханова. - М.: Высш. шк.,
2003. - 495 с.
. Зак, И.С. Справочник
по швейному оборудованию / И.С. Зак и др. - М.: Легкая индустрия, 1981. - 272
с.
. Штурцева, Е.В.
Ниточные соединения: учеб. пособие / Е.В. Штурцева, Т.Б. Нессирио. - СПб.:
СПГУТД, 2005. - 102 с.
. Ермаков, А.С.
Оборудование швейных предприятий / А.С. Ермаков. - М.: ПрофОбрИздат, 2002. -
432 с.
. Штурцева, Е.В.
Процессы обработки швейных изделий: лаб. практикум по дисциплине
"Технология швейных изделий" / Е.В. Штурцева, Т.Б. Нессирио. - СПб.:
СПГУТД, 2003. - 59 с.
. Отраслевые
поэлементные нормативы времени по видам работ и оборудования при пошиве верхней
одежды. - М.: ЦНИИТЭИлегпром, 1983. - 270 с.