Проектирование технологического процесса изготовления сюртука женского из тонкосуконной ткани
КУРСОВОЕ ПРОЕКТИРОВАНИЕ
Проектирование технологического
процесса изготовления сюртука женского из тонкосуконной ткани
РЕФЕРАТ
Режимы обработки, методы обработки, затрата времени, трудоемкость,
производительность труда, снижение затраты времени, технологическая
последовательность.
В работе обоснованы выбор моделей и материалов в соответствии с
потребительскими и промышленными требованиями, с учетом направления моды.
Рассмотрены режимы обработки: характеристика машинных строчек и швов, параметры
образования клеевых соединений и влажно-тепловой обработки, прогрессивные
методы обработки отдельных деталей и узлов, обеспечивающих высокое качество
изготовления и снижение трудоемкости на основе применения современного
перспективного оборудования отечественного производства. Уделено внимание
вопросам механизации и автоматизации швейного производства.
СОДЕРЖАНИЕ
ВВЕДЕНИЕ
. ТЕХНИЧЕСКОЕ ЗАДАНИЕ
.1 Выбор исходных данных.
.2 Требования к качеству проектируемых изделий.
.3 Нормативно - техническая документация
. ТЕХНИЧЕСКОЕ ПРЕДЛОЖЕНИЕ
.1 Разработка ассортиментной серии моделей для запуска в один
технологический поток.
.1.1 Перспективное направление моды
.2 Оценка уровня конструктивной и технологической
однородности моделей
.3 Перечень деталей кроя изделия
. ТЕХНИЧЕСКИЙ ПРОЕКТ
.1 Конфекционный подбор материалов для пакета изделия
.2 Оценка эффективности проектируемой технологии
.3 Выбор оборудования, приспособлений и технологических
режимов обработки
.4 Разработка справочника технологических операций процесса
.5 Разработка графической модели технологического процесса
ЗАКЛЮЧЕНИЕ
СПИСОК ЛИТЕРАТУРЫ
ПРИЛОЖЕНИЯ
ВВЕДЕНИЕ
В условиях рыночных отношений и международной конкуренции возникает более
сложная задача - удовлетворение индивидуальных потребностей людей не только в
современной одежде, но также в обеспечении её потребителей за счет выявления
важных для них ожиданий и последующей реализации этих ожиданий в продукцию.
Поэтому возникла необходимость в разработке технологических и организационных
решений для реализации процессов, основанных на новых принципах. Такие процессы
должны быть мобильными, легко управляемыми, требующими минимальных инвестиций,
производственных площадей и энергоресурсов, а также внутрифабричных расходов.
Эти предприятия должны создаваться на новых принципах, адаптированных к
рыночным условиям, а именно: постоянном обновлении моделей и ассортимента
одежды, использовании главным образом универсальных технологий и оборудования.
Непременным условием коммерческого успеха предприятия, осуществляющего
серийное производство одежды, является быстрое обновление ассортимента. Высокое
качество и минимальные сроки конструкторско-технологической подготовки швейного
производства обеспечиваются профессионализмом проектировщика и уровнем
оснащенности его рабочего места.
Внедрение систем автоматизированного проектирования (САПР) обеспечивает
повышение производительности труда и мобильности швейного производства. Другое
интересное наукоемкое направления развития САПР связано с трехмерным
моделированием. Такая программа может оказать помощь маркетологам и дизайнерам
в выборе тканей и проработке внешнего вида изделий, помогает сэкономить
средства и время на создание высококачественных каталогов моделей из
разнообразных тканей.
Для эффективности работы швейного предприятия в постоянно изменяющихся
условиях рынка необходимо:
− формирование эффективной ассортиментной политики;
− создание системы сбыта, которая обеспечивает быстрое и
удобное предложение продукции покупателю при сохранении всех потребительских
свойств;
− общий подъем в отрасли лежит на путях создания
благоприятного климата для производства отечественной продукции, создания
условий для технического перевооружения предприятий.
Целью курсовой работы является разработка высокопроизводительного
технологического процесса по изготовлению сюртука женского демисезонного,
отвечающего требованиям современного производства, основанного на применении
прогрессивных методов обработки, использования нового оборудования и средств
оргтехоснастки.
1. ТЕХНИЧЕСКОЕ ЗАДАНИЕ
1.1 Выбор исходных данных
Пальто является одной из наиболее необходимых вещей в гардеробе каждой
современной женщины. Для повседневного пальто характерны содержательность и
умеренный объём. Оно удобно, функционально, комфортно, а главное идеально
подходит для повседневной носки.
Демисезонное женское пальто-сюртук предназначено для повседневной
эксплуатации в осенне-весенний период, когда наблюдаются резкие перепады
температур, осадки, грязь, слякоть.
Рекомендуемые размеры: 88-96, 158-176, II полнотная группа. Изделие
предназначено для ношения в умеренной климатической зоне в городских условиях.
Количество стирок по мере загрязнения. Масса изделия не должна быть большой, т.
к. оказывает существенное влияние на самочувствие человека.
Материалы, из которых изготовлено пальто на подкладе, должны быть
прочными на разрыв, это важно предусмотреть на участках изделия плечевого
пояса, проймы, переда по линии горловины. Ткань должна иметь большую степень
стойкости к истиранию, для предотвращения разрушения ткани из-за трения.
Выносливость ткани к истиранию характеризуется видом волокнистого состава,
поверхностной плотностью и видом переплетения.
Срок эксплуатации пальто-сюртука не более 1-2 лет, так как постоянно
меняется направление моды, поэтому особое значение приобретает его стоимость.
Затраты на приобретение пальто-сюртука и уход за ним должны быть доступны
массовому покупателю (ГОСТ 17037-85. Изделия швейные. Классификация бытовой
одежды).
1.2 Требования к качеству проектируемых изделий
К швейным изделиям, в частности к демисезонному пальто-сюртуку,
предъявляется некоторый комплекс требований. Наиболее важными являются
потребительские и промышленные. Первые обусловлены взаимодействием и контактом
одежды и человека в процессе носки швейных изделий, а вторые - взаимодействием
одежды с орудиями труда и рабочей силой, организацией труда в потоке.
Требования к качеству изделия предоставлены в таблице 1.1
Таблица 1.1 Основные требования для проектируемой коллекции пальто-сюртук
|
Промышленные требования
|
Потребительские требования
|
|
Стандартизации и унификации
Конструктивные Технологичности Экономичности
|
Эстетические Эргономические
Требования надежности
|
Одежда формирует внешний облик человека, поэтому главным потребительским
требованием являются - эстетические.
Эстетические требования характеризуют красивый внешний вид (сохранение и
устойчивость заданной формы изделия на протяжении всего срока эксплуатации,
отсутствие пиллинга, малая загрязняемость, безусадочность, высокая прочность
окраски, драпируемость и несминаемость), соответствие изделия направлениям
современной моды на определенный сезон (по художественно-колористическому
оформлению, рисунку переплетения, форме и покрою, характеру поверхности,
выразительности фирменных знаков), а также новизну, выразительность и оригинальность
модели.
Вторым по значимости требованием являются
эргономические, которые связаны с физиологическими, антропометрическими и
другими особенностями человека. Эргономические требования складываются из
следующих требований: антропометрических и гигиенических. Гигиенические
требования определяют микроклимат в пододежном слое, параметры одежды
(соответствие конструкции швейного изделия, размерами и форме тела человека),
удобство пользования изделием (надевание и снятие одежды) и легкость ухода за изделием
(простота чистки, стирки и глажения, пользования отдельными элементами одежды -
карманами, застежками и т.д.). Пальто-сюртук должен иметь минимальную
пылеемкость и загрязняемость, хорошо очищаться. Степень загрязняемости одежды
зависит от структуры волокна, фактуры материала и характера поверхности одежды.
Менее загрязняются материалы из шерстяных волокон и ткани гладких структур.
Требования надежности определяют срок носки
(долговечность) пальто-сюртука зависит от сопротивления его физическому износу
(видимому разрушению материалов, из которых изготовлено изделие, или ухудшению
его свойств. Для одежды существует и такое понятие, как моральный износ, т.е.
изделия при сохранении других свойств не отвечает моде сегодняшнего дня,
изменившимся требованиям потребителей к форме, цвету, фактуре материала.
К промышленным требования относятся показатели стандартизации и
унификации, конструктивные, технологические, экономические показатели.
Стандартизация основывается на объединённых достижениях науки, техники и
практического опыта и определяет основу не только настоящего, но и будущего
развития и должна осуществляться неразрывно с прогрессом. Унификация является
основным, наиболее употребительным и действенным, методом стандартизации,
имеющим главной целью уменьшение многообразия существующих видов, типов и
типоразмеров изделий одинакового функционального назначения. Унификация
конструкций одежды состоит в приведении разнообразных форм деталей и узлов
внутри каждого типа к разумному единообразию без ущерба для качества, внешнего
вида изделия и интересов потребителей.
Конструкторско-технологические требования определяют условия массового
производства и получение заданной формы одежды, минимальный расход материала на
единицу изделий и сокращение отходов при раскрое материалов.
Последними требованиями являются экономические, так как они определяют
доступность одежды широким массам населения при ее высоком качестве.
Экономические требования обусловлены затратами на приобретение пальто-сюртука,
стоимостью ухода за ним и длительностью эксплуатации.
Все выше перечисленные требования играют важную роль при выборе модели
изделия, на которое будет разрабатываться технологический процесс. Для
изготовления в одном потоке предлагаются три модели, выполненные в одном стиле,
рассчитанные на одну возрастную группу. Выбранные модели одинакового покроя с
незначительной разницей в затрате времени на обработку. В процессе изготовления
используются одно и то же оборудование и приспособления [1].
.2 Нормативно - техническая документация
Непременным условием улучшения качества швейных
изделий и повышения производительности труда является внедрение стандартов как
основы промышленного производства одежды. В швейной промышленности в
зависимости от сферы действия, содержания и уровня утверждения стандарты
подразделяются на четыре категории: ГОСТ, РСТ, ОСТ и СТП [2]. Характеристика
нормативно-технической документации приведена в таблице 1.2
Таблица 1. 2 Характеристика нормативно-технической
документации.
|
№ п/п
|
Наименование и номер
стандарта
|
Краткое содержание
стандарта
|
Область применения
|
|
1
|
2
|
3
|
4
|
|
1
|
ГОСТ 20521-75 «Терминология
швейного производства. Термины и определения»
|
Устанавливает термины и
определения основных понятий, относящихся к технологии швейного производства.
|
В технологической документации
всех видов
|
|
2
|
ГОСТ 4103-82 «Швейные
изделия. Методы проверки качества готовых изделий »
|
Устанавливает методы
контроля качества готового изделия.
|
В технологической
документации всех видов
|
|
3
|
ГОСТ 22977-78 «Детали
швейных изделий. Термины и определения»
|
Устанавливает применяемые в
науке и производстве термины и определения, относящиеся к основным деталям
швейных изделий.
|
В технологической
документации всех видов
|
|
4
|
ГОСТ 24103-80 Изделия
швейные. Термины и определения дефектов.
|
Устанавливает применяемые в
науке, технике и производстве термины и определения, относящиеся к
технологическим дефектам швейных изделий.
|
В технологической
документации всех видов.
|
|
5
|
ГОСТ 11157-77 Ткани
ч/шерстяные и п/шерстяные. Нормы устойчивости окраски и методы их определения.
|
Устанавливает нормы
устойчивости окраски ткани к основным воздействиям и методы ее определения.
|
Используют для определения
норм устойчивости окраски.
|
|
6
|
ГОСТ 445-89 Система
показателей качества.
|
Устанавливает систему
показателей качества продукции, применяемую при изготовлении швейных изделий
бытового назначения.
|
Разработка и подготовка
технологической документации.
|
|
7
|
ГОСТ 26623-85 Материалы и
изделия текстильные. Обозначения по содержанию сырья.
|
Устанавливает обозначение
материалов и изделий по содержанию сырья, применяемые в науке и производстве.
|
Создание моделей и
разработка конструкций. Разработка и подготовка технологической документации.
Подготовка и раскрой материала, упаковка, складирование.
|
|
8
|
ГОСТ 46-85 Ткани шелковые и
полушелковые бытового назначения. Номенклатура показателей качества.
|
Устанавливает требования к
качеству, предъявляемые к тканям шелковым и п/шелковым, предназначенным для
изготовления швейных изделий.
|
Создание моделей и
разработка конструкций. Разработка и подготовка технологической документации.
Подготовка и раскрой материала. Контроль качества изделия.
|
|
9
|
ГОСТ 14056-78 Машины
швейные промышленные для шитья тканей. Технические условия.
|
Устанавливает параметры,
технологические габариты швейных машин, предназначенных для шитья швейных
изделий. Технические условия.
|
Создание моделей и
разработка конструкции. Разработка и подготовка технологической документации.
Подготовка и раскрой материала. Пошив изделия.
|
|
10
|
ОСТ 17-835-80 Изделия
швейные. Технические требования к стежкам строчкам и швам.
|
Устанавливает нормы,
правила, требования к стежкам, строчкам и швам.
|
Для упорядочения
производственно- технической документации и для установления оптимального
уровня качества.
|
Вывод по разделу: на этапе проектирования технического задания были определены
важные свойства, которыми должно обладать проектируемое изделие
(пальто-сюртук), функциональное назначение и условие эксплуатации, необходимая
нормативно-техническая документация на изделие, позволяющие производить
конкурентоспособную продукцию.
2.
ТЕХНИЧЕСКОЕ ПРЕДЛОЖЕНИЕ
2.1 Разработка ассортиментной серии моделей для
запуска в один технологический поток
.1.1 Перспективное направление моды
Сюртук, или сертук (франц.), - верхняя мужская одежда, появившаяся в
Европе и России в первое десятилетие XIX века.
Далёким прообразом сюртука можно считать сюрту. Первые сюртуки были
цветными, а чёрные вошли в моду в эпоху Реставрации во Франции как форма
отставных наполеоновских офицеров. Сюртук шили двубортным, в строгой
зависимости от моды находились его длина, положение линии талии (выше или ниже
естественной), наличие или отсутствие буфов, количество пуговиц, ширина рукава
по низу.
В начале XIX века
официальной одеждой был фрак, потому на званый обед модно было приходить в
сюртуке, в 20-е годы сюртук считался одеждой неофициальной для близкого круга
друзей, а его место на приемах занял фрак. Постепенно укорачиваясь, к середине XIX века сюртук стал прообразом пиджака
и форменным костюмом, а фрак - одеждой сугубо бальной [3].
И вот дизайнеры вдохновившись поспешили внедрить в женский гардероб
очередную мужскую вещь - сюртук. Осенне-весенние пальто-сюртуки, показанные на
мировых подиумах, напоминают удлиненные пиджаки наподобие тех, что носили купцы
в начале XX века. Если кратко выделить основные концепции сезона, то это будут:
оригинальность, сбалансированность и сдержанность.
Отличительные особенности тренда - подчеркнуто жесткие формы плеч, длина
до середины бедра или чуть ниже, отложной воротник или воротник-стойка.
Пальто-сюртуки должны сидеть так, будто их сняли с чужого плеча. Для
выразительности можно не надевать, а просто набрасывать их на плечи [4].
Модные мировые дизайнеры предлагают нам однобортные и двубортные сюртуки.
В этом сезоне популярны пальто из плотного твида, мягкого кашемира, шерсти, фланели,
кожи. Твидовые пальто - тренд нового сезона. Твид с уверенностью можно назвать
вечной классикой. Этот традиционный английский материал никогда не уходил из
модного «хит-парада».
Главными цветами пальто нового сезона стали: черный, белый, розовый, оранжевый,
синий, зеленый, коричневый, серый, красный и его оттенки. Наиболее модными
цветами этого сезона оказались черный и серый. Они универсальны и подходят ко
всему. Смотрятся такие пальто очень стильно. Их можно носить на каждый день.
Этот стиль лишен особых изысков, но пальто выглядит очень элегантно. Исключить
черный цвет из своих коллекций не удалось ни одному модельеру, поэтому
элегантность и строгость по-прежнему в моде.
Проанализировав направление моды, были выяснены самые модные тенденции
наступившего сезона. На основе этого было отобрано 5 моделей наиболее
соответствующих направлениям моды.
изделие ассортиментный технологический модель
2.2 Оценка уровня конструктивной и
технологической однородности моделей
Таблица 2.3 Расчет коэффициента применяемости моделей серии
|
№ модели
|
Количество деталей, шт.
|
Коэффициент применяемости
|
|
Унифицированных У
|
Оригинальных О
|
Общее N =У+О
|
|
|
1
|
2
|
3
|
4
|
5
|
|
1
|
10
|
2
|
12
|
0,8
|
|
2
|
10
|
4
|
14
|
0,7
|
|
3
|
10
|
4
|
14
|
0,7
|
|
∑У= 30
|
|
∑N= 40
|
К=0,75
|
Для дальнейшей проработки выбираем модель А, т.к. она имеет достаточно
высокий уровень унификации, который характеризует эту модель, как наиболее
технологичную, с высокой степенью однородности технологической обработки.
2.3 Перечень деталей кроя изделия
Перечень деталей кроя верха и приклада, представлен в таблице 2.3
Таблица 2.3 Перечень деталей кроя верха и приклада
|
№ п/п
|
Наименование деталей
|
Эскиз деталей с указанием
направления нити основы
|
Количество деталей кроя
|
|
1
|
2
|
3
|
4
|
|
Детали верха
|
|
1
|
Полочка
|
|
2
|
|
2
|
Средняя часть спинки
|
|
2
|
|
3
|
Боковая часть спинки
|
|
2
|
|
4
|
Рукав
|
|
2
|
|
5
|
Подборт
|
|
1
|
|
6
|
Карман
|
|
1
|
|
Детали прокладки
|
|
7
|
Прокладка полочки
|
|
Ткань из х/б пряжи арт.
86040 для фронтального дублирования; Ткань кромочная (бязь)-кромка для среза
проймы
|
|
8
|
Прокладка спинки
|
|
Ткань из х/б пряжи арт.
86040 для дублирования спинки ; Ткань кромочная (бязь)-кромка для среза
проймы и низа пальто
|
|
9
|
Прокладка кармана
|
|
Нетканое клеевое
(прокламелин)
|
|
10
|
Прокладка подборта
|
|
Ткань из х/б пряжи арт.
86040
|
|
11
|
Прокладка в низ рукава
|
|
Ткань кромочная
(бязь)-кромка для низа рукава
|
|
Детали подкладки
|
|
12
|
Подкладка полочки
|
|
2
|
|
13
|
Подкладка спинки
|
|
2
|
|
14
|
Подкладка рукава
|
|
2
|
|
15
|
Карман
|
|
2
|
|
|
|
|
|
3. ТЕХНИЧЕСКОЕ ПРОЕКТИРОВАНИЕ
.1 Конфекционный подбор материалов для пакета
изделия
Ассортимент материалов для пальто-сюртука представлен чистошерстяными,
полушерстяными камвольными, камвольно-суконными, тонкосуконными драпами и
пальтовыми тканями.
Используют камвольные ткани, разнообразные по структуре и поверхностной
плотности от 250 до 550 г/м2. Классической камвольной ткани является габардин,
вырабатываемый из крученой пряжи диагональным переплетением с очень высокой
плотностью по основе и утку. Из-за этой высокой плотности габардины имеют
большую жесткость, упругость, высокую осыпаемость срезов, плохо поддаются
влажно-тепловой обработке. К камвольным тканям, из которых шьют женские пальто,
относят жаккардовые ткани, имеющие в основе камвольную пряжу, а в утке
аппаратную. Лицевую сторону ткани формирует гребенная пряжа, а изнаночную -
аппаратная.
Ткани пальтовые являются полушерстяными камвольными тканями с поверхностной
плотностью 300 - 460 г/м2, либо камвольно-суконными с большой поверхностной
плотностью (440 - 523 г/м2). В состав пряжи этих тканей входят двух- и
трехкомпонентные смеси. Переплетения - сложные или мелкоузорчатые. Отделка
пестротканая, гладкокрашеная, с небольшой валкой, оставляющей рисунок
переплетения открытым.
Камвольно-суконные чистошерстяные ткани имеют начесы, преимущественно на
изнаночной стороне. Лицевая сторона обладает ярко выраженной поверхностью,
оформленной в зависимости от вида переплетения (саржевое, жаккардовое,
креповое, букле и т.д.). Камвольно-суконные ткани вырабатываются из пряжи
различных линейных плотностей (от 31 до 200 текс), что обеспечивает
разнообразие структур камвольно-суконных тканей. Поверхностная плотность
чистошерстяных камвольно-суконных тканей составляет от 350 до 570 г/м2
(наибольший удельный вес в выпуске имеют ткани поверхностной плотности 450 -
530 г/м2).
Тонкосуконные чистошерстяные ткани, драпы составляют основную группу
тканей для женских пальто. В их ассортименте можно выделить ворсовые ткани из
пряжи повышенной толщины, ткани, выработанные с использованием фасонной
одноцветной или меланжевой пряжи, которая придает им ярко выраженную рельефную
поверхность.
В качестве подкладки к одежде различного назначения используют шелковые,
полушелковые, синтетические, хлопчатобумажные и шерстяные подкладочные ткани,
тонкие гладкие синтетические трикотажные полотна, искусственный и натуральный
мех [5].
Ассортимент подкладок расширился благодаря применению смесей из вискозных
и капроновых нитей. По волокнистому составу подкладочные ткани делят на 7
групп: из вискозных нитей в основе и утке, из вискозных нитей в основе и
триацетатных нитей в утке, из вискозных нитей в основе и капроновых нитей в
утке, из капроновых нитей в основе и вискозных нитей в утке, из вискозных нитей
в основе и вискозной пряжи в утке, из вискозных нитей в основе и
хлопчатобумажной пряжи в утке.
По виду переплетений подкладочные ткани делят на полотняные, атласные,
саржевые, жаккардовые. Наибольший удельный вес имеют саржевые переплетения.
Прокладочные материалы применяют для придания деталям одежды определенной
формы и ее сохранения, а также для упрочнения участков одежды и предохранения
их от растяжения.
Отличного внешнего вида и качества одежды добиваются, используя в
качестве прокладок термоклеевые прокладочные материалы. Они выпускаются на
тканой, трикотажной и нетканой основе.
Используют тканые основы разряженных структур из хлопчатобумажной пряжи,
а также из смеси натуральных волокон с вискозой, лавсаном, нитроном.
Переплетение - полотняное или саржевое. Поверхностная плотность тканей 70 - 160
г/м2.
В качестве клеевого покрытия используют термопластичные клееные вещества.
Они обладают хорошей связующе способностью со многими текстильными волокнами и выдерживают
химчистку и стирку.
Нетканые прокладочные материалы вырабатываются из смеси химических
волокон клеевым, иглопробивным, комбинированным или валяльно-войлочным
способами. К нетканым прокладочным материалам относятся флизелин, прокламелин,
сюнт-100 и др.
Отечественный нетканый клеевой материал марки НПА выпускается с
полиамидным точечным покрытием различной поверхностной плотности.
Проанализировав всё разнообразие материалов, для проектирования
разрабатываемой коллекции пальто-сюртуков был выбран полушерстяной
тонкосуконный гладкокрашеный драп поверхностной плотностью 350 г/м3.
Вырабатываемый из одиночной нити или кручёной аппаратной смешанной пряжи с
применением нитронового волокна в основе и утке. Содержание шерсти в
полушерстяных тканях колеблется от 20 до 88%.Ткань обладает высокими
теплозащитными свойствами, высокой гигроскопичностью, гигиеничностью [6].
Для подкладочной ткани была выбрана ткань из вискозных нитей в основе и
ацетатных нитей в утке. Подкладочная ткань предназначена для удобства эксплуатации
одежды, оформления ее изнаночной стороны и предохранения одежды от износа и
загрязнения. Подкладка должна иметь гладкую поверхность и малый коэффициент
трения, достаточную прочность и стойкость к истиранию, быть легкой и
гигиеничной. Подкладочная ткань должна выдерживать срок носки основного
материала изделия и не должна иметь излишнего запаса прочности, в силу
рациональных и экономических требований к данной коллекции.
В качестве прокладочных материалов выбраны тканный и нетканый клеевые
полотна из х/б пряжи и вискозных и нитроновых волокон. Для прокладки в мелкие
детали, для фронтального дублирования деталей полотна с точечным регулярным
клеевым покрытием, кромочная клеевая ткань. Эти материалы предназначены для
придания деталям требуемой форму устойчивости, для обработки краев детали,
увеличение срока эксплуатации изделия, повышение качества обработки, сокращения
срока производительности труда одежды, улучшение внешнего вида изделия.
Фурнитура: пуговицы диаметром 25 мм, на ножке.
При выборе (анализе) материалов учитывают технологические возможности
производства, способы формообразования деталей, экономичность моделей.
Показатели физико-механических и технологических свойств материалов
представлены в таблице 3.4
Таблица 3.4 Показатели физико-механических и технологических свойств
материалов.
|
Наименование ткани
|
Стандартные нормы
|
Физико-механические
свойства
|
Технологические свойства
|
|
Ширина
|
Поверхностная плотность
|
Содержание волокон
|
Разрывная нагрузка
|
Усадка от намокания
|
Устойчивость к истиранию
|
Осыпаемость
|
Прорубаемость
|
Жёсткость
|
Способность к
формообразованию
|
|
Размерность
|
см
|
г/м²
|
%
|
даН/см
|
%
|
цикл
|
-
|
-
|
мкН см2
|
-
|
|
П/ш тонкосуконный драп
женский гладкий арт. 4604
|
150
|
350
|
70 % шерсть 30%нитрон
|
6
|
1,0
|
10000
|
Не < 10
|
Низкая
|
20000
|
Высокая
|
|
Вискозно-ацетатная
подкладочная ткань арт. 32665
|
100
|
100
|
Вискоза -40%, ацетат - 60%
|
6
|
1,0
|
Не менее 1000
|
Не < 1,2
|
Средняя
|
1500
|
Высокая
|
|
Ткань из х/б пряжи
арт.7067-Н1
|
100
|
126
|
Хлопок 100%
|
2
|
3,0
|
Не менее 100
|
Низкая
|
Низкая
|
65001500
|
Высокая
|
|
Нетканое клеевое полотно
(прокламелин) арт.935508
|
90
|
115-120
|
Вискоза-50%, нитрон-50%
|
3
|
2,0
|
Не менее 100
|
Низкая
|
Низкая
|
1000
|
Высокая
|
|
Кромочная ткань (бязь) aрт.276H1
|
78
|
138
|
100% х/б
|
2
|
3,0
|
Не менее 100
|
Низкая
|
Низкая
|
1500
|
Высокая
|
Выбор швейных ниток.
Швейные нитки являются основным материалом для соединения деталей. Для
различных видов тканей применяются нитки различных торговых номеров и марок.
Торговый номер - это условный номер ниток, характеризующий их толщину: чем выше
номер, тем тоньше нитки. Торговая марка определяет прочность ниток. Нитки
должны отвечать следующим требованиям: быть прочными, гладкими, упругими, иметь
прочную окраску, хорошо уравновешены на крутке, химически стойки, термостойки.
Для выбранного ассортимента рекомендуются нитки. Показатели физико-механических
свойств ниток представлены в таблице 3.5
Таблица 3.5 Показатели физико-механических свойств ниток
|
Условное обозначение ниток
|
Линейная плотность, текс
|
Разрывная нагрузка, сН
|
Удлинение при разрыве %, не
более
|
Выполняемая строчка
|
|
35 ЛЛ 36 ЛХ
|
16,7*2(25,6) 12,5*2(34,5)
|
1450,0 1275,0
|
22 19
|
Обтачивание, притачивание,
стачивание, застрачивание деталей верха
|
|
25ЛЛ 25ЛХ
|
25ЛЛ 25ЛХ
|
915,0 915,0
|
23 20
|
Стачивание деталей
подкладки
|
|
24ЛТ
|
12*2(24,8)
|
638
|
32
|
Фурнитура используемая для проектируемой модели.
Фурнитура предназначена для застегивания одежды. Кроме функционального
назначения фурнитура украшает одежду. Фурнитуру изготавливают из металла,
пластмассы, дерева и других не текстильных материалов. Фурнитура должна
отвечать направлению моды по внешнему виду, материалу, отделке. К одежной
фурнитуре относятся пуговицы, крючки, петли, кнопки, пряжки, застежки-молнии.
Для разрабатываемой модели применяются пуговицы которые классифицируются по
следующим признакам:
По назначению пуговицы делят на пальтовые, пиджачные, платьевые, брючные,
бельевые, форменные и детские.
По исходному материалу различают пуговицы пластмассовые, металлические,
керамические, деревянные, костяные, перламутровые, комбинированные и др.
По внешнему виду различают: по форме - круглые, овальные,
полушарообразные, четырехугольные, цилиндрические и др.; по характеру лицевой
поверхности - гладкие и рельефные; по окраске - черные, белые, цветные,
пестрые, с различными декоративными эффектами.
По способу прикрепления к одежде бывают с двумя или четырьмя отверстиями,
с ушком, с полупотайным ушком и формованные на одежде.
По способу отделки пуговицы бывают рядовые и отделочные. В данном женском
пальто используем круглые полиэфирные пуговицы на ножке. Диаметр пуговиц 25 мм
в соответствии с ГОСТ 20282-86. Размеры пуговиц представлены в таблице 3.6
Таблица 3.6 Размеры пуговиц.
|
Максимальный размер
пуговицы
|
Размер отверстия
|
Высота ножки
|
|
23-30
|
2.5
|
5.5
|
3.2 Оценка эффективности проектируемой
технологии
Технология изделия должна обеспечить более экономичное его изготовление
по сравнению с ранее выпускаемыми изделиями аналогичного назначения. Чтобы
добиться реализации этого требования, следует отдавать предпочтение методам
обработки, которые соответствуют уровню современной техники, технологии и
организации производства, обеспечивают единообразие и повторяемость операций и
приемов [7].
При изготовлении моделей одного потока должны быть использованы
однородное оборудование, приспособления и устройства, технологически неделимые
операции должны быть близки по времени, номенклатуре и последовательности
выполнения, а рабочие потока должны иметь однородные квалификацию и
специальность. Если модели отвечают перечисленным требованиям, то поток будет
работать ритмично, без нарушения схем сборки.
На современном производстве работа по совершенствованию технологических
операций ведется в следующих направлениях:
сокращение области применения методов выполнения временных соединений, а
также нанесения меловых линий и ручной подрезки полуфабрикатов;
сокращение любых ручных работ (механизация и автоматизация ручных);
повышение точности выкраивания деталей за счет использования
автоматизированных раскройных комплексов в раскройном цехе с целью сокращения
объема работ по ручной подрезке деталей;
расширение области применения клеевого соединения вместо ниточного для
внутреннего закрепления швов, придания формоустойчивости деталям и узлам
одежды, для отделки деталей аппликациями и других работ;
совершенствование технологии на базе применяемых швейных машин с набором
автоматизированных функций.
Для изготовления пальто-сюртука были выбраны промышленные методы
обработки, позволяющие применять новое высокоэффективное оборудование и
приспособления малой механизации [8].
Например, машина 97-а кл. «Промшвеймаш» была заменена на «Дюркопп»
212-115105/E112 одноигольную стачивающую машину, в которой имеется
автоматизированный привод с выполнением типовых функций: остановка и фиксация
иглы, подъем лапки, обрезка ниток. Эта машина в качестве транспортирующего
механизма имеет рейку и отклоняющуюся иглу, для предотвращения посадки ткани
при стачивании.
Стачивающую и обметочную машины, при обработке подкладки, можно заменить
на машину с одновременным обмётыванием и стачиванием детали Джуки MO-816-FF6
T001. Это поможет уменьшить время на стачивание детали, передачу её с одной
производственной машины на другую, удаления ниток, облегчит ВТО швов.
Машина 2222 кл ПО «Промшвеймаш» для вымётывания бортов, воротников,
замётывание рукавов может быть заменена на «Дюркопп» 929 D которая смётывает и вымётывает края
одновременно посаживая верхнюю деталь.
Машина для втачивания рукава с посадкой АО концерн «Подольск» 302-2
заменена на машину «Дюркопп» 697D которая втачивает рукава и одновременно
прикрепляет плечевые накладки.
Машина АО «Орша» 1025 для обметывания прямых петель была заменена на
полуавтомат фирмы Дюркопп 558-31391E334/28 которая автоматически обмётывает петли.
Машина для обмётывания срезов 51А кл. Подольского механического завода
была заменена на более современную обмёточную машину SIRUBA 737FS-504M2-04
которая имеет высокую скорость вращения главного вала и оборудована устройством
закрепки конца цепочки.
Анализ метода обработки с внедрением высокоэффективного оборудования
представлен в таблице 3.7 на примере обработки подкладки пальто-сюртука.
Таблица 3.7 Анализ методов обработки подкладки женского пальто-сюртука
|
№ п/п
|
Наименование операции
|
1 метод
|
№ п/п
|
2 метод
|
|
|
Сп
|
Оборудование
|
|
Сп
|
Оборудование
|
|
1
|
Стачивание вытачек на
полочках и спинке
|
М
|
97-А «Пром-швеймаш»
|
1
|
М
|
1820-5 «Орша»
|
|
2
|
Стачивание боковых срезов
полочек и спинки
|
М
|
97-А «Пром-швеймаш»
|
2
|
С
|
MO-816-FF6 T001 «Джуки» (с одновременным обметыванием срезов)
|
|
3
|
Обметывание стачанных
срезов
|
С
|
208 А «Пром-швеймаш»
|
-
|
-
|
-
|
|
4
|
Стачивание плечевых срезов
|
С
|
97-А «Пром-швеймаш»
|
3
|
С
|
MO-816-FF6 T001«Джуки» (с одновременным обметыванием срезов)
|
|
5
|
Обметывание стачанных
срезов
|
С
|
208 А «Пром-швеймаш»
|
-
|
-
|
-
|
|
6
|
Стачивание передних срезов
рукавов
|
М
|
97-А «Пром-швеймаш»
|
4
|
С
|
«Дюркопп»
212-115105/E112
|
|
7
|
Разутюживание припусков шва
стачивания
|
У
|
CS-394 К+395/11
|
5
|
У
|
Cs-371
KM+12-45+396В «Паннония»
|
|
8
|
Распределение посадки по
окату подкладки рукава
|
Р
|
Игла, нити
|
-
|
-
|
-
|
|
9
|
Втачивание подкладки
рукавов в проймы подкладки
|
М
|
97-А «Пром-швеймаш»
|
6
|
С
|
697-24155 «Дюркопп» (с
одновременным распределением посадки по окату)
|
|
10
|
Приутюживание подкладки
|
У
|
CS-394 К+395/11
|
7
|
У
|
Cs-394KЕ-2+1392 «Паннония»
|
В результате анализа метода обработки подкладки изделия 2 метод оказался
более эффективным, за счет использования стачивающе-обмёточной машины при
которой снизилось число выполняемых операций на три и повысилось качество
изделия.
Методы обработки выбраны по типовой технологической документации с учетом
опыта передовых швейных предприятий и основных направлений развития швейной
промышленности. Предпочтения отдаются методам обработки, которые при
минимальных трудовых и материальных затратах обеспечивают высокое качество
изготавливаемых изделий.
3.3. Выбор оборудования, приспособлений и
технологических режимов обработки
В данном разделе изложены основы выполнения изготовления проектируемых
пальто-сюртуков, главной задачей которых является повышение производительности
труда, улучшение качества изготовления изделий.
На основе конструктивного решения проектируемых пальто-сюртуков, свойств
применяемых материалов выбраны основные виды соединения деталей изделия
(ниточные, клеевые), их обработки и отделки. С учетом основных и прикладных
материалов определены виды швов и строчек, частота стежков, ширина швов, режимы
склеивания деталей и влажно-тепловой обработки. Характеристика общих технических
условий приведена в соответствии с общими требованиями изложенных в
государственных и отраслевых стандартах и другой нормативно-технической
документации на изготовление пальто-сюртука женского. Характеристика машинных
строчек и швов, применяемых при изготовлении проектируемой серии моделей
приведена в таблице 3.8
Таблица 3.8 Характеристика машинных строчек и швов, применяемых при
изготовлении проектируемой модели.
|
№п/п
|
Виды соединений и отделки
деталей изделия
|
Перечень обрабатываемых
деталей
|
|
Наименование соединения,
обработки или отделки деталей изделия
|
Конструктивно-технологическое
решение
|
Технические условия
соединения, обработки или отделки деталей изделия
|
|
|
1
|
2
|
3
|
4
|
5
|
|
1
|
Стачной шов взаутюжку.
|
1.01.01/301 Nниток = 35 ЛЛ Чстежков=
3,5/1см. Nиглы = 90 Шшва = 1,0
|
Соединение деталей верха,
подклада с верхом, стачивание спинки
|
|
|
2
|
Обтачной в кант.
|
1.06.02/301 Nниток = 35 ЛЛ Чстежков=
3,5/1см. Nиглы = 90 Шшва = 0,7
|
Обработка бортов, воротника
|
|
|
3
|
Стачной шов вразутюжку.
|
1.01.01/301
|
Nниток = 35 ЛЛ Шшва = 1,0 Чстежков= 5 Nиглы
= 90
|
Плечевые срезы, средний шов
спинки, боковые срезы полочек и спинки, локтевые срезы.
|
|
4
|
Стачной взаутюжку с
обмётанными краями
|
1.01.05/301.505
|
Nниток = 24ЛТ Шшва = 0,5
Чстежков= 5 Nиглы = 75
|
Обработка подкладки
|
|
5
|
Краевой вподгибку с
закрытым срезом
|
6.03.01/ 103
|
Nниток = 35ЛЛ Шшва = 1,0
Чстежков= 5 Nиглы = 90
|
Обработка низа подкладки
|
|
6
|
Краевой вподгибку с
обмётанным срезом
|
6.02.00/103
|
Nниток = 35ЛЛ Шшва = 0,5
Чстежков= 5 Nиглы = 90
|
Обработка низа пальто
|
|
7
|
Прямые петли
|
|
Nниток = 35ЛЛ Чстежков= 3
Nиглы = 90
|
Для обработки застёжки
|
На основе анализа проведённого в пункте 3.2 было подобрано
высокоэффективное швейное оборудование. Технологический процесс обработки и
сборки деталей и узлов пальто состоит из разнообразных операций, некоторые из
них выполняют на швейных машинах полуавтоматического действия. К таким
относятся: изготовление прямых обметочных петель с автоматическим перемещением
полочек от готовой петли к месту изготовления следующей петли и пришивание
пуговиц.
Качество швов во многом зависит от вида применяемых швейных машин и
правильности их настройки на выполнение конкретной операции в соответствии с
применяемыми нитками и стачиваемыми материалами.
При выборе того или иного вида швейной машины следует учитывать, что
лучшее качество можно получить при выполнении операций на швейных машинах,
оснащенных специальными механизмами перемещения материалов: дифференциальным;
комбинированным - с верхней и нижней рейками и отклоняющейся вдоль строчки
иглой [7]. Машины со специальными механизмами перемещения материалов
целесообразно использовать при выполнении швов, от качества которых зависит
внешний вид изделия, а также при применении различных средств малой механизации
и приспособлений. Характеристика швейного оборудования, применяемого при
изготовлении пальто-сюртука представлена в таблице 3.9
Таблица 3.9 Характеристика используемого швейного оборудования.
|
Оборудование и фирма
изготовитель
|
Тип или класс машины
|
Скорость, об/мин
|
Длина стежка, мм
|
Механизм перемещения
материала
|
Толщина сшиваемых
материалов, мм
|
Наименование средства малой
механизации
|
Технологические операции
|
|
|
1
|
2
|
3
|
4
|
5
|
6
|
7
|
8
|
|
|
«Дюркопп»
|
212-115105/E112
|
5000
|
3,5
|
Нижняя рейка и
отклоняющаяся игла
|
4
|
Автоматизированы типовые
функции (выполнение закрепки, подъём и остановка иглы, обрезка нити)
|
Стачивание, притачивание,
застрачивание, настрачивание
|
|
|
ОА «Орша»
|
1820-5
|
2000
|
2,5
|
-
|
5
|
-
|
Стачивание вытачек
|
|
|
«Джуки»
|
MO-816-FF6 T001
|
5500
|
Ширина обметывания 3.2
Расстояние между иглами 3.2 мм
|
Нижняя зубчатая рейка
|
3
|
Нож для обрезки среза ткани
|
Стачивание, с одновременным
обметыванием срезов.
|
|
|
«Дюркопп»
|
929D
|
4000
|
6.0-8.0
|
Зубчатая рейка.
|
3
|
_
|
Выметывание краев бортов с
посадкой верхней детали.
|
|
|
«Дюркопп»
|
697D
|
1500
|
4,5
|
Нижняя и верхняя зубчатые
рейки
|
4
|
-
|
Втачивание рукавов и
прикрепление плечевых накладок
|
|
SIRUBA
|
737FS-504M2-04
|
6500
|
Максимальная длина стежка -
3,6 мм Ширина обметки - 4 мм
|
-
|
4
|
Оверлок оборудован
устройством закрепки конца цепочки
|
Обмётывание низа пальто и
кармана
|
|
«Дюркопп»
|
558-31391E334/28
|
2000
|
Ширина обметывания петель -
2 - 3 мм.
|
Специаль-ный
двига-тель
|
4
|
-
|
Полуавтомат для обмётывания
петель
|
|
«Дюркопп»
|
564 - 30/02 - 15
|
1800
|
5
|
Специаль-ный двига-тель
|
5
|
С нитеобрезателем
|
Пришивание пуговиц на ножке
|
|
|
|
|
|
|
|
|
|
|
|
|
|
|
При выборе оборудования был проведен сравнительный анализ технических
достоинств оборудования разных производителей. Выбрано оборудование для
изготовления изделий из разных материалов. Было использовано оборудование
минимального числа фирм, что позволяет снизить эксплуатационные затраты при
обслуживании и взаимозаменяемости комплектующих деталей.
Выбор оборудования для ВТО.
При изготовлении изделий из пальтовых тканей особое значение приобретает
обеспечение устойчивости формы и предохранение от растяжения деталей путем их
соединения с клеевым прокладочным материалом. Для обеспечения качественного
соединения деталей с прокладками, необходимо повышенное давление и температура
для проникновения в структуру тканей как можно большего числа частиц клея.
Влажно-тепловую обработку деталей и изделий из пальтовых тканей
рекомендуется производить в основном на прессах. Перечень оборудования для ВТО
приведен в таблице 3.10
Таблица 3.10 Характеристика оборудования для влажно-тепловой обработки и
склеивания
|
Вид оборудования,
предприятие изготовитель
|
Усилие прессования
|
Тип привода
|
Время дублирования с
|
Тип нагрева
|
Температура нагрева ˚С
|
Выполняемая операция
|
|
Cs-371
KMH-1+32-36A+956 «Паннония»
|
0,6 мПа
|
Электрический проходного
типа
|
20-30
|
Электрический
|
150-160
|
Дублирование деталей.
|
|
Cs-1351+12-10+396В «Паннония»
|
0,6 мПа
|
Электрический проходного
типа
|
15-20
|
Электрический
|
130-150
|
Заутюживание, приутюживание
полочек,спинки, воротника, низа пальто, боковых швов, низа изделия.
|
|
Cs-351 P2M+22-215+396В
«Паннония»
|
0,6 мПа
|
-
|
15
|
Паровой
|
130-140
|
Разутюживание швов рукавов
|
|
Cs-371 KM+12-45+396В
«Паннония»
|
0,6 мПа
|
Электрический проходного
типа
|
20-30
|
Электрический
|
130-150
|
Разутюживание боковых швов
и среднего шва спинки
|
|
LW-29+LY-152 (левый) LW-30+LY-153(правый) «Протомет»
|
0,6 мПа
|
-
|
30
|
Паровой
|
130-140
|
Приутюживание окатов,
проймы и верхней части рукава
|
|
Cs-394 KЕ-2+1392
«Паннония»
|
-
|
-
|
10-15
|
-
|
-
|
Приутюживание подкладки,
прикрепление клеевой кромки
|
Клеевые соединения деталей изделия.
Сущность процесса склеивания с использованием термопластических клеевых
материалов заключается в том, что при нагревании склеиваемых материалов,
находящихся под давлением, термопластичный клей, достигнув определенной
температуры, переходит в вязкотекучее состояние, проникает в склеиваемые
материалы на некоторую часть их толщины, где затем при охлаждении закрепляется
с образованием клеевого соединения. Параметры дублирования приведены в таблице
3.11
Таблица 3.11 Параметры дублирования используемые при проектировании
модели.
|
Наименование операции
|
Вид склеиваемых материалов
|
Вид клеев вещества
|
Режимы склеивания
|
|
|
|
tº прессующей поверхности, ºС
|
Время прессования (сек)
|
Давление прессования (Па)
|
Влажность
|
|
1
|
2
|
3
|
4
|
5
|
6
|
7
|
|
Дублирование полочки,
спинки, бортов, воротника
|
Ткань из х/б пряжи с
односторонним начесом, с точечным регулярным клеевым покрытием арт. 7067-Н1
|
ПА-6/6,6
|
150-160
|
20-30
|
0,03-0,05
|
30-35
|
|
Дублирование мелких деталей
пальто
|
Нетканое клеевое полотно из
вискозных и нитроновых волокон (прокламелин) арт.935508
|
ПА-12/6/6,6
|
120-140
|
15-30
|
0,03-0,05
|
0-25
|
|
Кромка в мелкие детали, низ
спинки, рукава, проймы
|
Ткань кромочная со сплошным
покрытием клея (бязь) арт. 276H1
|
БФ-6
|
160-170
|
-
|
Масса утюга
|
30
|
Параметры влажно-тепловой обработки изделия.
Под влажно-тепловой обработкой швейных изделий понимают специальную
обработку деталей или изделия влагой, теплом и давлением с помощью специального
оборудования. При изготовлении одежды влажно тепловая обработка составляет
приблизительно 15-25% всей трудоемкости изделия. Параметры ВТО подобранные в
соответствии с основными свойствами для основного и подкладочного материалов
представлены в таблицах 3.12 и 3.13
Таблица 3.12 Параметры ВТО для основного материала.
|
Температура прессования, Сº
|
Усилие прессования, КПа
|
Время обработки, С
|
Увлажнение к массе
материала
|
|
Пресса
|
Утюга
|
|
На прессе
|
Утюгом
|
|
|
150
|
30
|
15
|
23
|
30
|
Таблица 3.13 Параметры ВТО для подкладочного материала.
|
Температура прессования, Сº
|
Усилие прессования, КПа
|
Время обработки, С
|
Увлажнение к массе
материала
|
|
Пресса
|
Утюга
|
|
На прессе
|
Утюгом
|
|
|
Подкладка
вискозно-ацетатная:
|
|
|
140-160
|
160 - 180
|
15-100(4-6)
|
10 - 45
|
30
|
20 - 30
|
|
|
|
|
|
|
|
|
|
|
|
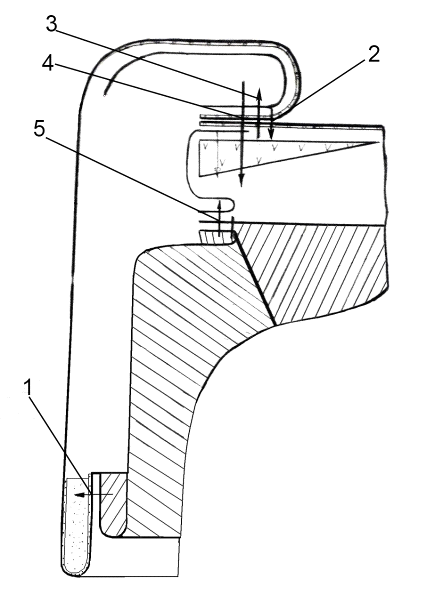
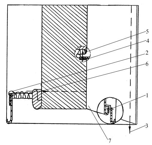
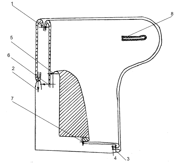
На основе выбранных методов обработки и оборудования, составлена схема
сборки женского пальто-сюртука и справочник технологических операций процесса
таблица 3.14
Схема сборки сюртука женского
Монтаж
3.4 Разработка справочника технологических
операций процесса
Таблица 3.14 Справочник технологических операций процесса
|
№ п/п
|
Наименование неделимой
операции
|
Специальность
|
Оборудование приспособления
|
Технические условия на
выполнение
|
|
1
|
2
|
3
|
4
|
5
|
|
Обработка накладного
кармана
|
|
1
|
Фронтальное дублирование
накладного кармана клеевой прокладкой
|
П
|
Cs-371
KMH-1+32-36A+956 «Паннония»
|
На нижнюю подушку пресса
укладывают деталь из основной ткани изнаночной стороной вверх. Срезы
прокладок должны входить в швы соединения деталей на 1-5 мм.
|
|
2
|
Прокладывание клеевой
кромки в припуск на подгиб верхнего края кармана
|
У
|
Стол утюжильный Cs
-394 KE-2+1392 «Паннония»
|
Клеевую кромку прокладывают
с изнаночной стороны с небольшим натяжением в припуск на подгиб верхнего края
кармана на 5-6 мм.
|
|
3
|
Притачивание подкладки к
припуску на подгиб верхнего края кармана
|
М
|
Дюркопп
212-115105/E112
|
К припуску на подгиб
верхнего края кармана притачивают подкладку шириной шва 5 мм
|
|
4
|
Обмётывание боковых и
нижних срезов кармана с подкладкой
|
С
|
737FS-504M2-04 SIRUBA
|
Карман и подкладку
складывают уравнивая срезы обмётывают со стороны подкладки шириной шва 5 мм.
|
|
Обработка полочек
|
|
5
|
Фронтальное дублирование
полочек клеевой прокладкой
|
П
|
Cs-371 KMH-1+32-36A+956
«Паннония»
|
На нижнюю подушку пресса
укладывают деталь из основной ткани изнаночной стороной вверх. Срезы
прокладок должны входить в швы соединения деталей не менее чем на 1-2 мм.
|
|
6
|
Стачивание боковых вытачек
|
М
|
АО «Орша» 1820-5
|
Боковые вытачки стачивают
швом шириной 10 мм, сводя строчку в конце вытачки на нет на 10 мм
|
|
7
|
Разутюживание боковых
вытачек
|
У
|
Cs
-1351+12-10+396B «Паннония»
|
Вытачки разутюживают до
плотного прилегания сторон с использованием пропаривания через подошву утюга
и вакуум-отсоса. Через поверхность стола производят охлаждение
обрабатываемого участка изделия.
|
|
8
|
Намелка местоположения
накладного кармана на полочке
|
Р
|
Лекало, мел
|
С помощью лекала намеляют местоположения кармана на
полочке
|
|
9
|
Притачивание накладного
кармана на полочку
|
М
|
Дюркопп 212-115105/E112
|
Кармана вместе с подкладкой
совмещая нанесённые линии притачивают к полочке шириной шва 10 мм
|
|
10
|
Приутюживание полочки
|
П
|
Cs -1351+12-10+396B
«Паннония»
|
Полочку с накладными
карманами укладывают на подушку пресса изнанкой вверх и прессуют.
|
|
11
|
Прокладывание клеевой
кромки в проймы полочек
|
У
|
Стол утюжильный Cs -394
KE-2+1392 «Паннония»
|
Прокладывают в проймы
полочек с натяжением, кромку располагают от среза проймы на расстоянии 5-6
мм.
|
|
Обработка спинки
|
|
12
|
Дублирование горловины
спинки клеевой прокладкой
|
П
|
Cs-371 KMH-1+32-36A+956
«Паннония»
|
На нижнюю подушку пресса
укладывают деталь из основной ткани изнаночной стороной вверх. Срезы
прокладок должны входить в швы соединения деталей не менее чем на 1-2 мм.
|
|
13
|
Дублирование припуска на
подгиб низа спинки клеевой прокладкой
|
|
|
|
|
14
|
Дублирование припуска на
подгиб низа боковой части спинки прокладкой
|
|
|
|
|
15
|
Стачивание рельефных срезов
спинки
|
М
|
Дюркопп 212-115105/E112
|
Рельефные срезы спинки
стачивают швом шириной 15 мм со стороны бочка и 7 мм со стороны средней части
спинки
|
|
16
|
Заутюживание рельефов
спинки
|
У
|
Cs
-1351+12-10+396B «Паннония»
|
Рельефы спинки
разутюживают, затем заутюживают до плотного прилегания швов.
|
|
17
|
Стачивание среднего шва
спинки.
|
М
|
Дюркопп 212-115105/E112
|
Средний шов спинки
стачивают шириной шва 10 мм, начиная строчку от верха спинки. Частота строчки
4-5 стежков в 10мм
|
|
18
|
Разутюживание среднего шва
спинки.
|
П
|
Cs-371 KM+12-45+396В
«Паннония»
|
Средний шов спинки
заутюживают на прессе, предварительно разутюживая и заутюживая шов утюгом.
|
|
19
|
Прокладывание клеевой
кромки в проймы спинки
|
У
|
Утюжильный стол CS-394KE-2+1392
«Паннония»
|
Кромку по пройме
прокладывают с натяжением, располагая от среза проймы на расстоянии 5 мм.
|
|
Обработка подборта
|
|
20
|
Дублирование подборта
|
П
|
Cs-371 KMH-1+32-36A+956
«Паннония»
|
На нижнюю подушку пресса
укладывают деталь из основной ткани изнаночной стороной вверх. Срезы
прокладок должны входить в швы соединения деталей не менее чем на 1-2 мм
|
|
Обработка рукавов
|
|
21
|
Дублирование припуска на
подгиб низа рукавов клеевой прокладкой
|
П
|
Cs-371 KMH-1+32-36A+956
«Паннония»
|
На нижнюю подушку пресса
укладывают деталь из основной ткани изнаночной стороной вверх. Срезы
прокладок должны входить в швы соединения деталей не менее чем на 1-2 мм.
Прокладку в низ рукавов располагают со стороны припуска на подгиб.
|
|
22
|
Стачивание локтевых срезов
рукавов
|
М
|
Дюркопп 212-115105/E112
|
Локтевые срезы рукавов
стачивают по нижней половинке рукава, посаживая верхнюю половинку в области
локтя на 10-15 мм. Ширина шва 10 мм.
|
|
23
|
Разутюживание локтевых швов
рукавов
|
П
|
Cs-351
P2M+22-215+396B «Паннония»
|
На подушке пресса одевают
рукава изнанкой вверх, размещая швы на выпуклой поверхности подушек. Швы
раскалывают паровым утюгом и прессуют.
|
|
24
|
Намелка линии низа рукавов
|
Р
|
Мел, лекало
|
С помощью лекала и мела с
изнаночной стороны намечают линию низа рукавов.
|
|
25
|
Замётывание низа рукавов
|
С/М
|
929D Дюркопп
|
Припуск на подгиб низа
рукавов перегибают по меловой линии и замётывают, прокладывая строчку на 7-10
мм от края.
|
|
26
|
Приутюживание низа рукавов
|
П
|
Cs-1351+12-10+396В
«Паннония»
|
Рукава укладывают на
подушку пресса изнанкой вверх, спуская верхнюю часть рукава с подушки пресса
и прессуют.
|
|
27
|
Вывёртывание рукавов на
лицевую сторону
|
Р
|
-
|
Рукава вывёртывают на
лицевую сторону через верхнюю часть рукава
|
|
28
|
Удаление нитей замётывания
низа рукавов
|
Р
|
Спецколышек
|
Нити замётывания низа
рукавов удаляют специальным колышком, поддевая за один из стежков конца
строчки
|
|
Обработка подкладки
|
|
29
|
Стачивание вытачек на
полочке.
|
М
|
АО«Орша»1820-5
|
Вытачки на полочке
стачивают швом шириной 10 мм, сводя строчку в концах вытачек на нет на 10 мм.
|
|
30
|
Стачивание вытачек на
спинке.
|
М
|
АО«Орша»1820-5
|
Стачивание вытачек на
спинке шириной шва 10 мм.
|
|
31
|
Стачивание среднего шва на
спинке.
|
М
|
MO-816-FF6 T001 «Джуки»
|
Средний шов спинки
стачивают шириной шва 10мм.
|
|
32
|
Стачивание боковых срезов.
|
М
|
MO-816-FF6 T001 «Джуки»
|
Боковые срезы стачивают до
контрольных знаков шириной шва 10 мм.
|
|
33
|
Стачивание плечевых срезов.
|
М
|
MO-816-FF6 T001 «Джуки»
|
Плечевые срезы стачивают со
стороны спинки, уравнивая срезы шириной шва 10 мм.
|
|
34
|
Стачивание среза рукава.
|
М
|
MO-816-FF6 T001 «Джуки»
|
Передние срезы стачивают по
верхней части рукава, уравнивая срезы шириной шва 10 мм.
|
|
35
|
Втачивание подкладки рукава
в проймы подкладки
|
М
|
697D «Дюркопп»
|
Рукава втачивают со стороны
в проймы, совмещая локтевые с надсечками ширина шва 10 мм.
|
|
36
|
Притачивание концов вешалки
к горловине спинки
|
М
|
Дюркопп 212-115105/E112
|
Концы вешалки располагают
симметрично относительно среднего шва спинки и настрачивают тройной обратной
строчкой.
|
|
37
|
Приутюживание подкладки.
|
У
|
Утюжильный стол
CS-394KE-2+1392 Паннония
|
Подкладку приутюживают, заутюживая
швы.
|
|
38
|
Настрачивание тканевой
ленты с товарным знаком на полочку подкладки
|
М
|
Дюркопп 212-115105/E112
|
Тканевую ленту настрачивают
на правую полочку подкладки по контрольным знакам. Один срез ленты уравнивают
с боковым срезом подкладки, второй срез настрачивают с подгибом среза.
|
|
Монтаж
|
|
39
|
Стачивание боковых срезов
пальто
|
М
|
Дюркопп 212-115105/E112
|
Стачивают боковые срезы со
стороны спинки, посаживая полочку на уровне боковых карманов. Ширина шва 10
мм.
|
|
40
|
Стачивание плечевых срезов
пальто
|
М
|
Дюркопп 212-115105/E112
|
Стачивают плечевые срезы со
стороны спинки, посаживая спинку в области лопаток. Ширина шва 10 мм.
|
|
41
|
Разутюживание боковых швов
и среднего шва спинки
|
П
|
CS-371 KM +12-45+396B Паннония
|
На среднюю подушку пресса
укладывают средний шов спинки изнаночной стороной вверх, расправляя его.
Боковые швы размещают на крайних подушках. Низ пальто располагают справа. При
укладке швов используют вакуум-отсос. Швы раскалывают паровым утюгом. Затем
пресс закрывают и выполняют разутюживание швов.
|
|
42
|
Стачивание среднего среза
стойки
|
М
|
Дюркопп 212-115105/E112
|
Средний срез стойки
стачивают шириной шва 7 мм
|
|
43
|
Разутюживание среднего
среза стойки
|
П
|
CS-371 KM +12-45+396B
Паннония
|
Припуски шва стойки
разутюживают до полного прилегания.
|
|
44
|
Втачивание верхней стойки в
горловину
|
М
|
Дюркопп 212-115105/E112
|
Верхнюю стойку воротника
втачивают в горловину со стороны основной детали шириной шва 7 мм.
|
|
45
|
Обтачивание борта подбортом
и фигурного выступа воротника
|
М
|
Дюркопп 212-115105/E112
|
Обтачивают детали,
уравнивая срезы. Ширина шва обтачивания 0,8см
|
|
46
|
Разутюживание припуска шва
обтачивания
|
П
|
CS-371 KM +12-45+396B
Паннония
|
Припуски разутюживают до
полного прилегания к деталям.
|
|
47
|
Надсекание припуска шва
обтачивания борта и фигурного выступа воротника
|
Р
|
Ножницы
|
В концах уступов
проставляют рассечки до строчки обтачивания и надсекают шов не доходя до
строчки 2-3мм.
|
|
48
|
Вывертывание борта
|
Р
|
Спецколышек
|
Вывертывают на лицевую
сторону, выправляя углы и швы
|
|
49
|
Выметывание края борта
|
С/М
|
929D Дюркопп
|
Борта вымётывают, с образованием
канта, прокладывая строчку на расстоянии 7мм от сгиба бортов.
|
|
50
|
Приутюживание края борта
|
П
|
Cs-1351+12-10+396В
«Паннония»
|
Край борта приутюживают до
полного прилегания
|
|
51
|
Нанесение меловых линий по
низу пальто и уточнение
|
Р
|
Мел, лекало
|
Линию подгиба низа пальто
намечают по лекалу с лицевой стороны за два приема. Пальто расправляют по
низу и подмеляют линию подгиба низа спинки и затем отвертывают нижний край
полочки и намечают линию подгиба низа пальто на полочке, для прокладывания
конца кромки по борту.
|
|
52
|
Обметывание низа пальто
|
С
|
737FS-504M2-04 SIRUBA
|
Срезы низа пальто
обметывают со стороны основной ткани шириной 5-6мм.
|
|
53
|
Заметывание низа пальто
|
С/М
|
929D Дюркопп
|
Низ пальто вправляют и
заметывают со стороны припуска на расстоянии 7мм от перегиба низа пальто.
|
|
54
|
Подшивание низа пальто
|
М
|
Дюркопп 212-115105/E112
|
Припуск на подгиб низа
пришивают по низу располагая пальто с правой стороны от работницы изнаночной
стороной вверх.
|
|
55
|
Нанесение контрольных
меловых знаков на внутренних краях подбортов для притачивания подкладки
|
Р
|
Мел, лекало
|
Пальто раскладывают
изнаночной стороной вверх, расправляют срезы подбортов и лекала, и
проставляют меловые знаки га подкладке и на подбортах
|
|
56
|
Притачивание подкладки к
подбортам и воротнику стойки
|
М
|
Дюркопп 212-115105/E112
|
Притачивают со стороны
подкладки низа левой полочки совмещая надсечки, ширина шва 10мм
|
|
57
|
Втачивание рукавов в проймы
|
С/М
|
697D Дюркопп
|
Рукава втачивают со стороны
рукавов швом шириной 10 мм, распределяя посадку рукавов согласно надсечкам.
Строчка в концах швов должна заходить одна на другую на 15-20 мм
|
|
58
|
Сутюживание посадки швов
втачивания рукавов
|
П
|
Стол утюжильный Cs-394 K+395/11 Паннония
|
На спецколодку пресса
одевают пройму рукава, увлажняют шов втачивания рукава в пройму и прессуют.
|
|
59
|
Пришивание подокатников
|
М
|
Дюркопп 212-115105/E112
|
Подокатники пришивают со
стороны проймы рукавов, прокладывая строчку по подокатникам на расстоянии 1-2
мм от швов втачивания рукавов. Подокатники равномерно располагают от
плечевого шва в одну и другую сторону.
|
|
60
|
Пришивание верхних плечевых
накладок
|
М
|
Дюркопп 212-115105/E112
|
Плечевые накладки пришивают
к пройме, располагая строчку на расстоянии 1 мм от строчки втачивания
рукавов. Середину плечевых накладок совмещают с плечевыми швами.
|
|
61
|
Вывертывание рукавов на
изнаночную сторону
|
Р
|
-
|
Вывертывают и выправляют
|
|
62
|
Притачивание подкладки к
низу рукавов
|
М
|
Дюркопп 212-115105/E112
|
Подкладку к припуску на
подгиб низа рукавов притачивают швом 10 мм прокладывая строчку со стороны
рукавов. Концы строчек должны заходить друг на друга на 15 мм
|
|
63
|
Прикрепление припуска на
подгиб низа рукава по локтевому шву
|
М
|
Дюркопп 212-115105/E112
|
|
64
|
Вывертывание рукавов на
лицевую сторону
|
Р
|
Спецколышек
|
Вывертывают и расправляют
|
|
65
|
Прикрепление проймы
подкладки в верхней части с помощью отрезка ткани
|
М
|
Дюркопп 212-115105/E112
|
Пройму подкладки
прикрепляют в верхней части со стороны отрезка ткани над плечевым швами
шириной шва 8мм
|
|
66
|
Прикрепление проймы
подкладки к нижней части
|
М
|
Дюркопп 212-115105/E112
|
Прикрепляют к нижней части
швом 8мм на расстоянии 8-10см
|
|
67
|
Застрачивание отверстия в
шве подкладки рукава
|
М
|
Дюркопп 212-115105/E112
|
Застрачивают шириной шва
1мм
|
|
68
|
Вывертывание пальто на
лицевую сторону
|
Р
|
Спецколышек
|
Вывертывают и расправляют
|
|
69
|
Уточнение подкладки с
изделием и подрезка подкладки по низу
|
Р
|
Мел, ножницы
|
Пальто с подкладкой
расправляют на столе, подмеляют подкладку по низу и подрезают подкладку по
меловой линии.
|
|
70
|
Застрачивание низа
подкладки
|
М
|
Дюркопп 212-115105/E112
|
Подкладку по низу
перегибают в сторону изнанки на 28-30мм подгибая внешний срез подкладки
внутрь на 8 мм и застрачивают. Строчку прокладывают по припуску на подгиб
низа подкладки
|
|
71
|
Прикрепление уголков
подбортов к припуску на подгиб низа
|
М
|
Дюркопп 212-115105/E112
|
Прикрепление уголков
подбортов к припуску на подгиб низа
|
|
72
|
Удаление нитей вымётывания
бортов
|
Р
|
Спецколышек
|
Удаляют нити выметывания
борта, поддевая за один из стежков конца строчки.
|
|
Отделка
|
|
73
|
Чистка пальто
|
Р
|
Спец щетка
|
Пальто очищают от пыли и
загрязнения щеткой с лицевой и изнаночной сторон.
|
|
74
|
Приутюживание окатов,
проймы и верхней части рукавов
|
П
|
Прессы левый и правый LW-29+LY-152
LW-30+LY-153
|
Рукав пальто берут за
пройму со стороны подкладки и заправляют нижнюю ее часть под выдвижную
подушку пресса, а окат рукава расправляют на подушке. Другой рукав навешивают
на рычаг, расположенный за подушкой пресса. Обрабатывают окат рукава за 2
приёма. Опускают поочередно подушки для обработки передней и задней частей
оката рукава, выполняя прессование, одновременно с пропариванием-7с. Для
охлаждения изделия включают вакуум-отсос - 5с. Выдвижную подушку прижимают к
корпусу пресса и прессуют пройму за один приём одновременно с
пропариванием-5с. Выдвижную подушку возвращают в исходное положение.
Пропуская пар через выдвижную подушку, обрабатывают верхнюю часть рукава.
|
|
75
|
Приутюживание полочек
пальто
|
П
|
Cs-1351+12-10+396В
«Паннония»
|
Полочку укладывают лицевой
стороной вверх, бортом от работающего так, чтобы выпуклость в области груди
на полочке совпадала с выпуклостью на подушке. При этом пройма рукава не
должна попадать в зону прессования. Вторую полочку укладывают на другом
прессе. При укладывании полочек используют вакуум-отсос. Во время выполнения
операции выправляют низ, борта, вытачки, швы.
|
|
76
|
Приутюживание воротника,
бортов, низа
|
П
|
Cs-1351+12-10+396В
«Паннония»
|
На подушку пресса
укладывают обрабатываемые участки изделия, расправляют и прессуют.
|
|
77
|
Приутюживание боковых швов,
спинки пальто
|
П
|
Cs-371
KM+12-45+396В «Паннония»
|
На подушку пресса
укладывают боковой шов пальто, изделие располагают горловиной вправо, лицевой
стороной вверх. После прессования бокового шва изделие перемещают, располагая
в зоне обработки спинку и обрабатывают второй боковой шов. При укладывании
изделия на подушке используют вакуум-отсос.
|
|
78
|
Приутюживание изделия со
стороны подкладки
|
У
|
Cs-394 KЕ-2+1392 «Паннония»
|
Изделие на столе
располагают подкладкой вверх, горловиной влево. Подкладку отутюживают,
перемещая изделие на себя. 3амины подкладки отутюживают с использованием
технологического пара.
|
|
79
|
Обмётывание 5х петель.
|
С
|
Дюркопп 558-31391E334/28
|
Обметывание петель должно
быть, плотным, без просветов между стежками.
|
|
80
|
Наметка мест расположения 5
пуговиц.
|
Р
|
Мел, лекало
|
Место расположения пуговиц
намечают с лицевой стороны полочек согласно петлям
|
|
81
|
Пришивание 5 пуговиц.
|
С
|
Дюркопп 564 - 30/02 - 15
|
Пуговицы пришивают по
разметке «с ножкой». Пуговицы пришивают за 10 проколов в каждые 2 отверстия.
|
|
|
|
|
|
|
|
|
|
|
|
3.5 Разработка графической модели
технологического процесса
Графическая модель технологического процесса дает в сжатой форме
информацию о технологии изготовления, позволяет систематизировать информацию,
совершенствовать способы, отражает последовательный характер выполнения операций
и способствует систематизации процесса, рациональной организации работы.
ЗАКЛЮЧЕНИЕ
Так как главной задачей швейной промышленности является удовлетворение
потребностей покупателей в одежде высокого качества и разнообразного
ассортимента. Для совершенствования швейного производства предлагается
внедрение высокопроизводительного оборудования, поточных линий, расширение
ассортимента и повышение качества изделия, выпуск изделия, пользующийся
повышенным спросом, отвечающим по своим показателям лучшим современным
образцам.
В курсовом проекте были решены задачи и сделаны выводы:
создание 5 моделей женского пальто-сюртук, учитывая направления моды;
произведен выбор применяемого оборудования;
выбраны методы обработки, режимы и нормы соединения, согласно нормативно-технической
документации;
сборочные схемы узлов;
разработана технологическая последовательность обработки пальто.
При выборе оборудования провели сравнительный анализ технических
достоинств оборудования разных производителей. Выбрали оборудование для
изготовления изделий и учли возможность изготовления из разных материалов.
БИБЛИОГРАФИЧЕСКИЙ СПИСОК
1.
Промышленная технология одежды: Справочник (П.П.Кокеткин, Т.Н.Кочегура,
В.Н.Барышникова и др.) - М.: Легпромбытиздат, 2008. - 640с.
. Савостицкий
А.В. и др. Технология швейных изделий. - М.: Легкая индустрия, 2012.- 438с.
.
#"862711.files/image026.gif">
ПРИЛОЖЕНИЕ 3
Технический чертеж изделия
1 - 1 Воротник
|
№ строчки
|
Код шва
|
Ширина шва
|
|
1
|
1.01.01/301
|
0,7
|
|
2
|
1.01.01/301
|
0,7
|
|
3
|
1.01.01/301
|
0,7
|
|
4
|
1.01.02/301
|
0,5
|
|
5
|
1.01.01/301
|
1,0
|
|
6
|
504
|
0,5
|
2 - 2 Рукав
|
№ строчкиКод шваШирина шва
|
|
|
|
1
|
1.10.01 /301
|
0,8
|
|
2
|
1.01.02/301
|
0,5
|
|
3
|
1.01.01/301
|
1,0
|
|
4
|
1.01.02/301
|
1,0
|
|
5
|
1.01.02/301
|
0,7
|
3 - 3 Борт
|
№ строчкиКод шваШирина шва
|
|
|
|
1
|
6.02.06/103.505
|
0,7
|
|
2
|
6.02.06/103.505
|
1,0
|
|
3
|
6.02.06/103.505
|
1,0
|
|
4
|
1.01.02/ 206
|
0,1
|
|
5
|
1.01.02/301.505
|
1,0
|
|
6
|
6.03.01/301
|
-
|
4 - 4 Карман
|
№ строчкиКод шваШирина шва
|
|
|
|
1
|
1.01.01/301
|
0,7
|
|
2
|
504
|
0,5
|
|
3
|
1.01.01/301
|
1,0
|
5 - 5 Низ пальто
|
№ строчкиКод шваШирина шва
|
|
|
|
1
|
1.01.01/301
|
0,8
|
|
2
|
504
|
0,5
|
|
3
|
1.01.01/301
|
1,0
|
|
4
|
1.01.02/301
|
1,0
|
|
5
|
1.01.02/504
|
1,0
|
|
6
|
6.03.01/301
|
3,0
|
|
7
|
301
|
-
|