Аналіз ефективності операційної системи МПП 'Промінь-S'
Вступ
операційний менеджмент
автосервісний підприємство
Операційна система є центральною
ланкою будь якого підприємства яке виготовляє продукцію чи надає послуги.
Особливістю змісту операційної системи є те, що насамперед її елементами
виступають люди й машини. Крім того, виявляється, що більшість подібних систем
перетворюють одну кількість ресурсів-входів (матеріали, гроші) в іншу, більш
цінну кількість ресурсів-виходів (товари, послуги). Тому така система, як
правило, містить чотири класи елементів: люди, машини, матеріали і гроші. Така
система є основою всього будь-якого підприємницького процесу, досконалість
взаємодії її елементів забезпечує ефективність діяльності підприємства і його
успішність на ринку.
Досить істотним в операційній
системі є те, що елементи мають бути взаємопов’язаними (взаємозалежними,
взаємодіючими). Найрізноманітніші частини можуть бути об’єднані в ціле, але це
ціле ще не система, поки не сформовано певний діючий організм. Будь-яка система
може розглядатися як підсистема певної більш великої системи. Система перебуває
в постійній взаємодії із зовнішнім середовищем як певною сукупністю елементів.
Зміна властивостей останніх впливає на систему, а також на ті об’єкти, елементи
зовнішнього середовища, властивості яких змінюються в результаті поведінки
системи.
Правильно обрана стратегія,
структура виробництва і належні обсяги випуску продукції забезпечують бажаний
обсяг реалізації та відповідні масштабам цієї діяльності прибутки. Тому
виробнича діяльність підприємства, зовнішньо вільна та нічим не обмежена, в
решті-решт жорстко обумовлюється загальноекономічною ситуацією, галузевими
пропорціями та платоспроможним попитом населення.
Питаннями
операційного менеджменту займалися такі зарубіжні та вітчизняні вчені: Лес
Гелловей, Ричард Чейз, М. Маскон, М. Альберт, Ф. Хедоури, В.О. Василенко, О.М.
Гірняк, В.В. Дорофієнко, В.П. Колосюк, О.Є. Кузьмін, М.А. Корж, П.П.
Лазановський, Т.В. Омельченко, Т.І. Ткаченко, Ф.І. Хміль, А.В. Шегда та ін.
Актуальність проблеми. На
сьогоднішній день в умовах кризи ефективність операційного менеджменту є дуже
важлива для розвитку підприємства. Пошук ефективних шляхів розвитку
автосервісу, покращення його якості і комплексність є основною задачею
операційних менеджерів. Виконання цієї задачі повинно забезпечуватися на основі
покращення операційної системи підприємства за рахунок оснащення виробництв
прогресивним обладнанням, використанням нових технологій та постійному
розширенні асортименту послуг.
Об`єкт дослідження. МПП
"Промінь-S".
Предмет дослідження. Операційна
системи автосервісного підприємства.
Мета дослідження. Покращення
операційної системи автосервісного підприємства за рахунок вдосконалення
структури управління, впровадження нових послуг та використання сучасного
обладнання і технологій.
Задачі дослідження. Відповідно темі
та меті магістерської роботи передбачається виконання наступних завдань:
·
визначення методик дослідження
ефективності операційного менеджменту автосервісного підприємства;
·
провести аналіз операційної системи
підприємства;
·
розробити та обґрунтувати заходи
щодо покращення операційної системи підприємства.
Методи дослідження. В даній роботі
використовувались наступні методи дослідження: метод системного аналізу, метод
причинно-наслідкового аналізу, метод порівняльного аналізу, методи прямого
структурного аналізу, теоретичне порівняння, теорія управління. Широко
використані праці вітчизняних і закордонних фахівців в області операційного
менеджменту.
Наукова новизна роботи полягає у
досліджені ефективності операційної системи МПП "Промінь-S",
вдосконаленні організаційної структури підприємства та використанні сучасного
обладнання та технологій фарбувальних послуг.
Кваліфікаційна магістерська робота
складається із змісту, вступу, трьох основних розділів висновків і пропозицій,
переліку посилань. Обсяг основної частини роботи складає 101 сторінку
пояснювальної записки. В процесі виконання магістерської роботи використано 43
джерела науково-методичної літератури.
Розділ 1. Теоретичні основи
дослідження операційного менеджменту автосервісного підприємства
.1 Функції і задачі операційної
системи підприємства
Операційна система
або операційний менеджмент є передумовою виробництва організацією товарів чи
послуг.
Операційна система
- повна система виробничої діяльності організації.
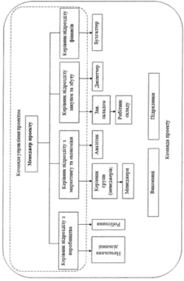
Утворюють операційну
систему такі підсистеми: переробна; забезпечувальна; підсистема управління
(рис. 1.1).
Рис. 1.1 - Структура операційної
системи
Переробна
підсистема виконує виробничу (продуктивну) роботу, безпосередньо пов’язану із
перетворенням вхідних ресурсів організації на вихідні результати. У процесі її
функціонування частина матеріальних і енергетичних ресурсів піддається
перетворенню (обробці), частина споживається під час виробничого процесу.
Функціонування переробної підсистеми вимагає певних капіталовкладень,
регулярного надходження інформації від підсистеми управління про зміни
технологій аналогічних виробництв у інших організаціях, про стан ринку
сировини, матеріалів, енергії та кінцевих продуктів, створених переробною
підсистемою.
Забезпечувальна
підсистема безпосередньо не пов’язана з виробництвом товарів чи послуг, однак
забезпечує діяльність переробної. До забезпечувальної підсистеми належать
обчислювальний центр, ремонтно-експлуатаційні, транспортні служби, охорона,
експедиція, будівельні підрозділи, підрозділи соціально-побутового характеру
тощо, її структура залежить від потреб і особливостей виробничого процесу, який
відбувається у переробній підсистемі. Залежно від специфіки виробництва деякі з
підрозділів забезпечувальної підсистеми можуть бути елементами переробної.
Підсистема
управління призначена для забезпечення функціонування переробної й
забезпечувальної підсистем. У ній визначають цілі, політику, основні напрями
розвитку операційної системи, планують випуск продукції (послуг), необхідні для
цього ресурси. Підсистема управління коригує діяльність інших підсистем
операційної системи, забезпечує їх взаємоузгоджене і ритмічне функціонування.
Для цього вона постійно отримує необхідну внутрішню інформацію про стан
переробної та забезпечувальної підсистем, наявність сировини, ресурсів тощо. Із
зовнішнього середовища в цю підсистему надходить інформація про попит на
продукцію, вартість ресурсів, тенденції розвитку технології, законодавчі та
нормативні акти тощо.
Підсистема управління є своєрідною
переробною підсистемою, ресурсом і продуктом діяльності якої є інформація.
Функціонування підсистеми управління забезпечують відповідні засоби й
інструменти для роботи з інформацією [16].
Відповідно до підсистем операційного
менеджменту визначаються і його функції, які можна поділити на технологічні і
управлінські. Технологічна функція пов’язана з технологічною діяльністю, не має
прямого відношення до управлінської функції. До управлінської функції
відноситься необхідність використання матеріальних, фінансових і людських
ресурсів. На відміну від працівників виробництва, які не мають відношення до
управління і виконують тільки виробничо-технологічну функцію, в обов’язки
менеджера входять не тільки вирішення управлінських задач, а й виробничих:
- по плануванню (стратегічному,
перспективному, поточному і оперативному);
- по реалізації виробничих
процесів на перспективу їх розвитку на прогнозний період (10 і більше років),
на 5-ти річну перспективу, поточну-річну перспективу і
оперативну-поквартальну-помісячну реалізацію планів по всім видам робіт,
ресурсів і організаційних заходів, необхідних для отримання запланованого
прибутку;
по організаційним питанням
- організаційний захід, щодо реалізації інвестиційних і інноваційних прогнозів,
особливостям управління інноваційною системою в менеджменті операційної системи
підприємства, управління підготовкою і забезпечення оновленого підприємства;
по координаційним питанням
- координанаційні заходи щодо організації управління оновленою операційною
системою в системі менеджменту інноваційного персоналу і економічного
обґрунтування управлінських рішень в умовах подолання підприємством економічних
ризиків і небезпеки кризових явищ і ситуацій;
по мотиваційним питанням -
мотиваційні заходи щодо врахування матеріально-соціально-психологічних
особливостей людини (винагорода, задоволеність роботою, гарні умови праці,
високий статус на підприємстві, висока зарплата, можливість службового росту,
зручна система відпусток, заслужена похвала колег і інше, і іншу сторону
мотивацій становлять заслужені покарання працівників в тому чи іншому виді);
контрольні заходи менеджера
щодо своєчасного виявлення небезпеки економічних ризиків, різних конфліктів на
підприємстві і їх своєчасних подолань, а також відхилення від існуючих
нормативів Держстандарту якості продукції і іншого і ліквідації цих негараздів
[37].
Однією із необхідних підсистем
функціонування операційного менеджменту є управління матеріально-технічним
забезпеченням та збутом продукції. Вона значною мірою відображає початкову
стадію технологічного процесу - це виробництво та постачання необхідних
матеріалів, запасів сировини та напівфабрикатів - вхідні інформаційного
процесу, перетворені операційною системою на її вихідні - готову продукцію. До
обов’язків матеріально-технічного забезпечення входить своєчасна доставка в
операційну систему підприємства усіх видів ресурсів (сировини, матеріалів,
комплектуючих виробів, технологічного обладнання, інструментів, транспортних
засобів, палива, тепло-електроенергії, води, тощо) в обсягах необхідних для
нормального функціонування операційного процесу по виробництву необхідної
продукції. На вибір форми постачання операційної системи можуть впливати
різноманітні фактори. Залежно від цих факторів, операційна система забезпечує
себе ресурсами через товарно-сировинні біржі, аукціони, різні посередницькі
підприємства і власним виробництвом комплектуючих виробів та інше. На великих
підприємствах роботу по забезпеченню всіма видами ресурсів здійснює управління
(відділи) матеріально-технічного забезпечення. При формуванні управлінської
структури матеріально-технічного забезпечення необхідно врахувати основні
управлінські функції - це здійснення маркетингових досліджень ринку
постачальників по видам ресурсів, доступними цінами і простотою схем постачання
та їх стабільністю; стратегічного (перспективного, поточного) прогнозування
потреб в усіх видах ресурсів; завчасна підготовка заявок на необхідні ресурси
та подання їх у планові служби управління і здійснення управлінської діяльності
з реалізації планів забезпечення ресурсами (укладання необхідних контрактів,
тощо); управління прийняттям, розміщенням, зберіганням, забезпеченням ресурсами
робочих місць; разом з технічними, планово-економічними, фінансовими
управліннями проведення економічного обґрунтування норм запасів та контроль за
їх станом; розроблення управлінських заходів щодо економії усіх видів ресурсів;
управління оперативним обліком надходження усіх видів ресурсів, їх економічним
аналізом використання та стимулювання поліпшенням їх використання; управління
контролем якості усіх видів ресурсів та термінів виконання їх замовлень.
Управління збутовою діяльністю
операційної системи і після реалізаційного обслуговування покупців (замовників)
виготовленої продукції здійснюється управлінською структурою збутової
діяльності. В ринкових умовах господарювання збут продукції для підприємства
має вирішальне значення, так як існує жорстка конкуренція на вироблену
продукцію. Управлінська структура служби збуту залежить від масштабів
виробництва, обсягів збутової діяльності, кількістю та інтенсивністю
обслуговування покупців і інше. Стратегія збутової діяльності базується на
досягненні конкурентних переваг підприємства і створення свого ділового іміджу.
Для цього, перш за усе, необхідно розробити систему
маркетингово-комунікаційного менеджменту в операційній системі підприємства.
Для успішної реалізації продукції недостатньо запропонувати високоякісну
продукцію за привабливою ціною на товарному ринку. Потрібно домогтися того, щоб
високоякісні властивості продукції підприємства стали відомі багатьом покупцям.
Суть системи маркетингово-комунікаційного менеджменту підприємства спрямована
на інформування покупців на товарному ринку про свою діяльність і про
запропоновану свою високоякісну продукцію, в поєднанні з ціллю розробки
менеджером операційної системи стратегічного менеджменту попиту та реалізації
продукції. Стратегічний менеджмент попиту та реалізації продукції ґрунтується:
- на рекламі як основний засіб
управління маркетинговою комунікацією і управлінні стимулюванням збуту;
- на досягненні
взаєморозуміння між виробником продукції і суспільством, що формує позитивний
імідж виробника (паблік-рилейшнз);
на управлінні персональною
реалізацією продукції, управлінні виставковою діяльністю і оцінці ефективного
функціонування стратегічного прогнозування попиту та реалізації продукції.
Економічне обґрунтування
управлінських рішень, пов’язаних з управлінням системою матеріально-технічних
запасів споживання в системі операційного менеджменту зводиться до відповідного
виду діяльності, об’єктом якого є:
- створення та зберігання запасів
оптимального рівня усіх видів ресурсів; забезпечення стратегії завчасної
реалізації продукції (послуг);
- усунення необхідності
безперервних поставок усіх видів ресурсів; можливість доставки продукції
споживачу у будь-який час;
забезпечення стабільності
виробництва продукції її реалізації, згідно з її попитом і отримання прибутку
за рахунок купівлі ресурсів за нижчою ціною і продажем їх, у майбутньому, за
вищою.
Витрати від впровадження
управлінських рішень в систему матеріально-технічних запасів споживання
залежать від:
- вартості предметів закупівлі усіх
видів ресурсів, витрат на оформлення замовлень, транспортних витрат, витрат на
зберігання матеріально-технічних запасів споживання (витрати на утримання
приміщень, операції з переміщенням запасів, тощо);
- вартості інвестиційного
капіталу, кредитів вкладених в запаси споживання, податків, страхування і інше;
витрат, пов’язаних з дефіцитом тих чи інших ресурсів, які були б відсутні без
впровадження управлінських рішень в систему матеріально-технічних запасів
споживання: втрачений робочий час, спричинений відсутністю тих чи інших
ресурсів;
витрати на прискорення
доставки необхідних ресурсів і прискорення доставки готової продукції до
замовника, а також затрати на втрачений обсяг збуту, судові позиви клієнтів і
додаткові кошти на відновлення відносин інше.
Економічне обґрунтування
управлінських рішень, пов’язаних з впровадженням управлінських рішень в
операційну інфраструктуру операційного менеджменту підприємства (управління
ремонтними, інструментальними, енергетичними, транспортними і складськими
господарствами) має особливості забезпечення ефективного функціонування
операційної системи підприємства в попередженні можливих порушень в управлінні
допоміжно-обслуговуючих заходів. Необхідно відмітить те, що значні витрати у
допоміжних виробництвах операційної інфраструктури можуть бути доцільні лише
тоді, коло вони сприяють зниженню собівартості продукції у основному виробництві
і підвищують якість основної продукції. Управління ремонтним господарством в
сучасній операційній системі потребує великої кількості ремонтних робіт машин і
механізмів, транспортних засобів та іншого обладнання, так як кожне
підприємство зацікавлене в тому, щоб обладнання тривалий час знаходилося в
робочому стані. Управлінська структура ремонтного господарства охоплює:
організаційну (матеріально-технічне забезпечення, контроль кількості і якості
матеріалів, що надходять, та виконаних ремонтних робіт), економічну
(стратегічне прогнозування матеріально-технічного забезпечення ремонтного
господарства), технічну (аналіз технічного обладнання), ремонтно-механічну
(основний обсяг ремонтних робіт) служби і склади.
Менеджер операційної системи
ремонтного господарства розробляє стратегічні системи: прогнозного забезпечення
своєчасних попереджувальних ремонтних робіт обладнання і удосконалення
управління напрямками ремонтного господарства.
Управління інструментальним
забезпеченням операційної системи здійснюється в необхідності використання
різного дорогого оснащення: вимірювальні інструменти, верстатні та слюсарні
знаряддя, штампи, різні допоміжні інструменти та інше, без якого неможливо
здійснювати операційний процес по виробництву продукції. В управлінні інструментальним
господарством тісно переплітаються технічні і економічні елементи, елементи
стратегічного прогнозування у визначенні потреб стандартних
універсально-нормативних інструментів, виготовлених на спеціалізованих
підприємствах і призначених для виготовлення того чи іншого виробу. Менеджер
управління інструментальним господарством розробляє стратегічну систему
прогнозного забезпечення необхідними високоточними інструментальними
пристроями, оснащенням та інструментами, які необхідні для нормального функціонування
операційної системи підприємства.
Управління енергетичним
забезпеченням операційної системи підприємства базується на використанні усіх
видів енергоресурсів, які є носіями різних видів енергії (електричної, теплової
енергії твердого, рідинного та газоподібного палива і іншої), які забезпечують
різні можливості функціонування операційної системи підприємства. Управлінська
структура енергетичного забезпечення операційної системи підприємства має п’ять
складових частин:
- енергосилову службу (підстанції,
електростанції і інше);
- теплову службу
(тепломережі, котельні і інше );
газопостачальну службу
(станції постачання киснем, газом і інше);
службу зв’язку (пожарна
сигналізація, АТС і інше);
енерго-ремонтні служби, що
виконують різні ремонти електроенергетичного обладнання.
Менеджер (головний енергетик) і його
заступники розробляють стратегічний енергетичний прогноз забезпечення потреб
усіх необхідних видів енергії для підприємства і удосконалення управління
енергетичним господарством підприємства.
Управління транспортним
забезпеченням операційної системи підприємства поєднує усі матеріальні потоки
операційної системи і без транспортного забезпечення операційна система
працювати не може. Управління транспортним обслуговуванням здійснює служба транспортного
забезпечення підприємства, яка здійснює внутрішній і зовнішній вантажооборот.
Менеджер транспортного забезпечення
розробляє стратегічний прогноз вантажопотоку і стратегічний план удосконалення
управління транспортним забезпеченням і підвищення ефективності роботи
транспортного господарства підприємства.
Основні завдання управління
складським господарством в менеджменті операційної системи базуються на
виконанні функції ефективного зберігання основних та допоміжних матеріалів. За
ступенем користування склади поділяються на індивідуального (зберігають
продукцію одного підприємства) і колективного користування (оренда фізичних та
юридичних осіб). За розміром склади бувають від невеликих приміщень (декілька
сотень квадратних метрів) до складів-гігантів (сотні тисяч квадратних метрів).
Менеджер складського господарства
операційної системи здійснює стратегічне прогнозування діяльності складським
господарством і удосконалення ефективної його діяльності.
Економічне обґрунтування
управлінських рішень, пов’язаних з якістю продукції (послуг) в системі
операційного менеджменту визначається здатністю забезпечити конкурентну
захищеність продукції (послуг). Відомо, що економія всіх видів ресурсів і
багато іншим поступається місцем якості продукції. Управління системою якості
продукції (послуг) в операційній системі здійснює служба управління системою
якості продукції (послуг), яка розробляє стратегічне прогнозування системи
якості продукції (послуг) і впровадження реальних заходів щодо виконання
якісних показників конкурентно захищеної продукції операційної системи
підприємства.
Для економічного обґрунтування
управлінських рішень, пов’язаних з менеджментом операційної системи
підприємства, в цілях вибору оптимальних варіантів цих управлінських рішень
необхідно зібрати показники управлінської діяльності (достовірну статистичну
техніко-економічну інформацію), використовуючи також експертні оцінки
менеджерів високої фахової підготовки. На основі сформованого масиву
достовірної техніко-економічної інформації будується статистична оптимізаційна
модель показників економічного обґрунтування управлінських рішень, пов’язаних з
менеджментом операційної системи підприємства.
Отже, операційна система є
сукупністю взаємопов’язаних підсистем, які забезпечують процес створення продукту
діяльності та отримання прибутку. Функціонування даної системи полягає в
організації руху та взаємодії ресурсів підприємства, в результаті чого
створюється благо, яке після його реалізації приносить грошові кошти з
приростом, у вигляді чистого прибутку.
.2 Особливості операційної система автосервісного підприємства
Створення операційної системи передбачає підготовку виробництва,
оптимізацію виробничої потужності та виробничої структури підприємств,
організацію виробничих процесів, створення технічної і технологічної підсистем,
оперативне управління виробництвом.
.2.1 Підсистема перетворення
Якщо підприємство сьогодні випускає якісь товари чи послуги і
займає певну частку ринку, то перед ним завжди постає питання: як зміняться
можливості конкурентоспроможності даного товару на ринку в майбутньому?
Відповідь на це питання потребує аналізу факторів зовнішнього середовища.
Споживацькі уподобання і можливості клієнтури повинні бути також зрозумілі та
відомі фірмі. Для цього необхідно постійно вивчати динаміку, тенденцію попиту і
фактори, що його визначають. Реально фірма завжди присутня на ринку з уже
існуючими товарами, а нові, коли з'являються, займають певну, найчастіше
невелику, частку ринку. Тому підготовка виробництва передбачає також вироблення
стратегії фірми на уже існуючих ринках з існуючими товарами. Маючи певний обсяг
продажу і займаючи певну частку ринку, фірма може вжити заходів для її
збільшення, обравши стратегію заглиблення на вже існуючому ринку чи стратегію
його розширення.
Стратегія заглиблення на існуючому ринку полягає в тому, щоб
досягти збільшення обсягу продажу, ніяким чином не міняючи товару. Якщо
зниження ціни забезпечить таке збільшення обсягу продажу, що при цьому зросте
прибуток, то СТО слід попрацювати в такому напрямку. Звичайно, якщо ціни
знижуються, то попит збільшується (за законом попиту).
Водночас заглиблення на існуючому ринку потребує від СТО розробки
нової рекламної політики та інших засобів стимулювання продажу. Якщо СТО продає
товар і знає сегменти, на які він розрахований, то, можливо, інші сегменти
(наприклад, люди з більш високими чи нижчими доходами) придбають цей товар,
якщо рекламне звернення буде зорієнтовано на них.
Розширення меж ринку. Якщо заглиблення на існуючих ринках не є
привабливим напрямком маркетингових зусиль СТО, то розширення меж ринку може
стати альтернативою першого напрямку. Складність пошуку нових ринків полягає в
тому, що для проникнення на них треба пробитись крізь "щільний
натовп" конкурентів. Тому СТО прагне спершу, як кажуть, "просунути
ногу в двері". Можливо, для цього їй доведеться одночасно знизити ціну та
створити нові пункти обслуговування. СТО може вжити таких заходів: вивчити нові
ринки; визначити їхню ємність і перспективність; виявити наявність конкурентів
і частку їх ринку; зробити рекламу на нових ринках.
Якщо і цей напрямок не влаштовує СТО, вона може піти шляхом
розробки товару. Товар, за ствердженням Ф. Котлера, має три рівні: 1) товар за
задумом, тобто ті основні вигоди чи послуги, які він надає; 2) товар у
реальному виконанні, основні характеристики якого - якість, властивості,
зовнішнє оформлення, упаковка, маркова назва; 3) товар з підтвердженням. Для
підтвердження товару СТО організовує післяпродажне обслуговування, видає
гарантії, здійснює обслуговування в кредит. Обираючи розробку товару як
напрямок підготовки майбутнього виробництва, СТО має можливість поліпшити одну
чи декілька характеристик на 2-му і 3-му рівнях: змінити упаковку, розфасовку,
якість, властивості, вдосконалити систему сервісу, збільшити термін гарантії.
СТО може піти шляхом надання нових послуг. Для цього їй необхідно
здійснити таке:
·
визначити,
на якій стадії життєвого циклу перебувають послуги, що на даються;
·
проаналізувати
стан конкуренції та тенденції її розвитку;
·
вивчити
потреби споживачів, зміни смаків;
·
виявити
зміни, що сталися на ринку та в структурі автопарку;
·
сформувати
і відібрати ідеї щодо нових послуг, розробити їх задум і визначити в загальних
рисах стратегію маркетингу;
·
здійснити
аналіз ринкових можливостей;
·
визначити
можливості виробництва;
·
розробити
послуги;
·
випробувати
послуги у ринкових умовах;
·
організувати
надання послуг та їх збут.
Розробка послуг передбачає орієнтацію їх на певний сегмент чи
сегменти ринку. Тому перед СТО постає завдання сегментації ринку і позиціювання
послуг на цих сегментах.
Сегментування ринку - це розбивка його на чіткі групи покупців, для
кожної з яких можуть потребуватися окремі товари чи комплекс маркетингу.
Здійснивши сегментацію ринку, СТО повинна вибрати його цільові сегменти, тобто
ті, на які вона вийде зі своїми послугами. Після цього СТО здійснює
позиціювання послуг на ринку, тобто забезпечує їх конкурентне становище. А це
означає: розробка самих послуг, встановлення на них конкурентоспроможної ціни,
розробка каналів та методів стимулювання їх збуту.
Після того, як завершено роботу на ринку і СТО визначилася з
напрямком діяльності, вона виконує необхідні дії з підготовки виробництва:
здійснює науково-дослідні (НДР) і дослідно-конструкторські (ДКР) роботи,
технічну, технологічну, економічну, організаційну підготовку виробництва.
Науково-дослідні і дослідно-конструкторські роботи. Для наших
підприємств характерним є те, що ці роботи виконують спеціалізовані
науково-дослідні і дослідно-конструкторські організації. В умовах ринку дрібні
СТО замовляють виконання НДР та ДКР спеціалізованим організаціям, а великі
фірми мають свої науково-дослідні та конструкторські підрозділи, які нерідко
визначають ринкові можливості фірми і роблять її конкурентоспроможною. В умовах
конкуренції науковий напрямок фірма вимушена створювати сама, що забезпечує їй
комерційну і технічну таємницю, а також унікальність товару на ринку. Те ж
стосується і дослідно-конструкторських робіт.
При створенні нових чи вдосконаленні товарів, що вже випускаються,
фірми чи СТО, як правило, прагнуть використати потенціал усіх працівників. На
японських фірмах, наприклад, кожен працюючий робить протягом року в середньому
12,8 пропозицій із вдосконалення, що значно більше, ніж у американців, не
кажучи вже про нас. Зрозуміло, що мова йде про прикладні, а не фундаментальні
дослідження. Фундаментальні дослідження не можуть здійснювати навіть дуже
солідні фірми. Так, одвічно конкуруючі гіганти автомобільної промисловості США
"Дженерал Моторз", "Форд" і "Крейслер"
об'єднались й отримали державні субсидії для фундаментальних досліджень і
розробки електромобіля.
Конструкторська підготовка виробництва полягає в розробці на основі
результатів наукових досліджень нових чи вдосконалених товарів. Конструкторські
роботи звичайно виконуються таким чином: розробляється технічне завдання і на
його основі складається технічна пропозиція; потім розробляються ескізний,
технічний проекти, а після цього - робоча документація. Конструкторська
документація - основа для проведення дослідних та експериментальних робіт.
Після створення і доводки дослідних зразків здійснюється вивід їх на ринок.
Необхідність апробації товару на ринку пояснюється тим, що, бездоганний за
конструкторським і технічним вирішенням, виріб може бути зовсім непридатним для
ринку товаром.
Технічна і технологічна підготовка виробництва. Машини, обладнання
і сировину, звичайно, можна розглядати як компоненти технології, але найбільш
значимим компонентом, без сумніву, є процес, з допомогою якого початковий
матеріал (сировина) перетворюється у бажаний на виході продукт. По суті,
технологія являє собою спосіб, який здійснює такі перетворення.
Сам процес перетворення того, що є на вході, у те, що потрібно на
виході, включає в себе способи переробки, які випливають зі знань, інтересів,
культури, наукового і технічного рівня виробництва, методів управління і
контролю, стимулів у роботі, традицій, цінностей і багато чого іншого. Коротко
кажучи, товар, що випускається фірмою, є її відображенням, "колективним
портретом". Тому технологічна підготовка виробництва передбачає дії,
пов'язані з підготовкою і підвищенням кваліфікації кадрів, розробкою системи
забезпечення якості продукції, розробкою заходів щодо ціннісної орієнтації
працівників фірми у відповідності з її місією, з упровадженням досконалих
технологій і технічних засобів, спеціалізацією виробництва й уніфікацією
виробів, а ще, крім цього, - розробку технологічних процесів, технологічного
оснащення і нестандартного устаткування. Технічна підготовка виробництва є
частиною технологічної, що охоплює ті технічні зміни, які необхідні для випуску
нових виробів. Технічні засоби - це те, що дозволяє вдосконалювати технологію;
технологія - це спосіб перетворення, в якому технічні засоби є складовими.
Будь-які технічні новації сприяють вдосконаленню технології. Але є вимоги, які
технічна система повинна задовольняти: технічний рівень виробництва - це
комплекс однорівневих технічних засобів, рівня технічних знань і рівня
організації. Іншими словами: якщо система в цілому не готова до нового технічного
рівня, то його впровадження призведе до втрат.
Економічна підготовка виробництва передбачає визначення економічної
стратегії та пошук перспективних і поточних рішень стосовно економічної
політики фірми, інвестицій, продукції, поточних витрат і прибутку. Тобто
економічна підготовка - це стратегія маркетингу, що тісно пов'язана з ринковою
підготовкою виробництва.
На початковому етапі економічної підготовки виробництва
здійснюється пошук тих напрямків діяльності фірми, які забезпечать вищий
прибуток. Так, за умов інфляції довготермінові інвестиції в майбутнє
виробництво недоцільні, оскільки інфляція поглине і ці інвестиції, і майбутні
прибутки.
Економічна підготовка виробництва - це і вибір тих видів
комерційної діяльності, які протягом певного проміжку часу дадуть найкращий
результат. Наприклад, за умов інфляції і низького платоспроможного попиту
автосервіс як вид діяльності, як бізнес - економічно невигідний; більший
прибуток приносить торгівля. При низькому рівні організації досконале і дороге
обладнання наносить більше збитків, ніж менш досконале і недороге. Однак не всі
нові розробки мають комерційний успіх. За даними досліджень, комерційного
успіху досягають лише 30 відсотків новинок. Результати тих же досліджень
підтверджують, що лише 2 відсотки ідей зі 100 матеріалізуються в
конкурентоспроможний товар. Отже, економічна оцінка нової продукції буде
вірною, якщо враховувати, що 4 з 5 годин витрат часу дослідника-розробника
нової продукції не дають результату. Іншими словами: економічна політика фірми повинна
передбачати ймовірність збитковості деяких програм.
Організація підготовки виробництва. Суттєве значення при підготовці
виробництва має час, що витрачається на організацію надання нових послуг.
Процес створення нових послуг диференціюється на такі стадії:
·
формування
цілей;
·
відбір
ідей;
·
аналіз
кон'юнктури;
·
розробка
проекту;
·
випробування
послуг;
·
збут.
Після того, як вибрано економічне обґрунтування напрямку
діяльності, підготовка виробництва полягає в економічному забезпеченні цієї діяльності:
визначається обсяг інвестицій, необхідні обігові кошти, величина та джерела
кредитів, здійснюється аналіз факторів, що впливають на швидкість обігу коштів,
і розглядаються варіанти забезпечення скорочення тривалості обігу.
Потім розглядається стратегія маркетингу з конкретної маркетингової
програми. Наприклад, якщо автосервісна фірма впроваджує нову технологію
фарбування автомобілів, то з цієї маркетингової програми розраховуються
витрати, можливі величини збитків та час, протягом якого фірма зазнаватиме
збитків, обсяг виробництва і величина доходів на першому етапі післязбиткового
періоду (після виведення товару на ринок), визначається очікуваний термін
виходу на рівень прибутку і його величина в період стабілізації на ринку. З
певною достовірністю прогнозуються тривалість періоду стабільності даної
маркетингової програми на ринку та сумарний прибуток від її реалізації. Опісля
визначається ймовірний час "виходу" цієї програми з ринку, той зсув
випередження подій, що закономірно диктується кривою розвитку організації.
Простіше кажучи, з організаційної точки зору початок розробки нового товару має
збігатися з тим моментом, коли випущений фірмою товар ще не досяг свого
"зоряного часу". Іншими словами: якщо ви хочете процвітати, то мусите
завжди бути готовими запропонувати ринкові те, що з успіхом замінить ваш
найкращий товар. Такий підхід дасть вам можливість працювати в режимі
"вільного графіка", тобто завжди мати потрібний заділ. Це, однак, не
виключає необхідності чіткої організації всіх етапів підготовки виробництва.
Підготовка виробництва нової продукції пов'язана з виділенням
ресурсів, підготовкою кадрів, технічним переоснащенням, організацією системи
економічного обліку й аналізу, оплатою й організацією праці, організацією
виробничих процесів і т. ін. Не кожна з перелічених складових може бути
завчасно до кінця продуманою і вирішеною.
Важливе значення має термін підготовки виробництва, що забезпечує
прискорене (порівняно з конкурентами) впровадження послуг чи товару на ринку.
Підтвердженням цього є світовий досвід. Так, термін переведення конвеєра на
нову модель автомобіля в Японії становить 3-4 години, в США -1-2 тижні.
Підготовка кадрів. Люди є таким же ресурсом виробництва, як і
матеріали, машини, енергія, технологія, капітал. Різниця лише в тому, що люди -
найскладніший виробничий ресурс, яким найважче управляти. Завжди, здається,
актуальний тезис "кадри вирішують усе" стає тим більш значущим, чим
більшою мірою ускладнюються виробництво, техніка і технологія, чим динамічнішим
є зовнішнє середовище.
Завдання, що постають перед виробництвом, можна розподілити на три
типи: робота з людьми, робота з інформацією і робота з предметами.
Робота з людьми - це і є управління підприємством. Тут також
виділяються три типи завдань: стратегічні, технічні й оперативні. Стратегічні
завдання вирішують керівники вищої ланки, тобто люди, від яких залежить
політика організації. Одна з найважливіших вимог до управлінців високого рангу
- бачити мету і знаходити шляхи її реалізації. Для цього потрібен талант, хист,
посланий, як кажуть, з неба, бо навчитися такій справі практично неможливо.
Автосервіс, з точки зору стратегічного завдання, є специфічним:
малі підприємства автосервісу не дозволяють розрізнити стратегічний, тактичний,
а часом і оперативний рівні. Тому стратегічні завдання тут вирішують, як
правило, люди, схильні вирішувати швидше тактичні завдання.
Чому ж має навчатися вище керівництво? Всьому, що відкриває перед
ним можливості передбачати майбутні ситуації. Тобто те, що дозволить йому
оцінити параметри зовнішнього середовища і його динаміку. Вище керівництво для
прийняття стратегічних рішень повинно знати тенденції розвитку економіки,
тенденції і перспективи розвитку автомобільного транспорту, політику
оподаткування, тенденції розвитку техніки і технології, передбачати політичну і
міжнародну ситуацію, зміну демографічних факторів. Безперечно, вище керівництво
мусить знати у наш час, що таке ринок, конкуренти, які їх особливості,
тенденції розвитку та методи конкурентної боротьби.
Керівники середньої ланки - це управлінці на рівні "директор
підприємства - начальник відділу", які забезпечують розвиток усіх
елементів виробництва. Вони повинні орієнтуватись у динаміці ринку, продукції
та послуг, техніки і технології, конкуренції, економіки, маркетингу і працювати
з людьми. Такі ж завдання стоять і перед керівниками нижчої ланки. Окрім того
вони повинні бути достатньо обізнаними (практично і теоретично) у технологічних
процесах, якими керують, - хоча б тому, щоби проконтролювати виробничий процес і
виконання робіт. Бо як інакше майстер, який не знає, що по суті являє собою
процес ремонту двигуна, проконтролює якість роботи?
Існує кілька мотивів, що зумовлюють необхідність постійної
підготовки та підвищення кваліфікації робітників. По-перше, багато забувається
при стабільному досвіді; по-друге, їх знання застарівають, оскільки з'являються
нові методи ремонту старих автомобілів; по-третє, випускаються нові автомобілі
з новими конструктивними вирішеннями; по-четверте, висуваються нові вимоги до
якості роботи. Нерідко виникає необхідність у робітниках нових професій. Адже
ніщо не стоїть на місці. І тільки кадри з новими поглядами та знаннями можуть
реалізувати нові цілі.
Організація
виробничих процесів.
Виробничий процес
може бути організований по-різному - залежно від типу виробництва. В одиничному
виробництві всі операції здійснюються на одному робочому місці одним чи
кількома виконавцями. При такій організації потребується чи універсальне
устаткування, чи спеціалізоване, яке використовуватиметься рідко для виконання
певних операцій. Кваліфікація виконавця повинна бути настільки високою, щоб він
міг узяти на себе усю відповідальність за кінцевий результат роботи. Наприклад,
усуваючи несправність у двигуні автомобіля, механік має визначити причину цієї
несправності, виконати комплекс ремонтних, регулювальних і супутніх робіт. При
цьому він повинен уміти користуватися безліччю пристроїв та інструментів.
При серійному
виробництві роботи поділяються на операції, і кожен робітник виконує певну
сукупність операцій. Це дозволяє спеціалізувати обладнання і вимагає більш
вузької кваліфікації робітника. Так, на станції технічного обслуговування
можуть бути спеціалізовані дільниці з ремонту двигунів, коробок передач,
кузова, пофарбування автомобілів.
Масове виробництво
передбачає такий розподіл праці, коли на одному робочому місці виконуються
одна-дві операції, а обладнання чітко спеціалізовано. Це дозволяє підвищувати
ефективність використання обладнання і передбачає зростання продуктивності
праці за рахунок її спеціалізації. Основна проблема при потоковому
(конвейерному) виробництві полягає в тому, щоб ділити навантаження на робочі
місця для уникнення утворювання вузьких місць.
Фіксоване
виробництво в основному реалізується при виконанні проектів. Наприклад, при
індивідуальному капітальному ремонті автомобіля. Така організація виробничого
процесу має тимчасовий характер і зберігається лише до закінчення робіт.
Проблемою при цьому є те, що виробничі ресурси на робочому місці можуть
заважати одне одному і їх потрібно правильно розташувати. На підприємствах
автосервісу зустрічаються два види організації виробництва.
Вимоги до технічної
та технологічної підсистем зумовлюються наявністю ресурсів, перетворюваних у
процесі виробництва.
1.2.2 Підсистема
забезпечення
До підсистеми
забезпечення відноситься все, що забезпечує основний виробничий процес та
життєдіяльність станції. Організація допоміжного виробництва передбачає роботу
з ефективного використання основних засобів, експлуатації, обслуговування та
ремонту технологічного обладнання, підтримку в належному стані території та
приміщень, організацію експлуатації санітарної техніки, очищувальних споруд,
електро-, ґазо- та водопостачання, опалювання й освітлення приміщень, роботи
складського господарства, а також забезпечення умов для життєдіяльності
колективу станції, його побутове, санітарне, медичне, соціальне обслуговування.
До основних
виробничих фондів, що використовуються на СТО, відносяться: будівлі; допоміжні
споруди; передавальні устаткування; машини та обладнання, а саме: силові машини
та обладнання, робочі машини, вимірювальні прилади та пристрої, лабораторні
примірники; обчислювальна техніка; інші машини та обладнання (наприклад,
автоматичні); транспортні засоби; інструменти, виробничо-господарський інвентар
та ін.
Структура за
вартістю основних засобів приблизно така: будівлі - 50 відсотків, допоміжні
споруди - 22, передавальні устаткування - 5, машини та обладнання - 15 (з них
силові машини та обладнання - 1-2, робочі машини та обладнання - 13 відсотків),
обчислювальна техніка - 1-2, транспортні засоби - 2,5, інструмент,
виробничо-господарський інвентар та ін. - 4-5 відсотків.
На кожному робочому посту є свій
набір обладнання (див. таблицю 18.2), яке до того ж мусить бути розміщене
певним чином.
Розташування,
кількість, потужність та пропускна спроможність обладнання мають відповідати
наступним вимогам.
Передусім -
поелементній пропорційності, тобто кількість та пропускна спроможність
обладнання повинні забезпечувати потреби виробничої програми. Оскільки
виробнича програма має сезонні та часові коливання, пропорційність досягається
шляхом оптимізації.
По-друге, режим
роботи обладнання має відповідати терміновій (погодинній, добовій)
пропорційності, щоб не порушувалася послідовність робіт і не виникало затримок
у виробничому процесі. Поелементна та добова пропорційність повинна досягатися
на всіх ланках виробництва і забезпечувати пропорції у всіх виробничих
процесах: кількість будь-яких елементів підпорядковується виробничій програмі. Наприклад,
кількість електричних підіймачів має бути пропорційною кількості автомобілів,
що надходять на технічне обслуговування та ремонт. Усе інше - кількість
роздягалень для робітників, складські приміщення, їдальня, душ, компресор,
напруга тощо - має забезпечувати безперебійну роботу з основних технологічних
процесів.
Наступна вимога -
неперервність виробничого циклу: ніякий чинник не може вважатися раціональним,
якщо він збільшує календарний термін виробничого циклу, тобто виконання певної
роботи від її початку до закінчення. Цей термін включає в себе оперативний час
та різні необхідні чи випадкові перерви. Вимога неперервності має забезпечити
мінімальну частку перерв у виробничому циклі та можливе скорочення терміну
виконання технологічних операцій.
Вимога
прямоточності полягає в тому, що під час виконання усіх технологічних та
допоміжних операцій обсяг транспортної роботи має бути найменшим.
З точки зору вимог
до експлуатації та обслуговування технологічне обладнання станцій можна
поділити на:
·
металорізальне;
·
ковальсько-пресувальне;
·
кранове;
·
спеціального призначення;
·
енергетичне.
До металорізального
обладнання відносяться токарно-гвинторізні, фрезерні, свердлувальні верстати,
які, з огляду на вимоги щодо їх обслуговування, поділяються на легкі (до 1
тонни), середні (від 1 до 10 тонн) та важкі (понад 10 тонн).
Ковальсько-пресувальне обладнання - це преси, штампувальні та гнучі машини,
ножиці. Вони також поділяються на легкі (до 10 тонн), середні (від 10 до 60
тонн) та важкі (понад 60 тонн). А кранове обладнання - вантажопідйомні машини з
ручним та з машинним приводом: легкі, середні, важкі і надважкі.
Технологічне
обладнання, перелік якого наведено вище, за своїми конструктивними й
експлуатаційними властивостями поділяється на складне, середньої складності та
нескладне. Відповідно до цієї класифікації й виникають вимоги щодо його
обслуговування.
До енергетичного
відноситься усе обладнання, що призначене для виробництва, перетворення,
розподілу, передачі та споживання енергії (електричної і теплової) та
енергоносіїв (води, повітря, газу).
Стосовно усіх видів обладнання існує
система планово-попереджувального ремонту, спрямована на те, щоб забезпечити
максимально можливий термін експлуатації обладнання, мінімальні витрати
ресурсів на підтримку та відновлення його працездатності та мінімальні втрати
часу при експлуатації. Ця система ґрунтовно описана в спеціальній літературі, а
на практиці передбачається правилами експлуатації та заводськими інструкціями.
Варто зазначити, що
технічна система СТО все більше ускладнюється, вдосконалюється, і водночас
підвищуються вимоги до її експлуатації. Це зумовлено не тільки ускладненням
автомобілів та збільшенням кількості їх діагностичних параметрів, а й розвитком
автомобільного обладнання взагалі.
У сфері
обслуговування великого значення набуває інфраструктура підприємства, його
оздоблення, екстер'єри та інтер'єри. Передусім станція повинна бути зручно
розташована та оздоблена належним чином, щоб створювати приємне враження на
клієнтів. Якщо СТО належить до фірми, то її зовнішнє оформлення, як правило,
виконується відповідно до стилю фірми. Коли ж це не так, то рівень і стиль
дизайну станції мали б відповідати потребам та смакам найвимогливішого
споживача або хоч трохи підтягуватися до того рівня.
Важливий елемент
інфраструктури СТО - достатня кількість стоянок, де можна залишити автомобіль.
Вони також повинні бути естетично оформлені та зручні.
Особливо зручно
облаштованим, привабливим має бути приміщення для прийому клієнтів, яке
функціонально відноситься до основного виробництва. Такі приміщення займають
достатню площу станції, яка становить 20-25 відсотків від загальної виробничої
площі, що особливо важливо за наявності автосалону. Це зумовлено насамперед
важливістю функції роботи з клієнтурою, а ще й тим, що, власне, крізь призму
сприйняття цього приміщення клієнт судитиме про станцію взагалі.
Те ж можна сказати
і про впорядкування території станції. Для ефективності її роботи та залучення
клієнтів тут мають діяти затишне кафе чи інший пункт харчування, телефон, пункт
обміну валют, кімната відпочинку, туалет, душ, побутові приміщення для
працівників. Адже усі ці, здавалось би, дрібниці мають практичне значення для
роботи СТО.
Організація
складського господарства.
З точки зору
використання обігових коштів доцільно мати мінімальні виробничі запаси,
необхідні для забезпечення виробництва. Мінімальна потреба в них визначається
за умов ефективності сервісу, тобто той варіант забезпечення запасними
частинами ліпший, який дає змогу краще обслуговувати клієнтуру при мінімальному
рівні виробничих запасів.
З огляду на ці
умови слід визначити номенклатуру запасних частин, яку треба мати на складі, та
їх кількість. Ця робота не вимагає особливих зусиль у разі, якщо склад має
автоматизований облік за допомогою ЕОМ, що і є на більшості СТО. Але на чималій
кількості СТО такий облік відсутній; отже, для визначення номенклатури та
обсягу запасів слід вести ручний облік.
При ручному
облікові, як і при машинному, робиться вибірка за певний час із наряд-замовлень
та визначаються витрати запасних частин - і тих, що йдуть у виробництво зі
складу чи магазину, і тих, що привезли з собою клієнти.
Ці вибірки потрібно
робити за короткий час (зміну, тиждень, місяць) та, за статистичною формою,
накопичувати за квартал, рік, декілька років. Вони обов'язково мають бути
письмовими й опрацьовані відповідно до вимог математичної статистики. Ми
особливо наголошуємо на цьому моменті, оскільки в більшості випадків керівники
та спеціалісти СТО задовольняються у своїй роботі власним досвідом, вважаючи
його достатнім. Проте аналіз спростовує їхні переконання: насправді вони бачать
картину надто приблизно. Бо досвід має суб'єктивний характер і не дає повної
картини ситуації. Таким чином, накопичена за певний період статистика з витрат
запасних частин та матеріалів дає можливість формувати виробничі запаси.
Організація
складського господарства зводиться до: визначення площі складу; обсягу
виробничих запасів; способів зберігання запасних частин; адресної системи їх
пошуку; розподілу запасних частин та матеріалів на групи; присвоєння запасним
частинам та матеріалам відповідних кодів чи використання заводських кодів;
організації обліку та руху (приймання-видачі) матеріальних цінностей і їх
зберігання.
Найпоширеніша форма
організації складу на станції - це склад-магазин. Вона дозволяє спростити
процес приймання та видачі (продажу) запасних частин і пришвидшує рух запасних
частин та оборот зворотних засобів.
Водночас на деяких
станціях існують окремо склад й окремо магазин. Це спричинюється як виробничою
необхідністю (на складі зберігаються такі групи матеріальних цінностей, що не
продаються в магазині, але потрібні для виробництва: віники, бочки, скло,
будівельні матеріали, запасні частини для обладнання, метал, паливо, мастики, мастила
тощо), так і розташуванням складу: не завжди можна обладнати магазин у
колишньому складському приміщенні.
Слід прагнути до
мінімальної площі складу. Це виправдується з двох боків: а) економічного - бо
утримання складу і виробничих запасів на ньому дорого коштує; б) чим більший
склад, тим більшою є спокуса щось на ньому зберігати чи, вірніше, - ховати, а з
цим явищем важко боротися.
При визначенні
обсягу запасів передусім потрібно знати потребу в запасних частинах. Вона
вивчається за конкретних умов на конкретній станції.
При організації
складського господарства потрібно раціонально розмістити запасні частини на
полицях складу, щоб забезпечити мінімальні транспортні витрати на весь
виробничий процес. Це означає, що найближче мають знаходитися ті деталі і для
тих автомобілів, які найчастіше запитуються.
Інструментальне
господарство
При технічному
обслуговуванні та ремонті автомобілів використовується величезна кількість
інструментів і приладдя - універсального та спеціального, без чого неможлива
якісна робота. Досить сказати, що лише перелік спецінструменту ВАЗ - це книжка
сторінок десь на 250-300.
Оскільки станції
технічного обслуговування є малими підприємствами з невеликою кількістю
продуктивних (безпосередньо зайнятих ремонтом) робітників, то там практично
рідко виділяється окреме інструментальне господарство. Як правило, більша
частина інструменту перебуває безпосередньо у слюсаря, і лише спеціальним
приладдям опікується майстер або воно лежить на складі. Так склалося
традиційно.
Але останнім часом,
за умов зростання кількості марок та моделей автомобілів, що обслуговуються на
СТО, ситуація докорінно змінюється: зростає і потреба в спецінструментах та
обладнанні. Отже, на порі - організація інструментальної, тобто окремого
господарства. Але відразу ж виникають певні труднощі: потрібен відповідальний
за інструментальну, а його на станції з нечисленним персоналом знайти важко,
вводити ж додаткову посаду - недоцільно. Проте такі організаційні неув'язки не
применшують значення інструментального господарства та його ролі в якості
технічного обслуговування і ремонту автомобілів.
1.2.3 Підсистема
планування та контролю
Оперативне
управління виробництвом включає в себе планування, оперативну організацію,
оперативну координацію, оперативний контроль, облік та аналіз.
Оперативним називається те
управління виробництвом, яке виконується в реальному режимі часу, що має термін
завдань не більше місяця. Оперативне управління виробництвом - це динамічна
функція, на основі якої відбувається реалізація цілей та завдань станції.
Суть оперативного
планування полягає в тому, що воно задає весь режим здійснення виробничого
процесу. Те, що закладено в оперативному плані, має бути виконано завдяки
реалізації завдань на наступних стадіях оперативного управління: на стадії
оперативної організації - формування виробничої програми, організація
виробничих процесів, їх забезпечення, організація праці; на стадії координації
- видача команд, внесення корективів у разі, якщо в процесі виробництва
виникають відхилення від заданого йому ходу; на стадії контролю - отримання
інформації про реальний режим ходу виробництва та втручання в нього з метою
коригування відхилень (безпосередньо чи за умов передачі інформації на рівень,
що виконує координуючі функції). Облік - необхідна функція, яка надає
можливість оцінювати реальний стан та результати виробництва, а аналіз дозволяє
дати оцінку виробництву, виявити фактори, що мають на нього вплив, та врахувати
їх для вдосконалення організації виробництва. Оперативне планування включає в
себе планування обсягів, календарне планування та підготовку виробництва.
Оперативна
організація - це розподіл ресурсів та робіт відповідно до оперативних планів.
Цей розподіл проводиться щодо СТО, цеху, дільниці, бригади, виконавців.
Оперативна
координація - видача команд з метою виконання завдань та коригування дій в разі
відхилення ходу виробництва від заданих параметрів.
Оперативний
контроль - отримання оперативної інформації про хід виконання безпосередньо
виробничих завдань чи оперативних планів, використання цієї інформації з метою
коригування дій та забезпечення виконання планових завдань й оперативних
планів.
Оперативний облік та оперативний
аналіз мають на меті отримання та збір інформації про хід виробництва, аналіз
цієї інформації задля виявлення стану справ та аналізу факторів, що впливають
на хід виробництва. У таблиці 1.1 наведено елементи оперативного управління та
оперативного планування.
Таблиця 1.1
Зміст і завдання оперативного
планування
|
Зміст і завдання оперативного планування
|
Періодичність виконання
|
|
1
|
2
|
|
Планування обсягів
|
|
1. Розрахунок, обґрунтування і коригування
норм часу.
|
Відповідно до вимог технічного нормування в
разі зміни організаційно-технічних умов, відсутності обгрунтованих норм, їх
значного перевиконання(³130%).
|
|
2. Розрахунок, обґрунтування і коригування
норм виробітку.
|
Розраховуються на підставі норм часу,
коригуються один раз на рік на підставі індексів сезонності.
|
|
3. Розрахунок величини накопичу-вального
бункера тривалого циклу.
|
Один раз на рік, коригується щомісячно.
|
|
4. Розрахунок величини внутрішньо-виробничих і
міжстадійних накопичу-вальних бункерів за стадіями робіт тривалого циклу.
|
-"-
|
|
5. Розрахунок, обґрунтування і кори-гування
величини накопичувального бункера для робіт короткого циклу (тривалістю 1-2
дні).
|
Один раз на рік, коригується щомісячно.
|
|
6. Розрахунок, обґрунтування і коригу-вання
індексів сезонності, коефіцієн-тів нерівномірності завантаження за днями
тижня, годинами доби.
|
-"-
|
|
7. Розрахунок, обґрунтування і коригу-вання
виробничої програми для цехів, дільниць, виробничих підрозділів, бри-гад,
ланок, виконавців на місяць - зміну, в натуральному і вартісному вираженні та
трудомісткості.
|
На місяць - перед початком місяця, на тиждень
- один раз на місяць, на зміну - один раз на тиждень; коригується при
необхідності.
|
|
8. Аналіз виконання планів і завдань,
виявлення резервів виробництва і "вузь-ких місць", розробка
пропозицій щодо підвищення ефективності виробництва.
|
Щомісячно, щоквартально, один раз на рік.
|
|
9. Планування потреб у запасних час-тинах і
матеріалах для виконання виробничої програми.
|
Один раз на місяць.
|
|
10. Розрахунок, обґрунтування і коригування
оптимальної пропускної спроможності виробничих дільниць.
|
Один раз на рік.
|
|
Календарне планування
|
|
1. Розробка нормативів тривалості виро-бничого
циклу та його елементів (стадій).
|
Один раз на рік.
|
|
2. Складання календарних план-графіків ремонту
автомобілів (агрегатів) з тривалим циклом ремонтних робіт.
|
Щомісячно.
|
|
3. Складання оперативних планів техні-чного
обслуговування і ремонту автомо-білів з коротким циклом робіт (1-2 дні).
|
Щоденно.
|
|
4. Доведення план-графіків виконання робіт до
бригад, ланок, виконавців.
|
Щомісячно, щотижнево, щоденно.
|
|
5. Складання план-графіків комплектування
замовлень.
|
Щомісячно.
|
|
6. Аналіз виконання план-графіків, вияв-лення
причин прострочення замовлень, аналіз тривалості виробничого циклу, розробка
заходів щодо його скорочення.
|
Щомісячно, щоквартально, щорічно.
|
|
Підготовка виробництва
|
|
1. Формування виробничої програми СТО.
|
Щоденно.
|
|
1.1. Реклама й інформація про послуги, які
забезпечують завантаження СТО і формування виробничої програми.
|
-"-
|
|
1.2. Укладання договорів з клієнтурою.
|
-"-
|
|
1.3. Попередній запис на послуги.
|
-"-
|
|
1.4. Централізоване прийняття замовлень.
|
-"-
|
|
1.5. Прийняття замовлень "на дому".
|
-"-
|
|
2. Забезпечення виробництва запасними
частинами, матеріалами, інструментом, енергією, водою, стиснутим повітрям.
|
Щоденно
|
|
2.1. Попереднє комплектування замовлень
відновлювального ремонту.
|
-"-
|
|
2.2. Попереднє комплектування замовлень за
попереднім записом.
|
Щоденно
|
|
3. Оперативне матеріально-технічне постачання.
|
-"-
|
|
4. Зберігання й забезпечення цілості вузлів і
агрегатів, знятих з автомобіля.
|
-"-
|
|
5. Забезпечення необхідного для виконання
виробничої програми нескорочуваного запасу запасних частин і матеріалів.
|
-"-
|
|
6. Організація оперативної доставки запасних
частин за замовленнями.
|
-"-
|
|
7. Організація роботи проміжного складу
комплектування.
|
-"-
|
|
8. Доставка запасних частин і матеріалів на
робочі місця.
|
-"-
|
|
9. Доставка ремфонду на робочі місця (приймання
- робочий пост -пост видачі і т. ін.).
|
-"-
|
|
10. Підтримання обладнання у придатному для
експлуатації стані.
|
-"-
|
|
11. Забезпечення виробництва електроенергією,
водою, парою і т.ін.
|
-"-
|
|
12. Облік виконання завдань і планів.
|
-"-
|
|
12.1. Аналіз виконання завдань і планів.
|
-"-
|
|
|
|
Організація
оперативного планування на СТО. Оперативне планування - кінцева стадія
техніко-економічного планування, тобто стадія доведення планових завдань до
виконавця, з одного боку, і функція оперативного управління - з другого. Кожна
із цих функцій виконується на СТО різними функціональними підрозділами:
техніко-економічне планування - економічною службою СТО, оперативне управління
- підрозділом по роботі з клієнтурою, виробничо-диспетчерським відділом чи
цеховим персоналом (майстрами, старшими майстрами, начальниками цехів).
У здійсненні
оперативного ходу виробництва беруть участь, крім того, комплектувальники,
комірники, служби головного механіка, головного енергетика. В оперативному
плануванні завдання економічної служби зводиться до показників обсягу, тобто
планових завдань у вартісному, натуральному вимірах чи за трудомісткістю.
Економічна служба доводить на місяць з розбивкою, як правило, на зміни у цілому
по СТО, цехах, виробничих дільницях наступні показники:
·
обсяг реалізації послуг у вартісному
вираженні,
·
кількість планових нормо-годин,
·
товарообіг.
До обсягу
реалізації послуг включається вартість послуг з ремонту автомобілів і їх
агрегатів, двигунів, причепів, послуг з миття, ремонту автоприладдя.
Обсяг реалізації обчислюється у
нормо-годинах і вартісному вираженні.
Особливості
оперативно-виробничого планування на підприємствах автосервісу. До них
відносяться:
1.
Стохастичний потік вимог та
цілковита залежність СТО від цього по току.
2.
Індивідуальність кожного замовлення,
що визначається самою ціллю діяльності підприємств автосервісу та його
продукції - послуг.
3.
Необхідність мінімізації терміну
виробничого циклу надання послуг.
4.
Часткова спеціалізація
(невзаємозамінність) робочих місць за видами послуг.
Основним змістом
оперативного планування є розробка та встановлення для цехів, підрозділів,
бригад та виконавців обґрунтованих завдань з виконання виробничих програм на
термін, що не перевищує місяця. Планування обсягів зводиться до встановлення
планових завдань з обсягу робіт.
Планування
виробничої програми СТО
Виробнича
потужність (ВП) підприємства автосервісу - максимально можливий (нормативний)
загальний річний обсяг реалізації послуг та продукції при повному використанні
обладнання і виробничої площі з урахуванням ужитих (для звітного періоду) та
передбачених (для планового періоду) заходів щодо впровадження передової
технології та наукової організації праці і виробництва.
Розрізняють:
максимальну, планову та фактичну виробничу потужність.
Максимальна
виробнича потужність розраховується, виходячи з максимально можливого часу
використання обладнання, площі та ресурсів за умови, що на 40 м2 виробничої
площі на робочому місці працює один робітник в одну зміну, чи 1,7 робітника за
умови роботи більш ніж в одну зміну.
Максимально
можливий час - це час доби та календарні дні року, протягом яких існує попит на
роботи чи послуги. При цьому режим роботи автосервісного підприємства
відповідає режимові попиту.
Планова потужність
- та, що визначається за плановою кількістю робітників, плановим часом роботи
та плановими техніко-експлуатаційними показниками.
Фактична потужність
- та, що фактично отримана за результатами роботи й відображена в
бухгалтерських та інших звітах підприємства.
Нормативна
трудомісткість робіт визначає затрати часу робітників на виконання операцій з
ТО і ремонту, включає в себе затрати часу: оперативного, підготовчих та
заключних операцій, обслуговування робочого місця та відпочинку. Нормативна
трудомісткість вимірюється в людино-годинах.
Ручні роботи - такі,
що виконуються робітником за допомогою інструменту та обладнання за умови, що
трудомісткість визначається кваліфікацією, досвідом й іншими характеристиками
робітника.
Механізовані роботи виконуються на
обладнанні за наглядом робітника; трудомісткість та тривалість їх залежить від
обладнання, а не від робітника.
.3 Методи операційного
управління організаційною діяльністю
Управління - складний і динамічний
процес, керований і здійснюваний людьми для досягнення поставленої мети. Після
того як встановлено цілі управління, необхідно знайти найбільш ефективні шляхи
та методи досягнення їх. Інакше кажучи, якщо при визначенні цілей потрібно
відповісти на запитання "чого потрібно досягти?", то слідом за цим
виникає запитання: "як найбільш раціонально досягти мети?". Отже,
виникає потреба у застосуванні арсеналу засобів, що забезпечують досягнення
цілей управління, тобто методів управління.
Методи управління покликані
забезпечити високу ефективність діяльності колективів, їх злагоджену роботу,
сприяти максимальній мобілізації творчої активності кожного члена. Цим методи
управління відрізняються від усіх інших технічних та технологічних методів, які
використовуються у ході вирішення комплексних виробничо-господарських завдань.
Особлива роль методів управління
полягає у тому, щоб створити умови для чіткої організації процесу управління,
використання сучасної техніки і прогресивної технології організації праці і
виробництва, забезпечити Їх максимальну ефективність при досягненні поставленої
мети. Таким чином, зміст поняття "методи управління" витікає із суті
і змісту управління і належить до основних категорій теорії управління.
Формування цілеспрямованого впливу
на трудові колективи та їх окремих членів безпосередньо пов’язане з мотивацією,
тобто використанням факторів, які визначають поведінку людини в колективі у
процесі виробництва. Звідси витікає дуже важлива вимога до методів управління:
методи управління повинні мати свою мотиваційну характеристику, що визначає
напрям їх дії. Ця характеристика показує мотиви, які визначають поведінку людей
і на які орієнтована відповідна група методів.
Відповідно до мотиваційної
характеристики у складі методів операційного управління виробничим процесом
виділяють три групи:
- економічні;
- організаційно-розпорядчі;
соціальні.
Економічні методи управління
об’єднують усі методи, за допомогою яких здійснюється вплив на економічні
інтереси колективів і окремих їхніх членів. Цей вплив здійснюється матеріальним
стимулюванням окремих працівників і колективів у цілому.
Організаційно-розпорядчі методи
спрямовані на використання таких мотивів трудової діяльності, як почуття
обов’язку, відповідальності, у тому числі адміністративної. Ці методи
відрізняються прямим характером впливу: будь-який регламентуючий чи
адміністративний який підлягає. обов’язковому виконанню.
Соціальні методи ґрунтуються
невикористанні соціального механізму, що діє у колективі (неформальні групи,
роль і статус особистості, система взаємовідносин у колективі, соціальні
потреби та ін.).
Ефективність застосування методів управління
в основному залежить від рівня кваліфікації керівних кадрів, що зумовлює
потребу систематичної і цілеспрямованої підготовки та повсякденного
використання всіх зазначених напрямів впливу на колектив і окремих людей.
Економічні методи управління посідають
центральне місце в системі наукових методів управління трудовою діяльністю
людей, оскільки на їх основі встановлюється цільова програма господарського
розвитку окремих підприємств і організацій і визначається такий режим роботи і
такі стимули, які об’єктивно спонукають і зацікавлюють колективи і окремих
працівників в ефективній праці.
Таким чином, впливом на безпосередні
інтереси об’єкта управління створюється механізм його орієнтації на найбільш
ефективний режим роботи без повсякденного і безпосереднього втручання зверху.
До складу економічних методів управління належать організаційно-виробниче
планування, метод комплексних цільових програм, комерційний розрахунок, система
економічних регуляторів господарської діяльності.
Під плануванням розуміють продуману
підготовку майбутньої діяльності, систематично орієнтовану на цілі організації
чи підприємства. Економічне планування полягає у розробці системи показників,
які є найбільш важливими, визначальними показниками господарської діяльності.
Ці показники охоплюють усі сфери діяльності підприємства чи організації:
виробництво, реалізацію, закупівлю сировини, матеріалів та товарів, фінанси,
запаси товарів і матеріалів, робочу силу та ін.
Планування як метод управління
характеризується рядом специфічних ознак:
- цільовою спрямованістю, оскільки
кожен показник вказує виконавцям, яких результатів діяльності бажано досягти;
- конкретною адресною
спрямованістю, оскільки планове завдання завжди конкретно адресоване якомусь
виконавцю (працівнику, групі працівників, колективу в цілому);
часовим інтервалом дії
(рік, квартал, місяць, декада чи інший проміжок часу).
Основними позитивними сторонами
планування є: внесення за допомогою плану елемента свідомого програмування
комплексу дій для досягнення поставлених цілей; розробку основ методології
планування на різних щаблях і в ланках управління; уніфікацію системи
показників планів та деякі інші.
Структура комплексних цільових
програм повинна відповідати їх призначенню, ролі, яку вони виконують у
забезпеченні загальної ефективності господарської діяльності.
У кожній програмі повинні бути
відображені:
- стан проблеми, основні передумови
її програмного вирішення;
- головна мета програми, її
місце в загальній системі цілей галузі чи підприємства;
система цілей та основних
завдань програми;
цільові показники, які
розкривають кінцеві результати реалізації програми;
шляхи досягнення цілей
програми, система програмних заходів;
організаційно-виконавча
структура;
дані про ресурси, необхідні
для виконання програми та про строки її здійснення;
оцінка ефективності
результатів реалізації програми.
Організаційно-розпорядчі методи
тісно пов’язані з і економічними методами управління, оскільки вони спрямовані
на вирішення єдиних завдань з досягнення цілей господарської діяльності.
Застосування
організаційно-розпорядчих методів управління передує економічним методам,
оскільки для того, щоб використати останні, потрібно організаційно сформувати
об’єкт управління та структуру управління. В процесі функціонування
господарської системи економічні методи управління реалізуються у формі
організаційно-розпорядчого впливу суб’єкта управління на об’єкт (постанови,
накази, розпорядження та ін.). Тісний зв’язок цих двох груп методів синтезує
ефективний вплив управляючої підсистеми на підсистему, якою управляють. Разом з
тим організаційно-розпорядчі методи управління відрізняються від економічних.
Основою їх розмежування є механізм дії та форма прояву цих методів у процесі
управління. Економічні методи управління ґрунтуються на врахуванні економічних
інтересів людей, поєднанні цих інтересів за схемою: людина - колектив -
суспільство. Формою прояву економічних методів управління є певні плани,
завдання, програми, виражені економічними параметрами, чи ступінь задоволення
індивідуальних, групових, колективних інтересів, виражений стимулами
індивідуальної і колективної праці. Організаційно-розпорядчі методи управління
ґрунтуються на таких індивідуальних і групових властивостях людей, як почуття
обов’язку, відповідальності, дисципліни та розуміння можливості
адміністративного покарання.
Організаційно-розпорядчі методи
управління слід застосовувати з врахуванням вимог економічних законів.
Тільки у цьому випадку вони є
науково обґрунтованими. Якщо орган управління в своїй діяльності не
враховує" або недостатньо враховує вимоги економічних законів, то
організаційно-розпорядчі методи можуть перетворитися на адміністративні,
бюрократичні, волюнтаристські, суб’єктивні методи впливу.
Характерними особливостями
організаційно-розпорядчих методів управління є:
- прямий вплив на об’єкт управління;
- обов’язковий характер
виконання вказівок, розпоряджень, постанов та інших адміністративних рішень
вищих органів управління для підпорядкованих об’єктів;
суворо визначена
відповідальність за невиконання вказівок та розпоряджень.
Акти управління, які здійснюються
управлінськими працівниками, поділяють на два види: нормативні та
індивідуальні.
Нормативні акти не мають конкретного
адресата. Вони містять загальні норми дій щодо тих чи інших умов і розраховані,
як правило, на тривалий період. До них можна віднести примірні статути,
положення про господарюючі суб’єкти та їхні підрозділи, посадові інструкції,
норми і нормативи витрат, матеріалів, праці, стандарти та ін.
Індивідуальні акти управління
адресуються певним об’єктам управління. До них відносять накази, постанови,
розпорядження, циркуляри, вказівки.
Організаційно-розпорядчі методи
управління класифікують за різними ознаками. Найважливіше значення для них має
класифікація, побудована на врахуванні специфіки засобів важелів організаційного
впливу. Такими важелями є регламент, норма, інструкція, дисциплінарні вимоги,
відповідальність, повноваження та ін. Групуючи ці засоби впливу за роллю в
процесі управління, можна виділити дві групи організаційно-розпорядчих методів
управління: організаційно-стабілізуючі та розпорядчі. Центральне місце серед
них посідає перша група - організаційно-стабілізуючі методи впливу.
Основний зміст методів
організаційно-стабілізуючого впливу полягає у встановленні складу елементів
системи і стійких організаційних зв’язків між ними закріпленням певних
обов’язків як за системою в цілому, так і за окремими її ланками.
Другою групою
організаційно-розпорядчих методів управління є методи розпорядчого впливу, які
відображають поточне використання встановлених організаційних зв’язків і їх
часткове коригування в разі зміни умов роботи. В основу розпорядчих методів
покладено повноваження та обов’язки.
Обидві групи методів управління
використовуються спільно, оскільки вони доповнюють одна одну. Разом з тим ці
методи взаємозамінні, що і визначає особливості вибраного в управлінні того чи
іншого типу організації або основні аспекти організаційної діяльності в процесі
управління.
Організаційно-розпорядчі методи
управління можна класифікувати також за джерелами впливу. Тоді виділяють
способи організаційного впливу першого, другого та наступних рівнів управління,
практика свідчить, що кожний рівень системи управління має свої особливості
організаційного впливу і виділяє ті з них, які найбільш ефективні для цього
рівня. На вищих рівнях системи управління переважають регламентаційні та
нормативні способи організаційного впливу. На низовому щаблі управління на
передній план виходять розпорядчі методи, покликані регулювати та підтримувати
повсякденну виробничо-господарську діяльність. Диференціація способів
організаційного впливу за рівнями системи управління закономірна, оскільки вона
відображає обсяг повноважень, якими володіють керівники певного рангу, юридичне
становище певного рівня управління, специфіку управління, його функціональний
зміст на певному щаблі управління.
Обґрунтована диференціація
організаційно-розпорядчих методів управління за рівнями системи управління
відіграє важливу роль у теорії управління, сприяє найбільш повному врахуванню
організаційних відносин у соціально-економічній системі. І навпаки,
застосування організаційно-розпорядчих методів управління, що не відповідають
положенню щабля управління в ієрархії управлінської структури, призводить до
зривів, порушення ритму виробничо-господарських процесів.
Організаційно-розпорядчі методи
класифікують також за їх спрямованістю. Виділяють методи управління спрямовані
на суб’єкт і об’єкт управління. Специфіка, тієї чи іншої підсистеми визначає
специфіку організаційного впливу на кожну з них. Організація інтелектуальної
праці (діяльності суб’єкта управління) має свої особливості. В цьому процесі
основну роль відіграють: регламентуючі акти, відповідно до яких діють
працівники апарату управління, використовуючи права, повноваження та виконуючи
певні обов’язки в загальній системі управління.
Отже, організаційно-розпорядчі
методи витікають і суті управління, особливостей і властивих йому
взаємовідносин, є стрижнем управлінського впливу, специфічно управлінським
явищем. Звідси потреба застосування організаційно-розпорядчих методів
управління за будь-якої системи господарювання.
Розглянуті вище економічні та
організаційно-розпорядчі методи управління спрямовані в основному на
виробничо-господарську діяльність організацій і підприємств. Однак, організація
чи підприємство виступає в суспільстві не тільки як виробничо-економічна ланка,
а й як соціальний фактор. У зв’язку з цим менеджер повинен володіти соціальними
методами управління.
Під соціальними методами управління
розуміють систему засобів і важелів впливу на соціально-психологічний клімат у
колективі, на трудову і соціальну активність колективу і його окремих
працівників. Методи соціального управління спрямовані на гармонізацію
соціальних відносин у колективі задоволенням соціальних потреб працівників -
розвитку особистості, соціального захисту та ін.
До методів соціального управління
належать соціальне прогнозування, соціальне нормування, соціальне регулювання
та соціальне планування.
Соціальне прогнозування
використовується для створення інформаційної бази розробки планів соціального
розвитку та застосування методів соціального впливу у конкретному трудовому
колективі. Параметри соціального прогнозу включають такі показники: вікові і
статеві зміни в колективі; зміни загальноосвітнього та кваліфікаційного рівня
працівників; зміни в матеріальному забезпеченні та в побутових умовах
працівників; динаміку-співвідношення фізичної і розумової праці та ін.
Соціальне нормування як метод
управління полягає у наявності таких соціальних норм, які встановлюють порядок
поведінки окремих осіб і їхніх груп у колективі. Соціальні норми регулюють
різні сторони господарського. і соціального життя колективу і підпорядковують
їх єдиним цілям та завданням, які визначені характером виробничих відносин та
призначенням системи.
Соціальні норми відображають певного
роду інтереси - суспільні, класові, колективні та групові. Головне і
безпосереднє завдання цих норм - погодити всі види інтересів. Оскільки інтереси
визначають спрямованість поведінки окремих людей і їхніх груп, то взаємне
узгодження суспільних та особистих інтересів має вирішальне значення для
функціонування механізму регулювання управлінських відносин. Вирішити це
завдання досить складно, оскільки зв’язки між інтересами різних рівнів і різних
видів далеко не однозначні і, як правило, являють собою складну комбінацію і
нерідко можуть виявитися взаємно суперечливими.
Соціальне управління ґрунтується на
використанні великої різноманітності соціальних норм, оскільки різноманітні
регульовані ними відносини людей і соціальних систем. Проте вони можуть бути
згруповані за ознакою формування та реалізації їх. Розрізняють норми права,
норми моралі і авторитет громадської думки. Інакше кажучи, управлінські
відносини регулюються трьома видами соціальних норм:
- юридичними (правовими) нормами,
які встановлюються або санкціонуються державою;
- суспільними (неюридичними)
нормами, які встановлюються громадськими організаціями і товариствами;
нормами моралі, які
формуються в свідомості людей у процесі виховання і життєдіяльності їх.
Усі названі методи операційного
менеджменту організації виробництва реалізуються у відповідності з принципами
(правилами) прийняття управлінських рішень, найважливіші з них наступні:
- пошуки менеджером індивідуальних
підходів до прийняття того чи іншого управлінського рішення опираючись на їх
економічне обґрунтування;
- управлінські рішення
приймаються у послідовному, ціленаправленому руслі для досягнення кінцевої
мети;
оптимальне поєднання
централізованого управління підприємством і його окремими структурами;
врахування якісних фахових
показників персоналу, з врахуванням його соціально-психологічного стану;
у відповідності з правами,
обов’язками і відповідальністю працівників, відсутність яких веде до значних
неприємностей;
забезпечення менеджером
спільної зацікавленості усіх працівників підприємства в досягненні поставлених
цілей;
заохочення працівників по
просуванні їх службової кар’єри [38].
У системі операційного менеджменту
управлінське рішення - це процес, що реалізується операційним менеджментом і
забезпечується виконання ним завдання у фактичній чи прогнозованій ситуації.
Управлінське рішення операційного менеджменту є діями суб’єкта управління
(менеджер, який вибирає оптимальний варіант управлінського рішення) і об’єкта
управління (окремі працівники, або персонал, які виконують це рішення).
Управлінське рішення є комплексний
процес, який включає правовий, соціальний, психологічний і інші аспекти
суб’єкта управління. В правовому, соціальному, психологічному і інших аспектах,
суб’єкт управління дає розпорядження на виконання управлінських рішень і несе
повну відповідальність за їх своєчасне виконання і кінцевий результат отримання
прибутку. З точки зору економічного обґрунтування управлінських рішень
необхідно мати достовірну техніко-економічну інформації, після обробки якої
здійснюється вибір серед можливих варіантів такий, який найбільше близький до
оптимального, найкращого.
Процес прийняття управлінських
рішень відображає послідовність їх прийняття та впровадження. Це, насамперед,
вибір цілі і оцінка ситуації; визначення та прогнозування розвитку ситуації;
формування управлінських проблем; визначення управлінських обмежень; вибір
управлінських стратегій; вибір методу вирішення управлінських проблем; пошук
оптимальних варіантів і визначення критеріїв управлінських рішень; оцінювання,
вибір оптимального варіанта, узгодження, прийняття, доведення до впровадження
управлінське рішення і техніко-економічна оцінка результатів від впровадження
управлінського рішення.
Процес прийняття управлінських
рішень, на основі їх економічного обґрунтування у операційному менеджменті, у
ситуаціях надзвичайної складності, дає можливість отримати об’єктивний
результат за допомогою економіко-математичного моделювання. Це єдиний спосіб
проаналізувати варіанти перспективних і визначити потенційні наслідки
альтернативних управлінських рішень, завдяки чому їх можна об’єктивно порівняти
і вибрати найкращий варіант.
Отже, складність системи виробничих
відносин між людьми, що входять до трудового колективу, потребує застосування
комплексу методів впливу на колектив і окремих його членів, як економічних, так
і організаційно-розпорядчих та соціальних. У раціональному поєднанні цих
методів - запорука ефективної діяльності підприємства.
Підсумовуючи викладений матеріал,
можна зробити висновок, що операційна система є злагодженим механізмом
взаємодії різних складових, які організовують рух та трансформацію ресурсів,
забезпечуючи надходження доходів. Така система здатна генерувати продукт у
вигляді матеріальних та нематеріальних соціальних благ з додатковою вартістю,
яка є часткою доходів у вигляді чистого прибутку і основною метою
функціонування підприємства чи іншої бізнес-структури.
Всі елементи операційної системи
взаємозв’язані, їхні функції можуть перетинатися на різних рівнях. Однак,
основою такого механізму є чітка ієрархія, взаєморозуміння та взаємодія.
Розділ 2. Аналіз операційної
діяльності МПП "Промінь-S"
.1 Загальна характеристика
операційної системи підприємства
Мале приватне підприємство
"Промінь-S" було створено 20 грудня 1999 року, видано свідоцтво про
державну реєстрацію юридичної особи виконавчим комітетом Тернопільської міської
Ради №16391200000000482 вiд 20.12.1999 року.
- повне
найменування - Мале приватне підприємство "Промінь-S";
Місцезнаходження Підприємства: м.
Тернопіль, вул. Микуленьцька 40.
Засновником малого приватного
підприємства "Промінь-S" є Степась Євген Борисович.
Малому приватному підприємству
"Промінь-S" також підпорядковано: Тернопільську станцію технічного
обслуговування, що по вул. Будного 4, А.
Підприємство створено з метою
задоволення суспільних потреб юридичних та фізичних осіб у продукції, роботах,
послугах, одержання прибутку від здійснення виробничої, комерційної,
посередницької діяльності, надання послуг, науково-технічного і матеріально -
технічного забезпечення виробництва в сфері технічного обслуговування
сільськогосподарської техніки, торгівлі та здійснення іншої діяльності.
Основними напрямками діяльності
Підприємства є:
надання послуг з технічного
обслуговування, ремонту і діагностики сільськогосподарської техніки;
проведення інструментального
контролю технічного стану сільськогосподарської техніки;
діяльність, пов’язана з реалізацією
сільськогосподарської техніки та номерних агрегатів, що підлягають реєстрації
та обліку в органах внутрішніх справ;
оптова, роздрібна торгівля
сільськогосподарської техніки, запасними та комплектуючими частинами до них,
обладнанням, приладами, інструментами для технічного обслуговування
сільськогосподарської техніки;
діяльність щодо реалізації
(торгівлі) сільськогосподарської техніки та номерних агрегатів, що не
підлягають реєстрації в органах МВС;
прокат сільськогосподарської
техніки;
лізингові операції;
маркетингові, консалтингові та інші
послуги;
товарообмінні (бартерні) операції та
інша діяльність, побудована на формі зустрічної торгівлі;
юридична практика, в тому числі
консультування, надання послуг, представництво юридичних та фізичних осіб та
інше;
Приватне мале підприємство
"Промінь-S"є спеціалізована фірма, яка здійснює торговельну діяльність
з продажу сільськогосподарської техніки: Німецької машинобудівної компанії
"Claas". Надає послуги по ремонту сільськогосподарської техніки всіх
марок та модифікацій, включаючи на несення антикорозійного покриття та інше.
Виробнича діяльність приватного
малого підприємства "Промінь-S" базується на ремонті і технічному
обслуговуванні сільськогосподарської техніки, автомобілів та інших транспортних
засобів населення, роздрібна торгівля запчастинами та сільськогосподарською
технікою. Надання послуг з ремонту транспортних засобів здійснюється на основі
торговельного патенту виданого ДПІ м. Тернополя, роздрібна торгівля
запчастинами здійснюється на основі дозволу виданого управлінням торгівлі,
побуту та реєстрації Тернопільської міської ради.
Виробнича діяльність підприємства -
це надання послуг з ремонту сільськогосподарської техніки, транспортних засобів
населення. При поломці техніки на місце виїжає спеціальна бригада, яка оцінює
поломку, якщо несправності не можна полагодити на місці то техніку привозять на
фірму. Де техніка оглядається інженером з сервісу в зоні приймання. При
визначенні об’єму робіт машина направляється в ремонтну зону. Всі роботи, які
виконуються на підприємстві оформляються в маршрутному листі.
Для виробництва, а саме для ремонту
сільськогосподарської техніки, використовуються розхідні матеріали, як для
здійснення гарантійного обслуговування так і поточного ремонту. Найбільш широко
вживаними матеріалами є запасні частини для ремонту, масла (моторні та маслені
фільтри).
Для матеріально технічного
забезпечення постачання запасних частин складаються заявки помісячно і
поквартально.
Основними видами послуг з ремонту
сільськогосподарської техніки є:
ü Регулювання
паливної апаратури сільськогосподарської техніки;
ü Ремонт силових
агрегатів та їх заміна;
ü Рихтувально -
зварювальні роботи;
ü Заміна підшипників;
ü Заміна ланцюгів,
пасів;
ü Лакофарбу вальні
роботи;
ü Шиномонтажні роботи
та балансування коліс;
ü Транспортні послуги
населенню.
На Приватному малому підприємстві
"Промінь-S" існує два способи реалізації запасних частин
сільськогосподарської техніки та надання послуг з ремонту транспортних засобів:
Робота на замовлення, при цьому
способі підприємство працює на зарання відомий ринок. Висування товару під
реалізацію здійснюється в відповідності з наявним портфелем замовлень,
заключними контрактами, підрядами і попередніми угодами.
Попередньо обумовлені терміни
договірної дисципліни і взаємних угод: замовник зобов’язаний своєчасно провести
оплату за надані виконавцю товари чи послуги.
Робота на вільний ринок, при цьому
способі підприємство реалізує на вільний ринок без попередньо встановлених
обмежень послуги та запчастини. Завданням реалізації товарів при цьому способі
є вибір конкретних фірм реалізації, визначення допустимого рівня цін.
Реалізація товарів та послуг здійснюється через оптову та роздрібну торгівлю.
На підприємстві розроблено та
введено в дію такий вид продажу, як особистий продаж. Особистий продаж
базується на усному представлені товарів (запасних частин, техніки тощо) в ході
бесіди з одним або декількома потенційним покупцями з метою здійснення продажу.
На деяких етапах купівлі слід
відмітити, що це найбільш ефективний спосіб форми торгівлі. Причина полягає в
тому, що він має наступні характерні риси:
- здійснюється живе спілкування
між двома або більше особами;
- сприяє встановленню
різноманітних відношень між двома або більше особами до міцної дружби, між
учасниками зав’язується довготривалий контакт;
сприяє покупця відчувати
себе зобов’язаним, що з ним провели комерційну бесіду, він відчуває більш
сильну потребу прислухатися і відреагувати на запропоновану пропозицію.
Особистий продаж - самий дорогий і
ефективний з застосовуваних на підприємстві методів впливу.
Ринок запасних частин та техніки
постійно зазнає структурних змін.
В процесі структурних змін
спостерігається як диференційована структура в залежності від груп споживачів і
споживчих властивостей товару. В цьому важливе значення відіграє ринкова
сегментація, яка полягає в наступному:
здатністю підприємства здійснювати
диференціацію структуру збуту (ціна, спосіб стимулювання збуту, місця продажу
товару, тощо).
На процеси зміни сегментації ринку
важливий вплив має динаміка зміни структури ринку в Тернопільській області та в
структурі ринку України.
Ранжування проводиться по наступних
критеріях:
ємкість ринку - полягає в об’ємі
ввозу товару, аналогічного або близького до характеристик товару, що
пропонується підприємством (запчастини, техніка), тим вища ймовірність його
реалізації на даному ринку;
інвестиційна політика, згідно цього
для отримання довготривалого результату комерційної діяльності, перевагу слід
віддати тим ринкам, де проводиться інтенсивна і розрахована на певний період
інвестиційна політик, що цікавить підприємство;
імпортне регулювання має значний
вплив де спостерігається мінімум тарифних і не тарифних обмежень;
географічне розміщення відіграє
важливу роль при постачанні виробів (запчастин, техніки) однакової ваги, що
значно впливає на вибір ринку для реалізації товарів;
стабільність правового режиму впливає
на зміну динаміки структури ринку.
Продажам сприяє вірно організований
сервіс, що супроводжує виріб (сільськогосподарської техніки) на всьому протязі
його життєвого циклу у споживача, забезпечує постійну його готовність до
нормальної працездатності.
Основні принципи надання сервісних
послуг:
максимальні співвідношення між
вимогами споживачів та характеру споживаних виробів;
нерозривний зв’язок сервісу з
маркетингом;
гнучкість сервісу, його
цілеспрямованість на зміни вимог ринку, споживачів, обслуговуючих виробів
(техніки).
Основні завдання системи сервісу:
консультування потенціальних
споживачів перед споживанням ними виробів, що дозволяє зробити їм свідомий
вибір;
підготовка персоналу покупця (або
його самого) до ефективного використання придбаного товару;
передача необхідної технічної
документації, що дозволяє спеціалістам покупця належним чином виконати свої
функції;
передпродажна підготовка виробу
(техніки) для стабільної його роботи в процесі демонстрації покупцю;
забезпечення безперебійної роботи техніки
в процесі експлуатації;
формування постійної клієнтури ринку
по принципу: "Ви купуєте наш товар і використовуєте його ми виконуємо все
решта".
Обсяг основних видів продукції
(товарів, робіт, послуг), що виробляє (надає, здійснює) організація:
обсяг реалізації автосервісних
послуг - 2037,8 тис. грн.;
обсяг продажу сільськогосподарської
техніки - 6000000,9 тис. грн.;
обсяг продажу запасних частин та
матеріалів - 9001,6 тис. грн.;
Ринки збуту та особливості розвитку
галузі, у якій здійснює діяльність підприємство: реалізація продукції
(сільськогосподарської техніки, запасних частин та матеріалів) здійснюється в
межах ринку України серед юридичних та фізичних осіб. Автосервісні послуги
надаються в основному на регіональному ринку (Тернопільська область), який є
високо - конкурентним. Особливістю розвитку галузі машинобудування, одним із
сегментів якої є торгівля сільськогосподарською технікою, технічне
обслуговування і ремонт техніки, є застосування та втілення нових технологій за
всіма напрямками розвитку робіт у даній галузі.
Основними ринками збуту продукції є
територія Західного регіону України, Тернопільської області, включаючи області,
що межують поруч, включаючи м. Київ.
Основними клієнтами Приватного
малого підприємства "Промінь-S" є платоспроможні фізичні особи,
сільськогосподарські підприємства, фермери а також установи та організації, які
займаються різними видами сільськогосподарської діяльності.
В процесі виробничо-технічної
діяльності підприємство досягло значних успіхів в реалізації запасних частин,
техніки та надання послуг з ремонту сільськогосподарської техніки та
транспортних засобів і займає провідне місце в Західному регіоні України та
Тернопільської області на ринку послуг та торгівлі технікою та запчастинами, що
становить 32% від загальної кількості надання послуг та торгівлі технікою та
запчастинами.
Характерною особливістю в даний час
є те, що надані послуги надаються одночасно з реалізацією сільськогосподарської
техніки, що базується на прямих контактах між виробником і споживачем.
Значний вплив на надання послуг з
ремонту транспортних засобів, та продажу сільськогосподарської техніки є
інжиніринг, сукупність інтелектуальних видів діяльності, спрямованих на
досягнення ефективного використання матеріальних, трудових, технологічних і фінансових
ресурсів з врахуванням конкретних умов і факторів здійснення запланованих
заходів.
Значний вплив на діяльність
підприємства мають економічні та соціальні фактори. Досвід показує, що ремонт
технічних засобів i торгівля сільськогосподарською технікою знаходиться під
значним впливом циклічних коливань та під значною залежністю від загальних
економічних умов, платоспроможності споживачів, яка залежить від доходів
населення, рівня попиту на техніку i послуги по ремонту транспортних засобів.
Крім того підприємства, що займаються даним видом діяльності відчувають вплив
наступних ризиків:
ризику перевищення продажної ціни
сільськогосподарської техніки над фінансовими можливостями
сільськогосподарських господарств;
ризику недостачі розвитку
інфраструктури ринку;
ризику, що пов'язаний зі зміною
державних правил та податковим тиском.
Основними проблемами, що впливають
на діяльність підприємства є:
нестабільність та неузгодженість
податкового законодавства;
середній вплив;
низька платоспроможність
сільськогосподарських господарств;
значний вплив;
зношення обладнання;
нестабільність цін на
паливно-мастильні матеріали та енергоносії;
середній вплив.
Потенційними проблемами є:
- вихід на ринок нових товарів,
запропонованих конкурентами;
- ціноутворення та цінова
політика на послуги та товари, попит споживача та нецінова конкуренція.
Основними ризиками, з якими
зустрічається підприємство на ринку реалізації послуг, запасних частин та
техніки є:
- комерційні ризики, що включають
в себе об’єми реалізації товару, неефективна робота збутової сфери, невдалий
вивід на ринок нового товару, невдале використання контрагентів, умов договору,
протидії конкурентів, циклічні зміни в економіці, падіння попиту на товари,
зміна біржових котировок і цін на послуги, запчастини та техніку;
- фінансові ризики - ризики
неплатежу за поставлений товар (послуги, запчастини, тощо);
ризики неоптимального
розподілу фінансових ресурсів при плануванні надання послуг, реалізації
запчастин та техніки;
ризики великих інвестицій у
великомасштабних проектах (об’єкти капітального будівництва).
Основним діловим партнером малого
приватного підприємства "Промінь-S" є: Claas-німецька машинобудівна
компанія, виробник сільськогосподарської техніки. Claas має 14 заводів в
Європі, Азії та Америці, на яких працює понад 8 тисяч чоловік. Claas виробляє
зерно-і кормозбиральні комбайни, трактори, прес-підборщики, кормові машини,
телескопічні погрущики. Підприємство займається продажем запчастин до цієї
техніки та надає певні обслуговуючі послуги.
Основні конкуренти підприємства є: -
приватні підприємці, які здійснюють свою діяльність як суб’єкти підприємницької
діяльності зі спрощеною системою оподаткування, відповідно вартість їх послуг
менша.
Конкурентоспроможність багато в чому
визначається рівнем розвитку як сервісного обслуговування, так і забезпеченням
запасних частин та матеріалів. На сьогоднішній день Приватне мале підприємство
"Промінь-S" займає чинне місце на ринку та є конкурентоспроможним
підприємством в Україні.
.2 Аналіз структури управління МПП
"Промінь-S"
Приватне мале підприємство
"Промінь-S" здійснює свою діяльність відповідно до чинного
законодавства України. Воно несе відповідальність за своїми зобов’язаннями в
межах належного йому майна, має право укладати угоди, набувати майнові та
особисті немайнові права, нести обов’язки.
Приватне мале підприємство
"Промінь-S" складається з таких структурних пiдроздiлiв:
цех технічного обслуговування
сільськогосподарської техніки;
станція ТО;
мийка;
пункт діагностики двигунів;
фінансово - економічний відділ, куди
входять: заступник генерального директора по фінансових питаннях - головний
бухгалтер, заступник головного бухгалтера, бухгалтери, касир начальник
планово-економічного відділу, програміст, економіст, головний ревізор;
- інженерно - технічний відділ, куди
входять: начальник ВТВ, інженер, інженер - енергетик, інженер - будівельник;
- матеріально - технічне
постачання з/ч, куди входять: начальник відділу з/ч, інженр по з/ч, завідуючий
центрального складу, комірник центрального складу;
гарантійна служба складається
з: старшого інженера по гарантії, інженера по гарантії;
головне підприємство, яке
складається з: директора головного підприємства станції, інженер - приймальник
(стіл замовлень), майстер виробництва, консультант по з/ч, комірник, оператор
по обслуговуванню орг. техн., продавець магазину з/ч,;
торговий відділ, куди
входять: заступник генерального директора по торгівлі, менеджери з продажу
сільськогосподарської техніки, страховик, продавець, завідуючий складом,
комірник, водії.
Зокрема на підприємстві є ще й такі
посади: генеральний директор, заступник генерального директора по сервісу та
з/ч, головний інженер, помічник генерального директора по кадрам і безпеки
підприємства, заступник генерального директора по торгівлі
сільськогосподарською технікою, юрист - консультант, офіс - менеджер,
спеціаліст по рекламі - менеджер по корпоративним продажам, головний ревізор.
Керівництво підприємством здійснює
генеральний директор. Всі структурні підрозділи знаходяться в м. Тернополі.
Управління фінансовою діяльністю
здійснює фінансовий директор. Разом з генеральним директором він несе
відповідальність за фінансовий стан підприємства. Збутово-маркетингова
діяльність належить менеджеру по збуту. Облік діяльності фірми здійснює
головний бухгалтер.
Комерційний директор здійснює
оперативне планування, реалізацію поставлених завдань, вносить відповідні
корективи та здійснює контроль за процесом виконання плану. Взагалі, економічна
служба побудована на принципі максимального врахування динаміки навколишнього
середовища. Виходячи з цього, комерційний директор здійснює ціноутворення,
прогнозування, економічний аналіз та управління персоналом. Свою діяльність,
виходячи з стратегії розвитку підприємства, що визначає генеральний директор,
він будує на основі інформації, отриманої від фінансового директора, менеджера
по збуту та головного бухгалтера.
Організаційна структура постійно
вдосконалюється, все більше пристосовується до ринкових умов господарювання,
але головним напрямком вдосконалення є перехід до стратегічного менеджменту. В
зв'язку з цим в перспективі все більше приділятиметься уваги управлінню
маркетингом, що включає в себе не тільки прогноз розвитку ринку, але і
можливість впливати на майбутнє.
.3 Аналіз фінансових показників
діяльності підприємства
Для оцінки фінансового стану
підприємства проведемо вивчення показників бухгалтерського балансу в динаміці,
яке дасть змогу прослідкувати за напрямками розвитку підприємства. Для цього
проведемо аналіз динаміки балансу в таблиці 2.1.
Таблиця 2.1
Динаміка балансу МПП "Промінь-S"
|
Актив балансу
|
2010 рік
|
2011 рік
|
Відхилення
|
|
т. грн.
|
%
|
т. грн.
|
%
|
т. грн.
|
%
|
|
1
|
2
|
3
|
4
|
5
|
6
|
7
|
|
Баланс
|
596,1
|
100
|
369,0
|
100
|
-227,1
|
61,9
|
|
Необоротні активи:
|
533,2
|
89,4
|
293,3
|
79,5
|
-239,9
|
55,0
|
|
- незавершене будівництво
|
4,4
|
0,74
|
-
|
-
|
-4,4
|
-
|
|
- основні засоби
|
528,8
|
88,7
|
293,3
|
79,5
|
-235,5
|
55,5
|
|
Оборотні активи:
|
62,9
|
10,6
|
75,7
|
20,5
|
12,8
|
120,3
|
|
- запаси
|
33,1
|
5,6
|
32,4
|
8,8
|
-0,7
|
97,9
|
|
- дебіторська заборгованість за товари роботи
послуги
|
16,0
|
2,7
|
3,1
|
0,8
|
-12,9
|
19,4
|
|
- дебіторська заборгованість за розрахунки
|
8,3
|
1,38
|
30,6
|
8,3
|
22,3
|
368,7
|
|
- інша поточна дебіторська заборгованість
|
5,4
|
0,9
|
9,5
|
2,58
|
4,1
|
175,9
|
|
- грошові кошти
|
0,1
|
0,02
|
0,1
|
0,02
|
-
|
100
|
|
Власний капітал:
|
477,1
|
80,0
|
314,1
|
85
|
163,0
|
65,8
|
|
- статутний капітал
|
144,7
|
24,3
|
12,7
|
3,4
|
-132,0
|
8,7
|
|
- пайовий капітал
|
418,3
|
70,2
|
426,7
|
115,5
|
8,4
|
102
|
|
- інший додатковий капітал
|
1,7
|
0,2
|
1,7
|
0,5
|
-
|
100
|
|
- нерозподілений прибуток
|
-87,6
|
-14,7
|
-127,0
|
-34,4
|
-39,4
|
145
|
|
Поточні зобов’язання:
|
119,0
|
20
|
54,9
|
15
|
-64,1
|
46,1
|
|
- короткострокові кредити банків
|
40,0
|
6,7
|
-
|
-
|
-40
|
0
|
|
- кредиторська заборгованість за товари,
роботи, послуги
|
40,6
|
6,7
|
-
|
-
|
-40,0
|
0
|
|
- поточні зобов’язання за розрахунками
|
37,7
|
6,3
|
27,2
|
7,43
|
-10,5
|
72,1
|
|
- інші поточні зобов’язання
|
0,7
|
0,2
|
0,5
|
0,14
|
-0,2
|
71,4
|
На основі аналізу динаміки балансу
можна відзначити зменшення власності на 227,1 тис. грн. Це відбувається в
наслідок скорочення необоротних активів на 45,0% та, відповідно, власного
капіталу на 34,2%. Проте позитивним явищем є скорочення поточних зобов’язань на
53,9%.
При аналізі балансу слід враховувати
наявність і динаміку дебіторської та кредиторської заборгованості. Вони
виникають в наслідок розрахунків підприємства з постачальниками та покупцями,
фінансовими органами. Великі обсяги заборгованості приводять до самовільного
перерозподілу основних коштів між підприємствами. Дебіторська заборгованість
підприємства поділяється на виправдану та невиправдану. Перша виникає внаслідок
існуючого порядку та діючих форм розрахунків, строки погашення її ще не
надійшли, і тому вона вважається виправданою. Друга виникає в результаті
порушення порядку розрахунку, строки її погашення порушені, і тому цю
заборгованість відносять до невиправданої. Для проведення аналізу структури
дебіторської заборгованості доцільно використати дані аналітичної таблиці 2.2.
Таблиця 2.2
Структура дебіторської
заборгованості за 2011 рік
|
Заборгованість
|
На початок року, т. грн.
|
Питома вага, %
|
На кінець року, т. грн.
|
Питома вага, %
|
Відхилення, т. грн.
|
Відхилення, %
|
|
Сума дебіторської заборгованості
|
29,7
|
100
|
43,2
|
100
|
13,5
|
145
|
|
За товари, роботи та послуги
|
16,0
|
53,9
|
3,1
|
7,2
|
-12,9
|
19,4
|
|
З бюджетом
|
8,3
|
27,9
|
30,6
|
70,8
|
22,3
|
368,7
|
|
Інша поточна дебіторська заборгованість
|
5,4
|
18,2
|
9,5
|
22
|
4,1
|
175,9
|
Аналізуючи структуру дебіторської
заборгованості слід відмітити значне зростання заборгованості на 45%, особливо
перед бюджетом та іншими дебіторами відповідно на 22,3 тис. грн. та 4,1 тис.
грн. Дебіторська заборгованість за товари, роботи та послуги зменшилась
суттєво, на 12,9 тис. грн.
Значну питому вагу в складі джерел
засобів підприємства займають позичені, в тому числі кредиторська
заборгованість. Ця заборгованість є сукупністю коштів, яку підприємство
залучило в оборот за рахунок господарських операцій з партнерами, банками,
державними установами. Наявність цієї заборгованості з одного боку дозволяє
підприємству використовувати додаткові грошові кошти на власні потреби, без
сплати процентів, з іншого боку така ситуація погіршує розрахункову дисципліну
та може викликати штрафні санкції з боку кредиторів. Про погіршення розрахунків
з постачальниками, бюджетом та щодо оплати праці свідчить виникнення або
зростання у звітному періоді простроченої заборгованості, а також
заборгованості, що виникла в наслідок порушення підприємством встановленого
порядку розрахунків та фінансової дисципліни. Через це такі причини детально
вивчають в процесі аналізу. Крім простроченої заборгованості, особливу увагу
слід приділити аналізу заборгованості постачальникам за невідфактурованими
поставками, замовникам за авансами та іншою кредиторською заборгованістю.
Розглянемо структуру кредиторської заборгованості за даними таблиці 2.3.
Таблиця 2.3
Структура кредиторської
заборгованості за 2011 рік
|
Заборгованість
|
На початок року, т. грн.
|
Питома вага, %
|
На кінець року, т. грн.
|
Питома вага, %
|
Відхилення, т. грн.
|
Відхилення, %
|
|
Короткострокові кредити банків
|
40,0
|
33,6
|
-
|
-
|
- 40,0
|
0
|
|
Заборгованість за товари, роботи, послуги
|
40,6
|
34,1
|
27,2
|
49,5
|
- 13,4
|
67
|
|
З бюджетом
|
10,0
|
8,4
|
10,5
|
19,1
|
0,5
|
105
|
|
Зі страхування
|
14,2
|
11,9
|
14,2
|
26
|
-
|
|
З оплати праці
|
13,5
|
11,4
|
2,5
|
4,6
|
- 11
|
18,5
|
|
Інші поточні зобов’язання
|
0,7
|
0,6
|
0,5
|
0,8
|
- 0,2
|
71,4
|
|
Всього
|
119.0
|
100
|
54,9
|
100
|
- 64,1
|
46,1
|
При аналізі структури кредиторської
заборгованості потрібно відмітити значне зменшення заборгованості за всіма
статтями, окрім бюджету, що в загальному призвело до її зменшення на 64,1 тис.
грн.
Аналіз фінансового стану служить для
покращення організації фінансів підприємства та підвищення ефективності їх
використання в процесі господарської діяльності. Зміст аналізу фінансового
стану полягає у вивченні використання засобів виробництва, платоспроможності
підприємства, забезпеченості власним капіталом та власними оборотними коштами,
стану виробничих засобів та позичених джерел їх утворення, виявлення шляхів
підвищення ефективності використання фінансових ресурсів. Основним джерелом
даних для аналізу фінансового стану є баланс та звіт про фінансові результати.
Вивчення показників фінансового стану МПП "Промінь-S" проведемо в
таблиці 2.4.
Таблиця 2.4
Показники фінансового стану МПП
"Промінь-S"
|
№з\п
|
Показники
|
Формула для розрахунку
|
Реком. значення
|
Фактичне значення
|
Відхилення
|
|
1
|
2
|
3
|
4
|
5
|
6
|
|
Показники ліквідності
|
|
1
|
Коефіцієнт абсолютної ліквідності
|
(Грошові кошти + Поточні фінансові інвестиції)
/ Поточні зобов'язання (р.220 + р.230 + р.240) / р.620 (Ф.1)
|
> 0,2
|
0,002
|
не в нормі
|
|
2
|
Коефіцієнт швидкої ліквідності
|
(Грошові кошти + Поточні фінансові інвестиції
+ Дебіторська заборгованість) / Поточні зобов'язання ((р.220 + р.230 + р.240)
+ (р.160 - р.210)) / р.620 (Ф.1)
|
> 0,7
|
0,118
|
не в нормі
|
|
3
|
Коефіцієнт загальної ліквідності (покриття)
|
Оборотний капітал / Поточні зобов'язання р.260
/ р.620 (Ф.1)
|
≥ 2
|
1,379
|
не в нормі
|
|
Показники фінансової стійкості
|
|
1
|
Коефіцієнт фінансової незалежності (автономії)
|
Джерела власних і прирівняних до них коштів /
Валюта балансу р.380 / р.280 (Ф.1)
|
> 0,5
|
0,851
|
норма
|
|
2
|
Коефіцієнт фінансової залежності
|
Позичений капітал / Валюта балансу (р.480 +
р.620) / р.280 (Ф.1)
|
< 0,5
|
0,149
|
норма
|
|
3
|
Коефіцієнт фінансової стабільності
|
Власний капітал / Позичений капітал (р.380 +
р.430 + р.630) / (р.480 + р.620) (Ф. №1)
|
> 1
|
5,721
|
норма
|
|
4
|
Коефіцієнт фінансового ризику
|
Позичений капітал / Власний капітал (р.480 +
р.620) / (р.380 + р.430 + р.630) (Ф. 1)
|
< 1
|
0,175
|
норма
|
|
5
|
Коефіцієнт загальної заборгованості
|
(Загальний капітал - Власний капітал) /
Загальний капітал (р.640 - (р.380 + р.430 + р.630)) / р.640 (Ф.1 )
|
< 0,5
|
0,149
|
норма
|
|
6
|
Коефіцієнт мобільності (маневрування)
оборотного капіталу
|
Власний оборотний капітал / Власний капітал
(р.380 + р.480 - р.80) / (р.380 + р.430 + р.630) (Ф. 1)
|
0,5
|
0,066
|
не в нормі
|
|
7
|
Частка основного капіталу у власному
|
Основний капітал / Власний капітал р.080 /
(р.380 + р.430 + р.630) (Ф.1)
|
|
0,934
|
|
|
8
|
Коефіцієнт концентрації власного капіталу
|
Власний капітал / Загальний капітал (р.380 +
р.430 + р.630) / р.640 (Ф.1)
|
maх
|
0,851
|
|
|
9
|
Коефіцієнт концентрації позиченого капіталу
|
Позичений капітал / Загальний капітал (р.480 +
р.620) / р.640 (Ф.1)
|
mіn
|
0,149
|
|
|
10
|
Коефіцієнт співвідношення позиченого і
власного капіталу
|
Позичений капітал / Власний капітал (р.480 +
р.620) / (р.380 + р.430 + р.630) (Ф.1)
|
mіn
|
0,175
|
|
|
Показники ділової активності
|
|
1
|
Коефіцієнт ділової активності
|
Виторг від реалізації / Валюта балансу р.010
(Ф.2) / р.280 (Ф. 1)
|
maх
|
1,079
|
|
|
2
|
Коефіцієнт ефективності використання
фінансових ресурсів (рентабельності активів)
|
Чистий дохід / Валюта балансу р.35 (Ф.2) /
р.280 (Ф. 1)
|
|
0,925
|
|
|
3
|
Тривалість обігу фінансових ресурсів (днів)
|
Валюта балансу * Кількість днів у періоді /
Чистий дохід р.280 (Ф. 1) * 365 / р.35 (Ф.2)
|
|
394,7
|
|
|
4
|
Коефіцієнт оборотності оборотного капіталу
|
Виторг від реалізації / Середній залишок
оборотного капіталу р.010 (Ф.2)/р.260 сер. річн. (Ф.1)
|
|
5,746
|
|
|
5
|
Тривалість одного обороту оборотного капіталу
(днів)
|
Середній залишок оборотного капіталу *
Кількість днів у періоді / Виторг від реалізації р.260 сер. р.(Ф.1)*
365/р.010 (Ф.2)
|
|
63,522
|
|
|
6
|
Коефіцієнт забезпечення власними коштами
|
Власний оборотний капітал / Оборотний капітал
(р.380 + р.480 - р.80) сер. річн. / р.260 сер. річн. (Ф.1)
|
|
- 0,089
|
|
|
7
|
Доля оборотного капіталу, %
|
Оборотний капітал * 100% / Валюта балансу р.260
* 100% / р.280 (Ф.1)
|
|
20,5
|
|
|
8
|
Доля власного оборотного капіталу, %
|
Власний оборотний капітал * 100% / Оборотний
капітал (р.380 + р.480 - р.80) * 100% / р.260 (Ф.1)
|
|
27,5
|
|
|
9
|
Рентабельність власного капіталу, %
|
Чистий прибуток * 100% / Середня величина
власного капіталу р.220 (Ф.2) * 100% / (р.380 + р.480 - р.80) сер. річн.
(Ф.1)
|
|
- 160,2
|
|
|
10
|
Рентабельність капіталу, %
|
Чистий прибуток * 100% / Середня величина
валюти балансу р.220 (Ф.2) * 100% / р.640 сер. річн. (Ф.1)
|
mах
|
- 8,2
|
|
Як видно з таблиці підприємство має
неліквідний баланс, бо з 3-х показників ліквідності всі показники не досягають
нормативного значення. Проводячи аналіз показників фінансової стійкості
підприємства слід зазначити, що лише коефіцієнт мобільності (маневрування)
оборотного капіталу менший за допустиме значення. Тобто фінансовий стан
підприємства можна рахувати за стійкий. Що стосується показників ділової
активності підприємства, то необхідно зазначити, що коефіцієнти рентабельності
власного капіталу та капіталу мають від’ємне значення, а отже підприємство
працює збитково.
На основі проведеного аналізу
фінансового стану можна зробити висновок, що МПП "Промінь-S" має
неліквідний баланс і є неплатоспроможним та збитковим підприємством.
.4 Аналіз забезпеченості
підприємства основними фондами
Основні фонди - економічна форма
засобів праці у системі виробничих відносин. Це складова частина виробничого
потенціалу підприємств та об'єднань. Підвищення використання основних фондів
має важливе народногосподарське значення.
Зростання віддачі основних фондів
дає змогу збільшити обсяг випущеної продукції без додаткових капітальних
вкладень. За умов прискорень науково-технічного прогресу підвищення
ефективності виробництва все більше залежить від того, як використовуються
наявні основні фонди.
Значення аналізу використання
основних фондів перед усім полягає у виявленні наявних резервів підвищення їх
віддачі та збільшення випуску продукції на кожному підприємстві. Отже, завдання
аналізу полягають у такому:
- вивчення складу, структури та
динаміки основних фондів, забезпеченості ними підприємства;
- оцінка технічного стану та
вікового складу обладнання;
аналіз узагальнюючих
показників ефективності використання основних фондів;
аналіз використання
обладнання за часом та потужністю;
аналіз використання
виробничих площ;
виявлення резервів
ефективнішого використання основних фондів та шляхів їх мобілізації.
При аналізі забезпеченості основними
засобами потрібно вивчити, чи достатньо у підприємства основних фондів, яка їх
наявність, динаміка, склад, структура, технічний стан, рівень виробництва та
його організація.
Основні виробничі фонди неоднорідні,
виконання ними різних функцій та різноманітне їх цільове використання обумовили
розподіл основних фондів на різні групи. У залежності від функціонального
призначення у виробничо-господарській діяльності вони поділяються на виробничі
(промислові та виробничі фонди інших галузей) та невиробничі.
Із вказаних трьох груп
промислово-виробничі фонди безпосередньо пов’язані з виробництвом продукції і
тому мають найбільшу питому вагу.
Аналіз зазвичай починають з вивчення
об’єму основних фондів, їх динаміки та структури. Фонди підприємства
поділяються на активну та пасивну частину. До активної частини відносять машини
та обладнання. Будівлі, споруди, передавальні пристрої, транспорт, інструмент,
виробничо-господарський інвентар складають пасивну частину основних фондів.
Підвищення питомої ваги активної
частини основних фондів сприяє зростанню технічної озброєності, збільшення
виробничої потужності підприємства, зростанню фондовіддачі. Також не менш
важлива роль пасивної частини основних фондів, так як відсутність нормальних
умов праці приводить до хвороб, травматизму, текучості кадрів, зниження
продуктивності праці. Попри це доцільно мати певну частину основних виробничих
фондів інших галузей та невиробничих, які сприяють розширенню сфери послуг, що
надаються працівникам підприємства.
Розглянемо наявність, структуру та
динаміку основних виробничих фондів МПП "Промінь-S" за аналізований
період, представлену в таблиці 2.5.
Аналізуючи дані таблиці можна
зробити висновок, що протягом звітного періоду основні виробничі фонди
зменшились на 33 тис. грн., і становили у порівнянні з базовим роком 95,2%. За
звітний період найбільше зменшилась частка передавальних пристроїв, у
порівнянні з базовим роком вона становила 60%, тобто зменшилась на 200 грн.
Практично пропорційно зменшились питомі частки будівель та машин і обладнання,
приблизно на 95%. Слід відмітити також значне зниження питомої ваги споруд
(70,4%) та інструменту і виробничо-господарського інвентарю (78,6%), і на
кінець 2011 року вони відповідно коштували на 0,8 та 0,3 тис. грн. менше ніж у
2010 році.
Аналізуючи структуру основних фондів
потрібно відмітити тенденцію на збільшення питомої ваги пасивної частини
основних фондів, у 2010 році питома частка машин та обладнання становила 17,7%
у порівнянні з 2011 роком - 17,2%, і на кінець звітного періоду вони становили
114,2 тис. грн. Це на 9 тис. грн. менше ніж у 2010 році. Питома вага будівель
під кінець звітного періоду становила 80,45%. Питома вага споруд, передавальних
пристроїв, транспорту, інструменту та іншого виробничо-господарського інвентарю
зменшилась в структурі основних виробничих фондів.
Важливе значення має аналіз вивчення
руху та технічного стану основних виробничих фондів. Для цього розраховують
наступні показники:
- коефіцієнт оновлення - відображає
інтенсивність оновлення основних фондів та вираховується як відношення вартості
основних фондів, що поступили за звітний період та їх вартості на кінець цього
періоду. При проведенні аналізу необхідно порівняти коефіцієнт оновлення по
активній частині з коефіцієнтом оновлення по всіх основних фондах, і вияснити,
за рахунок якої частини основних фондів в більшій мірі відбувається оновлення;
- коефіцієнт вибуття -
характеризує суть інтенсивності вибуття основних фондів із сфери виробництва і
розраховується як відношення вартості основних фондів, що вибули за звітний
період до їх вартості на початок цього періоду. При проведенні аналізу
необхідно порівняти коефіцієнт вибуття по активній частині з коефіцієнтом
вибуття по всіх основних фондах, і вияснити за рахунок якої частини
відбувається вибуття. Більш високий коефіцієнт вибуття по активній частині, ніж
по всіх інших фондах покаже, що їх вибуття на підприємстві здійснюється якраз
за рахунок активної частини і це негативно вплине на показник фондовіддачі за
інших однакових умов;
коефіцієнт приросту -
характеризує рівень приросту основних фондів чи окремих його груп за певний
період і розраховується як відношення вартості приросту основних фондів до їх
вартості на початок цього періоду.
При проведенні аналізу коефіцієнти
оновлення, вибуття та приросту основних виробничих фондів потрібно розглядати
взаємопов’язано.
Узагальнюючими показниками
технічного стану основних фондів є коефіцієнт зносу та придатності:
- коефіцієнт зносу - визначається
як відношення суми зносу до початкової вартості основних фондів;
- коефіцієнт придатності - це
обернений коефіцієнт до коефіцієнту зносу і визначаться як відношення
залишкової вартості основних фондів до початкової.
Чим нижче коефіцієнт зносу (вище
коефіцієнт придатності), тим кращий технічний стан в якому знаходяться основні
виробничі фонди на підприємстві.
Для аналізу вікового стану активної
частини основних виробничих фондів, діюче обладнання групується по видах, а в
середині груп по тривалості використання, що відображено у таблиці 2.6.
Таблиця 2.6
Віковий склад устаткування
підприємства на кінець звітного року
|
Вид устаткування
|
Вікові групи обладнання
|
Разом
|
Питома вага
|
|
до 5 років
|
5-10 років
|
10-20 років
|
|
|
|
Металорізальне
|
18,85
|
56,55
|
-
|
75,4
|
52
|
|
Піднімально-транспортне
|
17,42
|
11,62
|
-
|
29,04
|
20
|
|
Діагностичне
|
9,8
|
7,84
|
4,14
|
21,78
|
15
|
|
Інше
|
0,95
|
9,5
|
8,53
|
18,98
|
13
|
|
Разом
|
47,2
|
85,51
|
12,67
|
145,2
|
100
|
|
Питома вага
|
32,4
|
58,9
|
8,725
|
100
|
-
|
Дані таблиці свідчать про те, що
найбільша питома вага серед всього обладнання припадає на металорізальне
обладнання 52% або 75,4 тис. грн., при загальній вартості обладнання 145,2 тис.
грн. Піднімально-транспортне обладнання в звітному році становить 20% або 29,04
тис. грн., діагностичне та інше обладнання займає відповідно 15% і 13% питомої
ваги та вартує 21,78 тис. грн. і 18,98 тис. грн. Для більш детальної
характеристики зобразимо віковий склад обладнання через його питому вагу.
Отримані результати занесемо в таблицю 2.7.
Таблиця 2.7
Питома вага вікового складу
обладнання
|
Вид устаткування
|
Вікові групи обладнання
|
Разом
|
середній вік
|
|
до 5 років
|
5-10 років
|
10-20 років
|
|
|
|
Металорізальне
|
25
|
75
|
-
|
100
|
6,3
|
|
Піднімально-транспортне
|
60
|
40
|
-
|
100
|
4,5
|
|
Діагностичне
|
45
|
36
|
19
|
100
|
6,7
|
|
Інше
|
5
|
50
|
45
|
100
|
10,6
|
|
Питома вага
|
33,75
|
50,25
|
16
|
100
|
7,03
|
Дані таблиці показують, що середній
вік обладнання становить 7,03 роки. У розрізі окремих видів устаткування він
коливається від 4,5 до 10,6 року.
Найстарше є устаткування яке
виділене в таблиці, як "інше", його вік становить 10,6 років. Значна
його частина (до 45%) має строк служби від 10 до 20 років. В загальному питома
вага всього устаткування яке має строк служби 10-20 років становить 16%. Це
найстаріше обладнання, яке в першу чергу підлягає заміні. Потрібно відмітити
велику питому вагу обладнання строком служби від 5 до 10 років, яке займає
50,25% в загальній структурі. 35,75% припадає на найбільш нове обладнання.
Велика питома вага нового обладнання засвідчує про хороший технічний стан
обладнання.
Найважливішими узагальнюючими
показниками ефективності використання основних виробничих фондів є фондовіддача
та фондомісткість.
Фондовіддача характеризує
виробництво продукції на одиницю середнього обсягу основних виробничих фондів
за період, що аналізується. Фондомісткість - показник обернений показнику
фондовіддачі.
При розрахунку фондовіддачі можуть
використовуватись як вартісні так і натуральні вимірники обсягу продукції та
основних виробничих фондів. При розрахунку показників фондовіддачі вихідні дані
приводять у спів ставний вигляд. Об’єм продукції потрібно скорегувати на зміни
оптових цін та структурних зрушень, а вартість основних засобів на їх
переоцінку.
Розрахуємо показники фондовіддачі та
фондомісткості за 2010-2011 роки на основі даних, представлених в таблиці 2.8.
Таблиця 2.8
Показники фондовіддачі та
фондомісткості
|
Показники
|
2010 р.
|
2011 р.
|
Відхилення
|
|
|
|
абсолютне, тис. грн.
|
відносне, %
|
|
1
|
2
|
3
|
4
|
5
|
|
Товарна продукція, тис. грн.
|
180,3
|
101,2
|
-79,1
|
56,1
|
|
Вартість основних фондів, тис. грн.
|
694,2
|
661,2
|
-33
|
95,2
|
|
У тому числі машин та обладнання
|
123,2
|
114,2
|
-9
|
92,7
|
|
Питома вага активної частини основних фондів,
%
|
17,7
|
17,2
|
-0,5
|
97,2
|
|
Фондовіддача основних виробничих фондів, тис.
грн./чол.
|
38,6
|
36,7
|
-1,9
|
95,1
|
|
Фондовіддача активної частини основних фондів,
тис. грн./чол.
|
6,84
|
6,34
|
-0,5
|
92,7
|
|
Фондомісткість основних виробничих фондів
|
3,85
|
6,53
|
2,68
|
169,6
|
|
Фондомісткість активної частини основних
виробничих фондів
|
0,68
|
1,13
|
0,45
|
166,2
|
Аналізуючи дані таблиці можна
зробити висновок, що за звітний період фондовіддача зменшилась з 38,6 тис. грн.
до 36,7 тис. грн., тобто на 1,9 тис. грн., або на 4,9%. Аналізуючи фондовіддачу
активної частини основних фондів робимо висновок, про те, що віддача активної
частини основних виробничих фондів зменшується, що є негативним явищем, яке
характеризує зменшення об’єму продукції, що припадає на одиницю активної
частини основних виробничих фондів. Аналізуючи фондомісткість (обернений
показник до фондовіддачі) робимо висновок про збільшення фондомісткості
протягом звітного періоду. Це явище негативно характеризує діяльність
підприємства.
Розділ 3. Розробка і обґрунтування
проекту по вдосконаленню системи операційного менеджменту МПП
"Промінь-S"
.1 Обґрунтування цілей, задач і
шляхів впровадження проекту
В процесі проведення аналізу на
підприємстві було виявлено ряд недоліків, усунення яких забезпечить покрашення
окремих процесів. Але ці заходи не в змозі забезпечити комплексне підвищення
ефективності підприємства, так як вони спрямовані на окремі процеси діяльності
чи підрозділи підприємства, та не відповідають необхідній методології.
Тому підвищення ефективності роботи
підприємства буде досягатися шляхом розробки проекту. Розробка проекту
забезпечить системність та комплексність методів і засобів, за допомогою яких
буде досягатись конкретний результат.
Цілю вищого рівня тобто головною
цілю проекту є підвищення ефективності роботи МПП "Промінь-S". Саме
на досягнення цієї мети і буде спрямована розробка проекту.
До другорядних цілей розробки
проекту ми відносимо:
- досягнення
соціально-економічної вигоди;
- отримання прибутку;
- освоєння нових
видів послуг;
- зростання
показників діяльності в існуючому сегменті ринку;
- проникнення на
новий сегмент ринку;
- закріплення та
покращення позицій на новому сегменті ринку;
- розробка більш
ефективної організаційно-виробничої структури;
- зменшити втрати при
надані послуг.
Досягнення соціально-економічної
вигоди - до соціально економічних вигод
відноситься створення додаткових робочих міць, забезпечення споживачів
високоякісними послугами, збільшення податкових відрахувань до місцевого
бюджету, зростання репутації підприємства.
Отримання прибутку -
отриманий прибуток є однією з головних цілей функціонування підприємства.
Отриманий прибуток е джерелом фінансування та формування результатів діяльності
підприємства. Отримання прибутку вказує на доцільність роботи підприємства.
Тому отримання прибутку вказує на доцільність розробки та впровадження проекту.
Освоєння нових видів послуг -
при розробці проекту планується створення нових видів послуг а саме рихтування
та фарбування автомобілів.
Проникнення на новий сегмент ринку -
новим сегментом ринку вважається надання послуг по фарбуванню автомобілів. Для
досягнення цієї цілі планується створення додаткової фарбувальної дільниці на
підприємстві.
Закріплення та покращення позицій на
новому сегменті ринку - закріплення
позицій в новому сегменті ринку має стратегічне значення для реалізації
проекту. Забезпечення реалізації цієї цілі напряму впливає на 3 та 4 фазі
життєвого циклу проекту. Тому для її досягнення будуть використані
маркетингові, економічні та соціальні прийоми.
Розробка більш ефективної
організаційно-виробничої структури - підвищення
ефективності роботи підприємства є головною метою розробки проекту.
Використання існуючої організаційно-виробничої структури не може забезпечити
досягнення цієї цілі. Звідси виникає необхідність розробки
організаційно-виробничої структури, яка б в повній мірі відповідала потребам
проекту.
Зменшити втрати при надані послуг,
часу та інших ресурсів завжди мають місце під час господарської діяльності
підприємства. Повністю, тобто 100%, ліквідувати втрати неможливо з об’єктивних
причин. Але за допомогою раціональної організації виробничо-господарських
процесів можливо досягнути їх мінімального значення.
Одним з головних завдань є
досягнення встановлених цілей за показниками обсягів, часу, затрат (бюджету),
якості.
Нам потрібно забезпечити найкращу
якість виконання необхідних робіт з мінімальним бюджетом і в стислі строки.
Згадані цілі проекту мають різні вектори спрямування, тобто скорочення строків
виконання проекту потребує збільшення бюджету за незмінних обсягів і якості, чи
навпаки - обмеження бюджету вимагає
збільшення строків або ж коригування вимог щодо якості. Тому від природного,
але нездійсненного бажання мати за всіма цілями якнайкращі показники знаходять
розумний компроміс і обирають прийнятний варіант проекту -
адекватного вимогам замовника щодо обсягів і якості, поміркованого за строками
й економного за бюджетом. Таким чином, дуже важливими є, по-перше, гармонізація
цілей, а по-друге - встановлення
пріоритетів (залежно від характеру проекту і вимог замовника), що їх надають
цим цілям у ході виконання проекту і виникнення відхилень.
Згідно з фінансово-економічним
станом підприємства найдоцільніше буде створення економічно-адекватного
проекту. Розробка та впровадження такого проекту потребує значних затрат часу,
але, з іншого боку, дозволяє зменшити витрати на його розробку та впровадження.
Також такий розподіл дозволяє
дотримуватись якості високого рівня, що на наш час є просто необхідною умовою і
навіть однією з стратегічних цілей організації взагалі.
Наступною важливою дією в розробці
проекту є постановка та обґрунтування задач проекту, які необхідно виконати.
Задачі - це кроки, які необхідно виконати, щоб досягнути поставленої цілі. Тому
постановка задачі напряму залежить від цілей проекту.
Також необхідно зазначити, що на
досягнення цілі може бути спрямована не одна, а декілька задач одночасно.
Зв'язок між поставленими задачами може бути як і послідовний, так і парольний.
Для забезпечення досягнення цілей нашого проекту нам потрібно буде виконати
наступні задачі:
- створити проектну групу;
- зібрати, створити
та проаналізувати конкретну інформацію;
- розробити
послідовність дій;
- розробити структуру
проекту;
- розробити стадії та
етапи проекту;
- визначити необхідну
кількість та обсяг робіт;
- розрахувати
послідовність та час робіт;
- визначити
відповідальних осіб;
- провести необхідні
розрахунки;
- оптимізувати
проект;
- реалізувати проект.
Реалізація саме цих задач дозволить
нам досягнути реалізації цілей проекту.
Тому необхідно дуже ретельно підійти
до розробки їх змісту, обсягів, термінів та шляхів їх впровадження з
використанням основних функцій менеджменту, таких як планування, організація,
контроль та впровадження.
Основною стратегією проекту є
зниження витрат за рахунок збільшення часу на ретельну підготовку заходів та
робіт, встановлення високого рівня якості за рахунок використання сучасного
обладнання, висококваліфікованого персоналу та найновітніших систем контролю.
.2 Розробка проекту підвищення
ефективності роботи підприємства
Створення кожного проекту
починається з розрахунку життєвого циклу проекту та визначення певних етапів і
стадій в ньому.
Ці розрахунки є приблизними і можуть
змінюватись підчас розробки проекту, тим самим збільшуючи чи зменшуючи його
життєвий цикл.
Розробка проекту також починається з
визначення фаз та стадій життєвого циклу. Запропоновані фази та стадії
життєвого циклу вказані в таблиці 3.1.
Таблиця 3.1
Фази і стадії життєвого циклу
проекту
|
Фаза життєвого циклу
|
Стадія
|
Характеристика
|
Результат
|
|
1
|
2
|
3
|
4
|
|
1. Зародження
|
1. Концепція.
|
Визначення у потребі нової продукції.
|
Загальна ідея. Приблизні витрати за проектом
коливаються в межах ±
30 %
|
|
2. Вивчення можливостей.
|
Концепція перевіряється у деталях з метою
визначення її реалістичності, життєздатності.
|
|
|
2. Зростання
|
3. Планування.
|
Розробляється план виконання.
|
Необхідні документи з обсягів та якості.
Затверджений бюджет (коливання ± 5 %) і календарний план, ресурсний план
|
|
4. Забезпечення.
|
Уточнюються необхідні матеріали та обладнання.
|
|
|
3. Зрілість
|
5. Виробництво.
|
Продукція виробляється за допомогою
матеріалів, устаткування.
|
Контроль: обсягів; якості; витрат;
використання ресурсів; своєчасності;
|
|
4. Спад
|
6. Завершення або реорганізація.
|
Проводиться реорганізація виробництва або
завершення проекту.
|
Оцінка отриманих вигод, розробка рішення по
реорганізації чи завершенні проекту
|
У нашому проекті ми використовуємо
чотири основні фази життєвого циклу проекту. Цей підхід, з одного боку, є
досить простий, тому і має певні переваги.
Для більшої деталізації фаз проекту
ми використовуємо шість стадій через які проходить проект.
Також проект має класифікаційні
характеристики. Класифікаційні характеристики проекту наведені в таблиці 3.2.
Таблиця 3.2
Класифікаційні характеристики
проекту
|
Класифікаційні ознаки проекту
|
Вид проекту
|
|
1
|
2
|
|
1. За характером змін
|
Оперативний
|
|
2. За масштабом (розміром)
|
Малий
|
|
3. За тривалістю (строками реалізації)
|
Короткостроковий
|
|
4. За галузевою приналежністю
|
Промисловий у сфері послуг
|
|
5. За специфікою кінцевого продукту
|
Соціально-економічний
|
|
6. За функціональним спрямуванням
|
Комбінований
|
|
7. За характером залучених сторін
|
Місцевий
|
|
8. За ступенем складності
|
Простий
|
|
9. За складом і структурою залучених
організацій
|
Одно функціональний
|
|
10. За вимогами до якості проекту
|
Стандартний
|
Визначення класифікаційної
характеристики проекту дозволяє оптимізувати роботу по його розробці. Звузити
сфери та напрямки розробки.
Проект розробляється для малого
підприємства і має оперативний характер та малий масштаб. Відповідно до цих
характеристик життєвий цикл проекту складає лише два роки, рис. 3.1. Враховуючи
економічне становище в країні та розмір підприємства, розробка
короткострокового проекту є найоптимальнішою. Життєвий цикл проекту може бути
збільшений під час впровадження при покращенні економічного становища в країні.
На графіці зображене співвідношення фаз проекту до отримання прибутку у часі. З
графіку бачимо що перші шість місяців виконання проекту (фаза зародження) для
підприємства не прибуткові. Ця не прибутковість зумовлена великою кількістю
витрат на впровадження проекту. Проект починає приносити дохід вже на сьомому
місяці його виконання. Сьомому місяцю виконання проекту відповідає фаза
зростання. Фаза зростання характеризується стрімким зростанням обсягів
виробництва та реалізації послуг та зростанням доходів підприємства. Наступною
фазою згідно з графіком є фаза зрілості. В даній фазі підприємство отримує
приблизно сталий об’єм доходу. Завершальною стадією є поступовий спад обсягів
виготовлення та отриманих доходів.
Рис. 3.1. Життєвий цикл проекту. де:
d. - доходи; t. -
час.
Наступним кроком є розробка
організаційної структури проекту. Щоб забезпечити максимальну економію
фінансових ресурсів на виконання проекту, організаційна структура проекту буде
створена на основі організаційної структури підприємства. Ці заходи дозволять
зменшити витрати на адміністративний апарат та використати працю робітників
підприємства а не залучених фахівців. Але, як вже було зазначено вище,
організаційна структура підприємства не може в повній мірі забезпечити якісне
виконання проекту. Вона має функціональний характер. Тому виникає необхідність
внести до неї зміни та створити проектну команду. Головою проектної команди
виступає проектний менеджер. В нашому випадку обов’язки проектного менеджера
виконує керівник підприємства. Головні підрозділи підприємства поділені на
функціональні підрозділи. За функціональними підрозділами закріплюються
працівники, які приймають безпосередню участь в проекті. Так як виконати проект
власними силами підприємства неможливо, до організаційної структури проекту
вводяться виконавці та підрядники. Схематично організаційна структура проекту
зображена на рис. 3.2.
Організаційна структура проекту
покликана відповісти на питання, хто буде виконувати певну роботу за проектом.
Далі нам необхідно визначити зміст робіт та структурний зв'язок між ними.
Іншими словами, нам необхідно визначити що потрібно робити, тобто розробити
робочу структуру проекту. В робочій структурі розробляються головні роботи
проекту та зв’язки між ними. Робоча структура проекту зображена рис. 3.3.
Також для реалізації нашого проекту
ми розробили скорочену двохсторонню структуру проекту. Двохстороння структура
проекту дозволяє визначити прямі зв’язки між виконавцями та роботами проекту.
Визначення цих зв’язки нам необхідне для подальшої розробки матриці
відповідальності за проектом. Двохстороння структура проекту зображена на рис.
3.4.
Рис. 3.2.
Організаційна структура проекту
Рис. 3.3.
Робоча структура проекту
Рис. 3.4. Двох спрямована структура
проекту
Наступним кроком розробляємо матрицю
відповідальності за роботами проекту. Матриця відповідальності зображена в
таблиці 3.3
Таблиця 3.3
Матриця відповідальності проекту
|
Назва роботи
|
Виконавці
|
|
Керівник підрозділу фінансів
|
Керівник підрозділу закупок та збуту
|
Керівник підрозділу з маркетингу та економіки
|
Керівник підрозділу з виробництва
|
Підрядники та виконавці
|
Менеджер проекту
|
|
Вивільнення власних коштів
|
В,К
|
|
|
|
|
З,К
|
|
Залучення додаткових капіталів
|
В,К
|
|
|
|
|
З,К
|
|
Отримання кредиту
|
В,К
|
|
|
|
|
З,К
|
|
Вибір місця розташування нового виробництва
|
|
|
В,К
|
|
|
З,К
|
|
Доставка
|
|
|
|
|
В,К
|
З,К
|
|
Заміна старого та монтаж нового
|
|
|
|
|
В,К
|
З,К
|
|
Виконання налаштувальних робіт
|
|
|
|
В,К
|
|
З,К
|
|
Добір кадрів
|
|
|
|
В,К
|
|
З,К
|
|
Навчання персоналу
|
|
|
|
|
В,К
|
З,К
|
|
Проведення перепідготовки
|
|
|
|
|
В,К
|
З,К
|
|
Проведення маркетингової компанії
|
|
|
В,К
|
|
|
З,К
|
|
Забезпечення постачання та збуту
|
|
В,К
|
|
|
|
З,К
|
|
Ведення виробничо-господарської діяльності
|
|
|
|
|
|
В,К,З
|
Умовні позначення: В -
виконавець; К - контролюючий; З -
затверджуючий.
Після побудови матриці
відповідальності необхідно створити більш детальній перелік робіт, визначити їх
тривалість, провести їх кодування, визначити взаємозв’язок між ними,
розрахувати початок та кінець робіт, таблиця 3.4. Згідно плану, датою початку
проекту важаться 1 вересня 2011 р.
Таблиці 3.4
Календарний план робіт
|
Код роботи
|
Назва роботи
|
Попередня робота
|
Тривалість роботи, днів
|
Початок роботи
|
Закінчення роботи
|
|
1
|
Виконання проекту
|
-
|
524
|
01.09.11
|
03.09.13
|
|
2
|
Вивільнення власних коштів
|
-
|
30
|
01.09.11
|
12.10.11
|
|
3
|
Залучення додаткових капіталів
|
-
|
15
|
01.09.11
|
21.09.11
|
|
4
|
Отримання кредиту
|
3
|
15
|
22.09.11
|
12.10.11
|
|
5
|
Вибір місця розташування нового виробництва
|
2;4
|
22
|
13.10.11
|
11.11.11
|
|
6
|
Покупка устаткування
|
4
|
10
|
13.10.11
|
26.10.11
|
|
7
|
Доставка устаткування
|
6
|
30
|
27.10.11
|
07.12.11
|
|
8
|
Підготовка приміщень
|
5
|
5
|
12.11.11
|
18.11.11
|
|
9
|
Заміна старого устаткування
|
7;8
|
15
|
08.12.11
|
28.12.11
|
|
10
|
Монтаж нового устаткування
|
9
|
30
|
29.12.11
|
08.02.12
|
|
11
|
Виконання налаштувальних робіт
|
10
|
10
|
09.02.12
|
22.02.12
|
|
12
|
Добір кадрів
|
11
|
14
|
23.02.12
|
14.03.12
|
|
13
|
Навчання персоналу
|
12
|
45
|
15.03.12
|
16.05.12
|
|
14
|
Проведення перепідготовки працівників
|
12
|
22
|
15.03.12
|
13.04.12
|
|
15
|
Проведення маркетингової компанії
|
13;14
|
340
|
17.05.12
|
03.09.13
|
|
16
|
Забезпечення постачання та збуту
|
6
|
482
|
27.10.11
|
03.09.13
|
|
17
|
Ведення виробничо-господарської діяльності
|
-
|
524
|
01.09.11
|
03.09.13
|
Використання сучасного програмного
забезпечення дозволяє оперативно реагувати на зміни термінів та обсягів робіт.
Також стає можливим моделювання різних сценаріїв виконання робіт, що займає
невелику кількість часу.
На даній стадії розробки проекту
необхідно пригадати що організаційна структура підприємства не відповідає
потребам проекту та буде реорганізована. Реорганізація організаційної структури
підприємства буде виконана в період закінчення фази зародження проекту. У фазу
зростання підприємство увійде з новосформованою(рис 3.5) організаційною
структурою, яка і залишиться до завершення проекту.
Рис. 3.5. Розроблена організаційна
структура підприємства
Після виконання розробки головних
положень проекту нам необхідно провести розрахунок основних економічних
показників проекту та оцінити загальний економічний ефект від впровадження
проекту.
.3 Оцінка ефекту від впровадження
проекту
Для оцінки даного
проекту спочатку підрахуємо витрати на придбання і встановлення необхідного
устаткування.
На малярній
дільниці використовується наступне обладнання:
1) покрасочна
камера для автомобілів;
2) обладнання
робочого місця колориста для приготування фарб (спеціальне фарбозмішуюче
обладнання і програми), спеціальний бокс для зберігання фарб;
) обладнання
ділянки для підготовки до фарбування. Ділянка має декілька робочих місць і
спеціальне оснащення, решітчасту основу. Обладнана спеціальною камерою для
сухого шліфування поверхонь з витяжкою, комплектом фільтрів і спеціальним
освітленням;
) термінал
на обертовій консолі, призначений для підводу стисненого повітря і
електроенергії для пневмо- і електроінструменту;
) мийка
фарборозпилювачів замкнутого типу;
) компресор
з осушувачем повітря для покраски;
) мийка
кузова;
) блок
приготування повітря для покраски;
) фарборозпилювачі;
) шліфувальний
пневмоінструмент і розхідні матеріали;
В другому розділі
ми запропонували МПП "Промінь-S". закупити індустріальну
фарбувально-сушильну камеру німецької фірми Trommeberg SB1555.
Камера
встановлюється на підготовлену бетонну основу, в якій підготовлені дві
повздовжні траншеї для виводу повітря з кабіни. Траншеї по всій довжині
перекриваються міцними металевими решітками. Камера має в своєму складі
електричний пульт управління, який повністю контролює всі робочі режими і забезпечує
безпечну роботу дизельних горілок. Пульт управління оснащений індикаторами
режимів роботи, необхідною робочою і аварійною сигналізація ми, таймером і
контролером температури в кабіні.
Камера має потужне
комбіноване освітлення, що включає світильники на стелі і бокові. Світильники
верхнього ряду розташовані під кутом 45°,
що в поєднанні з світильниками нижнього ярусу забезпечує комфортну роботу і
створює ідеальні умови для порівняння кольорів оригінального і ремонтного
фарбувального покриття. Загальна потужність освітлення перевищує 4 кВт.
Технічні
характеристики камери представлені в таблиці 3.5.
Таблиця 3.5
Технічні
характеристики камери SB1555
|
№ п/п
|
Назва параметру
|
Значення
|
|
1
|
Внутрішні габарити кабіни, мм
|
15000х5000х5000
|
|
2
|
Зовнішні габарити кабіни, мм
|
15140х6890х5600
|
|
3
|
В’їзні ворота, мм
|
4400х4500
|
|
4
|
Двері для персоналу, мм
|
650х2000
|
|
5
|
Двигуни приточної вентиляції, кВт
|
4х7.5
|
|
6
|
Двигуни витяжної вентиляції, кВт
|
2х11.0
|
|
7
|
Теплова потужність горілки, Мкал
|
до 500
|
|
8
|
Повітряний обмін, куб.м/год
|
до 80000
|
|
9
|
Час прогріву от -10 до +20єС, хв
|
2-3
|
|
10
|
Макс. кількість ррозпилюваних в кабіні
матеріалів, кг/год
|
6.6
|
|
11
|
Споживання дизельного палива, л/цикл
|
до 40
|
|
12
|
М акс. температура в режимі сушки, °C
|
60
|
|
13
|
Освітлення стелі
|
64 лампи по 36 Вт
|
|
14
|
Освітлення бокове
|
48 ламп по 36 Вт
|
|
16
|
Загальна споживча потужність, кВт
|
55
|
|
17
|
Вартість, грн
|
112350
|
|
18
|
Вартість встановлення, грн
|
13900
|
Для обладнання
місця колориста пропонуємо закупити систему COLOR VIEW SYSTEM. Камера для
порівняння кольорів з захистом від паразитної засвітки виготовлена за
стандартами ASTM D1729 і ISO 3664. дана конструкція складається з алюмінієвого
профілю і ДСП. Світильники встановлені в середині. Це сама професійна
конструкція, що зроблена у відповідності зі всіма правилами, прийнятими в світі
для еталонних систем освітлення. Вартість такої камери 6000 грн.
Оцінивши параметри даного
обладнання, а також специфіку роботи даного поста ми бачимо, що для його
створення потрібно добре освітлювальне приміщення площею 100 м2 і висотою 7 м.
Таке господарське приміщення є у підприємства в наявності (вивільнене місце з
складів). Отож проведемо підрахунок витрат на реалізацію проекту по розширенню
дільниці фарбування автомобілів, результати якого відображені в таблиці 3.6.
Таблиця 3.6
Затрати на закупівлю обладнання та
облаштування поста рихтування автомобілів у МПП "Промінь-S"
|
№ п/п
|
Складові витрат
|
Значення, тис. грн.
|
|
1.
|
Витрати на купівлю обладнання
|
127
|
Витрати на транспортування
|
5,47
|
|
3.
|
Витрати на пристосування господарської будівлі
під пост
|
28,95
|
|
4.
|
Витрати на проведення монтажних робіт
|
13,9
|
|
5.
|
Витрати на проведення пуско-налагоджувальних
робіт
|
6,3
|
|
Разом
|
181,62
|
Проведемо підрахунок прибутків від
реалізації проекту. Для цього розрахуємо трудомісткість та вартість такого роду
робіт.
Вартість відновлювальних робіт
однієї машини за ціною 12-14 тис. дол. становить приблизно 2400 грн.
трудомісткість такої роботи приблизно 40 годин. Отже вартість рихтувальних
робіт становить 60 грн/год.
Вартість фарбування з підбором фарби
не враховуючи розхідних матеріалів одного елементу кузова становить 630 грн.
трудомісткість такої роботи приблизно 4,3 години. Отже вартість фарбувальних
робіт становить 146,5 грн./год. Сумарна вартість роботи
рихтувально-фарбувального поста становить 206,5 грн.
Річний фонд роботи обладнання
розрахуємо при шестиденному робочому тижні враховуючи значний попит на дану
послугу:
, (3.1)
де
-
кількість змін
=1,
- коефіцієнт
використання обладнання (
=0,95),
- номінальний
річний фонд часу роботи обладнання
, (3.2)
де
-
кількість робочих днів
,
де
,
-
кількість вихідних і святкових днів відповідно,
- тривалість
зміни, год (
=7год.),
- кількість
передсвяткових і передвихідних днів,
- час скорочення
змін у передвихідні і передсвяткові дні, год.
Отже річний прибуток від роботи
придбаного обладнання становитиме приблизно
грн.
Витрати, пов’язані із роботою даного
поста:
Розрахунок річної витрати силової
електроенергії на виробничі потреби
, кВт/год; (3.3)
де Nоб- встановлена потужність
обладнання, кВт (Nоб= 55 кВт)
Фоб - річний однозмінний фонд роботи
обладнання (Фоб=1956 год)
Кз=0.7...0.8- коефіцієнт
завантаження
Кп=0.6...0.7- коефіцієнт попиту
ккд=0.92...0.96-
коефіцієнт ККД
в=0.95...0.97-коефіцієнт
втрат в електроенергії
, кВт/рік;
Розрахунок річної витрати
електроенергії на освітлювальну зону
, кВт/год; (3.4)
де R - норма витрат електроенергії
на 1м2 підлоги R=15...20 Вт/м2пос=100м2- річний фонд роботи освітлення при
однозмінній роботі протягом року=800 год.
, кВт/рік;
Розрахунок загальної витрати
електроенергії
заг=Wв+Wост=62588.1+1200=63788.1
кВт/рік
Вартість одного кіловата становить
0,64 грн., отже витрати на оплату електроенергії становитимуть

грн.
Як вже зазначалось робота на
фарбувальній дільниці потребує висококласних спеціалістів, тому для ефективної
і високоякісної роботи поста приймемо на роботу двох спеціалістів 5-6-го
розряду із заробітною платнею 18 грн./год. і двох помічників із заробітною
платнею 8 грн./год. Враховуючи дані ставки і фонд робочого часу і відпустки
витрати на заробітну плату становитимуть 107068 грн. Із врахуванням 37,5%
відрахувань на соціальні страхування загальні витрати на оплату праці
становитимуть 147218,5 грн.
Оскільки при розрахунку прибутку
вартість матеріалів не враховувалася, то загальні річні витрати будуть включати
тільки витрати на електроенергію, заробітну плату і амортизацію обладнання в
розрахунку, що воно має трьохрічну гарантію.
Експлуатаційні затрати: електроенергія
- 40824,4 грн.; зарплата - 147218,5 грн, амортизація - 987 грн. Разом - 189030
грн.
Проведемо підрахунок чистого річного
прибутку від діяльності рихтувально-фарбувального поста (таблиця 3.7).
Таблиця 3.7
Підрахунок чистого річного прибутку
від діяльності рихтувально-фарбувального поста
|
Показники
|
Ефективність проекту, грн.
|
|
1
|
2
|
|
Дохід від надання послуг
|
403914
|
|
ПДВ
|
60587
|
|
Чистий дохід
|
343327
|
|
Виробничі витрати
|
189030
|
|
Прибуток
|
154297
|
|
Податок на прибуток
|
38574
|
|
Чистий прибуток
|
115723
|
Отже, річний економічний ефект
становить 115723 грн.
Для реалізації даного проекту
підприємству потрібно 181 тис. грн. на закупівлю оснащення, проведення
будівельно-ремонтних, монтажних та інших робіт. Ці кошти можна позичити в банку
під заставу під 1,5% місячних. Отже, проведемо розрахунок платежів по погашенню
кредиту виходячи з надходжень чистого місячного прибутку у розмірі 9644 грн. та
суми кредиту в розмірі 181000 грн. При використанні кредиту (підрахунок терміну
окупності проводимо з використанням пакету програми Exel) термін окупності
становитиме 1 рік і 10 місяців. Враховуючи, що експлуатаційний термін даного
комплексу 6 років, підприємство, ще на протязі чотирьох років зможе отримувати
непоганий прибуток.
Висновки і пропозиції
Ефективність і раціональність
операційного менеджменту цілком і повністю залежить від правильного вибору
операційної стратегії, в залежності від якої будується операційна система
підприємства. Правильно обрана стратегія, структура виробництва і належні
обсяги надання послуг забезпечують відповідні масштабам цієї діяльності
прибутки.
Аналіз операційної діяльності МПП
"Промінь-S" показав наступне:
на підприємстві склалася лінійна
структура управління, яка є не раціональною і вимагає корекції;
відбувається скорочення необоротних
активів на 45,0% та, відповідно, власного капіталу на 34,2%;
МПП "Промінь-S" має
неліквідний баланс і є неплатоспроможним та збитковим підприємством;
основні виробничі фонди зменшились
на 33 тис. грн., і становили у порівнянні з базовим роком 95,2%.
фондовіддача зменшилась на 4,9%.
Для підвищення ефективності
операційної системи підприємства запропоновано реорганізувати систему
управління, а також покращити якість надаваємих послуг.
Дані заходи дозволять зекономити
72180,96 грн., на оплату праці, покращити комунікаційні зв’язки і полегшить
управління структурними підрозділами, зробить його мобільнішим та ефективнішим.
Ведення малярної дільниці окупиться
через 16 місяців і дозволить отримувати річний прибуток в розмірі 249268,8 грн.
Перелік посилань
1. Андрушків
Б.М., Кузьмін О.Б. Основи менеджменту. - Львів: вид-во Світ, 2003.
2. Армстронг
М. Основи менеджменту. Як стати кращим керівником. - Ростов-на-Дону:
"Фенікс", 2008.
. Баканов
М.И., Шеремет А.Д. Теория анализа хозяйственной деятельности: Учебник. - 4-е
изд., перераб. и доп. - М.: Финансы и статистика, 2007. - 248 с.
. Балабанова
Л.В. Організація праці менеджера: Підручник для студентів ВНЗ. - К.:
Професіонал, 2007. - 446 с.
. Барнгольц
С.Б. Экономический анализ хозяйственной деятельности на современном этапе
развития. - М.: Финансы и статистика, 2004. - 301 с.
. Боді
Д., Пейтон Р. Основи менеджменту: перекл. з англ. / Під ред. Ю.Н.
Каптуревського - Дпб.: Видавництво "Пітер", 2009. - 816 с.
. Бойчик
І.М., Харів П.С., Хопчан М.І., Піга Ю.В. Економіка підприємства: Навчальний
посібник для студентів економічних спеціальностей вищих навчальних закладів
I-IV рівнів акредитації. Друге видання, виправлене і доповнене - К.:
"Каравела"; Львів: "Навчальний світ" - 2004, 2005. - 298с.
. Вартанов
А.С. Экономическая диагностика деятельности предприятия: организация и
методология. - М.: Финансы и статистика, 2009. - 153 с.
9. Василенко
В.О. Антикризисне управління підприємством: Навчальний посібник. - Київ: ЦУЛ,
2003. - 428 с.
. Василенко
В.А., Мельник И.Е. Операционное и ситуационное управление в системе
менеджмента: Учебное пособие. - М.: МГИУ, 2002. - 530 с.
11. Василенко
В.О., Ткаченко Г.І. Стратегічне управління підприємством. Навчальний посібник.
Видання 2-ге, виправлене і доповнене. За редакцією Василенка В.О. - К.: Центр
навчальної літератури, 2004. - 400 с.
. Василенко
О.В., Ткаченко Г.І. Виробничий (операційний) менеджмент: Навчальний посібник. -
К.: ЦУЛ, 2003. - 532 с.
. Вахлимов
В.К. Автомобили. Основы конструкции. /Уч. для ВУЗов - М.: Высшая школа 2004. -
432 с.
. Дынько
А.В. Диагностика неисправностей легкового автомобиля - М.: Дашков и К, 2003.
354 с.
. Гірняк
О.С. Менеджмент: теоретичні основи і практикум. - К.: 2003. - 336 с.
16. Гэлловэй
Лес. Операционный менеджмент. - СПб.: Питер, 2001. -320с.
. Гаврилишин
Б. Дороговкази в майбутнє. - К.: Основи, 2003. - 121 с.
18. Громов
Н.Н. Менеджмент на транспорте. Учебн. пособие для ВУЗов -М.: Машиностроение,
2004. - 448 с.
. Дембинский
Н.В. Анализ экономики промышленного предприятия. - Минск: Беларусь, 2009. - 301
с.
20. Зудилин
А.П. Анализ хозяйственной деятельности развитых капиталистических стран. - 2-е
изд. - Екатеринбург: Каменный пояс, 2002. - 510 с.
21. Іщенко
І.І., Терещенко С.П. Оцінка економічної ефективності виробництва та затрат. -
К.: Вища школа, 2001. - 187 с.
. Калина
А.В. Менеджмент продуктивності: Навч. посіб. / А.В. Калина, С.П. Калініна, Н.Д.
Лук’янченко. - К.: МАУП, 2004. - 232 с.
. Кіндратська
Г.І. Стратегічний менеджмент: Навчальний посібник. - К.: Знання, 2006. - 336 с.
. Корецький
М.Х. Стратегічне управління: Навчальний посібник для студентів ВНЗ. - К.: ЦУЛ,
2007. - 240 с.
. Курочнкин
А.С. Операционный менеджмент: Учеб. пособие. - К.: МАУП, 2002. - 144 с.
. Козлова
О.И. и др. Оценка кредитоспособности предприятий. - М.: АО "АРГО",
2003. - 189 с.
. Козловский
В.А., Маркина Т.В., Макаров В.М. Производственный и операционный менеджмент.
Учебник. - СПб: "Специальная Литература", 2009. -366с.
28. Кравченко
Л.И. Анализ финансового состояния предприятия. - Минск: ПКФ "Єкаунт",
2004. - 245 с.
29. Кузьмін
О.Є., Основи менеджменту: Підруч. / О.Є. Кузьмін, О.Г. Мельник. - К.:
Академвидав, 2003. - 416 с.
. Маркин
Ю.П. Анализ внутрихозяйственных резервов. - М.: Финансы и статистика, 2001. -
157 с.
. Марков
О.Д. Організація автосервісу. - Львів: Оріяна-Нова, 2008. - 332 с.
. Марков
О., Михайличенко А. Как определить мощность автосервиса // Авто&сервис. -
2007 №9. - С. 54-60.
. Мескон
М., Альберт М., Хедоурі Р. Основи менеджменту / пер. з англ. - М.: Справа,
2004.
. Михайлов
А.П. Менеджмент: Навчальний посібник. - Чернівці: Букрек, 2005. - 492 с.
. Лукашевич
Н.П. Самоменеджмент: теория и практика: Ученик. - К.: Ника-Центр, 2007. - 344
с.
. Обер-Крие
Дж. Управление предприятием. - М.: Экономика, 2003. - 309с.
. Панкратов
Ф.Г., Серегина Т.К. Коммерческая деятельность: Учебник для высш. и средн. спец.
учеб. заведений. - М.: Информационно-внедренческий центр "Маркетинг",
2006. - 159 с.
. Планирование
в условиях перехода к рынку. - К.: Техника, 2009. - 121 с.
. Пушкар
Н.С. Планування і організація підприємств, об’єднань та комплексів: навч.
посібник. - К.: НМК ВО, 2002. - 416 с.
. Русак
Н.А. Экономический анализ предприятия. - Минск: ООО "Меркавание",
2005. - 148 с.
. Русак
Н.А. Экономический анализ в условиях самофинансирования предприятий. - Минск:
Беларусь, 2009. - 215 с.
. Хміль
Ф.І., Основи менеджмента: Підручник. - К.: Академвидав, 2005. - 608 с.
. Чалбоев
К.К. Интенсификация производства и рыночные отношения / Под ред. А.И.
Добрынина. - М.: Экономика, 2009. - 80 с.