Углеводы и методы их определения
ВВЕДЕНИЕ
Для поддержания работоспособности и жизнедеятельности человек нуждается в
ежедневном пополнении энергии. В качестве энергии выступает пищевая продукция,
которая включат в себя нутриенты, то есть необходимые для жизнедеятельности
питательные вещества. Нутриенты в свою очередь делятся на макронутриенты
(содержание которых в живых организмах составляет больше 0,001 %) и
микронутриенты (содержание менее 0,001 %). Макронутриенты включают в себя
углеводы, жиры, белки и воду; микронутриенты - витамины и минералы. Так как
пищевая продукция занимает главенствующее положение в жизни человека, то
необходим соответствующий контроль её качества. Контроль заключается в оценке
внешнего вида продукции и содержания макронутриентов и микронутриентов.
В данном курсовом проекте представлена общая характеристика углеводов и
их основные химические свойства, а также методы их количественного определения
различными методами анализа.
1.
ЛИТЕРАТУРНЫЙ ОБЗОР
1.1 Общая характеристика углеводов
Углеводы - это органические вещества с общей формулой Сn(H2O)m, то есть
многоатомные альдегидо− или кетоспирты (полиоксикарбональные соединения)
и их производные.
Углеводы широко распространены в природе, являются компонентами продуктов
питания. Сахар, мед, крахмал представляют собой чистые углеводы. В организмах
растений и животных углеводы выполняют опорную, энергетическую, дыхательную
функции. Важную роль играют соединения углеводов с другими классами веществ,
такие как гликопротеиды, нуклеотиды.
Животные организмы не способны синтезировать углеводы и получают их с
продуктами растительного происхождения. Растения и некоторые бактерии образуют
углеводы из углекислого газа и воды в процессе фотосинтеза, общая схема
которого может быть представлена уравнением:
hν
CO2↑ + 6H2O C6H12O6 + 6O2↑
Ежегодно в результате фотосинтеза образуется около 100 млрд т
органического вещества (более 15 т на каждого жителя планеты).
Классификация углеводов
Углеводы делятся на две большие группы простые (моносахариды) и сложные
(полисахариды).
Моносахариды - простые углеводы, которые в растворе не гидролизируют,
кроме гидроксильных и карбонильных групп, они могут содержать тиольные,
карбоксильные и аминогруппы. К моносахаридам принято относить также продукты их
окисления или восстановления, лишенные карбонильной группы.
Олигосахариды составляют промежуточный класс между моносахаридами и
полисахаридами и содержат от двух до десяти моносахаридных остатков,
соединенных гликозидными связями.
Дисахариды разделяют на восстанавливающие и невосстанавливающие
дисахариды. К восстанавливающим относят дисахариды, имеющие свободный
полуацетальный гидроксил, это мальтоза, целлобиоза, лактоза. К
невосстаннавливающим относят дисахариды, у которых в образовании гликозидной
связи участвует два полуацетальных гидроксила, это дисахариды сахароза и
трегалоза.
В состав мальтозы входит α-D-глюкопираноза связь 1,4. Мальтоза
образуется в качестве промежуточного продукта гидролиза крахмала или гликогена.
В состав лактозы входит ß-D-галактопираноза и α-D-глюкопираноза связь 1,4.
В состав сахарозы входит ß -D- фруктофураноза и α -D-глюкопираноза связь 1,2.
Полисахариды представляют собой продукты поликонденсации моносахаридов.
Это типичные полимеры, часто построенные из тысяч моносахаридных остатков, причем
молекулярная масса отдельных молекул, входящих в состав образца, может
существенно различаться. К полисахаридам относят: крахмал, гликоген, целлюлоза.
Крахмал состоит из остатков α -D-глюкопиранозы. Связь 1,4 у
линейной структуры крахмала, которая называется амилоза и связи 1,4 и 1,6 у
разветвленной структуры крахмала, которая называется амилопектин.
Гликоген состоит из остатков α-D-глюкопиранозы, связь 1,4 и 1.6,
разветвление у гликогена находятся через каждые 3-4 звена глюкозы.
Целлюлоза или клетчатка состоит из остатков ß-D-глюкопиранозы связь 1,4.
В свою очередь моносахариды классифициются:
а) по наличию альдегидной или кетонной группы моносахариды делят на
альдозы и кетозы;
б) по числу углеродных атомов различают триозы (n = 3), тетрозы (n = 4), пентозы (n =
5), гексозы (n = 6). К пентозам относят: арабинозу,
ксилозу, рибозу. К гексозам: глюкозу, фруктозу, галактозу;
в) по химической природе различают:
) нейтральные сахара, содержащие только карбонильные и спиртовые группы;
) аминосахара, обладающие помимо карбонильных и спиртовых групп еще и
аминогруппой, обусловливающей основные свойства этих соединений;
) кислые сахара, содержащие помимо обычных для этих соединений
карбонильных и спиртовых групп еще карбоксильные группы.
Номенклатура моносахаридов
Номенклатура моносахаридов основывается на соединениях с не разветвленной
цепью атомов углерода. Углеродные атомы нумеруют таким образом, чтобы
карбонильный углерод имел наименьший номер. Заместители (атомы, функциональные
группы) получают тот же номер, что и углеродный атом, с которым они соединены.
Если в молекуле имеется более одной функциональной группы, они перечисляются в
алфавитном порядке. Отсутствие ОН - группы отражается префиксом «дезокси».
Н - C
= O H - C = O
H
NH2
H OAc
HO
H AcO
H
H
OH
AcO H
H OH H
OH
CH2
-OH
CH2 -OTr
- амино - 2 - дезокси - D
- глюкоза 2, 3, 4 - три - О - ацетил -
(D -
глюкоэамин) 6 - О -
тритил - D - глюкоза
Нередко при написании моносахаридных звеньев (прежде всего в олиго- и
полисахаридах) используют буквенные обозначения:
|
Ага − Арабиноза
|
GlcA - Глюкуроновая кислота
|
|
GalNAc - N -
Ацетилгалактозамин
|
Xyl - Ксилоза
|
|
GlcNAc - N -
Ацетилглюкозамин
|
Man - Манноза
|
|
ManNAc - N -
Ацетилманнозамин
|
Rha - Рамноза
|
|
MurNAc - N -
Ацетилмурамовая кислота
|
Rib - Рибоза
|
|
NeuNAc - N -
Ацетилнейраминовая кислота
|
Fru - Фруктоза Fuc - Фукоза
|
|
Gal - Галактоза
|
|
|
Glc - Глюкоза
|
|
Стереоизомерия углеводов
Стереоизомерия или оптическая изомерия является одним из видов
пространственной изомерии. Она обусловлена наличием хиральных центров и
проявляется в способности некоторых соединений вращать плоскость
поляризованного луча света в разные стороны. Наиболее распространенным
хиральным центром является асимметрический атом углерода, т. е. углеродный
атом, связанный с четырьмя различными заместителями. При наличии одного
асимметрического атома углерода молекула может существовать в виде двух
изомеров, относящихся друг к другу как несимметричный предмет к своему
отражению
Такие
изомеры называются оптическими антиподами или энантиомерами. Один из них
вращает плоскость поляризованного луча влево (L- или (-)−форма), другой на такой же угол вправо (D−
или (+)−форма). Принадлежность моносахарида к тому или иному
генетическому ряду определяется по конфигурации его наиболее удаленного от альдегидной
группы асимметрического углеродного атома. Если она соответствует конфигурации D−глицеринового
альдегида, то моноза относится к D−ряду, если L−глицеринового
альдегида - к L−ряду.
Н - С = О Н
- С = О
СН2−ОН
СН2−ОН
D - глицериновый
альдегид L - глицериновый альдегид
Энантиомеры одинаковы по всем физическим и химическим свойствам и
отличаются только отношением к плоскополяризованному свету. Смесь энантиомеров
в соотношении 1:1 оптической активностью не обладает и называется рацемической.
Общее число оптических изомеров можно определить по формуле Фишера: N = 2n , где n - число оптических изомеров.
Н - С = О
Н - С = О Н * ОН
Н - С = О Н * ОН Н
* ОН
Н - C = О
Н * ОН Н *
ОН Н * ОН
Н *
OH
Н * ОН Н *
ОН Н * ОН
CH2−OH CH2−OH CH2−OH CH2−OH
альдотриозы
альдотетрозы альдопентозы альдогексозы
N =
2 N = 22 = 4 N = 23
= 8 N = 24 = 16
Знак вращения или абсолютная конфигурация определяется методом
рентеноструктурного анализа и помимо природы самого хирального соединения может
зависеть от природы растворителя, температуры и др.
Пространственные изомеры с несколькими хиральными центрами, часть которых
имеет одинаковую конфигурацию, называют диастереомерами. Пары диастеремеров,
отличающиеся конфигурацией только асимметрического атома, называют эпимерами.
Асимметрия молекул приводит к тому, что низшие моносахариды трудно
кристаллизуются. Действительно, для включения молекулы в кристаллическую
решетку требуется ее единственная конфигурация, а в рацемической смеси
присутствует набор по-разному ориентированных молекул.
Ниже приведен генетический D − ряд
альдоз, родоначальником которых является D-глицериновый альдегид (данное
деление генетического ряда можно осуществить экспериментально с помощью реакции
Килиани−Фишера).
Простейшей
кетозой, обладающей асимметрическим атомом углерода, является тетроза - D -
тетрулоза
Ниже
приведен генетический D - ряд кетоз.
Циклические формы и таутомерия моносахаридов.
Альдозы проявляют далеко не все свойства, характерные для альдегидов.
Так, они не дают реакции с фуксинсернистой кислотой и очень медленно реагируют
с гидросульфитом натрия. В то же время наблюдается повышенная активность одной
из гидроксильных групп, количество изомеров альдоз в два раза больше, чем
предсказывает формула Фишера, кроме того, для альдоз характерно явление
мутаротации - изменение угла вращения свежеприготовленных растворов.
Для объяснения этих противоречий в конце XIX в. была высказана мысль, что моносахариды могут
существовать не только в линейной форме, но и в форме циклических внутренних
полуацеталей, не содержащих карбонильной группы. В дальнейшем было доказано,
что для моносахаридов характерна циклоцепная таутомерия: в кристаллическом
состоянии они имеют циклическое строение, а в растворах существуют в виде
циклических и открытоцепных форм, находящихся в динамическом равновесии.
Образование циклических форм моносахаридов происходит
в результате реакции внутримолекулярного присоединения одной из гидроксильных
групп по карбонильной группе. Наиболее устойчивыми являются пяти − и
шестичленные циклы. Поэтому при образовании циклических форм углеводов
образуются фуранозные (пятичленный) и пиранозные (шестичленный) циклы.
Рассмотрим образование циклических форм на примерах глюкозы и рибозы.
Глюкоза при циклизации образует преимущественно
пиранозный цикл. Пиранозный цикл состоит из 5 атомов углерода и 1 атома
кислорода. При его образовании в присоединении участвует гидроксильная группа
пятого (С5) атома углерода. Образование циклических форм моносахаридов
обусловлено взаимодействием альдегидной группы с гидроксилом, находящимся у С5,
реже у С4 − атома: Образовавшееся соединение внутренний циклический
полуацеталь. Поэтому циклические формы моноз называют полуацетальными.
В результате замыкания цикла в молекуле появляется новый асимметрический
центр - это приводит к удвоению числа изомеров
Более
наглядно строение циклических форм моносахаридов можно представить с помощью
«перспективных» формул Хеуорса
Группа
−ОН при первом углеродном атоме в циклических формах называетя
гликозидным гидроксилом. Он гораздо реакционноспособнее остальных гидроксильных
групп, легко реагирует со спиртами или со второй молекулой моносахарида с
образованием гликозидов.
Переход от проекционных формул Фишера к формулам Хеуорса осуществляется
по следующим правилам:
) В формуле Фишера производится четное число перестановок заместителей у
атома углерода, чья гидроксильная группа участвует в образовании циклического
полуацеталя. Перестановка осуществляется таким образом, чтобы данная OH−группа располагалась на одной
вертикали с карбонильной группой и находилась внизу.
Например, в образовании пиранозного цикла D−глюкозы участвует OH−группа при С5. Осуществляем две перестановки и
записываем циклическую форму в проекции Фишера
Аналогичным образом поступаем в случае образования фуранозного цикла.
Теперь в образовании цикла участвует OH−группа при С4
)
В зависимости от структуры цикла берется соответствующая «заготовка»
для
пиранозного цикла для фуранозного цикла
Все заместители, находящиеся в фишеровской проекции справа от линии углеродной
цепи, располагаются под плоскостью цикла; соответственно заместители,
находящиеся слева -
над плоскостью.
Отметим,
что у пиранозных форм моносахаридов D−ряда группа-CH2OH
всегда располагается над плоскостью цикла. У a−аномеров
гликозидная OH−группа располагается под плоскостью цикла, а у
b−аномера - над плоскостью.
Названия
циклических форм строятся следующим образом: сначала указывают положение
гликозидной группы (a− или b−), затем
принадлежность сахарида к стереохимическому ряду (D− или L−),
далее в корень тривиального названия сахарида вставляют смысловую часть
названия цикла (−фуран− или −пиран−), заканчивая
название суффиксом − оза.
В
случаях, когда аномеризация не уточняется или речь идет о равновесной смеси
аномеров, положение гликозидной группы обозначается волнистой линией
Мутаротация.
Фуранозные и пиранозные циклы, а также a− и b−аномеры обладают различной термодинамической
устойчивостью. Однако в растворе моносахариды существуют как в открытой форме,
так и во всех возможных циклических формах. Соотношение этих форм зависит от
строения открытой формы моносахарида, природы растворителя и других факторов. В
целом пиранозные циклы более устойчивы, чем фуранозные, а в полярных
растворителях более устойчивы b−аномеры благодаря экваториальной конформации заместителей.
В водном растворе возможны взаимные превращения фуранозных циклов в
пиранозные, а a−аномеров
в b−аномеры и наоборот. Такое
динамическое равновесие между открытой и циклическими формами моносахарида
называется цикло−оксо−таутомерией. Взаимопревращение a− и b−аномеров называется
аномеризацией.
Изменение угла вращения свежеприготовленных растворов сахаров, связанное
с переходом одних таутомерных форм в другие до наступления состояния
равновесия, называется мутаротацией.
1.2 Химические свойства моносахаридов и полисахаридов
Моносахариды - бифункциональные соединения, поэтому их химические
свойства обусловлены наличием в молекулах как карбонильных (в линейной форме),
так и гидроксильных групп.
) Реакции карбонильной группы
а) Удлинение и укорачивание цепи моносарида
Несмотря на то, что в смеси таутомерных форм равновесие сдвинуто в
сторону образования циклических форм, в растворе моносахарида присутствует
некоторое количество ациклической (открытой) формы, что позволяет ему вступать
в реакции, характерные для альдегидов и кетонов.
Так, при взаимодействии сахаридов с гидроксиламином образуется смесь
оксимов циклических и ациклических форм. При действии на них уксусного
ангидрида одновременно происходят ацетилирование и дегидратация с образованием
нитрила.
Обработка полученного нитрила метилатом натрия приводит к
дезацетилированию и отщеплению молекулы HCN
Таким
путем углеродная цепь альдозы укорачивается на один атом углерода.
Удлинение
углеродной цепи можно осуществить циангидринным методом. Взаимодействие альдозы
с цианидом натрия приводит к образованию смеси двух изомерных нитрилов, которые
легко гидро−лизуются в альдоновые кислоты. Последние при восстановлении
амальгамой натрия дают альдозы
б) Реакции окисления - восстановления
При восстановлении альдегидной или кето−группы моносахаридов
образуются многоатомные спирты. Восстановление проводят водородом в присутствии
металлического катализатора (Ni, Pd)
Альдозы
образуют один полиол, кетозы дают смесь двух стереоизомеров. Так, из D−фруктозы
образуются D−сорбит и D−маннит
В
щелочной среде моносахариды окисляются реактивами Толленса, Бенедикта и
Фелинга. Окисление в щелочной среде, как правило, приводит к разрушению
молекулы моносахарида, поэтому эти реакции используются для качественного
обнаружения углеводов.
Реакция Фелинга
Реактив Фелинга - это смесь раствора №1 - сульфата
меди и раствора №2 - щелочного раствора сегнетовой соли. Растворы хранятся
отдельно друг от друга, а при использовании смешиваются в соотношении 1:1. При
добавлении небольшого количества реактива Фелинга раствор глюкозы дает
ярко-синее окрашивание. В данном случае глюкоза растворяет Сu(ОН)2 и ведет себя как многоатомный
спирт. При дальнейшем нагревании цвет раствора меняется до желтой окраски, что
свидетельствует об образовании CuOH,
с последующим переходом в осадок краснокирпичного цвета-образование закиси меди
Cu2O. Глюкоза при этом окисляется до глюконовой кислоты. Избыток
Сu(ОН)2 при нагревании приводит к
образованию окиси меди-осадок черного цвета.
Реакция Бенедикта
Реактив Бенедикта - это смесь сульфата меди, раствора
карбоната натрия и цитрата натрия.
Реакция
Толленса (реакция серебряного зеркала).
Реактив
Толленса - смесь растворов нитрата серебра, щелочи и аммиака. Растворы
готовятся непосредственно перед определением углеводов и смешиваются в
соотношении 1:1. Раствор аммиачного серебра при взаимодействии с глюкозой дает
зеркальный налет металлического серебра.
Окисление в нейтральной или кислой среде позволяет сохранить углеродный
скелет. Окисление в мягких условиях, например, бромной водой, позволяет
окислить карбонильную группу до карбоксильной, не затрагивая гидроксильные
группы.
Образующиеся при этом кислоты называют альдоновыми.
Использование
сильного окислителя, например, разбавленной азотной кислоты, позволяет окислить
обе концевые группы - карбонильную и первичную спиртовую до карбоксильных.
Образующиеся при этом кислоты называют альдаровыми. Продукт такого окисления D−глюкозы
называется D−глюкаровой кислотой:
При
окислении D−галактозы азотной кислотой образуется
D−галактаровая или слизевая кислота, которая мало
растворима в воде. Это позволяет использовать азотную кислоту для обнаружения D−галактозы.
Окисление
моносахаридов в биологических системах носит более сложный характер. Так, при
аэробном окислении D−глюкозы, катализируемом ферментом
глюкозооксидазой, окислению подвергается не открытая, а циклическая форма.
Глюкозооксидаза специфична к b−D−глюкопиранозе,
которая вначале окисляется до d−лактона.
В
кислой среде d−лактон легко превращается в g−лактон. Взаимные превращения лактонов приводят к мутаротации
раствора глюконовой кислоты.
При
окислении первичной спиртовой группы без затрагивания альдегидной образуются
гликуроновые (уроновые) кислоты. Ввиду более легкой окисляемости альдегидной
группы получение уроновых кислот представляет собой довольно сложную задачу. В
этой связи окислению подвергают моносахарид с защищенной альдегидной группой,
например, в виде гликозида
Уроновые
кислоты имеют большое значение. Они входят в состав различных полисахаридов.
Так, глюкуроновая кислота является структурной единицей гепарина, гиалуроновой
кислоты и др. Пектиновые вещества плодов и ягод являются полиуронидами.
В
организме уроновые кислоты выполняют важную функцию: они связывают посторонние
и токсические вещества и в виде глюкуронидов выводят их из организма вместе с
мочой
)
Реакции гидроксильных групп
а) Углеродная цепь любого моносахарида содержит
большое число OH−групп, обладающих
электроноакцепторными свойствами. По этой причине гидроксильные группы в
молекулах моносахаридов обладают большей кислотностью по сравнению со спиртами.
В результате моносахариды могут образовывать алкоголяты (сахараты) не только с
щелочными и щелочноземельными металлами, но и с их гидроксидами
б) Образование простых эфиров
Образование простых эфиров в первую очередь происходит по гидроксилу,
связанному с С1 (гликозидный, или полуацетальный гидроксил); такие эфиры носят
название гликозидов. Гликозиды - широко распространенные природные соединения.
В
более жестких условиях в реакцию вступают все гидроксильные группы углевода
Простые
эфиры не гидролизуются в слабокислой и щелочной средах. В то же время ацетали легко
гидролизуются при кипячении с кислотой
В результате кислотного гидролиза образуется полуацеталь, способный к
аномеризации, и раствор такого сахарида мутаротирует.
в) Образование сложных эфиров
При действии на глюкозу ангидридов кислот образуются сложные эфиры
Сложные
эфиры моносахаридов легко гидролизуются и в кислой, и в щелочной средах. Это
объясняется меньшей прочностью сложноэфирной связи по сравнению с простой
эфирной связью.
Среди
сложноэфирных производных моносахаридов наибольшее значение имеют фосфаты
(сложные эфиры фосфорной кислоты)
)
Кето - енольная таутомерия
В
разбавленных щелочных растворах при комнатной температуре моносахариды способны
к кето - енольной таутомерии, обусловленной миграцией двойной связи.
При
переходе от ендиольной формы в кето - форму возможна перегруппировка
заместителей у аномерного и соседнего с ним атомов углерода
Следствием
этого процесса является появление в растворе равновесной смеси эпимеров данного
моносахарида.
При
высоких температурах и высоких концентрациях щелочей моносахариды подвергаются
расщеплению и полимеризации с образованием различных продуктов, в том числе
молочной и муравьиной кислот.
)
Реакция Молиша
Реакция
Молиша является качественной реакцией на углеводы.
В
концентрированных растворах кислот при нагревании моносахариды подвергаются
дегидратации. Отщепляя по три молекулы воды, альдопентозы образуют фурфурол, а
альдо- и кетогексозы - 5-гидроксиметилфурфурол
Фурфурол и 5−гидроксиметилфурфурол вступают в характерные реакции с
замещенными бензолами с образованием окрашенных продуктов. С двумя молекулами
фенола или α-нафтола, резорцина или тимола - образуются соединения
фиолетового и красного окрашивания соответственно.
) Реакция Селиванова
Обнаружение фруктозы в растворе по методу Селиванова проводят следующим
образом. Сначала фруктозу переводят в 5-гидроксиметилфурфурол нагреванием с
концентрированной HCl, затем добавляют
резорцин (1,3-дигидроксибензол). Образующееся конденсированное соединение в
кислой среде отщепляет воду, переходя в структуру с большим числом сопряженных
двойных связей. Подобное строение имеют многие индикаторы кислотно-основного
типа (фенолфталеин, метилоранж и др.). Присоединяя или отщепляя протон H+, они меняют свою окраску в
зависимости от активной реакции среды.
Реакция
Селеванова является качественной реакцией на фруктозу, которая при нагревании
смеси дает красное окрашивание раствора.
)
Реакции брожения
Важным
свойством моносахаридов является их ферментативное брожение. Брожению
подвергаются в основном гексозы. Молекулы глюкозы способны к расщеплению под
действием различных микроорганизмов.
Основные
виды брожения:
а)
спиртовое брожение
Спиртовое
брожение протекает под влиянием различных микроорганизмов или фермента зимазы,
который содержится, например, в кожуре винограда. В результате спиртового
брожения гексоз (для пентоз эта реакция не характерна) образуется этиловый
спирт:
С6Н12О6
2С2Н5ОН + 2СО2
этиловый спирт
б)
молочнокислое брожение
Молочнокислое брожение протекает при выработке различных молочнокислых
продуктов, при солении огурцов, квашеной капусты и силосовании кормов:
С6Н12О6 2СН3−СН(ОН)−СООН
молочная кислота
в) маслянокислое брожение
С6Н12О6 С3Н7−СООН + 2СО2 + 2Н2
масляная кислота
г) лимоннокислое брожение
Лимоннокислое брожение протекает в присутствии особых плесневых грибков.
Этот процесс используют для получения лимонной кислоты.
)
Важные производные моносахаридов
К
производным моносахаридов относятся соединения, имеющие близкую природу, но
содержащие вместо карбонильной или гидроксильной групп или в дополнение к ним
другие функциональные группы. Наиболее известными производными являются дезокси−
и аминосахара.
Дезоксисахара
- это моносахариды, у которых одна или две
гидроксильные группы замещены на атом(ы) водорода. Из дезоксисахаров наиболее
известны 2−дезокси−D−рибоза, 6−дезокси−L−манноза
(L−рамноза) и 6−дезокси−L−галактоза
(L−фукоза)
−дезокси−D−рибоза
входит в состав дезоксирибонуклеиновых кислот (ДНК), концевые остатки L−фукозы
служат маркировкой поверхности клеток, определяющих групповую принадлежность
крови человека.
6−дезоксисахара, называемые также метилпентозами, входят в состав
природных соединений, применяемых в кардиологии. Некоторые из них одновременно
являются 2−дезоксисахарами.
Примером 2,6−дидезоксимоносахарида является D−дигитоксоза (2,6−дидезокси−D−аллоза), содержащаяся в
сердечных гликозидах наперстянки.
Из аминосахаров в природе широко распространены два - 2−амино−2−дезокси−D−глюкоза (D−глюкозамин, хитозамин) и 2−амино−2−дезокси−D−галактоза (D−галактозамин, хондрозамин), в
которых гидроксильная группа при С2 замещена на аминогруппу
Первый входит в состав многих полисахаридов, содержащихся в тканях
позвоночных, второй является компонентом гликолипидов и входит в состав
главного полисахарида хрящей - хондроитинсульфата.
Часто аминогруппа бывает ацетилирована или метилирована. Так, N−ацетил−D−глюкозамин является главным
компонентом хитина - структурного
полисахарида, образующего наружный скелет насеко−мых и ракообразных. В
состав действующего начала препарата стрептомицин, обладающего
антибактериальным действием, входит N−метилированный L−глюкозамин.
Помимо N−метил−L−глюкозамина в состав препарата
входит стрептоза - 5−дезокси−3−формил−L−ликсоза, содержащая
дополнительную альдегидную группу
Особое место среди производных моносахаридов занимают нейраминовая и
мурамовая кислоты. Структуру этих кислот легче понять, если мысленно разбить их
на два фрагмента
Действительно,
N−ацетилнейраминовая кислота получается в
результате альдольной конденсации N−ацетил−D−маннозамина
и пировиноградной кислоты, протекающей под действием ферментов.
Эти
кислоты играют важную роль в качестве строительных блоков полисахаридов,
содержащихся в клеточных стенках бактерий и в клеточных оболочках высших
животных. N−ацетилмурамовая кислота - главный структурный элемент полисахаридного остова бактериальных
клеточных стенок. Она также является главным строительным блоком полисахаридных
цепей, входящих в состав гликопротеидов и гликолипидов клеточных оболочек
животных тканей.
N−ацильные
производные нейраминовой кислоты называют сиаловыми кислотами. Сиаловые кислоты
представляют собой бесцветные кристаллические вещества, хорошо растворимые в
воде и мало растворимые в неполярных органических растворителях. Они являются
компонентами специфических веществ крови и тканей, входят в состав ганглиозидов
мозга, участвующих в проведении нервных импульсов. В спинномозговой жидкости
они содержатся в свободном состоянии.
Наконец,
структурную связь с моносахаридами имеет хорошо известная аскорбиновая кислота
(витамин С). В природных условиях она образуется из D−глюкозы и
содержится в овощах (картофель, томаты), ягодах (черная смородина) и фруктах,
особенно цитрусовых.
Аскорбиновая
кислота представляет собой g−лактон, содержащий
ендиольный фрагмент.
Как
кислота аскорбиновая сильнее уксусной: ее кислотность обусловлена диссоциацией
одной из ендиольных групп. Интересно, что при образовании солей лактонное
кольцо не размыкается.
Аскорбиновая
кислота обладает восстановительными свойствами: при ее окислении образуется
дикетонная форма, называемая дегидро−аскорбиновой кислотой
Эти превращения протекают в мягких условиях и обеспечивают протекание
некоторых окислительно−восстановительных реакций в клетке. Например,
аскорбиновая кислота участвует в окислении пролина.
Суточная потребность в аскорбиновой кислоте для человека составляет 30 мг
и более. Недостаток аскорбиновой кислоты вызывает различные заболевания, в
частности, цингу.
) Реакция Майяра
Реакция Майяра - химическая реакция между аминокислотой и сахаром,
которая, как правило, происходит при нагревании.
При взаимодействии аминогрупп белков и аминокислот с карбонильными
группами углеводов происходит реакция меланоидинообразования. Это окислительно
- восстановительный процесс с образованием различных промежуточных продуктов,
конечные продукты реакции - меланоидины имеют коричневый цвет, влияют на цвет и
вкус готовых продуктов. Реакция Майяра происходит при сушке солода, при
кипячении сусла с хмелем, при выпечке хлеба, при варке сахарных сиропов, при
переработке овощей и фруктов. Скорость и глубина реакции меланоидинообразования
зависит от состава продукта, уровня рН среды (более благоприятна слабощелочная
среда), температура, влажность. Меланоидинообразование снижает активность
витаминов и ферментов, что приводит к снижению пищевой ценности продуктов.
Начальная стадия реакции Майяра:
Н - C = O H - C = NR H - C = NNR
H2 - C - NNR
H OH
+H2NR HO H H
OH = O H -H2O
HO H HO H HO
H
H
OH H OH HO
H H OH
H
OH H OH H
OH H OH
CH2 -
OH CH2 - OH CH2 -
OH CH2 - OH
глюкоза
основание Шиффа енаминол соединение Амадори
) Ферментативный гидролиз полисахаридов
Гидролиз крахмала осуществляют амилолитические ферменты. Фермент α - амилаза гидролизует крахмал
действуя хаотично, разрывает 1,4 связь с образованием декстринов и небольшого количества
мальтозы. Фермент α - амилаза действуя на крахмальное зерно образует
каналы, раскалывая полисахарид на части.
колоночный
хроматография крахмал сахар
2.
ЭКСПЕРИМЕНТАЛЬНАЯ ЧАСТЬ
2.1 Методика фотоколориметрического определения общего сахара в кондитерских
изделиях
Общая характеристика метода
Определение состава вещества и контроль его чистоты являются важнейшими
факторами при производстве пищевых продуктов. Наряду с химическими методами
анализа в настоящее время широко применяются физические методы. Они позволяют
осуществлять как быстрый контроль (в течении нескольких минут) больших партий
продукции, так и специфический анализ продуктов, витаминов, упаковочных
материалов, лекарств и т.д. Одним из таких физических методов является
спектральный анализ, основанный на взаимодействии лучистой энергии с
исследуемым образцом - метод абсорбционной спектрофотоколориметрии. Методы
абсорбционной спектроскопии имеют высокую чувствительность (низкий предел
обнаружения), они избирательны и точны. Методы могут быть применены для анализа
больших и малых содержаний, но особенно ценной особенностью является
возможность определения примесей (до 10−5 - 10−6 %). Важное
значение имеет избирательность многих фотометрических методов, позволяющая
проводить определения элементов в сложных пробах без химического разделения
компонентов. Погрешность фотометрических методов обычно составляет 3 - 5%,
уменьшаясь в благоприятных случаях до 1 - 2% и нередко до 0,5 - 1,0%.
Основной закон светопоглощения
Атом, ион или молекула, поглощая квант света, переходит в более высокое
энергетическое состояние. Обычно это бывает переход с основного,
невозбужденного уровня на один и более высокий, чаще всего на первый
возбужденный уровень. Вследствие поглощения излучения при прохождении его через
слой вещества интенсивность излучения уменьшается и тем больше, чем выше
концентрация светопоглощающего вещества.
Закон Бугера - Ламберта - Бера (основной закон светопоглощения) связывает
уменьшение интенсивности света, прошедшего через слой светопоглощающего
вещества, с концентрацией вещества и толщиной слоя. Закон Бугера - Ламберта -
Бера можно представить в виде графической зависимости оптической плотности от
концентрации (см. рисунок 2.1).
Рисунок 2.1 - Графическое изображение зависимости оптической плотности от
концентрации
Чтобы учесть потери света на отражение и рассеяние, сравнивают
интенсивности света, прошедшего через исследуемый раствор и растворитель (см.
рисунок 2.2). При одинаковой толщине слоя в кюветах из одинакового материала,
содержащих один и тот же растворитель, потери на отражение и рассеяние света
будут примерно одинаковы у обоих пучков и уменьшение интенсивности света, будет
зависеть от концентрации вещества.
Рисунок 2.2 - Прохождение света через окрашенный раствор и растворитель
Уменьшение интенсивности света, прошедшего через раствор, характеризуется
коэффициентом пропускания (или просто пропусканием) Т:
(2.1)
где I и I0 - соответственно интенсивности света, прошедшего через раствор
и растворитель.
Взятый с обратным знаком логарифм Т называется оптической плотностью А
(2.2)
Уменьшение интенсивности света при прохождении его через раствор
подчиняется закону Бугера - Ламберта - Бера:
, (2.3)
где ξ - молярный коэффициент поглощения (коэффициент экстинкции);-
толщина светопоглощающего слоя;
С - концентрация раствора.
Физический смысл ε становится ясным, если принять l = 1 см и С = 1 моль/л, тогда А = ξ. Следовательно, молярный коэффициент
поглощения равен оптической плотности одномолярного раствора при толщине слоя 1
см.
Оптическая плотность раствора, содержащего несколько окрашенных веществ,
обладает свойством аддитивности, которое иногда называют законом аддитивности
светопоглощения. В соответствии с этим законом поглощение света, каким - либо
веществом не зависит от присутствия в растворе других веществ. При наличии в
растворе нескольких окрашенных веществ каждое из них будет давать свой
аддитивный вклад в экспериментально определяемую оптическую плотность А:
A = A1 +A2 + A3 +…+ An, (2.4)
где А1, А2, А3, …, An -
оптическая плотность вещества 1, вещества 2 и т.д.
При учете уравнения (2.3) получаем:
A = l · (ξ1C1 + ξ 2C2 + ξ 3C3 + … + ξ nCn) (2.5)
Оптимальные условия фотометрических определений
Выбор светофильтра
Для того, чтобы выделить лучи определенной длины волны, на пути светового
потока помещают светофильтры. Светофильтры пропускают лучи лишь в определенном
интервале длин волн и практически полностью поглощают лучи других длин волн. В
качестве светофильтров применяют цветные стекла, пленки, окрашенные растворы.
Для каждого конкретного анализа светофильтр выбирают, исходя из спектра
поглощения, таким образом, чтобы область максимального поглощения лучей
исследуемым раствором и область максимального пропускания лучей светофильтром
были одинаковы. При проведении анализа светофильтр подбирают экспериментально.
Для этого приготавливают две пробы исследуемого раствора различной концентрации
и измеряют их оптические плотности со всеми имеющимися светофильтрами. Затем
для каждого светофильтра находят разность оптической плотности ∆А,
соответствующую разности концентраций ∆С исследуемых проб. Тот
светофильтр, для которого ∆А получается максимальной, выбирают для
фотометрирования данного окрашенного раствора. Иногда используют менее точный,
но более быстрый прием: выбирают светофильтр по цвету исследуемого раствора.
Таблица 2.1 - Выбор светофильтра по цвету исследуемого раствора
|
Цвет раствора
|
Область максимального
поглощения лучей раствором, нм
|
Цвет светофильтра
|
|
Желто − зеленый
|
400 - 450
|
Фиолетовый
|
|
Желтый
|
450 - 480
|
Синий
|
|
Оранжевый
|
480 - 490
|
Зелено − синий
|
|
Красный
|
490 - 500
|
Сине − зеленый
|
|
Пурпурный
|
500 - 560
|
Зеленый
|
|
Фиолетовый
|
560 - 575
|
Желто − зеленый
|
|
Синий
|
575 - 590
|
Желтый
|
|
Зелено − синий
|
590 - 625
|
Оранжевый
|
|
Сине − зеленый
|
625 − 700
|
Красный
|
Выбор длины волны поглощаемого излучения
Окрашенные соединения обладают избирательным поглощением света, т.е. А
окрашенного раствора (а следовательно, и ελ) различна для различных длин волн
падающего света.
Изучая поглощение данным окрашенным раствором монохроматических излучений
различных длин волн, получают спектр поглощения (см. рисунок 2.3).
Рисунок 2.3 - Графическое изображение оптической плотности от длины волны
λmax
представляет собой длину волны падающего света, при которой наблюдается
максимальное поглощение света
Измерения оптической плотности окрашенных растворов обычно производят в
области максимального поглощения, т.е. при длине волны падающего света близкой
к λmax , при этом точность фотометрического
определения увеличивается (см. рисунок 2.4).
Рисунок 2.4 - Сравнение точности измерения оптической плотности раствора
при различных длинах волн поглощаемого света
Сущность фотоколориметрического определения общего сахара в кондитерских
изделиях
Определение основано на окислении сахаров сернокислым раствором
двухромовокислого калия до углекислоты и воды при нагревании и колориметрии
образующегося при этом иона Cr3+, количество которого эквивалентно количеству
вступившего в реакцию сахара.
H22O11+ H2O → C6H12O6 + C6H12O6
сахароза глюкоза фруктоза
C6H12O6 + 4К2Сr2O7 + 16H2SO4 ↔ 6CO2 + 22H2O +
Cr2(SO4)3 + 4K2SO4
Оборудование
) Колориметр КФК − 2МП;
) Аналитические весы;
) Фарфоровая ступка с пестиком;
) Колбы мерные объемом 250 см3 (1 шт.) и 50 см3 (5 шт.);
) Баня водяная;
) Пипетки объемом 5 см3 и 10 см3;
) Химический стакан объемом 100 см3;
) Фильтры бумажные.
Применяемые реактивы
) Стандартный раствор сахарозы с концентрацией 4 мг/см3. Навеску 1 г
сахарозы х.ч. количественно перенести в мерную колбу на 250 см3 через воронку,
заполнить на ¾ дистиллированной водой и перемешать содержимое колбы до
полного растворения сахарозы, объем колбы довести до метки дистиллированной
водой.
) Сернокислый раствор дихромата калия. Раствор №1 − навеску 49 г
К2Сr2O7 растворить в 300 см3 дистиллированной воды. Раствор №2 −
отдельно растворить 300 см3 H2SO4 (ρ = 1,84 г/ см3) в 300 см3
дистиллированной воды. Полученный раствор 1 и раствор 2 смешать при медленном и
постепенном сливании, так как смешивание растворов сопровождается выделением
тепла.
) Раствор сульфата цинка.
) Раствор гидроксида натрия.
) Дистиллированная вода.
) Карамель.
Колориметр фотоэлектрический концентрационный КФК−2МП
Колориметр фотоэлектрический концентрационный КФК−2МП предназначен
для измерения оптической плотности растворов в отдельных участках диапазона
длин волн 315 - 980 нм, выделяемых светофильтрами.
Принцип действия колориметра основан на поочередном измерении светового
потока, прошедшего через растворитель (контрольный раствор), и потока,
прошедшего через исследуемую среду. Внешний вид прибора представлен в
соответствии с рисунком 2.5.
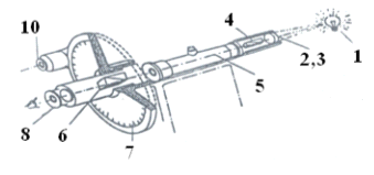
Рисунок 2.5 - Колориметр КФК − 2МП: 1 - колориметрический блок с
осветителем; 2 - вычислительный блок; 3 - ручка переключения фотоэлементов
фотоколориметрического устройства; 4 - ручка перемещения кювет: в положении 1 в
световой поток вводится кювета с растворителем (контрольным раствором), в
положении 2 в световой поток вводится кювета с исследуемым раствором; 5 -
крышка кюветного отделения; 6 - ручка переключения фотоэлементов
колориметрического блока.
Порядок работы фотоколориметра
) Открыть крышку кюветного отделения.
) Включить тумблер на задней панели прибора не позднее, чем за 15 мин до
начала работы. Внимание! При включенном приборе и пустом кюветном отделении
закрывать крышку нельзя.
) Нажать клавишу «Пуск», на цифровом табло появляется мигающая запятая и
загорается индикатор «Р».
) Нажать клавишу «Ш(0)». На цифровом табло справа от мигающей запятой
высвечивается значение в интервале 0,001-1,000, а слева от запятой - «0».
) С помощью ручки 6 выбрать нужное значение длины волны λ.
) С помощью ручки 4 выбрать нужный светофильтр.
) В одну кювету налить контрольный раствор до риски на боковой стенке
кюветы, в другую - калибровочный раствор или образец. Протереть с внешней
стороны фильтровальной бумагой.
) В дальнее гнездо кюветодержателя (положение 1) установить кювету с
контрольным раствором, в ближнее (положение 2) - кювету с образцом или
калибровочным раствором. Закрыть крышку кюветного отделения.
) Установить положение 1 кюветодержателя. Нажать клавишу «К(1)». На
цифровом табло слева от мигающей запятой загорается символ «1».
) Установить положение 2 кюветодержателя. Нажать клавишу «Д(5)». На
световом табло, слева от мигающей запятой загорается символ «5», что
свидетельствует о том, что оптическая плотность раствора замерена. Записать
справа от мигающей запятой полученные цифры.
) Повторить по 3 раза для калибровочных и испытуемого растворов п. 3 - 10
и найти среднее арифметическое значение оптической плотности для каждого
раствора.
Выполнение работы
) Подготовка образца к анализу
Навеску 1 г измельченного и хорошо перемешанного продукта (карамель)
растворяют в химическом стаканчике с дистиллированной водой, нагретой до 60 -
70°С. Внимание! Далее в зависимости от состава изделия выполняют пункты (А) или
(Б).
(А) Если изделие полностью растворимо, то полученный раствор охлаждают до
комнатной температуры и переносят в мерную колбу объемом 250 см3, доводят
дистиллированной водой до метки. Затем в мерную колбу объемом 50 см3 отбирают 5
см3 полученного раствора конфеты, 8 см3 дистиллированной воды и 13 см3
сернокислого раствора К2Cr2O7. Маркируют колбу цифрой 5.
(Б) Если изделие в своем составе имеет вещества, не растворимые в воде,
то полученную охлажденную взвесь переносят в мерную колбу на 250 см3, тщательно
смывая нерастворимые частицы дистиллированной водой в колбу, заполняя ее
примерно до половины объема. Колбу помещают на водяную баню, нагретую до 60°С,
выдерживают 15 мин., периодически помешивая содержимое. Далее раствор
охлаждают, прибавляют 10 см3 раствора ZnSO4 и экспериментально установленный
объем NaOH. Содержимое колбы перемешивают, доводят дистиллированной водой до
метки, и фильтруют в чистую колбу. Затем в мерную колбу на 50 см3 отбирают 5
см3 полученного раствора конфеты, 8 см3 дистиллированной воды и 13 см3
сернокислого раствора К2Cr2O7.
) Приготовление растворов для градуировочного графика
Растворы для градуировочного графика готовят в соответствии с таблицей
2.2.
Таблица 2.2 - Приготовление градуировочных растворов
|
№ колбы
|
V (стандартного раствора сахарозы), см3
|
V (Н2Одист), см3
|
V (раствора K2Cr2O7), см3
|
|
1
|
13,00
|
13,00
|
|
2
|
1,00
|
12,00
|
13,00
|
|
3
|
3,00
|
10,00
|
13,00
|
|
4
|
5,00
|
8,00
|
13,00
|
3) Проведение цветной реакции и измерения оптической плотности растворов
Поместить все колбы объемом 50 см3 (5 шт.), содержащие градуировочные
растворы, контрольный и исследуемый растворы, в кипящую водяную баню на 10 мин.
Затем охладить содержимое колб до комнатной температуры под водопроводной водой
и довести дистиллированной водой до метки. Каждый раствор тщательно перемешать
и измерить оптическую плотность с помощью КФК −2 − МП так, как
указано в разделе «Порядок боты фотоколориметра» при λ = 670 нм в кюветах шириной 30 мм.
Результаты записать в таблицу 2.3.
) Обработка результатов эксперимента.
а) Рассчитать массу сахарозы в колбах 2 - 4 по формуле (2.6):
= C ∙ V, (2.6)
где С - концентрация стандартного раствора;- объем стандартного раствора
сахарозы, внесенного в колбу.
Таблица 2.3 - Результаты
эксперимента
|
№ колбы
|
Масса сахарозы, мг
|
Значение оптической
плотности
|
|
|
А1
|
А2
|
А3
|
Аср
|
|
1
|
|
|
|
|
|
|
2
|
|
|
|
|
|
|
3
|
|
|
|
|
|
|
4
|
|
|
|
|
|
|
5
|
-
|
|
|
|
|
б) По данным таблицы 2.3 построить градуировочный график в координатах А
= f(m).
в) Массовую долю общего сахара рассчитывают двумя способами:
1) по градуировочному графику
Используя градуировочный график и полученное значение оптической
плотности раствора в колбе № 5, находят массу сахара m1 (мг) и рассчитывают
массовую долю общего сахара в процентах по формуле (2.7):
(2.7)
где χ - массовая доля общего сахара, %;- масса навески, г;-
найденная масса сахара, мг;- вместимость мерной колбы, где растворяли навеску
продукта, см3;- объем образца, взятого непосредственно для проведения реакции,
см3.
) с помощью вычислительного блока ФЭК.
По градуировочному графику определить коэффициенты «с» и «В»: с = D0, так как при концентрации С = 0
оптическая плотность D = 0, то и «с» = 0 (градуировочная кривая выходит из
начала координат).
(2.8)
где α - угол между градуировочной прямой и осью концентраций;
Di, mi
- результаты, полученные для каждой точки градуировочного графика.
По полученным значениям рассчитать Вср. Ввести в память вычислительного
блока коэффициенты «с» и «Вср». Для этого нажать соответствующую клавишу («с»
или «В»), затем клавишу «СБР». При этом на цифровом табло слева высветится
соответствующий символ. Далее набрать с помощью клавиатуры расчетные значения
коэффициентов и нажать клавишу «УТВ». Измерить концентрацию исследуемого
раствора. Для этого установить положение кюветодержателя 1 (контрольный
раствор), нажать клавишу «К(1)».Установить положение кюветодержателя 2
(исследуемый раствор), нажать клавишу «С(4)». Измерения повторить дважды и
вычислить средний арифметический результат.
Рассчитать массовую долю общего сахара в процентах по формуле (2.9):
(2.9)
где mприб - найденная масса сахара в аликвоте по измерительному блоку
прибора КФК − 2МП с использованием коэффициентов.
Остальные величины в формуле те же, что и в предыдущей формуле.
г) Сравнить значения массовой доли общего сахара, вычисленные двумя
способами.
Обработка результатов эксперимента
) Рассчитать массу сахарозы в колбах 2 - 4 по формуле (2.6)
Стандартный раствор сахарозы C(C12H22O11) = 4 мг/мл
m2 = C(C12H22O11) ∙ V2 = 4 мг/мл · 1 мл = 4 мг
m3 = C(C12H22O11) ∙ V3 = 4 мг/мл · 3 мл =12 мг
m4 = C(C12H22O11) ∙ V4 = 4 мг/мл · 5 мл =20 мг
Таблица 2.4 - Результаты
эксперимента
|
№ колбы
|
Масса сахарозы, мг
|
Значение оптической
плотности
|
|
|
А1
|
А2
|
А3
|
Аср
|
|
2
|
4
|
0,152
|
0,153
|
0,149
|
0,151
|
|
3
|
12
|
0,487
|
0,484
|
0,487
|
0,486
|
|
4
|
20
|
0,819
|
0,819
|
0,798
|
0,812
|
|
5
|
-
|
0,786
|
0,781
|
0,787
|
0,785
|
) По данным таблицы 2.4 построить градуировочный график зависимости
оптической плотности от массы сахарозы, мг.
Рисунок 2.6 - график зависимости оптической плотности от массы сахарозы,
мг
Оптическая плотность образца А = 0,785
Уравнение прямолинейной зависимости оптической плотности от массы сахарозы,
мг: A = 0,04131 · m −
0,01275, следовательно
) Массовая доля общего сахара рассчитанная по градуировочному графику
Анализируемое кондитерское изделие - карамель леденцовая
«анисоментоловая»
2.2 Определение крахмала в зерновом сырье по методу Эверса
Общая характеристика метода
Поляриметрический анализ основан на измерении изменения плоскости
поляризации света оптически активными веществами, т.е. на способности некоторых
веществ изменять направление поляризованных лучей света.
Оптическая активность кристаллов. В 1874 г. установлено, что четыре
связи, образуемые атомом углерода, направлены в пространстве к четырем углам
тетраэдра. Это открытие было сделано при попытках объяснить явление, которое
наблюдается при прохождении поляризованного света через некоторые вещества.
Луч естественного света (см. рисунок 2.7, а), колеблющийся во всех
направлениях, пройдя через некоторые кристаллы (кальцит, исландский шпат,
турмалин), расщепляется на два луча (см. рисунок 2.7, б); каждый из них
представляет собой плоскополяризованный свет.

а
б
Рисунок 2.7 - Схема колебаний луча света (а - обычный свет, б -
плоскополяризованный свет)
Колеблющееся электрическое поле такого света лежит в определенной
плоскости для одного из лучей и в перпендикулярной ей плоскости другого луча.
Плоскость, в которой происходят колебания волн поляризованного света, называют
плоскостью поляризации. Поляризованный луч - это луч, у которого колебания
световой волны происходят только в какой - то одной плоскости (см. рисунок
2.8). Поляризованный луч получают, пропуская световой поток через призму
Николя.
Рисунок 2.8 - Поляризованный луч света
Кристаллы, преломляющие световые волны в разных плоскостях, называют
оптически активными. Эти кристаллы используются для изготовления призм, с
помощью которых получают поляризованный свет. Призма состоит из двух кристаллов
(например, кальцита), определенным образом разрезанных и затем склеенных. Такие
призмы обладают свойством пропускать только один из лучей; второй луч
отклоняется в сторону и подвергается полному внутреннему отражению. Они
используются как для получения пучка плоскополяризованного света, так и для
определения ориентации плоскости поляризации и называются призмами Николя (см. рисунок
2.9).
Рисунок 2.9 - Призма Николя: o - ray - обыкновенный луч (горизонтальная
поляризация), e - ray - необыкновенный (вертикальная поляризация)
Оптическая активность молекул в растворе. Все вещества можно разделить на
два вида:оптически активные (анизотропные), оптически неактивные (изотропные).
Если оптическая активность веществ обусловлена особенностями строения
кристаллической решетки, то в этом случае вещества проявляют оптическую
активность в твердом состоянии. Если оптическая активность обусловлена
особенностями строения молекул, то оптические свойства таких веществ
проявляются в растворе. К веществам последней группы относятся такие
органические вещества как сахароза, глюкоза, фруктоза, винная кислота, все
аминокислоты, за исключением глицина. Поляриметрический метод разработан для
количественного определения веществ именно этой группы. Оптическая активность
этих веществ связывается с направлением валентных связей атома углерода в
пространстве, который, как известно, имеет их четыре.
Было показано, что ни одна структура, в которой атомы лежат в одной
плоскости, не может быть оптически активной. Плоская молекула является своим
собственным зеркальным изображением, поскольку сама плоскость, а это плоскость
симметрии для данной молекулы.
Если четыре связи атома углерода не лежат в одной плоскости, то они
должны быть направлены к углам тетраэдра (химия трехмерного пространства или
трехмерных структур). Вещество фторхлорбромметан представлено право- и
левовращающейся разновидностями, следовательно, его нельзя представить плоской
формулой.
Расположение атомов в молекуле не может иметь плоскости симметрии или
центра симметрии, а это значит, что существует расположение атомов,
соответствующее правой и левой руке - зеркальное изображение первого.
Соответственно существует два вида веществ, вполне одинаковых во всех
отношениях, отличающихся только свойственным им направлением вращения плоскости
поляризации, причем каждый вид должен быть зеркальным изображением другого. Именно
такие вещества (молекулы) являются оптически активными.
Пара из право- и левовращающихся молекул называется энантиомерной парой,
а два вещества, которые они образуют, называются энантиомерами.
Для отличия их друг от друга используют символы L(−) (левовращающий) и D(+) (правовращающий).
Каким образом эти вещества (молекулы) проявляют оптическую активность,
показано на примере аминокислот. Общая формула аминокислот CHR(NH2)COОН. Это
функциональные соединения, в состав которых входят две функциональные группы:
карбоксильная и аминогруппа.
Аминогруппа имеет явно выраженный основной характер, а карбоксильная -
кислый, так что в водном растворе протон карбоксильной группы переходит к
аминогруппе. В результате карбоксильная группа превращается в ион карбоксила, а
аминогруппа - в замещенный ион аммония. В соответствии с этим строение
аминокислот в водном растворе можно представить следующим образом:
H H O
H - N+ - C
- C − O−
H R
Амино- и карбоксильные группы большинства аминокислот внутренне
ионизированны так, что группы аммонийного (+) и карбоксильного (−) ионов образуются
в одной и той же молекуле. Таким образом, ионизированная молекула может
проявлять свойства диполя.
Рассмотрим природу поляризованного луча света, состоящего из фотонов и,
подобно электрону, обладающего свойством спина. Поляризация светового луча
связана именно со спином фотона, который, как и у электрона, равен единице.
Следовательно, у фотона, как и у электрона, имеются два состояния, в которых он
может находиться (+1) и (−1). Другими словами, поляризованный луч
представляет диполь; фотоны такого колеблющегося электрического диполя могут
испускаться или поглощаться. При прохождении через раствор оптически активных
(ионизированных) веществ поляризованного луча происходит его поглощение
молекулами вещества, что выражается в правой круговой поляризации света,
отвечающей составляющей спина (+1), либо левой круговой поляризации -
составляющей спина (−1).
Для определения концентрации оптически активных веществ, в основном
углеводов (сахара, глюкозы), используют поляриметры разных марок,
предназначенные для измерения угла вращения плоскости поляризации оптически
активными прозрачными однородными растворами и жидкостями. Разновидностью
поляриметра являются сахариметры и глюкозиметры. Каждый из них снабжен шкалой,
показывающей не угол вращения поляризованного света, а массовую долю (%)
сахарозы или глюкозы соответственно.
Угол вращения плоскости поляризации определяют по формуле (2.10):
(2.10)
где
- удельное вращение, град;
l -
длина трубки, дм;
С - концентрация вещества, г/100 см3.
Сущность поляриметрического определения крахмала в зерновом сырье по
методу Эверса
Метод основан на гидролизе крахмала при нагревании в
слабом растворе соляной кислоты и определении его концентрации по отклонению
плоскости поляризации поляризационного луча полученными продуктами гидролиза.
(C6H10O5)n + nH2O → nC6H12O6
Если используется не вода, а другой растворитель или удельное вращение
неизвестно, то концентрацию вещества в растворе можно определить по калибровочному
графику, используя серию растворов с известными концентрациями.
При определении концентрации сахарозы в таких сложных образцах, как
пищевые продукты, которые не имеют аттестованных растворов, ни формулой (2.10),
ни градуировочным графиком воспользоваться невозможно.
Таблица 2.5 - Характеристики крахмала различных
зерновых культур
|
Крахмал
|
Удельное вращение, [α]20D
|
Коэффициенты
|
|
|
для сахариметра (линейная
шкала)
|
для поляриметра (круговая
шкала)
|
|
Кукурузный
|
184,6
|
1,879
|
5,416
|
|
Пшеничный
|
182,7
|
1,898
|
5,474
|
|
Картофельный
|
194,5
|
1,775
|
5,118
|
|
Ржаной
|
184
|
1,885
|
5,434
|
|
Ячменный
|
181,5
|
1,912
|
5,506
|
|
Овсяный
|
181,3
|
1,914
|
5,504
|
|
Рисовый
|
185,9
|
1,866
|
5,38
|
Оборудование
1) Поляриметр СМ - З;
) Баня водяная;
) Аналитические весы;
) Термометр с температурным диапазоном до 100°С;
) Колбы мерные объемом 100 см3 (2 шт);
) Стеклянная воронка;
) Фарфоровая ступка;
) Пипетки объемом 5 см3 и 25 см3;
) Фильтровальная бумага.
Применяемые реактивы
) 1,124 % раствор соляной кислоты. Для приготовления
1,124 % - ного раствора соляной кислоты отмеряют 25,4 см3 соляной кислоты
плотностью 1,19 г/см3 в мерную колбу на 1000 см3 и доводят объем раствора до
метки дистиллированной водой.
2) 2,5 % раствор аммония молибденовокислого.
) 4 % раствор фосфорно - вольфрамовой кислоты.
) Дистиллированная вода.
) Зерно.
Поляриметр круговой СМ - 3
Поляриметр круговой СМ - 3 представляет собой оптический прибор,
предназначенный для измерения угла вращения плоскости поляризации оптически
активных прозрачных и однородных растворов (см. рисунок 2.10).
а
б
Рисунок 2.10 − Общий вид (а) и схема поляриметра (б): 1 - источник
света; 2 - светофильтр; 3 - конденсор; 4 - поляризатор (призма Николя); 5 −
кювета; 6 - анализатор (призма Николя); 7 - отчетное устройство (шкала); 8 -
окуляр с видом освещенности полей; 10 - окуляр шкалы; 11 - ручка вращения
анализатора; 12 − передняя панель; 13 - задняя панель; 14 - крышка
кюветного отделения; 15 - тумблер «Сеть»
Луч света (I) от источника света
(1) через светофильтр (2) и конденсор (3) проходит через поляризующую призму
Николя (4) и на выходе из нее оказывается плоскополяризованным (II) (см. рисунок 2.11).
Рисунок 2.11 − Схема кругового поляриметра и изменения поляризации
луча при прохождении через него: 1 - неполяризованный свет; II - поляризованный свет; III - вращение плоскости поляризации; IV - приведение плоскости поляризации к
оптической оси анализатора
Далее при прохождении через кювету (5) с раствором плоскость поляризации
может повернуться при наличии в растворе оптически активного вещества. На схеме
новая плоскость поляризации показана наклонной стрелкой под углом о, при этом
поля освещенности 9, одинаково окрашенные при нулевом положении поляриметра,
окрашиваются различно (как верхний кружок либо как нижний). Это свидетельствует
о несовпадении оптической оси поляриметра с плоскостью поляризации. Чтобы
выровнять окраску полей в окуляре поляриметра, надо повернуть анализатор (6),
связанный с отсчетным устройством (7), на такой угол, на какой поляризованный
луч был отклонен раствором энантиомера. Когда это будет достигнуто (IV), поля в окуляре (8) поляриметра
снова будут окрашены одинаково. Отсчет по шкале (7) укажет угол вращения
плоскости поляризации, который пропорционален длине кюветы 1 и концентрации
раствора энантиомера.
В поляриметре СМ − З применен принцип уравнивания яркостей
разделенного на две части поля зрения. Разделение достигается путем введения в
оптическую систему прибора хроматической фазовой пластинки. Яркости полей
сравнения уравнивают вблизи полного затемнения поля зрения.
На рисунке 2.12 показан вид двойного поля зрения в зависимости от
положения анализатора.
Вращением анализатора добиваются равенства яркостей обоих полей сравнения
в чувствительном положении (см. рисунок 2.12, б). При этом не должно быть
заметно резкого выделения стороны хроматической фазовой пластинки. При
незначительном повороте анализатора вправо или влево от чувствительного
положения происходит отклонение его оптической оси от плоскости колебаний
поляризованного луча света, и тогда картинка меняется.
а б в
Рисунок 2.12 − Вид поля зрения в зависимости от положения
анализатора при заполненной водой кювете: а - левое вращение; б - нулевая
точка; в - правое вращение
При повороте анализатора влево (см. рисунок 2.12, а) заметно потемнение
левой части кружка, при повороте анализатора вправо (см. рисунок 2.12, в) -
потемнение правой части кружка.
Если для получения однородно освещенного поля зрения приходится повернуть
анализатор вправо, т.е. по часовой стрелке, то исследуемое вещество было
правовращающимся. При повороте анализатора против часовой стрелки получаем
левое вращение, а вещество было левовращающимся.
Выполнение работы
1) Отвешивают навеску измельченного исследуемого
образца 5 г (с точностью до 0,01 г) и количественно переносят в сухую мерную
колбу на 100 см3. Туда же приливают 25 см3 1,124% - ного раствора соляной
кислоты. Перемешиванием добиваются полного смачивания вещества и разрушения
комочков. Следующими 25 см3 той же кислоты смывают с горлышка и со стенок колбы
прилипшие частицы. Смесь помещают на 15 мин на кипящую водяную баню. В течение
первых трех минут содержимое непрерывно размешивают плавными круговыми
движениями колбы. Через 15 мин колбу вынимают, вливают в нее 40 см3 холодной
дистиллированной воды, взбалтывают и охлаждают до 200С.
) Затем к раствору для осветления и осаждения белков
прибавляют 6 см3 2,5% - ного раствора молибденовокислого аммония или от 0,5 до
5 см3 4% - ной фосфорно - вольфрамовой кислоты, после чего содержимое мерной
колбы доводят до метки дистиллированной водой, взбалтывают и фильтруют через
складчатый фильтр в сухую колбу. Первую порцию фильтрата (5 - 8 см3)
отбрасывают. Прозрачный фильтрат поляризуют при 200С.
3) Проверка поляриметра на правильность его показаний (определение
нулевого положения прибора). Так как при нулевой точке прибора нуль нониуса не
всегда совпадает с нулем шкалы лимба, то, начиная работать, всегда следует
установить положение истинной нулевой точки. Определение нулевого отсчета
производят с кюветой, наполненной дистиллированной водой.
Включают натриевую лампу поляриметра тумблером (15) на задней панели
прибора и прогревают его в течение 20 минут. Достают кювету, открывают крышку
(14) кюветного отделения прибора. Отвинтив гайку, убирают втулку, резиновую
прокладку, покровное стекло и все детали кладут на фильтровальную бумагу.
Кювету приводят в вертикальное положение утолщенной частью вверх. Эта
утолщенность на стеклянной трубке необходима для сбора пузырьков воздуха.
Заполняют кювету до верха дистиллированной водой. Заполнение водой производят
до тех пор, пока на конце трубки не появится выпуклый мениск. Пузыри воздуха,
если они присутствуют, удаляют, слегка постукивая по кювете указательным
пальцем.
Появившийся мениск смещают в сторону при надвигании на него покровного
стекла. Затем на покровное стекло кладут резиновую прокладку, прижимают
втулкой, вставив ее в паз, и затягивают гайкой. Кювету вытирают фильтровальной
бумагой. Она не должна подтекать.
Кювету с водой вставляют в кюветное отделение поляриметра утолщенной
частью по направлению к передней панели до соответствующего упора (16) (см.
рисунок 2.13). Кювета должна находиться в середине кюветного отделения.
Рисунок 2.13 − Положение кюветы в кюветном отделении: 5 - кювета; 8
-окуляр с видом освещенности полей; 11 - ручка вращения анализатора; 12 -
передняя панель поляриметра; 13 - задняя панель; 14 - крышка кюветного отделения;
16 - упор
Вращая ручку (11) прибора, совмещают нули лимба и нониуса. Затем,
продолжая вращать ручку плавно и медленно, добиваются равенства яркости полей
сравнения в чувствительном положении (см. рисунок 2.12, б) и производят нулевой
отсчет. Если нули лимба и нониуса не совпадают в чувствительном положении, то
следует найти по шкале нониуса штрих, который совпадает со штрихом шкалы лимба.
Затем подсчитывают число делений от нуля нониуса до штриха нониуса,
совпадающего со штрихом лимба, и умножают полученное число делений на 0,02°.
Это число и есть поправка на нуль прибора.
Нулевой отсчет α° записывают в таблицу 2.5, а кювету освобождают от
воды. На трубке кюветы нанесена ее фактическая длина l между торцами, которую вносят в таблицу 2.6.
Таблица 2.6 - Результаты эксперимента
|
Температура раствора, °С
|
|
Угол вращения плоскости
поляризации, °
|
|
|
α° (H2Oдист)
|
|
|
Длина кюветы, мм
|
|
α1′
|
α2′
|
α3′
|
αср′
|
|
Влажность анализируемого
вещества, %
|
|
|
|
|
|
Теперь прибор настроен на нуль, и на нем можно проводить Измерение углов
вращения плоскости поляризации.
) Определение угла вращения плоскости поляризации фильтратом. Кювету
ополаскивают фильтратом, затем трижды заполняют ее фильтратом и каждый раз
помещают в камеру поляриметра для измерения угла вращения плоскости поляризации.
Находят среднее арифметическое значение трех измерений. Из полученного среднего
значения угла поворота плоскости поляризатора вычитают поправку на нуль,
учитывая знак поправки.
5) Обработка результатов эксперимента. Содержание
крахмала рассчитывают по формуле (2.11):
(2.11)
где χ - содержание крахмала к массе муки,
%;
a - величина отклонения плоскости поляризации
поляризованного луча продуктами гидролиза крахмала, выраженная в градусах
линейной шкалы сахариметра;
m - масса образца, г;
l - длина трубки, г;
,3468 - коэффициент пересчета линейной шкалы
сахариметра на круговую шкалу поляриметра (т.е. 10 линейной шкалы поляриметра);
,7 - среднее удельное вращение продуктов гидролиза
пшеничного крахмала, получаемое по данному методу. Эта величина зависит от
природы крахмала, условий проведения и глубины гидролиза. Величины среднего
удельного вращения для различных объектов установлены экспериментально и
приведены в таблице отдельно для каждого метода определения крахмала и для
метода Эверса;
- количество крахмала,
соответствующее повороту плоскости поляризации на 10 круговой шкалы
поляриметра, г.
) При навеске исследуемого продукта 5 г и длине трубки
2 дм формула принимает вид:
(2.12)
где К - коэффициент, имеющий разное значение для
различных культур зерна (см. таблицу 2.5).
Если используется поляриметрическая трубка длиной 100
мм, то формула приобретает вид:
(2.13)
При пересчете содержания крахмала на сухое вещество
используют следующую формулу 2.14:
(2.14)
где W -
влажность анализируемого материала, %.
Обработка результатов эксперимента
) В ходе измерений были получены следующие данные
Таблица 2.7 - Результаты эксперимента
|
Температура раствора, °С
|
26
|
Угол вращения плоскости
поляризации, °
|
|
|
α° (H2Oдист)
|
0,08
|
|
Длина кюветы, мм
|
99,95
|
α1′
|
α2′
|
α3′
|
αср′
|
|
|
7,76
|
7,74
|
7,76
|
7,75
|
|
Влажность анализируемого
материала, %
|
1,4
|
|
|
|
|
) Расчет содержания крахмала
Навеска измельченного зерна m = 5,001 г
3) Расчет содержания крахмала на сухое вещество
Анализируемое зерно - пшено «Ярмарка», пищевая ценность 100 г: белки - 12
г; жиры - 3 г; углеводы - 67 г; калорийность - 340 ккал/1423 кДж, масса нетто -
800 г.
2.3 Методика определения сахара в сухих винах с использованием
колоночной хроматографии методом рефрактометрии
Общая характеристика метода
Рефрактометрия - оптический метод исследования, основанный на измерении
показателя преломления луча света, проходящего через исследуемое вещество.
В основе метода лежит явление рефракции, то есть преломление световых
лучей на границе раздела двух различных по своей природе оптических сред.
Рефракция света является следствием его взаимодействия с частицами
вещества, через которое проходит свет. Под воздействием электромагнитных
колебаний света в атомах вещества возникают вынужденные колебания электронов и
ядер. Вследствие этого происходит их смещение относительно друг друга, что
приводит к несовпадению «центров тяжести» отрицательного и положительного
электричества в атомах и молекулах, то есть атомы, и молекулы вещества
поляризуются в электромагнитном поле света.
Преломление света оценивается показателем преломления n, который равен отношению синуса угла
падения α к синусу угла преломления β:
(2.15)
Показатель преломления зависит от ряда факторов: природы вещества, длины
волны падающего света, плотности среды, концентрации раствора и температуры.
Существует прямолинейная зависимость между величиной показателя преломления и
концентрацией сахара в водном растворе, которая используется при определении
концентрации сахара в растворах.
Метод рефрактометрии применяется также для идентификации веществ,
определения их чистоты и концентрации в растворе.
Зависимость показателя преломления от плотности вещества выражается
формулой:
(2.16)
где n - показатель
преломления;- удельная рефракция вещества, см3/г;- плотность вещества, г/см3.
Функция f(n) выражается
соотношением:
(2.17)
Отсюда
(2.18)
Размерность удельной рефракции соответствует удельному объему, то есть r,
см3/г.
Умножение удельной рефракции r на молярную массу вещества МВ дает
величину молярной рефракции RM:
(2.19)
Подставив значение удельной рефракции r в формулу (2.19), получают
уравнение, связывающее молярную рефракцию вещества с его плотностью, молярной
массой и поляризуемостью:
(2.20)
где RM - молярная рефракция вещества В см3/моль;
МВ - молярная масса вещества
В, г/моль;- показатель преломления вещества В;- плотность вещества В, г/см3.
Выражение (2.20) носит
название формулы Лорентц - Лоренца. Она при меняется в расчетах и достаточно
точно отвечает правилу аддитивности молекулярной рефракции. Рассчитанные по
этой формуле результаты мало зависят от изменений температуры, давления и
агрегатного состояния вещества во время анализа.
Правило аддитивности
молекулярной рефракции заключается в следующем: сумма атомных рефракций
элементов, входящих в соединение, равна молекулярной рефракции этого
соединения.
(2.21)
где α - коэффициент поляризуемости, см3;- постоянная Авогадро,
6,02204∙1023 моль-1.
Коэффициент поляризуемости (α) зависит от объема атомов и молекул
вещества и не зависит от температуры. Экспериментально установлено, что α ≈ r3, где r - радиус
поляризованной молекулы.
Физический смысл молярной рефракции поясняет соотношение:
(2.22)
где NA - число молекул в 1 моль вещества, моль-1;
- объем шара, т.е. объем поляризованной молекулы;
Отсюда следует, что RM - суммарный объем всех поляризованных молекул,
содержащихся в 1 моль вещества. Объем поляризованных молекул состоит из объемов
атомов и объемов, занимаемых двойными и тройными связями. Объем атомов называют
атомной рефракцией Rат, а объем связи - рефракцией связи Rсв. Из сказанного
видно, что молярная рефракция - аддитивная величина.
Значения рефракций атомов некоторых элементов и связей представлены в
таблице 2.8
Таблица 2.8- Атомные рефракции и рефракции связей по Фогелю
|
Атомные рефракции
|
Рефракции связи
|
|
Название атома
|
Rат
|
Вид связи
|
Rсв
|
|
Углерод
|
2,591
|
C - H
|
1,676
|
|
Водород
|
1,028
|
C - C
|
1,296
|
|
Кислород
|
1,610
|
C - O в ацеталях
|
1,460
|
|
Азот (NH2)
|
4,438
|
О - С в спиртах
|
1,660
|
|
|
С = С
|
4,17
|
Сущность определения содержания сахара в сухих винах с использованием
колоночной хроматографии методом рефрактометрии
Рефрактометрическое определение содержания сахара в пищевых продуктах
основано на существовании прямолинейной зависимости между величиной показателя
преломления и концентрацией сахара в растворе.
Оборудование
. Рефрактометр ИРФ - 454 БМ;
. Аналитические весы;
. Мерные колбы объемом 25 см3 (5 шт.);
. Пипетка глазная;
. Хроматографическая колонка;
. Фильтровальная бумага.
Применяемые реактивы
. Водно - спиртовый раствор. Приготовление ведется с учетом содержания
спирта. Например, на этикетке указано «Алк. 9 - 11% об.», следовательно, водно
- спиртовый раствор готовится в соотношении 91:9 частей;
. Дистиллированная вода;
. Вино.
Рефрактометр ИРФ - 454БМ
Измерение показателя преломления исследуемых веществ проводят на
рефрактометре ИРФ - 454БМ, принцип действия которого основан на явлении полного
внутреннего отражения при прохождении светом границы раздела двух сред с
разными показателями преломления. Все измерения проводят в «белом свете»
(дневном или электрическом). Для получения высокой точности показатели
преломления исследуемых жидкостей замеряют при определенной температуре и
определенной длине волны.
Рисунок 2.14 - Рефрактометр ИРФ - 454БМ: 1 - окуляр; 2 - маховики; 3, 4 -
зеркала; 5 - рефрактометрический блок с подвижной (а) и неподвижной (б)
призмами; 6 - заслонка; 7 - крючок; 8 - корпус прибора; 9 - место установки
термометра

Порядок работы рефрактометра ИРФ - 454БМ
Рефрактометр устанавливают так, чтобы свет падал на входное окно
осветительной призмы и на зеркало, которым направляют свет во входное окно
измерительной призмы. Для этого нужно открыть заслонку 6 и зеркала 3, 4 (см.
рисунок 2.14).
Осветительную призму открыть на угол 100°. На чистую полированную
поверхность измерительной призмы 1 (см. рисунок 2.15) стеклянной палочкой или
пипеткой, не касаясь призмы, нанести 2 - 3 капли жидкости так, чтобы вся
поверхность была покрыта пленкой жидкости. Опустить осветительную призму 3 и
прижать ее крючком 7. Измерения прозрачных жидкостей проводят в проходящем
свете, когда он проходит через открытое окно осветительной призмы.
Лучи света проходят осветительную призму 3, рассеиваясь на выходе матовой
гранью А1В1, входят в исследуемую жидкость и падают на полированную грань АВ
измерительной призмы 1 (см. рисунок 2.15). Поворотом зеркала 3 (см. рисунок
2.14) ярко освещают призму белым светом. Все поле в окуляре должно быть
освещено равномерно.
Наличие темных пятен указывает на недостаточное количество взятой для
анализа жидкости. В таком случае призмы раскрывают и добавляют несколько капель
исследуемой жидкости и снова плотно сжимают их.
До начала измерений проверьте чистоту осветительной и измерительной призм
прибора (смочите их дистиллированной водой и протрите чистой мягкой салфеткой).
Перед измерениями проверяют рефрактометр по дистиллированной воде:
а) на чистую полированную поверхность измерительной призмы осторожно, не
касаясь ее поверхности, наносят пипеткой 2 - 3 капли дистиллированной воды и
опускают осветительную призму;
б) поворотом зеркала добиваются наилучшей освещенности шкалы. Вращением
нижнего маховика, расположенного на правой стороне рефрактометра и смотря в
окуляр, границу светотени вводят в поле зрения окуляра 1. Вращением верхнего
маховика устраняют цветную окраску границы раздела света и тени и наводят ее на
резкость;
в) наблюдая в окуляр, совмещают центр перекрестия с линией светотени с
помощью нижнего маховика и измеряют значение показателя преломления воды на
шкале, расположенной внизу окуляра.
При 20°С показатель преломления воды nD = 1,3330. Если опыт проводился при
другой температуре (измерить температуру воды термометром), то вводится
температурная поправка к полученному значению показателя преломления для воды:
Δn = 0,0565 ∙ 10-4 + 10-4 ∙
(t0 - 10) (2.23)
где 10-4 - температурный коэффициент показателя преломления
дистиллированной воды, 1/град.
= n′D + Δn (2.24)
Совпадение экспериментально полученного значения n с данными таблицы 2.9
при той же температуре говорит о том, что рефрактометр настроен.
Таблица 2.9 Температурные отклонения показателя преломления воды
|
t,°C
|
nD
|
t,°C
|
nD
|
|
15
|
1,3335
|
23
|
1,3327
|
|
16
|
1,3334
|
24
|
1,3326
|
|
17
|
1,3333
|
25
|
1,3325
|
|
18
|
1,3332
|
26
|
1,3324
|
|
19
|
1,3331
|
27
|
1,3323
|
|
20
|
1,3330
|
28
|
1,3322
|
|
21
|
1,3329
|
29
|
1,3321
|
|
22
|
1,3328
|
30
|
1,3320
|
Выполнение работы
) Приготовить растворы для построения градуировочного графика
Готовят пять градуировочных растворов сахарозы в мерных колбах емкостью
25 см3, охватывая диапазон ожидаемой концентрации в исследуемом образце
(например, на этикетке вина написано: «сахара 30 - 50 г/дм3», следовательно,
нужно приготовить растворы сахара концентрации 20; 30; 40; 50; 60 г/дм3). В
качестве растворителя используют водно - спиртовый раствор.
Градуировочные растворы готовятся из массы навески сахарозы при
приготовлении 25 см3 раствора с концентрацией сахара 20 г/дм3 по соотношению:
г - 1000 см3.
m1, г
- 25 см3.
Навеску сахарозы количественно переносят через воронку в мерную колбу
вместимостью 25 см3. В колбу добавляют водно - спиртовой раствор на ½ ее объема и перемешивают содержимое
до полного растворения сахарозы. Затем оставшийся объем довести до метки водно
- спиртовым раствором и перемешивают. Аналогично рассчитывают и готовят
растворы других концентраций.
) Измерить показатель преломления градуировочных растворов:
а) приподнять осветительную призму и поверхности обеих призм осторожно
протереть фильтровальной бумагой;
б) нанести 2 капли раствора на поверхность измерительной призмы и
опустить осветительную призму;
в) поворотом верхнего маховика установить границу светлого и темного
полей. Она должна быть четкой и не иметь радужной окраски;
г) вращать нижний маховик до совпадения границы темного и светлого
участка поля зрения.
д) полученные данные занести в таблицу 2.10;
Таблица 2.10 - Результаты эксперимента
|
№ коблы
|
Концентрация сахарозы,
г/дм3
|
Показатель преломления
|
|
водно - спиртовой раствор
|
-
|
|
|
1
|
|
|
|
2
|
|
|
|
3
|
|
|
|
4
|
|
|
|
5
|
|
|
) Подготовить исследуемый продукт к анализу. Вино, полученное для анализа
предварительно пропускают через хроматографическую колонку, заполненную
активированным углем, чтобы отделить красящие органические вещества.
Устанавливают скорость капания, равную вытеканию 1 капли через каждые 3 с. Если
вино недостаточно осветлилось, операцию повторяют 2 - 3 раза.
) Измерения показателя преломления очищенного вина ведется аналогично
измерению показателя преломления градуировочных растворов.
) По окончании измерений промыть обе призмы дистиллированной водой и
вытереть насухо фильтровальной бумагой.
) Построить градуировочный график по результатам таблицы 2.10.
) Используя градуировочный график, определите содержание сахарозы в вине,
и сравнить с данными на этикетке бутылки.
Обработка результатов эксперимента
) Проверяют рефрактометр по дистиллированной воде
Показатель преломления по дистиллированной воде n = 1,3302 при температуре проведения эксперимента Т = 28,8°С
Δn = 0,0565 ∙ 10-4 + 1 ∙
10-4(t - 10) = 0,0565 ∙ 10-4 + 1 ∙ 10-4(28,8 - 10) = 1,89 · 10-3= n′D
+ Δn = 1,3302 + 1,89 · 10-3 = 1,33209 ~
1,3321
2) Построить градуировочный график по результатам таблицы 2.11
Таблица 2.11- Результаты эксперимента
|
№ колбы
|
Концентрация сахарозы,
г/дм3
|
Показатель преломления
|
|
водно - спиртовой раствор
|
−
|
1,3340
|
|
1
|
25
|
1,3380
|
|
2
|
30
|
1,3385
|
|
3
|
35
|
1,3390
|
|
4
|
40
|
1,3395
|
|
5
|
45
|
1,3400
|
Рисунок 2.16 - График зависимости показателя преломления n от концентрации водно - спиртового
раствора сахарозы, г/дм3
) Используя градуировочный график, определить содержание сахарозы в вине,
и сравнить с данными на этикетке бутылки.
Показатель преломления для образца вина n = 1,3390
Уравнение прямолинейной зависимости показателя преломления n от концентрации водно - спиртового раствора сахарозы, г/дм3:
n = 1,34426 · 10−4 · C + 1,33425, следовательно:
n =
1,34426 · 10−4 · C +
1,33425
,3390 = 1,34426 · 10−4 · C + 1,33425
,00475 = 1,34426 · 10−4 · C
C =
35,3354 ~ 35,33 г/дм3
Анализируемое винное изделие - полусладкое белое столовое вино «Русская
Лоза Мускат», алк 10 - 12%, сахар 30 - 40% объем 0,7л
Область
применения
1) Круговорот углекислого газа в природе
Углеводы образуются в растениях в процессе фотосинтеза из поглощаемого
диоксида углерода атмосферы и воды.
) Источник пищи
Углеводы служат основным ингредиентом пищи млекопитающих. Общеизвестный
их представитель - глюкоза - содержится в растительных соках, плодах, фруктах и
особенно в винограде (отсюда ее название - виноградный сахар). Она является
обязательным компонентом крови и тканей животных и непосредственным источником
энергии для клеточных реакций. Приём пищи увеличивает расход энергии в покое в
среднем до 2200 ккал (белки до 30%, углеводы и жиры на 4 - 15%). Эта
способность пищи повышать энерготраты называется специфически - динамическим
действием пищи.
) Энергетическая и строительная функция углеводов
Углеводы входят в состав клеток и тканей всех растительных и животных
организмов. Они имеют большое значение как источники энергии в метаболических
процессах. Для жизнедеятельности организма необходима энергия. Она
освобождается в процессе диссимиляции сложных органических соединений: белков,
жиров и углеводов, потенциальная энергия которых при этом переходит в
кинетические виды энергии, в основном в тепловую, механическую и частично в
электрическую.
Расщепление идет путем присоединения кислорода - окисления. При окислении
1 г жира в организме выделяется 9,3 ккал тепла, 1 г углеводов - 4,1 ккал, 1 г
белка - 4,1 ккал.
То количество тепла, которое выделяется при окислении в организме 1 г
вещества, называется теплотой сгорания.
Часть освободившейся энергии используется для построения новых клеток и
тканей, часть потребляется в процессе функционирования органов и тканей -
сокращения мышц, проведения нервных импульсов, синтеза ферментов и гормонов и
др. Большая часть химической энергии переходит в тепло, которое идет на поддержание
постоянной температуры тела.
) Строительный материал
Целлюлоза является распространенным растительным полисахаридом, входит в
состав древесины, скелета стеблей и листьев, оболочки зерновых культур, овощей
и фруктов.
) Кулинарное и кондитерское дело
Химически подтверждают: температура выше 120°С разрушает питательные
вещества и запускает реакции, в результате которых образуются элементы,
способные навредить организму. Так, готовка на открытом огне вызывает реакцию
Майяра: этот французский химик обнаружил, что высокая температура меняет
качество аминокислоты в присутствии сахара.
Именно эта реакция придает характерный цвет хлебной корочке, куриной
коже, чипсам. Кроме того, благодаря ей появляется аппетитный запах жаренного.
) Постоянство внутреннего состава крови
Для человека основным источником углеводов является растительная пища. В
пище содержатся главным образом сложные углеводы: полисахариды - крахмал,
гликоген и дисахариды - молочный, свекловичный, тростниковый и другие сахара. В
пищеварительном тракте при их расщеплении образуются простые моносахариды -
глюкоза, фруктоза и галактоза, которые всасываются из кишечника в кровь.
В крови углеводы содержатся в виде глюкозы 4,44 - 6,66 ммоль/л, в печени
и мышцах - в виде небольших запасов гликогена.
При голодании запасы гликогена уменьшаются, так как гликоген расщепляется
до глюкозы и поступает в кровь, поддерживая постоянный уровень сахара в крови.
Состояние, когда уровень сахара в крови становится ниже 4,44 ммоль/л, называют
гипогликемией, повышение свыше 6,66 ммоль/л - гипергликемией. При гликемии
нарушается функциональное состояние нервных клеток, у человека появляются
слабость, чувство голода, понижается работоспособность.
Если гипогликемия продолжается длительное время, то человек теряет
сознание и может наступить смерть. В случаях, когда человек принимает
одномоментно 150 - 200 г легкоусвояемых углеводов (сахар, конфеты), возникает
так называемая алиментарная (пищевая) гипергликемия, которая сопровождается
глюкозурией - появлением сахара в моче; избыток сахара выводится почками.
Всосавшиеся в кишечнике моносахариды с током крови через портальную вену
попадают в печень, где часть их превращается в гликоген и откладывается про
запас.
Кроме, печени гликоген откладывается в скелетных мышцах. Всего в запасе
организма имеется около 350 г гликогена.
) Применение в медицине для получения антибиотиков
Стрептомицин - антибиотик группы аминогликозидов широкого спектра
действия - основание, растворим в воде, термоустойчив. Обладает устойчивостью
как в сухом состоянии, так и в растворах (в особенности при рН = 3 - 7 и
температуре раствора < 28°С). Обычно выделяют в виде солей: хлоргидрат,
сульфат и др.; [α]D26 водного раствора хлоргидрата - 86,1°.
Исторически первый антибиотик группы аминогликозидов и первый, оказавшийся
активным против туберкулёза и чумы. Был открыт вторым после пенициллина
Зельманом Ваксманом, за что он получил Нобелевскую премию в 1952 году.
стрептомицин
Образуется в процессе жизнедеятельности лучистых грибов Streptomyces
globisporus streptomycini или других родственных микроорганизмов.
После введения стрептомицин быстро и полностью всасывается из места
инъекции.
Распределяется во всех тканях организма. Связывание с белками плазмы
низкое (0 - 10%). Не метаболизируется. T1/2 - 2 - 4 ч. Выводится в неизмененном
виде с мочой.
) Информационная функция
Нуклеиновые кислоты или полинуклеотиды - это сополимеры четырех типов
нуклеотидов, представляющих собой сложные эфиры фосфорной кислоты и пентозы
(пятичленного циклического сахара), в молекуле которой одна из гидроксильных
групп замещена азотистым основанием.
В природе существует два типа нуклеиновых кислот, различающихся входящими
в их молекулы пентозами - рибонуклеиновая кислота (РНК), содержащая рибозу, и
дезоксирибонуклеиновая кислота (ДНК), содержащая дезоксирибозу.
Дезоксирибонуклеиновая кислота (ДНК) - макромолекула, обеспечивающая
хранение, передачу из поколения в поколение и реализацию генетической программы
развития и функционирования живых организмов. ДНК содержит информацию о
структуре различных видов РНК и белков.
Так же, как ДНК, рибонуклеиновая кислота (РНК) состоит из длинной цепи, в
которой каждое звено называется нуклеотидом.
Каждый нуклеотид состоит из азотистого основания, сахара рибозы и
фосфатной группы. Последовательность нуклеотидов позволяет РНК кодировать
генетическую информацию.
Все клеточные организмы используют РНК для программирования синтеза
белков.
Заключение
В ходе курсового проекта была рассмотрена общая характеристика углеводов
и их основные химические свойства. А также проанализированы разные пищевые
объекты на количественное содержание углеводов. В частности, определено общее
количество сахара в кондитерских изделиях фотоколориметрическим методом,
количество крахмала в зерновом сырье по методу Эверса, количество сахара в
сухих винах с использованием колоночной хроматографии методом рефрактометрии.
При этом были получены следующие данные:
) фотоколориметрическое определение общего сахара в кондитерских изделиях
Анализируемое кондитерское изделие - карамель леденцовая
«анисоментоловая». Оптическая плотность образца А = 0,785, масса m (C12H22O11)
= 18,69 мг, массовая доля общего сахара χ = 93,45%.
) определение крахмала в зерновом сырье по методу Эверса
Анализируемое зерно - пшено «Ярмарка», пищевая ценность 100 г: белки - 12
г; жиры - 3 г; углеводы - 67 г; калорийность - 340 ккал/1423 кДж, масса нетто -
800 г. Содержания крахмала χ = 29,43%, содержание крахмала на
сухое вещество χ = 86,06%.
) определение сахара в сухих винах с использованием колоночной
хроматографии методом рефрактометрии
Анализируемое винное изделие - полусладкое белое столовое вино «Русская
Лоза Мускат», алк 10 - 12%, сахар 30 - 40% объем 0,7л. Показатель преломления
для образца вина n = 1,3390, содержание сахарозы в вине C = 35,33 г/дм3.
Список основных источников
1) Ю. А.
Овчинников, Биоорганическая химия, Москва: «Просвещение»1987.
) В.П.
Перельман под редакцией члена корр. АН СССР Б.В. Некрасова, Краткий справочник
химика, Москва: Государственное научно − техническое издательство
химической литературы, 1955 - 223 с.
) Е.А.
Воробьева, А.В. Губарь, Е.Б. Сафьянникова, Анатомия и физиология Москва:
«Медицина», 1981 - 207 с.
) ГОСТ
15113.6-77 - Концентраты пищевые. Методы определения сахарозы
) Шелгаев
В.Н., Московский Государственный медико-стоматологический университет имени
А.М. Евдокимова, Углеводы курс лекций, Москва: 2013.