Розробка ресурсозберігаючої технології утилізації автотракторної техніки

  • Вид работы:
    Дипломная (ВКР)
  • Предмет:
    Сельское хозяйство
  • Язык:
    Украинский
    ,
    Формат файла:
    MS Word
    1,73 Мб
  • Опубликовано:
    2014-12-21
Вы можете узнать стоимость помощи в написании студенческой работы.
Помощь в написании работы, которую точно примут!

Розробка ресурсозберігаючої технології утилізації автотракторної техніки

МІНІСТЕРСТВО АГРАРНОЇ ПОЛІТИКИ ТА ПРОДОВОЛЬСТВА УКРАЇНИ









РОЗРОБКА РЕСУРСОЗБЕРІГАЮЧОЇ ТЕХНОЛОГІЇ УТИЛІЗАЦІЇ АВТОТРАКТОРНОЇ ТЕХНІКИ













Житомир-2014

Зміст

Вступ

Розділ 1. Екологічні та технологічні аспекти утилізації автотракторної

.1 Вибула з експлуатації техніка як загроза екологічної безпеки

.2 Перспективи розвитку технологічних процесів утилізації

.3 Сучасна організація і технології утилізації техніки за кордоном

1.3.1 Досвід США

.3.2 Досвід Нідерландів

.3.3 Досвід Німеччини

.3.4 Досвід Великобританії та Франції

.3.5 Досвід Японії

.4 Висновки. Обгрунтування мети і завдань дослідження

Розділ 2. Теоретичні основи розробки еколого-орієнтованої технології процесів утилізації автотракторної техніки

.1 Обгрунтування загальних методів дослідження

.2 Загальні принципи ефективного використання засобів технологічного оснащення підприємств утилізації автотракторної техніки

.3 Основні елементи технологічного процесу утилізації

.4 Моделювання та оптимізація режиму роботи технологічної лінії утилізації

.4.1 Оптимізація постових робіт

.4.2 Дільничні роботи

.4.3 Особливості праці персоналу, задіяного в технологічних процесах утилізації

.5 Висновки

Розділ 3. Експериментальні дослідження

.1 Програма та методика експериментальних досліджень

.1.1 Планування експерименту

.1.2 Методика обробки дослідних та статистичних даних

3.2 Зміст експериментальних досліджень

.2.1 Вибір об'єктів утилізації

.2.2 Технологічний процес утилізації

.3 Висновки

Розділ 4. Результати моделювання та оптимізації технологічних процесів утилізації техніки

.1 Результати моделювання та оптимізації постових робіт з утилізації автотракторної техніки

.2 Результати моделювання та оптимізації дільничних робіт з утилізації автотракторної техніки

.3 Технологічне оснащення постів утилізації

.4 Еколого-економічна оцінка збитку, що завдається навколишньому середовищу від незалученості до процесу збору та утилізації автотракторної техніки та її компонентів

.5 Визначення економічних показників

.6 Висновки

Загальні висновки

Використана література

технологічний утилізація автотракторний постовий

Вступ

Актуальність теми. Автотракторна техніка (AT) є одним з основних джерел забруднення навколишнього середовища. Важливим завданням є зменшення шкідливого впливу цієї техніки на всіх стадіях її повного життєвого циклу, включаючи видобуток сировини, отримання матеріалів, палива та електроенергії для виробництва, експлуатацію та утилізацію. Автотракторна техніка, що вийшла з експлуатації , являють собою значну загрозу для навколишнього середовища з огляду на її великої кількості, значної маси та наявності в ній токсичних речовин, які здійснюють тривалий негативний вплив, як на здоров'я людей, так і на екосистеми.

Відходи, які утворюються при утилізації автотракторної техніки, характеризуються більшою неоднорідністю за обсягом, складом і динаміці утворення, всі вони при неправильному зберіганні завдають значної шкоди навколишньому середовищу. Проблема збору та утилізації AT безпосередньо зачіпає питання екології та охорони навколишнього середовища. Незалучена у збір та утилізацію AT містить велику кількість елементів, що негативно впливають на навколишнє середовище: елементи, що містять свинець; відпрацьоване маслило і забруднені палива; технічні рідини; пластики і т.д. Данні елементи в більшій чи меншій мірі впливають на такі компоненти навколишнього середовища як земельні і водні ресурси, атмосферу. Повноцінна утилізація, техніки що вибула з експлуатації та її компонентів, пов'язана з розробкою технологій, що дозволяють добитися максимально можливого рівня повторного використання ресурсів. Реалізація ресурсозберігаючих технологій утилізації AT краща і можлива не тільки в умовах ломозаготівельних підприємств, але і на виробничих площах станцій технічного обслуговування та ремонту автомобілів, машинно-технологічних станцій, ремонтних заводів, що припускають диверсифікацію своєї діяльності для подолання кризових явищ останнього часу.

Об'єкти дослідження. Вибула з експлуатації техніка , агрегати , вузли та матеріали, технологічне обладнання, підприємства з утилізації автотракторної техніки.

Методи дослідження. Теоретичні положення, викладені в роботі, основуваються на математичному апараті дослідження операцій, включаючи теорію масового обслуговування, теорію ймовірностей і математичну статистику.

Наукова новизна полягає в розробці технологічних процесів утилізації автотракторної техніки, що дозволяють досягти максимально можливого рівня повторного використання матеріальних ресурсів при раціональних трудових і фінансових витратах і мінімальному негативному впливі на навколишнє середовище.

На захист виносяться найбільш значимі результати магістерських досліджень: результати досліджень з визначення структури парку, що вибула з експлуатації техніки; схема технологічного процесу утилізації автотракторної техніки, що дозволяє мінімізувати масу матеріалів, що потрапляють на поховання; математична модель оптимізації режиму роботи і характеристик постів і ділянок підприємства утилізації з урахуванням ймовірнісного характеру потоку вимог на утилізацію і тривалості їх виконання; результати визначення тривалості як всього технологічного процесу утилізації, так і окремих операцій для декількох видів техніки, включаючи трактор, вантажний і легковий автомобіль; концепція і основні характеристики мобільного поста утилізації автотракторної техніки; результати оцінки скорочення екологічної шкоди від недопущення потрапляння компонентів утилізуємої техніки в навколишнє середовище і економічного ефекту від діяльності модельного підприємства на прикладі Житомирської області.

Практична цінність роботи. Запропонований підхід дозволяє виробляти проектування технологічних ліній і окремих постів утилізації автотракторної техніки для існуючих і створюваних підприємств технічного сервісу з урахуванням досягнень наукової організації праці, економії матеріальних і трудових ресурсів, мінімізації негативного впливу на довкілля та регіональних особливостей парку техніки, яка списується.

Публікації. Основні теоретичні положення та результати дослідження опубліковані в 1 науковій праці.

Структура та обсяг роботи. Магістерська робота складається із вступу 4 розділів, загальних висновків, списку використаних джерел, який налічує 111 найменувань. Роботу викладено на 114 сторінках основного тексту, на яких розміщено 23 рисунки та 21 таблиця.

Розділ 1. Екологічні та технологічні аспекти утилізації автотракторної

.1 Вибула з експлуатації техніка як загроза екологічної безпеки

Автотракторна техніка (AT) є одним з основних джерел забруднення навколишнього середовища на територіях міських і сільських поселень. Тому важливим завданням є зменшення шкідливого впливу цієї техніки на всіх стадіях її повного життєвого циклу, що включає видобуток сировини, отримання матеріалів, палива та електроенергії для виробництва, її експлуатацію та утилізацію.

Автотракторна техніка, що вийшла з експлуатації, являє собою значну загрозу для навколишнього середовища з огляду на її велику кількість, значній масі та наявності в ній токсичних речовин, які створюють довготривалий негативний вплив, як на здоров'я людей, так і на екосистеми .

Відходи AT характеризуються великою неоднорідністю за обсягом, складом і динаміці утворення, всі вони при неправильному поводженні наносять значну шкоду навколишньому середовищу. Частка кинутої і розукомплектованої AT в загальній кількості наземної самохідної техніки, яка щорічно виходить з експлуатації, не перевищує 20%. При цьому на переробку надходять лише 40% від цієї кількості або 8% від обсягів утворення. Ці дані свідчать про вкрай низьку ефективність системи управління утилізацією AT. Якщо така ситуація збережеться в найближчі роки, то буде відбуватися накопичення маси не утилізованих AT.

Незалученні в процес збору та утилізації AT, кинуті в непризначених для цих цілей місцях, призводять до порушення архітектурного вигляду міських і сільських поселень, численних скарг жителів , особливо в містах , з приводу насиченості внутрішньо дворових територій AT, а також створює додаткові перешкоди руху і механізованому збиранні проїзної частини в зимовий час, знижує пропускну здатність дорожньої мережі міських і сільських поселень, сприяє виникненню аварійних ситуацій та скоєння дорожньо-транспортних пригод.

Наземна самохідна техніка стала одним з факторів негативного впливу на здоров'я населення та природне середовище міських і сільських територій.

Проблема збору та утилізації AT безпосередньо зачіпає питання екології та охорони навколишнього середовища. Незалучена у збір та утилізацію AT містить велику кількість елементів, що негативно впливають на навколишнє середовище:

• свинцевовмісні елементи ;

• відпрацьовані масла ;

• технічні рідини ;

• пластики і т.д.

Дані елементи в більшій чи меншій мірі впливають на такі компоненти навколишнього середовища як земельні ресурси, водні ресурси і атмосферу.

У структурі негативного впливу AT і відходів технічного обслуговування (ВТО) на навколишнє середовище міських і сільських поселень основну роль відіграє забруднення ґрунтів. Негативний вплив від руйнування ґрунтів і земель під дією відходів AT виражається головним чином у деградації земельних ресурсів, забрудненні земель хімічними речовинами, захаращення земель несанкціонованими звалищами. На рис. 1.1. зображена структура негативного впливу на навколишнє середовище не залучених у збір і переробку AT і ВТО.

Рис. 1.1. Структура негативного впливу на оточуюче середовище незадіяної в збирання і переробку АТ і ВТО

Рис. 1.2. Структура вкладу АТ і різних ВТО в загальному об’ємі негативної дії на ґрунт

Рис 1.3 Структура вкладу АТ і різних ВТО в загальний об’єм негативного впливу на водне середовище

Як видно з представленої вище діаграми, основне екологічне навантаження від негативного впливу AT і ВТО (рис. 1.1) приходиться на об'єкти водного середовища - 81,6 %.

У структурі негативного впливу на водне середовище і ґрунт основну роль відіграє відпрацьоване масло (рис 1.2 і 1.3). Його частка в структурі різних ВТО становить 47 % і 60 %. Близько 25 % негативного впливу приходиться на забруднення водойм тосолом (антифризом). З ростом автомобілізації в країні зростає кількість ВТО і виведеної з експлуатації AT. Сформована мережа організацій зі збору та переробки автотракторної техніки та її компонентів розвивається стихійно, діє вибірково щодо відходів по цінності і затратності, без урахування інтересів регіонів. У результаті , наприклад, в Житомирській області переробляється близько 26% утворених на території транспортних відходів (35 % легкових автомобілів, 38 % шин, 25% відпрацьованих масел, 20% акумуляторного брухту, 11% відпрацьованого електроліту). Не утилізується автомобільна пластмаса, скло, антифриз і поролон. Не вирішено питання цивілізованого збору відпрацьованих акумуляторів, шин, масел. З загального обсягу зібраних відпрацьованих свинцево-кислотних акумуляторів до 89 % надходять на переробку без електроліту [10].

Залишена маса ВТО або просто викидається на території регіону в ліси, яри, зливається на землю або в каналізацію, або вивозяться на звалища побутових відходів. У той же час більшість матеріалів, які містяться в непридатній до експлуатації AT і ВТО, підлягають вторинній переробці є стратегічною сировиною для вітчизняних підприємств чорної і кольорової металургії, хімічної промисловості і т.д.

.2 Перспективи розвитку технологічних процесів утилізації

У світі експлуатується більше 600 млн. автомобілів, 6...8 % з них щорічно виходять з експлуатації і знімаються з реєстрації, велика частина з яких в даний час надходить на утилізацію [1, 3]. Середнє значення віку і пробігу для відслуживши автомобілів, що надходять на утилізацію, розрізняються для різних країн і виявляються пов'язаними з такими економічними показниками добробуту населення країни, як середній валовий дохід на душу населення і середня кількість легкових автомобілів на тисячу жителів.

Відповідно до світової статистики, автомобільні відходи складають тільки близько 2% від загальної кількості всіх відходів, що надходять на звалища (в основному це побутові та будівельні відходи, упаковка), увага громадськості до даної проблеми дуже висока. Кількість звалищ на планеті продовжує збільшуватися, а вплив автомобільного транспортна і пов'язаної з ним інфраструктури на навколишнє середовище і організм людини визнається домінуючим. Щорічно звалища усього світу поповнюються приблизно 10 млн. тоннами відходів від автомобілів. Майже стільки ж відходів утворюється в результаті ремонту і технічного обслуговування. Найбільші труднощі для утилізації представляють неметалеві автомобільні компоненти . Це вироби з пластмаси, гуми, скла, оббивні, шумоізоляційні, клейові матеріали.

Техніка, що вийшла з експлуатації в кінці терміну служби має ту ж масу і майже той же склад компонентів і матеріалів, як і нова. Навіть наближена оцінка вартості вхідних у автомобіль основних матеріалів показує, що їх сумарна ціна перевищує 1000 доларів США . Однак реально отримати хоча б такий дохід з кожного старого автомобіля виявляється малоймовірним. На жаль, загальні витрати на авторециклінг (систему збору, демонтажу, сортування, вторинної переробки та утилізації автомобілів) часто перевищують всю сукупність отриманих доходів від продажу придатних запчастин, вторинної переробки металів, скла, полімерів та ін і роблять такий рециклінг практично невигідним. До кінця свого циклу експлуатації старий автомобіль може продаватися за дуже низькою ціною. Найчастіше відслуживший автомобіль розглядається як такий, що має нульову або навіть негативну вартість .

Утилізація ВЕА вимагає розвитку інфраструктури та законодавчої бази для регламентації взаємодії всіх учасників процесу і встановлення нормативно-правових відносин. Найбільші організаційні проблеми викликають перші кроки на шляху утилізації відслуживших автомобілів: процеси оформлення необхідних паперів, передачі списаної техніки в центри утилізації, збирання та транспортування, проведення екологічно безпечного демонтажу, зливу експлуатаційних рідин. Щоб система запрацювала, необхідно, щоб власники старих автомобілів захотіли їх віддати, а центри приймання були згодні їх прийняти.

1.3 Сучасна організація і технології утилізації техніки за кордоном

За останні 10-15 років у більшості промислово розвинених країн світу були організовані системи збору та вторинної переробки зношених автомобільних деталей і спрацьованих автомобілів. Тільки в США, Канаді , Японії і Західній Європі щорічно утилізується близько 35 млн. автомобілів. Загальновизнано, що серед продукції масового виробництва легкові автомобілі є найбільш охопленими системою їх утилізації в кінці життєвого циклу, незважаючи на складність конструкції і різноманіття застосовуваних матеріалів ( коефіцієнт вторинної переробки в середньому становить близько 80-85 % від маси автомобіля).

Статистичні дані європейських країн показують, що загальний обсяг щорічно поступають на переробку ВЕА за останні роки в країнах ЄС становить понад 10 млн. тонн. За оцінками фахівців прогнозується, що цей обсяг збільшиться до 2015 р. до 14 млн. тонн в результаті зростання кількості ВЕА і середньої маси автомобілів, що надходять на утилізацію .

Стандартна процедура системи авторециклінга старих автомобілів в Європі - це збір ВЕА з видачею останньому власнику автомобіля сертифіката про утилізацію, злив всіх експлуатаційних рідин, демонтаж обов'язкових і екологічно небезпечних компонентів, демонтаж комплектуючих, які можна використовувати для продажу як запчастини або придатних для економічно ефективного рециклінгу матеріалів. Після демонтажу компонентів залишки від ВЕА зазвичай прямують на спеціальну машину пакетування для зменшення обсягів при транспортуванні і далі відправляються на подрібнення, очищення і сортування по групах матеріалів на шредерний завод.

Шредер представляє собою велику промислову установку, де спеціальна молоткова дробарка розбиває автомобіль на невеликі кусочки, збиває фарбу, іржу, окалину та інші забруднення. Роздрібнений матеріал методами електромагнітної, повітряної, вагової, а також і ручної сепарації розділяється на чорний метал, кольорові метали та легкі фракції, куди потрапляють всі інші матеріали, включаючи полімери, обшивку, скло. Кількість неметалевої шредерной фракції становить 20-25 % від ваги автомобіля і підлягає, як правило , захороненню на звалищах або спалювання. Оцінки показують, що при спалюванні шредерних залишків (ШЗ) у середньому може бути отримана енергія 1,7...1,9 МДж/кг. Хоча вже є високоефективні і економічно рентабельні технології газифікації відходів, що дозволяють переробляти практично будь-яке органічне побутове сміття, харчові відходи, автомобільні ШЗ в спеціальні синтетичні гази і метанол. Такі заводи вже наявні в Європі, і кількість їх в найближчі роки буде збільшуватися.

У різних країнах були сформовані і використані різні механізми розподілу відповідальності між виробниками автомобілів, постачальниками комплектуючих виробів, власниками старих автомобілів, підприємствами з утилізації та державними органами управління і контролю. Світовий досвід формування інфраструктури з утилізації спрацьованих автомобілів показує, що можуть бути реалізовані різні механізми оплати і збору грошових коштів для організації національної системи авторециклінга:

• разова оплата збору за утилізацію, яка проводиться власником при здачі спрацьованого автомобіля компанії-утилізатора;

• разова оплата, виконана власником при купівлі нового автомобіля (додатковий екологічний збір на утилізацію), яка перераховується виробнику автомобіля або до спеціального фонду;

• періодична оплата власником у вигляді щорічного збору за утилізацію (наприклад, при проходженні техогляду транспортного засобу ) додатково до оплачуваного податку за володіння транспортним засобом;

• разова оплата збору за утилізацію, відраховується виробником автомобілів або імпортером при першому продажі нового автомобіля;

• на виробників або імпортерів автомобілів покладаються конкретні обов'язки по участі в системі авторециклінга щодо вироблених ними моделей (організація збору спрацьованих автомобілів, оплата переробки певних компонентів, надання спеціальної документації з утилізації);

• комбінація різних механізмів, що формує в країні систему Авторециклінга.

Слід зазначити, що будь-яка фінансова відповідальність за утилізацію автомобілів, що покладається на виробників (імпортерів), в кінцевому підсумку все одно перекладається на покупців і побічно включається в ціну продаваних автомобілів.

.3.1 Досвід США

У США щорічно на утилізацію надходить 14-15 млн. автомобілів із загальною масою більше 20 млн. тонн. Збором, демонтажем, утилізацією спрацьованих автомобілів займається більше 20 тис. малих підприємств, після яких автомобільні залишки надходять на один з шредерних заводів, яких у країні понад 200. Коефіцієнт вторинної переробки старих автомобілів в США складає в середньому 82-83 %. Показники вторинної переробки чорних і кольорових металів, що застосовуються в автомобілях, близькі до 100%.

Комплексні можливості від створення та функціонування системи збору та вторинної переробки спрацьованих автомобілів представляються дуже перспективними. Зростає попит на старі деталі, вузли та агрегати, які мають значно нижчу ціну, найчастіше не поступаючись новим за якістю і ресурсом. Більшість таких деталей надходить на ринок після демонтажу та відновлення зі спрацьованих автомобілів. Рециклінг автомобільних компонентів і матеріалів вирішує також глобальні питання економії енергії , сировини, не відновлювальних ресурсів.

Разом з тим утилізація старого автомобіля має ще дуже багато невирішених проблем. Незважаючи на значні ініціативи та зусилля, зроблені багатьма державами щодо скорочення кількості автомобільних відходів, що відправляються на звалища, їх рівень продовжує залишатися високим. Крім того, відмінності у фінансових механізмах і організаційних підходах, застосовуваних у різних країнах Європи при формуванні національних систем авторециклінга, призвели до значного неконтролюємого експорту старих автомобілів з країн з більш суворими і жорсткими законами до країн , де таких законів не було зовсім або вони були значно лояльнішими. І хоча схвалена 18 вересня 2000 Директива 2000/53/ЕС по ВЕА встановила для всіх країн ЄС єдині принципи і положення щодо забезпечення утилізації ВА, вона зробила це тільки в загальних рисах, залишаючи формування механізмів організації та фінансування інфраструктури авторециклінга на розсуд країн-учасниць [109]. Слід відзначити, що в більшості країн Західної Європи і до прийняття Директиви 2000/53/ЕС вже існували і функціонували національні системи збору та утилізації автомобілів і розвинена інфраструктура рециклінгу старих автокомпонентів і матеріалів.

.3.2 Досвід Нідерландів

Вважається, що в Нідерландах вдалося сформувати найбільш вдалу і ефективну систему авторециклінга, яка дозволила вирішити практично всі проблемні питання, пов'язані з утилізацією спрацьованих автомобілів. Коефіцієнт переробки ВА в цій країні - самий високий в світі (більше 86 %), а головне, що фінансування цієї системи з кожним роком потребує все менше додаткових ресурсів. Важливим моментом також є факт позитивного ставлення учасників інфраструктури авторециклінга, включаючи автовиробників , дилерів, власників автомобілів, компаній з утилізації до механізмів її фінансування.

Кількість автотранспортних засобів, що знаходяться в експлуатації в Нідерландах, постійно зростала з 60-х років минулого століття, хоча щорічний темп зростання в останні роки сповільнився. У 2006 році парк склав 8,4 млн. автомобілів (7,5 млн. легкових автомобілів і 0,9 млн. легких вантажівок) в порівнянні з 8,3 млн. в 2005 році. Середній вік парку автотранспортних засобів збільшився до 8,1 року в 2006 у порівнянні з 8,0 р. в 2005 р.

В. початку 90-х кілька організацій за участю уряду і ававтомобільної промисловості Нідерландів об'єдналися, щоб створити некомерційний Фонд авторециклінга (Auto & Recycling Foundation) і розвинути загальнонаціональну систему обробки та відновлення старих автомобілів (авторециклінг). Для виконання поставлених завдань і управління системою авторециклінга була створена компанія "Авторециклінг Нідерландів" (АРN) (Auto Recycling Nederland), 100% акцій якої володії Фонд Авторециклінга. Компанія АРN знаходиться під контролем Фонду та відповідальна за організацію, логістику і утилізацію всіх автомобілів та легких вантажівок, які пропонуються для демонтажу та рециклінга фірмам-партнерам (членам мережі АРN). Перед АРN була поставлена мета - переробити всі спрацьовані автотранспортні засоби в Нідерландах "ефективно, рентабельно і в екологічно відповідальній манері".

Рециклінг всіх ВА фінансується на основі встановлення єдиної плати за утилізацію будь-якого автомобіля. Система оплати збору за утилізацію (disposal fee) відрегульована в голландському екологічному законі (Dutch Environmental Management Act). Угода про суму збору за утилізацію заклечається щоразу строком на 3 роки з усіма виробниками ( імпортерами ) автомобілів в Нідерландах. Сума збору є єдиною для всього парку автомобілів і застосовується до будь-якої марки або типу автомобіля, тому що, за оцінками АРN, вартість демонтажу і рециклінгу ВЕА приблизно однакова для різних класів автомобілів, і вводити диференціювання в оплаті громіздко і не має сенсу.

Така система авторециклінга почала працювати з 1 січня 1995 року. Протягом першого трирічного періоду сума збору за утилізацію одного автомобіля становила 250 гульденів Нідерландів (113 євро), другого періоду -150 гульденів Нідерландів (68 євро). З 2000 року встановлена сума внеску залишається 45 євро на автомобіль. Виробники автомобілів або імпортери платять збір за утилізацію кожного автомобіля, який вперше реєструється в Нідерландах , незалежно від марки або моделі. Це означає, що плата в 45 євро повинна бути заплачена перш, ніж новий реєстраційний номер буде виданий для автотранспортного засобу. У разі особистого імпорту автомобіля на територію Нідерландів оплата проводиться безпосередньо дилером або приватною особою. Всі гроші, зібрані в результаті такої оплати, депонуються у Фонді авторециклінга. Плата не стягується тільки за так звані старовинні і класичні автомобілі ( 25 років або старше на основі дати першої реєстрації ), які представляють раритетну цінність.

Встановлена сума збору в 45 євро за автомобіль (включаючи 19% ПДВ) була заснована на комплексному обчисленні. Найбільш важливі складові в розрахунках - середній склад застосовуваних матеріалів в автомобілі, середня вартість демонтажу і рециклінгу компонентів і матеріалів автомобілів, очікуване число утворюються ВА та автомобілів, що йдуть на експорт за межі країни, очікуване число нових автомобілів для реєстрації в Нідерландах. Інша важлива складова розрахунків - ступінь, в якій раніше сформовані грошові запаси були використані для виплати існуючих премій фірмам - партнерам. Теоретичні розрахунки, проведені у 2000 році при встановленні нової суми збору за утилізацію автомобілів, показали, що при демонтажі всіх автомобільних компонентів , перерахованих у спеціальних нормах АРN 2000 року по утилізації, загальна вартість витрат становить 87,5 євро на один ВА: 71 євро - витрати на демонтаж компонентів; 13,4 євро - витрати на збір і упаковку і 3,1 євро - витрати на рециклінг. Через інфляцію, більш високого відсотка рециклінга, наявності нових компонентів, матеріалів і технічних вдосконалень у складі автомобілів, очікувалося, що вартість переробки зростатиме з часом. Тому передбачалося, що сума встановленого внеску теж буде переглянута у бік збільшення. Але цього не сталося. Системі авторециклінга в Нідерландах виявилося цілком достатньо встановленої суми в 45 євро за автомобіль.

Поступове скорочення збору за утилізацію було викликано в результаті дотримання з боку АРN жорстких принципів в організації системи авторециклінга, контролю за її виконанням, скорочення витрат на сертифікацію нових компаній-партнерів, а також фактом значного перевищення кількості знову реєстрованих автомобілів над щорічно поступаючих на утилізацію , в тому числі і в результаті зростання експорту вживаних автомобілів. Збір за утилізацію у розмірі 45 євро за автомобіль є невисоким і складає менше 0,25 % від середньої ціни нового автомобіля. За проведеними в країні численним соціологічними опитуваннями, ніхто з продавців і покупців автомобілів в Нідерландах не вважає таку суму збору несправедливою, тому в країні не існує ні організаційних, ні моральних проблем з його справлянням.

У 2006 році збір за утилізацію був оплачений для більше 560 тис. автомобілів і легких вантажівок. Оскільки система авторециклінга почала діяти в Нідерландах з 1 січня 1995года , то за автомобілі , зареєстровані до 1995 року, не було заплачено жодного збору за утилізацію. Данні автомобілі теж повинні бути перероблені, коли вийдуть з експлуатації. Їх переробку також оплачує Фонд. На кінець 2006 року в автомобільному парку Нідерландів загальна кількість таких автомобілів (без оплаченого збору за утилізацію) становило 1,7 млн. , на кінець 2005 року їх було 2,1 млн.

У 2006 році Департамент дорожнього транспорту Нідерландів зняв з реєстрації 484 тис. автомобілів. З них 234 тис. були зняті з реєстрації, як ВА , а 250 тис. - як експортовані за межі Нідерландів . Після приєднання до ЄС у 2004 році десяти нових держав - членів ЄС експорт з Нідерландів старих автомобілів значно виріс. Пояснення цього факту дуже просте - вступ до ЄС зробило для нових членів імпорт автомобілів із західноєвропейських країн набагато дешевше. Вік ВА, що надходять на утилізацію в Нідерландах за останні роки, безперервно збільшувався.

Таблиця 1.1. Середній вік ВА в Нідерландах, років

2000

2001

2002

2003

2004

2005

2006

14,3

14,4

14,6

14,9

15,3

15,5

15,9


У 2006 році середній вік ВА склав 15,9 років , а середня маса - 936 кг . З 234 тис. ВЕА в Нідерландах в 2006 році в системі , керованої АРN, було демонтовано та утилізовано більше 90%. Загальна вартість оплачених витрат на збір, транспортування, демонтаж і рециклінг компонентів і матеріалів для ВА, перероблених в системі автореціклінга під контролем АРN в 2006 році, склала 20,5 млн. євро. Решта на рахунку Фонду невитрачені суми вважаються резервними - у тому числі для непередбачених обставин, щоб пом'якшити можливе збільшення майбутніх витрат. Резерви Фонду передаються для управління спеціальної фінансової компанії для інвестування в цінні папери (векселі, облігації , акції) для підвищення доходів і збереження накопичень від інфляції .

Щоб досягти високих цілей у рециклінгу спрацьованих автомобілів, АРN співпрацює з великою кількістю партнерів: різними компаніями, інститутами, науковими центрами, іншими зацікавленими сторонами. На самому початку ланцюжка рециклінгу ВА стоять компанії по розбиранню автомобілів, де відбувається демонтаж і збір певних компонентів і матеріалів. У 2006 році АРN співпрацювало з мережею з 263 компаній з демонтажу автомобілів на основі укладених контрактів, в яких було встановлено в обов'язковому порядку демонтувати з спрацьованих автомобілів мінімум 20 типів матеріалів і компонентів з "Переліку АРN". За дані компоненти була встановлена фіксована оплата з боку АРN в розрахунку за одиницю матеріалу ( кілограм, літр або деталь). Дана система певної оплати за кожен тип матеріалу в АРN була встановлена на підставі оцінки часу, який в середньому витрачається, щоб демонтувати даний матеріал/компонент. АРN оплачує витрати компаніям з демонтажу лише за ту кількість сировини, яка була фактично демонтовано з ВА та направлено для подальшої переробки, а не на основі розрахункової кількості в автомобілі. За демонтаж деяких автомобільних компонентів АРN нічого не оплачує компанії з демонтажу, тому що витрати на демонтаж цілком окупаються з боку компанії, що приймає компоненти на утилізацію. Створена комп'ютеризована адміністративна система контролю, на основі збору даних від різних учасників всієї системи авторециклінга в Нідерландах, дозволяє АРN відстежувати, скільки кожна компанія-партнер має демонтувати з ВА матеріалів і компонентів, і порівняти з наданими компанією фактичними даними.

Далі в системі авторециклінга беруть участь спеціальні транспортні компанії, які за допомогою логістичних систем транспортують демонтовані компоненти та матеріали на склад фірм-утилізаторів для їх рециклінгу в Нідерландах чи за кордоном. Такі компанії переробляють матеріали у сировину, яка буде використовуватися в нових продуктах. АРN співпрацює з 5 транспортними компаніями і 32 компаніями по рециклінгу матеріалів. Транспортні компанії відповідають за упаковку і транспортування матеріалів, забезпечуючи збереження демонтованих автомобільних компонентів і матеріалів за допомогою використання для перевезення спеціальних контейнерів, ємностей, ящиків або піддонів. Транспортні компанії, з якими співпрацює АРN, підбираються на основі тендеру на конкурсній основі. АРN формує до компаній запити про надання заявок. Потім компанії порівнюються за різними критеріями і відбираються найбільш відповідні цим критеріям компанії , з якими АРN укладає контракти.

Вибір компаній по рециклінгу також заснований на процедурі тендеру. Компанії, з якими у АРN укладені договори, повинні відповідати ретельно сформульованому набору вимог. Угоди з компаніями досягаються і щодо способів і технологій, якими повинні бути перероблені матеріали з "Переліку АРN". Перш, ніж контракт буде фактично підписаний, в компанії проводяться виробничі випробування і тести, щоб гарантувати якість і високу ступінь вторинної переробки. Щоб контролювати виконання встановлених стандартів, АРN проводить періодичні вибіркові перевірки на компаніях-партнерах, щоб упевнитися, чи відповідає компанія вимогам якості та чи виконуються необхідні процедури і процеси відповідно до встановлених положень і контрактів. Крім того, АРN прагне укласти контракти з кількома компаніями на переробку конкретного матеріалу, щоб заохотити конкуренцію і оптимізувати транспортні витрати. Це робиться також з метою гарантувати безперервність процесів збору матеріалів від компаній з демонтажу ВА , так як надзвичайно важливо запобігати великому скупченню автомобільних матеріалів на складах цих компаній . Підприємства по рециклінгу також зобов'язані надавати точні данні щодо кількості та якості матеріалів, які вони прийняли і переробили.

Далі залишки від ВА, з яких попередньо були демонтовані компоненти з "Переліку АРN", транспортуються на майданчик однієї зі спеціальних шредерних компаній, де відбувається подрібнення і сепарація матеріалів, а також перевіряється, чи були з автомобілів попередньо повністю демонтовані компоненти з "Переліку АРN". АРN співпрацює з 12 сертифікованими шредерними компаніями в Нідерландах, Німеччині та Бельгії. Фактично шредерні підприємства завершують ланцюг утилізації транспортних засобів, відправляючи матеріали які не підлягають переробці та утилізації на звалища. Відзначаючи фактичний успіх формування системи авторециклінга, досягнутий в Нідерландах, слід підкреслити, що йому сприяли такі чинники:

• відсутність стимулів і переваг для власника автомобіля здійснити незареєстрований експорт та уникнути передачі свого відпрацьованого автомобіля в систему авторециклінга;

• стягнення збору за утилізацію відбувається на стадії продажу нового автомобіля, а не в момент направлення на утилізацію;

• відсутність стягнення оплати з власника автомобіля при здачі ВА;

• організація успішної та ефективної системи моніторингу, заснованої на застосуванні комп'ютерних баз даних;

• наявність системи зняття з реєстрації автомобілів (дереєстрація), коли обов'язковим є надання або сертифіката про утилізацію, або сертифікату про експорт. Власник автомобіля не звільняється від оплати податку на автомобіль , поки не надасть один з даних документів.

.3.3 Досвід Німеччини

Парк автомобілів у Німеччині перевищує 50 млн., з них більше 43 млн. - легкові автомобілі. На відміну від Голландії, автомобільна промисловість Німеччини відіграє важливу роль в економіці країни, вносячи великий внесок у ВВП та забезпечення населення робочими місцями. Закон про ВА був прийнятий у Німеччині в 1997 році і набув чинності з квітня 1998 року. Для зняття ВА з реєстрації було потрібно, щоб власник направив ВА у спеціальний авторизований центр і отримав там сертифікат про утилізацію. Такий сертифікат вважається обов'язковим для процедури дерєстрації, без нього автомобільний податок продовжуватиме стягуватися з власника автомомобіля. За встановленою системою власник повинен був сплатити компанії з утилізації її витрати на демонтаж і обробку ВА. У середньому такі затрати оцінювалися в 200-300 DM за один автомобіль.

На момент прийняття Директиви ЄС з ВА в Німеччині вже фактично існувала в розвиненому вигляді система по збору та утилізації відпрацьованих автомобілів, склавшись спонтанно на основі конкурентного бізнесу. У країні щороку знову реєструвалося приблизно 4 млн. автомобілів і близько 3,5 млн. знімалося з реєстрації. Наявна інфраструктура авторециклінгу в Німеччині була до того часу достатньо розвинена. Близько 15 тис. підприємств займалися збором ВА і мали право видавати сертифікат про утилізацію, більше 1000 - виконували функції по демонтажу ВА, близько 40 шредерних заводів займалися подрібненням і утилізацією автомобільних залишків.

Встановлена законом Німеччині система авторециклінга змогла достатньо продумано і детально визначити окремі елементи процесів збору та утилізації автомобілів. Наприклад, законом було установлено дуже суворі вимоги до підприємств по збору та утилізації ВА щодо їх обладнання, оснащення, виконання різних вимог по зливу рідин та демонтажу компонентів, а також дотримання норм екологічної безпеки. З іншого боку, не дуже чітко була встановлена роль виробників і імпортерів автомобілів; вимоги з моніторингу системи, процедура тимчасової дереєстраціі та ін. Замість чітко прописаних схем виконання закону багато що було залишено на розсуд автомобілебудівників у сфері організації та виконання їх ролі в системі автореціклінга в Німеччині. Це частково пояснювалося тим, що до моменту прийняття: закону про ВА в Німеччині вже діяло добровільне угода, прийнята автомобілебудівними компаніями і встановлююча досягнення певних цілей з переробки матеріалів та кількісним коефіцієнтам переробки ВА. Тому система авторециклінга в Німеччині стала, складатися фактично з об'єднання двох систем - добровільних заходів , описаних в угоді автовиробників і процедур, встановлених у законі про ВА.

Однією з головних законодавчих "дірок" залишалася збереглася можливість для власників автомобілів відходу від надання сертифіката про утилізацію ВА для зняття оплати податку за володіння автомобілем за процедурою тимчасової дереєстраціі. Таким чином, власники часто користувалися цією можливістю , щоб уникнути оплати за утилізацію ВА, яка була необхідна при оформленні постійної дерегєстраціі автомобіля. Це знижувало кількість ВА , що поступали в систему автора ціклінга в Німеччині. Хоча, безперечно, попит на старі автомобілі з Німеччини значно виріс за останні роки в багатьох країнах Європи, існуюча система не дозволяла простежити, що в реальності відбувається з автомобілем, знятим з реєстрації з тимчасовою процедурою. А кількість автомобілів, що поставляються на експорт по зареєстрованій системі експорту, було набагато менше. Моніторинг ускладнювався також відсутністю спеціального органу, який централізовано управляв би процесом збору інформації і контролем за видачею сертифікатів на утилізацію та дозволів тимчасової дереєстраціі .

Стало зрозумілим , що потрібна більш жорстка система оформлення і контролю тимчасової дереєстраціі автомобілів, а також спеціалізований орган з моніторингу системи автореціклінг . Крім того, були відзначені недоліки, пов'язані з вимогами оплати за утилізацію ВА при його здачі останнім власником. Після прийняття в Європі Директиви по ВА, в Німеччині в 2002 році було прийнято рішення змінити існуючу в країні систему авторециклінга через внесення деяких поправок до вже існуючих законів і постанов, у тому числі до Закону про ВА, Дорожний Закон, Закон про податки, Закон про торгівлю. Підприємство з прийому та (або) демонтажу ВА має прийняти автомобіль від останнього власника безкоштовно і видати сертифікат про утилізацію . Якщо власник не скеровує свій автомобіль в систему авторециклінга, але бажає зняти його з реєстрації, він повинен надати в державний орган з реєстрації автомобілів, що підпорядковується Міністерству транспорту, заяву з поясненням причин, за якими він так чинить. У такому випадку, після розгляду заяви власника автомобіля, даний орган сам завершує процес дереєстрації автомобіля.

Автомобілебудівні компанії та імпортери повинні формувати спеціальний резерв для фінансування своїх зобов'язань за виконання вимог системи утилізації ВА, достатній, в тому числі, для того, щоб покрити витрати і на організацію збору своїх автомобілів, проданих до 1 липня 2002 року (до набуття чинності нових положень з ВА у Німеччині). Це обов'язкова резервна система, необхідна для покриття витрат автомобілебудівних компаній на прийом своїх ВА на території Німеччини. Оцінки показали , що для виконання і фінансування своїх зобов'язань з утилізації ВА в Німеччині , виробники автомобілів, після внесення поправок до Закону про ВА, підняли ціни на нові легкові автомобілі при їх продажу приблизно на 200 DM , що склало приблизно 0,5 % від середньої ціни автомобіля і не зробило помітного впливу на продажі автомобілів у Німеччині.

В даний час німецька мережа по збору та утилізації ВА складається з більше 15000 пунктів прийому, 1200 фірм розбирання і демонтажу ВА і 47 шредерних заводів. Багато світових виробників автомобілів, що мають невеликий об'єм продажів на території Німеччини, не створюють власну інфраструктуру зі збору та утилізації автомобілів своїх марок. Так, наприклад, фірма "LADA Automobile GmbH", що є офіційним імпортером автомобілів LADA на території Німеччини, уклала угоду з компанією "Рареем GmbH" на проведення збору та утилізації всіх відпрацьованих автомобілів LADA, а також демонтованих при ремонті деталей і упаковки від запчастин. Для цих цілей "LADA Automobile GmbH" резервує відповідно до вимог закону кошти на оплату майбутньої утилізації автомобілів LADA в розмірі 100 євро за 1 автомобіль.

.3.4 Досвід Великобританії та Франції

У Великобританії нормативно - правове регулювання для утилізації відпрацьованих автомобілів стало розвиватися після прийняття в Європі ВА Директиви . У 2003 року було випущено Постанова № 2635 "The End-of-Life Vehicles Regulations", що встановила систему вимог до організації збору та утилізації ВА, правила видачі сертифіката про утилізацію автомобіля, вимоги до виробників автомобілів стосовно сортування шкідливих речовин і матеріалів, наявності на деталях маркування, надання документації по демонтажу та утилізації продаваних ними автомобілів. У 2005 році додатково було прийнято Постанову № 263 "The End- of-Life Vehicles (Producer Responsibility) Regulations", втановившу нові спеціальні вимоги до виробників транспортних засобів або офіційним імпортерам на територію Великобританії. Дана Постанова детально описує процедуру встановлення, розподілі оформлення відповідальності за виконання дій по збору та утилізації автомобілів.

З 1 січня 2007 року ухвалення ВА для утилізації повинно здійснюватися безкоштовно для його власника. Дане положення може бути незастосовано тільки у випадку, якщо ВА не містить суттєві компоненти, такі як двигун, коробка передач, кузов, колеса, каталітичний нейтралізатор (якщо він повинен бути частиною транспортного засобу при розміщенні на ринку) або містить додаткові відходи, які були додані до нього. Кожен виробник автомобілів має гарантувати, що його система для збору ВА, за які він несе відповідальність, доступна в розумній мірі для будь-якого власника, який бажає здати ВА.

У Великобританії збором і демонтажем ВЕА займаються близько 2500 невеликих підприємств, остаточна переробка відбувається на одному з 37 шредерних заводів. Витрати на забезпечення обробки і демонтажу одного ВА оцінюються приблизно в 50-80 євро, включаючи адміністративні та накладні витрати, з них близько 30 євро становлять витрати на обов’язкові заходи (depollution) з осушення та демонтажу небезпечних компонентів, регламентованих вимогами ВА Директиви . За даними оглядів 2004-2006 р.р., у Великобританії майже всі ВА, що знімаються з реєстрації, надходили на утилізацію. Близько 3/4 з них проходять систему попередньої обробки та демонтажу на спеціальних підприємствах, а 1/4 - попадає прямо на шредерні заводи. У країні щорічно на шредерних заводах переробляється близько 1,8 млн. тонн ВА, при цьому виробляється приблизно 1,3 млн. тонн залізного продукту (72%), 72000 тонн продукції кольорових металів (4%) і 428000 тонн шредерних залишків (24%). У відповідності з вимогами ВА Директиви, кількість ВА, що надходять без попередньої обробки і демонтажу, повинно неухильно скорочуватися.

У Франції з 24 травня 2006 увійшла в силу Постанова, приписуюча, що всі автомобілі після закінчення терміну служби в обов'язковому порядку повинні бути передані на майданчики фірм з утилізації, які мають державний сертифікат. Підприємство з утилізації має прийняти ВА безкоштовно ( за винятком особливих випадків), видати власнику автомобіля сертифікат про його утилізації, виконати обов'язковий демонтаж і спрямовувати на рециклінг всі компоненти, регламентовані ВА Директивною як процедура "Depollution". Підприємство також зобов'язане щорічно спрямовувати звіт до Міністерства з охорони навколишнього середовища, повідомляючи про фактичні результати своєї діяльності.

У Франції в 2006 році близько 1,6 млн. ВА було направлено на утилізацію. В системі авторециклінга задіяно близько 2 тис. підприємств з демонтажу старих автомобілів і 40 шредерних заводів з подрібнення та сепарації.

Витрати на демонтаж, обробку та рециклінг ЕА і подальше захоронення відходів сильно варіюються від стану автомобіля, а також від країни, в якій організована система авторециклінга. У Великобританії, за оцінками компаній з утилізації, витрати на осушення рідин і демонтаж ВА, а також подальше транспортування для рециклінгу складають в середньому 250-350 євро за один автомобіль. Ці витрати зазвичай покриваються доходами від продажу деталей для повторного використання як запчастини. Такі ж оцінки для Франції показали, що витрати підприємств з демонтажу та обробці одного ВА становлять у середньому 330 євро, а вартість проданих деталей, демонтованих з ньог, становила в середньому 490 євро.

.3.5 Досвід Японії

Парк автомобілів у Японії становить близько 80 млн. одиниць, кількість щорічно знімаємих з реєстрації транспортних засобів у середньому близько 5 млн. З них близько 1 млн. становить експорт уживаних автомобілів в інші країни, інші залишаються в Японії і надходять у систему переробки та утилізації. Тому організація структури авторециклінга дуже важлива для Японії. До недавнього часу в сегменті демонтажу ВА в основному були присутні маленькі фірми з кількома працівниками (всього 3-4 службовців), які в середньому могли демонтувати приблизно по 1 тис. автомобілів в рік. Однак за останні роки стали з'являтися і більш великі, в тому числі інтегровані компанії, які займаються збором та демонтажем ВА, сортуванням деталей і матеріалів, включаючи і шредерні установки подрібнення. Велика компанія може також використовувати важливі переваги, маючи доступ до старих автомобілів, що здаються власниками в рахунок оплати покупки нових, підтримувати фінансове партнерство з продавцями автомобілів, страховими фірмами, лізинговими компаніями. Однак було відзначено, що за останні роки кількість ВА, що надходять на демонтаж та утилізацію, стає меншим, оскільки все більше старих транспортних засобів перепродуєшся на аукціонах і вивозиться на експорт.

Прийнятий у 2002 році Закон про ВА набрав чинності з 1 січня 2005.

Закон встановив такі основні положення:

• виробники автомобілів або імпортери зобов'язані забрати, обробити і переробити три спеціальні компоненти: фтор-хлор-вуглеводні (торгова назва - фреони ), які використовуються в системах кондиціонування і впливають на озоновий шар землі при попаданні в повітря; надувні подушки безпеки , які являються вибухонебезпечними і мають проблеми з утилізацією; шредерні залишки, які у великій кількості залишаються після переробки ВА;

• власники транспортних засобів платять збори, необхідні для реціклінга ВА, достатні , щоб демонтувати і переробити системи надувних подушок безпеки і фреони, а також утилізувати ШВ. ( Ці збори сплачуються при купівлі нових автомобілів або коли автомобілі проходять обов'язкові періодичні огляди );

• після завершення експлуатації автомобіля власники повинні направити ВА в сертифіковані центри прийому ВА;

• виробники автомобілів ще на стадії проектування повинні враховувати аспекти їх подальшої утилізації, у тому числі , розробляючи і застосовуючи нові конструкційні рішення, компоненти і матеріали автомобілів, щоб скоротити витрати на рециклінг автомобілів. Виробники автомобілів також зобов'язані надавати компаніям-утилізаторів детальну інформацію про автомобільні компоненти і матеріали, щоб полегшити їх рециклінг.

Основою для успішного виконання закону став спеціально створений в Японії орган JARC (Japan Automobile Recycling Promotion Center), сертифікований Міністерством економіки, торгівлі і промисловості та Міністерством охорони навколишнього середовища. Відповідно до встановленої законом системою необхідна сума для забезпечення утилізації ВА сплачується покупцем при купівлі нового автомобіля. Ця сума в середньому становить близько 10-18 тис. ієн за автомобіль; її конкретний розмір встановлюється виробником (імпортером) автомобіля, але повинен погоджуватись з контролюючими органами. Даний збір за утилізацію надходить у спеціальний Фонд авторециклінга, яким управляє JARC. Така система була прийнята, щоб уникнути проблем зі сплатою зборів при проведенні фактичної утилізації ВА, а також ризику втрати грошей через банкрутство або ліквідації компаній - виробників та імпортерів автомобілів. Для автомобілів, які вже були продані до моменту вступу закону, система встановила процедуру, що дозволяє забезпечити оплату збору за утилізацію до моменту найближчої обов'язкової інспекції технічного стану автомобілів. Така нова система авторециклінга замінила раніше існуючу, коли власник автомобіля оплачував збір за утилізацію при здачі ВА на переробку.

Для виконання зобов'язань, встановлених законом для виробників (імпортерів) автомобілів ( переробити три компоненти : фреони, подушки безпеки і ШЗ ), компанія має право вимагати компенсації на оплату витрат з переробки з Фонду авторециклінга . Для цього існує процедура оформлення та розгляду заяв. Для переробки зазначених компонентів автовиробники можуть укласти додаткові контракти на їх утилізацію зі спеціальними компаніями. Найбільш часто це відбувається у випадку утилізації ШВ.

На першій стадії обробки ВА відбувається їх збір та доставка на підприємства з демонтажу, де відбувається оцінка та сортування, видаляється бензин, мастила, рідини та інші шкідливі речовини, які заборонені для розміщення на звалищах. Також з ВА демонтуються компоненти, які мають цінність чи використовуються як запчастини. У середньому близько 20-25 % маси ВА демонтується як запчастини для наступного продажу відразу або після відновлення, близько 15 % маси демонтується для вторинної переробки матеріалів. Демонтаж компонентів, встановлених законом (системи кондиціонування та системи надувних подушок безпеки), оплачується виготовлювачами автомобілів. Після чого ці та інші компоненти направляються на сертифіковані підприємства з утилізації. Залишені частина ВА (в середньому 60-65 % маси автомобіля) надходить для подрібнення та подальшої переробки на шредерні заводи. Вартість, за якою підприємства з демонтажу продають залишки ВА шредерним компаніям , визначається комерційними угодами. Шредерні залишки, що залишаються піддаються або тепловому рециклінгу (витяг енергії ), або забороняються на сміття звалищах. Вартість розміщення 1 тонни ШВ на звалищах Японії висока і становить 20-25 тис. ієн у залежності від префектури. Крім того, існує проблема нехватки полігонів для розміщення відходів, тому все більший розвиток одержують різні технології вторинної переробки ШО.

Згідно наданої документації, приблизно 2,7 млн. транспортних засобів надійшло на шредер в 2005 році, при цьому було вироблено 500000 тонн ШВ. Прийняття Закону про ВА послужило створенню конкурентної інфраструктури з розвитку технологій переробки ШВ і скороченню обсягів утворених відходів. Загальний рівень рециклінгу компонентів і матеріалів ВА в Японії складає в даний час в середньому близько 80%. Процеси ліцензування та реєстрації компаній, які займаються збором і утилізацією ВА, а також процедура електронного обліку ВА змогли дозволити виконувати аналіз і кількісну оцінку потоків утилізації. Очікується, що ступінь рециклінгу ВА в Японії буде збільшуватися, тому що нова система суворого управляє обліком ВА, контролює за несанкціонованим позбавленням від фреонів і рідин, а також стимулює розвиток технологій переробки ШВ.

Набрання чинності Законом про ВА в Японії співпало із змінами в системі зняття з реєстрації транспортних засобів. Раніше існувало дві системи для того, щоб анулювати реєстрацію. Постійна дереєстрація застосовувалася, щоб демонтувати зареєстрований транспортний засіб, а тимчасова відміна реєстрації - для продажу вживаного транспортного засобу. Але така система була змінена, щоб дозволити владі визначити факт демонтажу або експорту уживаної машини і скоротити незаконне розміщення відходів.

Була введена триступенева система зняття з реєстрації: тимчасова дерегєстрація, постійна дереєстрація і дереєстрація для цілей експорту. У разі оформлення постійної дереєстраціі потрібно сертифікат про демонтаж автомобіля і підтвердження в електронній системі обліку . Для оформлення дереєстраціі для цілей експорту потрібна наявність сертифіката про експорт. Тимчасова дерегєтрація оформляється на автомобіль, який не експлуатується, але має комерційну цінність, і призначений для подальшого продажу як стара машина. Місце розміщення такого автомобіля може перевірятися, особливо, якщо транспортний засіб зберігається протягом тривалого періоду часу. Якщо такий автомобіль не проходить нову реєстрацію в Японії, то надалі необхідно оформити сертифікат про експорт у разі експорту автомобіля або сертифікат про демонтаж у разі утилізації, що означають постійну дереєстрацію. Є великий попит на старі машини з Японії, тому їх експорт підвищується з кожним роком. Разом з тим у громадських та урядових організаціях Японії є занепокоєння, що зростаючий експорт старих автомобілів за межі країни може бути обумовлений неналежною системою утилізації ВА в інших країнах, де закони по ВА слабо розвинені або відсутні.

.4 Висновки. Обгрунтування мети і завдань дослідження

. Створення та забезпечення ефективної роботи підприємств, в сферу діяльності якого повинна входити утилізація техніки є одним з нових і перспективних напрямків розвитку технічного сервісу автомобілів і транспортно- технологічних засобів.

. Основним завданням такого підприємства є надання транспортним і сільськогосподарським підприємствам, житлово- комунальним управлінням міст і сільських населених пунктів, індивідуальних власників машин всіх необхідних послуг, пов'язаних з екологічно безпечною утилізацією техніки шляхом створення у своїй структурі відповідних спеціалізованих відділів.

. Всі спеціалізовані відділи такого підприємства підрозділяються на п'ять основних груп:

) надання виробничих послуг у торгово-посередницькій діяльності, що включає придбання або приймання у підприємств-клієнтів вживаної техніки, продаж відновлених машин і вживаних, але ще придатних до використання запасних частин, продаж розсортованої за типами вторсировини;

) надання послуг з транспортного обслуговування підприємств-клієнтів, що включає вивезення вибулої з експлуатації техніки всіх видів, використаних експлуатаційних матеріалів і компонентів вибракуваних в процесі ремонту;

) надання послуг з технічної експлуатації машин, включаючи зберігання, ремонт і технічне обслуговування машин (надання цього виду послуг можливо у випадку, якщо утилізація техніки стає додатковим видом діяльності існуючого підприємства технічного сервісу);

) виконання робіт, пов'язаних з утилізацією техніки, що включає злив експлуатаційних рідин, демонтаж агрегатів, сортування вторсировини за видами і підготовку до повторного використання;

) надання навчально- консультаційних послуг з усіх питань, пов'язаних з утилізацією техніки, включаючи наукові, нормативно-технологічні , юридичні та інші.

. Ефективне (економічно прибуткове) функціонування всіх спеціалізованих відділів підприємства технічного сервісу, в сферу діяльності якого входити утилізація техніки, можливе тільки на основі сучасних методів оптимального проектування виробничих процесів з використанням загальних принципів дослідження операцій.

. Аналіз наявних досліджень з сервісних систем підприємств технічного сервісу, до сфери діяльності яких входить утилізація техніки, показав, що в даний час відсутні загальні комплексні наукові розробки щодо забезпечення їх ефективного функціонування в різних техніко-економічних умовах з урахуванням мінімізації впливу на навколишнє середовище.

Виходячи з цього, були сформульовані основна мета і завдання дослідження.

У зв'язку з актуальністю даних питань метою дослідження є розробка еколого-орієнтованих технологій утилізації автотракторної техніки, що враховують ймовірнісний характер потоку заявок на утилізацію і варіацію тривалості їх виконання при раціонгальних витратах трудових і матеріальних ресурсів. Для реалізації поставленої мети в роботі були поставлені наступні задачі:

оцінити вплив технологічних процесів утилізації автотракторної техніки на навколишнє середовище;

обгрунтувати критерії оптимальності, які необхідні для розробки технологічних процесів утилізації автотракторної техніки з урахуванням спеціалізації підприємства та місця розташування;

розробити комплекс математичних моделей визначення основних характеристик виробничо-технічної бази підприємств технічного сервісу в сферу діяльності, яких входить утилізація техніки, з урахуванням ймовірнісного характеру виробничих процесів і наявності конконкуреного середовища;

провести моделювання та оптимізацію технологічних процесів утилізації автотракторної техніки з розробкою технічних засобів, що забезпечують підвищення ефективності робіт при мінімальних затратах трудових і матеріальних ресурсів і з урахуванням варіативності потоку списуваної техніки;

провести виробничу перевірку отриманих результатів у умовах підприємств технічного сервісу;

провести оцінку еколого-економічного ефекту від впровадження результатів дослідження.

Розділ 2. Теоретичні основи розробки еколого-орієнтованої технології процесів утилізації автотракторної техніки

У найближчі 5...7 років кількість списуваної в Україні автотракторної техніки досягне 6...8 % від парк , що потребує вирішення проблеми прийому, переробки, вторинного використання та утилізації списаних автомобілів. Стимулом до початку хвилі списань техніки може стати програми уряду, спрямована на підтримку автомобільного ринку в умовах кризи. Початок її роботи стосовно до легкових автомобілів намічено на 8 березня 2014 повсюдно на всій території країни.

Прийом списаних автомобілів передбачається проводити в спеціально сертифікованих пунктах і оформляти сертифікатом. У зв'язку з цим в Україні належить створити мережу спеціалізованих підприємств по збору, прийому, демонтажу та утилізації списаних автомобілів, річна количество яких до 2015 року може скласти 1,7...2,2 млн. одиниць. Немало-важливим фактом необхідно вважати можливе прийняття в недалекому майбутньому рішень з обмеження максимального терміну служби комерційної техніки на рівні 15...20 років.

.1 Обгрунтування загальних методів дослідження

Методи наукового дослідження визначаються особливостями самих об'єктів дослідження і характером зміни діючих на них факторів. Основними об'єктами дослідження є технологічні процесси утилізації техніки, реалізовані в підрозділах підприємств технічного сервісу в сферу діяльності яких входить утилізація техніки, сільськогосподарські підприємства та автотранскравці підприємства в зоні обслуговування, районні управління міських і сільських поселень, їх парк автотракторної техніки, яка експлуатується та списана.

Узагальнена структурна схема взаємозвязаного функціонування обслуговуємих підприємств-клієнтів і підрозділів підприємств в сферу діяьності яких входить утилізація техніки представлена на рис 2.1. З структурної схеми наочно видно, що від обслуговуваних підприємств чи індивідуальних клієнтів в спеціалізовані підрозділи сервісного підприємства в загальному випадку поступають заявки чи вимоги на виконання чотирьох сутєво різних видів робіт, включаючи виконання торгівельно-посердницької діяльності, робіт з транспортного обслуговування, з утилізації техніки і по навчально-консультаціній діяльності.

Відповідно в структурі підприємств технічного сервісу также мають бути створені спеціалізовані підрозділи, які б забезпечували своєчасне і якісне виконання заявок кожного виду. Діяльність спеціалізованих підрозділів повинна бути організована таким чином, щоб вони були конкурентоздатні і економічно прибуткові, як для самого підприємства, що утилізує техніку, так і для клієнтів. Тільки за такої умови можливе утворення відповідної постійної клієнтури, відсутність нарікань зі сторони контролюючих органів і необхідних для ефективної роботи обсягів виконаних послуг.

Вказані необхідні умови ефективної діяльності спеціалізованих відділів підприємства можуть бути задоволені лише на основі сучасних научних методів оптимального проектування технологічних процесів на принципах ресурсосбереження і високої продуктивності. Відповідно теоретичний розділ магістерської роботи повинен бути присвячений розробці таких наукових методів.

Загальною характерною рисою взаємозалежного функціонування обслуговуємих клієнтів і спеціалізованих відділів підприємства є наявність джерел заявок або вимог і виконавців цих заявок. Отже, має місце типова система обслуговування принципи організації роботи якої залежать від характеру потоку заявок або вимог.

З урахуванням можливої великої кількості працючих незалежно один від одного обслуговуваємих клієнтів з різноманітними сільськогосподарськими машинами, автомобілями в різноманітно природо-виробничих умовах, різними обємами вантажоперевезень і умов руху автомобілів можна припустити, що поступаючий від них поток заявок на виконання відповідних робіт буде випадковим в ймовірностному змісті. Відповідно методи дослідження взаємопов'язананого функціонування обслуговуємих клієнтів і спеціалізованих відділів підприємства повинні бути також ймовірнисними.

Рис. 2.1. Узагальнена схема взаємопов'язаної роботи обслуговуваних клієнтів і спеціалізованих відділів підприємства утилізації техніки

З приведеного короткого опису маємо, що у відповідності з загальними принципами дослідження операцій [105] спеціалізовані відділи підприємств є типовими системами масового обслуговування. Основна задача при цьому заключається у встановлені ефективних співвідношень між кількістю поступаючих за одиницю часу заявок і продуктивністю або пропускною здатністю відповідного спеціалізованого відділу.

Складність при цьому заключається в тому, що із-за випадкового характеру надходження заявок за часом можливі як утворення черги цих заявок у відповідному очікуванні, так і простої робітників і обладнання спеціалізованих відділів підприємств із-за відсутності заявок, що є більш ймовірним. Розробляємі наукові методи повинні забезпечити мінімальні втрати від цих простоїв, як для клієнта, так і дл япідприємства, що утилізує техніку.

Найбільш ефективними для вирішення подібних задач є загальні методи теорії масового обслуговування [12], що підтвержується дослідженнями [5, 34] стосовно до технічної експлуатації машин і транспортного обслуговування.

Особливо ефективні методи ТМО при наявності в системі обслуговування марківського випадкового процесу, коли потоки подій, що переводять систему з одного стану в інший є пуасонівськими без післядії.

Приклади практичного застосування методів ТМО до дослідження технологічних процесів технічної експлуатації, як найбільш близької до утілізаціі, свідчать про принципову можливість застосування цих методів в даному випадку.

Конкретне застосування намічених загальних принципів вирішення оптимізаційних задач підвищення ефективності роботи спеціалізованих відділів підприємства у відповідності зі структурною схемою 2.1. приведено в наступних розділах.

Підвищення ефективності роботи підприємства з первинної переробки необхідно вести по двох напрямками:

вдосконалення периферійної діяльності, тобто перевезень вторсировини (в нашому випадку утилізованої техніки або вибракованих вузлів, деталей і матеріалів) і готової продукції (в нашому випадку пригодних до використання атретатів, а також демонтованих і розсортованих за типами застосовуваних матеріалів компоненті вутилізованої техніки);

удосконалення технологічних процесів утилізації автотракторної техніки.

Повноцінний розгляд цих двох процесів недоцільно розглядати в рамках однієї роботи, як це було зроблено в [47], оскільки це може призвести або до черезчур громіского дослідження, або до поверхневого розгляду питань і таких же пропозицій. В даній роботі ми зупинилися на технологічних процесах утилізації автотракторной техніки, оскільки саме від їх якості залежить кінцевий вплив утилізації на навколишнє середовище. Цей напрямок діяльності підприємства є найбільш витратним через можливу високу тривалість технологічних процесів утилізації.

.2 Загальні принципи ефективного використання засобів технологічного оснащення підприємств утилізації автотракторної техніки

Одним із завдань плануємих до створення в різних районах нашої країни пунктів прийому та підприємств переробки спрацбованої техніки є забезпечення високого рівня збору та переробки списанної автотракторної техніки підприємств і населення в межах зони обслуговування. Під об'єктами обслуговування таких підприємств при цьому мається на увазі станції технічного обслуговування, транспортні та ремонтні підприємств, контейнерні майданчики, склади брухту і крупногабаритних відходів, в житлових районах міст і сільських поселень, на территоріях промислових і сільськогосподарських підприємств, гаражних кооперативах. Засобами технологічного оснащення є відповідні обслуговуючі машини, різні технічні пристрої і пристосування, а також працюючі з ними люди.

Основними елементами діяльності підприємств, задіяних в системі утилізації автотракторної техніки є: моніторинг зони обслуговування з виявленням нових утвореннь відходів або зміни величини утворення відходів в існуючих; планове обслуговування об'єктів, включаючи збір відходів; зберігання (зокрема утилізованих автомобілів); розподіл поступаючих об'єктів на фракції, придатні для подальшої переробки; переробка та захоронення непридатних для переробки відходів.

Вирішення зазначених завдань відповідно до вимог ринкової економіки має здійснюватися з найменшими витратами праці, а також грошових і матеріальних ресурсів, на основі сучасних методів моделювання та оптимізації технологічних процесів. Роздільне рішення моделей з розглянутих завдань може призвести до громіздким, важкодоступним для огляду математичним моделям, тому основна проблема заключається у розробці узагальнених наукових підходів.

Всі розглянуті задачі об'єднуються такими загальними властивостями у всіх випадках має місце потік вимог на відповідний вид обслуговування від користувачів, незалежно від відомчої приналежності; при цьому проміжки часу між однорідними вимогами змінюються випадковим чином і, відповідно, їх слід розглядати як ймовірнісні; кількість об'єктів від яких виходить потік вимог, може бути великим (умовно необмеженим) або обмеженим залежно від конкретних умов роботи; проміжки часу, пов'язані з обслуговуванням зазначених вимог, також не рахуються постійними через вплив безлічі випадкових факторів і, відповідно, є ймовірнісними; обслуговування вимог може проводиться стаціонарними або пересувними засобами. З викладеного маємо, що в розглядаємих задачах має місце характерні ознаки систем масового обслуговування ( СМО ) а отже, дослідження також доцільно проводити методами теорії масового обслуговування ( ТМО ).

Теорія масового обслуговування (ТМО), будучи прикладним розділом математики - теорії ймовірностей, розроблена для формального опису функціонування систем масового обслуговування з метою кількісної оцінки процесів, що протікають в цих системах та оптимізації їх параметрів [11, 12].

У повсякденному житті ми постійно стикаємося з необхідністю задовольняти свої потреби в різних видах обслуговування (СТОА, автозаправні станції, мийки) і витрачати час, як на саме обслуговування, так і на його очікування. Аналогічні ситуації мають місце і в господарській практиці. Транспорт, наприкла , не може обійтися без щоденного технічного обслуговування, поточного та капітального ремонту або утилізаціїції. Для виконання цих функцій створюються спеціалізовані організаційно-технічні системи.

Елементами систем масового обслуговування є: вхідний потік заявок, черга, канали обслуговування, вихідний потік. Всі ці елементи в сукупності і утворюють систему масового обслуговування, загальна структурна схема якої представлена на рис. 2.2:

Рис. 2.2. Структурна схема системи масового обслуговування

Вхідний потік - потік однорідних заявок або вимог, поступаючих в систему на задоволення потреб у проведенні визначених робіт. Заявки надходять в деякі випадкові моменти часу.

Заявка (вимога) - якийсь фізичний об'єкт, що має визначені потреби і звертається до послуг системи для їх задоволення.

Канали і апарати обслуговування - пристрою або суб'єкти обслуговування (при проведенні утилізації - це робочі пости) .

Черга-заявки, що знаходяться в СМО в очікуванні обслуговування через зайнятість каналів обслуговування.

Вихідний потік - вимоги, що залишають систему (у нашому випадку, вихідний потік вимог є виконання необхідних робіт з утилізації, тобто готовність автомобілів до фінальної частини утилізації - пресуванню або шредуванню). Зауважимо, що вихідний потік у загальному вигляді може складатися з обслужених і необслужених заявок.

Різноманіття систем масового обслуговування обумовлює необхіність їх класифікації для впорядкованого розгляду та дифференціювання їх математичного опису відповідно до складності досліджуємих СМО.

Системи масового обслуговування можна розділити на системи з очікуванням чергами і без очікування (рис. 2.3). Системи без очікування - це системи, в яких не буває черги. Таке можливо у двох випадках. Перший якщо СМО є системою з відмовами. У таких системах вимога, заставши всі прилади зайнятими, залишає систему необслужену. Другий випадок - система без відмов, тобто з необмеженим числом апаратів обслуговування. В таких системах передбачається, що скільки б одночасно не надходило заявок на обслуговування, кількість вільних апаратів обслуговування завжди більше кількості заявок. У реальному житті таких систем, практично не буває.

Системи з очікуванням також поділяють на дві групи. У системах з необмеженою чергою вимога, поступивши в систему, не покидає її необслуженою - незалежно від того, в якому стані вона застало систему і скільки часу доведеться чекати обслуговування.

Рис. 2.3. Схема класифікації СМО по наявності черг

У СМО з обмеженою чергою частина заявок може покидати систему необслуженною. Такі обмеження зазвичай обумовлюються або технічними параметрами - ємність накопичувача в системах з обмеженням черги по довжині: або, характером - резервом часу; розположенням заявки, - "нетерплячі клієнти".

З дисципліни обслуговування заявок розрізняють: системи без пріорітета (в яких заявки обслуговуються в порядку надходження ); системи з пріоритетом (в яких виділяються вимоги для позачергового обслуговування). Є два типи систем з пріоритетом. Перший - системи з абсолютним пріоритетом. У таких системах при надходженні заявки вищого рангу переривається обслуговування заявки більш низького рангу для негайного звільнення апарату обслуговування. Другий тип - системи з відносним пріоритетом, в яких при аналогічній ситуації обслуговування заявки нижчого рангу не переривається, але подача заявок (в тому числі і подальша) на вільні канали обслуговування відбувається у черговості, відповідаюча рангу заявок (для утилізації першими завершується роботи, що залишилися з попередніх діб і т.д.).

Залежно від кількості апаратів обслуговування розрізняють одноканальні і багатоканальні СМО. За кількістю послідовно виконуваних операцій обслуговування виділяють: однофазні системи, в яких з кожною заявкою виконується тільки одна операція - один вид обслуговування; багатофазні системи, в яких з кожною заявкою в певній послідовності виконується ряд специфічних операцій або видів обслуговування. Стосовно до утилізації автомобілів знаходять поширення відкриті, одно- і багатоканальні СМО, з однотипними або спеціалізованими обслуговуючими апаратами, з одно- або багатофазовими обслуговуванням, без втрат або з обмеженням на довжину черги.

Для застосування відповідного методу ТМО необхідно знати характер потоку вимог на обслуговування. Наявні в розглянутій галузі дослідження із застосуванням методів ТМО свідчать про те , що потоки вимог, пов'язані з виробничою діяльністю підприємств утилізації техніки наближено можна прийняти як найпростіші, оптимальні розподілення Пуассона [47, 17]:

 (2.1)

де Pk(t) - ймовірність надходження в систему "k" вимог на обслуговування за проміжок часу t (година, зміна, день і т.д.);

λ - середня інтенсивність або щільність потоку вимог (1/год, 1/зм., 1/день).

Вибір значення проміжку часу t залежить від характеру і особливостей розв'язуваної задачі. Найважливішою характеристикою засобів обслуговування є середня інтенсивність обслуговування (1/год, 1/зм., 1/день) - кількість обслуговуваннь за обраний проміжок часу. Час обслуговування кожної вимоги при цьому також є величиною випадковою, для якої приймаються показовий закон функції розподілу:

 (2.2)

Залежно від характеру роботи підприємства потік вимог на обслуговування може розглядатися як обмеженим, так і необмежений. Якщо він обслуговує тільки заздалегідь певні об'єкти, то утворюються потоки вимог на різні види обслуговування в загальному випадку будуть обмеженими, хоча в окремих випадках можуть бути і проміжні варіанти. Така система обслуговування в умовах більшості підприємств в даний час є основною, оскільки до теперішнього часу не було необхідності і бажання працювати з великою кількістю клієнтів, наприклад, з населенням. Однак у міру розвитку мережі підприємств утилізації зона обслуговування може розширюватися, і в таких випадках потоки вимог наближено можуть розглядатися як необобмежені.

Якщо підприємство утилізації займається обслуговуванням одних і тих же об'єктів (наприклад, певної кількості дилерів, що приймають від населення автомобілі в рамках урядової програми), то в загальному випадку буде мати місце замкнута СМО з очікуванням.

В умовах підприємств утилізації в основному можуть мати місце СМО з обмеженими і рідше з необмеженими потоками вимог з повним або частковим очікуванням при обмеженій кількості обслуговуючих ланок. Стосовно до таких СМО і передбачається проведення наступних досліджень.

Найважливіше значення для результатів дослідження має правильний вибір критерію ефективності функціонування СМО. Можливі при цьому як загальний базовий, так і допоміжні критерії ефективності. Система обслуговування в умовах конкуренції та економічних методів господарювання повинна бути прибутковою не тільки самому підприємству утилізації, а й вигідною для клієнтів. Зазначеним вимогам в якості загального економічного критерію оптимальності відповідає мінімум суми втрат від простоїв у взаємному очікуванні обслуговуваних машин, які доставляють техніку на утилізацію та обслуговуючого технологічного обладнання підприємства у вигляді (грн/год):

, (2.3)

де m0, n0 - середня кількість обслуговуваних машин які простоюють та обслуговуючого обладнання підприємства;

Ст, Сn - відповідно вартість однієї години простою машини, що обслуговується та обслуговуючого обладнання, грн/год.

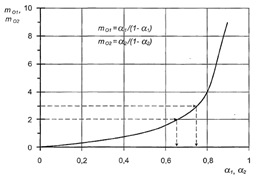
При одній обслуговуючій установці замість n0 слід підставити ймовірність його простою Р0. Значення m0, n0 і Р0 визначаються методами теорії масового обслуговування для СМО відповідного типу у вигляді функцій:

 (2.4)

де m, n - відповідно загальна кількість обслуговуваних об'єктів і об ¬ обслуговуючого обладнання; α= λ/μ.

Варіюючи кількістю m і n при відомих значеннях щільності потоку вимог λ та інтенсивності їх обслуговування μ, можна визначити опоптимальні mopt і nopt, при яких втрати Сmn в (2.3) досягають мінімуму.

В якості допоміжних показників теорії СМО можна визначити також коефіцієнти простою обслуговуваних машин Кт= m0/m і обслуговуючих агрегатів Кn=n0/n. За значеннями m0 і n0 можна визначити виробничі площі для очікування і для розміщення обладнання, а також кількість персоналу в цехах переробних підприємств. Через λ і μ , можна визначити також бажані параметри потоку вимог і обслуговуючих ланок, включаючи кількість людей і відповідного оболаднання, а також ефективні радіуси використання стаціонарних і пересувних засобів обслуговування. Щільність потоку вимог і інтенсивність обслуговування по кожному виду обслуговування визначається у вигляді співвідношення:

 (2.5)

де tn - середній проміжок часу між двома вимогами, год;

tоб - середня тривалість одного обслуговування, год.

Викладені наукові принципи забезпечують комплексне рішення завдань ефективного використання засобів технологічного оснащення в умовах підприємств (пунктів) збору, транспортування і переробки відходів.

2.3 Основні елементи технологічного процесу утилізації

Вивчення наукової, нормативної та технічної літератури говорить про те, що в області розробки технології, проектування та організації процесу утилізації немає уніфікованих понять і визначень. Описаня основних понять і визначень, які використовуються у цій роботі, приводиться нижче.

Операцією називається частина технологічного процесу, яка здійснюється на одному робочому місці, одним або декількомами робітниками над певним предметом праці. З трудової точки зору операції можуть бути розчленовані на прийоми і рухи.

Прийом - це закінчена дія робочого, що характеризується визначеним цільовим призначенням і незмінністю матеріальних чинників. Розрізняють основні і допоміжні прийоми. Основний - це такий прийом, цільове призначення якої є кінцева мета даної операції. Допоміжний - це прийом, цільове призначення якої полягає в забезпеченні можливості виконання основного прийому. Кожний прийом складається з певних трудових рухів, під якими розуміється частина прийома, яка здійснюється при дотику робочого до предмета або його переміщення. Цільове призначення трудового руху: взяти, перемістити, опустити (рис. 2.4). Машинні операції (наприклад, верстатні ) прийнято розділяти на переходи і проходи (рис. 2.5).

Норма часу (трудомісткість операції) визначає необхідними затрати часу одного або групи робітників на виконання виробничої операції або одиниці роботи в даних організаційно-технічних умовах. До нормованого корисного часу відносяться всі категорії витрат робочого часу, що включаються до складу технічно обгрунтованої норми на операцію, необхідного для виконання роботи у відповідності з установленним технологічним процесом.

Рис. 2.4. Схема розчленування ручного технологічного процеса на складові елементи

Рис. 2.5. Схема розчленування машинного трудового процесу на складові елементи

Нормований час складається з наступних категорій: підготовчо-заключного часу; оперативного часу; часу обслуговування робочого місця; часу перерв на відпочинку і природні потреби. Підготовчо-заключним часом називається час, затраченим робочим на ознайомлення з дорученою роботою, на підготовку до цієї роботи і виконання дій, пов'язаних з її закінченням. Оперативним часом називається час, протягом якого здійснюється виробнича робота, безпосередньо спрямована на виконання даного завдання (операції). Оперативний час підрозділяється на основний (в верстатних і слюсарно- розбірних операціях він ще називається технологічним) і допоміжний час.

Основним (технологічним) часом називається час, протягом якого безпосередньо здійснюється мета технологічного процесу, тобто при утилізації відбувається зміна зовнішнього вигляду, форми, розмірів і властивостей оброблюваних предметів праці, зміна взаємного розташування деталей і т.д. (час розбирання вузла або агрегату автомобіля).

Ручним основний час називається в тому випадку, коли мета технологічного процесу здійснюється робочим за допомогою інструменту, без участі машини або механізму. Допоміжним часом називають час, що витрачається робітником на певні дії, пов'язані із забезпеченням виконання основної (технологічної) роботи. Для персоналу поста утилізації допоміжний час включає час на установку і кріплення автомобіля на підйомному механізмі або на естакаді поста, зняття кузова або його залишків після обробки або розбирання.

Часом обслуговування робочого місця називається час, витрачений робітником на догляд за робочим місцем протягом робочої зміни з метою підтримки його в належному стані та постійній готовності для виконання заданої роботи. Він поділяється на час організаційного обслуговування і час технічного обслуговування.

У організаційне обслуговування включаються витрати часу по догляду за робочим місцем. Для механізованих постів утилізації організаційне обслуговування включає час на чистку, змащування обладнання та інші аналогічні витрати. У технічне обслуговування включають затрати часу за поточним догляду за навантажувачем, підйомником.

Час перерв на відпочинок і природні потреби витрачається на фізіологічно необхідний відпочинок і на природні потреби.

Першим етапом досліджень в області проектування технологічних процесів утилізації стала розробка технологічної схеми підприємства утилізації автотракторної техніки (рис. 2.6), що включає максимально можливу кількість технологічних операцій, що дозволяють найбільш повно витягти з утилізованої

Рис. 2.6. Технологічна схема роботи підприєств утилізації

техніки придатні агрегати і вузли, а також виділити окремі групи матеріалів або однотипних виробів для подальшої переробки. В даний час технологічний ланцюжок утилізації техніки зводиться до наступних позицій: осушення агрегатів автомобіля, демонтаж коліс і акумуляторної батареї. Після цих операцій автомобіль надходить у прес або в шредер. Після пресування виділеня неметалічних матеріалів з брикету неможливо, після шредирування маса надходить на сепарацію, хоча у вітчизняній практиці зустрічатися ручне сортування, аналогічній тій, яка застосовувається на мусоросортувальних станціях. Це найбільш проста, але в той же час найбільш шкідлива з погляду ресурсозбереження та екологічності, оскільки велика кількість матеріалів в даний час вважаються нерентабельними надходять на захоронення.

Розроблена нами схема роботи орієнтована на найбільш складні з точки зору утилізації об'єкти - сучасні легкові автомобілі.

Стосовно до більшості вітчизняних легкових автомобілів, всієї комерційної вантажної техніки, сільськогосподарських машин можна застосувати спрощену схему, яка характеризується відсутністю постів (робіт) знешкодження піротехнічних пристроїв, решта види робіт необхідні. Для машин, якi характеризуються крім сильного фізичного зносу деталей і вузлів ще і моральним старінням доцільно виключити з переліку робіт дефектацію, оскільки навіть придатні деталі будуть не затребувані споживачами. Однак, ця рекомендація та перелік машин, які можна визнати морально застарілими може сильно варіюватися залежно від регіону та його економічного добробуту.

Наприклад, пропонуючи демонтовані деталі та вузли зі списаної техніки слід звертати увагу на такі рекомендації: максимально допустимий вік автомобіля в Україні - 10...11 років все, що випущено до 2002 року, варто перевіряти особливо ретельно, а збут може знаходити тільки в регіонах. До числа не відповідаючим сучасним технічним нормативам відносяться автомобілі, випущені в Європейському Союзі до 1996 року, в Китаї та Індії - до 2004 року включно, в Кореї та Канаді - до 2000 року, в Японії - до 1997 року і в Малайзії - до 2002 року . Всі ці автомобілі зараз не відповідають технічному регламенту "Про вимоги до викидів автомобільною технікою, що випускається в обіг на території України, шкідливих (забруднюючих) речовин". Стосовно до комерційної техніки граничними роками випуск , старше яких дефектувати техніку і виділяти придатні або придатні для відновлення агрегати вважається недоцільним або невигідним являються 1995...1999. Для комерційної техніки найбільш актуальна група - машини молодше 1999 року, найбільш затребувані запчастини з іноземних автомобілів, а серед них лідирують Volvo і Scania.

Таким чином, резюмуючи , можна зробити наступний принциповий висновок: технологічний процес утилізації включає три основних етапи:

. приймання та діагностування (пост № 1);

. осушка, демонтаж агрегатів і кузовних елементів (пост № 2);

. детальне розбирання агрегатів і вузлів, сортування за видами матеріалів, подрібнення (дільничні роботи).

Роботу постів підприємства можна представити як двофазну систему масового обслуговування і використовуючи її математичний апарат, визначати основні характеристики з урахуванням виробничо-технологічних умов. Роботу дільниць підприємства доцільно представити як систему масового обслуговування з накопичувачем вимог. Така модель буде справедлива вцілому для підприємства утилізації та контактуючих з ним власників машин, або дилерських центрів у рамках програми утилізації .

.4 Моделювання та оптимізація режиму роботи технологічної лінії утилізації

.4.1 Оптимізація постових робіт

Перед початком проведення демонтажу агрегатів і вузлів з поступивших на утилізацію техніки виробляється її експертна оцінка спеціалістом підприємства. Встановлюється фірма-виробник, її модель, вік і технічний стан, включаючи огляд окремих компонентів. З врахуванням проведеного огляду розробляється індивідуальна схема розбирання.

У загальному випадку для вдосконалення робіт з утилізації машин, а також скорочення втрат із-за безповоротньо втрачених, але при цьому придатних до подальшого використання або відновленню агрегатів і вузлів у пропонованій нами технологічному ланцюжку передбачено проведення вхідного поелементного діагностування.

Таким чином, послідовне проведення робіт з діагностування та утилізації являє собою двофазну систему сервісного обслуговування, на яку надходить ймовірнісний потік відповідних вимог з господарств або від індивідуальних власників техніки.

На підставі безлічі раніше наведених досліджень в області технічного сервісу, включаючи [47, 17], потоки вимог на обслуговування розглянутого виду можна прийняти як Пуассонівсі у вигляді (2.1).

Відповідно для вирішення завдань обслуговування і в даному випадку можна застосовувати методи ТМО. Слід також зазначити, що чисельними розрахунками доведено, що при інших законах розподілу щільності потоку вимог з достатньою точністю можна застосовувати методи ТМО [34].

Оскільки замовлення на утилізацію в загальному випадку надходять від безлічі господарств, торгово-обслуговуючих підприємств і власників машин, то потік вимог на обслуговування буде необмеженим.

Утворення черги можливе як перед першою фазою на діагностування, так і перед другою - безпосередньо на утилізацію. Відповідна принципова схема функціонування розімкнутої двохфазної СМО з необмеженим потоком вимог з очікуванням перед першою і другою фазами представлена на рис. 2.7.

Рис. 2.7. Принципова схема роботи двофазної СМО з очікуванням

Середня щільність потоку вимог на обслуговування машин λ та інтенсівності їх обслуговування μ1, μ2 в обох фазах визначається за аналогією з попередніми випадками:

 (2.6)

де  - середній проміжок часу між моментами надходження машин на утилізацію, год;

 - середня тривалість одного обслуговування в першій і другій фазі, 1/год.

Критерій оптимальності для визначення параметрів технологічних процесів доцільно вибрати таким, щоб він враховував економічні інтереси як підприємства утилізації, так і замовників його послуг. Таким критерієм є мінімум суми втрат від простоїв машин, що обслуговуються, а також постів діагностування та утилізації у вигляді:

, (2.7)

де тО1, тО2 - кількість обслуговуваємих і очікуючих обслуговування машин перед першою (діагностування) і другою (утилізація) фазами (постами);

Ст - середня вартість однієї години (дня) простою машини , грн;

PО1, РО2 - ймовірність простою відповідно першої і другої фаз (постів);

СФ1, СФ2 - вартість однієї години (дня) простою відповідно першої і другої фаз (постів), грн/год.

Для забезпечення стабільності результатів оптимізації в даному випадку доцільно перейти до безрозмірних відносним затратам:

 (2.8)

Значення тО1, тО2, РО1, РО2 визначається загальними методами ТМО з рівності [12]:

 (2.9)

 (2.10)

 (2.11)

 (2.12)

 (2.13)

Можна визначити також ймовірність одночасного простою постів діагностики та утилізації через відсутність вимог по формулі:

 (2.14)

Значення λ, μ1, μ2 визначаються за хронометражних та статистичними даними для відповідних технологічних операцій в технології утилізації та діагностування, а також марок автомобілів, тракторів і складних сільськогосподарських машин типу зернозбиральних комбайнів.

Якщо пости діагностування та утилізації протягом робочого дня обслуговують різні марки машин з різними переліками необхідних операцій (залежно від початкового ступеня розукомплектування), то вводиться умовне обслуговування, за яке може бути прийнято, наприклад утилізація трудомісткістю, рівний середньої трудомісткості для конкретного типу машин. Для проведення утилізації, а також відповідного діагностування використовуються як стаціонарні пости у виробничому корпусах переробного підприємства, так і пересувні (мобільні) засоби (про пересувний пост утилізації нижче). При цьому в кожному конконкретному випадку вибирається такий засіб обслуговування з наявних, який забезпечує більш високу якість робіт при менших витратах часу і коштів.

Одним із завдань рішення за критерієм (2.5) є обгрунтування оптимальних співвідношень між щільністю потоку вимог λ та інтенсивностями обслуговування μ1 і μ2 за рахунок відповідного підбору кількості постів і майстрів-діагностів, а також слюсарів-розбирачів (для проведеня утилізації).

Крім розглянутого загального спільного вирішення задач діагностування та утилізації машин можливі й інші окремі рішення з урахуванням виробничих особливостей.

.4.2 Дільничні роботи

Під дільничними роботами на підприємстві маються на увазі: детальне розбирання агрегатів і вузлів з одночасною дефектацією або сортування за видами матеріалів; демонтаж шин з дисків, сортування пластикових деталей за матеріалами, подрібнення або пресування остова (кузова) машини. Для дільничних робіт підприємства утилізації техніки може бути характерна особливість, яка полягає в тому, що агрегати і вузли, підрозібрані кузова, демонтовані пластикові деталі, можуть попередньо збиратися, а потім приймаються групами до переробки: агрегати і вузли.

Принципова схема роботи такої СМО представлена на рис. 2.8 і відповідні математичні моделі будуть справедливі в даному випадку.

До використання подібної математичної моделі прийшов автор роботи, однак він поширював її вцілому на роботу всього підприємств, не звернувши уваги безпосередньо на технологічні процеси.

Для розглянутої системи, такі замовлення попередньо збираються на складі, майданчику очікування і т.д. і через відповідні періоди подаються на обробку. При цьому проміжки часу, через які замовлення подаються на обробку та їх кількість у кожній партії є ймовірними. Таким чином, має місце система масового обслуговування з відмовами за наявності накопичувача заявок, схема якої показана на рис. 2.8 .

Рис. 2.8. Принципова схема роботи СМО з відмовами, при наявності накопичувача вимог (заказів)

За критерій оптимальності доцільно прийняти мінімум суми втрат прибутку від ухода замовлень при заповненому накопичувачі і від простою як накопичувача, так і технологічної лінії (устаткування) через відсутність замовлень при недостатній місткості накопичувача:

, (2.15)

де СРН - сума втрат за одиницю часу, грн/год, грн/день;

zРО - кількість втрачених замовлень за одиницю часу, 1/год, 1/день;

СР - середній прибуток, пов'язаний з виконанням одного замовлення;

СН, СТ - втрати відповідно від простою накопичувача і технологічної лінії, грн/год, грн/день;

РНО - ймовірність відсутності замовлень в накопичувачі.

Значення zРО і РНО визначаються відповідно до загальних методик ТМО з рівностей:

, (2.16)

Підставивши значення zРО в (2.15), отримаємо розгорнуте вираження критерія оптимальності у функції інтенсивності обслуговування і за аналогією з (2.5) перейдемо до відносних затратат:

 (2.17)

Значення РОТК і РНО визначаються загальними методами ТМО у вигляді:

 , (2.18)

 (2.19)

де n - місткість накопичувача за кількістю замовлень;  .

Розгорнуте вираження критерію оптимальності відповідно прийме вигляд:

 (2.20)

За критерієм оптимальності (2.20) чисельним рішенням можна визначити необхідні оптимальні співвідношення між щільністю потоку вимог λopt, інтенсивністю їх обслуговування μopt і місткістю накопичувача nopt.

При спрощених оперативних розрахунках можна задатися в (2.19) найбільш допустимим значенням ймовірності відмови РОТК=РОТКД і розрахувати відповідну раціональну місткість накопичувача за кількістю nр вимог за формулою:

 (2.21)

Певне значення критерія оптимальності (2.21) при РОТК =РОТКД отримаємо в вигляді:

 (2.22)

За критерієм (2.22) при  можна визначити оптимальне поєднання щільності потоку вимог λopt і інтенсивності обслуговування μ у вигляді:

 (2.23)

Отримані закономірності дозволяють забезпечувати оптимальні показники роботи сервісного відділу сервісного центру з накопичувачем вимог.

Підставивши в (2.20) отримані оптимальні поєднання РОТКД, , можна визначити оптимальну місткість накопичувача nopt по кількості вимог:

 (2.24)

.4.3 Особливості праці персоналу, задіяного в технологічних процесах утилізації

У характері праці робітників, зайнятих утилізацією техніки, багато специфічного, таких елементів, які майже не зустрічаються у інших категорій робітників. Насамперед, це високий відсоток ручної праці, рівень механізації праці на цих роботах не перевищує 12...15 %.

Найбільш масовими розбірними зєднаннями є різьбові, які складають 70...80 % від всіх з'єднань автомобіля. Їх розбирання роблять за допомогою ручного або механізованого інструменту.

Кожен робочий пост (робоче місце) згідно з технологічними картами і технічним умовам оснащують універсальним спеціальним і нестандартним обладнанням, інструментами і пристосуваннями. Вибір номенклатури та кількості інструменту проводиться по табелю технологічного обладнання та інструменту, довідників, інструкцій з поточного та капітального ремонту, де вказані рекомендовані набори в залежності від типу рухомого складу і розміру підприємства. Зрозуміло, в нашій країні ніяких рекомендацій з оснащення підприємств не розробляли і навіть не планувалося. Склад рекомендованих наборів характеризуєтся наявністю ключів , необхідних для роботи з усіма роз'ємними з'єднаннями на моделях, які потенційно можуть потрапити на утилізацію.

При цьому розбирання техніки, яка відпрацювла свій термін повинна відбуватися швидко і технологічно ефективно. Час на розбирання автомобіля визначається особливостями його конструкції, конкретними елементами кріплень вузлів, деталей і компонентів, технічною оснащеністю підприємства, наявністю інструкцій з проведення розбирання конкретного виду техніки, його технічним станом і низкою інших причин. За статистикою європейських підприємств по демонтажу та утилізації автомобілів близько 35 % операцій пов'язано з відгвинчуванням різьбових з'єднань, на що витрачається близько 60 % часу [120].

Поряд з особливостями кріпильних елементів економічна ефективність утилізації автомобілів безпосередньо пов'язана з часом на осушення всіх рідин і демонтаж деталей автомобіля, провідні європейські автомобілебудівники останнім часом стали приділяти цим питанням дуже серйозну увагу. При збільшенні часу, що витрачається на осушення і демонтаж агрегатів зі списаної техніки, значно зростає повна вартість її рециклінгу та утилізації.

Аналіз рекомендованих схем і послідовностей розбирання старих автомобілів, складених різними фірмами виробниками легкових автомобілів, показав, що, незважаючи на різні індивідуальні особливості, основні процедури та операції з демонтажу автомобілів аналогічні для більшості легкових автомобілів [114]. Для прискорення демонтажу допускається застосування відрізного механізованого інструменту і газо-електрозварювального устаткування при забезпеченні вимог пожежної безпеки. Різні експлуатаційні рідини повинні зливатися в різні ємності (контейнери). При зливі експлуатаційних рідин і демонтажі піротехнічних систем (подушки безпеки) дотримуються повишених запобіжних заходів. Кожне підприємство з демонтажу та обробці старих автомобілів може дотримуватися рекомендованих схем або вибрати свою, відповідно до реалізованими їх цілями і завданнями.


Таблиця 2.1. Класифікація кріпильних з'єднань автомобільних компонентів

1. Швидкорозємні зєднання

Магнітне, "липучка", засувка, зажим, кріплення в % або кут обертання, "кнопка", застібка, кліпси, штифт

2. Роз'ємне зєднання

Гвинт, болт, гайка зі зручними головками одного типорозміру під інструмент і доступність для електро/пневмоінструмента. Адгезійне зєднання (зклеювання), що дозволяє бистро розділити без застосування інструмента


Гвинт, болт, гайка з головками декількох типорозмірів, які потребують заміни інструмента, з доступностью для електро/пневмо-інструменту


Гвинт, болт, гайка з головками декількох типорозмірів, які потребують заміни інструмента, з утрудненою доступностью для електро/пневмо-інструменту

3. Нерозємні зєднання

Заклепка, пайка, зварювання, спінювання¸термопосадка, пресова посадка


Розбирання агрегатів, вузлів проводиться в суворій послідовності, яка передбачена технологічним процесом, із застосуванням необхідного обладнання, пристроїв та інструменту. Технологічний процес розбирання будь-якої машини складається з елементарних прийомів, таких як: відкручування гайок, вивертання болтів, вивертання шпильок, зняття кришок і т.д. В якості технічної документації використовуються технологічні карти (операційні і постові), де записаний весь процес впливу на автомобіль або його агрегат, вказані в певній послідовності операції, їх складові частини, професія виконавців, їх кваліфікація і місця знаходження, інструмент і технологічне оснащення, норми часу, технічні умови та вказівки.

Норма часу складається з норми підготовчо-заключного часу і норми штучного часу. До складу норми штучного часу входять: основний час, допоміжний час, час обслуговування робочого місця, час перерв на відпочинок і природні потреби. У відповідності зі структурною побудовою розрізняють три типи норм: диференційовані, укрупнені та типові. На підприємствах найчастіше використовують укруплені норми часу, які встановлюють не на окрему операцію, а на комплекс невеликих операцій, пов'язаних між собою в технологічному або організаційному відношенні.

Технічно обгрунтована норма часу складається з технічно обгрунтованої норми підготовчо-заключного часу і технічно обгрунтованої норми штучного часу. До складу технічно обгрунтованої норми штучного часу Ш) входять: основний час О), допоміжний час В), час обслуговування робочого місця (ТОБС) час перерв на відпочинок і природні потреби (ТОТД).

Технічно обгрунтовану норму штучного часу в загальному вигляді визначають за формулою:

ТШ = ТО + ТВ + ТОБС + ТОТД , (2.25)

Час на обслуговування робочого місця, відпочинок і природні потреби робочого зазвичай обчислюється у відсотках від оперативного часу:

 

ТОП = ТО+ ТВ, (2.26)

де ТОП - оперативний час, хв, тоді технічно обгрунтовану норму штучного часу визначають за формулою:

 (2.27)

де - аобс час на обслуговування робочого місця у відсотках від оперативного часу:

 (2.28)

авід -час перерв на відпочинок і природні потреби робітника в процентах від оперативного часу [88]:

 ( 2.29)

При наявності нормативів часу на елементарні прийоми завдання встановлення витрат часу на використання інструменту зводиться до розчленування операції розбирання машин, на прийоми, які виконуються одним інструментом, визначенню за таблицями нормативів витрат часу на виконання кожного прийому, коригуванні їх за допомогою коефіцієнтів і підсумовування часу виконання прийомів, що виконують одним інструментом.

Методика поелементного нормування [14] здійснюється через таблиці нормативів витрат часу на виконання розбірних прийомів. У нормативних таблицях наведено штучний час на виконання кожного прийому. При користуванні нормативними таблицями, відхилення від нормальних умов роботи повинні бути враховані шляхом множення табличного часу на поправочні коефіцієнти.

Остаточно формулу для розрахунку часу на розбирання можна представити в наступному вигляді:

, (2.30)

де Тр - витрати часу на розбирання, розраховані за нормативними таблицями,

КП.Р. - коефіцієнт технологічних перерв при розбиранні.

Критерієм оптимальності при розробці технологічних процесів утилізації може служити мінімум часу на розбирання одиниці техніки

Відповідно, якщо за основу визначення тривалості розбиральних операцій брати нормативні таблиці, то реальним дієвим способом зменшення фактичного часу демонтажу можна вважати зниження коефіцієнта технологічних перерв при роботі.

Досягти цієї мети можна оптимізуючи робоче місце виконавця, удосконаливши набір використовуваного обладнання та інструменту при одночасних мінімальних фінансових витратах.

Наприклад, зміна пози виконавця при виконанні однієї і тієї ж роботи знижує продуктивність, при розрахунку нормативів необхідно їх коригування на робочу позу. Після того, як проведено коригування на фактичні умови роботи і позу виконавця, преступають до коригування по виду операції. Далі підсумовують час виконання прийомів одним інструментом по зняттю агрегату (приладу, деталі). Наступним етапом відбувається підсумовування часу використання, частоти використання та універсальності інструменту по всіх демонтажних роботам за досліджуваний період і будуються діаграми, на основі яких визначається перелік необхідного інструменту. Діаграми часу і частоти використання інструменту є сума всіх прийомів і частоти використання одного інструмента за досліджуваний період (зміну, місяць і т.д.). Діаграми універсальності інструменту показує кількість операцій, в яких бере участь даний інструмент. Заключним етапом є перерозподіл інструменту по групах розміщення або заміна ряду найменувань інструменту одним, що допускає руйнування деяких деталей при демонтажі.

Робоче місце має створювати необхідні умови для ефективних, економних і простих робочих рухів. Для успішного рішеня цього завдання необхідно враховувати дані біомеханіки, яка вивчає на основі законів механіки активні рухи людини, виходячи з анатомо-фізіологічних особливостей його організму. Інструменти і матеріали на робочому місці слід розташовувати перед працівником по дузі так, щоб він легко міг дістати кожен предмет і по найкоротшому шляху перемістити його до місця наступного дії. Щоб уникнути зайвих рухів всі інструменти і матеріали розміщують там, де вони будуть використані. Оптимальним вважається робочий простір, обмежений дугами, який описуються руками робітника при обертанні в ліктьовому суглобі, максимальними-дугами, які описуються витягнутими руками при їх повороті в плечовому суглобі (рис. 2.9).

Ергономікою сформульовано декілька принципів розміщення предметів у робочому просторі. Всі ці принципи характеризують загальне правило, відповідно до якого предмети повинні розташовуватися відповідно з логікою діяльності людини. Американський вчений Е.Дж. Мак-Кормік виділяє п'ять таких принципів:

. Принцип функціональної організації або групування предметів (приладів, інструментів, матеріалів) за їх значимістю;

. Принцип значущості, коли найбільш важливі предмети розміщують в зоні найкращого сприйняття;

. Принцип оптимального розташування, коли розташування кожного предмета залежить від його особливостей;

. Принцип послідовного використання;

. Принцип тривалості використання, що вимагає, щоб найбільш часто вживані елементи містилися в найзручніших місцях.

Рис. 2.9. Основні розміри робочої зони

Всі п'ять принципів слід застосовувати в комплексі. Спираючись на фактичні дані і використовуючи ці принципи весь інструмент можна поділити на дві групи: інструмент розташований "поруч" (у інструментальніном ящику) і розташований "далеко" (у робочому шафі або инструментальном відділенні).

Аналіз типових поз виконавців дозволяє нам підійти до вирішення питання оптимізації робочого поста, на якому проводитимуться роботи з осушення агрегатів, демонтажу агрегатів і вузлів, елементів кузова. Виконання поста заплановано таким чином, що немає необхідності в наявності додаткових підйомних механізмів, та обладнаних приміщень, в той же час на ньому можлива реалізація досягнень ергономіки та оптимізації праці виконавців.

Рис. 2.10. Приклади організації робочих місць

При цьому забезпечується виконання вимог Санітарно-епідеміологічні правила СП 2.2.2.1327-03 "Гігієнічні вимоги до організації технологічних процесів , виробничого обладнання та робочого інструменту", введених в дію з 25 червня 2003 року.

Згідно з цим документом, розробка нових технологічних просів та виробничого обладнання утилізації техніки повинна забезчити: заміну технологічних процесів та операцій, пов'язаних з можливим надходженням небезпечних і шкідливих виробничих факторів, процесами та операціями, при яких зазначені фактори відсутні або мають допустимі параметри; обмеження вмісту домішок шкідливих речовин у вихідній сировині і кінцевих продуктах; застосування технологій виробництва, що виключають безпосередній контакт працюючих з шкідливими виробничими факторами; застосування у виробничому обладнанні конструктивних рішень і засобів захисту, спрямованих на зменшення інтенсивності виділення і локалізацію шкідливих виробничих факторів; дотримання вимог ергономіки і технічної естетики до виробчого обладнанню та ергономічних вимог до організації робочих місць і трудового процесу; механізацію та автоматизацію вантажно-розвантажувальних робіт, способів транспортування сировинних матеріалів, готової продукції і відходів виробництва.

При розробці, організації та веденні технологічних процесів повинні бути передбачені заходи щодо охорони навколишнього середовища, в тому числі: впровадження безвідходної і маловідходної технології; уловлювання та очищення технологічних і вентиляційних викидів; очищення і знешкодження промислових стоків; своєчасне видалення, знешкодження і утилізація відходів виробництва.

При розробці технологічних процесів і конструюванні обладнання слід передбачати максимальну механізацію переміщення та ремонту обладнання і пов'язаного з ним монтажу і демонтажу і забезпечення оптимальних умов праці при виконанні монтажно-демонтажних і ремонтних робіт.

Розроблена нами концепція мобільного поста демонтажу та утилізації автотракторної техніки була створена у відповідності з цими вимогами

.5 Висновки

. Спеціалізовані відділи підприємства, які утилізують автотракторну техніку, поділяються на чотири основні групи, що включають: торгово-посередницьку діяльність; транспортне обслуговування; безпосередньо утилізацію техніки; консультаційну діяльність. Додатково можуть надаватися послуги з ремонту та відновлення техніки.

. Фактори, які впливають на роботу спеціалізованих відділів підприємства, що утилізує автотракторну техніку, є ймовірностими, тому методи розв'язання відповідних задач також повинні бути ймовірнісними.

. Робота підприємства, що утилізує автотракторну техніку, хатеризується двома основними типами систем масового обслуговування: постові роботи - двофазна система з очікуванням; дільничні роботи - система з накопичувачем вимог.

. Отримані для зазначених типів СМО математичні моделі забезпечують розробку ефективних поєднань вхідного потоку вимог і продуктивності постів і ділянок підприємства, з утилізації автотракторної техніки в будь-яких виробничо-технологічних умовах.

. Підвищення продуктивності праці на постах і дільницях підприємства з утилізації вимагає наявності механізованого інструменту і підйомно-транспортного обладнання, що забезпечує оптимальні пози виконавців при дотриманні санітарно-гігієнічних норм і вимог безпеки праці. Аналіз існуючих прийомів, технологічних процесів, обладнання, що застосовується говорить про істотні резерви підвищення продуктивності персоналу при одночасному більш піовному вилученню матеріалів зі списуваної техніки та повернення у вторинну переробку.

Розділ 3. Експериментальні дослідження

Мета експериментальних досліджень - перевірити розроблені в аналітичних дослідженнях гіпотези про вид математичних моделей, а також визначити числові значення вхідних в них параметрів.

У процесі експериментів вирішувалась задача, пов'язана з перевіркою гіпотези про вид математичних моделей закономірностей взаємодії елементів системи , а також з визначенням параметрів математичних моделей.

.1 Програма та методика експериментальних досліджень

Програма експериментальних досліджень визначається в основному необхідними даними для реалізації математичних моделей, представлених в розділі 2. Враховуючи загальний характер дослідження, не було необхідності тісної прив'язки дослідів до якогось окремого регіону . Виходячи з цього , збір даних і досліди проводилися в різних Житомирської, Київської та Вінницької області.

З урахуванням загального характеру одержуваних результатів були використані також наявні статистичні та нормативні матеріали для вирішення відповідних завдач.

Значний обсяг в отриманих математичних моделях по функціонуванню різних систем масового обслуговування займають хронометражні дані, пов'язані з визначенням щільності потоку вимог і інтенсивності їх обслуговування.

Виходячи з цього, основну частину дослідів складали хронометражні спостереження, пов'язані з розбиранням техніки при утилізації.

У програмі досліджень велику увагу було приділено узагальненню великої кідькості статистичних матеріалів по основних напрямках діяльності підрозділів підприємства, в сферу діяльності якого входить утилізація техніки, що вибула з експлуатації. Намічена програма дослідів в цілому дозволила отримати необхідну вихідну інформацію для практичної реалізації всіх математичних моделей.

Методика експериментальних досліджень включає:

-    планування експерименту;

-        збір даних про кількість автомобілів, які вибувають з експлуатації;

         збір даних про структуру парку та особливості його технічного стану;

         збір даних про необхідний перелік технологічних операцій і особвості їх виконання залежно від типу утилізованої техніки;

         збір даних про тривалість виконання технологічних операцій і факторів, які на них впливають;

         обробку результатів експерименту;

         аналіз результатів експериментів.

.1.1 Планування експерименту

Під плануванням експерименту розуміється складання матриці плану експерименту, визначення необхідного числа даних в кожній точці матриці плану.

Завдання, які вирішуються передбачали пасивний експеримент. Планування експерименту складалося у визначенні числа необхідних вимірювань. При нормальному розподілі число реалізацій розраховується за формулою [94]:

 (3.1)

де v - коефіцієнт варіації вимірюваної величини;

tα - статистика Стьюдента, що залежить від прийнятої довірчої ймовірності α;

Δ - відносна помилка.

Вибірка вважалася представницькою, якщо при відносній помилці 0,10 та ймовірності 0,90 число вимірювань було не менше розрахункового значення n.

У разі, коли попередній аналіз показував, що розподіл істотно відрізняється від нормального, то відносна помилка розраховувалась після вибору відповідного закону розподілу. Якщо вона при ймовірності 0,90 не перевищувала 0,10 то вибірка також вважалася репрезентативною.

.1.2 Методика обробки дослідних та статистичних даних

Для обробки дослідних та статистичних даних використовувалися відомі стандартні методики, тому нижче наводиться лише короткий їх опис.

В основу хронометражних спостережень були покладені методи, викладені в [28].

При обробці дослідних даних використовувалися як методики загального характеру [13, 52, 68, 90], так і спеціалізовані методики які застосовуються для сільськогосподарського виробництва і сільськогосподарської техніки [27, 33, 94, 101].

За результатами основних вимірів будувалися гістограми. Ширина класового інтервалу при цьому визначалася за відомою формулою:

, (3.2)

де Xmax, Xmіn - відповідно максимальне і мінімальне значення величини яку визначають;

тК - число класів у варіаційному ряді.

Число класів у свою чергу визначається на підставі рівностітк:

 (3.3)

де n - число дослідів.

За результатами обробки дослідних даних визначалися такі основні статистичні характеристики вимірюваних величин:

середнє арифметичне значення:

 (3.4)

дисперсія:

 (3.5)

середньоквадратичне відхилення:

 (3.6)

коефіцієнт варіації:

 (3.7)

Кількість класів в гістограмі спрощено визначалося за даними табл. 3.1 відповідно до [56].

Вибраковувати ті результати дослідів, які відхилялися від  на значення, що перевищують ± 3σх.

Окремі дослідні результати визначалися як функції окремих складових виду:

 (3.8)

Абсолютна помилка таких вимірів розраховується за відомою формулою:

 (3.9)

де dti - абсолютна помилка при визначенні величини ti;- число доданків.

Значення абсолютної помилки визначалося у вигляді різниці:

 (3.10)

де  - відповідні показники використовуваного і зразкового приладів.

На підставі (3.9, 3.10) розраховуємо відносну помилку вимірювань:

 (3.11)

При необхідності визначається щільність розподілу як найбільш повної характеристики вимірюваної вірогідною величини. Для найбільш поширеного нормального розподілу щільність визначаєтся з рівності:

 (3.12)

Близькість теоретичних і досвідчених розподілів при необхідностівизначається за критерієм % Пірсона:

 (3.13)

де К - число ступенів свободи;

Р, Р' - відповідно дослідна і теоретична частота.

Розрахункове значення χ2, знайдене за формулою (3.12), порівнюється з критичним значенням χ2кр при 5 %-му рівні значущості (з відповідних довідкових таблиць). За умови χ22кр не відкидається гіпотеза про близькість дослідного розподілу до теоретичного по прийнятому закону.

Описана коротка програма і методика забезпечили отримання необхідних вихідних даних для реалізації наведених у главі 2 математичних моделей.

.2 Зміст експериментальних досліджень

.2.1 Вибір об'єктів утилізації

Для розробки технологій утилізації, орієнтованих на максимально можливе збереження вторинних ресурсів і недопущення їх безповоротної втрати, необхідно мати уявлення про парк вибулої з експлуатації техніки, оскільки її марочний склад, поточний стан принципово впливає на матеріальний склад одержуваної при переробці вторсировини і використовуємі технології утилізації та можливість повторного використання або відновлення агрегатів і вузлів.

У 2013 в трьох населених пунктах нашої країни був проведений аналіз структури вибулої з експлуатації техніки. Перше дослідження було проведено в місті Коростишів Житомирської області. Був проведений аналіз парку автомобілів які вибули з експлуатації. У процесі збору даних фіксувалась не тільки марка автомобіля, але і його стан за зовнішнім виглядом, адресу і особливості розташування щодо шляхів під'їзду. Всього в ході рейду в м. Коростишів було виявлено 206 одиниць автотракторної техніки зовнішній вигляд і стан якої не викликав сумнів у тому, що тривалий час вони не використовувалися за прямим призначенням, в Черняхові 141 одиниця, у смт. Головино - 45 одиниць.

Виявлення вибулої з експлуатації техніки на території населених пунктів є заходом у достатній мірі суб'єктивним, оскільки в кожному конкретному випадку потрібен індивідуальний підхід до аналізу об'єкта.

Рис. 3.1. Структура парку техніки яка вибула з експлуатації а) - в Житомирській області; б) - в м. Києві

Проте, на підставі досвіду проведення рейдів можна виділити основні фактори, на які слід звертати увагу: розташування об'єкта; зовнішній вигляд об'єкта; стан території навколо об'єкта; тривалість стоянки об'єкта на одному і тому ж місці (використання цього фактора можливо тільки при регулярному огляді території).

Рис. 3.2 Структура парка по марках

Рис. 3.3. Структура парку по технічному стану кузова

Аналізуючи дані рейду можна змоделювати середньостатестичну одиницю техніки, яка вибула з експлуатації. Це легковий автомобіль малого класу, вироблений в Росії або Україні 15-20 років тому, стан його кузова, як головного елемента конструкції дозволяє відновлення, але це буде достатньо витратним, а отже недоцільним. Найбільш яскраві представники ВАЗ - 2101...2107, ВАЗ-2108...2109, АЗЛК-2140...2141, ЗАЗ-1102, ГАЗ-24...31029, тобто в основному автомобілі малого класу (приблизно 70%). Стосовно до вантажної техніки - типові представники - УАЗ-3301, ГАЗ-52, ГАЗ-53, ГАЗ-3307. По сільськогосподарській техніці в лідерах МТЗ-50, МТЗ-80, ЮМЗ-6, Т-40.

.2.2 Технологічний процес утилізації

Перед початком проведення демонтажу автомобіля здійснюється його експертна оцінка фахівцем. Встановлюється фірма-виробник автомобіля, його модель, вік і технічний стан, включаючи огляд окремих компонентів. З урахуванням проведеного огляду старого автомобіля розробляється індивідуальна схема розбирання даного автомобіля. При розробці такої схеми використовується інформація, що міститься в системі IDIS [114] або додатково передана виробником автомобіля у вигляді паперової документації або в електронному вигляді (для вітчизняних автомобілів, за винятком найсучасніших ВАЗ-1118, ВАЗ-2170, ВАЗ-2123, відсутній). Аналогом цієї інфомаційної бази можуть служити "Комплекси робіт з розбирання та збирання автомобілів", хоча напряму інформацію з утилізації вони не несуть. Крім того, складена схема розбирання автомобіля враховує існуючу в регіоні (країні) інфраструктуру з вторинної переробки деталей і матеріалів, а також наявні відомості про потреби в запчастинах. Саме демонтаж, відновлення у разі потреби і реалізація на вторинному ринку старих запчастин зі списаних автомобілів становлять вагому долю доходу для підприємств зі збору та переробки автомобілів. Основним джерелом доходів є мало зношені двигуни і коробки передач, неушкоджені бампери і скло, електронні блоки і датчики. Осоливо це стосується автомобілів, пошкоджених в результаті аварій, паводків, пожеж, що мають проблеми з документами. Однак більшість автомобілів, що мають 15... 20-річний термін служби, як показує практика, не приносять прибутку, так як мають відємну вартість. Відповідно до вимог Директиви 2000/53/ЕС, з кожного старого автомобіля на підприємстві утилізації мають бути демонтовані і вилучені певні компоненти, що входять в обов'язковий список. У цей перелік обов'язкових для демонтажу з автомобіля компонентів входять:

всі експлуатаційні рідини;

акумуляторні батареї;

масляні фільтри;

баки для рідкого палива;

балони для стисненого та скрапленого газу;

шини ;

каталітичні нейтралізатори;

свинцеві балансувальні тягарці;

подушки безпеки;

всі компоненти, що містять ртуть.

Враховуючи, що злив всіх експлуатаційних рідин, демонтаж вибухонебезпечних піротехнічних елементів і компонентів, що містять ртуть, не тільки потребують витрат часу, а й також мають підвищені вимоги до виконання робіт з причин безпеки. Виконання вимог та рекомендацій Директиви в повному обсязі - справа досить трудомістка, обтяжлива і накладна. Причому необхідно намагатися виробляти всі ці роботи швидко і ефективно, незважаючи на корозію, вклавшись з причин економічної ефективності в дуже нетривалий час, з тим щоб витрати на демонтаж та обробку старого автомобіля не перевищували 700 грн. Інакше розбирання та утилізація автомобілів стане нерентабельною.

На базі двох підприємств була проаналізувана ступінь придатності для демонтажу та утилізації ряду моделей автомобілів ВАЗ, АЗЛК, ГАЗ. Порівнювалися деталі кріплення, час на проведення операцій по демонтажу деталей, вузлів, агрегатів. Порівнювався і аналізувалося як загальний час, витрачений на повне розбирання автомобілів, так і результати розбирання окремих деталей, компонентів, вузлів.

Рис. 3.4. Обєкти утилізації

Автомобіль є об'єктом праці виконавця, що виконує операції демонтажу, але не надає йому якогось постійного місця роботи, такого як, наприклад у робітника - верстатника або збирача на ковеєрі. Виконуючи робочі рухи, виконавець приймає значну кількість поз, здійснює пересування навіть у межах однієї операції. Оцінка трудомісткості такого робочого процесу представляє значні труднощі тому, що доступність і зручність виконання навіть одноіменних операцій на різних автомобілях неоднакові. Доступність і зручність виконання операцій утилізації залежать також і від антропометричних характеристик виконавця. Цьому необхідно приділяти увагу при постановці та проведенні дослідних спостережень для порівняння їх результатів.

Як показують дослідні спостереження, доступність виконання кожної операції - це властивість конструкції, що характеризується головним чином обсягом попередніх демонтажних робіт для її виконання.

Зручність виконання операції - це властивість конструкції, яка визначає можливість досягнення мети з мінімальними витратами основного часу за рахунок пози виконавця, поєднань рухів рук, необхідності переміщень виконавця або об'єкта впливів, допомоги іншого викоконавця та інших факторів.

Таблиця 3.1 Оцінка зручності роботи виконавця за результатами дослідних спостережень


Коефічцієнт зручності при експертних оцінках виконавців


зручно

не зовсім

незручно

Положення корпуса: стоя в зігнутому положені сидячи на корточках стоя з піднятими руками лежачим

 1 - - - -

 - 0,8 0,7 - -

 - - - 0,5 0,25

Положення виконавця відносно обєкта дії: зовнішнє введення в обєкт руки або інструмента введення в обєкт частини корпуса

 1 - -

 - 0,5 -

 - - 0,4

Необхідне переміщення виконавця: відсутнє до 1 м більше 1 м

 1 - -

 - 0,75 0,6

 - - -

Поєднання рухів: робота однією рукою поворот ключа можливий на 180º і більше на 120...180º на 60...120º на 60º необхідна підтримка іншим ключом необхідна підтримка іншого виконавця робота двумя руками робота руками з корпусом

 - 1 - - - - - - -

 - - 0,9 0,85 0,75 0,7 - 0,7 -

 - - - - - - 0,5 - 0,35

Візуальний контроль обєкта: вільний і постійний можливість по завершеню робіт відсутній (на дотик)

 1 - -

 - 0,75 -

 - - 0,5

Щільність зєднувальних деталей або деталі та інструменту: вільна (без натисканняч) туга (легке натискання) щільна (значне зусилля)

  1 - -

  - 0,8 -

  - - 0,35


У ході проведення досліджень оцінювалася оперативна трудомісткість робіт утилізації техніки після списання на підприємстві, а також деякі операції поточного ремонту (як правило, розбирально- складальні). Для кількісної оцінки використовується метод фіксації часу виконання операцій при спостереженні (хронометраж).

У результаті аналізу досліджень з оцінки оперативної трудомісткості встановлено, що технологія утилізації складається з двох видів операцій: обов'язкових і можливих. Операції обов'язкові виконуються при утилізації повнокомплектного автомобіля, мають лише виконавську частину на відміну від операцій можливих, що складаються з контрольної та виконавської частин. Контрольна потрібно для оцінки можливої технології утилізації у випадку якщо автомобіль має значний ступінь розукомплектованості, значні корозійні пошкодження, які перешкоджають його розбиранню, механічні пошкодження і деформації, викликані ударними впливами в ДТП або при транспортуванні.

Тривалість виконання операцій обох видів може значно змінюватися випадковим чином через різний технічний стан вузлів і деталей в момент проведення робіт. Тривалість виконання обов'язкових операцій, як правило, підпорядковується нормальному закону розподілу з коефіцієнтом варіації близько 0,26, а можливих операцій - у більшості випадків розподіляється за законом Вейбулла з коефіцієнтом варіації 0,6...0,8.

Техніка, яку утилізують, була розроблена в основному, 20 і більше років назад. Тоді питання придатності техніки до демонтажу та рециклінгу практично не розглядалися, що і відбилося на результатах. З точки зору утилізації деякі операції можна було проводити простіше, швидше і ефективніше при використанні руйнівних методів демонтажу з використанням слюсарного інструменту (молоток, кльоші ) або гідравлічних ножиць. Однак, в рамках цього дослідження такі методи не застосовувались з організаційних та фінансових міркувань.

Зафіксований повний час розбирання не можна вважати, таким що рекомендуються при виконанні реального демонтажу автомобілів для цілей утилізації.

Найбільш незадовільні результати були отримані при проведенні зливу всіх робочих рідин. Злив трудомісткий, відбувається розбризкування рідин, зливні отвори не завжди знаходяться в нижній точці системи, утруднений одночасний злив рідин, понад 10% рідини залишаються в системах.

В результаті виконаної роботи були відзначені також деякі інші недоліки досліджуваних автомобілів, в результаті яких демонтаж окремих компонентів проводився з великою трудомісткістю, наприклад, панелі приладів, обігрівача, колектора та ін. Для кріплення деяких деталей використовуються болти з головками різного розміру, які вимагають заміни інструменту при операціях демонтажу кожної деталі. Найбільше нарікання викликає кріплення з хрестоподібним шліцом, яке часто зрізується інструментом.

З урахуванням спрощення деяких операцій демонтажу, але при зберіганні основних агрегатів і вузлів розроблена типова послідовність дій персоналу, спрямована на утилізацію легкового автомобіля. Приклад рекомендованої послідовності операцій для повнокомплектного легкового автомобіля наведено в табл. 3.5.

Тривалість виконання будь-якої з обраних конкретних операцій має помітні відхилення від свого середнього значення. Це пояснюється різним обсягом роботи при проведенні операції, який може змінюватися, насамперед, внаслідок зносу з'єднань і механізмів, кородуванню сполучених деталей та інших випадкових станів вузла.

Також в процесі проведення експерементальних досліджень розглядався детально процес виконання конкретної операції. Відомо, що операція складається з суми декількох (6...18 і більше) взаємно незалежних елементів-переходів.

Тривалість виконання будь-якого з них практично не впливає на тривалість наступного, а частка кожного з доданків досить мала по відношенню до суми . Причому, здебільшого збільшення (зменшення) трудомісткості операцій залежить від обсягу робіт, повязаних із зміною предмета прикладання праці.

Незалежність операцій та їх тривалості дає підстави вважати, що весь обсяг робіт буде підкорятися нормальному закону розподілу і виникає можливість ймовірнісного прогнозування оперативної трудомісткості утилізації автомобілів по точках прикладання дій.

Виходячи з цих визначень, по обширним результатам дослідів підраховані величини середньої тривалості утилізації для різних типів техніки. Демонтаж зарубіжних автомобілів має певні особливості і іноді проводиться з більшою трудомісткістю, ніж для відчизняних автомобілів, що пов'язано з додатковим оснащенням автомобілів гідропідсилювачем керма, ко ндиціонером, стельовим люком, антиблокувальною системою, подушками безпеки і деякими іншими компонентами, які підвищують комфорт і безпеку автомобілів. На автомобілях європейської збірки широко використовуються гвинти і болти з внутрішнім шестигранним профілем. Такий профіль має переваги перед хрестоподібним - більше зусилля, яке передається, стійкість до зриву. У порівнянні з болтами під звичайний торцевий ключ внутрішній шестигранник дозволяє використовувати більш компактний інструмент , що особливо важливо у важкодоступних місцях.

Таблиця 3.2 Середній час, який затрачений на демонтаж на прикладі легкого автомобіля малого класу

Операція

Частка часу, %

Час, хв

1

Демонтаж 4-х коліс

1,3

7

2

Демонтаж акумуляторної батареї

0,4

2

3

Злив рідин

10,2

46

4

Демонтаж ходової частини і гальмівної системи автомобіля

9,5

43

5

Демонтаж силового агрегату, КП і системи випуска відпрацьованих газів

19,7

89

6

Демонтаж рульового механізму

19,1

86

7

Демонтаж екстер'єру кузова і дверей

21,9

99

8

Демонтаж інтер'єру кузова і опалення

17,9

81


Всього

100

453


Таблиця 3.3 Середній час, який затрачений на демонтаж на прикладі колісного трактора класу 0,9...1,4

Операція

Частка часу, %

Час, хв

1

Злив рідин

9,8

65

2

Демонтаж акумуляторної батареї

1,3

9

3

Демонтаж капота., привода рульового керування, гідропідсилювача керма

11,8

78

4

Демонтаж радіатора система мащення

1,8

12

5

Демонтаж радіатора системи охолодження

1,9

13

6

Демонтаж силового агрегату з піврамою

32,5

216

7

Демонтаж 4-х коліс з розбиранням

28,9

192

8

Демонтаж передньої осі (переднього ведучого моста)

2,7

18

9

Демонтаж кабіни

5,6

37

10

Демонтаж КПП (при знятій кабіні і передній полурамі з двигуном)

3,7

25


Всього

100

665


Таблиця 3.4 Середній час, який затрачений на демонтаж на прикладі ванатжного автомобіля малого класу

Операція

Частка часу, %

Час, хв

1

Демонтаж 6-ти коліс

4,7

53

2

Демонтаж акумуляторної батареї

0,7

6

3

Злив рідин

5,9

56

4

Демонтаж паливного бака

2,8

27

5

Демонтаж капота

2,3

22

6

Демонтаж радіатора

3,2

30

7

Демонтаж карданого вала

1,5

14

8

Демонтаж силового агрегата, КПП і системи випуска відпрацьованих газів

18,6

176

9

Демонтаж передньої осі

9,5

90

10

Демонтаж рульового механізма

6,9

65

11

Демонтаж заднього моста

10,6

100

12

Демонтаж кабіни та кузова

15,9

150

13

Демонтаж екстерєра кузова і дверей

8,3

78

14

Демонтаж інтерєра кузова і опалювача

9,1

85


Всього

100

952


Таблиця 3.5. Тривалісь розбирання (без детального розбирання агрегатів та вузлів

Час повного розбирання, год

ВАЗ-2104

7,9

ВАЗ-21053

7,5

ВАЗ-2106

7,4

ВАЗ-2107

7,5

ВАЗ-2109

5,5

ВАЗ-2110

6,1

ВАЗ-2112

6,2

ВАЗ-2121

9,5

АЗЛК-21412

9,8

ГАЗ-3302

15,8

ГАЗ-53А

14,3

МТЗ-80, ЮМЗ-6

11,1

Таблиця 3.6. Рекомендована послідовність операцій для розбирання передньоприводного легкового автомобіля

1.

Встановити автомобільна робочий почт (підйомник), включити першу передачу, загальмувати ручним гальмом.

2.

Відкрити двері, капот і багажник.

3.

Сняти АКБ, відєднати розйоми.

4.

Зняти кришку вмикання сигнала і кожухи рульового вала.

5.

Зняти газогенератор подушки безпеки (при наявності), зняти рульове колесо.

6.

Зняти капот і ущільнювачі капота.

7.

Викрути пробки розширювального бачка системи охолодження і наповнювального бачка тормозної системи. Осушити наповнювальний бачок.

8.

Зняти бачок омивача, відрізати шланги і злити омиваючу рідину.

9.

Зняти пробку маслозаливної горловини на кришці головки блока.

10.

Зняти колпаки коліс, колеса, включаючи запасне. Розібрати колеса.

11.

Зняти задні барабани.

12.

Відрізати або перекусити шланги і трубки підводу гальмівної рідини до тормозних циліндрів всіх коліс і прокачати гальмівну систему до повної зупинки витікання гальмівної рідини.

13.

Зняти бризговик двигуна.

14.

Відвернути зливні пробки радіатора і блока циліндрів, злити охолоджуючу рідину.

15

Обрізати шланги і провода паливного бака, зняти бак і злити залишки палива, зняти електробензонасос (при наявності).

16.

Злити масло з картера двигуна, коробки передач.

17.

Зняти передній бампер, щитки крил, накладки блок-фар.

18.

Зняти прийомну трубу і додатковий глушник.

19.

Відєднати тягу привода коробки передач від шарніра штока вибора передач.

20.

Відкрутити реактивну тягу від коробки передач.

21.

Відкрутити болти кріплення шарових пальців до поворотних кулаків.

22.

Вивести приводи коліс із шестерень півосей диференціала (або відєднати внутрішні ШРУСи від фланців КПП). Зняти приводи коліс.

23.

Зняти облицювання радіатора.

24.

Відєднати пучки проводів від блок-фар. Відрізати трубки циліндрів гідрокоректора.

25.

Зняти блок-фари і відєднати розсіювачі фар.

26.

Зняти додаткові показчики поворотів.

27.

Зняти розширювальний бачок і бачок склоомивача.

28.

Зняти повітряний фільтр, вийняти фільтруючий елемент.

29.

Зняти електровентилятор.

30.

Зняти радіатор і злити залишки охолджуючої рідини, розібрати радіатор (при різності матеріалів бачків і теплообміника)

31.

Відєднати від двигуна дроти електрообладнання, паливні, вакуумні і охолоджуючі шланги.

32.

Зняти склоочисники і розібрати.

33.

Зняти монтажний блок. Відєднати троси привода акселератора і зчеплення.

34.

Відкрутити кріплення підвіски двигуна, лівої і правої опори. Зняти силовий агрегат через пройом капота (застосовуючи вантажопідйомний механізм).

35.

Відєднати і зняти стартер, генератор, розподільник запалювання і бензонасос (при наявності), кронштейни підвіски двигуна, захисний кожух паса привода і пас привода ГРМ.

36.

Відєднати коробку передач, зняти диски зчеплення і маховик.

37.

Зняти зовнішнє облицювання порогів, молдінги, задній спойлер.

38.

Зняти кармани, накладки і обивку дверей, ручки склопідйомників.

39.

Зняти ущільнювачі дверей, вікон.

40.

Зняти скло,яке опускається з дверей в зборі з обоймою, відєднати обойму.

41.

Зняти бокові і внутрішні зеркала, протисонцеві козирки, верхні поручні.

42.

Зняти передні і задні сидіння в зборі, розібрати.

43.

Відкрутити болти кріплення передніх і задніх пасів безпеки. Витягнути паски із інерційних катушок і відрізати. Зняти пластикове облицювання катушок.

44.

Зняти облицювання центральних стійок, стійок вітрового вікна, передні і задніх порогів.

45.

Зняти обивки стійок і задню полицю.

46.

Зняти ліхтар індивідуального опалення і плафон салона.

47.

Зняти обшивку даху.

48.

Зняти гідрокоректор з трубками.

49.

Зняти чехол ричага перемикання передач і рукоятку.

50.

Зняти обшивку тунеля підлоги

51.

Зняти повітропроводи обігріву ніг.

52.

Зняти щиток комбінації приборів і комбінацію приборів, зняти перемикачі.

53.

Зняти і розібрати панель приладів.

54.

Відєднати жгути проводів, зняти контролер (при наявності) і кронштейт.

55.

Зняти склоочисник в зборі.

56.

Зняти повітропроводи, зняти і розібрати опалювач.

57.

Зняти коврик і термошумоізоляцію салона.

58.

Зняти обшивку багажника.

59.

Зняти фонарі зовнішні і внутрішні.

60.

Зняти задній бампер.

61.

Зняти термоізоляцію багажника.

62.

Зняти вітрове і заднє скло (зрізати для вклеєних)

63.

Зняти скло боковин

64.

Видалити із моторного відсіку, салона, багажника пучки проводів.

65.

Відсортувати демонтовані деталі по призначеню і групам матеріалів.


Також в зарубіжних автомобілях дуже широко застосовується профіль головок болтів під інструмент з наконечниками "TORX". Перевага кріплення з таким профілем полягає в більшій площі контактного зацеплення в порівнянні з профілем під хрестоподібну викрутку. Такий болт зручніше закручувати, і він витримує великі навантаження від інструменту без деформації профілю. Новий профіль забезпечує також краще попадання в нього інструменту і його утримання.

3.3 Висновки

Експериментальні дослідження підтвердили можливість використання СМО для моделювання технологічних процесів утилізації автотракторної техніки і допомогли сформувати інформаційну базу для використання в математичних моделях роботи постів і ділянок підприємства.

Розділ 4. Результати моделювання і оптимізації технологічних процесів утиліації техніки

.1 Результати моделювання та оптимізації постових робіт з утилізації автотракторної техніки

У межах даної задачі розглядається послідовне проходження утилізованої техніки через пости діагностування і розбирання на вузли та агрегати. Як показано в розділі 2, таку систему роботи постів в рамках технологічної лінії утилізації можна розглядати як двухфазну СМО з очікуванням, на яку надходить практично необмежений потік вимог (рис. 2.7). Оскільки для різних регіонів може відрізнятися структура парку утилізованої техніки (частка сільськогосподарської та спеціальної може варіюватися від 5 до 17% від усього потоку) на підприємствах можуть утилізуватися найрізноманітніші типи машин, включаючи трактори, складні сільськогосподарські машини, автомобілі та інші, то основне завдання моделювання та оптимізації полягає в отриманні таких узагальнених закономірностей і результатів, які можна було б застосовувати до будь-яких типів машин в будь-яких умовах відповідно до рівностей (2.5)...(2.10) . Слід зазначити, що почали роботу в 203 році центри утилізації розраховані на роботу тільки з легковими і вантажними автомобілями.

Оскільки в даний час відсутні економічні показники, пов'язані з визначенням Ст, Сф і Сф2 у вираженні критерію оптимальності (2.5), то можна поки обмежитися визначенням інших технічних показників функціонування двухфазної системи діагностування і утилізації. До таких показників відносяться число об'єктів, що знаходяться відповідно в першій фазі (на діагностуванні ) mО1 і в другій фазі (на утилізації ) mО2, а також відповідні ймовірності простою вказаних фаз PО1 і РО2 залежно від співвідношень α1=λ/μ1 і α2=λ/μ2 між щільністю потоку вимог λ і интенсивностями μ1 і μ2 обслуговування в кожній фазі.

Узагальнений графік залежності mО1 і тО2 відповідно від α1 і α2 наведено на рис. 4.1. За графіком залежно від α1 можна визначити зна чення mО1 відповідно до формули (2.6) і тО2 залежно від α2. Значення mО1 і тО2 із ростом відповідно α1 і α2 зростають по гіперболічній залежності.

Якщо задатися прийнятними значеннями mО1 і тО2 з урахуванням виробнчих площ, то можна визначити відповідні значення α1 і α2. Потім при заданій щільності потоку вимог λ можна визначити необхідні інтенсивності обслуговування μ =λО/αі μ =λО/α.

Наприклад, якщо в кожній фазі можна розташувати тільки дві машини (mО1=2, тО2=2), то як показано на рис. 4.1, отримаємо mО1=тО2=0,65.

При щільності потоку вимог λО=1,2 одержимо необхідні інтенсивності обслуговування μ = μ = λО/α = 1,2/0,65 = l,84.

Рис. 4.1. Узагальнений графік залежностей mО1, від α1 і тО2 від α2.

Аналогічне рішення можна виконати і при різних значеннях mО1 і тО2.

При відомих значеннях α1 і α2 за формулами (2.8) і (2.9) отримаємо відповідні ймовірності простою поста діагностування PО1 і утилізації РО2. Відповідні графіки залежностей PО1 і РО2 від α1 і α2 приведені на рис. 4.2.

Наприклад, для першого випадку при α = α = отримаємо PО1= РО2 = 0,277, як показано на рис. 4.2 стрілками.

Рис. 4.2. Узагальнені графіки залежностей PО1 і РО2 від α1 і α2

При α= 0,65, α = 0,745 для визначення PО1 значення α відкладаємо по осі абсцис, а α - на відповідному промені. При цьому одержимо PО1=0,26. Аналогічним чином при визначенні РО2 значення α=0,745 беремо по осі абсцис, a α=0,65 - по променю. При цьому одержимо, як показано штриховими лініями , РО2 = 0,166. На підставі наведених залежностей можна вирішити і зворотню задачу (синтезу або проектування) постів діагностування та утилізації. Для цього на рис. 4.2 задаємося бажаними значеннями PО1 і РО2 і визначаємо відповідні їм α і α, потім на рис. 4.1 отримаємо mО1 і тО2 і відповідповідні їм виробничі площі.

.2 Результати моделювання та оптимізації дільничних робіт з утилізації автотракторної техніки

При роботі з накопичувачем замовлень у вигляді демонтованих вузлів або агрегатів машин під nP слід розуміти місткість накопичувача за кількістю прийнятих на ділянці до детального розбирання вузлів або агрегатів, а в разі запрошення на підприємство технологічних установок - кількість підрозбірних кузовів і кістяків для подрібнення або пресування.

У виробничих умовах оперативні розрахунки з достатньою точністю можна проводити за формулами з отриманням відповідних оптимальних параметрів ділянок розглянутого виду. При цьому шляхом відповідного вибору можливою ймовірностю відмови в обслуговуванні РОТКД можна врахувати й інші виробничо-технологічні чинники місцевого характеру. Попередньо можна припустити, що часткове СР/(СНТ) буде менше одиниці або не набагато буде більше одиниці. Оскільки РОТКД<1 то в розрахунках наближено можна прийняти найбільш ймовірний діапазон зміни узагальненого параметра:

 (4.1)

де tОБС - середня тривалість обслуговування всієї групи вимог, які прийняті за один раз з накопичувача.

Графіки відповідних залежностей nР=fn, РОТК) для всього можливого діапазону зміни α і РОТК представлені на рис. 4.4.

Рис. 4.3. Графік залежності  від густини потоку вимог

Рис. 4.4. Залежність ємності накопичувача від α і ймовірності відмови РОТК

З отриманих залежностей наочно видно, що зі збільшенням α необхідна місткість накопичувача nР зростає майже за лінійним законом. При цьому із зменшенням ймовірності відмови РОТК в обслуговуванні значення nР при одному і тому ж α збільшується з наростаючим темпом.

Для зручності аналізу і остаточного вибору значення місткості накопичувача nР від РОТК в діапазоні значень α = 0,5...4 розроблена табл. 4.1

Таблиця 4.1 Залежності ємності накопичувача nP від параметра α при різних значеннях РОТК

α

nP при РОТК


0,01

0,02

0,05

0,1

0,15

0,2

0,3

0,5

4

3

2,5

1,5

1

-

-

1,0

7

5

4

3

2

1

-

1,5

9

7

5

4

3

2

1

2,0

11

9

7

5

4

3

2

2,5

14

11

9

7

5

4

3

3,0

16

14

11

9

7

5

4

3,5

19

16

14

11

9

7

5

4,0

21

19

16

14

11

9

7


З представленої таблиці видно, що зі більшенням α, необхідна місткість накопичувача nР зростає майже за лінійним законом. При цьому із зменшенням імовірності відмови РОТК в обслуговуванні значення nР при одному і тому ж α збільшується з наростаючим темпом.

При значеннях РОТК<0,15 необхідна місткість накопичувача nР різко зростає, відповідно збільшуються витрати, пов'язані з ростом nР. З іншого боку при РОТК>0,15 зростають збитки переробного підприємства через втрату замовлень, що є менш критичним. З урахуванням витрат, пов'язаних з простоєм технологічної лінії і недоотриманого прибутку від втрати замовлень, як раціональну область для вибору значень РОТК а , відповідно і nР пропонується діапазон значень РОТК =0,15...0,20.

4.3 Технологічне оснащення постів утилізації

Розбирання техніки повинно відбуватися швидко і технологічно ефективно. Час на розбирання визначається особливостями конструкції утилізуємої техніки, конкретними елементами кріплення вузлів, деталей і компонентів, технічною оснащеністю підприємства, наявністю інструкцій з проведення розбирання конкретного виду техніки, її технічним станом і низкою інших причин .

Експериментальні дослідження технологічних процесів утилізації та їх імітація в умовах підприємств технічного сервісу дозволила перейти до питання оптимальної оснащеності персоналу знаряддями праці і в першу чергу звернути увагу на підйомно-транспортне обладнання, оскільки його відсутність зумовило ті значення часу демонтажу, які були вказані в третьому розділі. Огляд устаткування, призначеного для підйомно- транспортних робіт дозволив розробити концепцію власної оригінальної конструкці поста, заснованої на спарених кранах козлового типу.

Рис. 4.5. Обладнання прототипи для мобільного поста утилізації

В умовах невеликих обсягів утилізації недоцільні значні капіталовкладення в серійне сервісне обладнання у зв'язку з чим була розроблена конструкція мобільного поста утилізації, на якому можливе виконання робіт, пов'язаних з осушенням і демонтажем агрегатів, демонтажем кузовів і кабін. Схематично робота мобільного поста показана на рис. 4.6. Для роботи такого поста відсутня необхідність в автопогрузчику або стаціонарному крановому обладнанні. Для роботи необідний рівний майданчик, що має тверде покриття.

Рис. 4.6. Схема роботи мобільного поста

З використанням мобільного поста можливі демонтажні роботи по вантажних автомобілях, легкових автомобілів і колісним тракторам тягового класу до 1,4. Для більш важкої і великогабаритної техніки доцільніше використання стаціонарного або пересувного кранового обладнання. Використання поста доцільніше поза приміщеннями, що вирішує питання оптимальної освітленості робочого місця і необхідної кратності повітрообміну, оскільки перед демонтажними операціями проводять операції осушки, що супроводжуються виділенням парів палива.

4.4 Еколого-економічна оцінка збитку, що завдається навколишньому середовищу від незалученості до процесу збору та утилізації автотракторної техніки та її компонентів

Під "еколого-економічним" збитком від генерації забруднень, при викиді забруднень у навколишнє середовище і при впливу забруднень на реципієнтів часто розуміють додаткові витрати, які суспільство (в тому числі фізичні особи) несе при виникненні наслідків від генірації викиду і дії забруднень на реципієнтів. Ці додаткові витрати реально ніколи не бувають відомі в силу багатьох непоборімих обставин. Зокрема, практично неможливо передбачити "натурально -речові" наслідки викиду тієї чи іншої порції полютантів в навколишнє середовище з певного джерела.

У той же час визначення модельних розрахункових аналогів цієї величини, свого роду економічних індексів полютивних навантажень в грошовій формі, не тільки можливо, а й необхідно. Доведеться, однак, змиритися з тим, що в принципі, неможливо встановити наскільки розрахункова величина відрізняється від "реального" економічного збитку, заподіяного забрудненням навколишнього середовища.

Проведемо вивчення та аналіз складових екологічного збитку. Екологічний збиток оцінюється як витрати суспільства, пов'язані зі зміною навколишнього середовища і складається з наступних витрат:

додаткові витрати суспільства у зв'язку із змінами в навколишньому середовищі;

витрати на повернення навколишнього середовища в колишній стан (до забруднення);

витрати на компенсацію ризику для здоров'я людей;

додаткові витрати суспільства у зв'язку з безповоротним вилученням частини дефіцитних природних ресурсів.

Збиток суспільству від забруднення навколишнього середовища проявляється на діяльності окремих об'єктів, що виявляються під його впливом:

населення;

об'єкти житлово-комунального і промислового господарства;

сільськогосподарські угіддя;

водні ресурси;

лісові ресурси.

Для кожного об'єкта впливу враховуються елементи додаткових витрат (табл.4.2.).

Таблиця 4.2 Елементи додаткових витрат із-за забруднення навколишнього середовища

Обєкти впливу

Елементи додаткових витрат

Населення

Медичне обслуговування, оплата лікувальних відпустків, компенсація невиходів на роботу, страхування життя людей, транспортні витрати по доставці в небезпечні зони.

Житлово-комунальне господарство

Ремонт і утримання приміщень, прибирання території, знос робочого одягу, утриманя зелених насаджень, знос транспорта, ремонь і утримання металоконструкцій.

Сільськогосподарські угіддя

Втрати (потенційно можливого) урожаю, транспортні витрати по доставці урожаю.

Вода

Втрати (потенційно можливого) вилова риби, додаткова очистка при забезпечені населення водою.

Лісові пожари

Втрати продуктивності лісу (деревина, ягоди, трава, гриби і т.д.), гасіння пожеж.


Екологічний збиток можна визначати за деталізованими елементами впливу, і укрупнено за сферами впливу. Деталізований розрахунок базується на даних об'єкта-аналога, фактичних статистичних матеріалах, експертних оцінках. При укрупненому розрахунку виділяють три групи сфер впливу (атмосфера, вода, земля), по яких є державні та галузеві узагальнені оцінки питомого збитку.

Пропонується формула узагальненої оцінки збитку, що завдається земельних ресурсам:

 (4.2)

де S - площа порушених земель, га; λ - значимі фактори; φ(λ) - річний нормативний екологічний збиток, грн/га; di(λ) - розрахунковий коефіцієн рекультивації землі без врахування ступеня освоєності території; d2(λ) - Коефіцієнт ступеня освоєності території.

Залежності φ(λ), di(λ) і d2(λ) визначаються нормативними таблицями.

Збиток від викидів в водні обєкти визначаються за формулою:

 (4.3)

де: у - нормативний екологічний збиток, грн/ум.т; k(λ) - безрозмірний коефіцієнт, що залежить від місця розташування водойми на території країни; ai(λ) - показник відносної небезпеки скидання домішок і-го виду у водойму, ум.т/т; т1 - маса скидання домішки і-го виду у водойму, т/рік. Залежності k(λ) і ai(λ) задаються нормативними таблицями.

Аналогічно визначаються і збиток від викидів в атмосферу.

Далі на єтапі оцінки ективності, всі отримані значення рівнів забруднення навколишнього середовища різними речовинами об'єднуються в систему з виділенням різних видів (характеристик) впливу (позитивных або негативних і співідность по відношенню до будь якої речовини, яка прийнята в якості індикатора (табл 4.3).

Таблиця 4.3. Види впливу на навколишнє середовище незадієної в збор і утилізацію техніку

Види впливу

Індикатор ефекта

Фактичні підсумкові результати

Зміни властивостей атмосфери (парниковий ефект)

[CO2 - еквівалент]

СО2, СН4, NOx

Утворення кислотних осадків

[SO2 - еквівалент]

SO3, NOx, NH3, HCl, HF, HS

Удобрення грунту(наземна евтрофікація)

[PO4 - еквівалент]

NOx, NH3

Насичення води добрив

[PO4- еквівалент]

N - вміст, Р - вміст, хімічне споживання кисню, NOx, NH4+

Токсична дія на людину (ризик онкології)

[миш'як - еквівалент]

Аs, Cd, Cr(VI), Ni BaP, діоксин, бензол, поліароматичні вуглеводні


.5 Визначення економічних показників

У цьому підрозділі наведено розрахунок економічної ефективності технологічного проекту модельного підприємства з утилізації техніки за розрахунковий період, тривалістю чотири роки, прийнятий у відповідності з терміном служби устаткування, яке застосовується на виробництві.

Для розробки технічного проекту прийняті наступні вихідні параметри:

1.  Режим роботи підприємства:

     Кількість робочих днів на тиждень - 5 днів.

-        Кількість робочих змін в день - 1 зміна.

         Тривалість робочої зміни - 8 годин.

         Число календарних днів у році - 365 днів.

         Число робочих днів у році - 253 дня.

         Річна виробнича програма - 113 авт./рік.

2.  Фонд робочого часу підприємства:

-    Фрв = 253 дн./рік;

-        Фрв = 253 дн./рік*8год./зм.*1зм.=2024 год./рік.

Сировиною для модельного підприємства будуть укомплектовані і розукомплектовані автомобілі. Підприємство буде здійснювати первинне розбирання техніки (демонтаж вузлів, агрегатів і аксесуарів, злив відпрацьованих рідин) з дотриманням всіх норм і правил з утилізації відходів виробництва.

Готовою продукцією є остови автомобілів, призначені для продажу на підприємства, що займаються подальшою утилізацією (пресування, шредування, переплавлення), агрегати, вузли та аксесуари, які демонтовані з автомобілів і придатні в якості автомобільних запчастин.

В якості основних параметрів, що випускається приймаємо максимальні габарити кузова (для зручності підбору транспортуючого засобу) і корисну вагу металів кузова , супутніх вузлів та агрегатів:

Висота - 1,10м.;

Ширина - 1,62 м.;

Довжина - 4,00 м.;

Вага чорного металу - 560 кг.;

Вага кольорового металу - 40 кг.

 

Ет= РТТ , грн., (4.4)

де РТ - вартісна оцінка результатів; ЗТ - вартісна оцінка витрат.

Вартісна оцінка результатів РТ визначається так:

 (4.5)

де Q - річна виробнича програма; Q=113 авт./рік

Ц - ціна готової продукції з однієї переробної одиниці, грн./авт.;

αt - коефіцієнт приведення:

 (4.6)

де Еn - нормативний коефіцієнт ефективності, Еn = 0,25.

1. рік: α1=1/1,251=0,80;

. рік: α2=1/1,252=0,64;

. рік: α3=1/1,253=0,51;

. рік: α4=1/1,254=0,41;

Проведемо розрахунок ціни готової продукції з одного переробленого автомобіля:

 (4.7)

де Цч.м. - ціна чорного металу:

-    ціна за кілограм (оптова) - 3,5 грн.

-        маса металу - 560 кг; Цч.м.=1960 грн/авт.

Цк.м. - ціна кольорового металу:

-    середня ціна за кілограм - 40 грн.;

-        маса металу - 40 кг Цк.м.= 1600 грн.

Цз.ч. - ціна запасних частин (б/у), Цз.ч. = 9500 грн./авт.

Розрпхункова ціна річної продукції з одного переробленого автомобіля складає:

Ц=1960+1600+1950=13060 грн./авт.

Звідси вартісна оцінка результатів Рт:

 (4.8)

1-      рік: РТ1=113*13060*0,8=1180642 грн;

-        рік: РТ1=113*13060*0,64=944499,2 грн;

-        рік: РТ1=113*13060*0,51=752647,8грн;

-        рік: РТ1=113*13060*0,41=605069,8 грн;

РТ =3482840,8 грн.

Затрати визначаються за формулою:

 (4.9)

де Lt - ліквідаційне сальдо;

αt - коефіцієнт приведення;

К - апітальні вкладення;

И - експлутаційні затрати.

Основні складові затрат приведені в табл. 4.3...4.7.

Таблиця 4.3 Капітальні вкладення

Найменування

Кількість

Потужність, кВт

Балансова вартість, грн




на од.

всього

на од.

всього

1

2

3

4

5

6

7

1

Автономная станція високого тиску

2



100000

200000

2

Гідравлічні ножиці

2



50000

100000

3

Електротельфер 4.702

2

0,5

1,0

5000

10000

4

Рухома каретка

2

0,06

0,12

5000

10000

5

Електрозварювальний апарат

1

6,0

6,0

3500

3500

6

УГМ

2

0,5

1

2000

4000

7

Інструмент набор універсальний

4



4000

16000

8

Верстак універсальний

2



1500

3000

9

Компютер

1

0,15

0,15

16000

16000


Всього


7,06


187000

362500


Таблиця 4.4 Структура штатів і заробітня плата персоналу

Професія, посада

Кіль-кість

Розряд

Година ставка, грн

Ставка за пит. об. робіт грн./люд-год

Зарплата за рік всього, грн

Основні працівники

1

Бригадир

1

5


75

71850

2

Автослюсар

1

4


60

57480

3

Автослюсар

1

4


60

57480


Всього осн. роб.

3




186810

Допоміжні робітники

4

Слюсар-ремонтник

1

4

20


40480


Всього доп. роб

1




40480



4




227290


Таблиця 4.5 Розрахунок споживання енергоносіїв

Найменування

Нав-ння, кВт

Коеф-т викор.

Фонд часу (год/рік)

Витрата енергії (кВт)

Тариф (грн/кВт)

Сума (грн/год)


Електроенергія в т.ч.:

44,26


2024

79656,36

0,64

50980,05


Обладнання







1

Електротельфер

0,5

0,6

2024

607,2

0,64

388,60

2

Рухома каретка

0,06

0,6

2024

72,86

0,64

46,62

3

Електрозварювальний апарат

6,0

0,3

2024

3643,2

0,64

2331,64

4

УГМ

0,5

0,1

2024

101,2

0,64

64,76

5

Компьютер

0,15

0,8

2024

242,88

0,64

155,44


Освітлення (світлова енергія)

37,5

1,0

2024

74989,02

0,64

47992,97


Таблиця 4.6 Розрахунок потреби в спецодягу

Найменування

Кількість

Потреба на рік на 1 прац.

Норма витрат, шт/год

Ціна

Сума грн/год

Сума грн/міс

1

Костюм х/б

4

1

4

672

2688

224

2

Черевики

4

1

4

884

3536

294,7

3

Рукавиці

4

12

48

16

768

64

4

Перчатки

4

12

48

10

480

40

5

Зварювальна маска

2

1

2

255

510

42,5

6

Захисні окуляри

4

1

4

250

1000

83,3


Всього





8982

748,5


Таблиця 4.7 Річні затрати підприємства

Вид затрат

Сума (грн/рік)

Оплата праці

227290

Затрати на утримання та експлуатацію обладнання

349294,35

Загальновиробничі затрати

165425,17

Загальногосподарські витрати

30977,1

Всього

772986,62*4=3091946,46грн


Економічний ефект буде складати:

 

ЕТ=3482840,8-3091946,46=390894,32

Строк окупності капітальних вкадів:

Ток=362500*4/390894,32=3,7 років

Підприємство з утилізації автотракторної техніки працюватиме ефективно, приносячи прибуток його власникові і забезпечуючи стабільну заробітну плату всім працівникам.

4.6 Висновки

1. Визначено оптимальне значення щільності потоку вимог λopt=2,25 для підприємств з утилізації автотракторної техніки.

2. Розроблено конструкцію мобільного поста утилізації техніки, що поэднуэ в собі можливості підйомно-транспортного обладнання та елементів конвеєра підприємства утилізації. Розбірна конструкція дозволяє організовувати безпечні процеси утилізації безпосередньо на території підприємств-клієнтів.

. За допомогою організації еколого-орієнтованої ресурсосберігаючої технології утилізації запобігли збитку, що наноситься земельним ресурсам несанкціонованими звалищами не залученою в процес збору та утилізації техніки.

. Економічний ефект від можливого практичного застосування проектних пропозицій складе 390894,32 грн за розрахунковий період, що дорівнює чотирьом рокам в цінах 2013 року.

Загальні висновки

. Понад 25 % маси легкового автомобіля і 10 % маси сільськогосподарської та комерційної техніки, що включає матеріали 1 і 2 групи небезпеки, надходять на захоронення в рамках існуючих в нашій країні технологічних схем утилізації автотракторної техніки. При ремонті автотракторної техніки використовується менше 50 % відновлених або повторно використаних деталей.

. Дослідженнями встановлено, що домінуюче положення в потоці техніки, що вимагає утилізації займають легкові автомобілі - 75 %; частка вантажних автомобілів становить 17...18 %; сільськогосподарська та спеціальна техніка - близько 5...7 %.

. Раціональне використання демонтованих агрегатів і вузлів визначає необхідність включення в технологічний процес утилізації операції діагностування, за підсумками якої приймається рішення про прийоми, що використовуються в наступних технологічних операціях.

. Ефективна взаємопов'язана робота засобів діагностування та утилізації машин в умовах підприємств технічного сервісу досягається шляхом представлення у вигляді двофазної системи масового обслуговування, для якої встановлені раціональні поєднання щільності потоку вимог X і інтенсивностей їх обслуговування.

. Визначено тривалість виконання технологічних операцій, що входять в технологічний процес утилізації автотракторної техніки. Виявлено основні недоліки утилізуємої техніки, що викликають затримки на постах при демонтажі агрегатів, вузлів і деталей, які викликають необхідність частої зміни інструменту або зміни технології демонтажу через руйнування кріпильних елементів. Тривалість демонтажу агрегатів і вузлів варіюється в діапазоні від 5,5 до 16 годин залежно від виду техніки.

. Ефективна робота дільниць детального розбирання агрегатів і вузлів, орендованих підприємством мобільних підпресовщиків або подрібнювачів кузовів, які виконують роботи з попереднім накопиченням заявок забезпечується при ймовірності відмови в обслуговуванні в діапазоні РОТК =0,15...0,20 і місткості накопичувача nР =3...4 при поєднані щільності потоку вимог і інтенсивності їх обслуговування α=2, nР = 5...7 при α = 3, nР=9..11 при nР = 4. При щільності потоку вимог α≤1 і РОТК>0,2 організація накопичувача недоцільна.

7. Розроблено конструкцію мобільного поста утилізації техніки, що поєднує в собі можливості підйомно-транспортного обладнання та елементів конвеєра підприємства утилізації. Розроблена конструкція дозволяє організовувати безпечні процеси утилізації безпосередньо на території підприємств-клієнтів.

. За допомогою організації еколого-орієнтованої ресурсосберігаючої технології утилізації запобігли збитку, що наноситься земельним ресурсам несанкціонованими звалищами не залученою в процес збору та утилізації техніки.

. Економічний ефект від можливого практичного застосування проектних пропозицій складе 390894,32 грн за розрахунковий період, що дорівнює чотирьом рокам в цінах 2013 року.

Використана література

1.  Автоотходы в дело. //Авторынок. 2008. № 20. С. 12

2.  Алдошин Н.В., Кулдошина В.В., Джабраилов Л.М., Журилин А.Н. Маршрутизация автомобильных перевозок. Учебное пособие - М.: УМЦ "Триада", 2008. - 40 с.

3.  Алдошин Н.В., Митягин Г.Е., Кулдошина В.В., Джабраилов Л.М. Выбывшая из эксплуатации техника - источник вторичных ресурсов //Техника и оборудование для села. - 2008. № 5. С. 42 - 43

4.  Альяс Г.Э., Супрун В.Н. Кто виноват и что делать? // Вторичные металлы. 2008. №6. С. 36-38

5.Анискин В.И., Барзилович Е.Ю., Полищук В.М. Вероятностные методы решения задач эксплуатации сельскохозяйственной техники. - М.: Сборник трудов ВИМ.Т.128. - 1992. С. 11-77

6. Астанин В.К. Построение гибкой производственной системы утилизации отслуживших сельскохозяйственных пластмассовых изделий // Вестник ФГОУ ВПО МГАУ. - 2008. № 2. С. 104-108

7. Астанин В.К. Обоснование ресурсосберегающих технологий и средств утилизации полимерных отходов сельскохозяйственных предприятий. Автореферат диссертации на соискание ученой степени доктора технических наук 05.20.03 - М.: МГАУ, - 2009. 30 с.

8.Астрецов В.М., Пожидаев В.В., Полищук О.А., Корнеев В.Г. Территориально-производственные комплексы сбора, транспортировки, переработки и захоронениякоммунальных отходов. - М.: ЦПП МО, 2007. - 38 с.

9.Буцко Ф. Экологическое обслуживание. // Новости авторемонта. - 2006. № 8. С. 20-23

10.  Васляев М.А. Разработка единой эколого-ориентированной системы сбора и утилизации вышедших из эксплуатации автотранспортных средств. Диссертация на соискание ученой степени кандидата экономических наук 08.00.05 - М.: ГУУ, - 2007. 205 с.

11.  Вентцель Е.С. Исследование операций. - М.: Советское радио, 1972. - 552

12.  Вентцель Е.С. Теория вероятностей. - М.: Высшая школа, 1999. - 576 с.

13.  Веденяпин Г.В. Общая методика экспериментального исследования и обработки опытных данных. - М.: Колос, 1973. - 100 с.

14.  Власов Ю.А., Тищенко Н.Т. Основы проектирования и эксплуатации технологического оборудования. - Томск: Издательство Томского архитектурно-строительного университета, 2004. - 277 с.

15.  Воробьев-Обухов А. Ломать - не строить? // За рулем. - 2006. № 5. С. 210

16.  Данынина В.А. Развитие производства автотранспортных средств в России в посткризисный период. Диссертация на соискание ученой степени кандидата экономических наук 08.00.05 - М.: МГТУ "МАМИ", 2009. - 165 с.

17.  Джабраилов Л.М. Совершенствование транспортного обслуживания пунктов утилизации автотракторной техники. Диссертация на соискание ученой степени кандидата технических наук 05.20.03 - М.: МГАУ, 2009. - 166 с.

18.Дидманидзе О.Н., Митягин Г.Е., Кулдошина В.В. Общие принципы эффективного использования средств технологического оснащения территориально-производственных комплексов сбора, транспортировки и переработки отходов // Международный научный журнал. - 2007. № 4. С. 53 - 42

19. Дьяченко И.И. Принципы упорядочения обращения с отходами на этапе эксплуатации автотранспортных средств. Диссертации на соискание ученой степени кандидата технических наук 05.22.10 - М.: МАДИ (ГТУ), 2002. - 143

20. Гатаулин A.M. Система прикладных статистико-математических методов обработки экспериментальных данных в сельском хозяйстве. Часть 1,2. - М.: МСХА, 1992. - 159 с, 192 с.

21. Герасимов М.В. Авторециклинг в Москве: перспективы развития. // Твердые бытовые отходы. 2007. - № 10. С. 52 - 61

22. Глухов В.В., Лисочкина Т.В., Некрасова Т.И. Экономические основы экологии. - СПб.: Специальная литература, 1997.

23. ГОСТ 18978-73. Лом и отходы цветных металлов и сплавов. Термины и определения. - М.: ИПК Издательство стандартов, 1997. - 17 с.

24. Груздев А. Разборка у крепостной стены // Правильный автосервис. -2009. - №11. - С. 7-10

25. Данилова Е. Грузовой украинский авторынок - рай для переработчика // The Chemical Journal. - 2008. № 5. - С. 18 - 20

26. Девяткин В.В. Отходы как вторичные материальные ресурсы // Экология производства. -2007. № 2. - С. 44 - 51

27. Длин A.M. Математическая статистика в технике. - М.: Советская наука, 1988. - 466 с.

28. Доспехов Б.А. Методика полевого опыта. - М.: Агропромиздат, 1985. - 351 с.

29. Европейская практика обращения с отходами: проблемы, решения, перспективы. - С.-Пб.: НП "Региональное Энергетическое Партнерство", 2005. - 75 с.

30. Ерохин СМ. Современные тенденции воспроизводства технической базы сельского хозяйства. // Механизация и электрификация сельского хозяйства. - 2007. - № 2. - С. 2-5.

31. Есин И. Один день с эвакуатором. // За рулем Москва. - 2007. - № 37. - С. 24 - 25.

32.  Журилин А.Н. Методика определения характеристик предприятия утилизации выбывшей из эксплуатации техники // Вестник ФГОУ ВПО МГАУ. 2009. - № 4. - С. 104-108.

33.  Завалишин Ф.С., Мощнев М.Г. Методы исследований по механизации сельскохозяйственного производства. - М.: Колос, 1982. - 231 с.

34.  Зангиев А.А., Дидманидзе О.Н., Митягин Г.Е. Повышение эффективности работы сервисных служб машинно-технологических станций. - М.: Агроконсалт, - 2001. - 108 с.

35.  Захаров A.M. Прогрессивные методы сбора вторичного сырья от населения. - М.: ЦНИИТЭИМС, 1980. - 26 с.

37.  Ищенко А.А. Авторециклинг: проблемы, решения, организационное и законодательное обеспечение // Вторичные металлы. - 2008. - № 6. - С. 62 - 64.

38.  Калинин М. Стандарт есть стандарт // Новости авторемонта. 2007. № 9. С. 10 - 12.

39.  Картошкин А.П., Желнов В.В. Состояние и проблемы утилизации отработанных смазочных масел в Киеве - К.: Сб. материалов международной научно-практической конференции "Теория и практика повышения качества и рационального использования масел, смазочных материалов и технических жидкостей". - 2007. - С. 42 - 50

40.  Кибартаса А. Авторециклинг в странах Балтии. // Рециклинг отходов. 2007. - № 2. - С. 19 - 21

41.  Колегаев Р.Н. Определение наивыгоднейших сроков службы машин. - М.: Экономическая литература, 1963. - 225 с.

42.  Конкин Ю.А. Экономика ремонта сельскохозяйственной техники. - М.: Колос, 1979. - 383 с.

43.  Конкин М.Ю. Концептуальные основы и научное обеспечение технологической утилизации сельскохозяйственной. Автореферат диссертации на соискание ученой степени доктора технических наук 05.20.03 - М.: МГАУ, - 2004. - 38 с.

44.  Конкин М.Ю. Утилизация составных частей машин в системе технического сервиса // Механизация и электрификация сельского хозяйства. - 2003. № 12. - С. 3 - 6

45.  Конкин М.Ю., Романов С.А. Проблема утилизации автомобильных компонентов в России и пути ее решения // Вестник ФГОУ ВПО МГАУ. - 2007. № 2. - С. 120 -122

46.  Конкин Ю.А. Экономическое обоснование внедрения мероприятий научно-технического прогресса в АПК. - М.: МИИСП, 1991. - 79 с.

47.  Конкин М.Ю. Концептуальные основы и научное обеспечение технологической утилизации сельскохозяйственной. Автореферат диссертации на соискание ученой степени доктора технических наук 05.20.03 - М.: МГАУ, 2004. - 38 с.

48.  Конкин М.Ю. Утилизация составных частей машин в системе технического сервиса // Механизация и электрификация сельского хозяйства. - 2003. № 12. - С. 3 - 6.

49.  Конкин М.Ю., Романов С.А. Проблема утилизации автомобильных компонентов в России и пути ее решения // Вестник ФГОУ ВПО МГАУ. - 2007. № 2. - С. 120 - 122.

50.  Конкин Ю.А. Экономическое обоснование внедрения мероприятий научно-технического прогресса в АПК. - М.: МИИСП, 1991. - 79 с.Кулдошина В.В. Совершенствование технологических процессов и организации утилизации техники в системе технического сервиса АПК. Автореферат диссертации на соискание ученой степени кандидата технических наук 05.20.03 - М.: МГАУ, 2008. - 16 с.

51.  Кушнарев Л.И., Пучин Е.А. Основные направления развития системы технического сервиса в АПК // Вестник ФГОУ ВПО МГАУ, 2006. № 1. - С. 68-72

52.  Лакин Г.Ф. Биометрия. -- М.: Высшая школа, 1988. - 239 с.

53.  Левин B.C. и др. Организация сбора и использование отходов полимерных материалов. Обзорная информация. - М.: ЦНИИТЭИМС, 1977. - 16 с.

54.  Линии переработки шин: сводные данные // Твердые бытовые отходы. -2008. № 6. -С. 42 - 43.

55.  Листопад И.А. Планирование экспериментов в исследованиях по механизации сельскохозяйственного производства. - М.: Агропромиздат, 1989. - 88 с.

56.  Липкович И.Э. Оптимизация структуры, состава и размещения комплексов регенерации отработанных масел. Диссертация на соискание ученой степени кандидата технических наук 05.20.03. - Зерноград: ВНИПТИМЭСХ, 1995. - 218 с.

57.  Луканин В.Н., Трофименко Ю.В. Промышленно-транспортная экология. - М.: Высшая школа, 2003.

58.  Львовский Е.Н. Статистические методы построения эмпирических формул. - М.: Высшая школа, 1988. - 239 с.

59.  Малкин B.C. Теоретические основы технической эксплуатации автомобилей. - Тольятти: ТГУ, 2004. - 110 с.

60.  Мантия Ф.Л. Вторичная переработка пластмасс (пер. с англ. Заикова Г.Е.) - СПб: Профессия, 2006. - 400 с.

61.  Мартин Дж..М., Смит У.К. Производство и применение резинотехнических изделий (пер. с англ. Бхати Ч.С.) - СПб: Профессия, 2006. - 480 с.

62.  Медведева М. Авто в хлам // Аргументы и факты, - 2008. № 12. - С. 32

63.  Митягин Г.Е., Лукьянов В.Б. Перспективы и принципы создания ремонтно-сервисных центров в сельском хозяйстве России. // Международный научный журнал. - 2007. № 2. - С. 46 - 49.

64.  Митягин Г.Е., Кулдошина В.В. Материальный состав выбывшего из эксплуатации автомобиля //Международный технико-экономический журнал. -2007. № 4. - С. 72 - 75.

65.  Митягин Г.Е., Егоров Р.Н., Джабраилов Л.М., Журилин А.Н. Анализ структуры парка выбывших из эксплуатации автомобилей в Москве - М.: Сб. материалов Всероссийской научно-практической конференции "Перспективы развития агропромышленного комплекса России". - 2008. - С 93 - 96.

66.  Митягин Г.Е., Журилин А.Н., Абдуллин P.P. Система автоматизированной сортировки автомобильных пластмассовых деталей. // Вестник Тульского государственного университета. Серия Автомобильный транспорт. Выпуск 2. - 2009. - С. 258-260.

67.  Михайлов Е. Авторециклинг по-российски // Твердые бытовые отходы. - 2007. № 10. -С. 18 - 20.

68.  Михайлова Т. Избавить от мусора и "гнилых" машин // Площадь Мира. - 2007. - №46. - С. 4 - 5.

69.  Намаконов Б.В. Экологический потенциал реновации изделий // Ремонт, восстановление, модернизация. - 2007. № 3. -С. 36 - 39.

70.  Научные основы технической эксплуатации сельскохозяйственных машин. - М.: ГОСНИТИ, 1996. - 360 с.

71.  Новиков А.Н., Иващук О.А. Концепция снижения экологических рисков при эксплуатации автомобильного транспорта. / Ремонт, восстановление, модернизация, №3 - 2005.

72.  Новицкий П.В. Зограф И.А. Оценка погрешности результатов измерений. - М.: Энергоатомиздат, 1991. - 304 с.

73.  Оптимизация инфраструктуры ремонтно-обслуживающей базы АПК. - М.: ФГНУ "Росинформагротех", 2007 - 52 с.

74.  Орсик Л.С. Состояние и первоочередные задачи технического обеспечения АПК. //Вестник МТС. - 2000. № 11. - С. 3 - 8

75.  Осетров СЕ. Создание рынка подержанной сельскохозяйственной техники // Техника и оборудование для села. - 2003. - № 8. - С. 29 - 31

76.  Очков В.Ф. Mathcad 8 Pro для студентов и инженеров. - М.: Компьютер Пресс, 1999. - 523 с.

77.  Ощепков Н.М. Восстановление и модернизация старой сельскохозяйственной техники в Республике Башкортостан // Техника и оборудование для села. - 2004. - №2. - С.31-39

78.  Павлова Е.И., Буралев Ю.В. Экология транспорта. - М.: Транспорт, 1998. - 232 с.

79.  Петров Р.Л. О мировом опыте организации национальных систем авторецик-линга // Рециклинг отходов. - 2008. - № 5. - С. 2 - 11.

80.  Плис А.И., Сливина Н.А. Mathcad: математический практикум для экономистов и инженеров. Учебное пособие. - М.: Финансы и статистика, 1999. - 656 с.

81.  Политова И.Д. Дисперсионный и корреляционный анализ в экономике. - М.: Экономика, 1972. - 224 с.

82.  Полупан А.А. Манипулятор и крюковая система: удачный симбиоз. // Твердые бытовые отходы. - 2007. № 11. - С. 24 - 27.

83.  Порядок лицензирования деятельности по обращению с ломом металлов // Экология производства. -2007. № 2. С. 22 - 28.

84.  Пупырев Е.И., Перелылтейн Г.Б. Городские инженерные заводы: принципы построения. // Твердые бытовые отходы. - 2007. № 8. - С. 18 - 22.

85.  Развитие рынка подержанной сельскохозяйственной техники. Аналитическая справка № 40-13(2.1.1)/08.04. - М.: ФГНУ "Росинформагротех", 2004. - 4 с.

86.  Райнхард В.А. Переработка старых автомобилей: Европейский опыт // Твердые бытовые отходы. - 2007. № 10. - С. 70 - 77.

87.  Ребров Е. Запчасти с "разборок": предлагать или не предлагать // Новости авторемонта. - 2007. № 9. - С. 72 - 76.

88.  Рублев В.И. Оценка потребности в запчастях с учетом стадии поставки. // Тракторы и сельскохозяйственные машины. - 2000. № 11. - С. 36 - 37.

89.  Сербиновский Б.Ю., Напхоненко Н.В., Колоскова Л.И., Напхоненко А.А. Экономика автосервиса. Создание автосервисного участка на базе действующего предприятия. - М.: ИКЦ "МарТ", - 2006. - 432 с.

90.  Сборник нормативов трудоемкостей на предпродажную подготовку, техническое обслуживание и ремонт автомобилей "Газель" ГАЗ-3302 и модификаций. -Нижний Новгород: ЗАО "ГАЗтехсервис",. - 1998. - 152 с.

91.  Свиточ Н.А. Ржавая рухлядь или сырье на переработку // Твердые бытовые отходы. - 2007. № 10. - С. 8 - 11.

92.  Селиванов А.И. Основы теории старения машин. - М.: Машиностроение, 1971. - 408 с.

93.  Северный А.Э., Халфин М.А. и др. Организация вторичного рынка сельскохозяйственной техники. Состояние, опыт, перспективы. - М.: ФГНУ "Росинформагротех", 2001. - 92 с.

94.  Северный А.Э. Рынок подержанной техники - резерв сохранения технического потенциала в сельском хозяйстве. // Механизация и электрификация сельского хозяйства. - 2000. №2. - С. 2 - 5

95.  Ситтинг М. Извлечение металлов и неорганических соединений из отходов. Справочник. - М.: Металлургия, 1985. - 408 с.

96.  Смирнов Н.В. Дунин-Барковский И.В. Курс теории вероятностей и математической статистики для технических приложений. - М.: Наука, 1965. - 572 с.

97.  Супруненко А. Бизнес по переработке автомобилей. //Автоинструкция. -2007. № 11. - С. 42 - 46.

98.  Тарасенко С. Половину российских авто можно сдать в утиль //Метро. -2009. № 37. - С. 6.

99.  Титков А.И., Морозов А.А., Ильин В.М. Пластмассы - материал автомобилестроения XXI века // Автомобильная промышленность. - 2003. №11. - С. 39 - 41.

100.Токарев Т.Г. Рациональные сроки службы автомобилей. - М.: Автотрансиздат, - 1962. - 79 с.

101.Тылинская Н. Давайте мыслить системно // Правильный автосервис. -2010. № 1. - С. 14-17.

102. Федоренко В.Ф., Тихонравов B.C. Ресурсосбережение в агропромышленном комплексе: инновации и опыт. - М.: ФГНУ "Росинформагротех", - 2006. - 328 с.

103. Хайлис Г.А., Ковалев М.М. Исследование сельскохозяйственной техники. - М.: Колос, 1994. - 169 с.

104. Хурумов А. Мусорный коллапс //Autonews. - 2007. № 7. - С. 38 - 40.

103 Чепурных Н.В., Новоселов А.Л., Дунаевский Л.В. Экономика природопользования. Эффективность. Ущербы. Риски. -М.: Наука, 1998 - 342 с.

104. Шаруда А.Н., Воронцов Ю.М., Корнилов В.В. Европейский опыт утилизации автомобилей // Чистый город. - 2007. № 1. - С. 23 - 24.

105. Шикин Е.В., Шикина Г.Е. Исследование операций. - М.: Проспект, 2008. - 218 с.

106. Шимко Т. Прием против автолома. // Твердые бытовые отходы. - 2007. № 10. - С. 14-17

107. Шишкова Е. Жесткий кастинг в утиль // За рулем - регион. - М.: 2010. № 3. -С. 4.

108. Эксплуатация, ремонт, хранение и утилизация шин автотранспортных средств. Учебник. [Текст] / ЕА. Пучин [и др.] - М.: Издательство УМЦ "ТРИАДА", 2005. -117 с.

109. End of Life Vehicle Directive. PRICEWATERHOUSECOOPERS, 2002. - 15 с

110. Recovery Options for Plastic Parts from End-of-Life Vehicles: an Eco-Efficiency Assessment. Final Report. Darmstadt: Institute for Applied Ecology, 2003. - 140 с

111. Вторичная переработка автомобилей в Европе (на русском языке) - Brussels: Toyota Motor Europe Environmental Affairs Office, 2002. - 19 с

Похожие работы на - Розробка ресурсозберігаючої технології утилізації автотракторної техніки

 

Не нашли материал для своей работы?
Поможем написать уникальную работу
Без плагиата!
Без нейросетей!