Проектування системи електропостачання підприємства
Вступ
Електроенергетика - базова галузь економіки України. Вона одна з
найстарших у країні. Виробництво електроенергії ґрунтується на спалюванні
вугілля, мазуту, природного газу, використанні атомної енергії, енергії води та
Сонця.
Структура електроенергетики України.
Енергетика є однією з провідних галузей промислового комплексу України.
Важлива складова енергетики -електроенергетика. Діяльності якою визначається
законом України про електроенергетику від 16 жовтня 1997 р. Цей закон визначає
правові,економічні та організаційні основи діяльності в електроенергетиці
країни і регулює відносини пов’язані з виробництвом
передачею,розподіленням,постачанням і використанням електроенергії споживачами.
Органом державного регулювань є Національна комісія регулювань електроенергетики
України. Виробництво передачі та розподіл електрики та теплової енергії
зосереджена в енергетичних компаніях:
) Державне підприємство «Національна енергокомпанія «Укренерго» з
магістральними мережами 750-330-220кВ;
) Державне підприємство «Енергоринок»,що визначає механізм функціонування
оптового ринку електроенергії в нашому ринку;
) Енергогенерувальні компанії;
) Енергопостачальні компанії;
) Єдина централізована диспетчерська система управління виробництвом
передачі і розподілу електроенергії України.
Сукупність електростанцій, електро- і теплових мереж, які об’єднані
спільним режимом виробництва, передачі, розподілу і споживання електро- та
теплової енергії утворюють об’єднану енергетичну систему України. Система
електропостачання відноситься до однієї з найважливіших підсистем. Вона повинна
мати такі системні властивості, як надійність, безпека та живучість,
забезпечувати електромагнітну сумісність приймачів. Усі вказані властивості
забезпечуються при суворому дотриманні вимог в правилах, інструкціях, нормах
двох основних документів:
) Правила улаштування електроустановок (ПОЕ)
) Правила користування електроенергією.
Мережа -сукупність електричних установок для передавання і розподілу
електричної енергії на певній території.
Електрична система -система яка потрібна для вироблення, передачі та
розподілу л електричної енергії.
Електричний споживач -апарат, механізм призначений для перетворення
електричної енергії в інші види.
Найбільші ТЕС розташовані в Донбасі (Вуглегірська, Старобешівська,
Миронівська, Курахівська й ін.), на Придніпров'ї (Придніпровська, Криворізька),
у Харківській (Зміївська), Київській (Трипільська), Івано-Франківській
(Бурштинська), Львівській (Добротвірська) областях, у Запоріжжі, Одесі й ін.
Більшість цих електростанцій виробляє й тепло (ТЕЦ).
В розвитку гідроенергетики особливе значення у ХХ ст. відіграв каскад ГЕС
на Дніпрі: Дніпрогес, Каховська, Дніпродзержинська, Кременчуцька, Київська,
Канівська. Побудовані ГЕС на Дністрі (Дністровська), Росі, у Закарпатській
області (Теребле-Ріцька).
В останні десятиріччя швидкими темпами розвивалася атомна енергетика.
Працюють Південноукраїнська, Рівненська, Хмельницька, Запорізька АЕС.
Південні райони країни значно гірше забезпечені електроенергією власного
виробництва, ніж Донбас, Придніпров'я, центр країни.
Понад 47 % електроенергії в Україні дають АЕС (Рівненська, Запорізька,
Південно-Українська та Хмельницька). ТЕС є основними станціями, що забезпечують
електричною енергією в напівпікові та, разом з ГЕС та ГАЕС, у пікові години
Власні паливні ресурси станом на 2010 рік забезпечують лише 67 % потреб
України[1], решта імпортується (т.ч. з Росії і Туркменістану, Азербайджану).
У 2001 р. структура споживання електроенергії та палива (135,8 млрд
кВт·год.): вугілля та продукти його переробки - 64,2 млн т; природний газ 65,8
млрд куб.м; нафта і газовий конденсат - 16,9 млн т.
Станом на 2006 рік технічне становище електроенергетики незадовільне:
необхідна модернізація устаткування та впровадження нових ресурсозберігаючих
технологій, розробка альтернативних джерел електроенергії (сонячні, вітряні,
геотермальні електростанції).
Обсяги виробництва
За 2010 рік обсяг виробництва електричної енергії електростанціями, які
входять до ОЕС України, досяг 187,9 млрд кВт∙г.
У 1999 вироблено 172,1 млрд. кВт·год, 2000 р. - 171 млрд. кВт·год
електроенергії. Більшу її частину (49,6 %) виробляють ТЕС, АЕС виробляють 42 %,
ГЕС - близько 8,4 %.
1. ЗАГАЛЬНА ЧАСТИНА
1.1 Характеристика підприємства і споживачів
електричної енергії «Центрального гірничо-збагачувального комбінату»
Центральний гірничо-збагачувальний комбінат (м. Кривий Ріг) - складний
промисловий комплекс, що спеціалізується на видобутку, переробці та випуску
сировини для чорної металургійної промисловості - обкотишів та залізорудного
концентрату. Це - гігантське підприємство зі складною інфраструктурою. Корпуси
і фабрики комбінату розкинулися на площі більш ніж 6 тисяч гектарів.
Історія комбінату розпочалася у 1954 році з видання Постанови Ради
Міністрів СРСР «Про проектування та будівництво Центрального
гірничо-збагачувального комбінату». У 1957 році було відвантажено перший
кубометр ґрунту з Глеюватського родовища, а в 1961 році комбінат вже видав
перші тонни концентрату. Наступним кроком розвитку став випуск в 1967 році
першої партії обкотишів новозбудованою експериментальною фабрикою огрудкування.
ЦГЗК був і залишається дослідницькою базою та творчою лабораторією передових
технологій гірничої науки.
Промисловий комплекс ЦГЗК має у своєму складі родовища відкритого та
підземного видобутку залізистих кварцитів, переробний цикл у складі дробильної,
збагачувальної фабрик та фабрики огрудкування, підрозділи технологічного
автомобільного та залізничного транспорту, ремонтні цехи та інші структури, що
забезпечують ритмічність роботи головних цехів. Сировинна база Центрального
гірничо-збагачувального комбінату представлена кар'єром №1 (Глеюватське
родовище), Кар'єром №3 (Петровське родовище) та кар'єром №4 (Артемівське
родовище). Загальні запаси сировини оцінюються 463 млн. тонн магнетитових
кварцитів.
Основна продукція комбінату - залізорудний концентрат (вміст заліза на
рівні 66,3-68%), офлюсовані обкотиші (вміст заліза 59,9%) та нефлюсовані
обкотиші (вміст заліза 63,5%). У 2002 році комбінат виготовив 4 116,2 тис.тон
концентрату (102% від запланованого) та 1 883,4 тис.тон обкотишів (100,5% від
запланованого). ЦГЗК також реалізує програму повторного збагачення відходів для
отримання залізорудного концентрату (вміст заліза 65%).
Продукція комбінату має найвищий рівень якості серед вітчизняних підприємств
та високо котується на ринку України та за кордоном. Серед споживачів продукції
ЦГЗК - металургійні підприємства Чехії, Словаччини, Польщі, Румунії, вітчизняні
меткомбінати Кривого Рогу, Дніпропетровська, Дніпродзержинська, Єнакієвого,
Маріуполя, Алчевська та Донецька.
Гордістю Центрального гірничо-збагачувального комбінату є робітничий
колектив, у лавах якого зараз майже 8 тисяч робітників. Добра репутація
підприємства та висока якість продукції - це доробок команди професіоналів, які
дорожать позицією ЦГЗК на конкурентному ринку збуту.
Відомо, що видобуток руди шкодить навколишньому середовищу. Завдання ЦГЗК
- мінімізувати цю шкоду. Комбінат використовує замкнений технологічний цикл, що
унеможливлює забруднення водних артерій Кривбасу технічними водами; сховище
відходів ЦГЗК через вдале розташування та надійність гідроконструкцій визнано
кращим в Україні за екологічними показниками та безпекою експлуатації. На
комбінаті також другий рік реалізовують екологічну програму «Оазис», зміст якої
полягає у рекультивації земель законсервованого кар’єру №2.
.2 Вибір схеми електропостачання
Для мого курсового проекту підходить радіальна схема електропостачання.
Радіальні схеми характеризуються тим, що від розподільчого щита відходять
лінії до потужних споживачів, або до групових розподільчих пунктів від яких теж
відходять самостійні лінії до мілких споживачів.
Радіальні схеми застосовуються при наявності груп зосереджених
навантажень з нерівномірним розподілом їх площі у цеху. Радіальні схеми знайшли
широке застосування в насосних та компресорних станціях, на підприємствах
нафтохімічної промисловості, у ливарних та інших цехах.
Перевагою радіальних схем є їх висока надійність, оскільки аварія на
одній лінії не впливає на роботу ЕП, підключених до інших ліній.
Недоліками радіальної схеми є: мала економічність, пов’язана зі значною
витратою провідникових матеріалів, труб, розподільчих кафів, обмежена
гнучкість, невисокий ступінь індустріалізації монтажу.
2. РОЗРАХУНКОВА ЧАСТИНА
2.1 Розрахунок електричного навантаження на
шинах 0,4 кВ
Метою розрахунку навантаження являється визначення максимальної
розрахункової потужності - активної, реактив-ної, повної.
Якщо завдані технічні дані електроустаткування( номінальна потужність Рн,
коефіцієнт потужності cos фн ), то розрахунки навантажень виконуємо методом
коефіцієнта максимуму.
Для визначення електрона вантаження складається звітна відомість
установленої розрахункової і сумарної максимальної по цеху, підстанції чи
підприємства з визначенням всіх необхідних розрахункових даних.
Розрахунок виконують у такому порядку:
Визначаю номінальну потужність електроспоживачів
а) для двигунів тривалого режиму приймаю паспортну потужність Рн .
б) для електродвигунів повторно-короткочасного режиму номінальна
потужність визначається за формулою
Рн=
Рн (паспортне)
в)для
зварювальних трансформаторів
Рн
= Sн
Групова
номінальна потужність Рном визначається як сума номінальних потужностей
електроспоживачів, за виключенням резервних.
Для
групи електроспоживачів одного режиму роботи середня за зміну активна і
реактивна потужність навантаження за найбільш навантажену зміну визначається по
формулам:
кВт
кВар
де
- значення відповідне
Якщо
в одній групі є споживачі з різними режимами роботи, то визначаємо:
а)
активну
,кВт
б)
реактивну
,кВар
Визначаємо
загальну розрахункову потужність :
Рзаг=Рн
n, кВт
Рзаг=
40
2= 80 кВт
Рзаг=
10
6= 60 кВт
Рзаг=
10
8= 80 кВт
Рзаг=
17
1= 17 кВт
Рзаг=
20
1= 20 кВт
Рзаг=
250
1= 250 кВт
Визначаю
середню потужність за максимальну згружену зміну:
а)активну
Рсер.зм=Рзаг
Квик ,кВт,де Квик -коефіцієнт використання активної
потужності,значення яких приведено в таблиці 2.1 Л.1.
Рсер.зм=Рзаг
Квик
Рсер.зм=
80
0,75= 60 кВт;
Рсер.зм=
60
0,75= 45 кВт;
Рсер.зм=
80
0,17= 12 кВт;
Рсер.зм=
17
0,1= 1,7 кВт;
Рсер.зм=
20
0,2= 4 кВт;
Рсер.зм=
250
0,75= 187,5 кВт;сер.зм= Рсер.зм
сер.зм=60
0,42=25,2
кВар;сер.зм=45
0,44=19,8 кВар;сер.зм=12
0,44=5,28
кВар;сер.зм=1,7
0,5=0,85 кВар;сер.зм=4
0,62=2,48
кВар;сер.зм=187,5
0=0 кВар
Визначаємо
середній коефіцієнт використання:
Під
ефективним числом електричних приймачів розуміють таке число однорідних по
режиму роботи споживачів однакової потужності, яке забезпечує той же
розрахунковий максимум, що і група різних за потужності і режиму роботи
споживачів.
Ефективне
число n :
Коефіцієнт
максимуму характеризує перевищення максимального навантаження над середнім в
максимально загружену зміну. Коефіцієнт максимуму приведений по активному
навантаженню в таблиці 2.3 Л.1
дорівнює 1,46
Розрахункову
максимальну активну потужність визначаємо за формулою
Рм=
Кма 
Рм=
1,46
310,2=453кВт
Розрахункову
максимальну реактивну потужність визначаємо за формулою:
=1.1кВар
кВар
Визначаємо
повну максимальну потужність на шинах 0,4 кВ за формулою:
Визначаємо
розрахунковий струм на шинах 0,4 кВ
де
Uном =0,4 кВ
707 А
Визначаємо
коефіцієнт потужності комплектної трансформаторної підстанції на шинах 0,4 кВ
Усі
розрахунки занесені до таблиці 2.1
2.2 Розрахунок електричного навантаження на шинах 6
кВ
Метод
коефіцієнта попиту використовують для розрахунків максимальних навантажень, на
високій напрузі схеми електропостачання.
Коефіцієнт
потужності зв’язує розрахункове максимальне навантаження з номінальним
навантаженням.
Розрахункові
навантаження:Рм, Qм, S- для групи однорідних за режимом робіт електроприймачів
з’єднаних технологічним процесом визначаються з таких виразів:
Де
Кn- коефіцієнт попиту
де
- відповідає характерному для даної групи приймачів
, який
приймається з бази даних інформаційного забезпечення(Л3)
Визначаємо
загальну розрахункову потужність:
Рзаг=Рн
Кn, кВт
Рзаг=1200
4= 4800 кВт
Рзаг=500
4=2000 кВт
Сумарне
Pзаг.= Pзаг.1+Pзаг.2= 4800+2000=6800кВт
Визначаємо
розрахункове максимальне активне навантаження:
кВт
=0,8
4800=3840 кВт
=0,75
2000=1500 кВт
Визначаємо
розрахункове максимальне реактивне навантаження
,кВар
= 3840
0,44= 1689,6 кВар
= 1500
0,72=1080 кВар
Визначаємо
повну максимальну потужність на шинах 6кВ:
Визначаємо
загальну повну максимальну потужність
кВА
Визначаємо
розрахунковий струм на шинах 6кВ
де
Uном =6 A
Визначаємо
коефіцієнт потужності комплектної трансформаторної підстанції на шинах 6 кВ
КТП-0,4кВ
Визначаю
загальне навантаження на шинах РУ-6кВ
кВА

де
Uном =6 А
Визначаємо
коефіцієнт потужності комплектної трансформаторної підстанції на шинах РУ-6 кВ
Визначаємо
реактивна потужність компенсуючого пристрою:
для
компенсації реактивної потужності згідно з розрахунку приймаю до установки комплектну
конденсаторну установку серії КУ-6-2.
Визначаю
максимальну, повну розрахункову потужність підстанції РУ-6кВ після компенсації
реактивної потужності
кВА
2.3 Розрахунок компенсації реактивної потужності
Важливим
параметром електричних схем являється коефіцієнт потужності -
Згідно
розрахунку на шинах РУ-6кВ
= 0,89
Рекомендований
нормативний
приймаємо = 0,95, тому для того щоб розрахунковий
підняти до значення 0,95 використовують 2 методи
компенсації реактивної потужності:
- установкою потужних синхронних високовольтних двигунів на
шинах 6кВ
- установкою комплексних конденсаторних батарей.
На практиці раціонально встановлення двох компенсуючи пристроїв на
підстанції на двух секціях РУ-6кВ
Реактивна потужність всього компенсую чого пристрою визначається по
формулі:
, кВар
Де
Pр.макс.- максимальне активне навантаження на шинах РУ-6кВ;
-
тангенс кута кута зсуву фаз відповідно середньозмінному коефіцієнту
потужності.(
=0,89; tg=0,509)
- тангенс
кута зсуву фаз рекомендований, нормативний (
=0,95;
tg=0,32)р= 5792,8×(0,509-0,32)=1094,8(кВар)
Для
компенсації реактивної потужності згідно розрахунку приймаю до установки
комплекту конденсаторну установку з серії КУ-10-4
Визначаю
максимальну повну розрахункову потужність на шинах підстанції РУ-6кВ після
компенсації реактивної потужності.
Визначаю
коефіцієнт потужності на шинах 6кВ після компенсації:
2.4 Розрахунок числа та потужності трансформаторів
Вибір
типа, числа і потужності трансформатора залежить від величини електричного
навантаження та розміщення на генеральному плані підприємства технологічного
устаткування, умови навколишнього середовища, вимоги пожежної і електричної
безпеки, умови охолодження.
Число
і потужність трансформаторів вибирають по:
- Графіку навантаження і розрахованим величинам середньої і
максимальної потужності;
- Техніко-економічним показникам окремих варіантів з врахуванням
капітальних затрат і експлуатаційних витрат;
Категоріям споживачів з врахуванням надійного резервування;
Режиму роботи по заданному графіку, що забезпечує мінімум втрат
потужності і електроенергії в трансформаторі.
Вибір числа і потужності трансформатора може виконуватись по питомій
густині навантаження (кВА/м2 ) і повній розрахунковій потужності об`єкта (кВА):
При питомій густині більше 0,2- 0,3 кВ*А/м2 і сумарній потужності
більше 3000-4000кВА приміняють цехові трансформатори потужністю 1600-2500кВА
- При питомій густині і сумарному повному навантаженні(S) нижче
вказанх значень найбільш економічні трасформатори потужністю 400-630-1000кВА
Число і потужність трасформатора вибирають з врахуванням його
перегрузочної властивості та категорії споживачів. Для цього на добову графіку
навантаження визначають термін максимума навантаження Т(год) і коефіцієнт
заповнення графіку.
Криві кратності допустимих навантажень трасформаторів.
де
Sср.зм., Sмакс. - середнє, змінне і максимальне навантаження.
По
значенням Kз.г. і T визначають коефіцієнт кратності допустимого
навантаження(коефіцієнт завантаження)
Криві кратності допустимих навантажень трасформаторів
Якщо в літній час максимум навантаження менше номінальної потужності
трасформатора, то в зимовий час допускається перегрузка трасформатора не більше
чим на 15%. Сумарна перегрузка за рахунок добової і літньої недогризки повинна
бути не більше 30% для трасформаторів на відкритому повітрі, а в приміщеннях не
більше 20%.
Допускається при kз.г.= 0,75 перегрузка одного трасформатора до 140% в
аварійному режимі на протязі 5 діб не більше 6 годин на добу.
Для нових підстанцій, де невідомий графік навантаження споживачів потужність
трасформаторів вибирають по розрахунку максимального навантаженню:
Де
Sр. - максимальне розрахункове навантаження
-
коефіцієнт допустимої перегрузки трасформатора.
(
= 0,65-0,7 для двох трансформаторної ТП і споживачів 1
категорії.
= 0,7-0,8
- для однотрасформаторної ТП і споживачів 2 категорї)кількість вибраних
трансформаторів.
Перевіряємо
вибрану потужність трансформатора по допустимому аварійному перевантаженню :
Де
Sзм.2 - повна розрахункова потужніть з урахуванням компенсації.
Вибираю
трасформатор для КТП:
Вибираю
трансформатор ТМ560/6
Проводжу
перевірку правильності вибору:
1,4×560>495
784>495
.5 Розрахунок та вибір кабелів
Цю
температуру звуть усталеною, яку приймають заграничну допустиму для данного
типу проводу чи кабелю. Їй відповідатиме граничнодопустимий нагрів або тривало
допустимий струм.
Вибір
перерізу звичайних провідників та кабелів за умов нагріву зводиться до
визначення струмонавантаження та його порівняння з табличним допустимим
значенням струму для данного проводу чи кабелю та умов прокладки.
При
цьому слід дотримуватись умови
Розрахункові
струми визначаємо з формул:
а)
для трасформатора (КТП)
б)
для високовольтних споживачів:
Перевіряємо
переріз кабеля по густині струму j=1,2
Вибираю
кабель ААБ-6000В 3×35
трьохфазний, трьохжильний з алюмінієвими
жилами та паперовою ізоляцією.
2.6 Вибір кількості та місця розташування
підстанції
Картограмма навантаження
Проектування системи електропостачання підприємства передбачає
раціональне розміщення на території цехових підстанцій.
На генплані підприємства наноситься картограма навантаження S, проща
якого в масштабі дорівнює розрахунковому навантаженню відповідно цеху. На
генплані визначають центр електрона вантаження точку А (х0; y0), місцеположення
заводської ГЗП і цехових підстанцій повинне бути поблизу центру навантаження, щоб
знизити затрати в кабелях і монтажу.
Картограма навантаження дозволяє вибрати місцеположення розподільчих чи
цехових ТП і скоротити довжину роздільних мереж. Координати точки А (х0; y0),
вибираємо з формул:
2.7 Розрахунок струмів короткого замикання
Для розрахунку струмів короткого замикання складається розрахункова схема
- спрощена однолінійна схема електроустановки в якій враховуються всі джерела
(генератори, трансформатори, повітряні і кабельні лінії, реактори,
високовольтні синхронні двигуни). В розрахунковій схемі складається схема
заміщення в якій вказують опори всіх елементів і намічаються точки для
розрахунків струмів к.з. Генератори, трансформатори великої потужності,
повітряні лінії, реактори представляють в схемі заміщення їх індивідуальними
опорами, так як їх активні опори незначні. Кабельні лінії 6-10кВ,
трансформатори 1600кВА і менші представляються індуктивними і активними
опорами. Всі опори розраховуються в іменованих (Ом) або в відносних одиницях,
що на результати розрахунку не впливають. Для розрахунку опору задаються
базовими величинами напруг, потужності. (формули приведені в таблиці 7.2 Л1).
За базову напругу приймають напругу
Розрахункова схема
Трр2 40 мВА
37 кВ РБ-6-400-5%
Трр3 40мВА l3=0.8 КТП
К1 К2
Вихідні данні
;
;
Схема заміщення
6,0
кВ
Хс
Хл1 Хтр-ра К1
Хр Хл2 Хк К2
Розрахунок виконуємо в відносних одиницях
). Визначаю опір мережі в базисних відносних одиницях
Схема заміщення
Хс
Хл1 Хтр-ра К1
Хр Хл2 Хк К2
Розрахунок виконується в відносних одиницях
1) Визначаю опір мережі в базисних відносних одиницях
2) Визначаю індуктивний опір ЛЕП - 37 кВ:
де
- питомий індуктивний опір для
високовольтної лінії.1=11
) Визначаю індуктивний опір трансформатора:
4) Розраховую сумарний реактивний опір базисного ланцюга до точки
короткого замикання К1:
5) Визначаю струм К.З. в базисних відносних одиницях до точки К1
6) Визначу струм К.З. в іменованих одиницях
7) Визначаю ударний струм К.З. в точці К1
де
8) Визначаю базисний індуктивний опір



9) Визначаю базисний індуктивний опір реактора для обмеження струму
короткого замикання на шинах 6кВ. Реактор типу РБ-6-400-5(6кВ, 400А, 5%)
) Визначаю індуктивний опір кабельної лінії:
) Розраховую сумарний реактивний опір базисного ланцюга до точки
короткого замикання К2:
) Визначаю струм К.З. в базисних відносних одиницях в точці К2
13) Визначаю струм К.З. в іменованих одиницях в точці К2
14) Визначаю ударний струм К.З. в точці К2
На величину струму К.З. можуть впливати турбо і гідро генератори,
синхронні компенсатори і синхронні двигуни. Вплив АД враховують тільки в
початковий момент часу, і тільки в тих випадках,коли вони підключені поблизу
місця кз, тому враховую вплив на величину - потужний синхронний двигун поблизу
місця кз
Визначаю загальний струм кз в точці К1
2.8 Вибір комутаційних апаратів в мережі 3.5 і
6кВ
Для вибору комутаційної апаратури в мережі 35 кВ спочатку приблизно
визначаю номінальний струм вторинної обмотки трансформаторів Тр1 і Тр2 за
формулою
Обираємо роз’єднувачі типу РЛНД - 35/1000 з наступними технічними
характеристиками:н = 1000 А > Iн Тр-р1 і Тр-р2н max = 40,5 кВ ≥ Uн -
мережіпред. к.з. = 80 кА
Привод типу - ПРН-110М
Обираємо вимикачі типу ВМК-35В/1000/16 з наступними технічними даними:н =
1000 А > Iн Тр-р1 і Тр-р2н max = 40,5 кВ ≥ Uн - мережін откл = 16 кА
Привод типу - ВП
Обираємо заземлювачі типу ЗР-35УЗ з наступними технічними даними:н = 35
кВ ≥ Uн - мережіпред. к.з. = 235 кА
Привод типу - ПЧ-50
В мережі 6 кВ:
Обираємо роз’єднувачі типу РЛВ - 10/3000 з наступними технічними даними:н
= 3000 А > Iн Тр-р1 і Тр-р2н max = 11,5 кВ ≥ Uн - мережіпред. к.з. =
140 кА
Привод типу - ПР-3
Обираємо вимикачі типу ВМПЭ-10-3200-31,5 з наступними технічними даними:н
= 3200 А > Iн Тр-р1 і Тр-р2н max = 12 кВ ≥ Uн - мережін откл = 31,5 кА
Привод типу - ПЭВ-11А
Обираємо роз’єднувачі типу РВФ-10/400 для кожного споживача та
трансформатора освітлення з наступними технічними даними:н = 400 А > Iн
спожн max = 115 кВ ≥ Uн - мережіпред. к.з. = 50 кА
Привод типу - ПР-10
Обираємо вимикачі типу ВММ-10-400-10-У2 з наступними технічними даними:н
= 400 А > Iн спожн max = 12 кВ ≥ Uн - мережін откл = 10 кА
Привод типу - ППВ
Обираємо заземлювачі типу ЗР-10-У3 з наступними технічними даними:н = 10
кВ ≥ Uн - мережіпред. к.з. = 235 кА
Привод типу - ПЧ-50
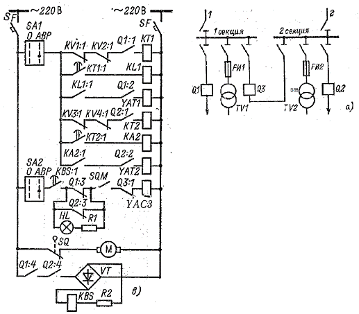
2.9 Релейний захист електродвигунів
До пошкоджень, що виникають в обмотках електродвигунів, належать
багатофазні КЗ, виткові замикання, однофазні замикання на корпус, а також
обриви у колах збудження синхронних двигунів. Основні види захистів
електродвигунів від пошкоджень - струмове відсікання та диференційний захист
від міжфазних замикань: максимальний струмовий захист, що реагує на струми
нульової послідовності(встановлюється для двигунів поверхні при струмі
замикання понад 10А та потужності двигуна до 2000кВт і при струмі понад 5А для
двигунів потужністю більше 2000кВт). Замикання на корпус двигунів підземних
електричних мереж повинні вимикатися без витримки часу захистом від витоків.
Спеціальні захисти від виткових замикань в обмотках статора двигуна не
застосовуються через їх малу ефективність та складності виконання. Захист від
обриву кола збудження передбачається тільки для деяких потужних двигунів.
Схема диференціального захисту двигунів
Дозволяє отримати значно більшу чутливість, оскільки кидки струму від
електродвигуна при зовнішніх КЗ та струми пуску й само запуску, від яких
відстроюється струмове відсікання, у схемі диференціального захисту виявляються
збалансованими.
Захист від перенавантаження електродвигунів напругою вище 1000В звичайно
здійснюється індукційними елементами індукційних реле, а електромагнітні
елементи цих реле використовуються для виконання струмового відсікання.
Струм спрацювання захисту від перенавантаження визначається з умови
відстроювання від номінального струму за виразом
Час
дії захисту від перенавантаження повинен бути більше часу пуску двигуна при
експлуатаційно можливому зниженні напруги, а у двигунів, для яких передбачений
самозапуск, - більше часу само запуску.
Однак
цей час не повинен перевищувати припустимої для двигуна тривалості проходження
надструмів.
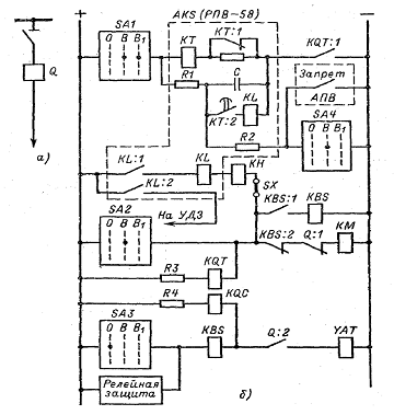
2.10 Автоматизація та телемеханізація систем
електропостачань
Під автоматизацією енергосистем розуміють впровадження пристроїв та схем,
які здійснюють керування режимами та процесами виробництва передачі та
розподілу електричної енергії у нормальних та аварійних умовах. У системах
електропостачання застосовують такі основні види системи автоматики:
автоматичний вимикач резерву (АВР), автоматичне повторне вмикання (АПВ),
автоматичне регулювання напруги (АРН), автоматичне частотне розвантаження
(АЧР).
АВР
Швидке вмикання резервного елемента за рахунок резервування джерела
живлення та живильних ліній здійснюється пристроями АВР. Успішність його
складає 90-95 %
До пристроїв АВР ставляться такі основні вимоги:
1. пристрої повинні діяти у випадку зникнення напруги на шинах
підстанції з будь-якої причини;
2. вмикати резервне джерело слід одразу після вимикання робочого
джерела;
. для виключення багаторазових вмикань на не усунене К.З. дія АВР
повинна бути одноразовою;
. схему АВР не вводити в дію до вмикання вимикача робочого
джерела;
. передбачити прискорення дії захистку резервного джерела після
АВР.
АПВ
Комплекс автоматики , що забезпечує повторне вмикання лінії для
відновлення нормальної роботи мережі називаються пристроями АПВ. Застосування
АПВ відновлює живлення при помилковій дії релейного захисту, або вимиканні
внаслідок перевантаження. Застосування АПВ обов’язкове на всіх повітряних та
змішаних кабельно-повітряних лініях напругою до 1000В і вище. Успішність АПВ
50-80 %.
Пристрої АПВ можуть бути одноразової та багаторазової дії. Багаторазові
використовуються на лініях з одностороннім живленням.
Вимоги до АПВ:
. діяти при аварійному вимиканні робочого вимикача;
2. не діяти при вимиканні вимикача персоналом, а також коли вимикач
вимикається релейним захистом;
. забезпечити задану кратність та мінімально можливий час дії.
АРН
Автоматичне регулювання напруги можливе зміною:
. напруги на шинах джерела;
. реактивної потужності, що передається по лінії.
АЧР
АЧР передбачають на підстанціях та РП для вимикання частини електро
приймачів при появі дефіциту активної потужності у живильних енерго системі.
Встановлені 3 категорії частотного розвантаження:
. з малим часом дії (0,25 - 0,5 с)
2. з єдиною уставкою спрацювання для підйому частоти після АЧР I
категорії і запобігання зависання на рівні 49Гц;
. додаткова категорія для прискорення обсягу розвантаження.
За останні роки у системах електропостачання все ширше застосовуються
автоматизовані системи забору облікових даних, контролю за витратою
електроенергії, прогнозування витрат, та керування електро споживанням,
вимикання споживачів відповідно до встановленої черговості в годину максимуму
навантаження енергосистеми.
3. Заходи по техніці безпеки при експлуатації
електроустановки
.1 Заходи по техніці безпеки при експлуатації
електроустановок електромережі напругою до і вище 1000В
Електричний струм проходячи через тiло людини завдає термiчної,
електролiтичної та бiологiчної дiї.
Термiчна дiя струму виражається в опiках окремих частин тiла, нагрiваннi
кровi, судин, нервiв.
Електролiтична дiя - в розкладаннi кровi та iнших органiчних речовин.
Бiологiчна дiя струму виражена у збудженнi живих тканин органiзму що
супроводжується скороченням м'язових тканин, у тому числi серця.
Види уражень вiд дії електричного струму дiлять на електричнi травми та
електричнi удари.
Фактори, що впливають на наслiдок ураження електричним струмом залежать
вiд:
сили струму;
часу проходження через органiзм;
напруги, частоти;
опору тiла людини;
шляху протiкання струму через тiло людини;
фiзичного стану людини;
умов навколишнього середовища.
Основними причинами нещасних випадкiв ураження електричним струмом є:
раптовi дотики або наближення на небезпечну вiдстань вiд струмоведучих
частин, що знаходяться пiд напругою;
поява напруги на металевих конструкцiях електроустановок, якi не
знаходяться пiд напругою в нормальному режимi (кожухи, огородження);
поява напруги на вiдключених сТрумоведучих частинах на яких виконуються
ремонтнi, монтажнi роботи;
виникнення крокової напруги на паверхнi землi (замикання на землю,
несправнiсть у роботi захисного заземлення).
Основнi способи захисту вiд струму:
. Забезпечення недосяжностi струмоведучих частин вiд раптового
доторкання.
. Усунення небезпеки ураження при появi напруги на корпусi або частинах
електрообладнання через захисне заземлення, занулення, вiдключення.
. Використання спецiапьних електрозахисних засобiв.
. Органiзацiя безпечноi експлуатацii електроустановок.
Недося;кнiсть струмоведучих частин електроустановок вiд раптового
дотику може бути забезпечена:
iзоляцiею струмоведучих частин;
розташуванням не недоступнiй висотi;
огородженням та iнше.золяцiя струмоведучих частин має основну функцiю -
протидiяти протiканню струму небажаним шляхом. У той же час вона забезпечує
захист від раптового дотику до струмоведучих частин.
Огородження струмоведучих частин може бути передбачено конструкцiєю
електроустаткування.
При спорудженнi електроустановок коли проводи та шини а також прилади та
апарати, що мають незахищенi струмоведучi частини, монтуються в спецiальнi
шафи, камери.
До технічних засобів і заходів захисту від ураження електричним струмом
належать:
мала напруга;
ізоляція струмоведучих частин;
захистне заземлення;
занулення, захистне відключення, вимір потенціалів;
електричне розділення мереж;
компенсація струмів замикання на землю;
огороджувальні улаштування;
попереджуюча сигналізація;
знаки безпеки, засоби захисту;
запобіжні пристосування та інші.
До організаційних заходів по забезпеченню електробезпеки під час
експлуатації електроулаштування належать:
призначення осіб, відповідальних за організацію і виконання робіт;
документальне оформлення завдання на проведення робіт;
допуск до проведення робіт;
нагляд за працюючими під час виконання робіт;
оформлення в оперативному журналі перерв в роботі;
переведення на інші робочі місця після закінчення робіт.
Захисне заземлення- це навмисне електричне з’єднання із землею або її
еквівалентом металевих не струмоведучих частин, які можуть опинитися під
напругою.
Занулення- це ненавмисне електричне з’єднання з нульовим захисним дротом
металевих не струмоведучих частин, які можуть опинитися під напругою.
Захисне відключення- це швидкодіючий захист, що забезпечує автоматичне
відключення електроустаткування при виникненні в ній небезпеки ураження
струмом.
3.2 Розрахунок захисного заземлення
Пiдстанцiя РП - 6 кВ для живлення споживачiв електроенергii є вбудованою,
тому заземляючий контур розташовуємо вздовж будови. Приймаємо довжину контура
30 м, грунт в мiсцi його спорудження чорнозем, природнi заземлювачi не
використовуються. Струм замикання на землю на сторонi 6 кВ
= ЗО А . Заземлення спiльне для
сторiн 6 та 0,4 кВ. Питомий опiр грунту р = 62 0м
м.
. Визначаю опір заземлюючого пристрою для установок 6 кВ
Опір заземлюючого пристрою для сторони 0,4 кВ не повинен перевищувати 4
Ом. Тому за розрахунковий опір приймемо Rз=4 Ом.
Виконане заземлення передбачаємо з вертикальних заземлювачів-стрижнів з
круглої сталі діаметром 12мм і довжиною 3м та горизонтальної полоси 40
4мм, яка прокладається на глибині
0,8м вздовж будови станції на відстані 3м від фундаменту.
. Опір одного вертикального заземлювача(стержня)
. Визначаю необхідну кількість вертикальних заземлювачів
ККД=0,52
-опір ПУЕ.
Визначаю опір заземлюючої полоси
Де k=3,5- визначено по таблицы 6.10(Л1,с.46)
Опір полоси в контурі з 12 елементів:
Де ККД= 0,34 (Із таблиці 6.10 Л1 с.46)
Необхідний опір вертикальних заземлювачів
Уточнене число стержнів
Таким чином, згідно розрахунків приймаємо до установки електродів n=10
трансформатор
електродвигун релейний підстанція
Література
1. Л.Л.Коновалова;
Л.Д.Рожкова: «Електропостачання промислових підприємств і установок», Москва,
1989р.
2. Б.Ю.Ліпкін:
«Електропостачання промислових підприємств і установок», Москва, 1990р.
. Г.Г.Півняк:
«Електрифікація гірничих робіт», Дніпропетровськ, 2005р.
. Г.Г.Півняк;
А.В.Журахівський: «Експлуатація електроустановок», Дніпропетровськ,2005р.
. І.І.Токарчук;
Д.А.Колпаков: «Довідник енергетика», Москва,1976р.
. А.А.Федоров:
«Довідник по електропостачанню промислових підприємств», Москва, 1978р.
. С.Т.Усатенко:
«Виконання електричних схем по ЕСКД», Москва,1989р.
. «Правила
виконання електроустановок» і «Правила технічної експлуатації»