Разработка технологического процесса изготовления детали 'Крышка дифференциала'
Содержание
Введение
1. Разработка технологического процесса изготовления детали
1.1 Назначение и конструкция детали
1.2 Анализ технических условий изготовления детали
1.3 Анализ технологичности конструкции детали
1.4 Определение типа производства
1.5 Критический анализ базового ТП
1.5 Выбор метода получения заготовки
1.7 Выбор методов обработки поверхностей
1.8 Выбор технологических баз
1.9 Разработка технологического маршрута обработки детали
1.10 Разработка технологических операций
1.11 Расчёт припусков на обработку
1.12 Расчёт режимов резания
1.13 Определение норм времени на операции
1.14 Выявление и расчёт технологической размерной цепи
1.15 Определение количества оборудования и его загрузка
1.16 Уточнённый расчёт типа производства
2. Расчёт и проектирование приспособления для контроля радиального
биения сферы R70+0,12.
2.1 Расчёт приспособления на точность
Заключение
Список литературы
Введение
Состояние и развитие производства на современном этапе
зависит в значительной степени от технологии. Она определяет производительность
труда, экономичность использования материальных и энергетических ресурсов,
количество выпускаемой продукции и многое другое. В условиях современных
рыночных отношений для развития машиностроительной промышленности, получения
максимальной прибыли от производства, требуется разработка совершенно новых
технологических процессов, постоянное совершенствование традиционных методов
обработки, подготовки высококвалифицированных инженерных кадров.
Курсовой проект по данной дисциплине выполняется на основе
материалов взятых на "Минском тракторном заводе”. Цель курсового проекта -
совершенствование базового технологического процесса изготовления детали
"Крышка”, действующего на предприятии, с целью снижения себестоимости её
изготовления, повышения качества. В ходе курсового проекта должно быть
разработано контрольное приспособление для контроля радиального биения сферы R70.
деталь контроль радиальное биение
1. Разработка
технологического процесса изготовления детали
1.1
Назначение и конструкция детали
Крышка является деталью дифференциала заднего моста тракторов
МТЗ-85 (и другие модификации), выпускаемых на Минском тракторном заводе в
городе Минске. Дифференциал служит для обеспечения возможности вращения с
разными скоростями правого и левого ведущих колёс, двигаясь на поворотах и при
движение по неровной местности.
При повороте трактора внутреннее ведущее колесо, двигаясь по
дуге окружности меньшего радиуса, проходит более короткий путь, чем наружное
колесо. Чтобы при этом колесо не проскальзывало, а только катилось, оно должно
вращаться медленнее наружного. Если ведущие колёса трактора посадить на общую
ось, то они смогут вращаться только с одинаковой скоростью, и при поворотах
трактора неизбежно происходило бы скольжение внутреннего колеса, что вызвало бы
повышенный износ шин, увеличенный расход топлива и ухудшило управляемость
трактора. Поэтому ведущие колёса тракторов насаживают на отдельные валы
(полуоси), между которыми устанавливают дифференциал, обеспечивающий
возможность вращения колёс с разными скоростями.
Данная деталь служит для ориентации в механизме дифференциала
других деталей.
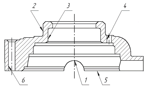
Рисунок 1.1 Схема расположения поверхностей в крышке
дифференциала. 1, 2, 3, 4 - исполнительные поверхности; 5, 6 - основные
конструкторские базовые поверхности;
Неуказанные поверхности - свободные поверхности.
Для данной детали вспомогательными конструкторскими базами
являются исполнительные поверхности. Деталь изготавливается из ВЧ-50 ГОСТ
7293-85. Одной из важнейших особенностей высокопрочного чугуна является высокий
уровень механических свойств, соответствующий свойствам стали. Высокопрочный
чугун может с успехом заменить не только стальное литьё, но и поковки, что
экономически выгодно. В таблицах 1.1 и 1.2 приведены химический состав и
механические свойства ВЧ-50.
Таблица 1.1 Химический состав ВЧ-50.
|
C
|
Si
|
Mn
|
P
|
S
|
Cr
|
|
|
|
не более
|
|
3,2 - 3,7
|
1,9 - 2,9
|
0,3 - 0,7
|
0,1
|
0,02
|
0,15
|
Таблица 1.2 Механические свойства ВЧ-50.
|
σв, МПа
|
σ0,2,МПа
|
δ, %
|
Твёрдость HB
|
|
не менее
|
|
500
|
320
|
7
|
153
- 245
|
1.2
Анализ технических условий изготовления детали
Исходя из служебного назначения крышки производим анализ
технических условий указанных в чертеже. Служебное назначение детали, нормы
точности и технические условия на неё является следствием служебного назначения
и технических условий на сборочную единицу, в которую входит деталь.
Одним из важных технических условий, указанных на чертеже
детали, является отклонение от плоскостности, обуславливается более точным
соединением крышки с корпусом дифференциала. Численное значение данного ТУ
заданно рационально и не требует применения специального оборудования.
Значения шероховатости на отдельных поверхностях детали,
соответствуют тем видам обработки, которые применяются на заводе.
Технические требования, указанные на чертеже следующие:
. Твёрдость 153 … 245 HB
. Неуказанные литейные радиусы 2 … 3 мм.
. Точность отливки 9-0-0-9 ГОСТ 26645-85
. Остальные технические требования по ГОСТ 26358-84 и чертежу
отливки
. *Размеры обеспечить инструментом
6. Неуказанные предельные отклонения размеров H14; h14; ±
. Смещение центра сферы с поверхности Ж не более 0,1 мм. Размер
обеспечит инструментом.
. Допуск непостоянства диаметра Д в поперечном и продольном
сечениях 0,01 мм (разность в диаметрах) Этим требованием достигается
необходимая точность положения подшипника, устанавливаемого на эту поверхность.
. Размеры в квадратных скобках - после сборки
. Покрытие, марка краски ТТ по техпроцессу.
Все выше перечисленные ТУ сформулированы, верно, в соответствии с
рекомендуемыми и в достаточном количестве для выполнения служебного назначения
крышки дифференциала.
1.3 Анализ
технологичности конструкции детали
Сначала рассмотрим литейные и механические свойства
материала, из которого изготавливается крышка дифференциала. По сравнению с
углеродистой сталью высокопрочный чугун имеет следующие преимущества: более
низкую температуру плавления, что облегчает технологию плавки; лучшую
жидкотекучесть, что позволяет получать тонкостенные отливки, изготовление
которых из стали затруднено; меньшую склонность к образованию горячих трещин,
что значительно упрощает технологию производства отливок и сокращает брак
литья; меньшую плотность, что позволяет снизить массу машин примерно на 8 -
10%; более высокую износостойкость, что увеличивает срок службы деталей машин;
лучшую обрабатываемость резанием, что снижает расход режущего инструмента.
Деталь имеет довольно сложную форму, что затрудняет
изготовление металлических полуформ при получение заготовки литьём в кокиль.
Наличие малых отверстий вызывает определённые сложности на стадии изготовления
заготовки, так как довольно сложно изготовить стержни малого диаметра
используемые при литье. Это делает её нетехнологичной.
Все поверхности детали доступны для обработки, отсутствуют
сложные контурные обрабатываемые поверхности, кроме сферы R70+0,12. Измерение
некоторых поверхностей затруднено и требует специальных контрольных
приспособлений (Æ146H7, R70+0,12) На детали отсутствуют большая разностенность, места резкого
изменения формы, острые края. Крышка имеет достаточную жёсткость для применения
высокопроизводительных методов обработки.
На чертеже детали имеются особые требования по плоскостности,
радиальному биению. Все эти требования делают деталь нетехнологичной, так как
возникают трудности на стадии контроля плоскостности, радиального биения,
требуются специальные измерительные приспособления. Деталь не имеет отверстий,
расположенных не под прямым углом к плоскости входа и выхода. В конструкции
крышки нет внутренней резьбы большого диаметра.
Данная деталь имеет достаточно удобные поверхности для
базирования во время механической обработки. Конструкция детали позволяет
применять многоинструментальную обработку, что значительно сокращает время на
механическую обработку.
Проанализировав степень соответствия детали общим и
дополнительным требованиям, даём оценку технологичности конструкции детали -
технологична, за исключением некоторых свойств приведенных выше.
1.4
Определение типа производства
Тип производства влияет на построения технологического
процесса изготовления корпуса подшипника и организацию работы на предприятии.
На первом этапе проектирования технологического процесса тип
производства ориентировочно может быть определён в зависимости от годового объёма
выпуска детали и её массы.
Годовой объём выпуска крышки дифференциала составляет 40000
штук, а масса детали равна 4,0 кг по таблице №2 [4] эти параметры соответствуют
крупносерийному производству.
После разработки технологического процесса и определения норм
времени, произведем уточненный расчёт типа производства.
1.5
Критический анализ базового ТП
Метод получения заготовки - литьё в песчаные формы
нерационально использовать для получения заготовки в принятом крупносерийном
производстве, в связи с его трудоёмкостью. Заготовку целесообразнее получить с
помощью литья в кокиль, этот метод обеспечит получение заготовки более высокой
чистоты, что позволит сократить время на механическую обработку и количество
переходов за счёт малых припусков.
В базовом технологическом процессе соблюдены следующие
положения:
каждая последующая операция уменьшает погрешность и улучшает
качество поверхности;
самые точные поверхности обрабатываются окончательно в конце
техпроцесса.
Станки, используемые на операциях механической обработки, по
габаритным размерам обрабатываемой заготовки, достигаемой точности и
шероховатости поверхностей соответствуют требуемым условиям обработки заданной
детали.
При обработке соблюдается принцип постоянства баз,
используется один и тот же комплект технологических баз при обработке
большинства поверхностей детали.
Токарные операции 005 и 010 являются прогрессивными, так как
за одну установку обрабатывается максимально-возможное количество поверхностей.
На алмазно-расточной операции 015 деталь обрабатывается с двух сторон, что
сокращает время на переустановку детали и уменьшает погрешность взаимного
расположения поверхностей.
В базовом техпроцессе используются как специальные
приспособления так и стандартные.
На всех операциях механической обработки применяется
специальный режущий инструмент, который изготавливается на этом же заводе. В
данном технологическом процессе можно применять стандартный режущий инструмент,
который будет дешевле и позволит снизить себестоимость готовой детали.
В базовом технологическом процессе токарно-специальную
операцию 030 можно исключить, так как в технических требованиях ничего не
сказано про уплотнение поверхности Ø75r6, а заданную точность
можно получить на предыдущей операции. Также можно объединить
агрегатно-сверлильную операцию 025 и вертикально-сверлильную 035, и реализовать
их на одном агрегатно-сверлильном станке, что позволит сократить время на
механическую обработку. Алмазно-расточную операцию 020, на которой
растачивается сфера R70+0,12, можно исключить, так как заданную точность можно получить
на предыдущей токарной операции 005.
Результаты анализа базового техпроцесса сведены в таблице 1.3
Таблица 1.3 Анализ базового техпроцесса.
|
№
|
Наименование
операции, содержание
|
Оборудование
|
Приспособление
|
Режущий инструмент
|
Измерительный
инструмент
|
|
005
|
Токарная. 1-ая
позиция загрузочная. 2-ая позиция - подрезной суппорт. Точить торец Ж
напроход, выдерживая размер 54-0,8 Точить торец К до Æ130. Точить торец Г выдерживая размеры Æ115+1,4, 42-0,62 3-я позиция - вертик.
суппорт Расточить пов-ть Е и Д, выдержав размер Расточить поверхность М до Æ118, выдержав размер 39-2,5 Расточить
поверхность Н до Æ143,
выдержав размер 7+0,5 4-я позиция - копировальный суппорт Расточить сферу,
выдержав размер R68+0,5 5-я позиция - подрезной суппорт
Точить торец Ж, выдержав размер 52-0,74 Точить фаску выдерживая рамер 3x450 Подрезать торец Г до Æ115, выдержав размер 41,8-0,2 6-я
позиция - подрезной суппорт Точить торец К с образованием канавки, выдержав
размеры 7-я позиция - вертикальный суппорт Расточить поверхность Н, выдержав
размер 145,3+0,25 Расточить фаску размер 2x450 Расточить поверхность М, выдержав размеры. 8-я
позиция - копировальный суппорт Расточить сферу, выдержав размер 69,3+0,19 и
допуск радиального биения и допуск смещения центра сферы с плоскости Ж.
|
Токарно-вертикальный
8 шпиндельный п/а 1283
|
Патрон
3-кулачковый
|
Резцы
|
ШГ 0-150-0,05
ГОСТ 162-90 ШТ-250-0,1 ГОСТ 166-89 Пробка Æ115+1,4 Шаблон Пробка Æ58+0,74 Пробка Æ55+0,74
Образцы шероховатости Rz20 - Rz80 ГОСТ 9378-93 Шаблон 7+0,5 Шаблон R68+0,5 ШЦ-II-125-0,1 Шаблон 41,8-0,2 Шаблон 6+0,6 Шаблон 28+0,21 Нутромер Æ132+1,0 Пробка Æ145,3+0,25 Приспособление контрольное
Пробка Æ59,3+0, 19 Шаблон 65min - 67max Шаблон 38-2,5 Пробка Æ120+0,54 Шаблон R69,3+0, 19
Шаблон для контроля смещения сферы с плоскости Ж Приспособление контрольное.
|
|
010
|
Токарная. 1-я
позиция - загрузочная. 2-я позиция - вертикальный суппорт. Точить поверхность
К на глубину 21, выдержав раз-р Æ192-1,15 Точить пов. Д на глубину 61 выдержав размер Æ80-1,2 3-я позиция - вертикальный
суппорт Точить пов. К напроход, выдержав размер Æ192 Точить поверхность Д и М, выдержав
размеры 4-я позиция - подрезной суппорт Точить торец Н до Æ78, выдержав размер 5-я позиция -
подрезной суппорт Точить поверхность Э до Æ138, выдержав размеры Æ138-1,0 и 48-1,2 6-я позиция - подрезной суппорт Точить торец З
напроход, выдержав размер 80-0,74 Подрезать торцы Н и Э, выдержав раз-р
56+0,15 и 46-1,0 7-я позиция - вертикальный суппорт Точить поверхность К
напроход, выдержав размер Æ190-1,15
Точить фаски в размер 2.5x450
Точить фаску в размер 1x450
8-я позиция - вертикальный суппорт Точить поверхность Д с образованием
канавки Б, выдержав размер Æ75,7-0,
19 Точить поверхность К напроход, выдержав размер Æ188-0,115
|
Токарно-вертикальный
8-ми шпиндельный п/а 1К282
|
Токарное с
платиком
|
Резцы
|
ШЦ-II-250-0,1 ГОСТ 166-89 ШЩ-I-125-0,1 ГОСТ 166-89 Шаблон 82-1,2
ШГ0-150-0,05 ГОСТ 162-90 Скоба Æ138-1,0 Скоба 80-0,74 Глубиномер инд. Эталон 56+0,15 Скоба
48-0,62 Шаблон Скоба Æ190-1,15
Кольцо ШЦ-I-125-0,1 ГОСТ 166-89 Скоба Æ75,7-0, 19 Приспособление контрольное
Скоба Æ188-0,115 Шаблон 55,25+0,2
|
015 Алмазно-расточная Левая головка
Расточить поверхность, выдерживая размеры Æ146+0,025 5,5+0,5 и допуски радиального и торцевого биения
Расточить поверхность Е, выдержав размеры Æ60+0,074 65+0,3 Подрезать торец Г, выдержав размеры Æ114+1,0 42
Правая головка
Точить поверхность Д, выдержав размер Æ75,01+0,062 допуск радиального биения и
допуск непостоянства диаметра Д в продольном и поперечном сечениях
Подрезать торец З, выдержав размер 55,5+-0,15Алмазно-расточной
ОС-2754В. 2058Специальное расточное 2-х местное гидравлическоеРезцыШаблон
5,5+0,5
Приспособление контрольное специальное
Прибор индикаторный
Пробка Æ60+0,074
Шаблон 65+0,3
Пробка Æ114+1,0
Шаблон 42
Скоба Æ75,01
Кольцо пневматическое
Эталон
Индикаторный калибр
Эталон р-р 55,5±0,15
|
Шаблон
|
|
|
|
|
|
|
020
|
Алмазно-расточная
Расточить сферу выдерживая размер R70+0,12,
допуск радиального биения
|
Алмазно-расточной
ОС-00Р18.2205
|
Специальное расточное
2-х местное
|
Резец
|
Калибр R70+0,12 Приспособление контрольное
Приспособление контрольное для проверки смещения сферы Микрометр МРИ-150-0,01
ГОСТ 4381-87
|
|
025
|
Агрегатно-сверлильная
Циковать 2 полуотверстия, выдерживая размер Æ118±0,87 Æ12
|
Агрегатно-сверлильный
СС-10097
|
Головка 8-ми
шпиндельная Специальное приспособление
|
Зенкер
|
Пробка
012-8132-3095 Шаблон 10±0,2
|
030 Токарная специальная Укатать поверхность Д,
выдерживая размер Æ75
и допуск радиального биенияВертикально-накатной
БС-566Оправка
ПневмоголовкаРолик для укаткиСкоба Æ75
Кольцо пневматическое
Эталон
Приспособление контрольное
Индикатор ИЧ 02-кл1
|
ГОСТ 577-68
|
|
|
|
|
|
|
035
|
Вертикально-сверлильная
Сверлить 2 отверстия, выдержав размеры Æ9±0,2 Æ85±0,87
|
Вертикально-сверлильный
СС-2580
|
Приспособление
специальное
|
Сверло
|
Пробка Æ9±0,2
|
|
040
|
Зачистка
Зачистить заусенцы в 2 отверстиях Æ9
|
Верстак
слесарный
|
|
Напильник ГОСТ
1465-80
|
|
|
050
|
Контрольная
|
Стол
контрольный Р684-000
|
|
|
|
Рис 1.2 Поверхности обрабатываемые на операции 005
Рис 1.3 Поверхности обрабатываемые на операции 010
1.5 Выбор
метода получения заготовки
Выбор методов получения исходной заготовки оказывает большое
значение на решение задачи экономии металла. При выборе методов получения
исходных заготовок следует учитывать потери металла связанные с этими методами.
При получении отливок из различных материалов потери составляют 35.54%, и при
изготовлении методами поверхностно-пластического деформирования потери
изменяются в пределах 5.37%.
Заготовкой для получения детали в базовом варианте является
отливка, изготавливаемая методом литья в песчано-глинистые формы. Этот метод
литья универсальный, возможно изготовление отливки любой массы и конфигурации,
не требует дорогостоящий оснастки. Однако, не смотря на свою дешевизну этот
метод очень трудоемкий, требует большое количество вспомогательного материала,
Точность отливки 9т-12 по ГОСТ26645-85, шероховатость поверхности отливки
составляет Rz160 мкм, в связи с этим усложняется последующая механическая
обработка заготовки.
Стоимость данной заготовки, получаемой литьём в песчаные
формы можно определить по следующей формуле:
где
- базовая стоимость 1 тонны заготовок,
руб.;
- масса заготовки, кг;
- коэффициенты, зависящие от класса точности, группы сложности,
массы, марки материала и объёма производства заготовок;
=4,0 - масса готовой детали, кг;
=24,8 - цена 1т отходов, руб.
Рассчитаем коэффициент использования материала КИМ:
Исходя из годового объёма выпуска деталей (40 тыс. штук), её
конструктивной формы и размеров можно предложить более рациональный способ
получения заготовки крышки дифференциала - литьё в кокиль. Литьё в кокиль
экономически целесообразно при величине партии не менее 300…500 шт. для мелких отливок
и 30…50 шт. для крупных отливок. Производительность способа - до 30 отливок в 1
час. Эти способом можно получать отливки массой 0,25…7 т., имеющих точность
13…15-го квалитета по СТ СЭВ 144-75 и параметр шероховатости поверхности Rz80…10. Литьё в кокиль позволяет уменьшить
припуски под механическую обработку по сравнению с литьём в песчано-глинистые
формы. Позволяет автоматизировать процесс получения заготовки (отливки)
сократить оперативное время, уменьшить производственные площади, улучшить
условия труда рабочих.
Форму отливки выбираем приближенной к конфигурации крышки
дифференциала. Отливка соответствует 3 группе сложности. В отливке возможным
является получение отверстия Æ55мм,
остальные отверстия получают с помощью механической обработки. Допускается 4
раковины на 1 деталь. На поверхности перпендикулярные плоскости разъема формы
назначаем уклоны по ГОСТ 3212-80: наружный 1-7%, внутренний (со стороны
стержня) 4-7%.
Таблица 1.4 Параметры точности отливки по ГОСТ 26645-85.
|
№ п/п
|
Параметры
точности отливки
|
Класс, степень,
ряд.
|
|
1
|
Класс размерной
точности отливки
|
7
|
|
2
|
Степень
корабления отливки
|
4
|
|
3
|
Степень
точности поверхностей отливки
|
8
|
|
4
|
Шероховатость
поверхности отливки, Ra
|
10,0
|
|
5
|
Класс точности
массы отливки
|
7
|
|
6
|
Ряд припусков
на обработку отливки
|
5
|
Рисунок 1.4 Заготовка крышки дифференциала, получаемая
методом литья в кокиль.
Таблица 1.5.1 Припуски на механическую обработку заготовки по
ГОСТ 26645-85.
|
Размер
обрабатываемой поверхности, мм
|
28+0,21
|
38-2,5
|
42 6±0,646-1,05055,5±0,15
|
|
|
|
|
|
1. Допуски
размеров отливки
|
0.9
|
0.9
|
1.0
|
0.56
|
1.0
|
1.0
|
1.0
|
|
2. Допуски форм
и расположения отливки
|
0,4
|
0,4
|
0,4
|
0,4
|
0,4
|
0,4
|
0,4
|
|
3. Допуски масс
отливки
|
5,0
|
5,0
|
5,0
|
5,0
|
5,0
|
5,0
|
5,0
|
|
4. Общий допуск
элементов отливки
|
1.1
|
1.1
|
1.1
|
0.8
|
1.1
|
1.1
|
1.1
|
|
5. Допуск
размеров детали
|
0.21
|
2.5
|
0.25
|
1.2
|
1.0
|
0.62
|
0.3
|
|
6. Соотношение
между допуском размера детали и допуском размера отливки
|
0.23
|
2.7
|
0.25
|
2.14
|
1.0
|
0.62
|
0.3
|
|
7. Вид
окончательной операции
|
Получ.
|
Черн.
|
Получ.
|
Черн.
|
Черн.
|
Черн.
|
Черн.
|
|
8. Общий
припуск на сторону элементов отливки
|
1.6
|
1.3
|
1.6
|
1.1
|
1.3
|
1.3
|
1.3
|
Таблица 1.5.2
|
65+0,74
|
80
|
Æ55
|
Æ75r6
|
Æ60H9
|
Æ115+1.4
|
Æ120+0.54
|
Æ146H7
|
|
1
|
1.1
|
1.1
|
1.0
|
1.1
|
1.0
|
1.2
|
1.2
|
1.2
|
|
2
|
0,4
|
0,4
|
0,4
|
0,4
|
0,4
|
0,4
|
0,4
|
0,4
|
|
3
|
5,0
|
5,0
|
5,0
|
5,0
|
5,0
|
5,0
|
5,0
|
5,0
|
|
4
|
1.4
|
1.4
|
1.1
|
1.4
|
1.1
|
1.4
|
1.4
|
1.4
|
|
5
|
0.74
|
0.74
|
0.74
|
0.019
|
0.074
|
1.4
|
0.54
|
0.04
|
|
6
|
0.67
|
0.67
|
0.74
|
0.017
|
0.074
|
1.17
|
0.45
|
0.03
|
|
7
|
Черн.
|
Черн.
|
Черн.
|
Тонк.
|
Чист.
|
Черн.
|
Черн.
|
Тонк.
|
|
8
|
1.5
|
1.5
|
0.9
|
1.4
|
1.0
|
1.0
|
1.4
|
Таблица 1.5.3
|
Æ188
|
R70+0.12
|
Æ100
|
Æ156
|
|
1
|
1.4
|
1.1
|
1.1
|
1.2
|
|
2
|
0,4
|
0,4
|
0,4
|
0,4
|
|
3
|
5,0
|
5,0
|
5,0
|
5,0
|
|
4
|
1.6
|
1.4
|
1.4
|
1.2
|
|
5
|
1.15
|
0.12
|
1.15
|
1.15
|
|
6
|
0.82
|
0.11
|
1.05
|
0.96
|
|
7
|
Черн.
|
Получ.
|
Черн.
|
Черн.
|
|
8
|
1.1
|
1.9
|
1.0
|
1.0
|
Определим стоимость заготовки, получаемой литьём в кокиль:
коэффициент использования материала КИМ:
Сравнивая два вышеприведенных варианта получения заготовки (литьё
в песчаные формы и литьё в кокиль) по стоимости и коэффициенту использования
материал (Sзаг1<Sзаг2, КИМ1<КИМ2) можно сделать вывод, что оптимальным
методом получения заготовки является литьё в кокиль.
1.7 Выбор
методов обработки поверхностей
Выбор методов обработки поверхностей крышки дифференциала
произведём на основании технологических требований чертежа детали, формы
поверхностей, качества заготовки и типа производства. При назначении метода
обработки будем стремиться к тому, чтобы одним и тем же методов обрабатывалось
возможное большее количество поверхностей заготовки. Это позволит разработать
операции с максимальным совмещением обработки отдельных поверхностей, сократить
общее количество операций, длительность цикла обработки, повысить
производительность и точность обработки.
Выбор методов обработки последующих поверхностей сведём в
таблицу №5.
Таблица 1.6 Методы обработки поверхностей.
|
№
|
Поверхность
|
Точность
|
Шероховатость
|
Методы
обработки
|
|
1
|
Æ75r6
|
6
|
Ra1.25
|
Черновое
точение Получистовое точение Чистовое точение Алмазное точение
|
|
2
|
Æ55
|
14
|
Rz80
|
Черновое точение
|
|
3
|
Æ60H9
|
9
|
Ra2.5
|
Черновое
точение Получистовое точение Чистовое точение
|
|
4
|
Æ115+1.4
|
14
|
Rz80
|
Черновое
точение
|
|
5
|
Æ120+0.54
|
14
|
Rz80
|
Черновое
точение
|
|
6
|
Æ146H7
|
7
|
Rz20
|
Черновое
точение Получистовое точение Чистовое точение Алмазное точение
|
|
7
|
Æ188
|
14
|
Rz80
|
Черновое
точение
|
|
8
|
R70+0.12
|
10
|
Rz40
|
Черновое
точение Чистовое точение
|
|
9
|
46-1,0
|
14
|
Rz80
|
Черновое
точение
|
|
10
|
55,5±0,15
|
12
|
Ra2.5
|
Черновое
точение
|
|
11
|
42 12Rz20Черновое точение
|
|
|
|
|
12
|
65+0,74
|
14
|
Rz80
|
Черновое
точение
|
|
13
|
Æ12
|
14
|
Rz80
|
Зенкерование
|
|
14
|
6±0.6
|
14
|
Rz80
|
Черновое
точение
|
|
15
|
28+0.21
|
14
|
Rz80
|
Черновое
точение
|
|
16
|
80
|
12
|
Ra2.5
|
Черновое
точение Чистовое точение
|
|
17
|
Æ9±0,2
|
14
|
Rz80
|
Сверление
|
Проверим правильность выбранных методов обработки для двух
наиболее точных поверхностей: наружной поверхности Æ75r6 и внутренней
поверхности Æ146H7.
По чертежу детали требуется обработать наружную поверхность Æ75r6 с шероховатостью Ra=1,25мкм. Диаметр
поверхности отливки равен Æ77,8 (±0,55). Назначим виды обработки данной
поверхности из следующих рекомендаций: точность на каждом последующем переходе
обработки поверхности обычно повышается - на черновых переходах на 3-4
квалитета, на чистовых - на 2-3 квалитета:
переход: черновое точение 12 квалитет допуск d1=0,300 мм
переход: получистовое точение 10 квалитет допуск d2=0,120 мм
переход: чистовое точение 8 квалитет допуск d3=0,046 мм
переход: алмазное точение 6 квалитет допуск d3=0,019 мм
Требуемая величина уточнения:
Расчетное уточнение на 1 переходе
Расчетное уточнение 2 перехода:
Расчетное уточнение 3 перехода:
Расчетное уточнение 4 перехода:
Общая расчетная величина уточнения:
т.к. 68>57,9, Кур>КУ, то назначенный маршрут обработки
поверхности Æ75r6 крышки дифференциала обеспечит заданную точность. Для обработки
внутренней поверхности Æ146H7 мм с шероховатостью Rz=20мкм, диаметр поверхности отливки составляет Æ143,2 (±0,6) мм. Эту поверхность возможно
обработать за четыре перехода:
переход: черновое точение 12 квалитет допуск d1=0,400 мм
переход: получистовое точение10 квалитет допуск d2=0,160 мм
переход: чистовое точение 8 квалитет допуск d3=0,063 мм
переход: алмазное точение 7 квалитет допуск d3=0,040 мм
Требуемая величина уточнения:
Расчетное уточнение на 1 переходе
Расчетное уточнение 2 перехода:
Расчетное уточнение 3 перехода:
Расчетное уточнение 4 перехода:
Общая расчетная величина уточнения:
Получим 43>30 Кур>КУ,
значит назначенный маршрут обработки поверхности Æ146H7 крышки
дифференциала обеспечит заданную точность.
1.8 Выбор
технологических баз
Выбор баз для механической обработки производим с учётом
достижения требуемой точности взаимного расположения поверхностей детали по
линейным и угловым размерам, обеспечения доступа инструментов к обрабатываемым
поверхностям, обеспечения простоты и унификации станочных приспособлений, а так
же удобства установки в них заготовки. На операции алмазного растачивания
поверхностей Æ75r6 и Æ146H7 в качестве технологической базы принимаем торец заготовки и
наружную цилиндрическую поверхность Æ188мм. Такая схема
базирования обеспечит доступ режущего инструмента с двух сторон крышки, что
позволит одновременно обработать внутренние и наружные поверхности детали без
переустановки. На этой операции мы сможем окончательно обработать поверхности Æ75r6 и Æ146H7, обеспечив при этом
высокую точность их взаимного расположения. Выбранная схема базирования
обеспечивает принцип единства баз. Для реализации такой схемы базирования
применяем специальное приспособление.
Рисунок 1.5 Схема базирования, используемая на
алмазно-расточной операции.
Так как мы на алмазно-расточной операции окончательно
обрабатываются поверхности Æ75r6 и Æ146H7, то на предыдущей операции мы должны совершить чистовую
обработку этих поверхностей. Одновременная обработка точением внутреннего и
наружного диаметров потребует специального оборудования, что повлечёт большие затраты.
Поэтому на операции, предшествующей алмазно-расточной, обработаем только
наружную поверхность крышки. Для такой обработки за технологическую базу
принимаем внутреннюю поверхность Æ60H9мм и левый торец крышки.
Данная схема базирования соблюдает принцип единства баз почти для всех
размеров, кроме некоторых размеров, проставленных на чертеже детали не от
выбранной технологической базы. Применение именно такой схемы базирования
позволит обработать всю наружную поверхность заготовки и обеспечить высокую
точность взаимного расположения поверхностей, обрабатываемых на этой операции.
Данную схему можно реализовать с помощью разжимной оправки.
Рисунок 1.6 Схема базирования, используемая при обработке
наружных поверхностей крышки.
На предыдущей операции в качестве технологических баз мы
использовали поверхность Æ60H9 и левый торец крышки Æ188мм. Поэтому на этой
операции мы должны обработать эти поверхности, а также подготовить к алмазному
растачиванию поверхность Æ146H7. В качестве технологических баз используем наружную
поверхность Æ75r6мм и правый торец. Данную схему базирования можно реализовать с
помощью трёхкулачкового патрона. Такой выбор технологической базы позволит
обработать всю внутреннюю поверхность заготовки и обеспечить высокую точность
взаимного расположения обрабатываемых поверхностей. При такой схеме базирования
для обрабатываемых размеров не соблюдается принцип единства баз, так как мы
используем правый торец Æ75 мм, а не левый торец Æ188 мм, от которого на
чертеже детали проставлены размеры до обрабатываемых поверхностей. Такой отступ
от принципа единства баз позволит нам не использовать специальное
приспособление для установки заготовки, а также позволит обработать левый торец
для последующего использования его в качестве технологической базы.
Рисунок 1.7 Схема базирования, используемая при обработке
внутренних поверхностей крышки.
На операции сверления двух отверстий Æ9 мм и зенкерования двух
полуотверстий Æ12 мм в качестве технологической базы принимаем внутреннюю
поверхность Æ60H9 мм и торец заготовки. Для реализации такой схемы базирования
применяем специальное приспособление. Данная схема базирования соблюдает
принцип единства баз.
Рисунок 1.8 Схема базирования при сверление двух отверстий Æ9 мм и зенкерование двух
полуотверстий Æ12 мм.
1.9
Разработка технологического маршрута обработки детали
Определив порядок технологических переходов и схемы
базирования, составим технологический маршрут обработки крышки дифференциала.
На первой операции мы подготавливаем чистовые базы для
последующей операции. Поэтому на данной операции мы будем обрабатывать
внутренние поверхности крышки, использую схему базирования указанную на рисунке
1,7 Так как жёсткость крышки позволяет применять одновременную обработку сразу
несколькими инструментами, то целесообразно будет совместить некоторые
переходы, что поможет сократить время на механическую обработку. Для этой
операции выбираем токарный вертикальный 8-шпиндельный полуавтомат 1К282.
На второй операции мы будем использовать схему базирования,
показанную на рисунке 1,6, которая позволит обработать наружную поверхность
крышки. На этой операции также можно совместить некоторые переходы. Для этой
операции выбираем токарный вертикальный 8-шпиндельный полуавтомат 1К282.
На третьей алмазно-расточной операции мы окончательно
обработаем поверхности Æ75r6 и Æ146H7, применяя схему базирования указанную на рисунке 1,5.
Обработку этих поверхностей будем производить за одну установку, подводя
инструмент одновременно с двух сторон. Для реализации этой операции выбираем
горизонтальный алмазно-расточной станок 2706В.
На четвёртой агрегатно-сверлильной операции используем схему
базирования указанную на рисунке 1,8. Для этой операции принимаем 4-х
шпиндельный агрегатно-сверлильный станок.
После агрегатно-сверлильной операции необходимо снять
заусенцы, образованные при сквозном прохождение сверла. Поэтому также
необходимо в маршрут обработки детали поставить слесарную операцию. Когда вся
механическая обработка крышки завершена, необходимо провести технический
контроль. Для более точного и правильного контроля после слесарной обработки
желательно было бы промыть деталь и обдуть сжатым воздухом.
Технологический маршрут обработки детали выглядит следующим
образом:
Токарная. К282
Токарная. 1К282
Алмазно-расточная. 2706В
Агрегатно-сверлильная.
Слесарная. Верстак.
Моечная. Машина моечная.
Контрольная. Стол контрольный.
1.10
Разработка технологических операций
На этом этапе окончательно определяется состав и порядок
выполнения переходов в пределах каждой технологической операции (структура
операции), производится выбор моделей оборудования, станочных приспособлений,
режущих и измерительных инструментов.
Следует стремится к максимально возможной концентрации
операций с учётом технологических возможностей оборудования, размеров и
точности детали. Исходя из крупносерийного производства крышки дифференциала
будем применять последовательную многоместную структуру технологических
операций.
В соответствии с габаритными размерами крышки дифференциала
(188х80 мм), с крупносерийностью её производства, со структурой технологических
операций, с требуемой точностью обработки, и применяемым режущим инструментом,
выбираем станочное оборудование (таблица 1.7).
Таблица
1.7 Ведомость станочного оборудования
|
Наименование
станка
|
Модель станка
|
Габаритные
размеры, мм
|
Категория
ремонтной сложности
|
Стоимость, руб.
|
|
Токарный
вертикальный 8-ми шпиндельный п/а
|
1К282
|
длина 3070
ширина 2945 высота 3872
|
61
|
27900
|
|
Токарный
вертикальный 6-ти шпиндельный п/а
|
1Б284
|
длина 3285
ширина 2987 высота 4040
|
49
|
16680
|
|
Алмазно-расточной
|
2706В
|
длина 2000
ширина 1220 высота 1450
|
21
|
3410
|
|
Агрегатно-сверлильный
|
СС-10097
|
длина 2500
ширина 1570 высота 3270
|
32
|
28600
|
Общий план обработки имеет следующий вид:
Токарная (1К282)
Поз.1. Установить деталь, закрепить.
Поз.2. Точить торцы Ж, К, Г, И, выдерживая размеры 55,8,
28+0,21, 43, 6±0,6.
Поз.3. Точить поверхность Н, М, Д, Е, выдерживая размеры Æ144,6, Æ120+0,54, Æ55, Æ58,8
Поз.4. Точить сферу, выдерживая размер R69,5
Поз.5. Точить торец Ж, Г, выдерживая размер 56,8, 42
. Расточить фаски в размеры 1x450 и 1,2x450.
Поз.6. Точить поверхность Е, Н, выдерживая размеры Æ59,6, Æ145,4
Поз.7. Точить поверхность Е,. Н, выдерживая размеры Æ60H9, Æ145,8.
Поз.8. Точить сферу, выдерживая размер R70+0,12
Режущий инструмент: резцы проходные ГОСТ 18818-73, резцы расточные
ГОСТ 18883-78
Измерительный инструмент: ШГ 0-150-0,05 ГОСТ 162-90, ШТ-250-0,1
ГОСТ 166-89, Пробка Æ115+1,4,
Шаблон R70+0,12, Пробка Æ55+0,74, Шаблон R69,5+0,5, Пробка Æ120+0,54,
Шаблон для контроля смещения сферы с плоскости Ж, Пробка Æ145,8, Пробка Æ60H9.
Токарная (1К282)
Поз.1. Установить деталь, закрепить.
Поз.2. Точить поверхность К напроход, выдерживая размер Æ188. Точить поверхность Д, выдерживая
размер Æ76,4.
Поз.3. Точить поверхность Д, выдерживая размер Æ75,6. Точить фаски в размер 2x450 и 4x300.
Поз.4. Точить торец З, Н, выдерживая размер 80, 55,2.
Поз.5. Точить поверхность Д, выдерживая размер Æ75,2. Точить поверхность М, выдерживая
размер Æ100.
Поз.6. Точить торец Э, выдерживая размер 46-1,0.
Режущий инструмент: резцы проходные ГОСТ 18818-73, резцы расточные
ГОСТ 18883-78
Измерительный инструмент: ШЦ-II-250-0,1 ГОСТ 166-89, Скоба Æ76,4-0, 19, ШЩ-I-125-0,1 ГОСТ
166-89, ШГ0-150-0,05 ГОСТ 162-90, Скоба 80-0,74, Скоба Æ188-0,115, Скоба Æ75,2
.
При такой концентрации переходов можно применить шестишпиндельный
токарный полуавтомат 1Б284 вместо ранее выбранного восьмишпиндельного токарного
полуавтомата 1К282.
Алмазно-расточная (2706В)
Левая головка.
Расточить поверхность, выдерживая размер Æ146H7.
Правая головка.
Расточить поверхность, выдерживая размер Æ75r6. Подрезать торец выдерживая размер 55,5±0,15.
Режущий инструмент: резцы расточные ГОСТ 18883-78
Измерительный инструмент: Пробка Æ146H7, Шаблон
5,5+0,5, Приспособление контрольное специальное, Скоба Æ75,0
, Эталон р-р 55,5±0,15.
Агрегатно-сверлильная (СС100-97)
Зенкеровать 2-ва полуотверстия, выдерживая размеры Æ12, Æ118±0,87. Сверлить
2 отверстия, выдерживая размеры Æ9±0,2 и Æ85±0,87.
Режущий инструмент: сверло Æ9 ГОСТ 10903-77, зенкер Æ12 ГОСТ 3231-71.
Измерительный инструмент: Пробка Æ9±0,2
Слесарная (верстак)
Зачистить заусенец, в 2 отв. Æ9, в отв. Æ12.
Режущий инструмент: Напильник ГОСТ 1465-80
Моечная (машина моечная)
Промыть деталь, обдуть сжатым воздухом.
Контрольная. (Стол контрольный).
Контролировать все размеры детали.
Измерительный инструмент: Образцы шероховатости ГОСТ 9378-93,
Шаблон 42
, Шаблон R70+0,12, Пробка Æ60+0,074,
ШЦ-I-125-0,1 ГОСТ 166-89, Скоба Æ188-0,115, Щупы 70 набор 2 класса точности
I ТУ-2-034-225-87, Пробка Æ115+1,4, Пробка Æ146+0,04, Пробка Æ12+0,43, Пробка Æ9±0,2, Нутромер Æ132+1,0,
Скоба Æ75,0
, Шаблон 6+0,6, Шаблон 28+0,21, Шаблон 38-2,5, Калибр инд. Æ55,5±0,15, Нутромер инд. ГОСТ 868-82, Пробка Æ55+0,74.
1.11 Расчёт
припусков на обработку
Припуски рассчитываем расчётно-аналитическим методом на две
наиболее ответственные разнотипные поверхности: для поверхности Æ75r6мм и для Æ146H7.
Рассчитаем припуск и межоперационные размеры для поверхности Æ75r6
мм.
Технологический маршрут обработки данной поверхности следующий:
-ый переход: черновое точение, 12 кв., Rz=50мкм, h=300мкм
-ой переход: получистовое точение, 10 кв., Rz=30мкм, h=30мкм
-ий переход: чистовое точение, 8 кв., Rz=20мкм, h=20мкм
-ый переход: алмазное точение, 6 кв., Rz=5мкм, h=5мкм
Пространственное отклонение формы поверхности заготовки
рассчитываем по формуле:
где PКОР - отклонение, учитывающие коробление отливки;
PСМ - отклонение, учитывающие смещение оси
обработанного поверхности относительно общей оси;
Погрешность установки детали определяем по формуле:
где εБ - погрешность базирования. εЗ - погрешность закрепления;
εпоз - погрешность позиционирования; для используемого 8-ми
шпиндельного полуавтомата εпоз = 50мкм
В нашем случае εБ =0, так как имеет место совмещение технологической и
измерительной баз.
Погрешность установки: εУ = 50мкм.
Расчёт минимальных значений межоперационных припусков производится
по следующей формуле:
Минимальные припуски по переходам:
переход.2Zmin=2 (200+300+
) =2x708=1416мкм
переход.2Zmin=2 (50+50+
) =2x151=302мкм
переход.2Zmin=2 (30+30+
) =2x110=220мкм
переход.2Zmin=2
(20+20+0.02) =2x40.02=80.04мкм
Расчётный размер:
переход. dp. ал. отч. =
75,043мм
переход. dp. чист. точ. =
75,043+0,08=75,123мм
переход. dp. получ. точ.
= 75,123+0,220=75,343мм
переход. dp. черн. точ. =
75,343+0,302=75,645мм
Заготовка dp. заготовка =
75,645+1,416=77,061мм
Допуски на размер принимаем по ГОСТ 7505-89 и заносим в таблицу
1.11.1.
Предельный размер:
переход. dmin= 75.043мм; dmax= 75.062мм
переход. dmin= 75,123мм; dmax= 75.169мм
переход. dmin= 75,343мм; dmax= 75.463мм
переход. dmin= 75,645мм; dmax= 75.945мм
Заготовка dmin= 77,061мм; dmax= 78.261мм
Минимальные и максимальные предельные отклонения припусков:
переход.2ZmaxПР= 75,169-75,062=0,107мкм
ZminПР=
75,123-75,043=0,08мкм
переход.2Zmax ПР= 75,463-75,169=0,294мкм
Zmin ПР=
75,343-75,123=0,220мкм
переход.2Zmax ПР= 75,945-75,463=0,482мкм
Zmin ПР=
75,645-75,343=0,302мкм
переход.2Zmax ПР= 78,261-75,945=2,716мкм
Zmin ПР=
77,061-75,645=1,816мкм
Предельные значения общих припусков 2ZОmin, 2ZОmax определим суммируя промежуточные
припуски:
ZОmin = 0.08+0.220+0.302+1.816=2,418мм
ZОmax = 0,107+0,294+0,482+2,716=3,599мм
Общий номинальный припуск 2Zо. ном. = 2ZОmin+НЗ-НД
где НЗ и НД - соответственно нижние отклонения
заготовки и готовой детали по ГОСТ 7505-89.
Zо. ном. = 2,218+1,2-0,043=3,6мм
Зная значение 2Zо. ном.,
находим номинальный диаметр заготовки:
dз. ном = dд. ном. + 2Zо. ном. =75+3,4=78,6мм
Проверим правильность произведённых расчётов по уравнениям:
ZmaxПР
- 2ZminПР = δdi-1 - δdi
2ZОmax - 2ZОmin = δdз - δdд
Для рассматриваемого случая проверка точности произведённых
расчётов имеет следующие результаты:
переход.2716-1816=1200-300, т.е.900=900
переход.482-302=300-120, т.е.180=180
переход.294-220=120-46, т.е.74=74
переход.107-80=46-19, т.е.27=27
Общий припуск: 3399-2218=1200-19, т.е.1181=1181
Следовательно расчёты межоперационных припусков произведены
правильно. Все расчёты параметров припусков сведём в таблицу 1.8.
Таблица 1.8 Параметры припусков на размер Æ75r6 мм.
|
Технологические
переходы обработки поверхности Æ75r6
|
Элементы
припуска, мкм
|
Расчётный
припуск 2Zmin, мкм
|
Допуск на
размер d, мкм
|
Предельный
размер, мм
|
Предельные
значения припусков, мкм
|
|
Rz
|
h
|
p
|
ε
|
|
|
|
dmin
|
dmax
|
2ZminПР
|
2ZmaxПР
|
|
1
|
2
|
3
|
4
|
5
|
6
|
7
|
8
|
9
|
10
|
11
|
12
|
|
Заготовка
|
200
|
300
|
202
|
-
|
-
|
70,261
|
1200
|
77,061
|
78,261
|
-
|
-
|
|
1-й переход
(черн. точение)
|
50
|
50
|
12,12
|
50
|
2 x 708
|
75,645
|
300
|
75,645
|
75,945
|
1816
|
2716
|
|
2-й переход
(получист. точение)
|
30
|
30
|
0,606
|
50
|
2 x 302
|
75,343
|
120
|
75,343
|
75,463
|
302
|
482
|
|
3-й переход
(чист. точение)
|
20
|
20
|
0,024
|
50
|
2 x 110
|
75,123
|
46
|
75,123
|
75,169
|
220
|
294
|
|
4-й переход
(алмазное точение)
|
5
|
5
|
-
|
-
|
2 x 40,02
|
75,043
|
19
|
75,043
|
75,062
|
80
|
107
|
|
Общий припуск 2Z0
|
2418
|
3599
|
На основании данных таблицы 1.8 строим схему графического
расположения припусков и допусков на обработку Æ75r6 мм.
Рисунок 1.9 Схема графического расположения припусков и
допусков на обработку Æ75r6 мм.
Рассчитаем припуски для обработки отверстия Æ146H7.
Технологический маршрут обработки данной поверхности
следующий:
-ый переход: черновое точение, 12 кв., Rz=50мкм, h=300мкм
-ой переход: получистовое точение, 10 кв., Rz=30мкм, h=30мкм
-ий переход: чистовое точение, 8 кв., Rz=25мкм, h=25мкм
-ый переход: алмазное точение, 7 кв., Rz=20мкм, h=20мкм
Пространственное отклонение формы поверхности заготовки
рассчитываем по формуле:
где PКОР - отклонение, учитывающие коробление отливки;
PСМ - отклонение, учитывающие смещение оси
обработанного поверхности относительно общей оси;
Погрешность установки детали определяем по формуле:
где εБ - погрешность базирования. εЗ - погрешность закрепления; εпоз - погрешность позиционирования; для используемого 8-ми
шпиндельного полуавтомата εпоз = 50мкм. В нашем случае εБ =0, так как имеет место совмещение технологической и
измерительной баз.
Погрешность установки: εУ = 50мкм.
Расчёт минимальных значений межоперационных припусков производится
по следующей формуле:
Минимальные припуски по переходам:
переход.2Zmin=2 (200+300+
) =2x1715=3430мкм
переход.2Zmin=2 (50+50+
) =2x188,3=376,6мкм
переход.2Zmin=2 (30+30+
) =2x110=220мкм
переход.2Zmin=2
(25+25+0,146) =2x50,146=100,292мкм
Расчётный размер:
переход. Dp. ал. отч. =
146,04мм
переход. Dp. чист. точ. =
146,04-0,1=145,94мм
переход. Dp. получ. точ.
= 145,94-0,220=145,72мм
переход. Dp. черн. точ. =
145,72-0,376=145,344мм
Заготовка Dp. заготовка =
145,344-3,43=141,914мм
Допуски на размер принимаем по ГОСТ 7505-89 и заносим в таблицу
1.11.2. Предельный размер:
переход. Dmin= 146мм; Dmax=146,04 мм
переход. Dmin= 145,877мм;
Dmax= 145,94мм
переход. Dmin= 145,560мм;
Dmax= 145,72мм
переход. Dmin= 144,944мм;
Dmax= 145,344мм
Заготовка Dmin= 140,314мм;
Dmax= 141,914мм
Минимальные и максимальные предельные отклонения припусков:
переход.2Zmin ПР= 146,04-145,94=0,1мкм
Zmax ПР=
146-145,877=0,123мкм
переход.2Zmin ПР= 145,940-145,720=0,220мкм
Zmax ПР=
145,877-145,560=0,317мкм
переход.2Zmin ПР= 145,720-145,344=0,376мкм
Zmax ПР=
145,560-144,944=0,616мкм
переход.2Zmin ПР= 145,344-141,914=3,430мкм
Zmax ПР=
144,944-140,314=4,630мкм
Предельные значения общих припусков 2ZОmin, 2ZОmax определим суммируя промежуточные
припуски:
ZОmin = 0,1+0,220+0,376+3,430= 4,126мм
ZОmax = 0,123+0,317+0,616+4,630 = 5,686мм
Общий номинальный припуск 2Zо. ном. = 2ZОmin+ВЗ-ВД
где ВЗ и ВД - соответственно верхние
отклонения заготовки и готовой детали по ГОСТ 7505-89.
Zо. ном. = 4,126+0-0,04=4,086мм
Зная значение 2Zо. ном.,
находим номинальный диаметр заготовки:
Dз. ном = Dд. ном. - 2Zо. ном. = 146-4,086=141,914мм
Проверим правильность произведённых расчётов по уравнениям:
ZmaxПР
- 2ZminПР = δdi-1 - δdi
2ZОmax - 2ZОmin = δdз - δdд
Для рассматриваемого случая проверка точности произведённых
расчётов имеет следующие результаты:
переход.123-100=63-40, т.е.23=23
переход.317-220=160-63, т.е.97=97
переход.616-376=400-160, т.е.240=240
переход.4630-3430=1600-400, т.е.800=800
Общий припуск: 5686-4126=1600-40, т.е.1560=1560
Следовательно расчёты межоперационных припусков произведены
правильно. Все расчёты параметров припусков сведём в таблицу 1.9.
Таблица 1.9 Параметры припусков на размер Æ146H7 мм.
|
Технологические
переходы обработки поверхности Æ146H7
|
Элементы
припуска, мкм
|
Расчётный
припуск 2Zmin, мкм
|
Расчётный
размер Dp, мм
|
Допуск на
размер d, мкм
|
Предельный
размер, мм
|
Предельные
значения припусков, мкм
|
|
Rz
|
h
|
p
|
ε
|
|
|
|
Dmin
|
Dmax
|
2ZminПР
|
2ZmaxПР
|
|
1
|
2
|
3
|
4
|
5
|
6
|
7
|
8
|
9
|
10
|
11
|
12
|
|
Заготовка
|
200
|
300
|
1214
|
-
|
-
|
141,914
|
1600
|
140,314
|
141,914
|
-
|
-
|
|
1-й переход
(черн. точение)
|
50
|
50
|
72,84
|
50
|
2 x 1715
|
145,344
|
400
|
144,944
|
145,344
|
3430
|
4630
|
|
2-й переход
(получист. точение)
|
30
|
30
|
3,642
|
50
|
2 x 188
|
145,72
|
160
|
145,560
|
145,72
|
376
|
616
|
|
3-й переход
(чист. точение)
|
25
|
25
|
0,146
|
50
|
2 x 110
|
145,94
|
63
|
145,877
|
145,94
|
220
|
317
|
|
4-й переход
(алмазное точение)
|
20
|
20
|
-
|
-
|
2 x 100
|
146,04
|
40
|
146
|
146,04
|
100
|
123
|
|
Общий припуск 2Z0
|
4126
|
5686
|
На основании данных таблицы 1.9 строим схему графического
расположения припусков и допусков на обработку Æ146H7 мм.
Рисунок 1.10 Схема графического расположения припусков и
допусков на обработку Æ146H7 мм.
1.12 Расчёт
режимов резания
Рассчитаем режимы резания для двух разнохарактерных операций
по эмпирическим формулам теории резания [3]:
Операция 010 токарная точить Æ77,4 мм.
Инструмент:
проходной резец ВК8
1. глубина резания t =0,8 мм
2. подача на оборот S =0,8 мм/об
. стойкость инструмента Т =60 мин
. скорость резания
где KV=KMVKПVKИV=0,7*0,85*1=0,98, KMV-коэффициент, учитывающий
качество обрабатываемого материала, KПV - коэффициент,
отражающий состояние поверхности заготовки, KИV - коэффициент,
учитывающий качество материала инструмента.
. частота вращения шпинделя n, мин-1
принимаем стандартное значение n=450 мин-1
1. действительная скорость резания
9. минутная подача
8. сила резания Рz
мощность резания
10. основное время
Операция 020 агрегатно-сверлильная, сверлить 2 отверстия Æ9±0,2мм.
Инструмент: сверло Æ 9 мм, Р6М5
. глубина резания t =0,5*D=0.5*9=4.5 мм
. подача на оборот S =0,35 мм/об
. стойкость инструмента Т =60 мин
. скорость резания
где KV=KMVKПVKИV=0,7*0,85*1=0,6, KMV-коэффициент, учитывающий качество
обрабатываемого материала, KПV - коэффициент, отражающий состояние
поверхности заготовки, KИV - коэффициент, учитывающий качество
материала инструмента
. частота вращения шпинделя n, мин-1
принимаем стандартное значение n=1320 мин-1
6. действительная скорость резания
7. минутная подача
8. осевая сила резания Р0
. крутящий момент Мкр
. мощность резания
. основное время
На все остальные операции режимы резания определим по нормативам,
приводимым в технических справочниках [16,17,18], и полученные результаты
расчетов режимов резания сведём в таблицу 1.10.
Таблица 1.10 Сводная таблица режимов резания.
|
№ оп.
|
Наименование
операции или перехода
|
t, мм
|
S, мм/об
|
T, мин
|
n, мин-1
|
Uq, м/мин
|
Sмин, об/мин
|
Np, кВт
|
To, мин
|
Lр. х., мм
|
|
005
|
Токарно-автоматная
|
|
|
|
|
|
|
|
|
|
|
2 поз.
|
черн. точение
80
|
1
|
0,8
|
60
|
170
|
100
|
136
|
1,236
|
0, 191
|
26
|
|
черн. точение
28+0,21
|
1,6
|
0,8
|
60
|
224
|
93
|
179,2
|
1,829
|
0,033
|
6
|
|
черн. точение
42+0,43
|
1,6
|
0,8
|
60
|
265
|
96
|
212
|
1,886
|
0,132
|
28
|
|
черн. точение
6+0,6
|
1,1
|
0,8
|
60
|
212
|
97
|
169,6
|
0,024
|
4
|
|
3 поз.
|
черн. точение Ø146
|
1,3
|
0,8
|
60
|
212
|
97
|
169,6
|
1,556
|
0,035
|
6
|
|
черн. точение Ø120
|
1
|
1,04
|
60
|
250
|
94
|
260
|
1,412
|
0,042
|
11
|
|
черн. точение Ø55
|
0,9
|
1
|
60
|
530
|
92
|
530
|
1, 199
|
0,021
|
15
|
|
черн. точение Ø60
|
0,6
|
0,7
|
60
|
630
|
116
|
441
|
0,778
|
0,054
|
24
|
|
4 поз.
|
черн. точение R70
|
1,4
|
0,7
|
60
|
236
|
104
|
165,2
|
1,618
|
0,115
|
19
|
|
5 поз.
|
чист. точение
80
|
0,5
|
0,32
|
60
|
280
|
165
|
89,6
|
0,512
|
0,290
|
26
|
|
чисто точение
42+0,43
|
0,2
|
0,8
|
60
|
355
|
128
|
284
|
0,316
|
0,099
|
28
|
|
6 поз.
|
получ. точение Ø60
|
0,4
|
0,7
|
60
|
670
|
125
|
469
|
0,559
|
0,051
|
24
|
|
получ. точение Ø146
|
0,4
|
0,8
|
60
|
250
|
115
|
200
|
0,565
|
0,030
|
6
|
|
7 поз.
|
чист. точение Ø60
|
0,2
|
0,32
|
60
|
1060
|
198
|
339,2
|
0,246
|
0,071
|
24
|
|
чист. точение Ø146
|
0,2
|
0,8
|
60
|
280
|
128
|
224
|
0,316
|
0,027
|
6
|
|
8 поз.
|
чист. точение R70
|
0,5
|
0,8
|
60
|
250
|
110
|
200
|
0,677
|
0,095
|
19
|
|
010
|
Токарно-автоматная
|
|
|
|
|
|
|
|
|
|
|
2 поз.
|
черн. точение Ø188
|
1,1
|
0,8
|
60
|
170
|
100
|
136
|
1,359
|
0,353
|
48
|
|
черн. точение Ø75
|
0,9
|
0,8
|
60
|
425
|
100
|
340
|
1,109
|
0,074
|
25
|
|
3 поз.
|
получ. точение Ø75
|
0,4
|
0,8
|
60
|
500
|
118
|
400
|
0,580
|
0,063
|
25
|
|
4 поз.
|
черн. точение
80
|
1,5
|
1
|
60
|
355
|
84
|
355
|
1,826
|
0,014
|
5
|
|
черн. точение
55,5+0,15
|
1
|
0,8
|
60
|
315
|
99
|
252
|
1,218
|
0,052
|
13
|
|
черн. точение
52,5
|
1,3
|
1
|
60
|
200
|
82
|
200
|
1,545
|
0,075
|
15
|
|
5 поз.
|
чист. точение Ø75
|
0,2
|
0,8
|
60
|
530
|
125
|
424
|
0,307
|
0,059
|
25
|
|
6 поз.
|
черн. точение
46-1,0
|
1,3
|
0,8
|
60
|
160
|
94
|
128
|
1,512
|
0,375
|
48
|
|
015
|
Алмазно-расточная
|
|
|
|
|
|
|
|
|
|
|
Лев. гол-ка
|
Алмазное
точение Ø146
|
0,1
|
0,1
|
60
|
800
|
367
|
80
|
0,095
|
0,075
|
6
|
|
Прав. гол-ка
|
Алмазное
точение Ø75 чист.
точение 55,5+0,15
|
0,1
|
0,1
|
60
|
1500
|
353
|
150
|
0,091
|
0,167
|
25
|
|
020
|
Агрегатно-сверлильная
|
|
|
|
|
|
|
|
|
|
|
сверлить 2 отв.
Ø9
|
4,5
|
0,35
|
60
|
1320
|
37
|
462
|
494,0
|
0,029
|
13,5
|
|
зенк-ть 2
полуотв. Ø12
|
6
|
0,8
|
60
|
1000
|
38
|
800
|
463,81
|
0,026
|
21
|
1.13
Определение норм времени на операции
Расчёт норм времени проводим подробно для одной токарной
операции 005.
Определяем вспомогательное время:
Твсп =Тус+Тзо+Туп+Тиз
где Тус = 0,11мин - время на установку и снятие
детали (табл.5.1 [4])
Тзо = 0,024 мин - время на открепление и
закрепление детали (табл.5.7 [4])
Туп = 0.01 мин - время на приём управления
(табл.5,8 [4])
Тиз = 0,29+5*0,15+2*0,12 = 1,28 мин - время на
измерение детали (табл.5,16 [4]).
При измерении используются штангенциркуль, штангенглубиномер,
пробки.
Твсп = 0,11+0,024+0,01+1,28=1,424 мин
Время на обслуживание рабочего места, отдых определяется как:
Тоб. от = Топ * Поб. отд. /100
где Топ =Твсп+Тосн - оперативное
время, мин
Тосн=0,514мин - основное время,
Поб. отд - затраты на обслуживание рабочего места
и отдых (табл.6.1 [4])
Топ = 1,424+0,514=1,938
Тоб. от =1,938*6,5/100 = 0,126мин
Далее определяем нормы штучного времени:
Тшт = Тосн+ Твсп + Тоб.
от
Тшт = 1,938+1,424+0,126 = 3,488 мин
Расчёт норм штучно-калькуляционного времени производим по
формуле:
Тшт.к. = Тп. з. /n + Тшт
где Тп. з - подготовительно-заключительное время,
мин
n - количество деталей в партии, шт.
Тп. з = 8 мин. (табл.6.3 [4])
где Nгод=40000шт - объём выпуска в год;
а=3 - периодичность в днях;
Ф = 267 дней - число рабочих дней в году.
Таблица 1.11 Технические нормы времени по операциям, мин.
|
№ операции
|
Наименование
опеации
|
Твсп,
мин
|
Топ
|
Тоб. от
|
Тшт
|
Тшт.к.
|
|
|
Тус
|
Тзо
|
Туп
|
Тиз
|
|
|
|
|
|
005
|
Токарно-автоматная
|
0,11
|
0,024
|
0,01
|
1,42
|
1,938
|
0,126
|
3,488
|
3,505
|
|
010
|
Токарно-автоматная
|
0,11
|
0,024
|
0,01
|
1,12
|
0,791
|
0,051
|
1,528
|
1,544
|
|
015
|
Алмазно-расточная
|
0,10
|
0,024
|
0,01
|
0,42
|
0,721
|
0,047
|
0,768
|
0,795
|
|
020
|
Агрегатно-сверлильная
|
0,11
|
0,024
|
0,01
|
0, 20
|
0,463
|
0,025
|
0,488
|
0,499
|
1.14
Выявление и расчёт технологической размерной цепи
При точение на токарно-автоматной операции в качестве
исходного звена АΔ принимаем чертёжный
размер детали, равный 6±0,6 мм. Принцип единства баз для данного размера не
соблюдается, так как измерительной базой является торец крышки, который при
сборке дифференциала контактирует с корпусом, а технологической базой является
торец (точки 1,2,3), который ограничивает перемещение заготовки в направлении
выдерживаемого размера АΔ. На предыдущей позиции
размер А1 был получен с соблюдение принципа единства баз, так как
измерительной базой и технологической базой, которая ограничивает перемещение
заготовки в направлении выдерживаемого размера А1, является торец
(точки 1,2.3).
Рисунок 1.11 Технологическая размерная цепь.
Технологический допуск размера А1 равен допуску на
размер полученный после точения и составит ТА1=0,3мм [2, том1,
табл.8].
Размер А2 получается как технологический. Его
технологический допуск равен допуску размера после точения и составит ТА2=0,46мм
[2, том1, табл.8].
Проверим условие:
,2≥0,3+0,46=0,76
Условие выполняется, значит данный техпроцесс обеспечивает
требуемую точность замыкающего звена.
1.15
Определение количества оборудования и его загрузка
Для крупно-серийного производства число станков на каждую
операцию рассчитывается по формуле:
где Тшт.к. - штучно-калькуляционное время обработки
изделия, мин;
Ni - программа выпуска каждой закреплённой за рабочим местом детали,
шт;
F - действительный годовой фонд времени работы оборудования (час)
F = 4656 ч.
n -
количество разных деталей, изготавливаемых на переменно-поточной линии;
n = 1
Рассчитываем количество станков для операций:
Операция 005.
станка
Округляем в большую сторону до целого числа, принимаем Sпр=1ст.
Коэффициент загрузки станка на этой операции:
где Sпр - принятое количество станков;
Si - расчётное количество станков.
Операция 010.
станка
Округляем в большую сторону до целого числа, принимаем Sпр=1ст.
Коэффициент загрузки станка на этой операции:
Операция 015.
станка
Округляем в большую сторону до целого числа, принимаем Sпр=1ст.
Коэффициент загрузки станка на этой операции:
Операция 020.
станка
Округляем в большую сторону до целого числа, принимаем Sпр=1ст.
Коэффициент загрузки станка на этой операции:
|
1К282
Токарно-автоматная
|
1Б284
Токарно-автоматная
|
2706В
Алмазно-расточная
|
СС100-97
Агрегатно-сверлильная
|
Рисунок 1.12 График загрузки оборудования.
1.16
Уточнённый расчёт типа производства
Уточнённый расчёт типа производства производится на основе
определения коэффициента закрепления операции:
где О - количество всех различных технологических операций,
выполняемых в течение месяца.
Р - число рабочих мест, необходимых для выполнения месячной
программы.
Число рабочих мест для выполнения определённой операции:
где
NM - месячный объём выпуска данной детали;
Тшт - штучное время на выполнение определённой операции;
Кп. з. = 1,1 - коэффициент подготовительно-заключительного
времени;
FM=388 час. - месячный фонд работы
оборудования;
Кв=1,2 - коэффициент выполнения норм времени.
Токарная. Тшт=3,488мин.
Рассчитанное число рабочих мест округляем до ближайшего целого числа.
. Коэффициент загрузки рабочих мест:
Количество операций выполняемых на рабочем месте:
где ηН = 0,8 - нормативный коэффициент загрузки
рабочих мест
Токарная. Тшт=1,528мин.
Рассчитанное число рабочих мест округляем до ближайшего целого
числа.
Коэффициент загрузки рабочих мест:
Количество операций выполняемых на рабочем месте:
Алмазно-расточная. Тшт=0,768мин.
Рассчитанное число рабочих мест округляем до ближайшего целого
числа.
Коэффициент загрузки рабочих мест:
Количество операций выполняемых на рабочем месте:
Агрегатно-сверлильная. Тшт=0,488мин.
Рассчитанное число рабочих мест округляем до ближайшего целого
числа.
. Коэффициент загрузки рабочих мест:
Количество операций выполняемых на рабочем месте:
Определяем общее количество операций, выполняемых на всех рабочих
местах и общее количество рабочих мест:
операций;
рабочих места;
.
Так как Кзо=6,75, то производство детали соответствует
крупносерийному типу производства.
Рассчитаем такт выпуска:
где F - действительный годовой фонд времени
оборудования при 2-х сменной работе
N - годовой объём выпуска деталей.
2. Расчёт и
проектирование приспособления для контроля радиального биения сферы R70+0,12.
2.1 Расчёт
приспособления на точность
Приспособление предназначено для контроля радиального биения
сферы R70+0,12.
Оно состоит из кронштейна, крестовины оправки, индикатора. Данное
приспособление базируется на детали по поверхности Ø60H9 (поверхность Е) упираясь в торец Г. После установки
приспособления на деталь, стрелку индикатора устанавливают на "0”, затем с
помощью рукоятки проворачивают приспособление, снимая показания индикатора.
Для того чтобы контрольное приспособление обеспечивало
правильность контроля, требуется, чтобы его погрешность была не более 1/3
допуска на контролируемый параметр.
;
,
где ∑εi - суммарное значение погрешностей в процессе
измерения.
Погрешности в процессе измерения:
εб - погрешность базирования;
εЗ - погрешность закрепления;
εИ - погрешность в результате износа установочных элементов;
εпер. мех - погрешность передаточных механизмов;
εизм. средства - погрешность средств измерения
(индикатора), в первом приближении равна цене деления этого прибора.
. εб = 0, так как зазор в отверстие Ø60H9 выбирается в одном направлении за счёт веса детали;
. εЗ = 0, так в нашем случае не происходит
закрепление детали на контрольном приспособлении;
. εИ = 0, так как износ оправки по всей длине
одинаковый, и при установке контрольного приспособления на деталь индикатор
каждый раз выставляется на "0”;
. εпер.
мех. = 0,005мм
. εизм.
средства = 0,01, так
как в качестве средства измерения используется индикатор часового типа (ИЧ), у
которого цена деления равна 0,01мм.
,
что меньше допустимой погрешности ΔПР = 0,02мм.
Заключение
В данном курсовом проекте на основе базового технологического
процесса мы разработали технологический процесс изготовления детали
"Крышка 85-2403019”.
Предложенный технологический процесс является более эффективным
и прогрессивным по сравнению с базовым.
В проекте был принят другой метод получения заготовки, был
изменён маршрут механической обработки, что позволило сократить количество
оборудования по сравнению с базовым технологическим процессом.
Таким образом, в ходе выполнения курсового проекта закрепили
теоретические знания, ознакомились со специальной технической литературой,
научились самостоятельно разрабатывать технологические процессы.
Список
литературы
1.
Горбацевич А.Ф., Шкред В.А., Курсовое проектирование по технологии
машиностроения - Мн: Высшая школа 1983г., 256с.
.
Справочник технолога-машиностроителя под редакцией Косиловой А.Г., том 1.
Машиностроение, 1985г., 656с.
.
Проектирование технологических процессов механической обработки в машиностроении
(под редакцией Бабука В. В.) Мн., Высшая школа, 1987г., 260с.
.
Справочник технолога-машиностроителя под редакцией Косиловой А.Г., том 2.
Машиностроение, 1985г., 496с.
.
Методические указания по расчёту припусков расчётно-аналитическим методом, Брест
1996г.
.
Методические указания по нормированию технологических процессов для выполнения
курсового и дипломного проектирования для студентов по специальности Т03.01.,
Брест, 1999г.