Разработка технологического процесса изготовления детали 'Маска фары'
1 ОБЩАЯ ЧАСТЬ
1.1 Введение
Тема дипломного проекта: «Спроектировать участок
и разработать технологический процесс изготовления детали № 75131 - 3711098
Маска фары ».
Данную деталь получают холодной листовой
штамповкой, которая является одним из наиболее прогрессивных технологических
методов производства; она имеет ряд преимуществ перед другими видами обработки
металлов, как в техническом, так и в экономическом отношении.
В техническом отношении холодная штамповка
позволяет:
). получить детали весьма сложных форм,
изготовление которых другими методами обработки невозможно или затруднительно;
). создать прочные и жесткие, но легкие по массе
конструкции деталей при небольшом расходе материала;
). получать взаимозаменяемые детали с достаточно
высокой точностью размеров, преимущественно без последующей механической
обработки.
В экономическом отношении холодная штамповка
обладает следующими преимуществами:
). экономное использование материала и
сравнительно небольшой отход;
). весьма высокая производительность оборудования,
с применением механизации и автоматизации производственных процессов;
). массовый выпуск и низкая стоимость
изготавливаемых изделий.
Наибольший эффект от применения холодной
штамповки может быть обеспечен при комплексном решении технических вопросов на
всех стадиях подготовки производства, начиная с создания технологичных
конструкций или форм деталей, допускающих экономичное изготовление их.
По характеру деформаций холодная штамповка
расчленяется на две основные группы: деформация с разделением материала и
пластические деформации.
Первая группа объединяет деформации, которые
приводят к тесному разделению материала путем среза и отделения одной его части
от другой. Группа пластических деформаций холодной листовой штамповки включает
операции по изменению формы гнутых и полых листовых деталей.
Штамповка деталей путем выполнения нескольких
раздельных операций в большинстве случаев технологически не выгодно, и поэтому
применяют методы комбинированной штамповки, одновременно сочетающее две или
несколько из указанных деформаций и отдельных операций. Кроме того, на
производстве используют сборочно-штамповочные операции, основанные на
применении деформации гибки, формовки или отбортовки.
Кроме штамповочных операций в холодной штамповке
применяют заготовительные, давильно-накатные, вспомогательные, термические и
отделочные операции.
Холодная листовая штамповка широко применяется в
машиностроительной, приборостроительной и других отраслях промышленности.
Наибольшее распространение холодная штамповка
получила в крупносерийном и массовом производстве, где большие масштабы выпуска
позволяют применять технически более совершенные, хотя и более сложные и
дорогие штампы.
Целью дипломного проектирования является
систематизация, углубление и закрепление теоретических знаний полученных при
изучении специальных курсов. Применение этих знаний при комплексном решении
конкретной задачи, развитие навыков самостоятельной работы.
Основная задача дипломного проектирования
разработка нового, наиболее прогрессивного и эффективного технологического
процесса и составления технико-экономических показателей.
1.2 Условия работы,
конструкция и назначение детали
Деталь № 75131 - 3711098 “Маска фары”
изготавливается из стали 08 кп ГОСТ 9045 - 93.
Данная сталь является тонколистовой углеродистой,
конструкционной, качественной с содержанием углерода 0,08%, кипящей.
“Маска фары” представляет собой деталь
коробчатой формы с фланцем и вырубленным дном. По краям пробиты четыре овальных
отверстия.
Данная деталь служит для крепления и удержания
фары освещения автомобиля в отверстии бампера.
Деталь является технологичной, так как форма
детали симметричная, форма отверстий не сложная, радиус закругления у фланца и
дна больше двух толщин, вытягиваемая часть не глубокая, в плане и у дна детали
острых углов не наблюдается, расстояние от края отверстия до стенки детали, а
также расстояние между отверстиями соответствует значениям.
Рисунок 1.1 - Эскиз детали
Механические свойства и химический свойств стали
08 кп приведены в таблице 1.1 и 1.2.
Технологические свойства стали 08 кп:
1) температура ковки, 
: начала 1250
, конца 800
, сечение до 300 мм охлаждается на
воздухе;
) свариваемость - сваривается без
ограничений, кроме химико-термически обработанных деталей; способы сварки: РДС,
АДС под флюсом и газовой защитой, ХТС;
) обрабатываемость резанием - в
горячекатанном состоянии при HB 131 и
) флаконочувствительность - не
чувствительна;
) склонность к отпускной хрупкости -
не склонна.
Таблица 1.1 - Механические свойства
стали 08 кп
|
Марка
стали
|
Сопротивление
срезу ,
кгс/мм2Предел прочности ,
кгс/мм2Относительное удлинение , % (не менее)
|
|
|
|
|
|

|
|
|
08
кп
|
25
|
≥
30
|
35
|
-
|
Таблица 1.2 - Химические состав стали 08 кп, %
|
С
|
Мn
|
Si
|
Cr
|
S
|
P
|
Cu
|
Ni
|
Au
|
|
|
|
Не
менее
|
|
0,05
- 0,11
|
0,25
- 0,50
|
до
0,03
|
0,10
|
0,04
|
0,035
|
0,25
|
0,25
|
0,08
|
2. ТЕХНОЛОГИЧЕСКАЯ ЧАСТЬ
.1 Анализ существующего
технологического процесса изготовления детали
Деталь № 75131 - 3711098 “Маска фары” в
настоящее время изготавливается по следующему технологическому процессу:
) вырубка;
) вытяжка;
) вырубка и пробивка;
) пробивка;
) зачистка.
Подача заготовки и удаление отхода производится
грейферной подачей.
В разработанном технологическом процессе в
качестве исходной заготовки применяется рулонная лента. Подача ленты в штамп
осуществляется валковой подачей, перенос заготовки в процессе штамповки и
удаление готовой детали осуществляется грейферной подачей. Вырубка производится
в вырубном штампе, вытяжка в штампе для вытяжки, вырубка и пробивка в
совмещенном штампе, пробивка в штампе для пробивки. Все операции по
изготовлению данной детали осуществляются на многопозиционном прессе - автомате
АА6138.
Зачистка производится при помощи шлифовального
диска, напильника, ручной шлифовальной машины.
Исключение операции зачистки понижает трудоемкость
изготовления детали. Применение автоматической подачи заготовок и удаление их
из зоны штамповки повышает культуру производства и обеспечивает технику
безопасности производства.
2.2 Расчет размеров
исходной заготовки
При вытяжке деталей коробчатой формы размеры
исходной заготовки определяются с помощью метода развертки элементов
прямоугольной коробки на плоскость, с вычерчиванием плавного контура в углах
развертки. При этом производятся следующие подсчеты, в соответствии с рисунком
2.1.
Рисунок 2.1 - Схема построения заготовки
Длина выпрямленной стенки определяется по
формуле:
, (2.1), [8], с.114
где 
= 245 мм - ширина коробки с
фланцем;
В = 164 мм - ширина коробки без
фланца;
Н = 27 мм - высота коробки;

= 3 мм - средний радиус закругления
у дна и фланца.
мм.
Радиус заготовки в углах коробки
определяется по формуле:
, (2.2), [8], с.114
где Rф
= 52 мм - радиус закругления фланца;
rу = 3 мм - угловой
радиус.
мм.
Ширина заготовки определяется по
формуле:
, (2.3), [8], с.115
где 
= 245 мм - ширина коробки с
фланцем.
мм.
Длина заготовки определяется по
формуле:
, (2.4), [8], с.115
где 
= 350 мм - длина коробки с фланцем.
мм.
Принимается припуск на обрезку 6 мм.
Тогда размеры заготовки будут 300 × 405 мм.
2.3 Раскрой
материала и определение норм расхода
Деталь “Маска фары” имеет прямоугольную форму,
поэтому применяется прямой тип раскроя. Вырубка производится с перемычкой.
Ширина ленты рулона определяется в соответствии с рисунком 2.2 по формуле:
, (2.5)
где N
= 405 мм - длина исходной заготовки;
b = 3,0 мм -
величина перемычки.
Рисунок 2.2 - Схема раскроя
мм.
Принимается ширина ленты рулона 411
мм.
Шаг подачи определяется по формуле:
, (2.6)
где а = 3,5 мм - величина перемычки;
К = 300 мм - ширина исходной заготовки.
мм.
Принимается шаг подачи 303,5 мм.
В качестве исходного материала для
детали “Маска фары” применяется рулон:
Масса рулона определяется по
формуле:
(2.7)
где
- объем рулона, мм3;
= 0,00785 г/мм3 - плотность стали.
Объем рулона определяется по
формуле:
(2.8)
где D
= 1200 мм - наружный диаметр рулона;
d
= 600 мм - внутренний диаметр рулона;
В - ширина ленты рулона, мм.
мм3.
г.
Длина ленты определяется по формуле:
(2.9)
где S
= 1,2 мм - толщина материала.
мм.
Количество деталей из рулона
определяется по формуле:
(2.10)
.
Принимается 2327 штук.
Масса нормы расхода определяется по
формуле:
(2.11)
г.
Коэффициент использования материала
определяется по формуле:
(2.12)
где
= 610 г - масса детали.
.
2.4 Расчет
технологических усилий
2.4.1
Расчет усилия штамповки в вырубном штампе
Усилие вырубки определяется по
формуле:
(2.13)
где k
= 1,2 - коэффициент затупления режущих кромок;
l
- периметр среза;
S
= 1,2 мм - толщина материала;
= 25 кгс/мм2 - сопротивление среза.
Периметр среза равен:
мм.
Усилие снятия полосы с пуансона
определяется по формуле:
(2.14)
где
= 0,06 - коэффициент, зависящий от
типа штампа и толщины материала [8], с.21, табл. 6.
кН.
Усилие проталкивания детали через
матрицу с цилиндрической шейкой определяется по формуле:
(2.15)
где
= 0,14-коэффициент, устанавливающий
соотношение между
и P.
n = 1 -
количество деталей находящихся в шейке матрицы;
кН.
Общее усилие штампа составляет:
(2.16)
кН.
2.4.2
Расчет усилия вытяжки в вытяжном штампе
Усилие вытяжки определяется по
формуле:
(2.17)
где А = 306 мм - длина
прямоугольной коробки;
В = 201 мм - ширина
прямоугольной коробки;
r
= 3 мм - радиус углового закругления коробки;
S
= 1,2 мм - толщина материала;
= 30 кгс/мм2 - предел прочности;
= 0,5 - коэффициент вытяжки низких
прямоугольных коробок.
Усилие прижима определяется по
формуле:
(2.18)
где F
- площадь заготовки находящаяся под прижимом, мм2;
q
= 0,25 кгс/мм2 - давление прижима.
(2.19)
мм2,
мм2,
мм2.
Тогда:
Общее усилие штампа составляет:
(2.20)
кН.
2.4.3
Расчет усилия штамповки в совмещенном штампе
Усилие вырубки определяется по
формуле:
где l - периметр
среза.
Периметр среза равен:
мм.
Усилие снятия полосы с пуансона
определяется по формуле:
,
где
= 0,06.
кН.
Усилие проталкивания детали через
матрицу с цилиндрической шейкой определяется по формуле:
где
= 0,14;
n = 1.
кН.
Общее усилие штампа составляет:
,
кН.
Усилие пробивки определяется по
формуле:
(2.21)
где l
- периметр среза.
Периметр среза равен:
мм.
Так как в детали пробивается четыре
отверстия, то усилие пробивки будет равным:
Усилие снятия полосы с пуансона
определяется по формуле:
(2.22)
где
= 0,12.
кН.
Усилие проталкивания детали через
матрицу с цилиндрической шейкой определяется по формуле:
(2.23)
где
= 0,1;
n = 1.
кН.
Общее усилие штампа составляет:
(2.24)
кН.
2.4.4
Расчет усилия штамповки в вырубном штампе
Усилие вырубки определяется по
формуле:
где l - периметр
среза.
Периметр среза равен:
мм.
Усилие снятия полосы с пуансона
определяется по формуле:
,
где
= 0,06.
кН.
Усилие проталкивания детали через
матрицу с цилиндрической шейкой определяется по формуле:
,
где
= 0,1;
n = 1.
кН.
Общее усилие штампа составляет:
,
кН.
Общее усилие пресса определяется по
формуле:
(2.25)
кН.
По рассчитанному усилию и
габаритным размерам принимается многопозиционный пресс - автомат АА6138.
.5
Механизация и автоматизация процесса штамповки
Механизация - полная и частичная замена
физического труда человека работой машины, механизмов, приспособлений. Если
рабочий не только управляет машиной, но и выполняет часть производственной
операции вручную, то механизация называется частичной.
Механизация процессов холодной листовой
штамповки заключается либо в объединении нескольких технологических операций в
одном комбинированном штампе, либо в установке дополнительных приспособлений к
штампам и прессам, так называемых подач.
Механизация кроме легко учитываемой экономии на
прямой заработок дает трудно учитываемую эффективность от сокращения
производственного цикла, ускорение оборачиваемости оборотных средств,
уменьшение складских площадей.
При автоматизации, машина по заданной программе
выполняет подачу заготовки в штамп, удаление готовых деталей и отходов, рабочий
- оператор, только контролирует ее работу.
Автоматизация листовых штамповочных работ
позволяет в несколько раз увеличить производительность труда, а также
обеспечивает полную безопасность работы на прессах, так как отпадают ручные
операции в рабочей зоне штампа.
Автоматизация меняет характер труда, сближает
физический труд с умственным, повышает культурно - технический уровень
трудящихся. Без автоматизации невозможны высокие темпы дальнейшего роста
производительности труда и прогресса в машиностроении.
Механизации и автоматизации удаления отходов и
отштампованных деталей из штампов необходимо уделять наибольшее внимание, т.к.
при ручной подаче заготовки и ручном удалении готовой детали наиболее часто
наблюдаются случаи травматизма.
Степень возможной автоматизации и механизации
процессов штамповки зависит от типа и масштаба производства, а также от
экономической целесообразности ее применения.
При автоматической подаче ленты
многооперационные последовательные штампы представляют собой полный автомат,
применение которого позволяет сократить количество оборудования до одного
пресса.
Стремление максимально автоматизировать процесс
штамповки и увеличить производительность процессов привело к созданию прессов -
автоматов, производящих на одном прессе несколько операций - от первой до
последней. Для осуществления этого процесса применяются грейферные подачи,
позволяющие перемещение полуфабрикатов при помощи зажимных пластин (линеек),
имеющих возвратно-поступательное движение, по линии передвижения заготовки.
Грейферные подачи можно использовать не только для транспортирования
полуфабрикатов между позициями штамповки, но и для загрузки исходной заготовки
и выгрузки готового изделия.
Деталь № 75131 - 3711098 “Маска фары”
изготавливается из рулонной ленты. Учитывая многопозиционность изготовления
детали целесообразно применить штамповку на многопозиционном прессе-автомате,
которая обеспечивает подачу, перемещение и удаление заготовок в автоматическом
режиме. Пресс оснащён устройством для принудительного разматывания рулона,
правильным устройством, валковой подачей для подачи материала в зону штамповки,
шиберной подачей для подачи вырубленной заготовки с первой на вторую позицию и
грейферной подачей для дальнейшего перемещения заготовки и удаления готовой
детали из рабочей зоны штампа. Схема грейферной подачи представлена на рисунке
2.3.
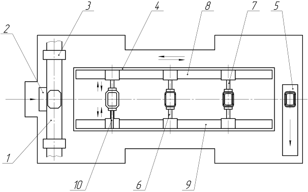
Рис. 2.3 - Схема грейферной подачи
- лента; 2 - шиберная подача; 3 - валки; 4 -
грейфер; 5 - склиз;
- захват нижний; 7 - захват верхний; 8 - линейка
верхняя;
- линейка нижняя; 10 - блокирующее концевое устройство.
Механизм грейферной подачи состоит из двух
линеек с закрепленными на них трафаретами. Линейки имеют продольное и
поперечное перемещение. Про поперечном перемещении линеек происходит захват
полуфабриката между трафаретами. При продольном перемещении линеек происходит
передача полуфабриката с позиции на позицию. [9]
штамповка деталь холодный листовая
2.6
Отделочные операции
Отделочными считаются такие технологические
операции, при которых устраняются мелкие дефекты детали.
Отделочные операции применяются для подготовки,
улучшения качества поверхности детали, удаления и зачистки заусенца. В
зависимости от формы детали и свойства материала применяют механические,
электрохимические и другие способы отделочных операций.
После вырубки и пробивки на материале появляется
заусенец, который удаляется при помощи ручной шлифовальной машины. [4]
3. КОНСТРУКТОРСКАЯ
ЧАСТЬ
3.1
Описание конструкции и работы спроектированных штампов
Штамп для вытяжки состоит из
нижней (1) и верхней (2) плит, соединенных между собой направляющими колонками
(16) и втулками (15).
На верхней плите (2) установлен
и закреплен винтами (14) подпружиненный выталкиватель (6), позволяющий снимать
деталь с вытяжной матрицы (3), которая крепится к плите винтами (12) и штифтами
(13).
К нижней плите (1) крепится
вытяжной пуансон (4) при помощи винтов (12) и штифтов (13). Также в нижней
части штампа находится система толкателей (24) и (25), которая приводит в
действие прижим (5). Движение прижима ограничивают скобы (8) закрепленные
винтами (4) к нижней плите. В нижней части нижней плиты установлена траверса
(7), закрепленная при помощи пальцев (18).
Штамп работает следующим
образом. Заготовка подается грейферной подачей на позицию вытяжки,
устанавливается по упорам (26) на пуансон (4) и прижим (5).
При движении верхней части
штампа вниз, под действием толкателя (24) вытяжная матрица (3) прижимает
заготовку к прижиму (5), тем самым, опуская его и высвобождая вытяжной пуансон
(4). Происходит вытяжка детали. Глубина вытяжки регулируется ограничителями
(17).
При возвращении верхней части
штампа в исходное положение прижим (5) поднимается и снимает деталь с пуансона
(4), а выталкиватель(6) удаляет ее с вытяжной матрицы (3).
Штамп для пробивки состоит из
нижней (1) и верхней (2) плит, соединенных между собой направляющими колонками
(16) и втулками (15).
Пробивной пуансон (3) с
подкладкой крепится к верхней плите (2) винтами (10) и штифтами (13). Также к
верхней плите крепится подпружиненный съемник (6) при помощи винтов (14).
К нижней плите (1) штампа крепится
пробивная матрица (4) винтами (8) и штифтами (12). К матрице (4) крепится
трафарет (5) с помощью винтов (7) и штифтов (11).
Штамп работает следующим
образом. Деталь после предыдущей операции подается грейферной подачей к
пробивному штампу и устанавливается на трафарет (5). Пресс включается на
рабочий ход.
При опускании верхней части
штампа деталь прижимается съемником (6) к трафарету (5), а пробивной пуансон
(3) опускаясь, пробивает дно детали, которое удаляется на провал.
При возвращении верхней части
штампа в исходное положение съемник (6) под действием пружин (18) снимает
пробитую деталь с пуансона (3). Готовая деталь удаляется из штампа механической
рукой. [9]
3.2 Определение
закрытой высоты штампа
Штамп проектируется в его нижнем рабочем положении.
В этом положении наилучшим образом увязывается взаимодействие рабочих,
прижимающих и удаляющих деталей штампа.
Высота штампа в нижнем рабочем положении
называется закрытой высотой штампа; она должна быть увязана с закрытой высотой
пресса.
Закрытая высота пресса называется расстояние от
плиты до ползуна пресса в его нижнем положении при максимальном ходе и
укороченной длине шатуна. Закрытая высота пресса указывает на предельную высоту
штамп, который может быть установлен на данном прессе.
Закрытая высота штампа должна находиться между
наибольшей и наименьшей закрытой высотой пресса.
Наименьшая закрытая высота пресса определяется
по формуле:
(3.1)
где Н = 800 мм - наибольшая закрытая высота
пресса;
М = 80 мм - величина регулируемой длины шатуна.
мм.
Определяем закрытую высоту вытяжного и
пробивного штампов в соответствии с рисунком 3.1.
Закрытая высота вытяжного штампа определяется по
формуле:
(3.2)
где
= 306 мм - закрытая высота штампа.
,
мм.
Так как
то
необходимо установить промежуточные подкладные плиты.
Закрытая высота пробивного штампа определяется
по формуле:
где
= 316 мм - закрытая высота штампа.
,
мм.
Так как
, то
необходимо установить промежуточные подкладные плиты.
Рисунок 3.1 - Схема закрытой высоты
h - величина хода
ползуна; М - величина регулировки длины шатуна;
Н - наибольшая закрытая высота пресса
(расстояние от плиты до ползуна в его нижнем положении при максимальном ходе и
наименьшей длине ползуна); L
- расстояние от стола до направляющих; R
- вылет от оси ползуна до станины; А1 × В1
- размеры стола (не показан); a
× b - размеры
отверстия в столе; А × В - размеры
подкладной плиты; H1 - толщина
подкладной плиты; D - диаметр
отверстия в подкладной плите; K
× S - размеры нижней
площади ползуна; F × F
- размеры квадратного отверстия в ползуне; l
- глубина квадратного отверстия в ползуне;N
- расстояние от выталкивателя до нижней поверхности ползуна; с - ход
выталкивателя; H2 -
наименьшая закрытая высота пресса (Н - М); Ншт. - закрытая высота пресса
3.3 Расчет
исполнительных размеров рабочих частей штампов
На операции вытяжки получается деталь коробчатой
формы. Согласно этому, исполнительные размеры рабочих частей вытяжного штампа
будут рассчитываться по длине и по ширине, на основании внутренних размеров
детали, в соответствии с рисунком 3.2.
Рисунок 3.2 - Схема допусков на изготовления
вытяжных матриц и пуансонов
Исполнительные размеры пуансона по длине
определяются по формуле:
(3.3)
где l
= 306 мм - длина коробчатой части детали;
= 2,1 мм - допуск на размер детали;
= 0,017 мм - допуск на изготовление
пуансона из источника [8] по таблице 196.
мм.
Исполнительные размеры пуансона по ширине
определяются по формуле:
где l = 201 мм -
ширина коробчатой части детали;
= 1,85 мм - допуск на размер
детали.
мм.
Исполнительные размеры матрицы по
длине определяются по формуле:
(3.4)
где l
= 306 мм - длина коробчатой части детали;
= 2,1 мм - допуск на размер детали;
= 1,2 мм - односторонний зазор при
вытяжке;
= 0,027 мм - допуск на изготовление
матрицы из источника [8] по таблице 196.
мм.
Исполнительные размеры матрицы по
длине определяются по формуле:
где l = 201 мм -
ширина коробчатой части детали;
= 1,85 мм - допуск на размер
детали.
мм.
3.4 Выбор материалов деталей штампов
Рабочие детали штампов (пуансоны и матрицы)
подвергаются ударной нагрузке с сильной концентрацией напряжений на рабочих
кромках или на рабочей поверхности. Поэтому к материалу пуансонов и матриц предъявляется
требование высокой или повышенной твердости и износостойкости при наличии
достаточной вязкости.
Материалы, применяемые для изготовления
пуансонов и матриц приведены в таблице 3.1.
Таблица 3.1 - Материалы, применяемые для
изготовления пуансонов и матриц
|
Детали
штампов
|
|
Применяймая
|
Допускаемые
заменители
|
|
Пуансоны
и матрицы вырубные и пробивные: простой формы
|
У10,
Х12М
|
5ХВ2С,
ШХ15, Х12М,
|
Марки материалов и сталей, применяемые для
изготовления различных деталей штампа приведены в таблице 3.2.
Таблица 3.2 - Марки материалов и сталей,
применяемые для изготовления различных деталей штампа
|
Детали
штампов
|
Марки
материала
|
Термообработка
|
|
Основная
|
Заменитель
|
|
|
Плиты
штампов литые
|
Сталь
35
|
Стальное
литье 30Л, 40Л
|
-
|
|
Колонки
направляющие
|
Сталь
20 Стали 45, 50
|
Ст
2
|
Цементировать
на глубину 0,5 - 1,0 мм; калить HRC 58 - 62.
Калить HRC 45 - 50
|
|
Втулки
направляющие
|
Сталь
20 Стали 45, 50
|
Ст
2
|
Цементировать
на глубину 0,5 - 1,0 мм; калить HRC 58 - 62.
Калить HRC 45 - 50
|
|
Подкладки
под пуансон
|
Сталь
40Х
|
Ст
5
|
Калить
HRC 45 - 50
|
|
Съемники
|
Сталь
40, 40Х
|
Сталь
25
|
-
|
|
Упоры
|
Сталь
45
|
-
|
Калить
HRC 40 - 45
|
|
Детали
штампов
|
Марки
материала
|
Термообработка
|
|
Основная
|
Заменитель
|
|
|
Прижимы,
направляющие планки, выталкиватели
|
Сталь
40Х, 45
|
Ст
5
|
Калить
HRC 50 -54
|
|
Штифты
|
Сталь
У8
|
Ст
6
|
Калить
HRC 45 - 50
|
|
Винты
|
Сталь
45
|
-
|
Калить
головку HRC 40 - 45
|
|
ружины
|
Стали
65Г, 60С2
|
Стальная
проволока 11-го класса
|
Калить
HRC 40 - 48
|
4. ОРГАНИЗАЦИОННАЯ ЧАСТЬ
4.1
Определение типа производства
В зависимости от количества штампованных деталей
выпускаемых в течение года различают листоштамповочные цехи с массовым и
различной серийности производством.
Типовые признаки серийности в листоштамповочном
производстве приведены в таблице 4.1 из источника [2].
Таблица 4.1. - Типовые признаки серийности в
листоштамповочном производстве
|
Типовые
признаки
|
Тип
производства
|
|
Массовое
|
Крупносерийное
|
Серийное
|
Мелкосерийное
|
Единичное
|
|
Характер
производства
|
Непрерывное
поточное
|
Поточное
крупными партиями
|
Поточное
средними партиями
|
Групповая
штамповка
|
|
Типы
оборудования
|
Поточно-механизированные
и автоматические линии, специальные штамповочные автоматы
|
Переналаживаемые
поточно-механизированные и автоматические линии, штамповочные автоматы
|
Поточные
линии, универсальные прессы, полуавтоматы
|
Универсальные
прессы
|
Обтяжные
и листогибочные прессы, бульдозеры, вибрационные и роликовые ножницы, мелкие
и средние прессы
|
|
Ориентировочный
годовой выпуск, тыс. шт.
|
|
Особо
крупные и крупные детали
|
≥
400
|
≥
50
|
≥
10
|
≥
1
|
Единицы
|
|
Средние
детали
|
≥
800
|
≥
100
|
≥
20
|
≥
1
|
Десятки
|
|
Мелкие
и особо мелкие детали
|
≥
2000
|
≥
200
|
≥
50
|
≥
1
|
Сотни
|
|
|
|
|
|
|
|
Годовая производственная программа для детали
представителя составляет 200000 штук в год. За единицей оборудования на участке
закреплено 20 деталей. Суммарная годовая программа для данного оборудования
составляет 4000000 штук в год.
Проанализировав вышеперечисленные признаки,
можно сделать вывод, что тип производства крупносерийный.
.2 Нормирование
операций
Расчет нормы штучного времени
определяется по формуле:
(4.1)
где То - основное (машинное)
время, мин;
Тв - вспомогательное время,
мин;
k
= 1,1 - коэффициент, учитывающий затраты на организационно-техническое
обслуживание.
Таблица 4.2 - Расчет нормы штучного времени при
штамповке на 100 деталей
|
Содержание
работы
|
Номер
карты
|
Основное
время, мин.
|
Вспомогательное
время
|
|
|
|
Не
перекрываемое время, мин.
|
|
1.
Открепить и снять вручную три щетки с вала автоподачи
|
43
|
-
|
|
|
2.
Поднять спецтележку с рулоном на высоту 0,5 м
|
47
|
-
|
|
|
3.
Переместить спецтележку с рулоном к автоподаче на расстояние 1,5 м
|
47
|
-
|
|
|
4.
Переместить спецтележку в исходное положение
|
47
|
-
|
|
|
5.
Зацентрировать рулон на оправке по внутреннему диаметру, закрепить
посредством щек
|
43
|
-
|
|
|
6.
Разрезать металлическую ленту ножницами в четырех местах
|
43
|
-
|
|
|
7.
Взять конец рулона ленты, пропустить через рихтовочные валки и подающий
механизм, заправить ленту в штамп нажатием кнопки и вращением рукоятки
|
11
|
-
|
|
|
8.
Штамповать
|
2
|
0,067∙100
= 6,7
|
-
|
|
Итого:
|
6,7
|
0,528
|
Норма штучного времени на штамповку на 100
деталей:
мин.
Норма штучного времени на одну
деталь:
.3 Расчет
количества оборудования и его загрузка
Цех листовой штамповки оснащается
прессами-автоматами АА6138, которые имеют механическую подачу ленты.
Необходимое количество оборудования
данного вида определяется по формуле:
(4.2)
где Нвр. - норма времени на годовую программу,
час;
Fд.с. = 3890 часов -
действительный годовой фонд времени работы оборудования.
(4.3)
где Тшт. = 0,0795 мин. - штучное время на одну
деталь;
N = 4000000 шт. -
годовая производственная программа выпуска деталей.
час.
Тогда:
.
Принимается Спр. = 2.
Коэффициент загрузки оборудования
рассчитывается по формуле:
(4.4)
где Ср - необходимое количество оборудования;
Спр. - принятое количество оборудования.
.
Рисунок 4.1 - График загрузки
оборудования
4.4 Расчет численности
производственного персонала участка
Определение численности работающих на участке
производится отдельно по категориям:
1) производственные рабочие;
2) вспомогательные рабочие;
) инженерно-технические рабочие.
Количество производственных рабочих, выполняющих
технологические операции основного производства, определяется по формуле:
(4.5)
где Fд.р.
= 2016 часов - действительный годовой фонд времени рабочего;
Кв.н. = 1,1 - коэффициент выполнения норм.
.
Принимается на участке 3
производственных рабочих.
Количество вспомогательных рабочих
определяется исходя из норм обслуживания по формуле:
(4.6)
где Q
= 2 - количество обслуживаемых объектов;
Ксм. = 2 - коэффициент сменности;
Ксп. = 1,12 - коэффициент, учитывающий
планируемые потери;
Нобсл. = 1,5 - норма обслуживания.
.
Принимается на участке 3
вспомогательных рабочих:
наладчик V разряда;
крановщик III разряда;
контролер III разряда.
Остальные работы по обслуживанию
участка выполняются цеховым персоналом. Для руководства участком вводится
должность бригадира, который назначается из числа высококвалифицированных
рабочих, вошедших в состав производственных рабочих.
Таблица 4.4 - Сводная ведомость
списочного состава на участке
|
Категории
работающих
|
Количество
человек
|
Удельный
вес, %.
|
|
Производственные
рабочие
|
3
|
50
%
|
|
Вспомогательные
рабочие
|
3
|
50
%
|
|
ИТР
|
-
|
-
|
|
Итого:
|
6
|
100
%
|
4.5 Организация
транспорта на участке
В холодно-штамповочных цехах используются
мостовые краны, кран-балки, электрорельефы, подвесные конвейера, напольные и
наземные транспортеры, колесные транспортные машины и рельсовые приводные
тележки.
Краны применяются для монтажа и демонтажа
оборудования, транспортировки узлов и деталей прессов, подачи заготовок на
рабочие места, а также для наладки крупных и средних штампов.
Широко используются подвесные конвейеры с
несущей цепью, толкающие.
Транспортеры напольного типа (непрерывного
действия или шаговые) используются для межоперационной транспортировки
заготовок на поточных линиях.
Подпольные транспортеры применяются для уборки
производственных отходов.
Широко используются колесные транспортеры.
Поворотные краны разделяются на две группы:
) краны, грузоподъемность которых не зависит от
вылета стрелы;
) стреловые краны, грузоподъемность которых для
обеспечения требуемой устойчивости изменяется с изменением вылета стрелы.
На своем участке я принимаю мостовой кран
грузоподъемностью
Q = 20/5 т.с. и
электрокар.
.6 Расчет площади участка и его планировка
Производственная площадь
участка определяется по количеству установленного оборудования и удельной
площади на один пресс.
Удельная производственная
площадь на многопозиционные пресса-автоматы составляет 70 м2 (q
= 70 м2).
(4.7)
где с = 2 - количество
установленного оборудования.
м2.
Вспомогательная площадь - это
площадь, занимаемая складами материалов, заготовок и деталей. Она определяется
в размере 50 % от производственной.
(4.8)
м2.
Площадь, занимаемая сантехническими
и энергетическими устройствами составляет 20 % от производственной.
(4.9)
м2.
Общая площадь участка определяется
по формуле:
(4.10)
м2.
Высота здания до головки рельса
подкранового пути: h = 11,740 м.
Высота здания : H = 14,4 м.
Объем здания, занятого участком,
определяется по формуле:
(4.11)
м3.
Планировка и организация рабочего
места зависит от вида и размера заготовки, степени механизации работ и способа
подачи заготовки, способа удаления деталей, типа пресса, мощности (усилия)
пресса и размеров штампуемых деталей.
В организацию рабочего места
штамповщика входят:
) правильная и наиболее удобная
планировка рабочего места, включая способы и места укладки заготовок, готовых
изделий и отходов;
) необходимая подготовка материалов
и полуфабрикатов;
) обеспечение рабочего места
вспомогательным инструментом;
) содержание в исправности и рабочей
готовности пресса и штампа;
) содержание рабочего места в
чистоте и порядке.
Планировка оборудования штамповочных
цехов должна предусматривать соответствующую площадь около пресса для укладки
заготовок, готовых деталей и отходов, а также необходимые проходы и проезды для
внутрицехового транспорта.
Рисунок 4.2 - Рабочее место
штамповщика
- рулонница; 2 -
правильно-разматывающее устройство; 3 - пресс; 4 штамповщик; 5 - тара для
отхода ленты; 6 - тара для готовых деталей; 7 - тара для отхода штамповки
Цех холодной штамповки, в котором
расположен проектируемый участок, имеет пролет шириной 24 м. Посередине пролета
проходит проезд шириной 3 м.
4.7 Организация
штампо-инструментального хозяйства
Основными задачами организации инструментального
хозяйства являются: полное и своевременное обеспечение рабочих мест нужным и
качественным инструментом; своевременный ремонт и организация работ по
восстановлению изношенного инструмента.
Инструментальное хозяйство в соответствии со
своими задачами выполняет следующие функции:
) планирует производство и потребление
технологической оснастки по ее видам;
) организует ремонт и восстановление
технологической оснастки, ее хранение и выдачу;
) осуществляет технический надзор за
эксплуатацией оснастки.
Организация планово-предупредительного ремонта
штампов и другой оснастки включает межремонтное обслуживание, малый, средний,
капитальный и внеплановый ремонты.
Межремонтное обслуживание включает в себя
профилактический осмотр штампа, наблюдение за правильной установкой и
эксплуатацией штампа, устранение мелких дефектов, затяжку ослабленных креплений,
замену легкозаменимых частей, очистку, смазку и регулировку штампа, а также
устройств механизации и автоматизации.
Малый ремонт - один из основных
видов планово-предупредительного ремонта, благодаря которому оборудование цеха
поддерживается в работоспособном состоянии. Он заключается в замене и
восстановлении отдельных изношенных деталей оборудования. Малый ремонт
производиться без демонтажа оборудования и не требует полной разборки штампа.
Средний ремонт - вид
планово-предупредительного ремонта, при котором без снятия оборудования с
фундамента производят частичную разборку машины, ремонт отдельных сборочных
единиц (узлов), замену и восстановление до 50% основных изношенных деталей,
сборку, регулирование и испытание машины.
Капитальный ремонт - самый
большой по объему ремонт, при котором полностью разбирают ремонтируемую машину,
восстанавливают все ее механизмы, узлы, проверяют нормы точности данного
оборудования в соответствии с первоначальными характеристиками. При этом штамп
подлежит списанию, так как ремонту он не подлежит.
Внеплановый ремонт
осуществляется после аварии или при непредвиденной поломке отдельных сборочных
единиц (узлов) и деталей машины или вследствие наличия внутренних дефектов при
изготовлении машины.
В штампо-ремонтном отделении
цехов листовой штамповки в большинстве случаев выполняются малый и средний
ремонты штампов и приспособлений. Капитальный ремонт и изготовление новых
штампов и приспособлений производится в штампо - механическом, штампо -
ремонтном и инструментальном цехах завода. [2]
4.8 Организация
технического контроля
При разработке технологического процесса
холодной листовой штамповки обязательно предусматриваются операции технического
контроля. В цехах холодной штамповки технический контроль предусматривает:
) контроль материала, поступающего в цех;
) контроль за установкой и наладкой штампов
перед началом работы;
) контроль полуфабрикатов в процессе
изготовления детали;
) контроль готовой продукции.
Контроль продукции осуществляют рабочие -
штамповщики и контролеры технического контроля.
Для производства данной детали на участке
используют следующие виды контроля:
) входной контроль - задачей является проверка
качества материала для штамповки. При входном контроле проверяется соответствие
марки материала по сопровождающим документам. Проверяется толщина материала при
помощи штангенциркуля или микрометра. Проверяется отсутствие внешних дефектов:
трещин, закатов, зажимов, заусенцев, надрезов и так далее. Контроль
производится визуальным осмотром, при необходимости вырезается образец для
лабораторных исследований;
) операционный контроль - производится для
контроля размеров после каждой операции. Размеры контролируются универсальным
или специальным измерительным инструментом: штангенциркулем, микрометром,
набором радиусных шаблонов, рулеткой. Внешним осмотром проверяется отсутствие
трещин, заусенцев, надрывов, гофры;
) контроль готовой продукции - осуществляется
после завершающей операции технологического процесса. Проверяется также
соответствие изделия техническим требованиям, указанным на чертеже.
При большом количестве изделий в партии, в
технологическом процессе необходимо указывать периодичность контроля и качества
изделий, контролируемых из партии.
Современная организация производства
предполагает безусловную ответственность каждого исполнителя за качество
выпускаемой продукции. Работники ОТК тщательно анализируют все факторы
производства и осуществляют предупредительный контроль, исключающий возможность
выпуска недоброкачественной продукции. Рабочие-штамповщики и мастера обязательно
контролируют изготовление детали или полуфабриката перед предъявлением их
контролерам ОТК. Если при приеме контролер ОТК обнаруживает дефекты в партии
деталей, то вся партия деталей возвращается исполнителю. [1]
4.9 Организация ремонта
и обслуживания оборудования
Планово-предупредительный ремонт оборудования на
участке производится по определенной системе, включающей в себя совокупность
различного вида работ по техническому уходу и ремонту оборудования. Мероприятия
межремонтного обслуживания, включающие наблюдение за правилами эксплуатации
оборудования, своевременное устранение мелких неисправностей и осмотры между
плановыми ремонтами, выполняют как рабочие, обслуживающие данное оборудование,
так и дежурный персонал ремонтной службы цеха. Межремонтное обслуживание
выполняется во время перерывов в работе оборудования, без нарушения
технологического процесса. Межремонтное обслуживание грузоподъемных машин,
управляемых из кабины (мостовые краны) производится крановщиком совместно с
дежурными слесарями и электромонтерами ежемесячно, а грузоподъемных машин,
управляемых с пола (кран-балки) рабочими, допущенными к их эксплуатации.
Ремонтные работы подразделяются на малый,
средний и капитальный ремонты. При малом ремонте производится замена или
восстановление изношенных деталей, промывка, смазка и регулировка агрегата. При
капитальном ремонте производится полная разборка агрегата, замена или ремонт
всех изношенных частей и деталей, сборка и регулировка агрегата.
Малый ремонт осуществляется ремонтно-механическими
отделениями, средний и капитальный ремонты - ремонтно-механическим цехом
завода.
Ремонтный цикл планово-предупредительного
ремонта включает: проведение нескольких осмотров и нескольких малых и средних
ремонтов между двумя капитальными ремонтами.
Внеплановые ремонты - это ремонты, не
предусмотренные графиком планово-предупредительного ремонта. При соблюдении
правил эксплуатации и хорошо организованной системы ремонта, внеплановых
ремонтов не должно быть.
4.10 Охрана труда,
техника безопасности
Охрана труда - система технических,
санитарно-гигиенических, организационных и правовых мероприятий, направленных
на создание наиболее благоприятных условий для работы, обеспечение безопасности
для жизни и здоровья персонала предприятия, предотвращение травматизма и
профессиональных заболеваний.
Техника безопасности - система организационных и
технических мероприятий и средств, предотвращающих воздействие на рабочего
опасных производственных факторов.
Задача охраны труда - это создание условий
труда, при которых полностью устраняется производственный травматизм и
профессиональные заболевания.
Основным нормативным документом,
регламентирующим санитарно-технические и санитарно-гигиенические условия в
цехах других производственных, вспомогательных и служебно-бытовых помещениях,
являются санитарные нормы проектирования промышленных предприятий.
Технологические процессы и оборудование не должны выделять в воздух помещений,
в атмосферу и водоемы вредные или неприятнопахнущие вещества, не производить
или не допускать выше предельно установленных нормами шума, вибраций,
ультразвука, инфразвука, электромагнитных волн, статического электричества,
электрических излучений.
В холодноштамповочных цехах травматизм может
возникнуть вследствие несовершенства конструкций штампов или прессов, нарушения
технологического процесса, отсутствия или неправильной конструкции
предохранительных и ограждающих устройств, а также вследствие плохой
организации труда в цехе.
Согласно правилам техники безопасности каждый
вновь принимаемый рабочий должен пройти инструктаж по технике безопасности.
Общие правила техники безопасности при работе на
прессах:
В начале работы:
) необходимо убедиться в хорошем состоянии
пресса и рабочего места и выяснить, были ли в предыдущей смене неполадки в
работе пресса и как они были устранены;
) обеспечить необходимую смазку пресса;
) при необходимости отрегулировать местное
освещение;
) проверить исправность пресса на холостом ходу.
Во время работы:
) внимательно относиться к сигналам, подаваемым
с грузоподъемных устройств и движущегося транспорта, и не находиться под
поднятым и движущимся грузом.
) Во время выполнения работы быть внимательным и
не отвлекаться на посторонние дела и разговоры;
) при ремонте, смазке пресса у пусковых
устройств вывешивается надпись “Не включать - ремонт”;
) запрещается прикасаться к электрооборудованию
и электроустройствам, обслуживание которых рабочему не поручено.
По окончании работы:
) выключить электромотор и запереть включающие
устройства;
) привести в порядок рабочее место: сложить в
тару заготовки и убрать отходы, сдать готовую продукцию, инструмент и
приспособления;
) сдать рабочее место и оборудование сменщику,
сообщив обо всех имеющихся неполадках в работе пресса и штампа.
Для предупреждения попадания рук штамповщика в
рабочую зону штампа применяются устройства, закрывающее штамповое пространство
во время рабочего хода, устройства, предотвращающие включение пресса при
нахождении рук в такой зоне, устройства, принудительно удаляющие руки рабочего
из опасной зоны.
Механизация и автоматизация включает
необходимость в непосредственном соприкосновении производственного персонала с
оборудованием во время его работы, предотвращая этим проникновение рук рабочего
в опасные зоны оборудования при его работе.
5. ЭКОНОМИЧЕСКАЯ ЧАСТЬ
5.1
Расчет планового годового фонда заработной платы
ФЗП состоит из фонда основной
ЗП (по тарифу) и дополнительной ЗП, включающей различные доплаты к основному
заработку, обусловленные трудовым законодательством:
(5,1)
где
- общий фонд заработной платы, руб.;
- основной фонд заработной платы,
руб.;
- дополнительный фонд заработной
платы, руб.
Фонд основной ЗП
производственных рабочих определяется по формуле:
(5,2)
где
- сумма сдельных расценок по
операциям, руб.;
N = 4000000
шт. - годовая программа выпуска.
Сдельная расценка на каждой
операции определяется по формуле:
(5,3)
где Тст. = 1742,8 руб. -
часовая тарифная ставка, соответствующая разряду выполняемых работ;
Тшт. - штучное время на
операцию, мин.
руб.
руб.
Фонд дополнительной ЗП
производственных рабочих определяется по формуле:
(5,4)
где
- доплаты, входящие в часовой фонд
заработной платы, руб.;
- доплаты, входящие в дневной фонд
заработной платы, руб.;
- доплаты, входящие в месячный фонд
заработной платы, руб.
Доплаты, входящие в часовой
фонд ЗП определяются по формуле:
(5,5)
руб.
Доплаты, входящие в дневной фонд ЗП
определяются по формуле:
(5,6)
руб.
Доплаты, входящие в месячный фонд ЗП
определяются по формуле:
(5,7)
руб.
После расчета всех видов доплат
определяется фонд дополнительной ЗП, а затем общий фонд ЗП:
руб.
руб.
В данной статье рассчитывается фонд
ЗП наладчиков, контролёров и крановщиков.
Фонд основной ЗП наладчиков
рассчитывается по формуле:
(5,8)
где Тст.нал. = 2271,24 руб. -
часовая тарифная ставка повременщиков;
Fд.р.
= 2016 ч. - действующий годовой фонд времени одного рабочего;
руб.
Фонд дополнительной ЗП наладчиков
определяется по формуле:
(5,9)
Доплаты, входящие в часовой
фонд ЗП определяются по формуле:
(5,10)
руб.
Доплаты, входящие в дневной фонд ЗП
определяются по формуле:
(5,11)
руб.
Доплаты, входящие в месячный фонд ЗП
определяются по формуле:
(5,12)
руб.
После расчета всех видов доплат
определяется фонд дополнительной ЗП:
руб.
Общий фонд заработной платы
наладчиков определяется по формуле:
(5,13)
руб.
Фонд основной ЗП контролеров
рассчитывается по формуле:
(5,14)
где Тст.контр. = 1477 руб. -
часовая тарифная ставка повременщиков;
R
= 1 чел. - число рабочих данной категории.
руб.
Фонд дополнительной ЗП контролеров
определяется по формуле:
(5,15)
Доплаты, входящие в часовой
фонд ЗП определяются по формуле:
(5,16)
руб.
Доплаты, входящие в дневной фонд ЗП
определяются по формуле:
(5,17)
руб.
Доплаты, входящие в месячный фонд ЗП
определяются по формуле:
(5,19)
руб.
После расчета всех видов доплат определяется
фонд дополнительной ЗП
руб.
Общий фонд заработной платы
контролеров определяется по формуле:
(5,20)
руб.
Фонд основной ЗП крановщиков
рассчитывается по формуле:
(5,21)
где Тст.кран. = 2038 руб. -
часовая тарифная ставка повременщиков;
R
= 1 чел. - число рабочих данной категории.
руб.
Фонд дополнительной ЗП крановщиков
определяется по формуле:
(5,22)
Доплаты, входящие в часовой
фонд ЗП определяются по формуле:
(5,23)
руб.
Доплаты, входящие в дневной фонд ЗП
определяются по формуле:
(5,24)
руб.
Доплаты, входящие в месячный фонд ЗП
определяются по формуле:
(5,25)
руб.
После расчета всех видов доплат
определяется фонд дополнительной ЗП:
руб.
Общий фонд заработной платы
крановщиков определяется по формуле:
(5,26)
руб.
Таблица 4.1 - Ведомость заработной платы
работающих
|
Категории
работающих
|
Численность,
чел.
|
Фонд
заработной платы, руб.
|
Премии,
выплачиваемые из ФМП, руб.
|
ФЗП
с учетом выплат из ФМП, руб.
|
Средняя
заработная плата одного работающего, руб.
|
|
|
Основной
|
Дополнительный
|
Общий
|
|
|
|
|
1.Производственные
рабочие
|
3
|
9200000
|
2191072
|
11391072
|
-
|
11391072
|
316418,7
|
|
2.
Вспомогательные рабочие: Наладчик Контролер Крановщик
|
1 1 1
|
4578819,8 2977632 4108608
|
1624750,7 1056584,3 1457900,6
|
6203570,5 4034216,3 5566508,6
|
- -
|
6203570,5 4034216,3 5566508,6
|
516964,2 336184,7 463875,7
|
|
Итого
рабочих
|
6
|
20865059,8
|
-
|
27195367,4
|
-
|
-
|
-
|
5.2 Определение
стоимости основных средств участка
К основным средствам относятся:
) здания;
2) производственное
оборудование;
) дорогостоящий инструмент,
приспособления;
) межоперационный транспорт;
) производственный и
хозяйственный инвентарь.
Стоимость здания определяется
по формуле:
(5,27)
где
= 120000 руб. - стоимость 1м3
здания, руб.;нар. - объём здания по наружному обмеру, м3.
(5,28)
где Vвн. - объём здания по
внутреннему обмеру, м3.
(5,29)
где Sуч.
= 238 м3 - площадь участка;
Н = 14,4 м - высота здания.
м3.
м3.
Тогда:
руб.
Расчет стоимости производственного
оборудования оформляется в виде таблицы 5.2.
Таблица 5.2 - Расчет стоимости
производственного оборудования
|
Модель
оборудования
|
Количество,
шт.
|
Усилие,
т.с.
|
Прейскурантная
стоимость оборудования, млн. руб.
|
Затраты
на транспортирование (15%), млн. руб.
|
Общая
стоимость оборудования, млн. руб.
|
|
АА6138
|
2
|
630
|
1789453914
|
268418087,1
|
2057872001
|
2057872001 руб.
Стоимость дорогостоящего
инструмента и приспособлений принимается в размере 10 % от стоимости оборудования.
(5,30)
руб.
Стоимость межоперационного
транспорта определяется с учетом выбранных транспортных средств на участке.
Определение стоимости всего межоперационного транспорта оформляем в виде
таблицы.
Таблица 5.3 - Стоимость
межоперационного транспорта
|
Наименование
|
Стоимость,
руб.
|
|
Электрокар
Мостовой кран
|
21500000
50000000
|
|
Итого
|
71500000
|
71500000 руб.
Стоимость производственного и
хозяйственного инвентаря принимается в размере 2% от стоимости оборудования
(5,31)
руб.
Таблица 5.4 - Ведомость основных
средств участка
|
Наименование
средств
|
Ед.
измерения
|
Сумма,
руб.
|
%
к итогу
|
%
амортизации
|
Сумма
амортизации (А)
|
|
1.
Здания
|
м3
|
452388000
|
16
|
1
|
4523880
|
|
2.
Производственное оборудование
|
шт.
|
2057872001
|
72,7
|
12,1
|
249002512,1
|
|
3.
Дорогостоящий инструмент и приспособления
|
руб.
|
205787200,1
|
7,3
|
20
|
41157440,02
|
|
4.
Транспортные средства
|
руб.
|
71500000
|
2,5
|
15,5
|
11082500
|
|
5.
Производчтвенно-хозяйственный инвентарь
|
руб.
|
41157440
|
1,5
|
10
|
4115744
|
|
Итого
|
2828704641
|
100
%
|
58,6
|
309882076,1
|
5.3 Определение затрат
на основные и вспомогательные материалы
Стоимость основных материалов
определяется по формуле:
(5,31)
где М - стоимость основных
материалов за вычетом отходов, руб.;
Q
- общая потребность в материалах на всю программу, кг.;
Р = 3428,6 руб. - стоимость
одного кг материала;- масса отходов на годовую программу, кг.;
р = 141,1 руб. - стоимость
одного килограмма отходов.
(5,32)
где mн.р. = 1,17 кг - норма
расхода материала на одну заготовку.= 4000000 штук - годовая программа.
кг.
Масса отходов на годовую программу
определяется по формуле:
(5,33)
где mд.
= 0,61 кг - масса детали.
кг.
руб.
Таблица 5.5 - Ведомость основных материалов
|
Наименование
материала
|
Количество
на программу, кг.
|
Стоимость
одного кг материала, руб.
|
Общая
стоимость материалов, руб. (2х3).
|
Отходы
|
Стоимость
материалов за вычетом отходов,руб.
|
|
|
|
|
Кол-во
на программу, кг (q)
|
Стоимость
1 кг, руб. (р)
|
Общая
стоимость отходов, руб. (5×6)
|
|
|
08
кп
|
4680000
|
3428,6
|
16045848000
|
2240000
|
141,1
|
316064000
|
15729784000
|
К вспомогательным материалам относят: смазочные
материалы (машинное масло и солидол), обтирочные материалы, керосин,
применяемый для промывки деталей и узлов оборудования и оснастки.
Стоимость вспомогательных
материалов принимаем в размере 2% от стоимости основных материалов
(5,34)
руб.
5.4 Расчет
общепроизводственных расходов
.4.1 Расчет затрат,
связанных с работой оборудования
К этим затратам относятся:
) электроэнергия для
производственных целей.
Стоимость силовой электроэнергии
определяется по формуле:
(5,42)
где
= 193,2
руб. - стоимость 1
электроэнергии;сил.
- потребность в силовой электроэнергии для работы оборудования.
(5,43)
где Nуст1.. = 11,4 кВт - расход
электроэнергии всеми электромоторами за 1 час работы;д.с. = 3890 часов -
действительный годовой фонд времени работы оборудования при двусменной работе;
Кз1.. = 0,67 - коэффициент
загрузки оборудования на участке;
Кo.p. = 0,6 - коэффициент
одновременной работы двигателя;
ηс.
= 0,9 - коэффициент потерь электроэнергии в сети;
ηд.
= 0,8 - коэффициент полезного действия двигателя.
(5,44)
где Nуст2.. = 79,8 кВт - расход
электроэнергии всеми электромоторами за 1 час работы;д.с. = 3890 часов - действительный
годовой фонд времени работы оборудования при двусменной работе;
Кз2.. = 0,89 - коэффициент
загрузки оборудования на участке;
Кo.p. = 0,6 - коэффициент
одновременной работы двигателя;
ηс.
= 0,9 - коэффициент потерь электроэнергии в сети;
ηд.
= 0,8 - коэффициент полезного действия двигателя.
кВт.
кВт.
,
кВТ
руб.
) сжатый воздух.
Стоимость сжатого воздуха
определяется по формуле:
(5,45)
где
= 42 руб. - стоимость 1м3 сжатого
воздуха;
Qсж. - потребное количество
сжатого воздуха, м3.
(5,46)
где qс.в.= 0,3 м3/ч - расход
сжатого воздуха одним станком за 1 час работы;
S = 8 - количество станком,
применяющих сжатый воздух;д.с. = 3890 часов - действительный годовой фонд
времени работы оборудования при двухсменном режиме.
руб.
3) вспомогательные материалы:
Мвсп. = 12560184 руб.
) расходы на содержание
оборудования берутся в размере 1% от стоимости производственного оборудования:
(5,47)
руб.
) расходы на текущий ремонт:
а) производственного оборудования -
принимается в размере 5% от стоимости производственного оборудования:
(5,48)
руб.
б) транспортных средств -
принимается в размере 4% от стоимости межоперационного транспорта:
(5,49)
руб.
6) амортизация основных
средств:
= 97074874 руб.
7) износ, содержание и ремонт
малоценных инструментов и приспособлений.
Сумма расходов на эту статью
определяется в размере 20% от основной зарплаты производственных рабочих:
(5,50)
руб.
) основная зарплата рабочих занятых
обслуживанием оборудования (основной фонд заработной платы наладчиков):
руб.
5.4.2
Расчет общецеховых расходов
Общепроизводственные расходы.
1) Зарплата вспомогательных
рабочих определяется по формуле:
(5,51)
руб.м
2) Дополнительная зарплата
основных производственных рабочих:
руб.
) Налоги и отчисления от зарплаты
работающих.
В том числе:
отчисления в фонд социальной защиты
населения 35%:
(5,52)
руб.
) Вода для бытовых нужд.
Стоимость воды для бытовых нужд
определяется по формуле:
(5,53)
где
= 1511 руб. - стоимость 1м3 воды;-
общая потребность в воде для бытовых нужд, м3.
(5,54)
где q = 25 л. - норма расхода
на 1 человека в сутки;
R
= 30 чел. - численность всех работающих на участке;
Др. = 255 - число рабочих дней
в году.
м3.
руб.
) Электроэнергия для освещения.
Стоимость электроэнергии для
освещения определяется по формуле:
(5,55)
где
= 193,2 руб. - стоимость 1
энергии;осв.
- потребность в электроэнергии для освещения, кВт.
(5,48)
где
Fyч. = 561 м2 - площадь участка;
Т = 2500 ч. - число часов,
требующих освещение в год;
Ко.г. = 0,8 - коэффициент
одновременного горения всех осветительных точек;= 15 Вт - удельный расход
энергии на освещении одного м2 площади в течение одного часа;
ηс.
= 0,96 - коэффициент потерь электроэнергии в сети;
- перевод Вт в кВт.
кВт.
руб.
) Пар для отопления:
Стоимость пара для отопления
определяется по формуле:
(5,49)
где Sт = 21181,6 руб. -
стоимость 1 тонны пара;
Qnар. - потребное количество
пара для отопления, т.
(5,50)
где qтепла = 15 кал/м3 -
удельный расход тепла на 1м3 здания;вн. = 3427,2 м3 - объём здания по
внутреннему обмеру;
Т = 4320 ч. - число часов в
отопительном сезоне;
β = 540 кКал/ч
- коэффициент теплоиспарения;
- перевод кКал в тонны.
м3.
руб.
7) Амортизация здания:
Азд. = 4523880 руб.
8) Текущий ремонт здания.
Определяется в размере 2% от
стоимости здания:
(5,51)
руб.
9) Содержание здания,
сооружений и мелкого хозяйственного инвентаря.
Определяется в размере 1% от
стоимости здания:
(5,52)
руб.
) Прочие расходы.
В данную статью входят канцелярские,
почтовые и др. непредусмотренные расходы. Рассчитывается в размере 1% от общего
фонда заработной платы участка
(5,53)
руб.
Таблица 5.6 - Сводная таблица
общепроизводственных расходов
|
Наименование
статей расходов
|
Сумма,
руб.
|
|
А.
Сумма затрат, связанных с работой оборудования
|
|
1.Электроэнергия
для производственных целей
|
61010652,3
|
|
2.
Сжатый воздух
|
58350
|
|
3.
Вспомогательные материалы
|
314595680
|
|
4.
Содержание оборудования
|
20578720
|
|
5.
Текущий ремонт: а) производственного оборудования б) транспортных средств
|
102893600
2860000
|
|
6.
Амортизация основных средств а) производственного оборудования б)
транспортных средств в) дорогостоящего инструмента г)
производственно-хозяйственного инвентаря
|
|
7.
Износ, содержание и ремонт малоценных инструментов и приспособлений
|
1840000
|
|
8.
Основная ЗП вспомогательных рабочих занятых обслуживанием оборудования
|
4578819,8
|
|
Итого
по разделу "А"
|
813774018,2
|
|
Б.
Общецеховые расходы
|
|
1.
ЗП вспомогательных рабочих
|
15804295,4
|
|
2.
Дополнительная ЗП производственных рабочих
|
2191072
|
|
3.
Сумма налогов и отчисления с ЗП работающих
|
9518378,6
|
|
4.
Вода для бытовых нужд
|
40189
|
|
5.
Электроэнергия для освещения
|
887293,7
|
|
6.
Пар для отопления
|
8711992,1
|
|
7.
Амортизация здания
|
4523880
|
|
8.
Текущий ремонт здания
|
9047760
|
|
9.
Содержание зданий и мелкого хозяйственного инвентаря
|
4523880
|
|
10.
Прочие расходы
|
271953,7
|
|
Итого
по разделу "Б"
|
55520694,5
|
|
Всего
общепроизводственных расходов (НЕ)
|
869294712,7
|
5.5 Составление
калькуляции себестоимости штамповки
Для того чтобы составить
плановую калькуляцию себестоимости детали необходимо произвести расчет
общехозяйственных расходов и внепроизводственных (коммерческих) расходов.
К общехозяйственным расходам
относятся расходы, связанные с управлением предприятия в целом, командировочные,
канцелярские, расходы на содержание здания заводоуправления и т.д.
Общехозяйственные расходы
определяются в размере 80% от основного фонда ЗП производственных рабочих:
(5,54)
руб.
Прочие производственные расходы
рассчитываются в размере 0,5% от основной ЗП производственных рабочих:
(5,55)
руб.
Производственную себестоимость
изделия определяется по формуле:
(5,56)
где М - стоимость основных материалов за вычетом
отходов, руб.;
НЗ - общехозяйственные расходы, руб.;
НЕ - общепроизводственные расходы, руб.
руб.
5.5.1
Расчет внепроизводственных (коммерческих) расходов
К внепроизводственным
(коммерческим) относятся расходы, связанные с реализацией продукции.
Внепроизводственные
(коммерческие) расходы определяются в размере 3% от производственной
себестоимости:
(5,57)
руб.
Отчисления в инновационный фонд
составляют 0,4% от производственной себестоимости:
(5,58)
руб.
5.5.2
Расчет себестоимости годового выпуска и единицы изделия
Себестоимость годового выпуска
определяется по формуле:
(5,59)
руб.
Себестоимость единицы изделия
определяется по формуле:
(5,60)
руб.
В результате определяется средняя
себестоимость всего выпуска и единицы продукции.
Таблица 5.7 - Калькуляция
себестоимости единицы продукции
|
Наименование
статей затрат
|
Затраты
на весь выпуск, руб.
|
Годовая
программа, шт.
|
Затраты
на единицу продукции, руб.
|
%
к итогу
|
|
1.
Основные материалы (за вычетом отходов)
|
15729784000
|
4000000
|
3932,4
|
91,5
|
|
2.
Основная ЗП производственных рабочих
|
9200000
|
4000000
|
2,3
|
0,05
|
|
3.
Общепроизводственные расходы
|
869294712,7
|
4000000
|
217,3
|
5,1
|
|
4.
Общехозяйственные расходы
|
7360000
|
4000000
|
1,9
|
0,04
|
|
5.
Прочие производственные расходы
|
|
4000000
|
0,01
|
0,0003
|
|
Итого
производственная себестоимость
|
16615684713
|
4000000
|
4153,9
|
96,7
|
|
6.
Внепроизводственные (коммерческие) расходы.
|
498470541,4
|
4000000
|
124,7
|
2,9
|
|
7.
Отчисления в инновационный фонд
|
66462738,8
|
4000000
|
16,6
|
0,4
|
|
Итого
полная себестоимость
|
17180617993
|
4000000
|
4295,2
|
100
%
|
Прибыль рассчитывается по
формуле:
(5,61)
руб.
Отчисления в целевые фонды
определяются по формуле:
(5,62)
руб.
Отпускная цена без НДС
определяется по формуле:
(5,63)
руб.
Сумма НДС определяется по
формуле:
(5,64)
руб.
Отпускная цена с НДС
определяется по формуле:
(5,65)
руб.
5.6
Определение показателей экономической эффективности участка
Таблица 14.
Технико-экономические показатели участка
|
Показатели
|
Единицы
измерения
|
Сумма,
руб.
|
|
I. АБСОЛЮТНЫЕ ПОКАЗАТЕЛИ
|
|
1.
Годовой выпуск
|
Шт.
|
4000000
|
|
2.
Товарная продукция по трудоемкости
|
Норм/час
|
5300
|
|
3.
Товарная продукция в денежном выражении
|
Руб.
|
|
|
4.
Валовая продукция с сопоставимых ценах
|
Руб.
|
|
|
5.
Стоимость основных фондов
|
Руб.
|
20865059,8
|
|
6.
Производственное оборудование
|
Шт.
|
2
|
|
7.
Общая мощность электрооборудования
|
кВт
|
232
|
|
8.
Общая площадь участка
|
М2
|
238
|
|
-
в том числе, производственная
|
М2
|
140
|
|
9.
Количество работающих на участке
|
Чел.
|
6
|
|
-
в том числе, производственных рабочих
|
Чел.
|
3
|
|
10.
Общий фонд ЗП работающих на участке
|
Руб.
|
27195367,4
|
|
11.
Себестоимость годового выпуска
|
Руб.
|
|
|
12.
Себестоимость единицы изделия
|
Руб.
|
4295,2
|
|
II. ОТНОСИТЕЛЬНЫЕ ПОКАЗАТЕЛИ
|
|
13.
Выпуск валовой продукции на одного работающего (производительность труда)
|
Руб.
|
|
|
14.
Выпуск валовой продукции на один рубль стоимости ОПФ
|
Руб.
|
8,9
|
|
15.
Съем валовой продукции с 1 м2 площади
|
Руб.
|
|
|
16.
Фондовооруженность труда одного производственного рабочего
|
Руб.
|
|
|
17.
Энерговооруженность труда одного производственного рабочего
|
кВт/чел.
|
116
|
|
18.
Средний процент загрузки оборудования
|
%
|
0,68
|
|
19.
Коэффициент сменности на участке
|
-
|
3
|
|
20.
Среднемесячная ЗП работающего
|
Руб.
|
408360,8
|
|
21.
Средний разряд производственных рабочих
|
-
|
3,3
|
|
22.
Затраты на один рубль товарной продукции
|
Руб.
|
0,68
|
|
23.
Металлоемкость продукции
|
Руб.
|
0,63
|
|
24.
Коэффициент использования металла
|
-
|
0,52
|
5.6.1
Методика расчета технико-экономических показателей участка
2. Товарная продукция по
трудоёмкости определяется по формуле:
(5,66)
норм/ч.
3. Товарная продукция в
денежном выражении определяется по формуле:
(5,67)
руб.
4. Валовая продукция:
,
руб.
13. Выпуск валовой продукции на
одного работающего (производительность) определяется по формуле:
(5,68)
где
чел. - число работающих на участке
руб.
. Выпуск валовой продукции на 1 руб.
основных производственных фондов (фондоотдача) определяется по формуле:
(5,69)
руб.
15. Съём валовой продукции с 1
м2 площади определяется по формуле:
(5,70)
руб.
16. Фондовооруженность труда
одного производственного рабочего определяется по формуле:
(5,71)
где
= 2 - списочная численность
производственных рабочих в наибольшую смену, чел.
руб.
17. Энерговооруженность труда
одного производственного рабочего определяется по формуле:
(5,72)
где
= 232 кВт - мощность по участку.
кВт/чел.
19. Коэффициент сменности на
участке определяется по формуле:
(5,73)
где
= 6 - общее количество работающих на
участке, чел.
.
22. Затраты на 1 руб. товарной
продукции определяются по формуле:
(5,74)
руб.
23. Металлоемкость продукции
определяется по формуле:
(5,75)
где М - стоимость основных материалов за вычетом
отходов, руб.
руб.
24. Коэффициент использования
металла определяется по формуле:
(5,76)
.
6 СПИСОК ИСПОЛЬЗУЕМОЙ ЛИТЕРАТУРЫ
1 Барановский
М.А. Справочник мастера-штамповщика. 2-е переработанное и дополненное издание.
Мн.: Беларусь, 1968.
2 Буллах
В.Н., Добровольский И.Г., Овчинников П.С. Проектирование кузнечно-штамповочных
цехов и заводов. - Мн.: Высш. шк., 1978. - 258 с.
Горяйнов
В.И., Лыжников Е.И. Холодноштамповочное оборудование и его наладка: Учеб.
пособие для СПТУ. - М.: Высш. шк., 1988. - 256 с.
Еленев
С.А. Холодная штамповка: Учеб. для СПТУ. - 2-е изд., переработанное и
дополненное. - М.: Высш. шк., 1988. - 271 с.
Марочник
сталей и сплавов /В.Г. Сорокин, А.В. Волосникова, С.А Вяткин и др.; Под общ.
ред. В.Г. Сорокина - М.: Машиностроение, 1989. - 640 с.
Методические
указания по экономике. - Жодино, 2000.
Общемашиностроительные
нормативы времени на холодную штамповку, резку, высадку и обрезку. - М.:
Экономика, 1987. - 188 с.
Романовский
В.П. Справочник по холодной штамповке. - Л.: Машиностроение 1979, - 520с.
Справочник
конструктора штампов: Листовая штамповка /Под общ. ред. Л.И. Рудмана - М.:
Машиностроение, 1988. - 496 с.
Справочник
нормировщика /Под ред. А.В. Ахумова - Л.: Машиностроение, 1986. - 458 с.