Процесс измельчения пищевого сырья

  • Вид работы:
    Курсовая работа (т)
  • Предмет:
    Другое
  • Язык:
    Русский
    ,
    Формат файла:
    MS Word
    606,42 Кб
  • Опубликовано:
    2014-12-30
Вы можете узнать стоимость помощи в написании студенческой работы.
Помощь в написании работы, которую точно примут!

Процесс измельчения пищевого сырья

Введение

Механическое оборудование применяется как для первичной обработки продукции (мытье и очистка сырья) и основных технологических процессов (измельчение, перемешивание и др.), так и для вспомогательных операций по транспортированию, взвешиванию и расчетам с клиентами.

Спрос на механическое оборудование постоянно растёт за счёт открытия новых предприятий общественного питания.

На современном этапе общественное питание будет занимать преобладающее место по сравнению с питанием в домашних условиях. В связи с этим возникает необходимость дальнейшей механизации и автоматизации производственных процессов, как основного фактора роста производительности труда. Отечественная промышленность создает большое количество различных машин для нужд предприятий общественного питания. Ежегодно осваиваются и внедряются новые, более современные машины и оборудование, в том числе зарубежного производства, обеспечивающие механизацию и автоматизацию трудоемких процессов.

Измельчительное оборудование широко используется на предприятиях пищевой промышленности. Измельчительное оборудование предназначено для уменьшения размеров исходных продуктов до заданных технологическим процессом размеров [1].

Применение современного измельчительного оборудования позволяет повысить производительность труда, сократить затраты и облегчить труд работников предприятий массового питания, улучшить качество изделий и сократить время обслуживания клиентов. Экономическая эффективность - непременное условие применения новой техники. Это является подтверждением актуальности курсовой работы.

Для того чтобы в процессе работы оборудование обеспечивало высокое качество выпускаемой продукции, необходимую производительность, минимальные потери сырья и расход электроэнергии при высоком уровне надежности и безопасности, следует знать его конструктивные особенности, режимные и технические характеристики, принципы работы системы управления, а также общие правила его эксплуатации.

Цель курсовой работы: изучить процесс измельчения, классификацию измельчительного оборудования, их конструктивные особенности, технические характеристики, принципы работы, правила эксплуатации, способы расчета технологического оборудования.

Задача - изучить современные размолочные машины (машины для размола кофе), их характеристики, конструктивные особенности и сравнить с существующим стандартным размолочным оборудованием.

технологический измельчение оборудование

1. Измельчительное оборудование

.1 Основные положения теории измельчения твердых тел

Процесс уменьшения размеров исходного продукта до заданных размеров конечного продукта называют измельчением. Различают два вида измельчения:

дробление, при котором измельченный материал не имеет определенной формы;

резание, когда одновременно с уменьшением размера частицам придается определенная форма.

Измельчение пищевых продуктов широко применяют на предприятиях общественного питания при приготовлении панировочных сухарей, сахарной пудры, молотых специй, дробленых орехов, пюреобразных продуктов из вареных овощей, фруктов, творога; при нарезке овощей, мяса, хлеба, сыра, колбасы, ветчины, масла сливочного и других продуктов. При этом большая часть продуктов имеет структуру, легко поддающуюся деформации, и обладает значительной влажностью (плоды, овощи, фрукты, мясо, рыба, колбасные изделия, сыр, хлеб); небольшая часть имеет хрупкую структуру (высушенные зерна кофе, специй, сухари, соль, сахар и др.).

Разнообразие пищевых продуктов требует и различных способов их измельчения.

При выборе способа измельчения первостепенное значение приобретают такие свойства продукта, как упругость, вязкость, пластичность. Под упругостью понимается свойство продукта восстанавливать свои форму и размеры после прекращения воздействия на него внешней нагрузки, под влиянием которой они были изменены. Это свойство характеризуется модулем упругости. Исходя из этого все продукты, подвергаемые измельчению, не могут рассматриваться как упругие. Наличие у них таких явлений, как релаксация (падение напряжения при неизменной деформации) и ползучесть (рост деформации при постоянных нагрузках), позволяет отнести эти продукты к упругопластичным и вязкопластичным телам [1].

Кроме перечисленных свойств продуктов на процесс их измельчения влияют следующие физико-механические параметры: коэффициент Пуассона мп, коэффициент трения продукта f, разрушающее контактное напряжение укр.

В зависимости от характера действующих сил различают

измельчение раздавливанием - разрушением при сжатии;

измельчение разрыванием - разрушением при растяжении;

измельчение разламыванием - разрушением при изгибе;

измельчение скручиванием - разрушением при кручении;

измельчение истиранием - разрушением при сдвиге;

измельчение резанием - разрушением при сжатии и сдвиге.

Тот или иной способ измельчения применяется в зависимости от цели, которая преследуется операцией, т.е. от вида продукта после его обработки.

На практике применяют, как правило, одновременно несколько способов измельчения: раздавливанием и истиранием, разламыванием и скручиванием, истиранием и резанием и т.д. Условно различают следующие размерные классы измельчения продуктов:

крупный: диаметр кусков продукта после измельчения 250 - 40 мм;

средний: 40 - 10 мм;

мелкий: 10 - 1 мм;

тонкий: 1 - 0,1 мм;

коллоидный: до 0,001 мм.

Процесс измельчения характеризуется степенью измельчения (i*)

i*=D / d, (1)


где D, d - средний размер кусков материала соответственно до и после измельчения.

Затраты энергии на измельчение зависят от физико-механических свойств продукта, особенностей технологического процесса, степени, условий и способа измельчения.

При грубом дроблении согласно закону Кирпичева - Кика работа пропорциональна объему V исходного материала (продукта) и рассчитывается по формуле, Н · м

A = KV = у2p · V / 2 · E, (2)

где К - коэффициент, численно равный работе, затрачиваемой на измельчение единицы объема, Н/м2;

у2p - напряжение, при котором происходит разрушение материала (продукта), Па;

Е - модуль упругости материала, Па.

При тонком измельчении согласно закону Риттингера работа на измельчение пропорциональна приращению поверхности измельчаемого материала (продукта), и ее можно определить по формуле, Н · м

А =KR · ДS, (3)

где KR - коэффициент, численно равный работе, затрачиваемой на приращение единицы новой поверхности, Н/м;

ДS - приращение поверхности измельчаемого материала, м2.

Поскольку закон Кирпичева-Кика учитывает работу, затрачиваемую на преодоление упругих деформаций разрушаемых кусков, и справедлив для крупного дробления, а закон Риттингера учитывает работу на приращение новой поверхности измельчаемого материала и справедлив для тонкого измельчения, то, объединив эти два закона, П.А. Ребиндер предложил обобщенный закон измельчения. В обобщенном законе учтена также работа затрачиваемая на разрушение рабочих органов измельчителя. Обобщенный закон П.А. Ребиндера записывается как, Н · м

A = A* + my · у²p · V / 2 · E + KR ·ДS · б, (4)

где А* - работа, затрачиваемая на разрушение рабочих органов измельчителя, Н · м;y - число циклов деформаций, обеспечивающих начало процесса дробления;

б - коэффициент, учитывающий степень и условия измельчения.

1.2 Классификация измельчительного оборудования

технологический измельчение оборудование

Все применяемое на предприятиях общественного питания измельчительное оборудование можно классифицировать по следующим основным признакам:

по функциональному назначению:

для измельчения твердых пищевых продуктов (размолочные машины и механизмы);

для измельчения мягких пищевых продуктов (протирочные машины и механизмы);

для резания пищевых продуктов (овощерезательные машины, мясорубки, мясорыхлители, хлеборезки, машины резки гастрономических товаров и др.);

по структуре рабочего цикла - периодического и непрерывного действия;

по расположению рабочих органов - вертикальное и горизонтальное;

по виду привода - с индивидуальным приводом и в качестве сменных механизмов [2].

1.3    Основные требования, предъявляемые к измельчительному оборудованию

Общие требования, которым должна удовлетворять любая измельчительная машина (механизм), следующие:

получение качественно измельченного продукта (измельченные на размолочных машинах твердые продукты должны иметь одинаковую степень измельчения без крупных кусочков;

протертые на протирочных машинах продукты должны представлять собой однородную мелкозернистую массу, без комочков;

измельченные на режущем оборудовании частицы должны иметь заданную форму, размеры и гладкую поверхность среза);

возможность быстрого и легкого изменения степени измельчения;

износостойкость рабочих органов, не допускающая попадания кусочков металла в измельчаемый продукт;

отсутствие излишнего измельчения (перерасхода электроэнергии и ухудшение качества готового продукта);

возможность немедленного удаления измельченного продукта из рабочей камеры;

возможность быстрой и легкой замены изношенных рабочих органов и других частей;



2. Размолочные машины и механизмы

К этой группе машин и механизмов относятся размолочные механизмы МДП-II-1, МИП-II-1, МС12-15, кофемолка МИК-60 и механизм для размола кофе МКК-120. Диаметр полученных частиц продукта составляет 0,2 - 0,3 мм.

2.1 Механизм МДП-II-1 для дробления орехов и растирания мака

Механизм МДП-II-1 для дробления орехов и растирания мака. Механизм (рис. 1) приводится в действие универсальным приводом П-II и состоит из корпуса, загрузочного бункера, редуктора и рабочих валков. Корпус выполнен в виде двух щек, соединенных между собой стяжками. В щеках запрессованы втулки, выполняющие роль подшипников скольжения для питательного валика и гладкого размолочного валка. Здесь же закреплены направляющие, по которым при вращении рукояток перемещаются ползуны. Во втулке правого ползуна расположена цилиндрическая часть колеса с отверстием и шпоночным пазом [3].


Рисунок 1 - Механизм МДП-II-1 для дробления орехов и растирания мака

- загрузочный бункер; 2 - корпус; 3 - редуктор; 4 - размолочный валок; 5 - хвостовик; 6 - щека; 7 - стяжка; 8 - питательный валик; 9 - шибер; 10 - скребок.

Для предохранения шпоночного валика от осевого смещения предусмотрен подпружиненный фиксатор. В бункере установлен шибер, регулирующий ширину щели, через которую продукт подается к размолочным валкам и питательному валику. Левая щека имеет хвостовик для подсоединения к приводу.

Принцип действия. Вращение от вала привода передается непосредственно гладкому размолочному валку, а от иего через шестерни - сменному размолочному валку и питательному валику.

Вращаясь навстречу друг другу с различной скоростью, валки измельчают продукт путем сжатия и сдвига.

2.2 Механизм МИП-II-1 для измельчения сухарей и специй

Механизм (рис. 2) приводится в действие универсальным приводом П-II и состоит из размещенных в корпусе терочного диска и барабана. Терочный диск соединен со шнеком, закрепленным на горизонтальном валу. Вал с хвостовиком установлен в двух конических роликоподшипниках, расположенных в крышке корпуса. С наружной и внутренней сторон вал уплотнен манжетами. С внутренней стороны на нем укреплено кольцо с войлочным уплотнителем. Между манжетами и подшипниками установлены упорные шайбы. Конец вала выполнен в виде шипа для соединения с валом привода [3].

Рисунок 2 - Механизм МИП-II-1 для измельчения сухарей и специй

- терочный диск; 2 - подшипник; 3 - манжета; 4 - кольцо с войлочным уплотнением; 5 - барабан; 6 - толкатель; 7 - накидная гайка; 8 - регулировочная гайка; 9 - шнек; 10 - корпус; 11 - вал

Принцип действия. Движение рабочим органам передается от универсального привода. Продукт через загрузочную воронку подается к шнеку, который предварительно измельчает его и продвигает к терочному диску. Окончательное измельчение продукта происходит между терочным диском и барабаном. Регулирование величины помола производится специальной гайкой, которая фиксируется в нужном положении накидной гайкой. При вращении регулировочной гайки терочный барабан перемещается вдоль оси вала по направляющему винту, при этом зазор между барабаном и терочным диском уменьшается или увеличивается. Минимальный зазор между диском и барабаном составляет 0,2 мм. Направление вращения гайки для получения требуемой величины помола указывается на ее торце стрелками с надписями «Крупно» и «Мелко».

2.3 Машина МИК-60 для размола кофе

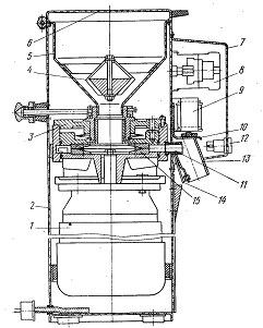
Машина (рис. 3) состоит из прямоугольного корпуса, электродвигателя и двух размолочных жерновов - вращающегося       и неподвижного [4].

Электродвигатель установлен внутри корпуса на четырех амортизаторах. На конце вала электродвигателя укреплен подвижный диск с вращающимся жерновом. К верхнему торцу корпуса рабочей камеры крепится съемная крышка с неподвижным жерновом и механизмом регулирования зазора, Механизм регулирования состоит из рукоятки, кольца с внутренними зубьями, резьбовой втулки с диском и наружными зубьями и фланца с резьбовым хвостовиком, к которому крепится неподвижный жернов. Резьбовая втулка закреплена в осевом направлении стопорным кольцом через демпферные пружины, которые должны срабатывать при попадании между жерновами посторонних твердых предметов и смягчать тем самым ударные нагрузки. При повороте - рукоятки получает вращение через зубчатое зацепление резьбовая втулка, которая заставляет перемещаться фланец в осевом направлении относительно крышки по направляющим штырям, изменяя при этом зазор между жерновами.

В верхней части корпуса находится загрузочный бункер, в горловине которого установлен постоянный магнит для улавливания металлических включений. Разгрузочная труба снабжена электровибратором. К трубе прижата планка зажима пакета, в который ссыпается измельченный кофе. Сверху машина закрывается откидной крышкой.

Принцип действия. Вращение от электродвигателя передается вращающемуся жернову. Зерна из загрузочного бункера самотеком попадают в пространство между жерновами, измельчаются и в виде порошка поступают в нижний резервуар.

Рисунок 3 - Машина МИК-60 для размола кофе

- электродвигатель; 2 - корпус; 3 - механизм регулировки; 4 - магнитная ловушка; 5 - бункер; 6 - крышка; 7 - кожух; 8 - магнитный пускатель; 9 - вибратор; 10 - амортизатор; 11 - трубка; 12 - кнопка; 13 - трубка выгрузки; 14 - планка прижима пакета; 15 - жернов

.4 Механизм для размола кофе МКК-120

Механизм (рис. 4) состоит из корпуса, присоединительного вала, крышки, двух пластмассовых резервуаров, червячного шнека, двух жерновов подвижного и неподвижного, и механизма регулирования зазора между жерновами [4].

Принцип действия. Механизм приводится в действие универсальным приводом МКN-11 (производства ПНР).

Вращение от вала привода передается на присоединительный валик и шнек. Продукт из загрузочного резервуара подается к шнеку, который предварительно измельчает его и продвигает к жерновам. Окончательное измельчение продукта происходит между жерновами.

Регулирование степени помола (величины зазора между жерновами) производится специальной гайкой. Измельченный продукт поступает в нижний резервуар.

Рисунок 4 - Механизм для размола кофе МКК-120

- корпус; 2 - вал; 3 - крышка; 4, 5 - резервуар; 6 - шнек; 7 - неподвижный жернов; 8 - подвижный жернов;    9 - регулировочная гайка

3. Техническая характеристика размолочных машин и механизмов

Техническая характеристика основных размолочных машин и механизмов представлена в таблице 1.

Таблица 1 - Техническая характеристика размолочных машин и механизмов

Показатели

МИК-60

МДП-II-1

МИП-II-1

МКК-120

Производительность, кг/ч: дробление ядра на





крошку растирание ядра

-

20

-

-

растирание ядра

-

15

-

-

растирание мака

-

10

-

-

измельчение сухарей

-

15

15

-

измельчение кофе

60

-

-

6

Частота вращения, с-1 (об/мин): стационарного валка

23,6 (1420)

2,83 (170)

2,83 (170)

съемного валка


3,66 (220)



Количество сменных валков


4



Максимальный зазор, мм

1,2

2,5



Мощность электродвигателя, кВт

1,5

-

-

-

Габариты, мм: длина

342

365

305

250

ширина

276

240

220

160

высота

650

310

355

620

Масса, кг, не более

55

16

12,2

8,5




4. Анализ современных машин для размола кофе

На предприятиях общественного питания все больше применяются кофемолки Савария и автоматические кофемолки итальянского производства типа МС-99, MD-2000, MPN А.

Кофемолка Савария (рис. 5) предназначена для размола обжаренных зерен черного кофе. Она состоит из пустотелого корпуса 7 и загрузочной воронки 3, основание которой, представляющее собой металлическую оправу 4, присоединяется к регулировочной гайке 6. С помощью заслонки 5 можно изменять количество подаваемых к размолочным дискам зерен кофе или полностью прекратить их подачу. Измельченный кофе ссыпается в сосуд дозатора 2 или в кофеварочную чашу, которая устанавливается на специальной вилке 1, укрепленной в нижней части корпуса. Дозирующий рычаг 8, если его повернуть до отказа, позволяет получить порцию кофе [3].

Рисунок 5 - Кофемолка Савария

- вилка; 2 - сосуд дозатора; 3 - загрузочная воронка; 4 - металлическая оправа; 5 - заслонка; 6 - регулировочная гайка; 7 - корпус; 8 - рычаг

Производительность машины - 60 кг/ч, время, затрачиваемое на размол 100 г. зерен кофе, - 6 с, скорость вращения жерновов - 1420 об/мин, потребляемая мощность - 1,5 кВт, масса - 55 кг.

Правила эксплуатации. Небольшое количество поджаренных зерен кофе засыпают в воронку до начала работы, при этом заслонка 5 должна быть закрыта, размалывают их, включив электродвигатель и открыв заслонку. Затем закрывают заслонку и определяют тонкость помола. При необходимости изменяют тонкость помола с помощью регулировочной гайки 6. Для достижения мелкого помола регулировочную гайку поворачивают вправо, грубого помола - влево. Оптимальная работа на кофемолке достигается, когда дозатор заполнится на 2/3 объема. После окончательного размола кофе выключается электродвигатель. После разгрузки дозатора процесс либо повторяется, либо прекращается. По окончании работы кофемолка очищается сухой тканью или щеткой.

Основные характеристики автоматических кофемолок итальянского производства типа, MD-2000 (рис. 6), MPN А (рис. 7), МС-99 (рис. 8) представлены в таблице 2.

Таблица 2 - Основные характеристики автоматических кофемолок итальянского производства типа MD-2000, MPN А, МС-99

Параметры

МС-99

MD2000

MPN А

Емкость бункера для зерна, кг

1,5

1,6

1,0

Емкость дозатора, кг

0,250

0,200

0,150

Вид жерновов

Конические

Плоские

Плоские

Диаметр жерновов, мм

68

75

54

Скорость вращения, об/мин

450

900

1400

Производительность, кг/ч

12

10

7,2

0,35

0,35

0,24

Напряжение питания, В

230

230

230

Габаритные размеры, мм: длина ширина высота

 280 430 660

 220 360 620

 200 350 580

Масса, кг

20

15

11,5




Представленные в таблице типы кофемолок различаются в основном по применяемым жерновам (конические и плоские), которые измельчают кофейные зерна в порошок.

В моделях с плоскими жерновами (MD-2000, MPN А), которые представляют собой два стальных диска с канавками на сторонах, нижний жернов - вращающийся, верхний - неподвижный. Для достижения заданной степени помола в кофемолках имеется регулировочная гайка, позволяющая изменять зазор между жерновами.

При высокой скорости вращения жерновов (1400 об/мин) оборудование перегревается, появляется вероятность подгорания кофе, поэтому их рекомендуется использовать при средней (10 кг/ч) и малой (7,2 кг/ч) производительности, так как их жернова рассчитаны на помол 300 кг кофе в сутки.

Рисунок 6 - Кофемолка MD-2000

Рисунок 7 - Кофемолка MPN А

В кофемолках с коническими стальными жерновами (МС-99) нижний жернов, на поверхности которого имеется геликоидная канавка, тоже вращающийся, верхний - неподвижный и по форме точно соответствует нижнему жернову. Зазор между жерновами также регулируется для получения требуемого помола. Скорость вращения в кофемолках с коническими жерновами меньше (450 об/мин), чем с плоскими, но производительность выше (12 кг/ч), поэтому перегрев в процессе работы маловероятен, и жернова рассчитаны на помол до 1000 кг кофе в сутки.

Рисунок 8 - Кофемолка МС-99

.1 Сравнение технических характеристик машин для размола кофе

Для выбора технологического оборудования для размола кофе необходимо сравнить их основные технические характеристики (таблица 3).

Таблица 3 - Сводная характеристика машин для размола кофе

Показатели

МИК-60

МС-99

MD2000

MPN А

Производительность, кг/ч:

60

12

10

7,2

Частота вращения, об/мин

1420

450

900

1400

Вид жерновов

плоские

конические

плоские

плоские

Мощность электродвигателя, кВт

1,5

0,35

0,35

0,24

Габариты, мм: длина

342

280

220

200

ширина

276

430

360

350

высота

650

660

620

580

Масса, кг

55

15

11,5



При сравнении основных технических характеристик машин для размола кофе, можно выделить следующее: у машины МИК-60 производительность намного выше, чем у других машин. Но, так как жернова машины МИК-60 плоские, использовать ее на полную мощность не рекомендуется. Потому что при высокой скорости вращения жерновов (1400 об/мин) оборудование перегревается, появляется вероятность подгорания кофе, поэтому их рекомендуется использовать при средней (10 кг/ч) и малой (7,2 кг/ч) производительности, так как их жернова рассчитаны на помол 300 кг кофе в сутки. В таком случае можно отдать предпочтение машине МС-99 с коническими жерновами и более компактными размерами. Скорость вращения в кофемолках с коническими жерновами меньше (450 об/мин), чем с плоскими, но производительность выше (12 кг/ч), поэтому перегрев в процессе работы маловероятен, и жернова рассчитаны на помол до 1000 кг кофе в сутки.

5. Расчет технологического оборудования для измельчения

В размолочных механизмах (МИК-60, МИП-II-1 и МС12-15) за один оборот вращающегося жернова измельчается определенная масса продукта, ограниченная пространством между жерновами [5].

Для дисковых жерновов (МИК-60) это пространство определяется по формуле

V = , (5)

где Dmax - максимальный диаметр жернова, м;

Dmin - минимальный диаметр жернова, м;

b - зазор между жерновами, м.

Для жерновов, имеющих форму усеченного конуса (МИП-II-1 и МС12-15) пространство между жерновами определяется по формуле

V = , (6)

где h - высота жернова, м;

б - угол конусности.

Следовательно, производительность механизма Q при частоте вращения n, плотности продукта с и коэффициенте заполнения продуктом пространства между жерновами 𝜑 рассчитывается по формуле

Q = 3600 · V · n · с · 𝜑 (7)

Производительность валковых размолочных механизмов пропорциональна объему продукта, поступающего через зазор между валками.

Объем продукта, поступающего через зазор между валками в 1 с, определяем по формуле

V = L · b · v, (8)

где L - длина валков, м;

b - ширина зазора между валками, м;

v - окружная скорость, м/с.

Окружную скорость валка определяем по формуле

v = р · n · D, (9)

где D - диаметр валка, м;

n - частота вращения стационарного валка, с-1.

Массу продукта, проходящего между валками в 1 с, определяем по формуле

m = V · с · 𝜑, (10)

где 𝜑 - коэффициент заполнения зазора, зависящий от степени разрыхления продукта (𝜑 ~ 0,3).

Тогда производительность механизма может быть рассчитана по формуле

Q = 3600 · р · n· D · L · b · с ·𝜑 (11)

5.1 Определение производительности машины МИК-60 для размола кофе

Основные технические данные: максимальный диаметр жернова Dmax = 0,07 м, зазор между жерновами 0,0005 м, частота вращения жернова n = 23,7 c-1, коэффициент заполнения продуктом пространства между жерновами 𝜑 = 0,2, плотность продукта с = 550 кг/м3.

Объем пространства между жерновами определим по формуле (37)

V =  =  = 0,00000645 м3.

После подстановки числовых значений в формулу (39) производительность механизма будет равна

Q = 3600 · V · n · с · = 3600 · 0,00000645 · 23,7 · 550 · 0,2 = 60,5 кг/с.

6. Правила эксплуатации размолочных машин и механизмов

Перед включением механизмов проверяют надежность закрепления их в гнезде привода и опробуют работу машины на холостом ходу, после чего загружают подготовленный для измельчения продукт. Проталкивать продукт руками или какими-либо предметами, кроме толкателя, запрещается [2].

Перед началом работы на механизме МДП-II-1 необходимо проверить правильность его сборки. Фиксатор шпоночного валика должен находиться в его кольцевой канавке, а зазор между размолочными валками должен быть одинаковым по всей их длине.

Для получения крупного помола зазор должен составлять 1,5 мм. Величину зазора устанавливают вращением рукоятки. При растирании мака зазор должен быть минимальным (0,2…0,3 мм). При этом не должно быть трения между валками. Бункер необходимо надежно закрепить защелками, а скребки установить без перекосов. Для крупного помола орехов (размер частиц 5…12 мм) устанавливают рифленый валок с крупными канавками (15 канавок в валке). Для среднего помола орехов (размер частиц 4…8 мм) устанавливают валок со средними канавками (26 канавок в валке).

Для мелкого помола орехов (размер частиц до 4 мм) устанавливают валок с мелкими канавками (40 канавок в валке) и пропускают через валки предварительно измельченный продукт.

Для растирания орехов и мака устанавливают гладкий валок. Продукт подают в рабочую камеру равномерно. Если в процессе измельчения или растирания продукт налипнет на поверхность валка, необходимо прижать к ней винтом нож скребка.

Перёд началом работы на механизмt МИП-II-1 регулировочной гайкой устанавливают необходимую степень помола (крайнее левое положение гайки соответствует минимальной величине частиц, т.е. 0,2 мм; при вращении гайки по часовой стрелке зазор увеличивается). Затем устанавливают приемную тару, включают 1-ю скорость привода и пробным измельчением продукта уточняют величину помола.

В машине МИК-60 для регулирования зазора между жерновами необходимо открыть откидную крышку, снять загрузочный бункер, отпустить стопорный винт, крепящий рукоятку к кольцу, снять рукоятку и отпустить стопорный винт, фиксирующий кольцо на резьбовой втулке. После этого, приподняв и провернув против часовой стрелки кольцо относительно резьбовой втулки, следует переместить фланец с закрепленным на нем неподвижным жерновом в положение, обеспечивающее минимальный зазор между жерновами (при дальнейшем вращении возникает звук от трения жерновов друг о друга). Поворот осуществляется рукояткой. После установки минимального за-зора кольцо снимают с резьбовой втулки и вновь устанавливают в положение, при котором фиксатор рукоятки показывает на шкале «0». Затем фиксируют кольцо на резьбовой втулке и закрепляют рукоятку стопорным винтом. Поворотом рукоятки устанавливают необходимую степень помола.

После этого, открыв откидную крышку машины, загружают в бункер зерна кофе, а на разгрузочную трубу, отжав прижимную планку, надевают пакет. Далее, опустив планку, прижимают пакет к трубе и включают машину нажатием на пусковую кнопку. Измельченный кофе лопатками вращающегося диска выбрасывается в трубу для выгрузки. После окончания помола машину останавливают, отжимают прижимную планку и снимают пакет.

При работе с приемным бункером к трубе для разгрузка вместо пакета прижимают трубку-удлинитель.

В процессе эксплуатации машины МИК-60 жернова постепенно изнашиваются и зазор между ними увеличивается, что приводит к увеличению размера частиц продукта. При износе жерновов резко падает производительность машины МИК-60 и кофе сильно нагревается. По мере износа жерновов необходимо производить регулировку зазора или установить новые жернова. Один раз в 6 месяцев следует полностью разбирать механизм регулирования и наносить смазку на поверхность расточки крышки. Ежедневно рекомендуется протирать влажной мягкой тканью окрашенные поверхности машины.

Отдельные неисправности, возникающие в процессе эксплуатации машин и механизмов, могут быть устранены обслуживающим персоналом. Если механизмы МС12-15 и МИП-II-1 не обеспечивают мелкого помола, необходимо очистить зубья размолочных поверхностей или отрегулировать зазор между ними.

В механизме МКК-120 для регулирования степени помола необходимо ослабить болт со звездообразной головкой, стопорящий гайку регулятора, и установить необходимый зазор. Затем болт завернуть. Регулировку производить во время работы привода.


7. Техника безопасности при эксплуатации измельчительного и резательного оборудования

Измельчительное и резательное оборудование широко используется при предпродажной подготовке продуктов в розничной торговле и в системе общественного питания. Этот вид оборудования считается весьма опасным, так как в качестве рабочих органов применяются ножи, сегменты, терки, вальцы, лопасти, которые имеют острые режущие кромки и предназначены для распиловки костей, нарезки, измельчения, перемешивания мяса, овощей и других продуктов. Особая опасность заключается в том, что продукты для обработки подаются порциями в рабочую зону, где рабочие органы имеют высокие кинематические характеристики (скорость, частоту вибрации, ускорение и т.д.).

Основные виды травм, которые имеют место при эксплуатации измельчительно-резательного оборудования:

возможность поражения электрическим током;

механические травмы от воздействия открытых передач приводного механизма;

порезы, проколы, переломы костей конечностей при попадании их в рабочую зону.

Персонал, обслуживающий измельчительное и резательное оборудование, в первую очередь должен знать его опасные зоны, которыми являются участки машин, где чаще всего возможны случаи травматизма при нарушении правил эксплуатации или техники безопасности. Опасные зоны бывают как снаружи, так и внутри машины. Наружные опасные зоны возникают в основном при наличии открытых передач приводного механизма. При эксплуатации измельчительного и резательного оборудования большую опасность создают не только рабочие органы, но и приводной механизм с электродвигателем. Поэтому мясорубки, электропилы, колбасорезки, хлеборезки и другие машины требуют от обслуживающих лиц особого внимания. К эксплуатации измельчительного и резательного оборудования допускаются лица, сдавшие техминимум и прошедшие инструктаж по технике безопасности [3].

Прежде чем начать работу на машине, ее необходимо осмотреть, проверить правильность сборки, надежность крепления узлов и механизмов, состояние ограждения, а также зануление, или заземление, корпуса. Следует обратить внимание на исправность электрической проводки и рубильников. В случае выявления напряжения на корпусе машины, искрения проводки или других дефектов эксплуатировать машину до их устранения запрещается. При обнаружении признаков ненормальной работы машины ее необходимо остановить, отключить от электрической сети и повесить табличку: «Не включать, неисправно!». Устранение неисправностей электромотора, проводки, выключателей должен производить специалист-электрик.

Во время работы мясорубок запрещается проталкивать мясо руками, а пользоваться только специальными деревянными толкателями. Для предупреждения травм все мясорубки с диаметром горловины загрузочной воронки от 45 мм и выше должны иметь предохранительные кольца, которые устанавливают над входным отверстием.

Повышенную опасность представляет резательное оборудование, у которого зона обслуживания находится вблизи от невидимого движущегося ножа. К этому оборудованию относят хлеборезки с дисковыми ножами, а также колбасорезки.

Строго запрещается работать на измельчительных и резательных машинах при снятом верхнем кожухе, отсутствии конечного выключателя и снятом механизме заточки.

Готовность машины к работе проверяют, вращая вручную установочный диск. Машина считается исправной, если во время полного оборота дискового ножа по большей орбите все звенья работают без помех, излишнего стука и трения. Исправность концевого выключателя проверяется при работе машины на холостом ходу.

Категорически запрещается при включенном электродвигателе снимать щетки с дискового ножа, направлять и проталкивать заправленный продукт.

В процессе эксплуатации машин для нарезания гастрономических продуктов возникает необходимость заточки ножа. Чтобы заточить нож, нужно обязательно выключить электродвигатель, снять лоток для укладки продукта и защитный щиток. Затем следует установить заточное устройство на крышке, надежно закрепить его зажимом и включить электродвигатель. После заточки электродвигатель выключают, снимают заточное устройство и ставят на место щиток. Нож очищают от пыли и загрязнений деревянной лопаточкой с навернутой на нее чистой полотняной тряпкой и моют горячей водой при выключенном двигателе.

После окончания работы машину выключают. Рядом с машиной размещают плакаты и предупредительные надписи по технике безопасности.

Заключение

Механическое технологическое оборудование предприятий общественного питания - необходимое и наиболее важное звено соответствующих производств. Оно включает большую группу кулинарных машин и аппаратов, эксплуатируемых индивидуально или в составе поточно-механизированных автоматических линий по переработке пищевого сырья.

Правильный выбор и эффективная эксплуатация технологического оборудования позволяют повысить качество обслуживания клиентов торговых предприятий и предприятий общественного питания, интенсифицировать труд обслуживающего персонала, снизить затраты физического труда, уменьшить потери сырья и удельные расходы энергии.

Для того чтобы в процессе работы измельчительное оборудование обеспечивало высокое качество выпускаемой продукции, необходимую производительность, минимальные потери сырья и расход электроэнергии при высоком уровне надежности и безопасности, следует знать его конструктивные особенности, режимные и технические характеристики, принципы работы системы управления, а также общие правила размещения и эксплуатации.

В курсовой работе были выполнены все поставленные цели и задачи.

Изучены современные машины для размола кофе и проведено сравнение этого оборудования по техническим характеристикам. На основе сравнения был сделан вывод о том, что лучше отдать предпочтение машине для размола кофе МС-99 с коническими жерновами и более компактными размерами, способной размолоть до 1000 кг кофе в сутки.

Применение современного измельчительного оборудования позволяет повысить производительность труда, сократить затраты и облегчить труд работников предприятий массового питания, улучшить качество изделий и сократить время обслуживания клиентов. Экономическая эффективность - непременное условие применения техники.


Список использованной литературы

1 Былинская Н.А., Леенсон Г.Х. Механическое оборудование предприятий пищевых производств. - 3-е изд., перераб. и доп. - М.: Колос, 2007. - 295 с.

Золин В.П. Технологическое оборудование предприятий общественного питания: Учеб. для нач. проф. образования. - 2-е изд., испр. - М.: ИРПО, изд. центр «Академия», 2000. - 256 с.

Ботов М.И., Елхина В.Д., Голованов О.М. Тепловое и механическое оборудование предприятий торговли и общественного питания: учебник для нач. проф. образования. - 2-е изд., испр. - М.: Издательский центр «Академия», 2006. - 464 с.

Попов В.Д., Стабников В.Н., Лисянский В.М., Процессы и аппараты пищевых производств. М.: Агропромиздат, 2005. - 511 с.

Кошевой Е.П. Практикум по расчетам технологического оборудования пищевых производств. - Спб, ГИОРД, 2005. - 232 с.

Похожие работы на - Процесс измельчения пищевого сырья

 

Не нашли материал для своей работы?
Поможем написать уникальную работу
Без плагиата!
Без нейросетей!