Технология измельчения мяса

  • Вид работы:
    Курсовая работа (т)
  • Предмет:
    Другое
  • Язык:
    Русский
    ,
    Формат файла:
    MS Word
    573,73 Кб
  • Опубликовано:
    2013-05-05
Вы можете узнать стоимость помощи в написании студенческой работы.
Помощь в написании работы, которую точно примут!

Технология измельчения мяса

Введение

Измельчение - процесс механического воздействия на продукт рабочими органами, который приводит к преодолению сил взаимного сцепления и увеличению поверхности твердых материалов.

В пищевой промышленности измельчение применяют для увеличения поверхности твердых материалов с целью повышения скорости биохимических и диффузионных процессов при переработке фруктов, овощей и т. д., а также в процессах переработки пищевых отходов. Измельчение широко используют в мукомольном, мясном, свеклосахарном, спиртовом, пивоваренном, консервном и других производствах.

Выбор способа измельчения зависит от хрупкости и прочности исходного продукта.

Измельчение материалов осуществляют путем раздавливания (рис. 1,а), раскалывания (рис. 1, б), истирания (рис.1, в) и удара (рис. 1, г).

Рисунок 1 - Способы измельчения продуктов:

а - раздавливанием; б - раскалыванием; в - истиранием; г - ударом

При измельчении обычно имеют место несколько сопутствующих видов измельчения. Например, истирание сопровождается раздавливанием, раскалыванием, измельчением при ударе. При истирании материалов образуется большое количество пыли и в ряде случает имеет место переизмельчение, что иногда недопустимо. Выбор метода измельчения зависит от крупности и прочности кусков измельчаемых материалов. Прочные и хрупкие материалы измельчают раздавливанием и ударом, прочные и вязкие - раздавливанием, вязкие материалы средней прочности - истиранием, ударом и раскалыванием.

Процессы измельчения разделяются на дробление (крупное, среднее и мелкое), измельчение (тонкое и очень тонкое) и резание. Резание применяют, когда требуется не только уменьшить размер кусков, но и придать им определенную форму. Изрезанию подвергаются овощи и фрукты, конфетная и тестовая масса, мясо и другие продукты.

Результат измельчения характеризуется степенью измельчения, равной отношению среднего характерного размера D куска материала до измельчения к среднему характерному размеру d куска после измельчения :

 = D/d,

Измельчение осуществляется под действием внешних сил, преодолевающих силы взаимного сцепления частиц материала. При дроблении куски твердого материала сначала подвергаются объемной деформации, а затем разрушаются по ослабленным дефектами (макро- и микротрещинами), сечениям с образованием новых поверхностей.

Классификация измельчающих машин приведена на рисунке 2.



1. Состояние вопроса и литературный поиск

Для тонкого измельчения мяса применяют многообразные режущие машины, которые несколько условно разделим на четыре группы:

Машины с режущим механизмом в виде ножей с криволинейной режущей кромкой. Эти машины называют куттеры, от английского cutter - режущая машина.

Машины с режущим механизмом нож-решетка, которые называют эмульситаторы.

Машины с режущим механизмом, состоящим из ротора и статора в виде дисков или конусов, снабженных зубчатыми венцами. Их называют микро-куттерами.

Комбинированные машины, в которых используют совместно несколько перечисленных выше режущих механизмов.

Рисунок 1 - Измельчитель ККА.

На рис. 1 показан общий вид куттера непрерывного действия ККА фирмы "Кремер-Гребе" (Германия). Он имеет корпус 1, герметичный корпус 2 с крышкой 6, корпус шнека 4 выгрузки готового фарша, электродвигатель привода шнека 5 и патрубки отвода фарша 3. В моторном отсеке 7 расположены все приводные механизмы. Управление машиной ручное и автоматизированное, производится с пульта 8. Производительность машины в зависимости от вида продукции составляет 2500...4800 кг/ч.

Микроизмельчители

В микроизмельчителях используют режущий механизм, состоящий из многоперого ножа и решетки, который применяют и в волчках. Но, в отличие от волчков ножи вращаются с частотой до 50 с-1, а решетки имеют отверстие от 1 до 3 мм. Высокая скорость движения ножей позволяет получать тонко измельченную эмульсию. Для уменьшения сил трения между решетками и ножами их устанавливают с гарантированным зазором.

Микроизмельчитель К6-ФИ2-М (рис. 2) предназначен для тонкого измельчения предварительно измельченных на волчках фаршей структурно-однородных вареных колбас, сосисок и сарделек. Он состоит из станины 1, в которой установлен электродвигатель 16 мощностью 30 кВт и с частотой вращения вала 50с-1.

Рисунок 2- Микроизмельчитель К6-ФИ2-М.

На фланце электродвигателя и станине закреплен корпус 2 режущего механизма. Режущий механизм состоит из решетки 6 и двухперого ножа 7. Решетка вставлена в проточку корпуса, опирается на подпорный диск 10 и зафиксирована винтом 11. Решетка имеет внешний диаметр 240мм и толщину 10мм. В ней просверлены в шахматном расположении отверстия диаметром 3 мм.

На валу 5 электродвигателя на шпонке закреплена ступица 3, на которой устанавливают нож 7и разгрузочный диск 4, снабженный радиальными лопастями. Зазор между решеткой и ножом регулируют с помощью прокладок. Конструкция ножа показана на рисунке. Режущая кромка прямолинейная, образована задним α и передним γ углом, который меньше 90°. Перо ножа имеет наклон, который создает эффект насоса, проталкивая сырье через отверстия решетки.

Корпус измельчителя закрыт сверху приемным колпаком 9, к которому прикреплена труба фаршепровода 8.

Сырье в виде фарша, измельченного на волчке с диаметром отверстий 3 мм и смешанного с водой и различными добавками, поступает по фаршепроводу под давлением, измельчается и лопастями разгрузочного листа направляется в патрубок 13 и далее в накопительную емкость.

Для предохранения электродвигателя от попадания мясного сока служат лабиринтное уплотнение 12 и отбойный диск 14. Жидкость выводится через патрубок 15.

Производительность машины до 3000 кг/ч, масса 430 кг.

В микроизмельчителях Е-225 фирмы "Вольфкинг" (Германия) используют режущий механизм (рис. 5), состоящий из решетки 2 и двух шестиперых ножей 1 и 3. Ножи имеют сменные вставки 8, закрепленные в прорезях специальными винтами. Ножи и решетку устанавливают на втулку 5, которую, в свою очередь, соединяют с валом d электродвигателя.

Рисунок 3 - Режущий механизм микроизмельчителя Е-225 фирмы "Вольфкинг" (Германия).

Задний нож 3 прижимается постоянно к решетке пружиной 4. Зазор между передним ножом и решеткой регулируют вручную или автоматически с точностью до 0,01мм. Весь комплект собирают на втулке и вставляют в корпус 7.

Решетки могут иметь сверление 1,2, 1,5 и 5 мм, а нож может вращаться с тремя частотами: 16,6, 36,6 и 43,3 с-1. При диаметре отверстий в решетке 5 мм и частоте вращения 16,6 с-1 получают до 10 000 частиц в 1 кг измельченного продукта, а при диаметре 1,2 мм и частоте 43,3 с-1 - 9 260 000.

Мощность электродвигателя микроизмельчителя Е225 равна 90 кВт, производительность от 4000 до 15 000 кг/ч.

Комбинированные микроизмельчители

В режущих механизмах комбинированных микроизмельчителей используют две степени измельчения: первую - серповидными ножами и вторую - дисковыми зубчатыми ножами.

Комбинированный микроизмельчитель ФИЛ (рис. 4) имеет две ступени измельчения. Он состоит из станины 1, в которой установлен фланцевый электродвигатель 15. На валу 11 электродвигателя надета втулка 13, на которой кренят серповидные ножи - одинарный 7 и сдвоенный 8. На эти ножи сырье подается шнеком 6, корпус 5 которого прикреплен к горловине 4 корпуса режущего механизма.

Вторую ступень измельчения производят плоскими дисками - неподвижным 9и вращающимся 10, Набоковых поверхностях которых нарезаны концентрическими кольцами зубья.

Рисунок 4- Комбинированный микроизмельчитель ФИЛ.

Измельченная масса выводится из машины лопастями, расположенными на вращающемся диске через патрубок 2, Производительность измельчителя ФИЛ 2000 кг/ч, мощность электродвигателя 25 кВт. Ножи вращаются с частотой 50 с-1.

2. Описание производственной линии

Технология производства сосисок и сарделек включает ряд операций, которые в свою очередь подразделяются на ряд подопераций:

подготовка сырья;

измельчения и посол мяса;

приготовление фарша;

формование батонов;

термическая обработка сосисок и сарделек;

упаковывание, маркирование, транспортирование и хранение.

Подготовка сырья

Подготовка сырья включает:

размораживание (при использовании замороженного мяса);

разделку;

обвалку;

жиловку.

Размораживанию подвергают туши и полутуши прошедшие замораживание на холодильниках. Размораживание проводят в камерах размораживания при соблюдении специальных условий. При этом обсемененность туши микроорганизмами не должна увеличиваться. Поверхность туши не должна обветриваться и подсыхать. Мясо не должно испортится.

Туша или полутуша считается размороженной при условии, что температура в толще мяса достигла 1-4 0С.

Разделка - это операции по расчленению туш или полутуш на более мелкие отрубы. Мясные туши (полутуши) разделывают на отрубы в соответствии со стандартными схемами. При специализированной разделке в колбасном производстве всю полутушу (тушу) используют на выработку колбасных изделий.

На обвалку и жиловку поступает охлажденное и размороженное сырье с температурой в толще мышц 1-4 0С; для выработки сосисок и сарделек используют либо парное мясо с температурой не ниже 30 0С, либо остывшее с температурой не выше 12 0С. При использовании парного мяса промежуток времени между убоем животного и составлением фарша не должен превышать 4 ч.

Жиловка это процесс отделения от мяса мелких косточек, остающихся после обвалки, сухожилий, хрящей, кровеносных сосудов и пленок. При жиловке говядины вырезают куски мяса массой 400-500 г и сортируют в зависимости от содержания соединительной ткани и жира на три сорта.

Измельчение и посол мяса

Мясо для производства сосисок и сарделек после жиловки подвергают измельчению и посолу. При посоле мясо приобретает соленый вкус, липкость (клейкость), устойчивость к воздействию микроорганизмов, повышается его влагоудерживающая способность при термической обработке, что важно в производстве сосисок и сарделек, формируется вкус.

При посоле мяса, предназначенного для сосисок, вносят 1,7-2,9 кг соли на 100 кг мяса. В результате копчения и сушки концентрация соли в готовых изделиях повышается до 4,5-6,0 %.

Мелко измельченное мясо перемешивают с рассолом, а более крупно измельченное мясо − с сухой поваренной солью. Продолжительность перемешивания мяса с рассолом 2-5 мин (до равномерного распределения раствора соли и полного поглощения его мясом), с сухой солью мелкоизмельченного мяса − 4-5, мяса в кусках или в виде шрота − 3-4 мин.

При посоле мяса добавляют нитрит натрия в количестве 7,5 г на 100 кг сырья в виде раствора концентрацией не выше 2,5 % (или его вводят при приготовлении фарша).

Посоленное мясо помещают в емкости и направляют на выдержку при температуре 0-4 °С.

Приготовление фарша

Фарш это смесь компонентов, предварительно подготовленных в количествах, соответствующих рецептуре для данного вида и сорта колбасных изделий.

В зависимости от вида колбасных изделий степень измельчения сырья различна. Связующим компонентом фарша, обеспечивающего гомогенность и монолитность структуры готового продукта, является мясная часть. Наиболее тщательно мясо измельчают при производстве сосисок, сарделек, вареных и ливерных колбас.

Мясо для сосисок измельчают вначале на волчке, затем на куттере или других машинах тонкого измельчения. Шпик и грудинку, вводимые в фарш, измельчают в куттере в конце куттерования.

Тонкое измельчение мяса для производства сосисок и сарделек проводят в куттерах или на микроизмельчителях.

Формование

Процесс формования сосисок и сарделек включает в себя ряд следующих операций:

подготовку оболочки;

шприцевание фарша в оболочку;

вязку и штриковку сосисок и сарделек;

навешивание сосисок и сарделек на палки и рамы.

Шприцевание (т. е. наполнение оболочки фаршем) осуществляется под давлением в специальных машинах − шприцах. В процессе шприцевания должны сохраняться качество и структура фарша. Плотность набивки фарша в оболочку регулируется в зависимости от вида изделий, массовой доли влаги и вида оболочки. Фаршем оболочки наполняют наименее плотно, иначе во время варки вследствие объемного расширения фарша оболочка может разорваться.

Фарш вареных колбас на пневматических шприцах рекомендуется шприцевать при давлении 0,4 - 0,8 МПа.

Для обнаружения металлических примесей, которые могут попасть в фарш, на патрубке шприца следует установить сигнализаторы.

Для уплотнения, повышения механической прочности и товарной отметки сардельки после шприцевания перевязывают шпагатом по специальным утвержденным схемам вязки. При выпуске батонов в искусственных оболочках, где напечатаны наименование и сорт колбасы, поперечные перевязки можно не делать.

После вязки батонов для удаления воздуха, попавшего в фарш при его обработке, оболочки прокалывают в нескольких местах (штрикуют) на концах и вдоль батона специальной металлической штриковкой, имеющей 4 или 5 тонких игл. Сардельки в целлофане не штрикуют.

Перевязанные сардельки навешивают за петли шпагата на палки так, чтобы они не соприкасались между собой.

Термическая обработка сосисок и сарделек

Термическая обработка − заключительная стадия производства сосисок и сарделек; она включает осадку, обжарку, варку, копчение, охлаждение и сушку.

Операция осадки (выдержки) фарша после формования предусматривается для всех видов изделий. Продолжительность осадки зависит от вида изделий.

Кратковременную осадку проводят при получении сарделек, она длится 2-4 ч. На большинстве предприятий осадку сарделек проводят по пути их прохождения из шприцовочного отделения в обжарочное при температуре в помещении не выше 12 СС. В процессе осадки восстанавливаются химические связи между составными частями фарша, разрушенные при измельчении и шприцевании, увеличивается доля прочносвязанной влаги, фарш уплотняется и становится монолитным, а готовый продукт получается более сочным, с лучшей консистенцией. Одновременно происходят реакции, стабилизирующие окраску фарша в результате действия нитрита натрия. Оболочка подсушивается, испаряется некоторое количество избыточной влаги.

При осуществлении осадки следует иметь в виду, что излишнее подсушивание оболочки может привести к образованию корочки под оболочкой и морщинистости.

После осадки сардельки обжаривают. Обжарка является разновидностью копчения, ее проводят дымовым газом при 90±10 0С.

Варят и запекают все виды сосисок и сарделек. В результате варки продукт достигает кулинарной готовности. Варку проводят при 71±1 0С. Такая температура обеспечивает гибель до 99% клеток вегетативной микрофлоры. Составные части мясопродуктов претерпевают значительные изменения: растворимые белки мышечной ткани денатурируют (свертываются), происходит изменение их структуры и физико-химических свойств, белки соединительной ткани (коллаген) свариваются, распадаются на более мелкие, разрыхляются, становятся менее прочными и лучше связывают воду.

Сушка. Эта операция завершает технологический цикл производства сосисок и сарделек. В результате понижения массовой доли влаги и увеличения массовой доли поваренной соли и коптильных веществ повышается устойчивость мясопродуктов к действию гнилостной микрофлоры. Кроме того, увеличивается концентрация сухих питательных веществ в готовом продукте, улучшаются условия его хранения и транспортирования.

Линия производства сосисок и сарделек.

Линия производства сарделек начинается с комплекса оборудования для предварительного измельчения мясного сырья, в состав которого входят: волчки-жиловщики, блокорезки, блокорезка-измельчитель и напольные тележки.

Рисунок 5- Машинно-аппаратурная схема производства сосисок и сарделек.

В состав линии входят комплекс оборудования для посола мяса, состоящий из смесителя, агрегата для измельчения и посола мяса, а также комплекса оборудования для посола и созревания мяса.

Комплекс оборудования для созревания мясосырья представляет собой камеру, состоящую из стационарных стеллажей и напольных тележек, которые расформировываются по стеллажам на время посола мясосырья.

3. Устройство и принцип действия проектируемой машины

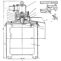
Измельчитель системы ANCO (США) состоит из приводной и рабочей частей. Первая включает электродвигатель 1 (рис. 6), закрепленный на качающейся плите 2, опирающейся на стойку 3. Электродвигатель через клиноременную передачу 4 приводит во вращение полый вал, через который проходит штанга 5. Полый вал установлен в подшипниках, закрепленных в корпусе 6. На свободном конце полого вала, смонтирован режущий механизм, состоящий из ножей и решеток.

Рабочая часть машины включает приемный бункер 7 и горловику 8, они соединены между собой и через муфты 9 опираются на две направляющие 10. Горловина своим торцевым срезом подходит вплотную к фланцу корпуса 6, а требуемое уплотнение в поверхности их стыка создается рычагом 11, смещающим рабочую часть, по направляющим 10. Вращающийся нож захватывает продукцию из загрузочной горловины, режет, продвигает ее через неподвижную решетку с мелкими отверстиями. На стороне выхода предусмотрен трехконцевой вытеснитель, выдающий продукцию в разгрузочный рукав 12. При работе необходимо следить за уровнем продукции в загрузочном бункере. Производительность машины до 11 т/ч, мощность электродвигателя 44 кВт; число оборотов ножевого вала 2000 в минуту; диаметр отверстий решетки 1,6 мм; диаметр решетки 245 мм. Машина куттерует мясо, предварительно измельченное волчками.

Рисунок 6 - Измельчитель ANCO

4. Расчетная часть

Технологический расчет

1. Режущая способность F (м2/с):

 м2/с (1)

 - частота вращения ножей, с-1;

D - диаметр решётки, мм;

k - число перьев ножа;

φ - коэффициент использования поверхности решётки.

. Производительность М (кг/с):

 кг/с (2)

где F1 - заданная степень измельчения, (м2/кг), при диаметре отверстий d=3 мм равна 0,6-0,7;(при измельчении замороженных продуктов степень измельчения при равных условия увеличивается на 15…20 %).

Энергетический расчёт

Мощность электродвигателя N (кВт):

= (3)

где N1, N2 - соответственно мощности, необходимые для резания продукции и преодоления трения в режущем механизме;

ηа −1,2-1,3 - коэффициент запаса мощности;

η - КПД передающего механизма.

 кВт (4)

α = 2,5-3,5 кДж/м2 - удельный расход энергии.

кВт

м =2-3 Па - давление на поверхности нож-решётка;

b - ширина полоски контакта ножа с решёткой, м;

D, d0 - внешний и внутренний диаметр лезвия ножа, м;

i - число режущих плоскостей в механизме;

µ≈0,1 - коэффициент трения ножа о решетку в присутствии продукта;

ω - угловая частота вращения ножа, с-1.

 кВт

Кинематический расчёт

Исходя из полученных расчетов, подберём электродвигатель марки 4A132М2Y3 с мощность 11 кВт и частотой вращения 3000 об/мин.

Принимаем передаточное число ременной передачи

Определим угловую скорость:


Определим крутящий момент

== (7)

По значению крутящего момента сечение ремня и min допустимый диаметр ведущего шкива D1.

Дальнейший расчет ведем в табличной форме.

Таблица 1− Основные расчеты




Принимаем 4 ремня сечения Б.

. Охрана труда и техника безопасности

Перед началом работы необходимо убедиться в надежности крепления оборудования к фундаменту или к производственным столам. Визуально убедиться в наличии заземления.

Регулирование элементов режущего механизма осуществляется либо специальным устройством с динамометрическим ключом, либо вручную до появления характерного скрежета, после этого гайку отворачивают в обратную сторону на ¼ оборота.

В процессе эксплуатации машин происходит износ режущего пера, особенно при наличии костных и ключевых хрящей, что может привести даже к выкрошиванию инструмента.

При затуплении режущих инструментов их затачивают (в паре) на плоскошлифованных станках. После шлифовки проводится ручная притирка на специальных плитах.

По окончании работы производится разборка, санитарная обработка, просушивание режущего инструмента и смазка (несоленый пищевой жир). Хранится режущий инструмент в разобранном состоянии.

Безопасность рабочих во многом зависит от свойства производственного оборудования сохранить безопасное состояние при выполнении заданных функций в определенных условиях в течении установленного времени, тое есть его безопасность.

В значительной мере повышенная опасность оборудования зависит от свойств перерабатываемых им веществ или характеристики рабочей среды.

Однако во всех случаях наиболее важную роль в обеспечении безопасной эксплуатации оборудования принадлежит его безопасной конструкции, оснащенной необходимой контрольно-измерительной аппаратурой, приборами безопасности, блокировочными устройствами, автоматическими средствами сигнализации и защиты, позволяющими контролировать соблюдения нормальных режимов технологического процесса, а также исключающими важность возникновения аварий и несчастных случаев.

Основными требованиями охраны труда, предъявленными при проектировании машин и механизмов, являются: безопасность для человека, надежность и удобства эксплуатации. Требования безопасности определяются системой стандартов безопасности труда.

Согласно этим стандартам безопасность производственного оборудования обеспечивается выбором принципов действия, конструктивных схем, применением в конструкции средств механизации, автоматизации, средств защиты, выполнением эргономических требований, учетом требований безопасности в технической документации по монтажу, эксплуатации, ремонту, транспортированию и охране.

Производственное оборудование и машины должны обеспечивать исключение или снижение уровней шума, вибраций до регламентированных уровней. измельчение мясо нож куттер

Расположение и расстановка оборудования в производственных цехах осуществляется в соответствии с отраслевыми нормами технического проектирования, при этом обязательно предусматривается соблюдение следующих условий: последовательность расстановки оборудования по технологической схеме, обеспечение удобства и безопасности обслуживания и ремонта, максимально естественного освещения и поступления свежего воздуха.

Безопасность работы на оборудовании может быть обеспечена лишь при наличии на нем необходимых органов управления. Органы управления производственным оборудованием независимо от его мощности, габаритов и назначения должны соответствовать следующим основным требованиям: обеспечивать надежность пуска; быстроту остановки, легкость и удобство пользования; исключать возможности ошибочного или случайного включения как оборудования в целом, так и отдельных его механизмов.

Конструкция производственного оборудования выполняется таким образом, что исключается возможность случайного соприкосновения рабочих с горячими частями и тем самым защищает их от ожогов. Предусматривает защиту от поражения электрическим током, включая случаи ошибочных действий.

Заключение

В ходе выполнения курсового проекта на тему "Микроизмельчитель ANCO" ознакомился с принципом его действия и назначением.

В пояснительной записке дан анализ необходимости и сущности процесса производства сарделек, описана машинно-аппаратурная схема, приведена графически выполненная машинно-аппаратурная схема производства сарделек.

В расчетной части по заданным параметрам был произведен технологический расчет, в котором определена производительность микроизмельчителя ANCO, энергетический расчет, кинематический расчет.

Представлены правила монтажа, эксплуатации и техники безопасности при работе и монтаже микроизмельчителя ANCO.

Список использованных источников

         Пелеев А. И. Технологическое оборудование предприятий мясной промышленности. - М.: Пищевая промышленность, 1971. - 519с.

2 Антипов С.Т. Машины и аппараты пищевых производств: учебник для вузов: в 3 кн.: Кн. 2. Т. 2 / С.Т. Антипов. - Минск: БГАТУ, 2008. - 591 с.

3 Бредихин С. А. Технологическое оборудование мясокомбинатов. - М.: Колос, 2000. - 392 с.

4 СТП СМК 4.2.3-01-2011.Общие требования и правила оформления учебных текстовых документов [Текст] : стандарт университета / сост.: А.В. Иванов, Е.Н. Урбанчик. - Введ. с 07-04-2011. - Могилев: УО МГУП, 2011. - 41 с.

Похожие работы на - Технология измельчения мяса

 

Не нашли материал для своей работы?
Поможем написать уникальную работу
Без плагиата!
Без нейросетей!