Производство мясных консервов
ВВЕДЕНИЕ
мясной консервы закатывание
Консервы - это мясопродукты, упакованные в
металлическую, стеклянную или полимерную тару, герметически укупоренные и
стерилизованные либо пастеризованные нагревом. Термообработка уничтожает
микроорганизмы, герметичная упаковка защищает продукт от воздействия внешней
среды, в результате чего консервы можно хранить достаточно длительное время в
неблагоприятных условиях без порчи. Консервируемые нагревом изделия компактны и
удобны для транспортирования и потребления в любых условиях [19, с. 367].
В состав консервного производства входит:
производство и подготовка тары, подготовка исходного продукта, наполнение
банок, герметизация банок, стерилизация банок, охлаждение, этикетирование и
отгрузка продукции [6, с. 414].
Консервы, изготовленные для длительного хранения
(3-5 лет), прежде всего, используются для создания государственного резерва.
Закусочные консервы имеют, как правило, ограниченный срок хранения, их можно
употреблять в пищу непосредственно. Обеденные консервы представляют собой
полуфабрикаты, предназначенные для приготовления первых и вторых блюд [3, с.
549].
Упаковывание мясных консервов - один из
важнейших технологических процессов консервного производства, в значительной
мере обеспечивающий качество и безопасность продуктов. Поэтому исследование
данного процесса - актуально и является своевременным.
Цель курсовой работы - всестороннее исследование
процесса упаковывания мясных консервов в тару и изучение оборудования,
предназначенного для его реализации.
1.
АНАЛИЗ СПОСОБОВ И ВЫБОР ОПТИМАЛЬНОГО
мясной консервы закатывание
Закатывание и упаковывание - важные
технологические процессы, во многом определяющие качество готовой продукции и
ее товарный вид. Они предназначены для герметизации тары с продуктом с целью
его дальнейшего хранения. Отличие закатывания от упаковывания состоит в том,
что мясопродукты, закатанные в тару, предназначены для длительного хранения (до
одного года и более), а упакованные мясопродукты - для кратковременного
хранения [16, с. 340].
В качестве тары для закатывания и упаковывания
применяют жестяные, стеклянные банки и формы различной конфигурации из
многослойных комбинированных полимерных материалов в сочетании с фольгой,
картоном или металлизированных полимеров [4].
Для закатывания мясопродуктов применяют машины,
которые называют закаточными, а для упаковывания - упаковочные
(вакуум-упаковочные) машины
1.1 Способ закатывания
Закаточные машины по принципу действия
подразделяют на неавтоматические (банки к закаточной головке и закаточные
ролики подают к банке вручную), полуавтоматические (закаточные ролики работают
автоматически, а банки к закаточной головке подают вручную), автоматические
(оба процесса осуществляются автоматически). По положению банки во время
закатки машины делят на две группы: в одной группе машин банки при герметизации
стоят неподвижно, в другой вращаются вокруг своей оси.
Из автоматических наиболее распространенной в
мясоконсервной промышленности является однобашенная закаточная шестишпиндельная
машина.
Для проведения закатки с одновременным
вакуумированием используют различные вакуум-закаточные машины, причем при
наличии в установке клинчера (машины предварительной закатки) вакуум-насосы
монтируют отдельно от закаточных машин, а при отсутствии клинчера - в самой
закаточной машине.
Герметизацию жестяных банок выполняют путем
образования двойного закаточного шва. Он представляет собой плотное соединение
корпуса банки с фланцем крышки, состоящее из пяти слоев жести, из которых три
слоя образованы крышкой и два - корпусом. Между слоями жести находится
уплотняющая прокладка из эластичного материала.
Для герметизации фигурных банок применяют пасту
или резиновые кольца, которые изготовляют из невулканизированной резины, а для
герметизации цилиндрических банок - водоаммиачную пасту, вырабатываемую из
синтетического латекса, каолина, канифоли и аммиака.
Двойной закаточный шов образуется за две
операции (рис. 1). Закаточные ролики первой операции предварительно подкатывают
под фланец крышки и под фланец корпуса банки, а закаточные ролики второй
операции окончательно оформляют шов, плотно сжимая и прикатывая все слои жести.
Рисунок 1 - Образование закаточного шва жестяной
банки:
а - до закатывания; б - после первой операции; в
- после второй операции; 1 - уплотняющая прокладка; 2 - закаточный патрон;
3-крышка; 4 - корпус банки; 5 - ролик первой операции; 6 - ролик второй
операции
Образование правильного двойного закаточного шва
в значительной степени зависит от профиля и размеров рабочей части закаточных
роликов, а также от их положения относительно закатываемой банки и закаточного
патрона. Правильно закатанный двойной шов должен быть совершенно гладким, без
морщин и выступающих частей металла. В нижней части шов должен быть сжат, а в
верхней - расширен.
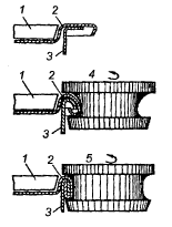
Стеклянные банки укупоривают (рис. 2)
металлическими крышками с резиновыми кольцами. Толщина колец 2,2 мм, высота 2,5
мм.
Рисунок 2 - Герметизация стеклянных банок:
а - до закатывания; б - после закатывания; 1 -
ролик; 2 - крышка; 3 - банка; 4 - резиновое кольцо
Массу наполненных банок контролируют не менее 3
раз в смену. При этом допустимое отклонение массы нетто для банок массой до 1
кг составляет 3%, а для банок массой нетто более 1 кг - 2%. Для создания в
банках необходимого разрежения в камере закаточной машины давление должно быть
39,9-76,5 кПа. При этом постоянно контролируется качество закаточного шва.
Чтобы проверить работу закаточных машин, в
пустые банки вводят 5-6 капель серного эфира, закатывают их и опускают в
горячую воду (температура 80-85оС) или направляют в специальный
аппарат. По выделению или отсутствию пузырьков воздуха и паров эфира судят о
герметичности закаточного шва. Эту операцию проводят не менее 3 раз в смену для
каждого патрона [11, с. 592-594]; [16, с. 340-342]; [17, с. 261-263].
1.2 Способы упаковывания
В настоящее время для упаковки мяса и мясных
продуктов используется широкий ассортимент полимерных пленочных материалов:
одно- и многослойные. В последние годы большое распространение получили
термоформуемые комбинированные материалы, в том числе глубокого формования.
Использование этих материалов с заданным комплексом физико-технических свойств
при упаковке конкретного вида продукта определенным способом обеспечивает
оптимальную сохранность продукции [15, с. 333].
Наиболее известны однослойные пленочные
материалы - это целлофан, полиэтиленовые, поливинилхлоридные, виниловые,
полистирольные и др.
Для упаковывания мясопродуктов применяют
оборудование периодического, непрерывного, полуавтоматического и
автоматического действия. Упаковывание продукта может осуществляться в вакууме и
в контакте с окружающим воздухом. Упаковочное оборудование применяют как
отдельно (упаковочные и вакуум-упаковочные машины), так и в виде упаковочных
комплексов и поточных линий. В настоящее время наибольшее применение получили
вакуум-упаковочные машины [12, с. 70-73].
Вакуум-упаковочные машины по конструкции бывают
однокамерными, двухкамерными и ленточными. Основная часть этих машин -
вакуумная камера, в которой осуществляются вакуумирование пакета с продуктом и
герметичная сварка шва пакета.
Продукт вкладывают в мешок (пакет) из
полимерного материала (рис. 3), подвергаемого термической сварке. Пакет
укладывают в камеру таким образом, чтобы его открытая часть (незапечатанный
край) находилась на сварочном элементе. Крышка камеры закрывается, включается вакуум-насос,
который отсасывает из пакета воздух. Степень вакуумирования 99,6- 99,9%. После
отсоса воздуха включаются нагревательные элементы, которые, соприкасаясь с
пакетом, герметично его запечатывают.
Рисунок 3 - Схема работы однокамерной
вакуум-упаковочной машины: а - начало вакуумирования; б - окончание
вакуумирования; 1 - патрубок отвода воздуха, 2 - сварочные элементы; 3 -
эластичный элемент; 4 - крышка камеры; 5 - камера; 6 - продукт; 7- пакет
(упаковка)
В конструкции некоторых вакуум-упаковочных машин
на крышке предусматривают специальный эластичный элемент, который при создании
вакуума в вакуум-камере обхватывает пакет, способствуя более быстрому удалению
воздуха из пакета. Некоторые типы вакуумных камер снабжены нагревательными
элементами только с одной стороны камеры, другие - с двух противоположных. У
отдельных камер на крышке нагревательные элементы отсутствуют, а установлен
только фторопластовый уплотнитель [6, с. 393-408]; [16, с. 346].
На основании изложенного в главе материала,
можно сделать вывод, что для упаковывания мясных консервов наиболее подходящим
является способ закатывания продуктов в прочную металлическую и
стеклянную тару, обеспечивающие длительный срок хранения мясных продуктов без
порчи. Упаковывание консервов в упаковочных машинах в пленку нецелесообразно и
не сможет при длительном хранении обеспечить высокую хранимоспособность
продукта.
2.
ОПИСАНИЕ ВЫБРАННОГО ПРОЦЕССА
Рассмотрим процесс закатывания мясных консервов
в тару (банки).
Технологический процесс предусматривает
следующие операции: укладка компонентов, эксгаустирование и герметизация банок,
собственно закатывание, проверка банок на герметичность.
Подготовленное мясное и растительное сырье в
период фасования и укупоривания не подвергается тепловому воздействию. При этом
создаются благоприятные условия для развития микроорганизмов. Соблюдение правил
и регламентов проведения операций этого периода в значительной мере
обеспечивает качество и безопасность консервов.
Укладка компонентов.
При фасовании соблюдают правильность укладки компонентов, соотношение их в
банке, массу содержимого, а также принимают меры, предупреждающие попадание
посторонних предметов.
В зависимости от вида полуфабриката фасование
может производиться разными способами. Однородные консервы - фаршевые,
паштетные фасуют с помощью, так называемых объемных наполнителей - мерных
сосудов, внутренний объем которых соответствует подаваемой в тару дозе;
продукта.
Если консервы состоят из твердых и жидких
компонентов, то мясную часть и гарниры фасуют вручную или с помощью машинных
устройств, а жидкую - бульоны, соусы, жир - дозируют с помощью наполнительных
цилиндров до постоянною уровня. В этих устройствах роль емкостей, отмеривающих
необходимую порцию, выполняет сама заполняемая тара. Для банки каждого размера
и вида консервов установлены нормы массы укладываемого мяса, гарнира и жидкой
части. Несоблюдение соотношений между твердой фазой и заливкой при дальнейшей
обработке вызывает негативные последствия [14, с. 156-159].
Эксгаустирование и герметизация
банок. Сущность процесса закатки состоит в
герметическом присоединении крышки к корпусу тары. Цель герметизации состоит в
изоляции содержимого консервной тары от внешней среды для создания условий
стерилизации и предупреждения последующего попадания в продукт микроорганизмов.
Эксгаустирование. Условия последующей
стерилизации создают в герметичных банках высокое давление, угрожающее их
целостности и ведущее к порче консервов. Кроме того, в присутствии кислорода
при стерилизации разрушаются биологически ценные вещества продукта, происходит
коррозия внутренней поверхности металлической тары.
Для устранения или частичного снижения давления
удаляют воздух из банок перед их герметизацией. Этот процесс называется
эксгаустированием. Воздух удаляют из свободного, не заполненного продуктом
пространства банки и неплотностей между частями твердого содержимого, а также
из жидкой части, в которой он может быть растворен.
Эксгаустирование осуществляют двумя методами -
тепловым и механическим. Эксгаустирование тепловым методом заключается в
нагревании банок с продуктом паром, который вытесняет воздух из банки.
Содержимое при этом нагревается до 80°С. Внесение в банку горячей заливки
температурой не ниже 75°С представляет разновидность теплового эксгаустирования.
Эксгаустирование механическим методом заключается в отсасывании воздуха из
банки вакуум-насосом закаточных машин. Для более эффективного удаления воздуха
из банок используют сочетание теплового и механического эксгаустирования. После
эксгаустирования банки немедленно герметизируют [2, с. 173-175]; [14, с.
159-169].
Закатывание.
Перед закатыванием на крышках жестяных банок наносят маркировку путем штамповки
или надписью термостойкой краской. При маркировке в двух строчках на донышке
указывают: индекс отрасли промышленности (ММ - мясная), номер завода и год
изготовления, на крышке - номер смены (одной цифрой), двузначное число месяца
изготовления (до цифры 9 включительно впереди ставят ноль), месяц изготовления
(А - январь, Б - февраль и т.д. по алфавиту до буквы Н, исключая букву З),
ассортиментный номер (1-3 знака).
При типографической печати на крышку наносят
однострочную маркировку, где указывают номер смены, даты выработки и
ассортиментный номер, остальная информация уже обозначена на банке.
Жестяные банки герметизируют на закаточных
машинах. Присоединение крышки к корпусу банки осуществляется путем образования
двойного закаточного шва. Между фланцами крышки и корпуса банки имеется слой
уплотнительной пасты. Сложность формы шва заставляет производить закатывание в
две последовательно выполняемые операции. Рабочими органами закаточной машины
являются ролики. Ролики первой операции предварительно подкатывают фланец
крышки под фланец корпуса банки. Ролики второй операции окончательно оформляют
шов, плотно сжимая и прокатывая все пять слоев жести. Последовательность
образования двойного закаточного шва показана на рис. 4. Закатку можно
осуществлять при вращающейся или неподвижной банке.
Рисунок 4 - Закатка банок
- патрон; 2 - крышка; 3 - корпус; 4 - закаточный
ролик первой операции; 5 - закаточный ролик второй операции
Закаточные машины применяют двух типов:
полуавтоматические и автоматические. При работе на полуавтоматических
закаточных машинах устанавливают банку, покрытую крышкой, на нижний патрон
закаточной машины и с помощью нижней педали вместе с нижним патроном поднимают
ее, зажимая между нижними и верхними патронами Одновременно включается механизм
закаточной головки (верхнего патрона с роликами первой и второй операций).
После образования закаточного шва опускают педаль, приводя этим рабочие части
машины в первоначальное положение. Банку снимают с нижнего патрона и передают
на следующую технологическую операцию. Такие машины предназначены для
предприятий малой мощности [18, с. 267].
Автоматические закаточные машины обеспечивают
полную автоматизацию всего процесса закатки. Наполненные банки по конвейеру
подаются к машине, автоматически накрываются крышками, закатываются, а затем
поступают на транспортер для передачи на следующую операцию (рис. 5).
Рисунок 5 - Схема движения банок в
автоматической закаточной машине: 1 - банка; 2 - башня с закаточными головками;
3 - основание машины
В автоматических вакуум-закаточных машинах
одновременно с закаткой удаляют воздух из банки. Эта операция проходит в
вакуумной камере при 5,3*104 Па, а при производстве консервов из
неизмельченного мяса и фасовании в тару маленьких типоразмеров - 8,6*104
Па.
Во время герметизации возможно образование
дефектов, связанных с качеством регулирования закаточных машин (вмятины на
поверхности банок, морщинистость фальцев, «птички» - острые выступы жести),
работу которых контролируют не менее трех раз в смену.
Во избежание повышения микробиального обсеменения
содержимого банок время между операциями фасования и начала стерилизации
ограничивают 30 мин [2, с. 175-178]; [14, с. 169-174].
Проверка на герметичность.
Цель проверки на герметичность - не допустить в стерилизацию плохо закатанные
банки, которые при стерилизации начинают подтекать. Основной причиной
негерметичности банок является плохое качество закаточного шва вследствие
недостаточной отрегулированности закаточной машины либо в результате отклонений
в линейных размерах банок.
При закатке на вакуум-закаточных машинах
проверку герметичности банок не проводят. В случае закатки на других закаточных
машинах банки проверяют на герметичность визуально путем внешнего осмотра, в
водяной контрольной ванне, а также с помощью воздушных и воздушно-водяных
тестеров. Визуальную проверку проводят непосредственно на конвейере, осматривая
закаточный шов, но так можно обнаружить только явный брак.
Обычно герметичность проверяют путем погружения
банок в горячую воду температурой 85-90оС. При этом находящийся в
банках воздух расширяется, давление в них повышается. В случае негерметичности
пузырьки воздуха выходят из банок. Для более удобного наблюдения ванны с водой
выкрашены в белый цвет и хорошо освещены изнутри. Процессы подачи, погружения,
подъема банок и разгрузки механизированы.
Основной недостаток такой проверки заключается в
отсутствии полной гарантия обнаружения дефекта герметичности.
Более надежный результат можно получить,
проверяя правильность закатки банок с помощью вертикальных или горизонтальных
воздушных и воздушно-водяных тестеров, которые работают синхронно с закаточной
машиной. Они состоят из камер контроля, в которые после герметизации нагнетают
воздух. При негерметичности воздух через неплотности попадает в банку, давление
в ней повышается и крышка прогибается наружу, что улавливается стрелкой
индикатора.
При обнаружении негерметичности банки удаляют с
конвейера, вскрывают их, а содержимое перекладывают в другие банки. Банки
негерметичные по фальцу, вторично подкатывают на закаточной машине роликом
второй операции. После проверки на герметичность банки укладывают в автоклавные
емкости (корзины, тележки) и направляют на стерилизацию [3,
с. 569-574];
[7,
с. 174-179]; [20,
с. 22-23].
3.
АНАЛИЗ АППАРАТОВ ДЛЯ РЕАЛИЗАЦИИ ВЫБРАННОГО ПРОЦЕССА
Одним из основных классификационных признаков
оборудования для упаковывания мяса и мясопродуктов является давление, при
котором осуществляется данный технологический процесс. В зависимости от этого
различают машины и аппараты для упаковывания продуктов при остаточном и
атмосферном давлении.
При остаточном давлении работает оборудование
для вакуумной упаковки в мягкую или полужесткую тару. При атмосферном давлении
упаковывают мясные консервы и полуфабрикаты в жесткую и полужесткую тару.
Исполнение и комплектация оборудования обеих
групп существенно различаются в зависимости от целого ряда факторов (вида
фасуемого продукта, материала и вместимости тары, мощности технологической
линии и т.д.). В связи с тем, что упакованные в жесткую (в некоторых случаях и полужесткую)
тару мясные продукты подлежат стерилизации, оборудование второй группы
используют вместе с автоклавами или гидростатическими стерилизаторами [9, с.
405].
Рассмотрим устройство и технические
характеристики некоторых закаточных машин.
Неавтоматическая
закаточная машина для жестяных банок (рис. 6) предназначена для укупорки
жестяных банок и применяется на небольших консервных заводах. Особенность ее -
вращение закаточных патронов вместе с зажатой между ними банкой.
Рисунок 6 - Схема неавтоматической закаточной
машины
- педаль; 2- пружина; 3, 4 - рычаги; 5- нижний
патрон; 6 - банка; 7- верхний патрон; 8 - шпиндель; 9, 10 - конические
шестерни; 11 - приводной вал; 12- приводной шкив; 13 - роликодержатель; 14 - ролик
первой операции; 15 - ролик второй операции; 16 - станина
Машина состоит из станины, приводного вала, на
один конец которого насажен приводной шкив, а на другой - коническая шестерня
10. Она входит в зацепление с такой же конической шестерней 9, находящейся на
шпинделе верхнего закаточного патрона. Нижний патрон поднимается и опускается
от ножной педали через рычаги 3 и 4. В исходное (нижнее) положение нижний
патрон опускается под воздействием пружины. На кронштейне станины шарнирно на
оси укреплен роликодержатель, снабженный роликами первой и второй операций.
Ролики свободно сидят на пальцах (осях) роликодержателя. При повороте рукоятки
роликодержателя по ходу часовой стрелки ролики подходят к верхнему патрону,
причем сначала подходит ролик первой операции, а затем - ролик второй операции,
и формируется двойной закаточный шов.
Банку с продуктом вручную устанавливают на
нижний патрон и нажимают ногой на педаль. Банка зажимается между верхним и
нижним патронами и начинает вращаться вокруг своей оси. Затем поворачивают
рукоятку роликодержателя, к венчику крышки подводится сначала ролик первой
операции, который обкатывает венчик крышки и привальцовывает ее к фланцу
корпуса банки, а потом ролик второй операции окончательно формирует закаточный
шов [8, с. 132-133].
Полуавтоматическая закаточная машина СЗК М
(рис. 7) предназначена для укупорки наполненных банок, содержимое которых
необходимо утрамбовывать (куриные, ветчинные, языковые консервы, жареное мясо,
почки и т. п.).
Эту машину применяют на предприятиях малой
мощности. Полуавтоматическая закаточная машина состоит из следующих основных
узлов: станины, привода, закаточной головки, нижнего патрона с механизмом
подъема банки под закаточные ролики и системы управления процессом закатки.
Рисунок 7 - Полуавтоматическая закаточная машина
СЗК М:
- электродвигатель привода; 2 - соединительная
муфта; 3 - пара шестерен, передающих вращение планшайбе с закаточными роликами;
4 - пара шестерен, передающих вращение кулачкам закаточной головки; 5- система
рычагов для включения муфты закаточной головки; 6- пневмоцилиндр; 7-педаль; 8 -
золотниковый клапан; 9 - шток для регулирования нижнего патрона по высоте
банки; 10 - пружина для компенсации погрешности по высоте в размере банок; 11 -
шпиндель нижнего патрона; 12- нижний патрон; 13 - стол, регулируемый по высоте;
14 - закаточная головка
Для закатки на полуавтоматических машинах банку
с надетой на фальцы корпуса крышкой устанавливают на шпиндель нижнего патрона
и, нажав педаль, поднимают банку под верхний неподвижный патрон. Неподвижный
патрон фиксирует положение банки, и в то же время закаточная головка, имеющая
четыре закаточных ролика (два ролика - подгиб крючка, два - уплотнение шва),
образует двойной закаточный шов. Каждая пара роликов работает одновременно. По
окончании процесса закатки шпиндель нижнего патрона опускают и банку удаляют из
машины. Затем рабочий цикл повторяется. Технические характеристики закаточных
машин приведены в табл. 1[16,
с. 342-345].
Таблица 1 - Технические характеристики
закаточных машин
|
Показатель
|
Закаточная
машина
|
|
неавтоматическая
|
СЗК
М
|
|
Производительность,
банок/ч
|
1200
|
1200
|
|
Установленная
мощность, кВт
|
0,6
|
1,7
|
|
Габаритные
размеры, мм
|
610х610х150
|
970х700х1950
|
|
Масса,
кг
|
150
|
680
|
Автоматические закаточные машины производят
герметизацию металлических и стеклянных банок при атмосферном давлении и в
вакууме. Это многопозиционные машины одно- или двухбашенные. Однобашенная
многопозиционная закаточная машина Б4-КЗК-79 (рис. 8) производит
герметизацию металлических банок.
Рисунок 8 - Автоматическая закаточная машина
Б4-КЗК-79:
- электродвигатель; 2 - коробки скоростей; 3 -
магазин дли крышек; 4 - маркер, 5 - станина; 6 - механизм закатывания; 7 -
шнек; 8 - транспортер
В ней последовательно выполняются следующие
операции: приемка и ориентация банок, маркировка крышек и установка их на
банки, установка банки с крышкой в патрон закаточного механизма; закатывание
банки и выдача банки из машины. Машина состоит из станины 5, на которой
установлены: закаточный механизм 6, приводной механизм, состоящий из
электродвигателя 1 и коробки скоростей 2, приемный транспортер и шнек 7.
Банки поступают по транспортеру 8, и шнеком
устанавливаются в определенные позиции и с нужным интервалом. Крышки для банок
загружают в магазин 3, в корпусе которого вращаются три шнека, обеспечивающие
выдачу одной крышки для одной банки. Для синхронной работы механизм выдачи
крышек связан со щупом, установленным на приемном конвейере. При отсутствии
банки выключается механизм выдачи крышек.
Крышка из магазина поступает в маркер 4,
состоящий из матрицы и пуансона и далее на направляющие, которые ориентируют
взаимно банку и крышку. Крышка устанавливается на банку, которая передается
звездочкой на нижний патрон закаточного механизма. После закатки банки
звездочкой выводятся из машины.
Техническая характеристика автомата Б4-КЗК-79
приведена в табл. 2.
Таблица 2 - Техническая характеристика
закаточного автомата Б4-КЗК-79
|
Показатель
|
Величина
|
|
Производительность,
банок/ч
|
7500
|
|
Мощность
электродвигателя, кВт
|
2,2
|
|
Габаритные
размеры, мм
|
1900х1700х2070
|
|
Масса,
кг
|
1600
|
Для повышения стойкости консервов к
окислительной порче применяют вакуумирование банок с содержимым перед закаткой.
Применяют три способа вакуумирования: механический, тепловой и комбинированный.
При механическом способе закаточную карусель
помешают в герметичную камеру, в которой вакуумным насосом создают давление
33-53 кПа. При тепловом вакуумировании банку с продуктом нагревают перед
закаткой паром с температурой 80-85°С или в ИК-камерах. При этом образовавшиеся
пары вытесняют из продукта воздух [13, с. 150].
Вакуум-закаточный агрегат Б4-КЗВ-19
построен по принципу двухбашенных машин. В первой башне устанавливается
карусель предвари-тельной закатки и в которой производится неплотная закатка
(клинчирование) при атмосферном давлении.
Автоматическую закаточную машину Б4-КЗК-14А-01
(рис. 9), особенностью которой является наличие пароперегревателя для
подачи в под крышечное пространство стерильного пара, можно считать наиболее
совершенной. Машина имеет механизм блокировки: нет банки - нет крышки, мало
крышек - стоп машина, а также полную защиту оператора от движущихся частей.
Техническая характеристика закаточной машины Б4-КЗК-14А-01 следующая (табл. 3)
[1, с. 242].
Рисунок 9 - Закаточная машина Б4-КЗК-14А-01
Таблица 3 - Технические характеристики машины
Б4-КЗК-14А-01
|
Показатель
|
Величина
|
|
Производительность,
банок/ч
|
4800
|
|
Мощность
привода, кВт
|
3,0
|
|
Габаритные
размеры, мм
|
2200х1370х1900
|
|
Масса,
кг
|
2170
|
Автоматическая закаточная машина Б4-КЗТ-11М
предназначена для закатки цилиндрических жестяных банок диаметром 50-105 мм и
высотой 35-125 мм в линиях производства мясных и рыбных консервов. Машина имеет
устройства для маркировки крышек и счета банок. Закатка происходит при
атмосферном давлении. Технические характеристики приведены в табл. 4.
|
Показатель
|
Величина
|
|
Производительность,
банок/ч
|
7500
|
|
Мощность
электродвигателя, кВт
|
3,0
|
|
Габаритные
размеры, мм
|
1945х1070х2070
|
|
Масса,
кг
|
1925
|
Машина Б4-КЗТ-11М (рис. 10) представляет собой
карусельный автомат с четырьмя закаточными шпинделями и выполняет следующие
операции: прием на пластинчатый транспортер наполненных банок, распределение их
по шагу шнековым двигателем, отсекание крышек у магазина, маркировка крышек,
подача банок и крышек к закаточной карусели и их ориентация по отношению друг к
другу, установка крышки на банку, установка банки с крышкой в нижний патрон закаточной
карусели, подъем нижнего патрона с банкой к закаточной головке, закатывание
банки роликами двух операций при вращении банки, опускание закатанной банки и
съем патрона, счет банок и выдача их из закаточной машины.
Рисунок 10 - Закаточная машина Б4-КЗТ-11М:
- транспортер; 2 - шнек; 3 - маркирователь; 4 -
магазин крышек; 5 - коробка скоростей; 6 - электродвигатель
По конструкции закаточная головка и карусель
подобны аналогичным механизмам карусели окончательной закатки машины Б4-КЗВ-19.
Имеется блокировка на случай отсутствия банки - крышка не выдается, при
отсутствии крышки машина останавливается [5, с. 104-105]; [21].
.2 Расчет и сравнение аппаратов
Сравнение закаточных машин проводили по трем
показателям: технической производительности, удельной энергоемкости и
габаритности, расчет которых вели по формулам 1-3 [10] руководствуясь данными
технической характеристики аппаратов (табл. 5).
Таблица 5 - Техническая производительность
закаточных машин
|
Показатель
|
Закаточные
машины
|
|
Б4-КЗК-79
|
Б4-КЗВ-19
|
Б4-КЗК-14А-01
|
Б4-КЗТ-11М
|
СЗК
М
|
|
Производительность,
штук банок/ч
|
4800
|
15000
|
4800
|
7500
|
1200
|
|
Мощность,
кВт
|
2,2
|
9,5
|
3,0
|
3,0
|
1,7
|
|
Габаритные
размеры, мм
|
1900х1070х2070
|
2600х1700х2000
|
2200х1370х1900
|
1945х1070х2070
|
970х700х1950
|
|
Масса,
кг
|
1600
|
3850
|
2170
|
1925
|
680
|
. Техническая производительность машины
рассчитывали по формуле (1):
(1)
где WТ -
техническая производительность, шт./ч; WП -
паспортная производительность, шт./ч; τ - коэффициент использования
рабочего времени (τ=0,8).
2. Удельную энергоемкость машины
рассчитывали по формуле (2):
(2)
где Nуд
- удельная энергоемкость, кВт*ч/шт.; N
- установленная мощность, кВт; WТ
- техническая производительность, шт./ч.
3. Габаритность машин рассчитывали по
формуле (3):
(3)
где Г - габаритность, м3*ч/шт.;
L, B, H -длинна,
ширина и высота аппарата, мм; WТ -
техническая производительность, шт./ч.
Закаточная машина Б4-КЗК-79:
Закаточная машина Б4-КЗВ-19:
Закаточная машина Б4-КЗК-14А-01:

Закаточная машина СЗК М:
Анализ и сравнение закаточных машин
показали, что лучшим является аппарат Б4-КЗВ-19, потому что имеет наибольшую
техническую производительность (12000 шт./ч) и наименьшую габаритность (0,00057
м3ч/шт.) среди всех сравниваемых машин. Худшим аппаратом по расчетам
является полуавтоматическая закаточная машина СЗК М, т.к. имеет наименьшую
техническую производительность (960 шт./ч) и высокие значения удельной
энергоемкости и габаритности (0,0018 кВтч/шт. и 0,0014 м3ч/шт.
соответственно).
Сравнительные диаграммы, построенные
по проведенным расчетам, представлены в приложении.
4.
ОПИСАНИЕ
ВЫБРАННОГО АППАРАТА С ВНЕСЕНИЕМ КОНСТРУКТИВНЫХ ИЗМЕНЕНИЙ
Рассмотрим устройство и технические
характеристики закаточной машины Б4-КЗВ-19.
Вакуум-закаточный агрегат Б4-КЗВ-19 (рис.
11) построен по принципу двухбашенных машин. В первой башне устанавливается
карусель предварительной закатки 6, в которой производится неплотная закатка
(клинчирование) при атмосферном давлении.
Рисунок 11 - Вакуум-закаточный агрегат
Б4-КЗВ-19:
- станина, 2, 10 - отводящий и подающий
транспортеры, 3 - карусель окончательной закатки, 4 - электродвигатель, 5 -
коробка скоростей, 6 - карусель предварительно закатки, 7 - магазин для крышек,
8 - маркер, 9 - вакуумный насос, 11 - шнек-делитель, 12 - датчик блокировки, 13
- передаточная звездочка, 14 - шлюзовой затвор
Затем банки с крышками передаточной звездочкой
13 подаются в шлюзовой затвор 14 герметичного корпуса карусели окончательной
закатки 3, где шов окончательно формируется под вакуумом. После закатки банки
через шлюзовой затвор выводятся из корпуса и поступают на отводящий конвейер 2.
На первой карусели установлены шесть закаточных механизмов, на второй - четыре.
Машина имеет подающий транспортер 10 и шнековый
11- распределительный. Крышки подаются из магазина 7 и маркируются в маркере 8.
Производительность агрегата до 250 банок в 1 мин. Технические характеристики
машины приведены в табл. 6 [5, с. 109]; [6, с. 423-426].
Таблица 6 - Технические характеристики
закаточной машины Б4-КЗВ-19
|
Показатель
|
Величина
|
|
Производительность,
банок/ч
|
15000
|
|
Мощность
электродвигателя, кВт
|
9,5
|
|
Габаритные
размеры, мм
|
2600х1700х2000
|
|
Масса,
кг
|
3850
|
Конструктивные изменения аппарата.
Изготовить карусель предварительной и
окончательной закатки из пищевой нержавеющей стали для повышения
санитарно-гигиенических свойств мясных консервов. Для обеспечения безопасной
работы оператора закаточной машины следует изготовить защиту от движущихся
частей машины в непосредственной зоне перемещения банок. Защитная перегородка
будет заблокирована в момент работы машины и ограничит доступ к рабочей зоне, а
при полной остановке защитную перегородку можно будет снять для ремонта либо
мойки аппарата.
ЗАКЛЮЧЕНИЕ
По результатам выполненной курсовой работы можно
сделать выводы:
. Закатывание и упаковывание - важные
технологические процессы, определяющие качество готовой продукции и ее товарный
вид. Они предназначены для герметизации тары с продуктом с целью его
дальнейшего хранения.
. В качестве тары для закатывания и
упаковывания применяют жестяные, стеклянные банки и формы различной
конфигурации из многослойных комбинированных полимерных материалов в сочетании
с фольгой, картоном или металлизированных полимеров. Для закатывания
мясопродуктов применяют машины, которые называют закаточными.
. Закаточные машины по принципу действия
подразделяют на неавтоматические, полуавтоматические и автоматические.
. Технологический процесс закатывания
предусматривает следующие операции: укладка компонентов, эксгаустирование и
герметизация банок, собственно закатывание, проверка банок на герметичность.
. Анализ и расчет закаточных машин
показал, что по показателям технической производительности и габаритности
лучшей является автоматическая закаточная машина Б4-КЗВ-19.
. Для улучшения санитарно-гигиенических
свойств мясных консервов и для обеспечения безопасной работы обслуживающего
персонала сделаны конструктивные изменения в закаточную машину Б4-КЗВ-19.
СПИСОК ЛИТЕРАТУРЫ
. Автоматические линии для
производства жестяной тары / Я.Ю. Локшин, Г.Х. Молдавский, Г.Ю. Бершадский,
А.Е. Розенбелов. - М.: Машиностроение, 1972. - 304 с.
2. Большаков А.С. Технология
мяса и мясопродуктов / А.С. Большаков, Л.М. Рейн, Н.П. Янушкин. - М.: Пищевая
промышленность, 1976. - 399 с.
. Винникова Л.Г. Технология
мяса и мясных продуктов / Л.Г. Винникова. - Киев: Фирма «Инкос», 2006. - 600 с.
. ГОСТ 17527-2003. Упаковка.
Термины и определения. - М.: Стандартинформ, 2007. - 18 с.
. Дегтярев В.Н. Герметизация
консервной тары: учебное пособие / В.Н. Дегтярев. - Петропавловск-Камчатский:
КамчатГТУ, 2003. - 123 с.
. Ивашов В.И. Оборудование
для переработки мяса / В.И. Ивашов. - СПб: ГИОРД, 2007. - 464 с.
. Киселева Т.Ф. Теоретические
основы консервирования: учебное пособие / Т.Ф. Киселева. - Кемерово: КемТИПП,
2008. - 183 с.
. Котельников А.Ф.
Современные закаточные машины для металлической и стеклянной тары / А.Ф.
Котельников. - М: Легкая и пищевая промышленность, 1984. - 151 с.
. Курочкин А.А.
Технологическое оборудование для переработки продукции животноводства / А.А.
Курочкин, В.В. Ляшенко; Под ред. В.М. Баутина. - М.: Колос, 2001. - 440 с.
10. Лобанов В.И. Процессы и
аппараты: методические указания к выполнению практических работ / В.И. Лобанов,
С.Ю. Бузоверов. - Барнаул: Изд-во АГАУ, 2010. - 52 с.
11. Машины и аппараты пищевых
производств / С.Т. Антипов, И.Т. Кретов, А.Н. Остриков и др.; Под ред. В.А.
Панфилова. - М.: Высшая школа, 2001 - 703 с.
. Неклюдов А.Д. Консервирование
мяса и мясных продуктов / А.Д. Неклюдов, А.Н. Иванкин // Мясная индустрия. -
2008. - №3. - С. 70-73.
13. Оборудование для переработки
мяса: каталог / И.Г. Голубев, В.М. Горин, А.И. Парфентьева. - М.:
Росинформагротех, 2005. - 220 с.
14. Основы консервирования
пищевых продуктов / С.С. Танчев, Б.Л. Флауменбаум, М.А. Гришин. - М.:
Агропромиздат, 1986. - 494 с.
. Теория и практика
переработки мяса / А.Б. Лисицын, Н.Н. Липатов, Л.С. Кудряшов и др.; Под общей
редакцией А.Б. Лисицына. - М.: ВНИИМП, 2004. - 378 с.
. Технологическое
оборудование мясокомбинатов / С.А. Бредихин, О.В. Бредихина, Ю.В.
Космодемьянский, Л.Л. Никифоров. - 2-е изд., исправ. - М.: Колос, 2000. - 392
с.
. Технология консервирования
плодов, овощей, мяса и рыбы / А.Ф. Фан-Юнг, Б.Л. Флауменбаум, А.К. Изотов, С.М.
Ястребов, К.П. Лемаринье. - М.: Пищевая промышленность, 1980. - 336 с.
. Технология консервирования
плодов, овощей, мяса и рыбы / Б.Л. Флауменбаум, А.А. Бровченко, А.Ф. Загибалов,
А.С. Зверькова, Е.Г. Кротов, А.Н. Самсонова, А.А. Титов, А.Ф. Фан-Юнг, К.П.
Лемаринье; Под ред. Б.Л. Флауменбаума. - М.: Колос, 1993. - 320 с.
. Технология мяса и
мясопродуктов / Л.Т. Алехина, А.С. Большаков, В.Г. Боресков, А.И. Жаринов, Н.К.
Журавская, Ю.А. Ивашкин, Л.М. Отряшенкова, И.А. Рогов, Г.М. Слепых, А.К. Фомин,
В.В. Хорольский; Под. ред. И.А. Рогова. - М.: Агропромиздат, 1988. - 576 с.
. Ястребов С.М.
Технологические расчеты по консервированию пищевых продуктов / С.М. Ястребов. -
М.: Легкая и пищевая промышленность, 1981. - 200 с.
. ОАО «КрымПродМаш» <
#"810576.files/image030.gif">