Привод общего назначения
МИНОБРНАУКИ РОССИИ
ФЕДЕРАЛЬНОЕ ГОСУДАРСТВЕННОЕ БЮДЖЕТНОЕ ОБРАЗОВАТЕЛЬНОЕ УЧРЕЖДЕНИЕ
ВЫСШЕГО ПРОФЕССИОНАЛЬНОГО ОБРАЗОВАНИЯ
«ОРЕНБУРГСКИЙ ГОСУДАРСТВЕННЫЙ УНИВЕРСИТЕТ»
Аэрокосмический институт
Кафедра деталей машин и прикладной механики
Расчетно-графическое задание
по дисциплине «Основы
конструирования»
Привод общего назначения
Руководитель
проекта
канд. техн.
наук., доцент
Чирков Ю.А
Исполнитель
студент
группы 12ИВТ(б)САП
Дубинин А.С.
Оренбург 2014
Техническое задание на курсовой проект по дисциплине «Основы
конструирования»
Привод общего назначения
Исходные
данные для расчета:
·
вращающий момент
Т, на рабочем валу привода, Н×м - 500;
·
угловая скорость w рабочего вала привода, рад/c - 6;
·
режим работы - 0;
·
срок службы Lh , тыс. час - 20;
·
производство -
мелкосерийное;
·
привод
реверсивный;
Введение
Данный привод может быть использован в машинах и механизмах
общемашиностроительного назначения. Привод состоит из электродвигателя,
открытой ременной передачи и червячного редуктора. Рабочий вал электродвигателя
соединяется с входным валом редуктора при помощи ременной открытой передачи.
Для передачи движения между различно расположенными параллельными валами
электродвигателя и редуктора применяется ременная передача. Редуктор червячный
однозаходный с нижним расположением червяка. В редукторе применяется картерный
способ смазки: смазка зацепления осуществляется окунанием червяка в масляную
ванну.
Условные обозначения величин приняты в соответствии с рекомендациями ISO R31 и государственных стандартов. При этом использована
международная система (СИ) единиц величин, а внесистемная единица частоты
вращения (мин-1) применяется лишь дополнительно к единице угловой скорости
(рад/с). Размеры деталей передач выражаются в миллиметрах (мм), силы в ньютонах
(Н), и соответственно напряжения в ньютонах, деленных на миллиметры в квадрате
(Н/мм2), а моменты в ньютонах, умноженных на миллиметр (Н∙мм).
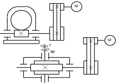
1. Кинематический расчет силового привода
Перед выполнением кинематического расчета пронумеруем римскими цифрами
валы привода (рисунок 1):
Рисунок 1 - Кинематическая схема расчета
Для рассматриваемых приводов рекомендуется выбирать трехфазные
асинхронные двигатели с короткозамкнутым ротором, имеющие простую конструкцию,
небольшую стоимость и достаточно высокую надежность. Эти двигатели
характеризуются номинальной мощностью Рэд, кВт, синхронной и асинхронной
частотами вращения ротора nс,
мин-1 и nэд, мин-1, кратностью максимального и
номинального вращающих моментов Тmax/Тном.
Синхронная частота вращения ротора (вала) электродвигателя:
(1)
где
- промышленная частота тока, Гц;
- число
пар полюсов электродвигателя.
Значения
nc в зависимости от p при f =50
Гц приведены в таблице 1.
Таблица
1 − Синхронная частота вращения вала электродвигателя nc
|
р
|
1
|
2
|
3
|
4
|
5
|
6
|
|
nс, мин-1
|
3000
|
1500
|
1000
|
750
|
600
|
500 500 50
|
Как
видно из вышеприведенной таблицы, с увеличением
уменьшается
частота вращения электродвигателя.
В
расчетах следует использовать асинхронную (фактическую) частоту вращения вала
электродвигателя:
nэд = nс·(1−s) (2)
где
s = (2÷10) % −
электромагнитное скольжение электродвигателя.
Тогда
nэд = (0,90...0,98)·
nс.
Одним
из основных узлов привода является редуктор − механизм, служащий для
понижения угловой скорости и увеличения вращающего момента и состоящий из одной
червячной передачи, смонтированной в едином закрытом корпусе.
.1 Выбор и проверка электродвигателя
Электродвигатель
выбираем по требуемой мощности
, Вт и
требуемому диапазону возможных частот вращения его вала
, об/мин .
.1.1
Требуемая мощность электродвигателя
(3)
где
− мощность на валу рабочего органа конвейера, Bт;
−
общий коэффициент полезного действия (КПД) привода:
(4)
здесь
- КПД открытой ременной передачи
(см. таблицу 2);
- КПД закрытой червячной передачи редуктора (см. таблицу 2);
- КПД пары подшипников качения на рабочем валу привода (КПД передач
указаны с учетом потерь в подшипниках, согласно примечаниям к таблице 2).
Тогда
общий КПД привода равен произведению частных КПД составляющих привода:

(5)
Таблица
2. Значение КПД механических передач, муфт, подшипников качения
|
Тип передачи
|
Закрытая
|
Открытая
|
|
Червячная, при числе заходов z
= 2
|
0,70÷0,75
|
−
|
|
Ременная передача
|
−
|
0,95÷0,96
|
|
Одна пара подшипников
качения
|
0,99÷0,995
|
|
Примечания
|
|
Примечание 1−
Значения КПД передач указан с учетом потерь в опорах. Примечание 2 −
Значения КПД муфт в расчетах принимать равным 1,0.
|
Мощность
- определяем по следующей
формуле:

(6)


1.1.2 Требуемая частота вращения электродвигателя
Частоту вращения вала электродвигателя находим из следующего диапазона
частот вращения:
(7)
где
- частота вращения рабочего вала привода:
(8)
здесь

- угловая
скорость рабочего вала привода, задана в исходных данных для расчета;
-
диапазон возможных передаточных чисел привода:
(9)
здесь

-
диапазон возможных передаточных чисел открытой ременной передачи (см. таблицу
3);

-
диапазон возможных передаточных чисел червячной передачи редуктора (см. таблицу
3);
Тогда:
Отсюда:
Таблица 3 - Рекомендуемые значения передаточных чисел передач
|
Виды передач
|
Значения
|
|
минимальные
|
максимальные
|
предельные
|
|
Червячная закрытая
|
10
|
40
|
80
|
|
Ременная
|
2
|
5
|
6
|
1.1.3 Выбор электродвигателя
Исходя из полученных выше данных, выбираем трехфазный асинхронный
короткозамкнутый электродвигатель переменного тока с техническими
характеристиками, представленными в таблице 4, руководствуясь нижеследующим.
По
параметру
, установленному расчетом, выбираем номинальную
мощность электродвигателя соблюдая условие:
(10)
где
- номинальная мощность двигателя, кВт.
Допускается
перегрузка электродвигателя по мощности, но не более чем на 5%.
Выбранному
по мощности электродвигателю соответствует вариант синхронной частоты вращения
(nс) вала двигателя: nс = 1430 об/мин.
Для привода общего назначения, выбор синхронной частоты вращения вала
электродвигателя производим по расчетным данным частоты вращения вала
двигателя, структурной схемы привода и частоте вращения рабочего вала машины.
Частота
вращения рабочего вала
влияет на общее передаточное число
привода − с увеличением
. уменьшается
и
наоборот. Значение
должно обеспечить рациональную разбивку общего
передаточного числа между ступенями привода (без максимальных значений частных
передаточных чисел).
Характеристики
выбранного электродвигателя сведены в таблицу 4.
Таблица
4 − Технические характеристики электродвигателя
|
Тип двигателя
|
Исполнение
|
Число пар полюсов
|
Мощность, Рэд, кВт
|
Частота вращения nэд,
об/мин
|
Диаметр вала d, мм
|
|
|
4A100L2
|
М100
|
4
|
5,5
|
2880
|
2,5
|
28
|
В зависимости от структурной схемы проектируемого привода уточняем
исполнение электродвигателя, определяем размеры (рисунок 2).
Рисунок 2 - Электродвигатель 4A100L4
.2 Определение общего передаточного числа привода и разбивка его между
отдельными ступенями
.2.1 Общее передаточное число привода
От правильности разбивки общего передаточного числа между ступенями
зависят конструкция и габариты редуктора, удобство компоновки деталей в
корпусе, степень использования материала деталей и способ смазки зацепления.
Общее необходимое передаточное число привода при известных
характеристиках электродвигателя:
(11)

С другой стороны, для приводов общего назначения общее передаточное число
можно выразить формулой:

(12)
где
- передаточное число редуктора;
-
передаточное число открытой передачи.
1.2.2 Разбивка общего передаточного числа по ступеням привода

(13)
Предварительно назначаем передаточное число ременной открытой передачи u =3 . После этого определяем
передаточное число закрытой червячной передачи:

1.3 Определение частоты вращения валов привода
1.4 Определение угловых скоростей валов привода
1.5 Определение мощностей на валах привода
.6 Определение вращающих моментов на валах привода
Результаты
кинематического расчета привода занести в таблицу 5, данные которой
использовать в дальнейшем при расчете передач, валов, соединений, муфт и т.д.
подшипник
зубчатый электродвигатель вал
Таблица 5 − Результаты кинематического расчета привода
|
Валы привода
|
Величины
|
|
Частота вращения , об/минУгловая скорость ωi,
рад/сМощность , ВтВращающий момент ,
Н×м
|
|
|
|
|
I
|
2880
|
301,44
|
4291,8
|
14,24
|
|
II
|
960
|
100,48
|
4038,14
|
40,2
|
|
III
|
57,5
|
6,02
|
2968,34
|
493,08
|
2. Расчет закрытой червячной передачи
.1 Исходные данные для расчета
Получены из кинематического расчета и на основании исходных данных на
проектирование.
Вращающий
момент на червяке Т1, Н×мм -
Вращающий
момент на колесе Т2, Н×мм -
Частота
вращения червяка n1, об/мин - 960
Частота
вращения колеса n2, об/мин - 57,5
Угловая
скорость на червяке
, рад/с - 100,48
Угловая
скорость на колесе
, рад/с -6,02
Передаточное
число передачи
= 16.
Срок
службы передачи Lh , час - 20000.
Режим
работы 0
Смазка
погружением червяка в масляную ванну.
.2 Выбор материала колеса и червяка и определение допускаемых напряжений
В большинстве случаев червячные колеса делают составными (бандажированная
конструкция): венец из бронзы, а центр - из чугуна.
При скорости скольжения Vs до
25 м/с применяют оловянистые бронзы. При Vs до 7…8 м/с - более дешевые безоловянистые бронзы.
Предварительно скорость скольжения определяют:
Vs =4 n1∙10-5
∙
, м/с., тогда
=4∙
960∙10-5 ∙
м/с.
Скорость
скольжения Vs = 3 м/с, принимаем материал для венца червячного
колеса (таблица 6): бронза безоловянистая БрАЖ-9-4Л отливка в песчаную форму.
Допускаемое
контактное напряжение
,
Допускаемое
напряжение изгиба
где
=75
-
допускаемые напряжения изгиба (таблица 7);
-
коэффициент долговечности
где
NOF = 106 - базовое число изменения циклов напряжений;
= 60 n2t -
суммарное число изменения циклов напряжений,
тогда
= 0,625 и
75
0,625=46,875
,
Для
выбранной бронзы принимают червяк из стали 45 с закалкой до твердости HRC ≥ 45 с
последующим шлифованием витков (таблица 6).
Таблица
6 - Материалы для червяков и червячных колес
|
Материалы
|
, Н/мм2 при , м/с
|
|
венца червячного колеса
|
червяка
|
0,25
|
0,5
|
1
|
2
|
3
|
4
|
6
|
8
|
|
БрА9Ж4Л
|
Сталь45 HRC>
45
|
-
|
182
|
179
|
173
|
167
|
161
|
150
|
138
|
Таблица 7 - Механические характеристики материалов червячных колес, МПа
|
Марка бронзы или чугуна
|
Способ литья
|
Н/мм2Допускаемые
напряжения при твердости червяка
|
|
|
|
|
<HRC 45
|
≥HRC 45
|
|
|
|
    
|
|
|
|
|
|
|
1
|
2
|
3
|
4
|
5
|
6
|
7
|
8
|
9
|
|
БрА9Ж4Л
|
В песчаную форму
|
392
|
81
|
-
|
-
|
98
|
75
|
-
|
.3 Определение размеров и параметров червячного зацепления
Число заходов червяка и число зубьев колеса:
При
передаточном числе u=16, z1=2, тогда
, z2=32;
Принимаем
расчетные коэффициенты:
коэффициент
нагрузки K=1,2;
коэффициент
диаметра червяка назначаем по соотношению q≈0,25∙z2
Тогда
q= 8 (согласовано с ГОСТ 19672 и ГОСТ 2144).
Определяем
расчетное минимально межосевое расстояние из условия контактной прочности:
, мм
Тогда
= 168,6 мм, тогда
расчетный
модуль, мм
=
8,43 мм;
Принимают
параметры передачи по ГОСТ 2144 и ГОСТ 19672 (таблицы 8 и 9):
аw =
200 , m = 10 , q = 8 ,
.
Таблица
8 - Основные параметры червячных передач ГОСТ 2144
|
, мм , ммq
|
|
|
|
|
1 ряд
|
2 ряд
|
|
|
|
|
200
|
|
10
|
8
|
32:4
|
32:2
|
32:1
|
|
|
8
|
10
|
40:4
|
40:2
|
40:1
|
Таблица 9 - Сочетание m и q по ГОСТ 19672
|
m
|
q
|
|
8,0
|
8,0
|
|
10,0
|
|
12,5
|
|
16,0
|
|
20,0
|
|
10,0
|
8,0
|
|
10,0
|
|
12,5
|
|
16,0
|
|
20,0
|
Определяем основные геометрические размеры передачи, мм.
Диаметры делительных окружностей
;
Диаметры
начальных окружностей:
;
.
Диаметры
окружностей выступов:
;
.
Диаметры
окружностей впадин:
;
.
Длина
нарезанной части червяка
,
Ширина
венца червячного колеса
,
Угол
подъема винтовой линии червяка на делительном диаметре:
Угол
подъема винтовой линии червяка на начальном диаметре:
Наибольший
диаметр червячного колеса
.
2.3 Проверочные расчеты передачи
Проверяем условие прочности по контактным напряжениям.
Окружная скорость червяка
, м/с.
м/с.
Скорость
скольжения
м/с.
Назначаем
7 степень точности изготовления.
Уточняем
коэффициент нагрузки
;
Где
- коэффициент, учитывающий неравномерность
распределения нагрузки по длине контактных линий
=57 -
коэффициент деформации червяка;
X - коэффициент,
зависящий от характера изменений нагрузки:
X =1,0 (
) - при спокойной и X = 0,6 - при
переменной нагрузке;
=1,1 -
коэффициент динамичности.
Проверяем условие прочности зубьев по контактным напряжениям:
, МПа.
, МПа
МПа.
Допускается недогрузка 10% и перегрузка ±5%.
Проверяем условие прочности зубьев колеса по напряжениям изгиба.
Приведенное число зубьев червячного колеса
.
Определяем
коэффициент формы зуба
(таблица 10).
Таблица
10 - Коэффициенты формы зуба
для
червячных колес
|
2830354045506580100150
|
|
|
|
|
|
|
|
|
|
|
|
2,432,412,322,272,222,192,122,092,082,04
|
|
|
|
|
|
|
|
|
|
|
Условие прочности зубьев:
·
, МПа.
·
, МПа

, МПа
.4 Определение сил, действующих в зацеплении
Окружная сила червяка равна осевой силе колеса
Окружная сила колеса равна осевой силе червяка
Радиальные
силы
,
= 20о.
Силы
нормального давления
КПД червячной передачи с учетом потерь на разбрызгивание и перемешивание
масла
Где
=1,25- приведенный угол трения.
3. Расчет открытой клиноременной передачи
.1 Исходные данные для расчета
Получены из кинематического расчета и на основании исходных данных на
проектирование.
Передаваемая мощность P, кВт
- 4291.8
Частота вращения n1, об/мин - 2880.
Частота вращения n2, об/мин -960.
Передаточное
число передачи
=3.
.2 Определение геометрических параметров передачи
Выбираем сечение ремня: для мощностей от 2 кВт до 200 кВт сечение ремней
выбирают по номограмме (рисунок 1), итак, для Р1 = 4,3 кВт и n1 = 2880 мин-1 (об/мин) сечение ремня
принимаем А.
Рисунок 1 - Номограмма для выбора клиновых ремней нормального сечения
Для выбранного сечения ремня по таблице 4.31 принимаем наибольший из
рекомендуемых диаметров ведущего шкива d1= 112 мм.
Определяют диаметр ведомого шкива
где
u = n1/ n2 - передаточное число.
мм,
Полученное значение d2
округляем до ближайшего значения по ГОСТ 20889:
мм.
Уточняем
передаточное число: u = d2 /d1=355/112=3,2
Выбираем межосевое расстояние, среднее, между:
)
.
)

Для увеличения долговечности коэффициент межосевого расстояния К = а/d2 рекомендуется принимать в
зависимости от передаточного числа:
u 1 2
3 4 5 6
К 1,5 1,2 1,0 0,95 0,9 0,85 ;
при этом a = d2 · K, отсюда К=1,0 , a = 355 мм.
Определяем длину ремня
.
мм.
Полученное значение Lp округляем до ближайшего значения по ГОСТ 1284.1:
Lp =1400 мм.
Уточняют межосевое расстояние:
мм,
где
,
.
Определяют
угол обхвата ремнем меньшего шкива:
,
где
- минимально допустимое значение угла обхвата
меньшего шкива передачи ремнем.
.3 Определение силовых параметров передачи
Вычисляем мощность, передаваемую одним ремнем
где
Рo - номинальная мощность, передаваемая одним ремнем;
С
- коэффициент угла обхвата;
Ср
- коэффициент динамичности и режима работы.
Определяем
число ремней z в передаче для обеспечения среднего ресурса
эксплуатации по ГОСТ 1284.2
где
P - мощность на ведущем валу, кВт;
Сz -
коэффициент, учитывающий число ремней в передаче.
Согласно
ГОСТ 1284.2 средний ресурс ремней при эксплуатации в среднем режиме работы Тср
устанавливается равным 2000 ч.
Определяем величину натяжения, Fо, H, ветви одного ремня:
где: СL - коэффициент, учитывающий длину
ремня;
V - oкружная скорость ремня, м/с,
вычисляют по формуле:
м/с
-
коэффициент, учитывающий влияние центробежных сил.
Определяют силу, действующую на вал
Н.
Н.
Направление силы принимают совпадающим с линией, соединяющей оси валов.
4. Ориентировочный расчет валов и предварительный выбор подшипников
После определения межосевого расстояния, размеров червячного колеса,
червяка и валов приступаем к разработке конструкции редуктора. Первым этапом
конструирования является разработка эскизного проекта. При эскизном
проектировании определяем расположение деталей передач, расстояния между ними,
ориентировочные диаметры ступеней вала, выбираем типы подшипников и схемы их
установки.
.1 Определение геометрических параметров ступеней вала
Ступенчатая форма вала позволяет свободно передвигать каждую деталь вдоль
вала до ее посадочного места и просто фиксировать ее на этом посадочном месте в
осевом направлении. Диаметры посадочных мест и длины ступеней назначаем
согласно ГОСТ 6636-69.
.1.1 Расчет быстроходного вала
Геометрические параметры вала-шестерни:
диаметр d, (мм) и длину 1, (мм) определяем для
каждой ступени:
1-я ступень.
Диаметр выходного конца вала d1 (мм) и длину ступени l1 ,
под шкив открытой передачи определяем по формулам:

= 23,75
где
Т, - вращающий момент на первом валу, (Н мм);
=15 H/мм2
- допускаемое напряжение на кручение.
l1 = (1,2…1,5) × d1, l1= 35,5
Принимаем
стандартные значения ГОСТ 12080 d1 = 25 мм, l1 = 42 мм.
2-я
ступень.
Диаметр
вала d2,(мм) и длину ступени 12 под подшипник определяем по
формулам:
d2 = d1 +
3…5
d2 =25 +5 = 30
l2 = 1,5 × d2, l2=45
Принимаем
стандартные значения d2 = 30 мм, а длина l2 подбирается
конструктивно.l2=45
- 3-я ступень.
Диаметр вала d3,(мм) и длину
ступени 13 определяем по формулам:
d3 = d2 + 3…5
d3
=30+5= 35
l3 -
определяем графически при эскизной компоновке;
Принимаем стандартное значение d3 = 35 мм.
.1.2 Расчет тихоходного вала
Геометрические параметры вала колеса: диаметр d, (мм) и длину 1, (мм) определяем для каждой ступени:
1-я ступень.
Диаметр выходного конца вала d1 (мм) и длину ступени l1
определяем по формулам:
54,77
d1=55
где
Т, - вращающий момент на втором валу, (Н мм);

=15H/мм2
- допускаемое напряжение на кручение.
Принимаем
стандартные значения d1 = 55 мм, l1 = 82 мм.
2-я
ступень.
Диаметр
вала d2,(мм) определяем по формулам:
2 = d1 + 3…5
d2 =55 + 3..5 = 60 мм.
l2 - определяем графически при эскизной компоновке;
- 3-я ступень.
Диаметр вала d3,(мм) определяем
по формулам:
3 = d2 + 5.
d3 =65 мм.
l3 - определяем графически при эскизной компоновке;
4-я ступень.
Диаметр вала d4,(мм)
и длину ступени 14 под подшипник определяем по формулам:
4 = 70 мм.
Результаты вычислений сведены
в таблицу 6.
4.2 Предварительный выбор
подшипников качения
Для быстроходного вала:
Подшипник качения шариковый
радиально-упорный легкая серия № 205 ГОСТ 8338-35.
Таблица 6 -
Характеристики подшипника
|
d, мм
|
D, мм
|
В, мм
|
Сr, кН
|
Сor, кН
|
|
30
|
62
|
16
|
15,3
|
10,2
|
Для тихоходного вала:
Подшипник роликовый радиально-упорный конический однорядный легкая серия
208 ГОСТ 8338 - 35.
Таблица 7 - Характеристики подшипника
|
d, мм
|
D, мм
|
В, мм
|
Сr, кН
|
Сor, кН
|
|
50
|
90
|
20
|
27,5
|
20,2
|
Список использованных источников
1. Кушнаренко
В.М., Ковалевский В.П., Чирков Ю.А. Основы проектирования передаточных
механизмов: Учебное пособие для высших учебных заведений. - Оренбург: РИК ГОУ
ОГУ, 2003. - 251 с.: ил.
2. Курсовое
проектирование деталей машин: учебное пособие для учащихся машиностроительных
специальностей техникумов/ С.А. Чернавский, К.Н.Боков, И.М.Чернин и др. - 2-е
изд., перераб. и доп. - М.: Машиностроение, 1988. - 416 с.: ил.
3. Шейнблит
А.Е. Курсовое проектирование деталей машин. - Калининград: Янтарный сказ, 2002.
- 454 с.
4. СТО
02069024.101-2010. Работы студенческие. Общие требования и правила оформления.
- Взамен СТП 101-00 Общие требования и правила оформления выпускных
квалификационных работ, курсовых проектов (работ), отчетов по РГР, по
производственной практике и рефератов. Введен 01.10.2010. - Оренбург: ГОУ
ОГУ,2010. - 93 с.