Привод общего назначения
Оглавление
1. Выбор двигателя. Кинематический и силовой расчет привода
2. Проектирование редуктора
2.1 Расчет зубчатой передачи редуктора
2.1.1 Выбор материала зубчатых колес и вида термической обработки
2.1.2 Определение допускаемых контактных напряжений для шестерни и
колеса
2.1.3 Определение допускаемых напряжений при расчете зубьев на
изгиб
2.1.4 Определение предельно допускаемых напряжений
2.1.5 Определение межосевого расстояния
2.1.6. Выбор модуля зацепления
2.1.7 Определение суммарного числа зубьев
2.1.8 Определение числа зубьев шестерни и колеса
2.1.9 Проверка межосевого расстояния
2.1.10 Проверка значения
.
2.1.11 Определение окружной скорости в зацеплении.
2.1.12 Назначение степени точности передачи в зависимости от
окружной скорости
2.1.13. Уточнение коэффициента нагрузки
2.1.14. Проверка величины расчетного контактного напряжения
2.1.15. Проверка контактной прочности при кратковременных
перегрузках
2.1.16. Проверка зубьев на выносливость при изгибе
2.1.17 Определение и сведение в таблицу основных параметров
передачи
2.2 Проектирование валов
2.3 Конструкции зубчатых колес
2.4 Выбор типа и размеров подшипников качения
2.5 Выбор смазки подшипников и зацепления
2.6 Выбор схемы установки подшипников качения
2.7 Первая компоновка редуктора
2.8 Проверка долговечности подшипников
2.9 Проверка прочности шпоночных соединений
2.10 Уточненный расчет валов
Библиографический список
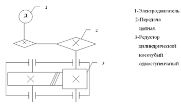
Схема
|
Мощность , кВт1,3
|
|
|
Частота вращения , 120
|
|
|
Угол наклона цепной передачи
|
30
|
|
Срок службы , лет8
|
|
|
0,9
|
|
|
0,2
|
|
|
Режим нагружения
|
1
|
1. Выбор
двигателя. Кинематический и силовой расчет привода
Электродвигатель выбирают в зависимости от требуемой мощности
и частоты вращения.
Требуемая мощность электродвигателя:
[1]
где Рвых - мощность на выходном валу привода;
- общий КПД привода.
При последовательном соединении механизмов общий КПД привода
определяется как произведение значений КПД входящих в него механизмов
(передач):
ηц. п. = 0,92 [2]
ηз. п. = 0,97 [2]
ηп. = 0,99 [2]
Рассчитаем Ртр =
= 1,5кВт.
Рдв
Ртр Рдв = 1,5 кВт.тр = nвыхiобщ
Из учебника [2]
выбираем значение передаточных отношений: iз. п. =5; iц. п. =5;
Общее передаточное отношение:
общ
= iр. п. ·iз. п. = 5·5=25тр = 120·25=3000 мин-1
Выбираем маркировку двигателя 4А80А2У3. Ей соответствует номинальная
частота вращения nн = 3000 мин ˉ№.
Уточним общее передаточное отношение:
общ
=
=
= 25 [2]
Уточним передаточное отношение цепной передачи:
ц. п. =
=
= 5 [2]
ц. п. = 5 - берем в расчет.
Кинематический расчет привода.
Определим угловые скорости вращения валов привода:
1. n = nн= 3000 мин-1
w =
=
= 314с-1
где
- угловая скорость вращения вала
электродвигателя;
n - частота
вращения вала электродвигателя.
. n1 =
=
= 600 мин-1 - частота вращения
вала шестерни;
w 1=
=
=62,83 с-1 - угловая скорость вращения вала шестерни;
. n2 =
=
= 120 мин-1 - выходная частота
вращения;
w 2
=
=
= 12,57 с-1 - угловая скорость вращения колеса.
Проверка: n2 = nвых
120=120 - верно
Силовой расчет привода.
Вращающие моменты на валах:
. Т =
=
= 0,0046·106 Н·мм
. Т1 = Т·iц. п. ·ηц. п. = 0,0046·5·0.92=0,0213·106Н·мм
. Т2 = Т1·iз. п·ηз. п. = 0,0213·5·0.97=0,103·106Н·мм
Проверка:
Твых =
=
=Т2 = 0,103·106Н·мм
редуктор подшипник привод двигатель
2.
Проектирование редуктора
2.1 Расчет
зубчатой передачи редуктора
2.1.1 Выбор
материала зубчатых колес и вида термической обработки
При выборе материала для шестерни и колеса следует
ориентироваться на применение одной и той же марки стали, но с различной
термической обработкой, чтобы твердость шестерни была не менее, чем на 20…30
единиц HB больше твердости колеса.
Таблица 1.
Механические характеристики сталей для зубчатых колес
|
Марка стали
|
Вид термической обработки
|
Предельный диаметр заготовки шестерни, мм
|
Предельная толщина или ширина обода колеса, мм
|
σв, МПа
|
σ-Т, МПа
|
σ-1, МПа
|
Твердость поверхности НВ (HRC)
|
|
45
|
Нормализация
|
Любой
|
Любая
|
600
|
320
|
270
|
200
|
|
Улучшение
|
125
|
30
|
780
|
540
|
350
|
240
|
2.1.2
Определение допускаемых контактных напряжений для шестерни и колеса
Определение допускаемых контактных напряжений
регламентируется ГОСТ 21354-75:
[σ] Н
=
[3]
где
- предел контактной выносливости при
базовом числе циклов нагружения (см. табл.2);
- коэффициент безопасности (табл.2);
- коэффициент долговечности принимаем равным единице при
длительной эксплуатации редуктора [2]
гдеNHO - базовое число циклов нагружения;
NHE
- эквивалентное число циклов нагружения.
Таблица 2.
Значения предела контактной выносливости и коэффициента
безопасности
|
Термическая или термохимическая обработка
|
Средняя твердость
|
, МПа
|
|
|
Нормализация или улучшение
|
≤350НВ
|
2 (НВ) +70
|
1,1
|
Для шестерни:
= 2·240+70 = 550 МПа
для колеса:
= 2·200+70 = 470 МПа
Значение базового числа циклов нагружений
Тогда для шестерни:
= 2403 = 13824000
[σ] Н1
=
МПа
для колеса:
= 2003 = 8000000
[σ] Н2
=
МПа
Расчетное допускаемое контактное напряжение для косозубых колес
[σ] Н
=0,45 ([σ] Н1+
[σ] Н2)
=0,45 (500+430) =420МПа
2.1.3
Определение допускаемых напряжений при расчете зубьев на изгиб
Допускаемые напряжения изгиба [σ] F определяются по формуле:
; [2]
где
- предел выносливости на изгиб при
базовом числе циклов нагружения;F=1,75 - коэффициент безопасности;
Таблица 3.
Значения пределов выносливости
и требуемых коэффициентов безопасности
.
|
Термическая обработка и марка стали
|
Твердость HB или HRC
|
МПа
|
|
|
Нормализация или улучшение
|
180…350 HB
|
1,35 (HB) +100 или 1,8 (HB)
|
1,65
|
Принимаем при расчёте приведённые выше значения:
Принимаем коэффициенты долговечности равные 1. [2]
коэффициент безопасности
. Тогда, проведя расчёт, получим:
Для шестерни
;
Для колеса
2.1.4
Определение предельно допускаемых напряжений
При кратковременных перегрузках (расчёт на пиковые нагрузки)
предельно допускаемые напряжения определяются по эмпирическим зависимостям:
При твердости <350НВ:
[3]
МПа
МПа
[3]
МПа
МПа
2.1.5
Определение межосевого расстояния
Межосевое расстояние определяется по формуле:
, [2]
где i - передаточное отношение ступени редуктора;
Т2 - вращающий момент на валу колеса,
;
- коэффициент ширины зубчатого венца;
КН=1,25
- коэффициент нагрузки, учитывающий влияние цепной передачи
Кa=43-для косозубых колес
Примем
=0,5 [2]
Таблица 4.
Ориентировочные значения
.
|
Расположение колес относительно опор
|
Твердость
|
|

|
|
|
Несимметричное
|
1,1…1,25
|
1,15…1,35
|
= 100,1 мм.
Принимаем ближайшее стандартное значение аw по
ГОСТ 2185-66:
=100 мм.
2.1.6. Выбор
модуля зацепления
При твердости зубьев шестерни и колеса <350НВ:
[2]
Принимаем
=2,0 мм.
. Приняли
=
2.1.7
Определение суммарного числа зубьев
[2]
2.1.8
Определение числа зубьев шестерни и колеса
[2]
Проверка:
2.1.9
Проверка межосевого расстояния
мм [2]
Уточним
Проверим расчеты, определив делительные диаметры шестерни и
колеса:
мм [3]
мм [3]
Проверка:
мм
мм - диаметр вершин зубьев шестерни;
мм - диаметр вершин зубьев зубчатого колеса;
мм - диаметр впадин зубьев шестерни;
мм - диаметр впадин зубьев зубчатого колеса;
2.1.10
Проверка значения
.
=
=50 мм
мм
57 мм
2.1.11
Определение окружной скорости в зацеплении.
Окружная скорость в зацеплении определяется по формуле:
, [2]
1,047 м/с
2.1.12
Назначение степени точности передачи в зависимости от окружной скорости
Таблица 5.
Степень точности зубчатых передач по ГОСТ 1643-81.
|
Передача
|
Зубья
|
Предельная окружная скорость, м/с при степени
точности
|
|
|
6
|
7
|
8
|
9
|
|
Цилиндрическая
|
Прямые
|
15
|
10
|
6
|
2
|
|
Непрямые
|
30
|
15
|
10
|
4
|
Руководствуясь данной таблицей и полученными выше значениями,
принимаю степень точности равной 8. [2]
2.1.13.
Уточнение коэффициента нагрузки
Уточнение коэффициента нагрузки осуществляется по формуле:
[2]
Значение
принимается по табл. 6.
Таблица 6.
Значение коэффициента
для непрямозубых колес
|
Степень точности
|
Окружная скорость, м/с
|
|
до 1
|
5
|
10
|
15
|
20
|
|
6
|
1,0
|
1,02
|
1,03
|
1,04
|
1,05
|
|
7
|
1,02
|
1,05
|
1,07
|
1,10
|
1,12
|
|
8
|
1,06
|
1,09
|
1,13
|
-
|
-
|
|
9
|
1,10
|
1,16
|
-
|
-
|
-
|
Принимаем
=1,06. Значения
и КНυ принимаются по табл.7, 8
Таблица 7.
Значение коэффициента
.
|
Твердость 350HBТвердость >
350HB
|
|
|
|
Расположение колес
|
Расположение колес
|
|
консольное
|
несимметр.
|
симметричное
|
консольное
|
несимметр.
|
симметричное
|
|
0,6
|
1,24
|
1,06
|
1,02
|
1,50
|
1,14
|
1,04
|
|
0,8
|
1,30
|
1,08
|
1,03
|
-
|
1,21
|
1,06
|
Принимаем
=1,04
Таблица 8.
Значение коэффициента КНυ.
|
Степень точности
|
Зубья
|
Твердость HB
|
Окружная скорость, м/с
|
|
|
|
До 3
|
3…8
|
8…12,5
|
12,5…20
|
|
8
|
Непрямые
|
350HB1,11,31,4-
|
|
|
|
|
|
|
> 350HB
|
1,0
|
1,2
|
1,3
|
-
|
Принимаем
=1,0
=1,1
2.1.14.
Проверка величины расчетного контактного напряжения
[2]
=378 МПа
2.1.15.
Проверка контактной прочности при кратковременных перегрузках
[3]
МПа
2.1.16.
Проверка зубьев на выносливость при изгибе
[2]
- коэффициент формы зуба, зависящий от эквивалентного числа
зубьев
Таблица 9
|
z
|
…
|
17
|
20
|
22
|
24
|
26
|
28
|
30
|
40
|
50
|
60
|
80
|
100 и более
|
|
…4,264,073,983,923,883,813,794,704,653,623,613,60
|
|
|
|
|
|
|
|
|
|
|
|
|
|
Исходя из таблицы, принимаем:
= 3,60 [3]
- коэффициент, учитывающий наклон зубьев.
=0,884 [3]
- коэффициент нагрузки,
[2]
где КFα - коэффициент, учитывающий неравномерность
распределения нагрузки между зубьями (табл. 9)Fβ - коэффициент, учитывающий
неравномерность распределения нагрузки по ширине зубчатого венца (табл. 10)
Таблица 10
Значение коэффициента КFα.
|
Степень точности
|
6
|
8
|
9
|
|
КFα
|
0,7
|
0,8
|
0,9
|
1,0
|
Принимаем КFα=1,0
Таблица 11.
Значение коэффициента KFβ.
|
ТвердостьРасположение
колес
|
|
|
|
|
симметричное
|
несимметричное
|
консольное шариковые подшипники
|
консольное роликовые подшипники
|
|
1,0
|
350 HB1,101,23--
|
|
|
|
|
|
1,2
|
350 HB1,131,30--
|
|
|
|
|
Принимаем KFβ= 1,10
Расчет выполняется для менее прочного из пары зубчатых колес,
т.е. для того, у которого отношение [σ] F/YF
имеет меньшее значение. [2]
Значения [σ] F1=242,3
МПа;
[σ] F2=
211,4МПа.
МПа
МПа
Силы, действующие в зацеплении:
Окружная
t=
H
Радиальная Fr=Ft
H
Осевая
a=Ft
H
Проверка зубьев на выносливость при изгибе определяется по
формуле:
=83.2МПа
МПа.
Условие прочности выполнено.
2.1.17
Определение и сведение в таблицу основных параметров передачи
Основные параметры зубчатой передачи.
Таблица 12.
|
Наименование параметра
|
Обозначение и численное значение
|
|
1. Вращающий момент на ведомом валу,  = 103·103Нмм
|
|
2. Угловые скорости валов, рад/с
= 62,83 с-1
|
= 12,57 с-1
|
|
|
3. Межосевое расстояние, мм
|
= 100
|
Модуль, мм: нормальный торцовый
= 2,0
|
|
|
|
5. Угол наклона зубьев шестерни
|
|
|
6. Направление наклона зубьев шестерни
|
правое
|
7. Число зубьев: шестерни колеса
= 16
|
= 80
|
8. Диаметр делительный, мм: шестерни колеса
= 33,33
|
= 166,67
|
9. Диаметр вершин, мм: шестерни колеса
= 37,33
|
= 170,67
|
10. Диаметр впадин, мм: шестерни колеса
= 28,33
|
= 161,67
|
11. Ширина зубчатого венца: шестерни колеса
= 57
|
= 50
|
12. Силы в зацеплении, Н: окружная радиальная осевая
= 1278
= 485
|
= 373
|
2.2
Проектирование валов
Расчет валов выполняют в два этапа: проектный расчет и
проверочный расчет.
На первом этапе расчета известен лишь крутящий момент,
численно равный передаваемому на вал вращающему моменту, определенному при
кинематическом расчете привода. Величину изгибающего момента определяют после
разработки инструкции вала по результатам компоновки редуктора. Поэтому проектный
расчет вала выполняют для определения диаметров его выходного конца, посадочных
поверхностей под ступицу колеса и подшипники. Диаметр dв
выходного конца вала рассчитывается из условия прочности при допускаемом
напряжении [τ] =25 МПа на кручение по формуле:
=
=16,31 мм [2]
Принимаем dв1=22 мм [2]
Диаметр вала под подшипник определяется по формуле:
п= (1,15…1,4) dВ [4]

мм
Выбираем
= 28 мм.
Таблица 13.
Размеры цилиндрических выходных концов валов, мм.
|
Диаметр
|
Длина при исполнении
|
|
Ряд 1
|
Ряд 2
|
длинном
|
коротком
|
|
10; 11
|
-
|
23
|
20
|
|
12; 14
|
-
|
30
|
25
|
|
16; 18
|
19
|
40
|
28
|
|
20; 22
|
24
|
50
|
36
|
|
25; 28
|
-
|
60
|
42
|
|
30; 32; 35; 36
|
38
|
80
|
58
|
|
40; 45; 50; 55
|
42; 48; 53; 56
|
110
|
82
|
|
60; 63; 70; 71
|
65; 75
|
140
|
105
|
|
80; 90
|
85; 95
|
170
|
130
|
|
100; 110; 125
|
105; 120
|
210
|
165
|
=
=29,7 мм
Принимаем
= 30 мм.

[4]
= (34,5…42)
Принимаем
=40 мм

[4]
= (46…56)
Принимаем
= 50 мм.
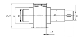
Эскизы ведомого и ведущего валов (рис.1 и 2 соответственно
Рис. 1 Ведущий вал
Рис. 2 Ведомый вал
2.3
Конструкции зубчатых колес
При разработке конструкций зубчатых колес учитывают их
геометрические размеры (
), используемые для изготовления
материала, способы получения заготовок и объемов выпуска деталей.
Зубчатые колеса при соотношении
выполняют вместе с валом, получая конструкции в виде
вала-шестерни
Диаметр буртика вала под подшипник:
, [4]
где r - координата фаски колец подшипника качения.
Размеры фаски на зубчатом венце принимают в зависимости от модуля:
n=0,5·m.
Зубчатые цилиндрические колеса малых диаметров (da≤150мм)
выполняют обычно коваными.
Их изготавливают насадными с выступающей ступицей или плоскими.
В одноступенчатых редукторах колеса выполняют со ступицей,
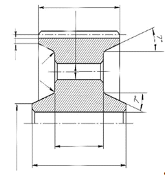
выступающей в обе стороны. Эскиз зубчатого колеса представлен на рис. 3
Рис. 3. Цилиндрическое зубчатое колесо
2.4 Выбор
типа и размеров подшипников качения
При проектировании машин подшипники качения не конструируют,
а подбирают из числа стандартных. Прежде, чем приступить к подбору подшипника,
необходимо определить его тип в зависимости от вида передачи.
Для ведущего и ведомого вала косозубой цилиндрической
передачи выбираем роликовые конические однорядные легкой серии. Эскиз
подшипника для ведущего вала представлен на рис. 4
Рис. 4 Подшипники роликовые конические однорядные
2.5 Выбор
смазки подшипников и зацепления
Выбор сорта масла для зубчатых передач начинают с определения
необходимой кинематической вязкости масла в зависимости от окружной скорости
(таблица 14). Затем по найденному значению вязкости выбирают масло по таблице
15.
Таблица 14
Рекомендуемые значения вязкости масел для смазывания зубчатых
передач при 50°С
Контактное напряжение
, МПа Кинематическая вязкость (мм
/c)
|
при окружной скорости (м/с)
|
|
|
до 2
|
св.2 до 5
|
св.5
|
|
До 600
|
34
|
28
|
22
|
|
Св.600 до 1000
|
60
|
50
|
40
|
|
Св.1000 до 1200
|
70
|
60
|
50
|
Таблица 15
Масла (без присадок), применяемые для смазывания зубчатых
передач.
|
обозначение сорта масла
|
Вязкость, (мм /c) при температуре
40°С
|
|
И-Л-А-22
|
19,0…25,0
|
|
И-Г-А-32
|
29,0…35,0
|
|
И-Г-А-46
|
41,4…51,0
|
|
И-Г-А-68
|
61,0…75,0
|
|
И-Г-А-10С
|
90,0…110,0
|
υ= 1,047 м/с,
следовательно выбираем жидкую смазку.
Выбираем кинематическую вязкость: 34 мм2/с;
Следовательно, исходя из таблицы №15, выбираем марку
индустриального масла: И-Г-А-32
2.6 Выбор
схемы установки подшипников качения
Для обеспечения нормальной работы подшипников качения
необходимо правильное закрепление их на валах и в корпусе. При этом необходимо
исключить возможность заклинивания тел качения при действии осевой нагрузки,
теплового удлинения валов и погрешностей изготовления. В связи с этим валы в
редукторах могут иметь плавающие (с возможностью осевого смещения) и
фиксированные (без возможности осевого смещения) опоры.
Наиболее проста конструктивно схема установки подшипников
враспор, которую широко применяют при относительно коротких валах. По схеме
"враспор" осевое фиксирование вала осуществляется в двух опорах. Для
исключения защемления вала в опорах из-за температурных деформаций
предусматривают осевой зазор a=0,2…0,5 мм. Схема "враспор"
используется в одноступенчатых редукторах для валов с радиальными и
радиально-упорными шариковыми и роликовыми подшипниками.
Для ведущего вала и ведомого валов выбираем схему установки
подшипников "враспор" (см. рис. 5)
Рис. 5. Схема установки подшипников качения на ведомом валу
2.7 Первая
компоновка редуктора
Первый этап компоновки редуктора проводится для приближенного
определения положения зубчатых колес относительно опор для последующего расчета
реакций и проверки долговечности подшипников.
Зазор от окружности вершин зубьев колеса до внутренней стенки
корпуса:
Зазор между торцом шестерни и внутренней стенкой корпуса:
[4]
Расстояние между внутренней стенкой корпуса редуктора и торцевой
плоскостью подшипника:
Толщина стенки крышки:
[4]
Ширина канавки у крышки:
[4]
Компоновочный чертеж редуктора выполняется в одной проекции (см.
приложение 1).
2.8 Проверка
долговечности подшипников
Подобрать и рассчитать конические роликоподшипники для вала
шестерни цилиндрической косозубой передачи редуктора.
Расчетная долговечность определяется по формуле:
[2]
где m - показатель степени; для роликовых подшипников m=
10/3
Сr
- динамическая грузоподъемность подшипника, Сr =35,2 кН;
n - частота
вращения ведущего вала n1 = 600 мин-1;
Рэквґ - эквивалентная нагрузка, Н
Эквивалентная нагрузка определяется по формуле:
Рэкв= (V·X·RR +Y·Ra)
·Kт·Кб [2]
где V - коэффициент, учитывающий какое кольцо вращается, V=1
(вращаются внутренние кольца подшипников);
Х -
коэффициент, учитывающий величину радиальной силы,;
Y -
коэффициент, учитывающий величину осевой силы,;R - суммарная
радиальная реакция опор, Н;
RА
- осевая реакция, действующая на подшипники;
Кб
- коэффициент безопасности, Кб =1,5; [2]
Кт - температурный коэффициент, Кт =1. (при
температуре менее 1000 С) [2]
Ведущий вал. (см. рис.6)
Рассмотрим силы, действующие в горизонтальной плоскости.
Рис. 6. Эпюры изгибающих моментов
Рассмотрим силы, действующие в вертикальной плоскости.
)
,
;
)
,
;
)
;
311,57-485+173,43=0
Рассмотрим силы, действующие в горизонтальной плоскости.
Суммарные радиальные реакции опор определяются по формулам:
[2]
[2]
Рассчитаем осевые составляющие:
Н [2]
Н [2]A1=S1=203,33HA2=218,32H
0,286
?е X=1 Y=0
Определим эквивалентную нагрузку, действующую на подшипник:
Проверяем подшипник по наиболее нагруженной опоре

= 5,17·106
ч
что больше установленных ГОСТ 16162-85. Так как расчетная
долговечность больше допускаемой, то подшипник пригоден.
2.9 Проверка
прочности шпоночных соединений
Для соединения валов с деталями, передающими вращение,
применяют шпонки.
На ведущем и ведомом валах применяем шпонки призматические со
скруглёнными торцами по ГОСТ 23360-78.
Материал шпонок - сталь 45 нормализованная.
Напряжение смятия и условие прочности:
[2]
где
Т - крутящий
момент на валу;
d - диаметр
вала в месте установки шпонки, мм;
h - высота
шпонки, мм;
t1
- глубина паза под шпонку в валу, мм;
b - ширина
шпонки;
[σ] см - допускаемое напряжение смятия;
l - длина
шпонки.
Допускаемые напряжения смятия при стальной ступице
=100ч120 МПа.
Ведущий вал:
d = 22 мм, b Ч h = 8 Ч 7 мм, t1 = 4 мм, длина шпонки l
= 52 мм, момент на ведущем валу Т1 = 21300 Н∙мм
= 14,67 МПа <
2.10
Уточненный расчет валов
Уточнённый расчёт состоит в определении коэффициентов запаса
прочности s для опасных сечений и сравнения их с требуемыми
(допускаемыми) значениями [s] =2,5. Прочность соблюдена при
.
Будем производить расчёт для предположительно опасных сечений
каждого из валов.
Ведущий вал.
Материал вала тот же, что и для шестерни (шестерня выполнена
заодно с валом), т.е. сталь 45, термическая обработка - улучшение.
Предел прочности: σВ = 780 МПа.
Предел выносливости при симметричном цикле изгиба:
σ-1 =0,43 σВ=335,4 МПа [2]
Предел выносливости при симметричном цикле касательных напряжений:
τ-1 =
σ-1 =
Выбираем опасные сечения (см. рис. 7).
Рис. 7. Ведущий вал с сечением А-А
Сечение А-А:
Концентрацию напряжений вызывает наличие шпоночной канавки.
Коэффициент запаса прочности по касательным напряжениям
определяется по формуле:
, [2]
где
τаи τm - амплитуда и среднее напряжение от
нулевого цикла;
,
где
Wк нетто - момент сопротивления кручению.
При d = 22 мм, b = 8 мм, t1 = 4
мм:
[2]
[2]
Принимаем kτ = 1,68, ετ =0,78, ψτ=0,1
[2]
Нмм
Коэффициент запаса прочности по нормальным напряжениям:
[2]
Принимаем:
Результирующий коэффициент запаса прочности для сечения А-А:
>2,5
Библиографический
список
1. Дунаев
П.Ф., Леликов О.П. Курсовое проектирование. М.: Высшая школа,-1984. - 336с.
2. Чернавский
С.А. и др. Курсовое проектирование деталей машин. - М.: Машиностроение. - 1988.
- 416с.
. Баранцов
В.Я., Зайцева Т.Г. Методика расчета зубчатых и червячных редукторов в курсовом
проектировании. Кафедра ПМ, Липецк. - 1991
. Зайцева
Т.Г., Халеев В.И. Методические указания к курсовому проектированию по курсу
"Прикладная механика" для студентов немеханических специальностей
вечерней и дневной форм обучения. Кафедра ПМ. - Липецк. - 1991.
. Баранцов
В.Я., Зайцева Т.Г. Методические указания к разработке и оформлению курсового
проекта по прикладной механике. Кафедра ПМ. - Липецк. - 1988.