Обоснование и расчет производственных отделений литейного цеха
Содержание
Введение
. Обоснование и расчет
производственной программы
.1 Выбор и обоснование места
строительства цеха
.2 Производственная программа
литейного цеха
. Расчет производственных отделений
литейного цеха
2.1 Плавильное отделение
.1.1 Выбор типа плавильных агрегатов
.1.1.1 Индукционная тигельная печь
2.1.1.2 Дуга
электропечи постоянного тока с кислой футеровкой
2.1.2 Расчет шихты для плавки стали
20Х5МЛ
.1.3 Расчет шихты для выплавки стали
25Л в дуговой печи
.1.4 Технология плавки стали в
индукционной тигельной печи
.1.5 Расчет количества плавильных
агрегатов
.1.6 Определение площади плавильного
отделения
.2 Формовочное отделение
.2.1 Определение площадей
формовочного отделения
.3 Расчет парка ковшей
.4 Проектирование стержневого
отделения
.4.1 Выбор способа изготовления
стержней и оборудования
.4.2 Расчет количества стержневого
оборудования
.4.3 Расчет площадей стержневого
отделения
.5 Смесеприготовительное отделение
.5.1 Выбор материала
.5.2 Выбор оборудования для
производства смесей
.5.3 Расчет необходимого количества
оборудования
.5.4 Расчет
систем механической регенерации
.5.5 Определение площадей
смесеприготовительного отделения
.6 Проектирование отделения очистки,
обрубки, термообработки и сдачи литья
.6.1 Расчет необходимого оборудования
.6.2 Определение площади
термообрубного отделения
.7 Складское хозяйство
.8 Взаимосвязь проектируемого цеха по
отделениям
. Анализ конструкции детали и
требования к ней
.1 Характеристика детали, её
назначение и условия эксплуатации
3.2 Определение припусков на
механическую обработку
.3 Обоснование положения деталей в
форме при заливке
.4 Обеспечение питания отливки
.5 Определение узлов питания отливки и
количества прибылей
.6 Конструирование и расчет прибылей
3.7 Определение выхода
годного
.8 Обоснование принятого типа
литниковой системы и способа заливки сплава в форму
.9 Расчет оптимальной
продолжительности заливки и площадей сечений литниковых каналов
.10 Определение количества стержней и
их размеров
.11 Возможные дефекты и методы их
устранения
. Экономическое обоснование литейного
производства
.1 Управление персоналом
4.2 Проектирование численного и
квалификационного состава работающих
.3 Организация и планирование
заработной платы
4.4 Отчисления на социальные нужды
4.5 Разработка системы стимулирования
трудовой деятельности. Участие рабочих и служащих в управлении производством
4.6 Расчет стоимости основных фондов,
амортизационных отчислений
4.7 Определение себестоимости
продукции
4.8 Расчет плановых постоянных и
переменных затрат
4.9 Ценообразование
4.10 Расчёт коммерческой
эффективности
4.11 Показатели эффективности
5. Безопасность труда и экологичность
проекта
.1 Безопасность труда
5.1.1 Характеристика производства
5.1.2 Вентиляция
5.1.3 Производственный микроклимат
5.1.4 Производственное освещение
5.1.5 Производственный шум
5.1.6 Производственная вибрация
5.1.7 Пожарная безопасность
5.1.8 Требования к организации
технологического процесса в условиях чрезвычайных ситуаций
.2 Экологичность проекта
.2.1 Глобальные экологические
проблемы современности
.2.2 Анализ связи литейного процесса
с экологическими системами
.2.3 Основные требования экологизации
проекта
5.2.4 Пути экологизации
производства
Заключение
Список использованных источников
Введение
Литейное производство как технологический процесс является одним из
основных процессов в машиностроении. Вес литых деталей составляет 50-75% от
веса машин. Литые заготовки по размерам и конфигурации в наибольшей мере
приближаются к готовым деталям, а объем механической обработки меньше. Чем на
заготовках, получаемых другими методами.
Развитие литейного производства неразрывно связано с проектированием и
реконструкцией литейных цехов. В настоящее время машиностроительная отрасль
предъявляет все большие требования к качеству применяемой продукции. Очевидно,
что отливки, изготовленные в разовых песчано-глинистых формах, занимают
значительную долю от выпускаемых во всём мире. Работа с ПГС позволяет достичь
высокой производительности при относительной дешевизне процесса, но качество
получаемой поверхности изготовляемой детали, оставляет желать лучшего.
В разрабатываемом проекте отливки будут изготовляться методом литья в
песчано-глинистую формы. В производстве отливок используют различные сплавы
металла.
1. Обоснование и расчет производственной программы
.1 Выбор и
обоснование места строительства цеха
Машиностроительное предприятие представляет собой очень сложную
организацию, структура и деятельность которой находятся в непосредственной
зависимости от сложности конструкции и разнообразия выпускаемой продукции,
характера технологического процесса ее изготовления и объема производства.
При проектировании предприятия одновременно разрабатывают и решают
экономические, технические и организационные задачи.
Проектирование
цеха обусловлено наличием разветвленной сети транспортных магистралей,
связывающих данный район с другими крупными промышленными регионами страны,
наличием дешевой электроэнергии, трудовых ресурсов, богатых сырьевых
источников, достаточным рынком сбыта.
Системы отопления, водоснабжения, канализации централизованы.
К цеху
подведена ветка железнодорожных путей, позволяющая обеспечивать производство
шихтовыми и вспомогательными материалами. Цех имеет зону защитных сооружений и
удален от жилых массивов на расстояние. Санитарно-защитная зона составляет 3000
м.
.2 Производственная
программа литейного цеха
Проектируемый цех является цехом серийного производства, с годовым
производством отливок 18 тыс. тонн.
Отливки изготовляются по такому технологическому процессу:
- литье в песчано-глинистые формы;
Сплав марки, применяемый при заливке форм, выбираем 20Х5МЛ.
Исходными данными для проектирования цеха, выбора оборудования является
производственная программа. Распределение годовой программы отливок по весовым
группам представлено в таблице 1.
На производстве применяется параллельный режим работы, заключающийся в
выполнении всех технологических операций одновременно на разных
производственных площадях и участках литейного цеха разными рабочими и
машинами.
Проектируемый цех работает по двухсменному графику работы. Продолжительность
рабочей недели составляет 40 часов.
Календарный фонд времени составляет:
·24=8760 ч/год.
Номинальный фонд определяется из выражения:
Тн = (Д - Р) С Ч,
где Д - число рабочих дней в году;
Ч - число рабочих часов в смену;
Р - годовое количество предпраздничных, выходных и предвыходных дней;
С - число рабочих смен в сутки.
Тн = (365 - 125) 2 8 = 4100 ч.
Действительный фонд времени учитывает простои оборудования, связанные с
плановыми ремонтами или болезнью рабочего, обслуживающего это оборудование.
Этот фонд времени можно рассчитать пользуясь коэффициентом простоя
оборудования, либо приняв число часов простоя как 4,5% - при 2-х сменной
работе.
Тд = 4100 - 185= 3915 ч.
Таблица 1- Производственная программа цеха
|
№ п/п
|
Наименование
отливок
|
Марка сплава,
сталь
|
Годовое
количество отливок
|
Черновая масса
отливки, кг.
|
Масса отливки с
литниками и прибылями, кг.
|
Масса отливок
на годовую программу ,кг.
|
Масса с литн. и
приб. на программу, т.
|
Выход годного,
%
|
|
|
|
На основную
программу, шт.
|
% брака на
механ. обработку
|
На брак по
механ. обработке, шт.
|
Всего на
программу, шт.
|
|
|
|
|
|
|
1
|
Крышка
|
20Х5МЛ
|
10546
|
2
|
215
|
10761
|
9,2
|
13,5
|
99000
|
145272
|
68
|
|
2
|
Закалочная
решетка
|
15ЛК20
|
14424
|
2
|
294
|
14719
|
16
|
25
|
235500
|
367969
|
64
|
|
3
|
Корзина
|
15Х13Л
|
13552
|
2
|
277
|
13828
|
32
|
48
|
442500
|
663750
|
67
|
|
4
|
Трубка
|
20ГЛ
|
14149
|
2
|
289
|
14438
|
24
|
37
|
346500
|
534188
|
65
|
|
5
|
Втулка
|
20Х5МЛ
|
13536
|
2
|
276
|
13813
|
24
|
38
|
331500
|
524875
|
63
|
|
6
|
Клапан
|
15Х13Л
|
14529
|
1,5
|
221
|
14750
|
12
|
18
|
177000
|
265500
|
67
|
|
7
|
Крышка
|
25Л
|
13029
|
1,5
|
198
|
13227
|
11
|
17
|
145500
|
224864
|
65
|
|
8
|
Зубчатое колесо
|
40Х
|
13150
|
1,5
|
200
|
13350
|
40
|
61
|
534000
|
814350
|
66
|
|
9
|
кран
|
40Х10С2М
|
14621
|
2
|
298
|
14919
|
37
|
58
|
552000
|
865297
|
64
|
|
10
|
Кронштейн
|
32Х06Л
|
12528
|
1,5
|
191
|
12719
|
48
|
77
|
610500
|
979344
|
62
|
|
11
|
Корпус
|
20Х5МЛ
|
14471
|
2
|
295
|
14767
|
90
|
142
|
1329000
|
2096867
|
63
|
|
12
|
Наконечник
|
35Л
|
13211
|
2
|
270
|
13481
|
78
|
118
|
1051500
|
1590731
|
66
|
|
13
|
Ребро
|
25Л
|
12548
|
2
|
256
|
12804
|
56
|
83
|
717000
|
1062696
|
67
|
|
14
|
Корпус
|
35Л
|
13661
|
2
|
279
|
13940
|
215
|
325
|
2997000
|
4530349
|
66
|
|
15
|
Шестерня
|
40Х
|
13852
|
2
|
283
|
14135
|
104
|
199
|
1470000
|
2812788
|
52
|
|
16
|
Труба
|
15Х13Л
|
13881
|
2
|
283
|
14164
|
140
|
210
|
1983000
|
2974500
|
67
|
|
17
|
Корпус
редуктора
|
25Л
|
12103
|
2
|
247
|
12350
|
257
|
395
|
3174000
|
4878327
|
65
|
|
18
|
Кривошип
|
35Л
|
14487
|
1,5
|
221
|
14707
|
123
|
195
|
1809000
|
2867927
|
63
|
|
Итого
|
|
|
|
|
|
|
|
18004500
|
28199593
|
|
Действительный фонд времени рабочих зависит от продолжительности отпуска,
болезней, вредности производства и определяется по формуле:
где К - коэффициент потерь;
К = 0,885 - для вредных работ;
К = 0,895 - для стержневого и формовочного отделения;
К = 0,925 - для других отделений.
В таблице 2 приведены действительные фонды времени для различных отделений
проектируемого цеха.
Таблица 2 - Режим и фонды времени работы оборудования и рабочих
|
Наименование отделения
|
Количество рабочих смен
|
Фонд времени работы
оборудования
|
|
Плавильное
|
2
|
3850
|
|
Формовочное
|
2
|
3645
|
|
Смесеприготовительное
|
2
|
3890
|
|
Стержневое
|
2
|
3975
|
|
Выбивное
|
2
|
3968
|
|
Термообрубное
|
2
|
3850
|
Расчет количества оборудования.
Расчет количества любого оборудования будем производить по формуле:
где
Р1 - количество оборудования по расчету;
В
- годовая программа выпуска продукции (форм, стержней, формовочной смеси и
т.д.);
Кн
- коэффициент неравномерности работы оборудования;
Фд
- действительный фонд времени работы оборудования, ч;
Пр
- расчетная производительность оборудования.
где
Пц - производительность оборудования;
Ки
- коэффициент использования оборудования.
Таблица 3 - Коэффициент неравномерности Кн
|
Оборудование
|
Коэффициент неравномерности
по типам производства
|
|
Единичное и мелкосерийное
|
Серийное
|
Крупносерийное, массовое
|
|
Плавильное
|
1,2 - 1,4
|
1,2 - 1,3
|
1,1 - 1,2
|
|
Формовочно-заливочное
|
1,0
|
1,0
|
1,0
|
|
Смесеприготовительное
|
1,2 - 1,4
|
1,2 - 1,3
|
1,1 - 1,2
|
|
Стержневое
|
1,2 - 1,3
|
1,1 - 1,2
|
1,05 - 1,1
|
|
Очистное, зачистное
|
1,2 - 1,3
|
1,1 - 1,2
|
1,1 - 1,2
|
|
Термическое грунтовочное
|
1,2 - 1,3
|
1,1 - 1,2
|
1,05 - 1,1
|
Таблица 4 - Коэффициент использования оборудования Ки
|
Наименование оборудования
|
Тип оборудования
|
|
Серийное производство
|
Единичное производство
|
Крупносерийное, массовое
производство
|
|
Смесеприготовительное
|
0,65-0,75
|
0,6-0,7
|
0,75-0,85
|
|
Формовочное
|
|
|
|
|
Стержневое
|
|
|
|
|
Сушильные печи
|
|
|
|
|
Дробеметное
|
0,7-0,8
|
0,65-0,75
|
|
|
Галтовочное
|
|
|
|
|
Термопечи
|
|
|
|
2. Расчет производственных отделений литейного цеха
.1
Плавильное отделение
Расчет
плавильного отделения заключается в составлении баланса металла по выплавляемым
маркам, выборе типа и определении количества плавильных агрегатов, расчете
расхода шихтовых материалов на годовой выпуск и планировке участка.
Расчет
плавильных агрегатов и другого оборудования начинается с определения
необходимого объема металлозавалки по отдельным маркам металла. Мы выбрали для плавильного отделения
две плавильные печи.
Таблица 5 - Распределение отливок по массовым группам
|
Массовая
группа, кг
|
Годовой выпуск
отливок данной массовой группы в базовом цехе, кг.
|
Годовой выпуск
отливок данной массой группы, %
|
|
1
|
2
|
3
|
|
5―10
|
99000
|
0,5
|
|
10―50
|
3375000
|
18,7
|
|
50―100
|
3097500
|
17,2
|
|
100―500
|
11433000
|
63,5
|
|
Итого
|
18004500
|
100
|
По данным таблицы 2 составляем производственную программу по сплавам,
которая отражена в таблицах 3, 4, 5 и 6.
Также составляется баланс металла по цеху, который отражен в таблице 8.
Таблица 6 - Производственная программа цеха для отливок из сплава 20Х5МЛ
|
№ п/п
|
Наименование отливок
|
Марка сплава
|
Годовое количество отливок,
шт
|
Черновая масса отливки, кг
|
Масса отливки с литниками и
прибылями, кг
|
Масса отливок на годовую
программу, т.
|
Масса с литниками и
прибылями на программу, т.
|
Выход годного, %
|
|
|
|
На основную программу, шт
|
% брака на мех. Обработку
|
На брак по мех. обработке,
шт
|
Всего на программу
|
|
|
|
|
|
|
|
|
|
|
|
|
|
|
|
|
|
|
|
|
|
|
|
|
|
|
|
|
|
|
|
|
|
|
|
|
|
|
|
|
|
|
1
|
Крышка
|
20Х5МЛ
|
10546
|
1,5
|
215
|
10761
|
9,2
|
13,5
|
99000
|
145271,7
|
68
|
|
2
|
Втулка
|
20Х5МЛ
|
14424
|
1,5
|
294
|
14719
|
16
|
25
|
235500
|
367968,8
|
64
|
|
3
|
Корпус
|
20Х5МЛ
|
14471
|
1,5
|
295
|
14767
|
90
|
142
|
1329000
|
2096866,7
|
63
|
|
Итого на программу
|
|
|
|
|
|
|
1663500
|
2610107,16
|
|
Таблица 7 - Производственная программа цеха для отливок из сплава
15Х13Л и32Х06Л
|
№ п/п
|
Наименование отливок
|
Марка сплава
|
Годовое количество отливок,
шт
|
Черновая масса отливки, кг
|
Масса отливки с литниками и
прибылями, кг
|
Масса отливок на годовую
программу, т
|
Масса с литниками и
прибылями на программу, т
|
Выход годного, %
|
|
|
|
На основную программу
|
% брака на мех. Обработку
|
На брак по мех. обработке
|
Всего на программу, шт
|
|
|
|
|
|
|
|
|
|
|
|
|
|
|
|
|
|
|
|
|
|
|
|
|
|
|
|
|
|
|
|
|
|
|
|
|
|
|
|
|
|
|
1
|
Козина
|
15Х13Л
|
13552
|
2
|
277
|
13828
|
32
|
48
|
442500
|
663750
|
67
|
|
2
|
Клапан
|
15Х13Л
|
14149
|
2
|
289
|
14438
|
24
|
37
|
346500
|
534188
|
65
|
|
3
|
Труба
|
15Х13Л
|
13661
|
2
|
279
|
13940
|
215
|
325
|
2997000
|
4530349
|
66
|
|
4
|
Кронштейн
|
32Х06Л
|
14621
|
2
|
298
|
14919
|
37
|
58
|
552000
|
865297
|
64
|
|
Итого на программу
|
|
|
|
|
|
|
4338000
|
6593584
|
|
Таблица 8 - Производственная программа цеха для отливок из сплава
25Л и 35Л
|
№ п/п
|
Наименование отливок
|
Марка сплава
|
Годовое количество отливок,
шт
|
Черновая масса отливки, кг
|
Масса отливки с литниками и
прибылями, кг
|
Масса отливок на годовую
программу, т
|
Масса с литниками и
прибылями на программу, т
|
Выход годного, %
|
|
|
|
На основную программу
|
% брака на мех. Обработку
|
На брак по мех. Обработке
|
Всего на программу
|
|
|
|
|
|
|
|
|
|
|
|
|
|
|
|
|
|
|
|
|
|
|
|
|
|
|
|
|
|
|
|
|
|
|
|
|
|
|
|
|
|
|
1
|
Крышка
|
25Л
|
13536
|
1,5
|
276
|
13813
|
24
|
38
|
331500
|
524875,0
|
63
|
|
2
|
Ребро
|
25Л
|
13211
|
1,5
|
270
|
13481
|
78
|
118
|
1051500
|
1590730,8
|
66
|
|
3
|
Наконечник
|
35Л
|
12548
|
1,5
|
256
|
12804
|
56
|
83
|
717000
|
1062696,4
|
67
|
|
4
|
Корпус
|
35Л
|
13852
|
1,5
|
283
|
14135
|
104
|
199
|
1470000
|
2812788,5
|
52
|
|
5
|
Корпус редуктора
|
25Л
|
13881
|
1,5
|
283
|
14164
|
140
|
210
|
1983000
|
2974500,0
|
67
|
|
6
|
Кривошип
|
35Л
|
12103
|
1,5
|
247
|
12350
|
257
|
395
|
3174000
|
4878326,8
|
65
|
|
Итого на программу
|
|
|
|
|
|
|
8727000
|
13843917
|
|
Таблица 9 - Производственная программа цеха для отливок из прочих сплавов
|
№ п/п
|
Наименование отливок
|
Марка сплава
|
Годовое количество отливок,
шт.
|
Черновая масса отливки, кг.
|
Масса отливки с литниками и
прибылями, кг.
|
Масса отливок на годовую
программу, т
|
Масса с литниками и
прибылями на программу, т
|
Выход годного, %
|
|
|
|
На основную программу
|
% брака на мех. Обработку
|
На брак по мех. Обработке
|
Всего на программу
|
|
|
|
|
|
|
|
|
|
|
|
|
|
|
|
|
|
|
|
|
|
|
|
|
|
|
|
|
|
|
|
|
|
|
|
|
|
|
|
|
|
|
1
|
Закалочная решетка
|
15ЛК20
|
14529
|
1,5
|
221
|
14750
|
12
|
18
|
177000
|
265500,0
|
67
|
|
2
|
Труба
|
20ГЛ
|
13029
|
1,5
|
198
|
13227
|
11
|
17
|
145500
|
224863,6
|
65
|
|
3
|
Зубчатое колесо
|
40Х
|
13150
|
1,5
|
200
|
13350
|
40
|
61
|
534000
|
814350,0
|
66
|
|
4
|
Шестерня
|
40Х
|
14487
|
1,5
|
221
|
14707
|
123
|
195
|
1809000
|
2867926,8
|
63
|
|
5
|
Кран
|
40Х10С2М
|
12528
|
1,5
|
191
|
12719
|
48
|
77
|
610500
|
979343,8
|
62
|
|
Итого на программу
|
|
|
|
|
|
|
3276000
|
5151984,2
|
|
Таблица 10 - Баланс металла по цеху
|
Наименование статьи баланса
|
Марка сплава 20Х5МЛ
|
Марка сплава 15Х13Л и
32Х06Л
|
Марка сплава 25Л и 35Л
|
Прочие
|
Всего по цеху
|
|
т
|
%
|
т
|
%
|
т
|
%
|
|
|
кг
|
%
|
|
Годные отливки, Мг. о.
|
1663,5
|
59
|
4338
|
61
|
8727
|
59
|
3276
|
59
|
59
|
|
Литники и прибыли, М л.с
|
946,6
|
34
|
2255,5
|
32
|
5116,9
|
34
|
1875,9
|
34
|
10195
|
34
|
|
Скрап, Ск
|
52,202
|
2
|
131,8
|
2
|
276,8
|
2
|
103
|
2
|
563,9
|
2
|
|
Итого жидкого сплава
|
2662,3
|
95
|
6725,4
|
95
|
14120,7
|
95
|
5255
|
95
|
28763
|
95
|
|
Угар и безвозвратные потери
|
133
|
5
|
3362,
|
5
|
706,0
|
5
|
262,7
|
5
|
1438,1
|
5
|
|
Итого металлозавалка, Мм
|
2806,5
|
100
|
7089,8
|
100
|
14885,9
|
100
|
5539,7
|
100
|
30322
|
100
|
Таблица 11 - Ведомости расхода металла для УИП и ДП
|
Наименование статьи баланса
для ИСТ
|
Всего по цеху
|
|
Т
|
%
|
|
1. Годные отливки, Мr.о
|
6840
|
61
|
|
2. Литники и прибыли, Мл.с
|
3568
|
32
|
|
3. Скрап, Ск
|
223
|
2
|
|
4. Итого жидкого сплава
|
6232
|
95
|
|
5. Угар и безвозвратные
потери
|
559
|
5
|
|
6. Итого металлозавалка, Мм
|
11192
|
100
|
|
1. Годные отливки, Мr.о
|
11160
|
58
|
|
2. Литники и прибыли, Мл.с
|
6627
|
35
|
|
3. Скрап, Ск
|
382
|
2
|
|
4. Итого жидкого сплава
|
11402
|
95
|
|
5. Угар и безвозвратные
потери
|
956
|
5
|
|
6. Итого металлозавалка, Мм
|
19126
|
100
|
2.1.1 Выбор
типа плавильных агрегатов
.1.1.1
Индукционная тигельная печь
В качестве плавильного агрегата, для плавки стали, выбраны индукционные
печи средней частоты. Индукционные печи средней частоты (ИСТ), которые обладают
несомненными техническими и экономическими преимуществами, обусловленными
эффектом внутреннего нагрева шихты вихревыми токами и потерями на
перемагничивание ферромагнетиков в сильных электромагнитных полях повышенной
частоты. Благодаря принципу работы такой печи плавка металла будет происходить
при равномерной температуре. Большим преимуществом устройства печи является
высокая производительность и возможность плавки в любом температурном режиме.
Такой вид плавки имеет малый угар металла. Вместо шихты в печи можно
использовать специальные стружки без брикетирования.
.1.1.2 Дуга электропечи постоянного тока с кислой
футеровкой
Принцип работы основан на преобразовании электрической
энергии в тепловую в электрической дуге, являющейся одной из форм разряда в
газовой фазе. В сравнительно малом объёме дуги при таком разряде можно
сконцентрировать большие мощности и получить очень высокие (до 30000С)
температуры.
Электрические печи с кислой футеровкой обычно используют в
литейных цехах при плавке стали для фасонного литья. Кислая футеровка более
термостойка, чем основная, что позволяет эксплуатировать печь с перерывами, требуемыми
по условиям работы многих литейных цехов (работа в одну или две смены).
Преимуществом кислых печей по сравнению с основными является более высокая
стойкость футеровки, длительность плавки в кислой печи меньше (отсутствует
востановительный период плавки), низкая теплопроводность футеровки, более
низкий расход электроэнергии.
В печах постоянного тока электрическая дуга горит между
вводимым в рабочее пространство сверху графитированным электродом (одним ,
иногда тремя) и жидким металлом или твёрдой шихтой, к которым напряжение
подводят с помощью распологаемых в подине специальных токопроводящих устройств
(подовых электродов). К верхнему графитированному электроду от источника
питания подводят отрицательный, а к металлической ванне - положительный электрический
потенциал.
Достоинства:
1. Уменьшение удельного расхода электродов на 50%-60%.
2. Увеличение производительности печи и снижение расхода
электроэнергии.
. Облегчение ведения плавки так как протекающий ток по
объёму ванны вызывает электромагнитное перемешивание металла.
. Снижение уровня создаваемого дугами шума.
. Почти нет вибрации электродов.
. Уменьшение примерно вдвое обратного отрицательного
воздействия печи на питающую сеть.
. Некоторое упрощение конструкции печи в связи с
наличием одного электрода.
Усложняется конструкция и эксплуатация пода печи в связи с
наличием подовых электродов и необходимостью их замены; более дорогостоящим
является источник электрического питания печи.
При кислом процессе футеровку печи выполняют из динасового
или хромагнезитового кирпича.
2.1.2 Расчет
шихты для плавки стали 20Х5МЛ
Для изготовления отливок используются сплавы марки 20Х5МЛ по ГОСТ 977-88
и 25Л. Ниже приведен расчет шихты для этих сплавов. Применение для изготовления
отливки именно данных сплавов, обосновано тем, что они удовлетворяют всеми
физико-механическими характеристиками предъявленными к отливке. Основные
физико-механические показатели и состав сплава приведены в таблице 4.
Таблица
12 - Литейные свойства и химический состав стали 20Х5МЛ
|
Марка сплава
|
Литейные свойства сплава
|
Массовая доля элементов, %
|
Температура,
|
плавленияCrСMoSiMnPS
|
|
|
|
|
|
|
|
|
|
|
|
|
|
|
|
не более
|
|
20Х5МЛ
|
940-960
|
4-6,5
|
0,15-0,25
|
0,4-0,65
|
0.35-0,7
|
0,4-0,6
|
0,04
|
0,04
|
Сталь 20Х5МЛ, выплавляемая в индукционной печи. Шихту составляют из отходов
стали 20Х5МЛ (0,2% С; 0,4%Si;
0,6% Mn; 6% Cr, 0,4%Мо) - 40%, стали 30Х13-20%, стали 95Х18-20%, стали
40Х13-10%
Выполним расчет для печи садкой 1000 кг.
Угар отдельных элементов при индукционной плавке: 4-6% Cr; 4-8% Mn; 5-15% Si,
3%Мо;
С учетом угара химический состав металла после расплавления будет
следующим, %:
Таблица 13-Состав и количество внесенных отходами элементов.
|
Отходы
|
Масса , кг
|
Количество элементов, кг
|
|
|
Мо
|
C
|
Si
|
Mn
|
Cr
|
|
20Х5МЛ 30Х13 95Х18 40Х13
Итого, кг %
|
1000·40/100=400
1000·20/100=200 1000·20/100=200
1000·10/100=100 1000 100
|
0,160 0,096 0,038 0,024
0,318 0,03
|
0,336 0.054
0.061 0.003 0.454 0,0454
|
0,8 0.97 0.01 1.78 0.35 0,035
|
1,2 0,02 0.08 1.28 0.25 0,023
|
26 42.25 23 68.25 159,5
14,99
|
Угар отдельных элементов при индукционной плавке: 4-6% Cr; 4-8% Mn; 5-15% Si,
3%Мо. С учетом угара химический состав металла после расплавления будет
следующим, %:
C
0,454Ч100/1000= 0,0454
Si
0,35Ч(100-10)/1000=0,035
Mn
0,25Ч(100-6)/1000= 0,023
Cr
159,5Ч(100- 6)/1000=14,99
Мо 0,318·(100-3)/1000=0,03
2.1.3 Расчет
шихты для выплавки стали 25Л в дуговой печи
Сталь 25Л, выплавляемая в электродуговой печи.
Состав шихты
В дуговых печах с кислой футеровкой выплавляют ограниченный сортамент
сталей, включающий простые среднеутлеродистые (0,25-0,40% С), а также
хромоникелевые, хромомолибденовые и другие среднеуглеродистые легированные
стали. Выплавка в таких печах сложнолегированных сталей и сплавов, содержащих
марганец, титан, алюминий, цирконий и др., практически невозможна. Вследствие того, что в процессе кислой плавки фосфор и сера
не удаляются, а их содержание в готовой стали за счет вводимых добавок может
даже несколько увеличиться, шихтовые материалы должны содержать фосфора и серы
на 0,1% меньше, чем допускается в готовой стали. В соответствии с этим собственные
отходы не должны превышать 50% от массы шихты. Остальную часть шихты составляют
из отходов углеродистых сталей с низким содержанием серы и фосфора. Шихтовые
материалы должны внести такое количество углерода, чтобы его содержание после
расплавления было на 0,10-0,20% больше, чем в выплавляемой стали. Состав стали
25JI согласно ГОСТ 977-88 представлен в
таблице 14. В составе шихты используют следующие
материалы:
• отходы
литейного цеха - 30%;
• стальной лом - 60%;
• стружка в брикетах - 10%;
• чугун
передельный.
Таблица 14- Химический
состав стали 25JI (ГОСТ 977-88)
|
Массовая доля элементов, %
|
|
С
|
Мп
|
Si
|
Р
|
S
|
|
0,22-0,30
|
0,45-0,90
|
0,20-0,52
|
<0,060
|
<0,060
|
Таблица 15 -Состав шихтовых материалов
|
Шихтовые материалы
|
Массовая доля составляющих,
%
|
|
С
|
Мп
|
Si
|
Р
|
S
|
Аl
|
Зола
|
|
Отходы литейного цеха
|
0,25
|
0,60
|
0,35
|
0,045
|
0,040
|
-
|
-
|
|
Стальной лом
|
0,25
|
0,50
|
0,40
|
0,040
|
0,040
|
-
|
-
|
|
Стружка в брикетах
|
0,25
|
0,45
|
0,35
|
0,045
|
0,040
|
-
|
-
|
|
Чугун передельный
|
4,00
|
0,70
|
0,65
|
0,150
|
0,030
|
-
|
-
|
|
Электроды
|
99,0
|
-
|
-
|
-
|
-
|
-
|
1,0
|
|
Ферросилиций
|
0,20
|
0,40
|
45,00
|
0,040
|
0,030
|
-
|
-
|
|
Ферромарганец
|
6,00
|
75,00
|
2,00
|
0,300
|
0,030
|
-
|
-
|
|
Алюминий
|
-
|
-
|
-
|
-
|
-
|
98*
|
-
|
* Остальную часть составляет железо.
Таблица 16 - Состав шлакообразующих материалов
|
Шлакообразующие материалы
|
Массовая доля составляющих,
%
|
|
СаО
|
MgO
|
Si02
|
А1203
|
|
|
Известь свежеобожженная
|
92,00
|
3,0
|
3,00
|
1,00
|
1,0
|
|
Железная руда
|
0,70
|
0,3
|
6,00
|
3,00
|
90,0
|
|
Песок
|
-
|
-
|
96,00
|
2,00
|
2,0
|
|
Динас
|
1,34
|
-
|
96,58
|
0,58
|
1,5
|
|
Зола электродов
|
11,80
|
-
|
56,50
|
31,70
|
-
|
Соотношение между стальными компонентами шихты и чугуном можно
определить, используя следующее балансовое по углероду уравнение:
,
где [С]с - нижний предел
содержания углерода в заданной марке стали, %;
[С]изб - превышение
содержания углерода к концу периода плавления, в кислом процессе оно обычно
составляет 0,10-0,20%;.
[С]с ш - содержание углерода в стальной составляющей шихты, %;
[С]ч - содержание углерода в
чугуне, %;
Так как в данном расчете за 100% принята сумма только компонентов, содержащих
сталь, то можно записать следующим образом:
,
или
,
и в окончательном виде:
откуда х=4,52 кг (%).
Пересчитав вновь состав компонентов стали и чугуна исходя из 100%,
окончательно получим:
. Отходы литейного цеха составят:
Ч100/(100+4,52)=28,7 кг (%);
. Расход стального лома составит:
Ч100/(100+4,52)=57,41кг (%);
. Расход чугуна составит:
,52Ч100/(100+4,52)=5,4 кг (%).
С целью получения более точных расчетов следует учитывать, что отходы
литейного цеха могут быть загрязнены песком в виде пригара (обычно от 0,5 до
2,0%). Аналогичные загрязнения могут иметь и другие составляющие шихты. Тогда,
если принять пригар равным 1%, действительное количество отходов литейного цеха
составит 28,7(100-1)/100 = 28,41 кг. Масса
пригара будет равна 28,70-28,41 = 0,29 кг.
В период плавления происходит окисление кремния, марганца, углерода и
железа. Примем, что окисление этих элементов происходит в основном кислородом
атмосферы печи. Окисление элементов металлической ванны, например кремния,
можно представить реакциями:
[Si]+{02}=(Si02);
[Si]+2(Fe0)=(Si02)+2
[Fe].
Таблица 17- Количество элементов вносимых шихтовыми материалами
|
Шихтовые материалы
|
Масса,
|
|
Вносят элементов
|
кг
|
|
|
кг
|
С
|
Мп
|
Si
|
Р
|
S
|
Fe
|
|
Отходы литейного цеха
|
28,41
|
0,071
|
0,170
|
0,099
|
0,013
|
0,011
|
28,06
|
|
Стальной лом
|
57,41
|
0,144
|
0,287
|
0,230
|
0,023
|
0,023
|
56,73
|
|
Стружка в брикетах
|
9,57
|
0,024
|
0,043
|
0,033
|
0,004
|
0,004
|
9,462
|
|
Чугун передельный
|
4,32
|
0,030
|
0,028
|
0,006
|
0,001
|
4,082
|
|
Итого: кг
|
99,71
|
0,412
|
0,530
|
0,390
|
0,046
|
0,039
|
98,23
|
|
%
|
100,00
|
0,41
|
0,53
|
0,39
|
0,05
|
0,04
|
98,58
|
Причем основным процессом является реакция, так как первоначально с
кислородом реагирует железо (как избыточный компонент шихты) с образованием (FeO):
[Fe]+{02}=2(Fe0).
Необходимо также учитывать, что часть (FeO) растворяется в металле по реакции (Fe0)=[О]+[Fe], обогащая тем самым металл растворенным кислородом. Однако
в данном расчете мы этот процесс не учитываем, считая, что доля растворившегося
в металле кислорода в период плавления невелика.
За период плавления угар кремния составляет 70%, марганца - 70%. Угар
железа составляет 2-3% от массы металла. Причем большая часть этого угара
(60-80%) является результатом испарения и окисления железа в зоне действия
электрических дуг. Угар углерода в этот период незначителен, можно принять, что
его убыль компенсируется переходом углерода из электродов.
С кислородом печной атмосферы поступит 1,582Ч77/23 = 5,296 кг азота, где 77 и 23 - массовые проценты соответственно азота и кислорода
в воздухе, которые, например, для кислорода можно определить из выражения:
где
-
молярная масса азота;
- молярная
масса кисллорода.
Таким образом, на образование оксидов требуется воздуха:
1,582 + 5,296 = 6,878 кг.
За счет пригара (песка) на отходах литейного цеха, кг:
SiO2 0,29Ч0,96=0,278;
А1203 0,29Ч0,02=0,006;
Fe2O3 0,29Ч0,02=0,006.
Итого 0,290
Из динасового свода. Расход кирпича на 100 кг шихты можно принять равным
0,2 кг. Из этого количества в период плавления расходуется 60% динаса, т.е.
0,2Ч0,06 = 0,12 кг, которые внесут в состав
шлака, кг:
СаО 0,12Ч0,013=0,0016;
SiO2 0,12Ч0,966=0,1159;
А12O3 0,12Ч0,06 =0,0007;
Fe2O3 0,12Ч0,015=0,0018.
Итого 0,1200 кг.
Из подины и откосов. Наварка подины и откосов производится кварцевым
песком. Расход песка составляет 1-2 кг на 100 кг шихты (в расчете принимаем 1,5
кг). В период плавления в шлак переходит 50% массы наварки (кварцевого песка),
или 0,75 кг. Из наварки переходит в шлак, кг:
SiO2 0,75Ч0,96=0,720;
А12O3 0,75Ч0,02=0,015;
Fe2O3 0,75Ч0,02=0,015.
Итого 0,750
Из золы электродов. Расход электродов на 1 т стали составляет 4-6 кг
(0,4-0,6 кг на 100 кг шихты). По периодам плавки расход электродов примерно
пропорционален расходу электроэнергии. Считаем, что в первый период расходуется
60% электродов, т.е. 0,5Ч0,6=0,30 кг (если принять расход электродов в среднем
0,5 кг на 100 кг шихты). Примем также, что углерод электродов в этот период
окисляется кислородом печной атмосферы, а образовавшаяся зола переходит в шлак.
В данном случае окисляется углерода 0,30Ч0,99=0,297 кг. При этом образуется
золы 0,30Ч0,01=0,003 кг. Из золы электродов перейдет в шлак, кг:
СаО 0,003Ч0,1180=0,0003;
SiО2 0,003Ч0,565
=0,0017;
А12Оз 0,003Ч0,317 =0,0010.
Итого 0,0030 кг.
Таблица 18- Состав
и количество шлака периода плавления
|
Источник поступления
оксидов
|
Составляющие, кг
|
Всего, кг
|
|
SiО2
|
AI2O3
|
FeO
|
Fe2О3
|
MgO
|
СаО
|
|
|
Металл
|
0,5850
|
0,00067
|
0,910
|
0,3370
|
0,479
|
-
|
2,311
|
|
Пригар (песок)
|
0,2780
|
0,0060
|
-
|
0,0060
|
---
|
-
|
0,290
|
|
Свод
|
0,1159
|
0,0007
|
-
|
0,0018
|
-
|
0,0016
|
0,120
|
|
Подина и откосы
|
0,7200
|
0,0150
|
0,4
|
0,0150
|
0,54
|
-
|
0,750
|
|
Зола электродов
|
0,0017
|
0,0010
|
0,34
|
0,004
|
0,9
|
0,0003
|
0,003
|
|
Итого: кг
|
1,7006
|
0,0227
|
0,910
|
0,3598
|
0,479
|
0,0019
|
3,474
|
|
%
|
48,95
|
0,65
|
26,19
|
10,36
|
13,79
|
0,06
|
100,00
|
Количество газов периода плавления.
Так как в расчете принято, что в период плавления незначительный угар
углерода металлической ванны компенсируется растворением углерода электродов,
то образованием газов за счет окисления углерода, растворенного в металле,
пренебрегаем.
В течение I периода расходуется 0,30 кг графитированных электродов.
Принимаем, что углерод электродов окисляется кислородом воздуха на 90% до СО и
10% до СО2. Тогда с образованием СО сгорает углерода:
,30х0,99х0,90=0,267 кг,
где 0,99 - содержание углерода в
электродах, и образуется:
,267Ч28/12 = 0,623 кг СО.
С образованием СО2 окисляется 0,30Ч0,99Ч0,10=0,030 кг
углерода, при этом образуется 0,030Ч44/12=0,110 кг СО2. Для горения
потребуется кислорода воздуха: (0,623-0,267)+(0,110-0,030)=0,436 кг, или
0,436Ч22,4/32= =0,305м3. С кислородом воздуха поступит азота:
0,436Ч77/23=1,460 кг, или 0,305Ч79/21=1,1427 м3.
Таблица 19- Материальный
баланс периода плавления, кг
|
Поступило
|
Получено
|
|
Железный лом
28,41+57,41+9,57 = 95,390 Чугун 4,320 Динас 0,120 Пригар (песок) 0,290
Набивка (песок) 0,750 Электроды 0,300 Воздух 6,878+1,896 = 8,774 Итого
109,944
|
Металл 96,117 Шлак 3,474
Газы 7,489 Улет железа в виде Fe2O3 2,864 Невязка 0,000 Итого 109,944
|
Задачами окислительного периода при кислой плавке являются дегазация
металла за счет кипения и нагрев металла. В течение периода окисляется
0,10-0,20% углерода. Для интенсификации кипения в ванну присаживают небольшими
порциями (не более 0,2% от массы металла каждая) железную руду. Вызвать
интенсивное кипение металла можно также небольшими присадками извести. Вводимый
при этом оксид кальция вытесняет из содержащихся в шлаке силикатов FeO, как более слабый основной оксид,
повышая тем самым окислительную способность шлака. Однако необходимо учитывать,
что наличие в шлаке свободного оксида кальция вызывает интенсивное разъедание
кислой футеровки. Поэтому для кислого процесса оптимальным является содержание
в шлаке 6-8% СаО.
При высоком содержании в шлаке SiО2 (56-60%) и высокой температуре происходит восстановление
кремнезема по реакциям:
(Si02)+2[C]=[Si]+2{C0};
(Si02)+2 [Mn]=[Si]+2(MnO);
(Si02)+2[Fe]=[Si]+2(Fe0).
Содержание кремния в металле в конце окислительного периода может
достигать 0,2-0,4%.
В соответствии с приведенными в литературе данными принимаем следующее изменение
состава металла в окислительном периоде плавки. Содержание углерода в конце
периода должно быть приблизительно 0,22%, или 96,117Ч0,22/100=0,211 кг, где
96,117 - выход жидкого металла , кг.
Следовательно, окислится углерода, в том числе с учетом углерода, пошедшего на
восстановление кремния , 0,412-0,211=0,201 кг.
К концу периода в металле остается 0,08-0,12% марганца . Принимаем в
расчете 0,10%, или 96,117Ч0,10/100=0,096 кг; окислится марганца
0,159-0,096=0,063 кг. За счет восстановления содержание
кремния в металле в конце окислительного периода можно принять равным 0,25%,
что составит 96,117Ч0,25/100=0,240 кг, тогда восстановится 0,240-0,117=0,123 кг
кремния. На восстановление кремния потребуется 0,123Ч24/28 = =0,105 кг углерода.
Потребность в железной руде.
Принимаем, что окисление углерода и марганца происходит за счет кислорода
железной руды. При этом источником кислорода является FeO - оксид железа, который получается при восстановлении
Fe203 руды железом:
Fe2О3+[FeО]=3(FeО).
Расход железной руды на плавку определим по балансу затрат на окисление
элементов и поддержание в шлаке определенных концентраций оксидов железа.
Потребность
в FeO покрываем присадкой в шлак железной руды. Для
образования 0,658 кг FeO требуется 0,658Ч160/216=0,487 кг
. Для восстановления
до FeO
требуется 0,658-0,487=0,171 кг железа. Если принять, что 10%
из руды переходит в шлак, а 90% восстанавливается до FeO,
то расход железной руды составит 0,487/(0,90Ч0,90)=0,601 кг.
Таблица 20.- Количество
FeO, необходимое для окисления примесей, кг
|
Элемент
|
Поступило
|
Окислилось
|
Осталось в
металле
|
Требуется FeO
|
Восстановилось Fe
|
Образовалось оксида
|
|
С
|
0,412
|
0,201-0,105*=
=0,096
|
0,211
|
0,096Ч72/1=
=0,576
|
0,576Ч56/72= =0,448
|
СО (в газ)
0,096Ч28/12= =0,224
|
|
Мn
|
0,159
|
0,063
|
0,096
|
0,063Ч72/5
=0,082
|
0,082Ч56/72= =0,064
|
МnО (в шлак) 0,063Ч71/55= =0,081
|
|
Si
|
0,117
|
0,123**
|
0,240
|
|
|
СО (в газ)
0,123Ч56/28= =0,246 Востановилось SiO2 из шлака -0,123Ч60/28=-0,264
|
|
Р
|
0,046
|
-
|
0,046
|
-
|
-
|
-
|
|
S***
|
0,039
|
-
|
0,039
|
-
|
-
|
-
|
|
Fe
|
95,34
|
-
|
95,344
|
-
|
-
|
-
|
|
Итого
|
96,117
|
0,141
|
95,976
|
0,658
|
0,512
|
0,287
|
*Количество углерода, потребовавшееся для восстановления кремния из (SiO2).
**Количество кремния, восстановившееся из (SiO2).
***Отнесение реакции десульфурации к окислительному процессу носит
условный характер.
Шлак окислительного периода.
В шлак окислительного периода поступит: Из металла: 0,081 кг МnО; 0,264 кг SiO2 (итого 0,183 кг).
Из
шлака периода плавления: 1,7006 кг Si02; 0,0227 кг А12O3; 0,91 кг FeO; 0,3598 кг
; 0,0019 кг СаО (итого 3,474 кг).
|
Из железной руды , кг:
|
|
СаО
|
0,601Ч0,007=0,004
|
|
MgO
|
0,601Ч0,003=0,002
|
|
Si02
|
0,601Ч0,006=0,036
|
|
А1203
|
0,601Ч0,003=0,018
|
|
Fe203
|
0,601Ч0,90Ч0,1 =0,054
|
Итого 0,114 кг.
Из извести. Расход извести в окислительный период плавки принят 0,3кг на
100 кг садки. Известь внесет в шлак, кг:
СаО 0,30Ч0,92=0,276;
MgO 0,30Ч0,03=0,009;
Si02 0,30Ч0,03=0,009;
А120з 0,30Ч0,01=0,003;
Fe2О3 0,30Ч0,01=0,003.
Итого 0,300 кг.
Из свода. В окислительный период расходуется 20% динасового кирпича, что
составляет, кг:
СаО 0,40Ч0,0134=0,0006;
Si02 0,40Ч0,9658=0,0386;
А1203 0,40Ч0,0058=0,0002;
Fe2О3 0,40Ч0,015 =
0,0006.
Итого 0,040 кг.
Из подины и откосов. В шлак поступит 25% набивной массы, т.е.
1,5Ч0,25=0,375 кг. Из набивной массы в шлак перейдет, кг:
Si02 0,375Ч0,96=0,360;
А1203 0,375Ч0,02=0,008;
Fe2О3 0,375Ч0,02=0,007.
Итого 0,375 кг.
Из золы электродов. Принимаем, что в окислительный период расходуется 20%
электродов, что составляет 0,5Ч0,2=0,099 кг. Содержащийся в электродах углерод
сгорает в атмосфере печи, а зольный остаток переходит в шлак. Окисляется
углерода электродов, кг: 0,10Ч0,99 = 0,099.
Образуется золы 0,10Ч0,01=0,001 кг. Составляющие золы внесут в шлак, кг:
СаО 0,001Ч0,118=0,0001;
Si02 0,010Ч0,565=0,0006;
А1203 0,010Ч0,317=0,0003.
Итого 0,001 кг
Таблица 21.- Количество и состав шлака окислительного периода
|
Источник поступления
|
Составляющие, кг
|
Всего
|
|
Si02
|
А1203
|
FeO
|
Fe203
|
МпО
|
CaO
|
MgO
|
кг
|
|
Шлак периода
|
1,7006
|
0,0227
|
0,910
|
0,3598
|
0,479
|
0,0019
|
-
|
3,474
|
|
плавления
|
|
|
|
|
|
|
|
|
|
Металл
|
0,2640
|
-
|
-
|
-
|
0,081
|
-
|
-
|
0,183
|
|
Железная руда
|
0,0360
|
0,0180
|
-
|
0,0540
|
-
|
0,0040
|
0,002
|
0,114
|
|
Известь
|
0,0090
|
0,0030
|
-
|
0,0030
|
-
|
0,2760
|
0,009
|
0,300
|
|
Свод
|
0,0386
|
0,0002
|
-
|
0,0006
|
-
|
0,0006
|
-
|
0,040
|
|
Подина и откосы
|
0,3600
|
0,0080
|
-
|
0,0070
|
-
|
-
|
-
|
0,375
|
|
Зола электродов
|
0,0006
|
0,0003
|
-
|
-
|
-
|
0,0001
|
-
|
0,001
|
|
Итого: кг
|
1,8808
|
0,0522
|
0,910
|
0,4244
|
0,560
|
0,2826
|
0,011
|
4,121
|
|
%
|
45,64
|
1,27
|
22,08
|
10,30
|
13,59
|
6,85
|
0,27
|
100,0
|
Количество газов окислительного периода
При окислении углерода металла образуется 0,201Ч28/12=0,469 кг монооксида
углерода. При окислении углерода электродов кислородом атмосферы образуется:
,099Ч0,90Ч28/12 = 0,208 кг СО;
,099Ч0,10Ч44/12 = 0,036 кг СО2;
где 0,90 и 0,10 - доли окисления углерода соответственно до СО и СО2.
При этом требуется 0,208Ч16/28+0,036Ч32/44=0,145 кг, или
0,145Ч22,4/32=0,102 м3, кислорода воздуха. С кислородом поступит
азота 0,145Ч77/23=0,485 кг, или 0,485Ч22,4/28=0,388 м3.
Таблица 22-Количество и состав газов окислительного периода
|
Источник поступления
|
Поступило, кг
|
Образовалось, кг
|
|
|
СО
|
СО2
|
N2
|
Всего
|
|
Углерод металла
|
0,201
|
0,469
|
-
|
0,469
|
|
Углерод электродов
|
0,099
|
0,208
|
0,036
|
0,485
|
0,729
|
|
Воздух
|
0,145+0,485=0,630
|
-
|
-
|
-
|
-
|
|
\Итого: кг
|
0,930
|
0,677
|
0,036
|
0,485
|
1,198
|
|
%
|
100,00
|
56,51
|
3,01
|
40,48
|
100,00
|
При выплавке стали для фасонного литья плавку проводят без
восстановительного периода. В этом случае раскисление проводят осаждающим
методом. Если содержание кремния в металле ниже, чем требуется в выплавляемой
стали, то за 7-10 мин до выпуска в печь присаживают ферросилиций. Ферромарганец
вводят либо в печь (за 3-5 мин до выпуска), либо в ковш. Алюминий для
окончательного раскисления вводят в ковш.
Таблица 23-Материальный баланс окислительного периода, кг
|
Поступило
|
Получено
|
|
Металл I периода
|
96,117
|
Металл
|
95,976+0,512-0,171=96,317
|
|
Шлак I периода
|
3,474
|
Шпак
|
4,121
|
|
Железная руда
|
0,601
|
Газы
|
1,198
|
|
Известь
|
0,300
|
Невязка
|
0,001
|
|
Динас
|
0,040
|
|
Итого 101,637
|
|
Набивная масса
|
0,375
|
|
|
|
Электроды
|
0,100
|
|
|
|
Воздух
|
0,630
|
|
|
|
Итого
|
101,637
|
|
|
Раскисление металла
Определим состав металла, полученного к концу окислительного периода
плавки, %:
С 0,211Ч100/96,317=0,219 ~ 0,22;
Si
0,240Ч100/96,317=0,249 ~0,25 ;
Мn 0,096Ч100/96,317=0,100;
Р 0,046Ч100/96,317=0,048 ;
S
0,039Ч100/96,317=0,040.
Расчет необходимого количества раскислителей производится исходя из
среднезаданного содержания соответствующих элементов в готовой стали с учетом
их угара: марганца - (0,045+0,90)/2=0,68%;
кремния - (0,20+0,52)/2 = 0,36%.
Так как содержание кремния в металле выше нижнего предела, определяемого
стандартом, то можно его содержание не повышать, оставив на уровне, полученном
в процессе кремний восстановительной плавки.
Таким образом, раскисление металла в печи производим ферромарганцем, а в
ковше в процессе выпуска - алюминием.
Необходимое количество раскислителя можно определить по следующей формуле:
где qp - количество присаживаемого
раскислителя, кг;
Mст - выход
жидкой стали перед раскислением, кг;
[Е]ст - среднезаданное содержание определяемого элемента в готовой стали,
%;
[Е]п.р - содержание того же
элемента в металле перед раскислением, %;
[E]р - содержание соответствующего
элемента в раскислителе, %;
U - угар
элемента, %.
Определим расход ферромарганца, принимая угар марганца равным 20%:
Ферромарганец внесет, кг:
,931Ч0,06=0,056 углерода;
,931Ч0,75= =0,698 марганца;
,931Ч0,02=0,019 кремния;
,931Ч0,003=0,003 фосфора;
,931Ч0,0003=0,0003 серы.
Итого 0,7763 кг.
С ферромарганцем поступит:
,931-0,776 = 0,155 кг железа.
При раскислении металла окислится:
,698Ч0,20=0,140 кг марганца и образуется 0,140Ч71/55=0,180 кг МnО.
При этом требуется 0,140Ч16/55=0,041 кг кислорода воздуха, с которым
поступит 0,041Ч77/23=0,137 кг азота.
В период раскисления стали принимаем расход огнеупоров, набивной массы и
электродов таким же, что и в окислительный период плавки: 0,04 кг динаса; 0,375
кг набивки; 0,10 кг электродов.
Таблица 24-Количество и состав металла после раскисления ферромарганцем
|
Элемент
|
Поступило с металлом, кг
|
Внесено ферромарганцем, кг
|
Перешло в шлак, кг
|
Содержится в металле
|
|
|
|
|
кг
|
%
|
|
Углерод
|
0,211
|
0,0560
|
-
|
0,2670
|
0,27
|
|
Марганец
|
0,096
|
0,698-0,140=0,5580
|
0,140
|
0,6540
|
0,67
|
|
Кремний
|
0,240
|
0,0190
|
-
|
0,2590
|
0,27
|
|
Фосфор
|
0,046
|
0,0030
|
-
|
0,0490
|
0,05
|
|
Сера
|
0,039
|
0,0003
|
-
|
0,0393
|
0,04
|
|
Железо
|
95,344+0,512- -0,171=95,685
|
0,1550
|
-
|
95,840
|
98,70
|
|
Итого
|
96,317
|
0,791
|
0,140
|
97,108
|
100,00
|
В период раскисления стали принимаем расход огнеупоров, набивной массы и
электродов таким же, что и в окислительный период плавки: 0,04 кг динаса; 0,375
кг набивки; 0,10 кг электродов.
Окончательное раскисление металла производим в ковше алюминием. Расход
алюминия составляет 0,8-1,2 кг на 1 т стали. Угар алюминия составляет 75-85%. В
расчете принимаем расход алюминия 1 кг/т, т.е. 0,1 кг на 100 кг металла. Тогда
фактически требуется 97,108Ч0,1/100=0,097 кг алюминия. Алюминий внесет:
0,097Ч0,98=0,095 кг алюминия; 0,097Ч0,02= =0,002 кг железа, что составит в
сумме 0,097 кг. Остается алюминия в металле, если принять его усвоение равным
20%, 0,095Ч0,20=0,019 кг.
При окислении алюминия образуется 0,095Ч0,80Ч102/54=0,144 кг AI2O3. На окисление алюминия затрачивается 0,095Ч0,80Ч48/54=0,068
кг кислорода воздуха, с которым поступит 0,068Ч77/23=0,227 кг азота.
Таблица 25-Количество и состав шлака перед выпуском металла
|
Источник поступления
|
Составляющие, кг
|
Всего, кг
|
|
Si02
|
А120з
|
FeO
|
Fe2О3
|
МпО
|
CaO
|
MgO
|
|
|
Шлак окислительного периода
-
|
1,8810
|
0,0520
|
0,910
|
0,4240
|
0,560
|
0,2830
|
0,011
|
4,121
|
|
Свод
|
0,0386
|
0,0002
|
_
|
0,0006
|
-
|
0,0006
|
-
|
0,040
|
|
Набивка
|
0,3600
|
0,0080
|
|
0,0070
|
-
|
-
|
-
|
0,375
|
|
Зола электродов
|
0,0006
|
0,0003
|
-
|
-
|
-
|
0,0001
|
-
|
0,001
|
|
Ферромарганец
|
-
|
-
|
-
|
-
|
0,180
|
|
-
|
0,180
|
|
Итого: кг
|
2,2802
|
0,0605
|
0,910
|
0,4316
|
0,740
|
0,2837
|
0,011
|
4,717
|
|
%
|
48,34
|
1,28
|
19,29
|
9Д5
|
15,69
|
6,02
|
0,23
|
100,00
|
Количество и состав газа периода раскисления
Газы этого периода образуются в результате окисления углерода электродов
и марганца ферромарганца кислородом атмосферы печи.
Таблица 26 - Количество и состав газов в период раскисления
|
Источник
|
Поступило, кг
|
Образовалось, кг
|
|
поступления
|
|
СО
|
СО2
|
N2
|
всего
|
|
Углерод
|
0,099
|
0,208
|
0,036
|
0,485+0,137=
|
0,866
|
|
электродов Воздух
|
0,630+0,041+0,137= =0,808
|
-
|
-
|
=0,622
|
-
|
|
Итого: кг
|
0,907
|
0,208
|
0,036
|
0,622
|
0,866
|
|
%
|
|
24,02
|
4,16
|
71,82
|
100,00
|
Таблица 27 - Материальный баланс периода раскисления, кг
|
Поступило
|
Получено
|
|
Металл окислительного
96,317 (II) периода Шлак II периода 4,121 Ферромарганец 0,931 Алюминий 0,097
Динас 0,040 Набивная масса 0,375 Электроды 0,100 Воздух 1,103 Итого 103,084
|
Металл 95,976+0,512-0,171 =
97,129 Шлак 4,717 Аl2О3
после окончательного 0,144 раскисления алюминием Газы 0,866+0,227= 1,093
Невязка 0,001 Итого 103,084
|
Таблица 28 - Материальный баланс плавки, кг
|
Поступило
|
Получено
|
|
Стальной лом 95,390 Чугун
4,320 Динас 0,200 Пригар (песок) 0,290 Электроды 0,300+0,100+0,100 = 0,500 Набивная масса 8,774+0,630+1,103 = 1,500 Железная руда 0,601 Известь 0,300 Воздух
0,874+0,630+1,103 = 10,507 Ферромарганец 0,931 Алюминий 0,097 Итого 114,636
|
Металл 97,129 Шлак 4,717 AI2O3 после
окончательного раскисления алюминием 0,144 Газы 7,489+1,198+1,093 = 9,780 Улет железа в виде Fe2О3 2,864
Невязка 0.002 Итого 114,636
|
2.1.4
Технология плавки стали в индукционной тигельной печи
Плавка в
индукционная печи.
При проведении кислой индукционной плавки, как и вообще при всех кислых
процессах, отсутствуют условия для перехода из металла в шлак фосфора и серы.
Кроме того, в индукционных печах в связи с более низкой температурой шлака и
большей глубиной ванны менее благоприятны условия и для окисления углерода. И
хотя избыток углерода можно удалить, все же не рекомендуется, чтобы содержание
углерода в шихте превышало более чем на 0,1% допустимое его содержание в
готовой стали, а содержание фосфора и серы должно быть ниже допустимых пределов
для стали.
Плавление шихты начинается в первую очередь на половине высоты индуктора
у стенок тигля, затем постепенно распространяется вниз и вверх. Сообразно с
этим шихта должна иметь возможность опускаться и погружаться в жидкий металл.
Однако в верхней части тигля куски шихты могут заклиниваться и свариваться,
образуя "мосты".
Зависание шихты крайне нежелательно, так как оно может привести к
сильному неконтролируемому перегреву жидкого металла и разрушению футеровки.
Даже временное зависание шихты увеличивает продолжительность плавления и расход
электроэнергии. Для устранения зависания шихту в процессе плавления необходимо
периодически осаживать при помощи ломика с резиновой изоляцией ручки. Окисление
марганца, кремния и фосфора, при плавке стали в индукционной печи, происходит
уже в период плавления. При высоком содержании фосфора в шихте шлак периода
плавления во избежание восстановления фосфора при повышении температуры
необходимо удалить. Новый шлак наводят из извести, плавикового шпата шамота.
Чтобы повысить активность сравнительно холодных шлаков при индукционной плавке,
содержание плавикового шпата в шлаковой смеси увеличивают до 20%.
Такие шлаки интенсивно разрушают футеровку печи, поэтому в индукционной
печи стараются не применять процессы, требующие активного участия шлака. Чтобы улучшить взаимодействие между шлаком и металлом, шлак
от потерь тепла изолируют (закрывают тигель крышкой) или даже подогревают
дугой, элементами сопротивления и другими способами.
Плавка в дуговой печи
Подготовка печи: очистка печи от остатков шлака и металла
предыдущей плавки, заправка пода, откосов и стен новыми материалами. Для
заправки применяют кварцевый песок (не менее 96% SiO2 и не более 1%
примесей). Загрузка шихты: на под -
половина мелкой шихты, в зону действия электродов - среднюю и крупную, сверху
засыпаем остатки мелкой шихты. Металлический лом не должен быть ржавым, так как
оксиды железа, растворяя кремнезём футеровки пода, разрушают её. Содержание
углерода в шихте должно быть на 0,2-0,3% выше нижнего предела в готовой стали.
Для повышения содержания углерода в шихту, наряду со стальным ломом, вводят
кокс, электродный бой или шихту. Особенность кислого процесса - плавка ведётся под кислым шлаком,
содержащим до 65% кремнезёма. Фосфор и сера не удаляются, поэтому содержание
этих компонентов в шихте должно быть минимальным - ниже на 0,01% пределов,
допускаемых в отливке. В период плавления происходит окисление кремния,
марганца, железа, углерода. Образующиеся оксиды принимают участие в
формировании шлака.
После расплавления определённого количества шихты, наводят
оборотный шлак от предыдущей плавки, состоящий на 38-45% SiO2, 22-28% FeO,
0,18-0,26% MnO и 6-7% CaO. Окисление углерода и других примесей, происходит в период кипения ванны,
уменьшает содержание углерода на 0,15-0,2% за 25-30 минут кипения ванны.
Окисление идёт преимущественно за счёт оксидов железа, содержащихся в шлаке.
Для предупреждения восстановления кремния в период кипения в шлак добавляют
известняк, понижающий концентрацию SiO2 в шлаке. После получения шлака
светло-зелёного, дымчатого или светло-голубого цвета приступают к раскислению
стали. Если содержание кремния в металле ниже, чем требуется в выплавленной
стали, то за 7-10 минут до выпуска в печи присаживают ферросилиций. Предварительное раскисление производят ферросилицием или
силикомарганцем, а окончательное - присадкой алюминия в ковш при выпуске стали.
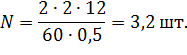
2.1.5 Расчет
количества плавильных агрегатов
Для приготовления сплавов в индукционной печи устанавливаем индукционную
тигельную печь повышенной частоты серии УИП.
Расчет необходимого количества плавильных печей проводим по формуле:
Устанавливаем две печи УИП-100-0,5-2,0. . Расчет коэффициента загрузки:
Таблица 29 - Характеристика печи УИП-100-0,5-2,0
|
Емкость печи, т
|
Производительность печи,
т/ч
|
Мощность, кВт
|
Частота, кГц
|
Габариты печи/
преобразователя
|
|
2,0
|
2,0
|
1000
|
0,5
|
2000х2000х2000
1330х800х2340
|
Рассчитаем количество электродуговых печей.
Основные преимущества печей постоянного тока типа ДП перед печами
переменного тока типа ДСП:
) Снижение расхода графитированных электродов до 1,5 кг/тонну жидкого
металла.
) Снижение угара металла на 2-4% (увеличение выхода годного)
) Снижение расходов ферросплавов в среднем на 15-20%.
) Снижение количества пылевыбросов в 6-8 раз.
) Снижение уровня шума на 15-20 Дб (то есть до санитарных норм).
) Снижение фликер-эффекта на 50%.
) Высокий коэффициент мощности (до 0,95).
Преимущества современных дуговых плавильных печей постоянного тока типа
ДП перед индукционными:
) Использование горячего активного шлака для десульфурации, дефосфации и
других металлургических процессов.
) Либеральные требования к используемой шихте по влажности и химическому
составу.
) Выше тепловой и электрический КПД > 90%, коэффициент мощности.
) Ниже удельный расход электроэнергии. Высокая стойкость футеровки (до
2000 плавок и более).
) Не требуется "болото", простая ликвидация "козла".
) Одноразовая загрузка всей шихты без тщательной сортировки по размеру.
Таблица 30 - Характеристика электродуговой печи ДП - 6
|
Емкость, т
|
Производительность, т/ч
|
Удельный расход
электроэнергии кВт.ч/т
|
Мощность источника питания
кВА
|
|
6,0
|
4,5
|
520
|
5000
|
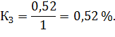
Рассчитаем
коэффициент загрузки печи:
Коэффициент
загрузки должен удовлетворять неравенству
Устанавливаем
две печи ДП- 6.
.1.6
Определение площади плавильного отделения
Площадь плавильного отделения определяется количеством рабочих мест,
проездами и проходами.
Плавильное отделение располагаем в поперечном пролете, что обеспечивает
удобное ведение плавки и доставки металла к формовочным участкам. Принимаем
площадь плавильного отделения 432 м2.
2.2 Формовочное отделение
В формовочном отделении выполняются операции формовки, сборки, заливки,
охлаждения и выбивки отливок, трудоемкость которых составляет до 60% от общей
трудоемкости изготовления отливок.
Технико-экономические показатели формовочного отделения, организация
работы и выбор оборудования в первую очередь зависят от способа изготовления
форм. Основными факторами, обеспечивающими выбор метода формовки, являются
характер производства, масса, габариты и класс точности отливок, род металла,
вид производственной программы и мощность проектируемого цеха. В проектируемом
цехе применяется метод формовки в разовые песчаные формы и оболочковые формы.
Технико-экономические показатели формовочного отделения, организация
работы и выбор оборудования в первую очередь зависят от способа изготовления
форм. Основными факторами, обеспечивающими выбор метода формовки, являются
характер производства, масса, габариты и класс точности отливок, род металла,
вид производственной программы и мощность проектируемого цеха.
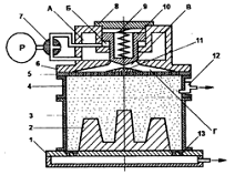
Уплотнение форм производится воздушно-импульсным методом.
Рисунок 1 - Схема установки для воздушно-импульсной формовки:
А, Б, Г - полости; В - отверстие для выхода воздуха.
Сущность процесса состоит в том, что на смесь воздействуют
кратковременным воздушным импульсом высокого давления. В результате смесь с
большим ускорением перемещается в сторону модельной плиты. При встрече с
моделью или модельной плитой смесь резко тормозится и уплотняется под действием
давления лежащих выше слоев. Верхние слои смеси не уплотняются.
Рабочий орган машины - импульсная головка представляет собой емкость 6 с
клапаном 10 внутри с пружиной 9 и крышкой 8. В нижней части головки размещен рассекатель
воздуха 5 - решетка с отверстиями диаметром 5-8 мм с дефлектором 11.
Технологическая оснастка состоит из модельной плиты 1 модели 2, опоки 3 и
наполнительной рамки 4. Равномерное распределение потока воздуха, выходящего из
отверстия В большого диаметра при открывании клапана, способствует равномерному
распределению его давления на поверхности смеси под рассекателем. Большая часть
отработанного воздуха из полости наполнительной рамки удаляется в атмосферу
через специальный клапан 12. А остальной воздух удаляется путем фильтрации
через венты 13, расположенные в оснастке. Давление воздуха в ресивере Р и в
полости А головки, соединяемых через специальный распределитель 7,
поддерживается специальным компрессором до 7-8 МПа. Длительность процесса 1-3 с.
При воздушно-импульсном способе достигается высокое и равномерное
уплотнение смеси. Твердость формы со стороны модели составляет 90-95 единиц, а
на контрладе после удаления 20-40 мм неуплотненной смеси твердость достигает 70
единиц.
Преимущества процесса: минимальное время уплотнения, хорошее качество
уплотнения, универсальность. Недостатками являются: повышенный расход воздуха,
значительный шум, необходимость специального компрессора и ресивера высокого
давления.
Разбиваем отливки на две группы. Для каждой группы выбираем размер опок,
с учетом коэффициента металлоемкости.
Габариты опок выбираем в зависимости от придельной массы отливки по
группе и определяем годовое количество форм.
Для изготовления полуформ устанавливаем машины ОАО "Сиблитмаш".
Машины формовочные импульсные низкого давления с рамочным съемом полуформ.
Назначание: для последовательного изготовления нижних и верхних полуформ из
песчано-глинистой формовочной смеси. Тип машины - полуавтоматическая. Вне
автоматического цикла (механизмами, не входящими в состав машины), выполняются
операции: установка пустой опоки на рольганг; заполнение опоки с наполнительной
рамкой формовочной смесью; удаление готовой полуформы с рольганга.
Таблица 31 - Программа формовочно-заливочного-выбивного отделения
|
Номер
технологической группы
|
Наименование
отливок
|
Количество
отливок, шт
|
Годовое
количество форм, шт
|
Число отливок в
форме
|
Габариты опок,
мм
|
Тип
оборудования
|
|
|
|
|
|
|
|
|
|
|
|
|
|
|
|
1
|
Крышка
|
10761
|
5381
|
2
|
500 х 400 х 200
|
2Н380
|
|
Закалочная решетка
|
14719
|
14719
|
1
|
14750
|
14750
|
1
|
|
|
|
Крышка
|
13227
|
13227
|
1
|
|
|
|
Трубка
|
13813
|
13813
|
1
|
|
|
|
Втулка
|
14438
|
14438
|
1
|
|
|
|
Итого
|
|
76328
|
|
|
|
|
2
|
Корзина
|
13828
|
4609
|
3
|
1600 х 1250 х
500
|
2Н385
|
|
Зубчатое колесо
|
13350
|
3338
|
4
|
|
|
|
Кран
|
14919
|
4973
|
3
|
|
|
|
Кронштейн
|
12719
|
3180
|
4
|
|
|
|
Корпус
|
14767
|
3692
|
4
|
|
|
|
наконечник
|
13481
|
6741
|
2
|
|
|
|
Ребро
|
12804
|
6402
|
2
|
|
|
|
Корпус
|
13940
|
13940
|
1
|
|
|
|
Шестерня
|
14135
|
7068
|
2
|
|
|
|
Труба
|
14164
|
14164
|
1
|
|
|
|
Корпус
редуктора
|
12350
|
12350
|
1
|
|
|
|
Кривошип
|
14707
|
14707
|
2
|
|
|
|
Итого
|
|
95162
|
|
|
|
Таблица 32 - Характеристика машины 2Н380
|
Модель
|
размеры опок в свету, мм
|
давление сжатого воздуха,
Мпа
|
Производительность
полуформ/ч
|
установленная мощность, кВт
|
|
2Н380
|
500х400х200
|
0,63
|
120
|
5,5
|
Устанавливаем
одну формовочную машину машин и находим действительный коэффициент загрузки:
Данную
формовочную линию с машиной 2Н380 можно использовать для изготовления отливок
сторонних заказов, так как линия не полностью загружена.
Расчет параметров линии
Расчет скорости конвейера:
где N - производительность формовочной машины, шт;
Ζ - шаг платформ конвейера, м;
n
- коэффициент заполнения тележек формами (n = 0,8);
i
- число форм, устанавливаемых на одну платформу.
Суммарная длина конвейера:
= L1 + L2 + L3 + L4,
где L1 - длина участка формовки, м;2 - длина
участка заливки форм, м;3 - длина участка охлаждения отливок, м;4
- длина участка выбивки форм.
1
= М L0 + Lп.с. ;
где М - число машин, шт;0 - расстояние между осями машин, м;п.с.
- длина участка отделки, простановки, стержней и сборки форм, м.
1
= 1 0 + 20 = 20 м.2 = Τ3 υ m ,
где Τ3
- максимальная продолжительность заливки форм из одного ковша, мин;- число
одновременно работающих ковшей.
2
= 0,33 1,7 4 = 3,4 ≈ 4 м.3 = υ tохл ;
где tохл - продолжительность охлаждения отливок до выбивки,
мин.
3
= 1,6 45 = 76, 5 м.
Для кратности примем длину участка охлаждения равной 100 м.
Обычно длина выбивной зоны L4 = 8 ч 12 метров.
Общая длина конвейерной линии составит ≈ 135 метров.
Таблица 33 - Характеристика машины 2Н385
|
Модель
|
Размеры опок в свету, мм
|
Давление сжатого воздуха,
Мпа
|
Производительность
полуформ/ч
|
установленная мощность, кВт
|
|
2Н388
|
1600х1200х500
|
0,63
|
40
|
13
|
Устанавливаем
две формовочные машины и находим действительный коэффициент загрузки:
Расчет параметров линии
Расчет скорости конвейера:
где N - производительность формовочной машины;
Ζ - шаг платформ конвейера, м;
n
- коэффициент заполнения тележек формами (n = 0,8);
i
- число форм, устанавливаемых на одну платформу.
Суммарная длина конвейера:
L = L1 + L2 + L3 + L4,
где L1 - длина участка формовки, м;2 - длина
участка заливки форм, м;3 - длина участка охлаждения отливок, м;4
- длина участка выбивки форм.
1
= М L0 + Lп.с. ;
где М - число машин, шт;0 - расстояние между осями машин, м;п.с.
- длина участка отделки, простановки, стержней и сборки форм, м.
1
= 1 0 + 30 = 30 м.2 = Τ3 υ m ,
где Τ3
- максимальная продолжительность заливки форм из одного ковша, мин;- число
одновременно работающих ковшей.
2
= 1,2 1,3 5 = 3,2 ≈ 4м.3 = υ tохл ;
где tохл - продолжительность охлаждения отливок до выбивки,
мин.
L3 = 1,3 120 = 156 м.
Обычно длина выбивной зоны L4 = 8 ч 12 метров.
Общая длина конвейерной линии составит ≈ 200 метров
Для выбивки форм на линиях установим выбивные решетки с с устройством
предварительной регенерации.
Помимо разбивки форм и извлечения отливок также происходит размельчение
комков формы до изначального размера зерна. Это означает, что формавочный
материал может перемещаться с помощью пневмотранспорта. Это исключает
необходимость применения механического оборудования, которое увеличивает
пылеобразование.
Таблица 34 - Характеристика решетки
|
Наименование модели
|
Производительность т/ч
|
Габариты, мм
|
Мощность, кВт
|
Частота вращения, об./мин
|
|
XNS 3910
|
10
|
2700Ч1970Ч1939
|
7,4
|
980
|
Рисунок 3 - Выбивная решетка
- основная решетка; 2 - опорыне пружины, снижающие передачу вибрации; 3 -
стадия предварительной регенерации с перфорированной плитой; 4 - вращающийся
вал с экцентриком; 5 - Разгрузка твердых материалов; 6 - загрузочный бункер
нагнетателя; 7 - нагнетатель; 8 - пневмотранспорт
2.2.1
Определение площадей формовочного отделения
Нормы размеров пролета формовочного отделения выбираются в соответствие с
нормами проектирования:
·
ширина пролета -
24 м,
·
шаг колонн - 6 м
по наружной стене, 12 м внутри цеха,
В механизированных литейных цехах площади формовочного отделения не
рассчитываются, а определяются планировкой оборудования с учетом норм проектирования.
Тогда площадь формовочного отделения равна 1920 м2.
2.3 Расчет
парка ковшей
Расчет парка заливочных ковшей выполняется с учетом количества
одновременно работающих ковшей, продолжительности работы ковша до ремонта и
длительности ремонта. Время работы ковша до ремонта и длительности ремонта
зависит от емкости ковша.
Расчет количества одновременно работающих заливочных ковшей проводим по
формуле:
где

-
производительность плавильной печи, т/ч;

- число
одновременно работающих печей, шт;

-емкость
ковша, т;

- время
оборота ковша, мин.
Отливки
массой до 100 кг заливаем с помощью поворотного ковша, емкостью 0,25 т.
Расчет
количества заливочных ковшей, вместимостью 0,25 т:
Принимаем количество ковшей 4 штуки.
Отливки, массой свыше 100 заливаем с помощью поворотного ковша, емкостью
0,5 т.
Расчет количества одновременно работающих заливочных ковшей вместимостью
1 т проводим по формуле:
Принимаем количество ковшей 3 штук.
Вместимость заливочного ковша определяется максимальной металлоемкостью формы и может быть равна или
кратна ей.
Работающий ковш постепенно выходит из строя из-за механического
разрушения футеровки носка, краев, а также разъедания внутренней футеровки
металлом и шлаком. Поэтому периодически ковш возвращается на перефутеровку или
ремонт.
Расчет числа ковшей, находящихся в ремонте, находят путем логических
рассуждений. Результат расчетов сводим в таблицу 35. [1]
Таблица 35 - Расчет парка ковшей
|
Емкость ковша, кг
|
Число одновременно
работающих ковшей, шт
|
Число ковшей в ремонте, шт
|
Запас ковшей 20%, шт
|
Общее количество ковшей, шт
|
|
1000
|
3
|
6
|
2
|
11
|
|
250
|
4
|
8
|
3
|
15
|
|
Итого
|
10
|
20
|
4
|
26
|
2.4
Проектирование стержневого отделения
Организация работы стержневого отделения и выбор метода изготовления
стержней зависят от характера литья. В стержневом отделении выполняются
операции изготовления, покраски, сушки, зачистки и сборки стержней, их контроль
и комплектовка. На площадях стержневого отделения размещаются каркасный
участок, склады для суточного хранения стержневых ящиков, плит и стержней.
Объем стержневых работ зависит главным образом от сложности отливок, т. е.
количества и массы стержней на 1 т годного литья, а выбор метода изготовления
стержней и оборудования - от серийности номенклатуры.
Разбивка стержней на группы по массе и габариты позволяет определить
объем стержней данной группы и дает возможность свести несколько групп в один
технологический поток для изготовления на одном оборудовании.
В зависимости от общего объема стержней, количества массовых групп и
габаритов стержней в стержневом отделении может размещаться несколько потоков,
на которых изготовляются стержни одной или нескольких массовых групп.. Расчеты
стержневого отделения основываются на данных расчета количества и массы
стержней на 1т годного литья для каждой массовой группы отливок и представлены
в таблице 36 .
2.4.1 Выбор
способа изготовления стержней и оборудования
Для изготовления стержней в серийном производстве прогрессивным является
метод получения стержней из холоднотвердеющей смесей, содержащих в качестве
связующего материала синтетические смолы, которые отверждаются при комнатной
температуре или за счет продувки отвердителем.
Метод "Cold-box-amin-процесс" позволяет получать стержни высокой
прочности, обладающие высокими технологическими свойствами: низкой
газотворностью, хорошей выбиваемостью, длительным сроком хранения.
Сущность процесса
Стержневая смесь для этого процесса приготавливается из сухого песка и
связующего, состоящего из двух компонентов - раствора синтетической смолы и
раствора полиизоцианата. После уплотнения смеси в ящике пескострельным способом
стержень продувается парами низкокипящих третичных аминов в смеси с воздухом. В
результате реакции получается высокоструктурированный, очень стабильный
полиуретан. Реакция полимеризации протекает мгновенно (2 - 10 с). Затем
стержень продувается поздухом для очистки от паров катализатора (10 - 20 с). В
результате протекания реакции отверждения полиуретанового связующего очень
быстро формируется достаточно высокая начальная прочность стержня (50 - 60% от
конечного ее значения).
|
Группы стержней по массе,
кг
|
Группы отливок по массе, кг
|
Годовое количество
стержней, шт
|
Количество гнезд, шт
|
Количество съемов
|
Габариты ящика
|
|
Пределы
|
Средняя величина
|
0-20 (605)
|
20-100 (4216)
|
100-500 (12214)
|
|
|
|
|
|
≤ 1,0
|
0,5
|
41745
|
104346
|
91605
|
237696
|
4
|
59424
|
580 х 580 х 210
|
|
1,0-2,5
|
1,75
|
19058
|
37311
|
82445
|
138813
|
4
|
34703
|
|
|
2,5-6,0
|
4,25
|
13068
|
85374
|
67788
|
166230
|
2
|
83115
|
|
|
6,0-10,0
|
8,0
|
1634
|
32885
|
78780
|
113298
|
2
|
56649
|
|
|
10-16
|
13,0
|
455
|
15810
|
49467
|
65732
|
1
|
65732
|
|
|
16-25
|
20,5
|
455
|
8222
|
27482
|
36158
|
2
|
18079
|
|
|
Итого
|
317702
|
|
|
25-40
|
32,5
|
363
|
17708
|
49467
|
67538
|
2
|
33769
|
1600 х 1180 х 570
|
|
40-60
|
50,0
|
|
3794
|
38474
|
42267
|
1
|
42267
|
|
|
60-100
|
80,0
|
|
2531
|
27482
|
30012
|
1
|
30012
|
|
|
100-250
|
175
|
|
|
18321
|
18321
|
1
|
18321
|
|
|
250-600
|
425
|
|
|
5499
|
5499
|
1
|
5499
|
|
|
Итого
|
147947
|
|
.4.2 Расчет количества стержневого оборудования
Таблица 36 - Производственная программа цеха для стержневого отделения
Таблица 36 - Техническая характеристика пескодувных машин 4752Б2К1 и
4760Б2К1
|
Наименование
|
Значение
|
|
Максимальная масса стержня,
кг
|
25
|
150
|
|
Размер стержневого ящика,
мм
|
580Ч580Ч210
|
1600Ч1180Ч570
|
|
Производительность,
съемов/час
|
50
|
30
|
|
Способ изготовления
стержней
|
Пескодувный с отверждением
в ящике продувкой газообразным катализатором
|
|
Тип привода
|
пневматический
|
|
|
Установленная мощность, кВт
|
11
|
19
|
|
Разъем стержневого ящика
|
горизонтальный
|
горизонтальный
|
|
Габаритные размеры машины,
мм
|
5800Ч4500Ч3200
|
5720Ч5900Ч3925
|
|
Масса машины, кг
|
9000
|
17500
|
Все модели стержневых машин оснащены системами:
лаколизации отработанной токсичной амино-воздушной смеси;
обеспечения быстрого съема и установки надувной плиты и стержневого ящика
на машину;
управление работой машины с использованием программируемых контроллеров.
Рисунок 4 - Конструктивная схема стержневой машины
- выталкиватель; 2 - механизм перемещения нижней части стержневого ящика,
3 - механизм крепления и перемещения боковых частей оснастки; 4 - продувочная
плита; 5 - пескострельная плита; 6 - механизм крепления и перемещения верхней
части стержневого ящика; 7 - несущие колонны; 8 - подвижный стол-основание
Устанавливаем
три стержневые машины 4752Б2К1 и находим действительный коэффициент загрузки:
Устанавливаем
две стержневые машины 4760Б2К1 и находим действительный коэффициент загрузки:
2.4.3 Расчет
площадей стержневого отделения
В цехах с высокой механизацией площадь стержневого отделения определяется
планировкой оборудования, рабочих мест, установкой транспорта, складских
помещений, проездов и проходов.
Нормы размеров пролета стержневого отделения выбираются в соответствие с
нормами проектирования :
·
ширина пролета:
24м,
·
шаг колонн: 6м,
12м.
Площадь стержневого отделения принимаем равной 324 м2
2.5
Смесеприготовительное отделение
.5.1 Выбор
материала
Производительность, надежность работы, качество отливок, получаемых на
автоматических формовочных линиях, зависят от технологических свойств
формовочной смеси и их стабильности. Автоматические формовочные линии имеют
высокую производительность, поэтому кратность использования смеси в единицу
времени резко возрастает: смесь работает в более напряженном интенсивном
режиме, чем в машинной формовке. Все это обуславливает необходимость
использования смеси с высокими и стабильными технологическими свойствами:
текучестью, прочностью, газопроницаемостью. Поэтому будем использовать единые
песчано-глинистые формовочные смеси для изготовления разовых песчано-глинистых
форм, это смеси полностью занимающие при формовке весь объем литейной формы.
Состав смеси приведен в таблице 37.
Таблица 37 - Состав и свойства формовочной смеси
|
Смесь и способ
формообразования
|
Отливки
|
Состав формовочных смесей,
масс, %
|
Физико-механические
свойства смеси
|
|
|
Оборотная смесь
|
Кварцевый песок
|
Глиняныйсвязую- щий
материал
|
Противопригарный материал
|
Прочность при сжатии, МПа
|
Влажность, %
|
Газопроницаемость, ед.
|
Содержание активной глины,
%
|
|
Для формовки импульсным
способом
|
Мелкие
|
93- -94
|
6-7
|
0,5- -0,1*
|
0,5-1,0
|
0,05- -0,07
|
4,0- -5,0
|
90- -100
|
4-5
|
* - каолиновая глина
Определение расхода смесей
Имея годового расход формовочной смеси, рассчитываем расход компонентов
по таблице с учетом потерь при транспортировке и в процессе формообразования.
Итоги используем в расчетах складов и смесеприготовительного оборудования.
Таблица 38 - Расход формовочной смеси
|
Характеристика литья
|
Вес литья, в кг
|
Расход смеси на 1 т
|
Количество отливок, т
|
Общий расход с учетом
потерь (50%)
|
|
Мелкое
|
5-10
|
5,5
|
99
|
816,75
|
|
Среднее
|
10-50 50-100 100-500
|
4,8 4,5 4,0
|
3375 3097,5 11433
|
24300 20908 68598
|
|
Итого
|
|
|
|
114623
|
Выбор материала для производства стержней
Для изготовления стержней применяется холоднотвердеющая смесь Cold-box-amin-процесс
Состав стержневой смеси приведен в таблице 39.
Общий годовой расход единой формовочных смесей определяем исходя из
массовой группы. Эти данные приведены в таблице 40.
Таблица 39 - Состав и свойства холоднотвердеющей смеси Cold-box-amin-процесс
|
Наименование смеси
|
Количество, % по массе
|
|
Кварцевого песка
|
Смола БС 40 (жидкое
состояние);
|
Полиизоциа нат (жидкое
состояние)
|
Амин (газообраз ное
состояние)
|
|
ХТС
|
100
|
0,4-0,6
|
0,4-0,6
|
0,05-2
|
Расход стержневой смеси составленной по основным компонентам представлен
в таблице 23.
Таблица 40 - Годовой расход стержневой смеси
|
Группы стержней по массе,
кг
|
Группы отливок по массе, кг
|
Годовое количество
стержней, шт
|
Масса смеси с учетом потерь
(20%), т
|
|
0-20
|
20-100
|
100-500
|
|
|
|
|
|
|
|
|
|
0,5
|
41745
|
104346
|
91605
|
237696
|
142,6
|
|
1,75
|
19058
|
37311
|
82445
|
138813
|
291,5
|
|
4,25
|
13068
|
85374
|
67788
|
166230
|
847,8
|
|
8
|
1634
|
32885
|
78780
|
113298
|
1087,7
|
|
13
|
455
|
15810
|
49467
|
65732
|
1025,4
|
|
20,5
|
455
|
8222
|
27482
|
36158
|
889,5
|
|
32,5
|
363
|
17708
|
49467
|
67538
|
2634,0
|
|
50
|
|
3794
|
38474
|
42267
|
2536,0
|
|
80
|
|
2531
|
27482
|
30012
|
2881,2
|
|
175
|
|
|
18321
|
18321
|
3847,4
|
|
425
|
|
|
5499
|
5499
|
2804,5
|
|
Итого
|
18987,5
|
2.5.2 Выбор
оборудования для производства смесей
Процесс приготовления смеси состоит из дозирования всех компонентов
смеси, включая жидкие связующие и воду, загрузки их в бегуны в определенной
последовательности, перемешивания для обеспечения однородности и заданных
свойств готовых смесей.
Основным компонентом глинистых формовочных смесей является оборотная смесь,
а стержневых - кварцевый песок. Смесеприготовительное отделение выпускает
только один вид смеси, но имеется возможность менять ее состав. Для единой
формовочной смеси в отделении установлен вихревой смеситель модели S1420D в составе автоматизированного смесеприготовительного
комплекса. Предназначен для работы в цехах с серийным и массовым характером
производства и оснащены вихревым смесителем, комплектом дозаторов компонентов
смеси, комплектом приборов автоматического контроля свойств смеси, программным
обеспечением обеспечивающим работу комплекса в автоматическом и наладочном
режиме, сбор и учет статистических параметров приготовленной смеси.
Вихревое смешивание отличается высокими линейными и вращательными
скоростями движения частиц наполнителя. Распределение связующего в объеме смеси
и по поверхности зерен наполнителя происходит под воздействием высоких
динамических энергий создаваемых вихревой головкой.
Интенсивное разнонаправленное поступательно-вращательное движение всей
смеси, ее микрообъемов и каждой отдельной частицы обеспечивает получение
высококачественной смеси, отличающейся высокой степенью гомогенности и
безупречным покрытием каждого зерна. Высокие скорости движения зерен и
непрерывное соударение частиц приводит к так называемой механической активации
связующего комплекса, обеспечивая тем самым повышение прочностных характеристик
смеси.
Непрерывная аэрация смеси во время перемешивания улучшает ее формуемость
и уплотняемость, позволяет готовить высокопрочные смеси до 2 МПа практически
при сохранении производительности смесителя.
Устанавливаем смеситель вихревой китайского производства модели S1420D периодического действия.
Таблица 41 - Характеристика смесителя модели S1420D
|
Производительность, т/час
|
30
|
|
Тип смесителя
|
Вихревой
|
|
Мощность головки, кВт
|
2 Ч 18,5
|
|
Установленная мощность, кВт
|
37
|
|
Режим работы
|
Наладочный, автоматический
|
|
Тип приготавливаемой смеси
|
Формовочная
песчано-глинистая
|
|
Диаметр чаши, мм
|
2000
|
|
Масса, кг
|
7000
|
Для приготовления стержневой смеси будем использовать смеситель фирмы
"Laempe". Смеситель состоит из трех
основных узлов: чаши, смешивающего элемента и узла очистки смесителя.
Таблица 42 - Характеристика смесителя модели LM 9.2
|
Производительность, т/час
|
9,2
|
|
Тип смесителя
|
Лопастной периодического
действия
|
|
Мощность головки, кВт
|
2 Ч 18,5
|
|
Установленная мощность, кВт
|
37
|
|
Режим работы
|
Наладочный, автоматический
|
|
Тип приготавливаемой смеси
|
Формовочная
песчано-глинистая
|
|
Диаметр чаши, мм
|
2000
|
|
Масса, кг
|
7000
|
2.5.3 Расчет
необходимого количества оборудования
Количество
смесителей для ПГС
Устанавливаем два смесителя вихревых для ПГС и находим коэффициент
загрузки:
Количество смесителей для стержневой смеси
+
Устанавливаем один смеситель для приготовления стержневой смеси и находим
коэффициент загрузки:
.5.4 Расчет систем механической
регенерации
Система регенерации выбираем механическую 14315.
Смесь от участка выбивки до участка регенерации доставляется ленточным
транспортером.
Технические характеристики систем механической регенерации 14315
представлена в таблице 25.
Таблица 43 - Техническая характеристика систем механической
регенерации 14315
|
Производительность по
переработке используемой смеси, т/ч
|
60
|
|
Расход электроэнергии,
кВт/ч
|
1100
|
|
Количество, тыс. м3/ч:
отсасывающего воздуха воды находящейся в обороте
|
290 84
|
Расчет систем
механической регенерации 14315 производится по формуле:
Округляя полученное число систем регенерации до целого N=1, находим действительный
коэффициент загрузки оборудования:
Принимаем к установке в смесеприготовительном отделении одну систему
механической регенерации 14315.
2.5.5
Определение площадей смесеприготовительного отделения
Площадь смесеприготовительного отделения определяется с учетом
проходов, проездов, рабочих мест, на этой же площади размещаем
экспресс-лабораторию для контроля качества формовочных и стержневых смесей.
Общая площадь смесеприготовительного отделения составляет 216 м2.
2.6
Проектирование отделения очистки, обрубки, термообработки и сдачи литья
2.6.1 Расчет
необходимого оборудования
Отливки, выбитые из литейных форм, проходят определенный по длительности
цикл охлаждения, после чего их передают в термообрубное отделение, где путем
проведения ряда операций улучшают их физико-механические свойства и придают им
товарный вид. Технологический процесс обработки отливок, характеризуемый
числом, последовательностью и особенностями выполнения операций, устанавливают
с учетом принятого для производства отливок литейного сплава, их габаритных
размеров, массы и конфигурации.
Типовой технологический процесс обработки большей части отливок включает
операции: отбивку литниковой системы и элементов питания отливок при их выбивке
из формы; охлаждение; очистку и удаление из внутренних полостей стержней;
обрубку и зачистку; исправление дефектов; термообработку; промывку, грунтовку и
сушку; контроль и передачу отливок на склад.
Отливки в обрубном отделении цеха проходят обработку в следующем порядке:
предварительная очистка, обрезка и отбивка прибылей, выпоров, термическая
обработка, очистка поверхности, разметка и исправление дефектов.
Очистка отливок будет производиться в дробеметных барабанах
периодического действия.
Таблица 44 - Техническая характеристика очистных барабанов периодического
действия
|
Техническая характеристика
|
42233
|
42236
|
|
Назначение
|
Выбивка, очистка
|
Выбивка, очистка
|
|
Объем загрузки, м3
|
0.3
|
1.2
|
|
Наибольшая масса загрузки
барабана, кг
|
800
|
3000
|
|
Производительность т/ч
|
4,8
|
9,5
|
|
Наибольшая масса очищаемого
изделия, кг
|
100
|
500
|
|
Наибольшая объемная
диагональ очищаемого изделия, мм.
|
700
|
700
|
|
Масса дроби, выбрасываемая
дробеметными аппаратами, кг/мин
|
270
|
800
|
|
Объем отсасываемого
воздуха, м3/час
|
12400
|
18200
|
|
Габариты, мм: - длина (L) -
ширина (В) - высота общая (Н) -заглубление
|
4900 4200 4750 -
|
6000 7000 6000 -
|
Расчет количества барабанов 42233:
Округляя полученное число до целого N=1, находим действительный коэффициент загрузки оборудования:
Принимаем 1 очистной дробеметный барабан периодического действия модели
42233.
Расчет количества барабанов 42236:
Округляя полученное число до целого N=1, находим действительный коэффициент загрузки оборудования:
Остатки от литников, выпоров, вырубка дефектов для заварки,
технологических ребер в отливках из стали выполняют пневматическими рубильными
молотками с зубилами (модели МР-4, МР-5, МР-6) или воздушно-дуговой резкой,
либо при помощи механических резных инструментов типа "болгарки".
Для зачистки отливок от заусенцев, заливов, перекосов и неровностей, а
также поверхностей отливок (ужимин, пригаров, мест заварки и т.д.) применяют
абразивный механизированный инструмент, подвесные станки.
В качестве зачистных станков используются обдирочно-шлифовальные станки
модели 3374К.
Далее очистка отливок осуществляется в очистных дробеметных барабанах.
Техническая характеристика барабана приведена в таблице 27.
Следующая технологическая операция - термообработка отливок. Основной
целью термообработки является снятие внутренних напряжений и улучшение
обрабатываемости отливок при обработке резанием, придание металлу определенной
структуры и физико-механических свойств. При проектировании термообрубных
отделений сталелитейных цехов операции и режимы термообработки назначают с
учетом требований к качеству получаемых отливок согласно техническим условиям.
Установим печи термические с выкатным подом и газовым нагревом компании
"Керамаш"
Особенности печей:
минимальные затраты газа и электроэнергии на термообработку;
автоматизация процесса термообработки и нагрева;
полное соответствие печей всем требованиям промышленной безопасности РФ;
низкие затраты на техническое обслуживание.
Таблица
45 - Техническая характеристика камерной термической печи с выкатным подом
модели Термогаз <#"809642.files/image062.gif">
где m - садка печи, т;- продолжительсность цикла обработки отливок, ч.
Расчет количества печей для термообработки
Количество печей принимаем равное двум.
2.6.2 Определение площади термообрубного отделения
Площадь очистного отделения определяется наличием оборудования, рабочих
мест, расположением транспортных средств, проездов и проходов и принимаем 432 м2.
2.7 Складское
хозяйство
Все формовочные и шихтовые материалы, хранятся в закрытых помещениях
(формовочные материалы при температуре не ниже +5оС), помещения для
хранения шихтовых материалов не отапливаются.
Формовочные пески хранятся в железобетонных закромах, заглубленных в
землю на 2,5 м. Глина хранится в металлических ёмкостях.
Формовочные материалы хранятся на складе 3 месяца в закромах площадью:
170м2 для песка, 62,25 м2 для глины.
Сталь и лом хранятся на площадках, отходы стальных сплавов хранятся в
металлических закрывающихся бункерах.
Огнеупоры хранятся в закрытых холодных контейнерах, пакетах или штабелях
на мощенных площадках.
Для сушки песка и глины на складе предусматривается участок,
оборудованный барабанным сушилом. Основное топливо природный газ. Барабанное
сушило выполнено с параллельным попутным движением топочных газов и
просушиваемого материала. Горячие газы соприкасаются с более влажным песком и
поэтому зерна песка и глинистые составляющие будут защищены от перегрева.
Таблица 46 - Характеристика барабанного сушила
|
Диаметр барабанна,м
|
1,6
|
|
Производительность по
песку, при начальной влажности 10%, конечной влажности 0,5 т/ч
|
7-18
|
|
Длина корпуса барабана, мм
|
6000-14000
|
|
Угол наклона корпуса
барабана к горизонту, град
|
1-4
|
|
Частота вращения барабана,
об/мин.
|
3,14/4,15/6,2
|
|
Мощность двигателя, кВт
|
8-17
|
|
Объем корпуса барабана, м3
|
12,06-28,15
|
|
Масса, кг
|
9650-15850
|
|
Материал корпуса барабана
|
Сталь 09Г2С, толщина 8-10
мм
|
|
Привод вращения
|
Цевочное колесо, вальный
привод
|
Таблица 30 - Характеристика электровесовой тележки
|
Показатели
|
Тип тележки
|
|
71ЭВТ-3
|
Предельная
нагрузка, тс Габариты, мм Размер площадки, мм 3 5000
2000
|
2000
|
Таблица 31- характеристика полигонального сита модели 174М
|
Производительность, м3/ч
|
Размеры отверстий полотна
сита, мм
|
Габаритные размеры, мм
|
Вес, т
|
Установленная мощность, кВт
|
|
10
|
3-20
|
2430 1150 11800,801,5
|
|
|
.8 Взаимосвязь проектируемого цеха по отделениям
Шихтовые материалы подаются в цех железнодорожным путем.
Снабжение цеха формовочными материалами осуществляется с базисного склада
системой пневмотранспорта и ленточным конвейером.
Готовые отливки передаточной тележкой доставляются в обрубной цех, а
отходы производства поступают на шихтовый двор и в систему регенерации. Готовые
стержни доставляются в формовочное отделение с помощью подвесного конвейера.
3. Анализ конструкции детали и требования к ней
.1 Характеристика детали, её назначение и условия эксплуатации
В
дипломном проекте рассматривается технология изготовления отливки
"Крышка". Масса отливки с литниками и прибылями составляет 12,5 кг.
Преобладающая толщина стенки составляет 19 мм. Габаритные размеры 240
240 мм.
Отливка
ответственного назначения с серийным производством, имеет много выступающих и
тонких частей, поэтому некоторые части не будут сформированы при обычной
формовке в разовые песчано-глинистые формы, так же отливка имеет небольшой вес
и размеры.
Получение
конструируемой отливки будем производить литьем в песчано-глинистые формы, так
как данный способ является одним из наиболее эффективных способов
формообразования отливки.
Отливка
будет изготавливаться из сплава марки 20Х5МЛ. Расчет шихты для данной марки сплава
произведен ранее. Для отливок из жаропрочной стали 20Х5МЛ литейная усадка равна
1 % по ГОСТ 1412-85.
3.2 Определение припусков на механическую обработку
Величины припусков назначаются по ГОСТу и зависят от марки
сплава, класса точности, наибольшего габаритного и номинального размеров
отливки. А также от положения обрабатываемой поверхности при заливке.
Мелкие отливки, изготовляемые в серийном производстве на
машинах по металлическим моделям, обычно относят к I классу точности, средние
отливки, изготовляемые в серийном производстве на машинах по металлическим
моделям - ко II классу, а отливки, изготовляемые на машинах и вручную по
деревянным моделям, - к III классу точности.
Наибольшим линейным размером детали является обычно длина.
Номинальным размером, по которому определяют величину припуска, будет
наибольшее расстояние между противоположными обрабатываемыми поверхностями или
от оси детали до обрабатываемой поверхности.
При назначении припусков берут наибольший из номинальных
размеров детали и выбранный для него припуск принимают для всех остальных
размеров. Наибольшие припуски назначают на верхние поверхности. Чтобы выполнить
формовочный уклон на вертикальных поверхностях (в положении при формовке),
припуски на эти поверхности могут быть увеличены.
Основные припуски на механическую обработку назначают в
зависимости от допусков размеров дифференцированно для каждого элемента отливки
в соответствии с ГОСТ 26645-85:
- группа сложности отливки - 1;
максимальный размер отливки - 240 мм;
способ литья - литье в песано-глинистые формы ;
вид сплава - 20Х5МЛ.
Исходя из выше перечисленных показателей класс точности
отливки - 13т-7-2-5 (где 13т - класс точности размеров отливки, 7 - класс
точности массы, 2 - степень коробления, 5- ряд припусков на механическую
обработку, верхние предельные отклонения массы отливок - 16%, основные припуски
на механическую обработку отливки - 9-12 мм).
3.3 Обоснование положения деталей в форме при заливке
Основной задачей при выборе положения отливки во время заливки,
заключается в получении наиболее ответственных ее поверхностей без литейных
дефектов. При выборе положения отливки в форме руководствуемся следующими
рекомендациями:
·
учитываем принцип
затвердевания отливки: отливку располагаем массивными частями вверх, и
устанавливаем над ними прибыли;
·
основные
обрабатываемые поверхности и наиболее ответственные части отливки располагаем
вертикально;
·
данное положение
обеспечивает надежное удержание стержней в форме во время заливки, имеется
возможность проверки толщины стенок отливки при сборке формы;
·
тонкие стенки
расположены снизу и вертикально по заливке, что благоприятно при заливке стали,
путь металла к тонким частям самый короткий.
.4 Обеспечение питания отливки
Из теории литейных процессов известно, что объемные изменения,
происходящие при затвердевании сплава (усадка сплава), могут привести к
образованию объемных усадочных дефектов в отливках. Для того чтобы избежать их
возникновение, необходимо обеспечить компенсацию объемной усадки во всех
участках отливки путем беспрепятственной доставки к ним необходимых объемов
жидкого металла из прибыли. Процесс компенсации объемной усадки называется
питанием отливки.
Для осуществления эффективного питания отливки необходимо обеспечить
направленное к прибыли затвердевание отливки, при этом должны выполняться два
условия:
по мере приближения к прибыли продолжительность затвердевания сечений
отливки должна монотонно увеличиваться;
сплав в прибыли должен затвердевать последним.
В тех элементах отливки, где нарушается направленность затвердевания,
возникают усадочные дефекты.
.5 Определение
узлов питания отливки и количества прибылей
Для определения количества прибылей и мест их установки
необходимо выделить в конструкции отливки все участки, изолированные друг от
друга в конце их затвердевания.
Принцип направленного затвердевания выполняется во всех
частях данной отливки.
Для питания отливки выделим четыре прибыли, которые будут
устанавливаться в самых массивных частях отливки. Устанавливаем прибыль с
атмосферным давлением в усадочной раковине. Так как у нас все четыре прибыли одинаковые,то
расчет прибылей будем производить для прибыли.
.6 Конструирование
и расчет прибылей
Прибыль - это часть литниково-питающей системы,
предназначенная для устранения в отливке усадочной раковины и пористости.
Эффективная работа прибыли обеспечивается при соблюдении
следующих условий:
прибыль должна затвердевать после отливки или питаемого
термического узла;
запас жидкого металла в прибыли должен быть достаточным для
питания отливки во время ее затвердевания;
форма прибыли и ее расположение должны обеспечивать свободный
доступ жидкого металла к отливке или питаемому узлу;
размеры и масса прибыли должны быть минимальными.
На основании данных производственной программы рассчитаем массу прибылей:

.
Так как у нас 1 прибыль, то масса одной прибыли составляет 4,368 кг.
Зная массу прибыли, можно найти её объем:

= 
= 
м3.
Зная
высоту подмодельной плиты, высоту знаковых частей стержней, получаем что высота
прибылей = 85 мм.
3.7 Определение выхода годного
Коэффициент выхода годного показывает сколько металла,
заливаемого в форму, приходится непосредственно на отливку. Выход годного
рассчитывается по формуле:
ВГ = 
ВГ=64%
где Gотл - масса отливки, кг;
Gприб.
- масса прибылей,
приходящаяся на одну отливку, кг;
Gл.с.
- масса литниковой системы,
приходящаяся на одну отливку, кг.
Gотл
= 
кг
где 2,4%-верхний предел отклонения, 12,5
кг - масса отливки.
Таким образом, подставив полученные данные в исходное уравнение,
коэффициент выхода годного для нашей отливки составит: ВГ = 64 %.
3.8 Обоснование принятого типа литниковой системы и способа заливки
сплава в форму
Заполнение форм сплавом является первым этапом формирования отливки.
Несмотря на свою относительною кратковременность, заполнение формы в
значительное мере определяет качество отливки. Подавляющее большинство
технологического брака в литейном производстве связано с неправильной
организацией отливки.
Литниковая система - это система каналов и элементов литейной формы,
предназначенная для подвода металла к полости формы, ее заполнения и питания
отливки.
Литниковая воронка - это металлоприемник, предназначенный для направления
потока жидкого алюминия в стояк.
Стояк - это вертикальный канал, соединяющий литниковую воронку со
шлакоуловителем.
Бобышка - специальная установка полостей, служащая для улучшения питания
отливки и улавливания шлака.
Питатели - литниковые каналы, подводящие металл непосредственно в полость
формы.
Для обеспечения качественного заполнения формы сплавом литниковая система
должна удовлетворять следующим требованиям:
обеспечивать заполнение формы за некоторое оптимальное время;
создавать возможность надежного улавливания шлака, неметаллических и
газовых включений;
способствовать плавному поступлению сплава в полость формы без
разбрызгивания и размывания поверхностей формы и стержней;
создавать тепловые условия, благоприятствующие направленному
затвердеванию отливки и снижению развивающихся в ней литейных напряжений.
Одной из важнейших функций литниковой системы является заполнение формы с
заданной скоростью: при очень большой скорости заливки происходит размыв стенок
формы и каналов самой литниковой системы, а при слишком медленной заливке -
значительное охлаждение металла и образование спаев, недоливов.
.9 Расчет оптимальной продолжительности заливки и площадей сечений
литниковых каналов
Рассчитаем литниковую систему для стальной отливки "Крышка"
массой 12,5 кг. Масса прибылей 4,37 кг; преобладающая толщина стенок 19 мм.
Заливка формы намечается из ручного ковша емкостью 0,25 т. Отливка заливается
из жаропрочной стали, марки 20Х5МЛ, температура заливки 1320 оС. Из
одного ковша заливается одна форма, заливка осуществляется без торможения
струи. Высота отливки 82 мм.
Из производственной программы получаем, что масса жидкого металла,
заливаемого в форму, равна 12,738 кг.
Рассчитаем оптимальную продолжительность отливки по формуле Г. М.
Дубицкого:

,
где S1 - коэффициент продолжительности заливки (в
соответствии с данными Г. М. Дубицкого, для серого чугуна примем S1 = 1,4);
G -
масса жидкого металла, заливаемого в форму, кг;
δ - преобладающая толщина стенки
отливки, мм (для нашей отливки δ = 19 мм).
Находим значение оптимальной продолжительности заливки:
В
качестве узкого места литниковой системы, определяющего скорость заливки формы,
обеспечиваемую системой при литье чугуна принимаем суммарное сечение питателей. Расчет площади
сечения узкого места системы 
, обеспечивающей
заданную оптимальную продолжительность заливки формы, определяем по формуле:
где

;

масса
жидкого металла, заливаемого в форму;

коэффициент
расхода литниковой системы, учитывающий потери напора на гидравлических
сопротивлениях, 
;

средний
расчетный напор:

, 
Площади сечений стояка и коллектора определяем с учетом соотношений:

=1:1,2:1,4;

=1,4
, 

=2,23 см2,
Так
как у нас два питателя, то площадь одного питателя = 1,15 см2.

1,2∙2,23
= 2,67 см2;

см2;

, 1,8 = 
;

= 0,8 см
= 8 мм;

;

;
Высота
воронки =
, т.е. Н
= 8 см;

2 .
.10 Определение количества стержней и их размеров
Для изготовления данной отливки будем использовать один горизонтальный
стержень: для оформления центральных отверстий в отливке.
Размеры стержня №1:
Длина стержня - 14 см;
Диаметр стержня - 5,5 см;
Длина знака - 0,5 мм;
Размер стержня №2:
Длина стержня - 4 см;
Диаметр стержня - 3 см;
Длина знака - 0,5 мм;
3.11 Возможные дефекты и методы их устранения
Сложный многофакторный характер литейного производства предопределяет
возникновение в отливках различных дефектов. Дефекты, которые возможны для
отливки приведены ниже.
1. Дефекты несоответствия по геометрии:
Недолив - дефект в виде неполного образования отливки вследствие не
заполнения полости литейной формы металлом при заливке из-за недостаточного
количества жидкого металла, низкой температуры заливки, недостаточной скорости
заливки;
- Стержневой перекос - дефект в виде смещения отверстия, полости или
части отливки, выполняемых с помощью стержня, вследствие его перекоса или
неправильной установки;
Коробление - дефект в виде искажения конфигурации отливки под влиянием
напряжений, возникающий при охлаждении, а также неправильно изготовленной
модели.
. Дефекты поверхности:
Пригар - дефект в виде трудно отделяемого специфического слоя на
поверхности отливки, образовавшегося вследствие физического и химического
взаимодействия формовочного материала с металлом или его оксидами;
Засор - дефект в виде кусочка формовочного материала, захваченного
потоком жидкого металла и внедрившегося в поверхностные слои отливки.
. Несплошности в теле отливки:
Горячая трещина - дефект в виде разрыва или надрыва тела отливки
усадочного происхождения, возникающая в интервале температур затвердевания.
Поверхность трещины окисленная и неровная;
Холодная трещина - дефект в виде разрыва тела затвердевшей отливки
вследствие внутренних напряжений или механического воздействия. В вершине
трещины сконцентрированы напряжения, поэтому при ударе трещина может
распространиться в глубь тела отливки. Перед проведением вырубки под заварку
необходимо перед вершиной трещины засверлить отверстие. В отличие от горячей
трещины поверхность холодной трещины светлая и сравнительно гладкая;
Усадочная раковина - дефект в виде открытой или закрытой полости грубой
шероховатости, иногда с окисленной поверхностью, образовавшейся вследствие
усадки затвердевающего метала;
Усадочная пористость - дефект в виде мелких пор, образовавшихся
вследствие усадки металла во время его затвердевания при недостаточном питании
отливки;
Залитый шлак - дефект в виде частичного заполнения литейной формы шлаком;
Газовая пористость - дефект в виде мелких пор, образовавшихся в отливке в
результате выделения газов из металла при его затвердевании.
Меры предупреждения образования дефектов:
контроль температуры заливки стали (температура заливки должна быть не
меньше 1420оС) - предупреждает образования недолива, спая;
контроль чистоты и целостности формы, прочности уплотненной смеси формы
(предупреждение ужимин, наростов, засоров, просечек и т. д.);
контроль правильности установки стержня - для избежания стержневого
перекоса;
контроль крепления формы - для предупреждения заливов.
Способы исправления дефектов:
1. Дуговая сварка - исправляют сквозные дефекты стенок отливки, дефекты
обрабатываемых поверхностей, работающих на трение и износ, после механической
обработки - исправляют дефекты любых поверхностей. При дуговой сварке объем
раковины заполняют наплавленным металлом (должен быть близким по химическому
составу к материалу отливки). Наплавляемый металл поддерживают некоторое время
в жидком состоянии, чтобы выровнять химический состав и удалить неметаллические
включения.
Наплавка металла - однослойная или многослойная валиками, по
необходимости с подчеканкой.
2. Газопламенная наплавка - применяют для исправления тех же дефектов,
что и в предыдущем способе. В качестве горючего газа используют ацетилен,
природный газ, пропан-бутан.
3. Сварка-пайка - выполняют с предварительным местным нагревом
поверхности отливки до 300-400оС или без нагрева. Дефектное место
отливки тщательно разделывают до пологого удаления пораженного слоя металл.
Заварное место засыпают сухой землей или накрывают асбестом, чтобы снизить
скорость охлаждения. Данным способом исправляют отдельно расположенные раковины
небольших размеров на обрабатываемых поверхностях отливки, а также раковины
средних размеров отливок несложной конфигурации.
. Заделка раковин пробками - раковину рассверливают до минимально
допустимого размера, нарезают в отверстие резьбу и ввертывают металлическую
вставку, которую заваривают или чеканят. Затем обрабатывают вставку заподлицо с
телом отливки. Таким способом исправляют отдельно расположенные раковины мелких
размеров.
4.
Экономическое обоснование литейного производства
.1 Управление персоналом
Управление персоналом включает в себя реализацию следующих мероприятий:
разработка квалификационной структуры кадров;
распределение работающих по участкам и обслуживаемому оборудованию;
определение численности и состава, работающих по категориям;
оптимизация режима труда;
формирование системы оплаты труда и планирование фонда заработной платы;
разработка системы стимулирования трудовой деятельности;
- обеспечение условий труда, отдыха и быта;
оценка персонала;
обучение и переподготовка кадров;
отбор и продвижение кадров, организация маркетинга персонала;
оценка эффективности труда;
обеспечение участия рабочих и служащих в управлении
предприятием.
Система управления персоналом и служащих в управлении
предприятия включает в себя следующие подсистемы:
- планирования, прогнозирования и маркетинга персонала;
оформления и учета кадров;
развития кадров;
трудовых отношений.
4.2
Проектирование численного и квалификационного состава работающих
Потребность предприятия в персонале должна планироваться по группам и
категориям. Количественная характеристика персонала предприятия измеряется
такими показателями ка списочная, среднесписочная и явочная численность работников.
Списочный состав отражает движение численности всех работников, постоянных и
временных, прием на работу и увольнение с работы и др.
При планировании определяем качественный (квалификационный) и
количественный состав основных и вспомогательных рабочих. При определении
квалификации рабочего необходимо руководствоваться видом анализа и развитием
средств стимулирования труда; обслуживаемого оборудования, сложностью
выполнения работ и квалификационными справочниками.
Различают списочную и явочную численность рабочих, фактически участвующих
в производственном процессе. Списочная численность рабочих включает всех
постоянных и временных рабочих, имеющих трудовые договорные отношения с предприятием.
Расчет численности рабочих выполняем по формуле:
Nai=Hi·Ai·Ci,
где Hi - норма обслуживания оборудования в
смену, чел.;
Ai - количество одновременно работающих однотипных агрегатов, шт.;
Ci - число смен в сутки.
Списочное число работающих определим по формуле:
Nсп.i = Hi ·Kсп,
где Ксп - коэффициент списочного состава,
Ксп
= 
,
где
Тн - номинальный фонд времени, сут.;
Тд
- действительный фонд времени, сут.
Величины
Тн и Тд определяются на основе баланса рабочего времени
одного трудящегося по формуле:
Тн
= (365 - В - П - Пп) 8 + Пп 7,
где
В - число выходных дней;
П
- число праздничных дней;
Пп
- число предпраздничных дней.
Действительный
фонд рабочего времени равен:
Тд=Тн
- Н,
где
Н - планируемые невыходы на работу (отпуска, невыходы по болезни, по выполнению
государственных обязанностей, учебные отпуска).
Баланс
рабочего времени основных рабочих представлен в таблице 46.
Таблица 46 - Баланс рабочего времени основных рабочих
|
Статья баланса
|
Фонд времени
|
|
сутки
|
часы
|
|
Календарный фонд времени
|
365
|
2920
|
|
Выходные дни
|
104
|
-
|
|
Праздничные дни
|
9
|
-
|
|
Предпраздничные дни
|
8
|
-
|
|
Номинальный фонд времени
|
251
|
2008
|
|
Плановые невыходы на работу
|
38
|
304
|
|
В том числе:
|
|
|
|
основной и дополнительный
отпуск
|
33(29)
|
-
|
|
по болезни
|
7
|
-
|
|
выполнение государственных
обязанностей
|
1
|
-
|
|
отпуск учащихся
|
1
|
-
|
|
Действительный фонд времени
|
213
|
1704
|
|
Коэффициент списочного
состава. Ко,
|
1,18
|
|
Баланс рабочего времени вспомогательных рабочих представлен в таблице 47.
Таблица 47 - Баланс рабочего времени вспомогательных рабочих
|
Статья баланса
|
Фонд времени
|
|
сутки
|
часы
|
|
Календарный фонд времени
|
365
|
2920
|
|
Выходные дни
|
104
|
-
|
|
Праздничные дни
|
9
|
-
|
|
Предпраздничные дни
|
8
|
-
|
|
Номинальный фонд времени
|
251
|
2008
|
|
Плановые выходные на работу
|
34
|
272
|
|
основной и дополнительный
отпуск
|
30 (25)
|
-
|
|
по болезни
|
7
|
-
|
|
выполнение государственных
обязанностей
|
1
|
-
|
|
отпуск учащихся
|
1
|
-
|
|
Действительный фонд времени
|
217
|
1736
|
|
Коэффициент списочного
состава Ксп
|
1,16
|
-
|
С учетом данных баланса рабочего времени рабочих выполняем расчет
численности рабочих, который сводим в таблице 48.
Таблица 48 - Списочный состав рабочих
|
Наименование
отделений и профессий
|
Тарифный разряд
|
Число смен в
сутки
|
Норма
обслуживания
|
Количество
агрегатов
|
Количество
рабочих
|
|
|
|
|
|
В смену
|
В сутки
|
Списочное
|
Ксп
|
|
1
|
2
|
3
|
4
|
5
|
6
|
7
|
8
|
9
|
|
I. Плавильное
отделение
|
|
|
|
|
|
|
|
1,16
|
|
1. Плавильщик
|
5
|
2
|
1
|
4
|
4
|
8
|
9
|
|
|
2. Подручный
|
5
|
2
|
1
|
4
|
4
|
8
|
9
|
|
|
3. Завальщик
|
3
|
2
|
0,33
|
2
|
1
|
1
|
2
|
|
|
4. Шихтовщик
|
4
|
2
|
0,33
|
2
|
1
|
1
|
2
|
|
|
5. Заливщик
|
5
|
2
|
1
|
7
|
7
|
14
|
16
|
|
|
Итого
|
|
|
|
|
|
33
|
38
|
|
|
II. Формовочное
отделение
|
|
|
|
|
|
|
|
1,16
|
|
1. Формовщик машинной
формовки
|
5
|
2
|
2
|
3
|
6
|
12
|
14
|
|
|
Сборщик форм
|
4
|
2
|
2
|
2
|
4
|
8
|
9
|
|
|
Оператор
|
4
|
2
|
1
|
1
|
1
|
2
|
2
|
|
|
Итого
|
|
|
|
|
|
22
|
|
|
III.
Смесеприготовительное отделение
|
|
|
|
|
|
|
|
1,16
|
|
1. Земледел
|
3
|
2
|
1
|
2
|
2
|
4
|
5
|
|
|
2.
Распределитель
|
3
|
2
|
1
|
3
|
3
|
6
|
7
|
|
|
3. Сушильщик
|
3
|
2
|
1
|
1
|
1
|
2
|
2
|
|
|
Итого
|
|
|
|
|
|
12
|
14
|
|
|
IV. Стержневое
отделение
|
|
|
|
|
|
|
|
1,16
|
|
1. Стерженщик
|
5
|
2
|
1
|
5
|
5
|
10
|
12
|
|
|
2. Каркасник
|
3
|
2
|
1
|
2
|
2
|
4
|
5
|
|
|
3. Сушильщик
|
3
|
2
|
1
|
1
|
1
|
2
|
2
|
|
|
4. Склейщик
стержней
|
3
|
2
|
3
|
1
|
3
|
6
|
6
|
|
|
Итого
|
|
|
|
|
|
16
|
25
|
|
|
V. Выбивное
отделение
|
|
|
|
|
|
|
|
1,16
|
|
1. Чистильщик
литья
|
4
|
2
|
1
|
2
|
2
|
4
|
5
|
|
|
2.
Нагревальщик-термист
|
4
|
2
|
1
|
1
|
1
|
2
|
2
|
|
|
3. Выбивщик
литья
|
4
|
2
|
1
|
2
|
2
|
4
|
5
|
|
|
4. Станочник
|
4
|
2
|
3
|
1
|
3
|
6
|
7
|
|
|
5. Обрубщик
|
4
|
2
|
6
|
1
|
6
|
12
|
|
|
|
6. Электро
сварщик
|
4
|
2
|
1
|
2
|
2
|
4
|
5
|
|
|
Итого
|
|
|
|
|
|
0
|
0
|
|
|
Всего
|
|
|
|
|
|
115
|
125
|
|
Численность вспомогательных рабочих может быть определено следующими
методами:
по трудоемкости работ;
по нормам обслуживания;
по числу рабочих мест.
Таблица 49 - Списочный состав вспомогательных рабочих
|
Наименование профессии
|
Тарифный разряд
|
Число смен в сутки
|
Количество рабочих
|
|
|
|
Явочное
|
Списочное
|
Ксп
|
|
1
|
2
|
3
|
4
|
5
|
6
|
7
|
|
1. Маркеровщик
|
3
|
2
|
2
|
4
|
5
|
1,16
|
|
2. Контролёр
|
4
|
2
|
3
|
6
|
7
|
|
|
3. Ковшевой
|
3
|
2
|
3
|
6
|
7
|
|
|
4. Крановщик
|
3
|
2
|
4
|
8
|
9
|
|
|
5. Стропальщик
|
3
|
2
|
4
|
8
|
9
|
|
|
6. Кладовщик
|
3
|
2
|
2
|
4
|
5
|
|
|
7. Слесарь
|
5
|
2
|
6
|
12
|
14
|
|
|
8.Перестановщик
форм
|
3
|
2
|
2
|
4
|
5
|
|
|
9. Станочник
|
4
|
2
|
2
|
4
|
5
|
|
|
10. Наладчик
|
3
|
2
|
3
|
6
|
7
|
|
|
11. Слесарь
КИПа
|
3
|
2
|
2
|
4
|
5
|
|
|
12. Электрик
|
3
|
2
|
4
|
8
|
9
|
|
|
13.Печник-футеровщик
|
3
|
2
|
2
|
4
|
5
|
|
|
14. Лаборант
|
3
|
2
|
2
|
4
|
5
|
|
|
15. Водитель
внутреннего транспорта
|
3
|
2
|
2
|
4
|
5
|
|
|
ИТОГО:
|
|
|
|
86
|
100
|
|
Численность служащих определяется исходя из имеющихся среднеотраслевых
данных, а при их отсутствии - по нормативам, разработанным предприятием.
Численность руководителей определяется размером предприятия, его
отраслевыми особенностями, нормами управляемости и т.п.
Таблица 50 - Штатное расписание ИТР, служащих и МОП
|
Должность
|
Количество
|
Оклад, т.р.
|
Оклад
|
|
|
|
Месячный
|
Годовой
|
С учетом коэффициента
|
|
1
|
2
|
|
3
|
4
|
5
|
|
ИТР
|
|
|
|
|
1,15
|
|
1. Начальник цеха
|
1
|
65
|
65
|
780
|
897
|
|
2. Заместитель начальника
|
2
|
50
|
100
|
1200
|
1380
|
|
3. Начальник ПДБ
|
1
|
35
|
35
|
420
|
483
|
|
4. Начальник тех. бюро
|
1
|
30
|
30
|
360
|
414
|
|
5. Технолог
|
5
|
23
|
115
|
1380
|
1587
|
|
6. Старщий мастер
|
4
|
31
|
124
|
1488
|
1711,2
|
|
7. Энергетик
|
1
|
35
|
35
|
420
|
483
|
|
8. Механик
|
2
|
35
|
70
|
840
|
966
|
|
9. Экономист
|
2
|
27
|
54
|
648
|
745,2
|
|
10. Мастер
|
8
|
23
|
184
|
2208
|
2539,2
|
|
ИТОГО
|
27
|
|
0
|
|
11205,6
|
|
Служащие
|
|
|
0
|
|
1,15
|
|
1. Табельщик
|
2
|
13,5
|
27
|
324
|
372,6
|
|
2. Секретарь
|
1
|
18
|
18
|
216
|
248,4
|
|
3. Бухгалтер
|
2
|
25
|
50
|
600
|
690
|
|
4. Завхоз
|
2
|
15
|
30
|
360
|
|
5. Нормировщик
|
1
|
16
|
16
|
192
|
220,8
|
|
ИТОГО
|
8
|
|
0
|
|
1945,8
|
|
МОП
|
|
|
0
|
|
1,15
|
|
1. Курьер
|
2
|
14
|
28
|
336
|
386,4
|
|
2. Уборщик
|
10
|
16,5
|
165
|
1980
|
2277
|
|
ИТОГО
|
12
|
|
0
|
|
2663,4
|
|
ВСЕГО
|
47
|
|
|
|
15814,8
|
Таблица 51 - Структура трудящихся в цехе
|
Категории персонала
|
Количество человек
|
Удельный вес, %
|
|
1. Рабочие, всего
|
225
|
83
|
|
в том числе:
|
|
|
|
Основные
|
125
|
46
|
|
Вспомогательные
|
100
|
37
|
|
2.ИТР
|
27
|
10
|
|
3. Служащие
|
8
|
3
|
|
4. МОП
|
12
|
4
|
|
ИТОГО:
|
272
|
100
|
.3 Организация и планирование заработной платы
Заработная плата представляет собой форму вознаграждения за труд.
Различают сдельно-премиальную и повременно-премиальную системы оплаты
труда. Повременная оплата труда ориентируется только на степень сложности
труда. Она применяется, когда количественный результат труда уже определён
ходом рабочего процесса, когда количественный результат труда может быть
измерен (деятельность в сфере управления), когда качество труда важнее его
количества, когда работа неоднородная по своему характеру и нерегулярна по
нагрузке.
При сдельной системе оплаты труда учитывается как степень сложности труда
(квалификация рабочего, оцениваемая его квалификационным разрядом и тарифной
ставкой), так и производительностью, достигнутой в течении рабочего времени.
По действующему в Российской Федерации Трудовому кодексу, выбор системы
оплаты труда и тарифных ставок осуществляется предприятием самостоятельно.
При планировании фонда заработной платы применяется его расчёт, исходя из
трудоёмкости производственной программы, исчисленной по профессиям и разрядам с
учётом условий труда, то есть определения прямой (тарифной) заработной платы и
различных выплат и доплат.
Порядок расчёта планового фонда заработной платы основных и
вспомогательных рабочих следующий:
Определение тарифного фонда заработной платы;
Установление выплат и доплат (часового, месячного, годового фондов);
Расчёт общего фонда заработной платы;
Определение средней заработной платы рабочих.
Расчёт фонда заработной платы осуществляется, укрупнено, по средней
тарифной ставке, во всех отделениях цеха.
Средняя тарифная ставка Тср определяется по формуле:
Тср=∑Тстi∙Ni/Nя
где Тстi
- тарифная ставка рабочего n -
разряда, руб.;
Ni - явочное число рабочих соответствующего разряда;
Nя - явочное число рабочих отделения
или количество вспомогательных рабочих.
Количество отработанных человеко-часов определяется умножением списочного
количества рабочих на действительный фонд рабочего времени одного рабочего в
год.
Заработная плата по тарифу определяется умножением числа отработанных
человеко-часов на среднюю часовую тарифную ставку.
Приработок сдельщика рассчитывается умножением заработной платы на
планируемый коэффициент перевыполнения норм выработки (50%).
Премии рабочим за выполнение плана вычисляются от суммы заработка по
тарифу и составляет 40%.
Основная заработная плата с учётом местонахождения предприятия
рассчитывается умножением суммы составляющих основной заработной платы на районный
коэффициент.
Дополнительная заработная плата вычисляется по формуле:
Здоп=Зосн Кдоп/100,
где Кдоп -коэффициент дополнительной зарплаты;
Кдоп = (Топт 100/Тд) + (Тг.о.
100/Тд)+(Ту.о. 100/Тд) + 0,5,
где Топт - длительность отпуска рабочего, сутки;
Тд - действительный фонд рабочего времени;
Тг.о. - время выполнения государственных обязанностей, сутки;
,5 - размер прочих составляющих дополнительной зарплаты;
Ту.о. - время учебного отпуска.
При планировании фонда заработной платы (ФЗП) необходимо обязательное
соблюдение следующих условий:
рост производительности труда должен опережать рост заработной платы;
общая сумма заработной платы всех категорий работающих не должна
превышать лимита, определяемого по нормативу заработной платы на 1р. продукции,
утвержденного для каждого года в пятилетнем плане экономического и социального
развития предприятия.
Годовой фонд зарплаты основных и вспомогательных рабочих рассчитывается
сложением основной и дополнительной зарплаты
Для определения среднемесячной зарплаты по отделениям годовой фонд
делится на 12, а по отношению к одному рабочему еще и на списочный состав
рабочих отделения.
Все расчеты и полученные данные по тарифному фонду заработной платы
представлены в табл. 52.
.4 Отчисления на социальные нужды
В соответствии с законодательством в этот раздел себестоимости
включается:
отчисления на единый социальный налог (30% от фонда заработной
платы).
Таблица 53 - Отчисления на социальные нужды по фонду оплаты труда
|
Фонд заработной платы
|
Отчисления в фонд, тыс. руб
|
|
1. Рабочие
|
|
|
Основные
|
7290,56
|
|
Вспомогательные
|
4795,96
|
|
2. ИТР
|
3361,68
|
|
3. Служащие
|
583,74
|
|
4. МОП
|
799,02
|
Данные по общему фонду заработной платы с учетом доплат из фонда
потребления приведены в таблице 54.
Таблица 52 - Расчёт фонда заработной платы основных и вспомогательных
рабочих
|
Отделения
|
Количество рабочих, чел
|
Средняя тарифная часовая
ставка, руб
|
Затраты времени на
программу, чел.ч.
|
Зарплата за отработанное
время, тыс.руб.
|
За неотработанное время
|
Зарплата тыс. руб.
|
|
|
|
|
По тарифу
|
Приработок сдельщика
|
Премии
|
Стимулирующие доплаты
|
Компенсационные доплаты
|
Прочие доплаты
|
ИТОГО
|
Сучетом районного
коэффициента
|
|
Годовой фонд
|
Среднемесячная по цеху
|
Среднемесячная рабочего
|
|
|
|
|
|
|
|
|
|
|
|
|
|
|
|
|
|
|
|
|
|
|
|
|
|
|
|
|
|
|
|
|
|
|
|
|
|
|
|
|
|
|
|
|
|
|
|
|
|
|
|
|
|
|
|
|
|
|
|
|
|
|
|
|
|
|
|
|
|
|
|
|
|
|
|
|
|
|
|
|
|
|
|
|
|
|
|
|
|
|
|
|
|
|
|
|
|
1
|
2
|
3
|
4
|
5
|
6
|
7
|
8
|
9
|
10
|
11
|
12
|
13
|
14
|
15
|
16
|
|
Плавильное
|
38
|
37
|
65805
|
2449
|
1224
|
980
|
490
|
245
|
245
|
5632
|
6477
|
1012
|
7489
|
624
|
16
|
|
формовочное
|
26
|
36
|
44354
|
1576
|
788
|
630
|
315
|
158
|
158
|
3624
|
4168
|
651
|
4819
|
402
|
16
|
|
Смесепригото-ное
|
14
|
28
|
24193
|
685
|
342
|
274
|
137
|
68
|
68
|
1575
|
1811
|
283
|
2094
|
174
|
13
|
|
Выбивное
|
23
|
33
|
40322
|
1323
|
661
|
529
|
265
|
132
|
132
|
3042
|
3498
|
547
|
4045
|
337
|
15
|
|
Стержневое
|
25
|
45
|
42685
|
1914
|
957
|
766
|
383
|
191
|
191
|
4403
|
5064
|
791
|
5855
|
488
|
20
|
|
Итого по основным рабочим
|
|
|
|
|
|
|
|
|
|
|
|
|
24302
|
|
|
|
Вспомогательные рабочие
|
100
|
30
|
173383
|
5227
|
2614
|
2091
|
1045
|
523
|
523
|
12023
|
13826
|
2160
|
15987
|
1332
|
13
|
|
ВСЕГО
|
|
|
|
|
|
|
|
|
|
|
|
|
|
|
|
Таблица 54 - Общий фонд заработной платы по цеху
|
Фонд заработной платы,
тыс.руб
|
Виды оплат из фонда
потребления, тыс. руб.
|
Общий фонд заработной
платы, тыс. руб
|
|
Единовре менные премии
|
Вознаграж дение за выслугу
лет
|
Материа льная помощь
|
Доплата к отпуску
|
Оплата жилья
|
Другие доплаты
|
|
|
|
|
|
|
|
|
|
|
Основных рабочих
|
9720,7
|
4860,4
|
3648,9
|
12150,9
|
9720,7
|
3648,9
|
43750,6
|
|
Вспомогательных рабочих
|
6394,6
|
3197,3
|
2400,4
|
7993,3
|
6394,6
|
2400,4
|
28780,6
|
|
ИТР, служащих и МОП
|
6325,9
|
3163,0
|
2374,6
|
7907,4
|
6325,9
|
2374,6
|
28471,4
|
|
Итого
|
|
|
|
|
|
|
101002,6
|
.5 Разработка системы стимулирования трудовой деятельности. Участие
рабочих и служащих в управлении производством
Эффективность производства и качества продукции во многом определяется
заинтересованностью трудовых коллективов и каждого рабочего в достижении
высокой производительности, экономии материала и энергии. В обеспечении этой
заинтересованности большую роль играет материальное и моральное стимулирование
трудящихся. Одним из таких стимулов является премирование трудящихся.
По "Положению о премировании руководителей, специалистов и служащих
аппарата управления НПО, цехов и отделов" премируются руководители, специалисты
и служащие цехов и отделов, участков и цехов служб, руководящие работниками
структурных единиц, подсобного хозяйства.
Положение введено в целях усиления воздействия премии на повышение
эффективности производства и производительности труда, ускорение введения
достижений науки и техники, научной организации труда, передового
производственного опыта, всемирную экономию трудовых и материальных ресурсов,
улучшения качества продукции, получение наивысших конечных результатов работы,
повышение дисциплины труда и производства.
Источником премирования является фонд материального поощрения рабочих
коллективов.
Условием начисления премий коллективам структурных единиц цехов, отделов
и служб головного завода:
Основным условием начисления премий являются ФМП и выполнения показателей
премирования, установленных подразделениями. Если ФМП недостаточен, премия
выплачивается частично по решениям хозрасчётной комиссии предприятия.
При невыполнении 100% объёма поставок продукции по договорам и не
зачтение номенклатуры (для цехов и структурных единиц) премия не выплачивается,
40% премии начисляют за другие показатели премирования, резервируются и
выплачиваются при условии не допоставок продукции до конца текущего года.
При перерасходе фонда зарплаты по цеху, участку, отделу, службе
(исчислениям с начала года) премии работникам этих подразделений резервируются
на сумму допустимого перерасхода ФЗП.
.6 Расчет стоимости основных фондов, амортизационных отчислений
Балансовая стоимость основных фондов включает в себя затраты на
возведение зданий и сооружений, на приобретение, доставку и монтаж
оборудования, на приобретение технологической оснастки, инструмента и
инвентаря.
Затраты на здания и бытовые помещения вычисляются по формулам:

= 

и 
= 

,
где,
и 
- объемы
здания и бытовых помещений, 
;

и 
-
удельная цена здания и бытовых помещений, тыс. руб./
.
Затраты
на монтаж оборудования определяется в 10 % от цены оборудования.
Затраты
на приобретения и монтаж подъемно-транспортного оборудования принимаем в
размере 60% от стоимости технологического оборудования, затраты на прочее
вспомогательное оборудование в размере 25%. Затраты на инструмент и
приспособления принимаем 50 руб. на 1 тонну годных отливок. Стоимость
хозяйственного инвентаря можно принять из расчета 2000 рублей на одного
работающего.
Амортизационные
отчисления определяем умножением нормы амортизации на балансовую стоимость
основных фондов. Нормы амортизации, принятые в проекте, и полученные
амортизационные отчисления приведены в таблице 55.
Таблица 56 - Смета расходов на ремонт и содержание оборудования
|
Наименование статьи затрат
|
Сумма, тыс.руб.
|
Примечание
|
|
Эксплуатация оборудования
|
255,86
|
1% от стоимости
оборудования
|
|
Текущий ремонт оборудования
|
1279,3
|
5% от стоимости
оборудования
|
|
Внутрипроизводственное
перемещение груза
|
90
|
5 руб. на 1 т годного литья
|
|
Износ малоценного и
быстроизнашивающегося оборудовании
|
270
|
15 руб. на 1 т годного
литья
|
189,516
|
10% от общей суммы расходов
|
|
Итого
|
2084,676
|
|
Таблица 55 - Расчет капитальных затрат и амортизационных отчислений
|
Наименование
|
Марка
оборудования
|
Количество, шт.
|
Стоимость
единицы оборудования
|
Общая
стоимость, тыс.руб.
|
Амортизационные
отчисления
|
|
|
|
Цена, тыс.руб.
|
Монтаж
|
Всего, тыс.руб.
|
|
Норма, %
|
Сумма, тыс.руб.
|
|
|
|
|
%
|
Тыс.руб.
|
|
|
|
|
|
1
|
2
|
3
|
4
|
5
|
6
|
7
|
8
|
9
|
10
|
|
Здания и
сооружения
|
|
153900
|
0,9
|
|
|
|
138510
|
2
|
1595,7
|
|
Бытовые
помещения
|
|
4000
|
1,3
|
|
|
|
5200
|
2
|
98,8
|
|
Итого
|
|
|
|
|
|
|
143710
|
|
1694,5
|
|
Основное
оборудование
|
|
|
|
|
|
|
|
|
|
|
1. Индукционная
печь
|
УИП
|
2
|
1750
|
10
|
175
|
1925
|
3850
|
7
|
269,5
|
|
3. Формовочная
машина
|
YJZ13090
|
3
|
1370
|
10
|
137
|
1507
|
4521
|
9
|
406,89
|
|
Дуговая печь
ДП-6
|
882
|
1
|
900
|
10
|
90
|
990
|
990
|
9
|
89,1
|
|
5.Центробежный
смеситель
|
LM 9.2
|
1
|
450
|
10
|
45
|
495
|
495
|
9
|
44,55
|
|
6.конвейерная
линия
|
|
2
|
800
|
10
|
80
|
880
|
1760
|
9
|
158,4
|
|
10.Вихревой
смеситель
|
S1420D
|
1
|
470
|
10
|
47
|
517
|
517
|
9
|
46,53
|
|
11. Выбивная
решетка
|
|
2
|
1060
|
10
|
106
|
1166
|
2332
|
9
|
209,88
|
|
12. Система
регенерации
|
|
1
|
870
|
10
|
87
|
957
|
957
|
9
|
86,13
|
|
13. Пескодувная
машина
|
4752Б2К1
|
3
|
750
|
10
|
75
|
825
|
2475
|
9
|
222,75
|
|
14. Пескодувная
машина
|
4747Б2К1
|
2
|
750
|
10
|
75
|
825
|
1650
|
9
|
148,5
|
|
16. Конвейерное
сушило
|
|
1
|
900
|
10
|
90
|
990
|
990
|
9
|
89,1
|
|
17. Дробеметная
камера
|
42233
|
1
|
500
|
10
|
50
|
550
|
550
|
9
|
49,5
|
|
18. Барабан
дробеметный
|
42236
|
1
|
550
|
10
|
55
|
605
|
605
|
9
|
54,45
|
|
19.
Шлифовальный станок
|
3374М
|
2
|
120
|
10
|
12
|
132
|
264
|
9
|
23,76
|
|
20. Термическая
печь
|
ДО-24.30.10/1150
|
2
|
610
|
10
|
61
|
671
|
1342
|
9
|
120,78
|
|
21. Рубильный
молотки
|
|
5
|
20
|
10
|
2
|
22
|
110
|
9
|
9,9
|
|
22.Газорезка
|
|
2
|
80
|
10
|
8
|
88
|
176
|
9
|
15,84
|
|
23. Сито
|
174М
|
1
|
350
|
10
|
35
|
385
|
385
|
9
|
34,65
|
|
24. Мельница
|
Ш4
|
1
|
670
|
10
|
67
|
737
|
737
|
9
|
66,33
|
|
26. Барабанное
сушило
|
|
1
|
800
|
10
|
80
|
880
|
880
|
9
|
79,2
|
|
Итого
|
|
|
|
|
|
|
25586
|
|
2225,74
|
|
Подъемно-трансп.
обору-е
|
|
|
|
|
|
|
15351,6
|
10
|
1535
|
|
Инструмент и
оснастка
|
|
18000
|
0,05
|
|
|
|
900
|
50
|
450
|
|
Прочее
оборудование
|
|
|
|
|
|
|
6396,5
|
10
|
640
|
|
Хозяйственный
инвентарь
|
|
225
|
2
|
|
|
|
450
|
10
|
45
|
|
Итого
|
|
|
|
|
|
|
23098
|
|
2670
|
|
Всего затрат
|
|
|
|
|
|
|
192394
|
|
6590
|
Таблица 57 - Количество основных и вспомогательных материалов и затраты
на их приобретение на годовую программу
|
Наименование
материала
|
Расход, т
|
Цена, тыс.
руб./т
|
Затраты, тыс.
руб.
|
|
На годовую
программу
|
На 1 т годного
литья
|
|
На годовую
программу
|
На 1 т годного
литья
|
|
Чугун чушковый
|
774
|
0,043
|
11
|
8514
|
0,5
|
|
Стальной лом
|
17478
|
971,2
|
18
|
314604
|
17481,6
|
|
Железная руда
|
11
|
0,0006
|
1,5
|
16
|
0,0009
|
|
Ферросилиций
|
162
|
0,005
|
30
|
4860
|
0,2
|
|
ИТОГО:
|
18425
|
971,2486
|
|
327994
|
17482,2
|
|
Кварцевый песок
|
35195
|
1,4078
|
3,3
|
116144
|
4,6
|
|
Песок кварцевый
1К010А
|
2517
|
0,1259
|
3,3
|
8306
|
0,4
|
|
Полиуретановая
смола
|
37
|
0,0022
|
50
|
1850
|
0,1
|
|
Полиизоцианат
|
37
|
0,0022
|
11
|
407
|
0,0
|
|
Амин
|
75
|
0,0043
|
15
|
1125
|
0,1
|
|
Оборотная смесь
|
181490
|
7,2596
|
0
|
0
|
0,0
|
|
Глина
|
6084
|
0,2489
|
12
|
73008
|
3,0
|
|
Сульфидная
барда
|
2075
|
0,083
|
37350
|
1,5
|
|
Уголь
|
1037,5
|
0,0415
|
3
|
3113
|
0,1
|
|
Регенерат
|
5170
|
0,2068
|
19
|
98230
|
3,9
|
|
ИТОГО:
|
|
|
|
339532
|
13,8
|
|
ВСЕГО
|
|
|
|
667526
|
17496,0
|
Таблица 58 - Смета цеховых расходов
|
Статьи затрат
|
Затраты на 1т литья, тыс.
руб.
|
Затраты на всю программу, тыс.руб.
|
|
|
|
|
1
|
2
|
4
|
|
1 . Затраты на оплату
вспомогательных рабочих, управленческого и обслуживающего персонала
|
2,3
|
57251,9
|
|
2. Отчисления на социальные
нужды
|
0,4
|
9540,4
|
|
3. Амортизация зданий и
инвентаря
|
0,3
|
6590
|
|
4. Затраты на НИОКР,
рационализаторство и изобретательство (8% от основной зарплаты
производственных рабочих)
|
0,1
|
3500,1
|
|
5. Расходы на охрану труда
(10% от основной зарплаты производственных рабочих )
|
0,2
|
4375,1
|
|
6. Стоимость
вспомогательных материалов
|
13,6
|
339532,1
|
|
ИТОГО:
|
16,8
|
420789,6
|
|
7. Транспортный налог (1%
от цехового фонда заработной платы)
|
|
1010,0
|
|
8. Прочие расходы (15% от
суммы всех предыдущих расходов)
|
|
63269,9
|
|
ИТОГО цеховых расходов
|
|
485069,5
|
.7 Определение себестоимости продукции
Себестоимость продукции представляет собой затраты данного предприятия
денежном выражении на производство и сбыт продукции в объеме производственной
программы
Расчёт затрат на изготовление единицы продукции (1 тонну литья) или
выполнение объёма работ называется калькуляцией.
Цеховая себестоимость охватывает затраты только данного цеха на
производство продукции. В производственную себестоимость включаются, кроме
цеховых, также общезаводские расходы (содержание аппарата заводоуправления,
общезаводских знаний и сооружений), расходы на подготовку и освоение производства,
а также прочие производственные расходы.
В полную себестоимость включается производственная (заводская)
себестоимость и внепроизводственные расходы. К последним относятся транспортные
расходы на реализацию продукции, отчисления сбытовым организациям и прочие
расходы по сбыту.
При формировании сметы затраты целесообразно группировать по статьям
калькуляции ориентируясь на типовые калькуляционные статьи затрат.
Переменные статьи затрат:
прямые материальные затраты;
прямые затраты на оплату труда.
Рассчитываются прямым счетом на основании норм и нормативов расхода
материальных, топливно-энергетических и других аналогичных по экономическому
назначению ресурсов в расчете на единицу продукции, цен приобретения (оптовых
цен) в расчете на единицу материальных, топливно-энергетических и других
ресурсов; сдельных расценок с учетом физических объемов производства продукции
в расчетном периоде.
Постоянные статьи затрат: расходы на содержание и эксплуатацию
оборудования (РСЭО); цеховые, общезаводские и внепроизводственные расходы не
зависят от объемов производства в расчетном календарном периоде и являются
комплексными, поскольку включают разнородные по экономическому содержанию
элементы затрат. Калькуляция себестоимости 1т годных отливок приведена в
табл.59.
.8 Расчет плановых постоянных и переменных затрат
Для определения общей величины постоянных расходов (Спост) на
расчетный период по статьям затрат рекомендуются расчетно-аналитические методы
расчета, в основе которых - анализ данных бухгалтерского учета о величине
накладных расходов, прямые укрупненные расчеты элементов затрат из числа
образующих комплексную статью за расчетный (планируемый) период.
Для определения суммарной величины постоянных расходов по статьям затрат
в расчете на единицу продукции. Услуг рекомендуется общую за расчетный период
величину постоянных расходов относить на единицу продукции.
Таблица 59 - Калькуляция себестоимости 1т годных отливок
|
Статья затрат
|
Единицы измерения
|
На 1 т литья
|
На программу
|
|
|
Кол-во
|
Цена, тыс. руб.
|
Сумма, тыс.руб
|
Кол-во
|
Сумма, тыс.руб.
|
|
|
|
|
|
|
|
|
1. Сырьё и основные
материалы
|
|
|
|
|
|
|
|
Чугун чушковый
|
т
|
0,047
|
11
|
0,517
|
846
|
9306
|
|
Стальной лом
|
т
|
0,971
|
18
|
17,478
|
17478
|
314604
|
|
Отходы производства
(возврат)
|
т
|
0,59
|
|
0
|
10530
|
0
|
|
Железная руда
|
т
|
0,00068
|
1,5
|
0,00102
|
12
|
18
|
|
Ферросилиций ФС 75
|
т
|
0,005
|
30
|
0,15
|
90
|
2700
|
|
Итого
|
|
1,60868
|
|
18,15
|
28956
|
326628
|
|
Угар и безвозвратные потери
|
т
|
0,024
|
|
|
432
|
|
|
Отходы
|
т
|
0,58
|
|
|
10440
|
|
|
Итого за вычетом возврата и
угара
|
т
|
1,005
|
|
18,15
|
18084
|
328156,981
|
|
3. Оплата труда основных рабочих
|
тыс.руб.
|
|
|
2,431
|
|
43750,647
|
|
4. Отчисления на социальные
нужды
|
тыс.руб.
|
|
|
0,405
|
|
7290,56
|
|
5.Технологическая
электроэнергия
|
тыс. кВт ч
|
3,8
|
1,45
|
4640
|
80000
|
99180
|
|
6. Энергия на технические
нужды
|
|
|
|
|
|
|
|
- вода
|
тыс. м3
|
0,15
|
7,21
|
1,0815
|
3750
|
19467
|
|
- сжатый воздух
|
тыс. м3
|
0,004
|
6
|
0,024
|
260
|
432
|
|
7. Расходы на подготовку и
освоение производства
|
тыс.руб.
|
|
|
10,69
|
|
192394
|
|
8. Расходы на ремонт и
эксплуатацию оборудования
|
руб.
|
|
|
0,12
|
|
2084,676
|
|
9. Отчисления на
амортизацию оборудования
|
тыс.руб.
|
|
|
0,37
|
|
6590
|
|
Основная себестоимость
|
тыс.руб.
|
|
|
40,22
|
|
699346
|
|
Цеховые расходы
|
тыс.руб.
|
|
|
26,95
|
|
485070
|
|
Цеховая себестоимость
|
тыс.руб.
|
|
|
67,17
|
|
1184415
|
|
Общезаводские расходы
|
тыс.руб.
|
|
|
1,94
|
|
35000,5
|
|
Производственная
себестоимость
|
тыс.руб.
|
|
|
69,11
|
|
1219415,7
|
|
Непроизводственные расходы
|
тыс.руб.
|
|
|
2,07
|
|
36582,47
|
|
Полная себестоимость
|
тыс.руб.
|
|
|
71,18
|
|
1255998,1
|
. Расчёт постоянных затрат
Постоянные затраты складываются из следующих составляющих:
FС = FС1 + FС2 + FС3 + FС4 + FС5 + FС6 + FС7 + FС8 + FС9;
где: FС1 - отчисления на
амортизацию оборудования, здании и сооружений;
FС2
- отчисления на эксплуатацию и ремонт оборудования;
FС3
- расходы на подготовку и освоение производства;
FС4
- затраты на оплату вспомогательных рабочих, управленческого и обслуживающего
персонала, плюс отчисления на социальные нужды;
FС5
- затраты на НИОКР, рационализаторство и изобретательство;
FС6
- расходы на охрану труда;
FС7
- прочие цеховые расходы;
FС8
- общезаводские расходы;
FС9
- непроизводственные расходы
FС= 6590 + 2084,6 + 192394 + 66792 + 3500 + 4375 + 63269 +
35000 +
+ 36582 = 410589 тыс. руб.;
Средние удельные постоянные расходы равны:
АFC = FC/М
АFC = 410589/
1800 = 22,7 тыс.руб/т,
где М - годовой выпуск годного литья по программе цеха, т.
Расчёт переменных затрат
Расчёт переменных затрат производится по формуле:
VС = VС1+ VС2 + VС3 + VС4 + VС5 + VС6 + VС7,
где VС1 - суммарные затраты на
сырьё и основные материалы, т.р.;
VС2
- затраты на оплату труда основных рабочих и отчисления на социальные нужды;
VС3
- затраты на технологическую энергию;
VС4
- затраты на технологическое топливо;
VС5
- затраты на техническое использование воды и сжатого воздуха;
VС6
- затраты на вспомогательные материалы;
VС7
- транспортный налог.
VС = 327994 + 51041 + 99180 + 19467 + 432 + 339532 + 1010 =
= 838657 тыс. руб.;
Средние удельные переменные расходы (на 1 т годного литья) равны:
AVC = VC/M,
AVC = 838657 / 18000 = 46,4 тыс.руб./т.
3. Общие годовые затраты равны:
ТС = FС + VС, то есть:
ТС = 410589+ 838657
= 1249245 тыс. руб.
Общие средние удельные затраты равны полной себестоимости литья:
АТС = АVС + АFС,
АТС = 22,7 + 46,4
= 69 тыс. руб./т.
4.9 Ценообразование
При установлении цен на продукцию используют следующие методы
ценообразования:
обеспечение безубыточности и получение прибыли;
установление цены, исходя из ценности товара;
ориентацию на издержки производства.
Рассчитаем цену по формуле:
P =
1,9·S,
где S- себестоимость тонны годного литья,
руб.;
Р = 1,9·69,7 = 132,4 тыс. руб.
Примем цену на тонну годного литья, равную 133 тыс. руб. Доход от продаж
определим по формуле:
Д = P·Q ,
где Д - доход от продаж, тыс. руб.;
Р - цена продукции, тыс. руб.;
Q -
объем производства, руб.
Д = 133 · 18000 = 2383740 тыс. руб.
Прибыль определим по формуле:
ΔП =Д - В.З
где В.З. - валовые затраты = полной себестоимости, тыс. руб.
ΔП = 2383740 - 1255998 = 1127742 тыс.
руб.
4.10 Расчёт коммерческой эффективности
Таблица 60 - Исходные данные
|
1.Годовой выпуск литья на
программу, т.
|
18084
|
|
2.Полная себестоимость на
годовую программу
|
1255998
|
|
на 1 т. годного литья
|
69,8
|
|
3. Постоянные издержки,
тыс.руб.
|
352119
|
|
4.Переменные издержки,
тыс.руб.
|
842646
|
|
5. Полный фонд заработной
платы, тыс.руб.
|
101002,6
|
|
6. Число трудящихся
(списочное), чел.
|
272
|
|
7. Цена на 1 т. годного
литья, тыс. руб.
|
93000
|
|
8.Годовой доход, тыс.руб.
|
2325000
|
|
9.Капитальные затраты на
приобретение и монтаж оборудования, тыс. руб
|
23098
|
|
10.Капитальные затраты на
строительство цеха, тыс.руб.
|
143710
|
|
11.Затраты на прирост
оборотных средств, тыс.руб.
|
166882
Установим следующие сроки реализации проекта:
·
строительство
здания цеха - 2 квартала, в 1 квартале расходуется 50% капитальных затрат на
строительство здания, во 2-ом - 50%
·
приобретение и
монтаж оборудования осуществляется в 3и 4 кварталах. В 3-м квартале расходуется
70% суммарных средств, а в 4-ом квартале - 30%;
- начало выпуска отливок с 3 квартала. Принятую
мощность - 25000 тонн цеха начинает достигать с 4-го квартала. В 3-ом квартале
выпуск литья будет составлять 0,5 от принятой мощности.
Источники финансирования можно разделить на основные, привлеченные и
заемные.
В первую очередь следует расходовать собственный капитал, затем
привлеченный и в последнюю очередь заемный.
Таблица 61 - Распределение необходимых инвестиции в основные и оборотные
средства
|
Адрес инвестиций
|
Инвестиции по кварталам,
тыс.руб.
|
|
1
|
2
|
3
|
4
|
5
|
6
|
|
1. Строительство здания
|
71855
|
71855
|
|
-
|
-
|
-
|
|
2. Приобретение и монтаж
оборудования
|
-
|
16168
|
6929,3
|
|
|
-
|
|
3. Прирост оборотных фондов
|
-
|
83441
|
83440,8
|
-
|
-
|
-
|
|
Итого
|
71855
|
171464
|
90370,1
|
0
|
0
|
0
|
Для реконструкции цеха будем привлекать только заемные
средства.
Преимуществом использования заемных средств является
исключение процентных выплат за кредит из валовой прибыли, при расчете
налогооблагаемой прибыли. Использование заемного капитала предлагает возврат
средств и выплату процентов. Для нового производства банк назначает ставку на
кредит в размере 33% годовых с поквартальной выплатой. В таблице 62 приведен
оперативный план производства.
Таблица 62 - Оперативный план производства
|
Показатель
|
Квартал
|
|
1
|
2
|
3
|
4
|
5
|
6
|
|
1Рыночный потенциал цеха,
тыс. т
|
|
|
2
|
4,52106
|
4,52106
|
4,52106
|
|
2. Цена 1т годного литья,
тыс. руб.
|
|
|
133
|
133
|
133
|
133
|
|
3. Объем продаж, тыс. т
|
|
|
299,7
|
599,4
|
599,4
|
599,4
|
|
4. Доля предприятия в
отраслевом рынке
|
0
|
0
|
0,5
|
1
|
1
|
1
|
|
5. Объем производства, тыс.
т
|
|
|
2,3
|
4,5
|
4,5
|
4,5
|
Источники финансирования проекта приведены в таблице
63. Таблица 63 составлена с учетом данных таблицы 61.
Таблица 63 - Источники финансирования
|
Наименование
источника средств
|
Распределение
вложений по кварталам, млн.руб.
|
|
1
|
2
|
3
|
4
|
5
|
6
|
Всего
|
|
1.Собственные
средства
|
71,9
|
88,0
|
6,9
|
-
|
-
|
-
|
166,8
|
|
2.Привлеченные
средства
|
-
|
-
|
|
-
|
-
|
-
|
0,0
|
|
3.Заемные средства
|
-
|
83,4
|
83,4
|
|
|
|
166,9
|
|
Итого
|
71,9
|
171,5
|
90,4
|
0,0
|
0,0
|
0,0
|
333,7
|
План привлечения и погашения кредитных средств
приведен в таблице 64.
Таблица 64 - План привлечения и погашения кредитных средств
|
Наименование
операции
|
Распределение
по кварталам, млн. руб.
|
|
2
|
3
|
4
|
5
|
6
|
|
|
1.Привлечение
кредита
|
83,4
|
83,4
|
-
|
-
|
-
|
166,9
|
|
2.Погашение
кредита
|
-
|
-
|
55,6
|
55,6
|
55,6
|
166,7
|
|
3.Финансовые
издержки (% за кредит)
|
-
|
|
18,4
|
18,4
|
18,4
|
55,1
|
|
Итого
|
83,4
|
83,4
|
73,9
|
73,9
|
73,9
|
388,7
|
Рыночный потенциал цеха определим исходя из годового
выпуска литья 25000 т. В табл. 66, 67, 68 приведены данные по инвестиционной,
финансовой и оперативной деятельности цеха. Инвестиционная деятельность - это
деятельность предприятия по вкладыванию собственных средств и привлечения чужих
средств. В расходах средств рассматриваются затраты на приобретение активов, а
в доходах - поступление от продажи активов.
Таблица 65 - Данные по инвестиционной деятельности
|
Наименование показателя
|
Распределение по кварталам,
млн.руб.
|
|
1
|
2
|
3
|
4
|
5
|
6
|
|
1 . Поступление от продажи
активов
|
|
|
|
|
|
|
|
2. Затраты на приобретение
активов
|
71,9
|
88,0
|
6,9
|
|
|
|
|
Итого
|
71,9
|
88,0
|
6,9
|
0
|
0
|
0
|
Операционная деятельность -это деятельность по
производству продукции.
Финансовая деятельность - это деятельность по
привлечению акционерного капитала, кредитов, по погашению задолженности по
кредитам, а также включает в себя выплату дивидендов.
Таблица 66 - Данные по финансовой деятельности
|
Наименование показателя
|
Распределение по кварталам,
млн. руб.
|
|
1
|
2
|
3
|
4
|
5
|
6
|
|
1. Собственный капитал
|
71,9
|
88,0
|
6,9
|
|
|
|
|
2. Заёмные средства
|
|
83,4
|
83,4
|
|
|
|
|
3. Излишек средств(кредит и
проценты)
|
71,9
|
171,5
|
90,4
|
0,0
|
0,0
|
0,0
|
Налоги и сборы включают в себя:
- налог на основные фонды в размере 2% от их стоимости
в год (в 4,5- кварталах берется от стоимости здания и оборудования);
- налог на содержание жилищного фонда, объектов
соцкультбыта (в размере 1,5% от 0,8Д);
- налог на рекламу (5% от затрат на нее);
- сбор на содержание милиции за год (1% от МРЗ-Чсп-12);
·
сбор на
благоустройство территории за год (1% от МРЗ-Чсп-12);
·
отчисления по
ставке за кредит.
В таблице 21 приведено распределение налогов и сборов
по кварталам. Расчет чистой прибыли производится по формуле [29]:
ЧП=
где
ЧП - чистая прибыль, млн. руб.;
ВП
- валовая прибыль млн. руб.;
НС
- налоги и сборы, млн. руб.;
НП
- налог на прибыль (35%);
К1
и К2 - коэффициенты для определения долей от чистой прибыли,
начисляемых на фонд потребления и дивиденды. Резервный фонд рассчитываем по
формуле [29]:
ФП=0,1ЧП
Фонд
потребления рассчитывается по формуле:
ФП=К1
ЧП
Отчисления
на дивиденды рассчитываем по формуле:
Д
= К2·ЧП.
Фонд
накопления рассчитывается по формуле:
ФН=ЧП−ФР−Д,
где
ФР - фонд развития, млн.руб.
ФП
= ФН
Налогооблагаемую
прибыль определим по формуле:
НОП
= ВП−НС−ФР−ФН,
где
ВП - валовая прибыль, млн. руб.
Валовая
прибыль определяется по формуле:
ВП=0,8Д−ВЗ,
где
ВЗ - валовые затраты с учетом отчислений по % ставкам за кредит.
В
таблице 69 приведены данные по притокам и оттокам денежных средств в первые 12
кварталов реализации проекта. В первый пункт таблицы вносим данные по
отчислениям фонда накопления из таблицы 68. Излишек средств определяем как
сумму чистых денежных потоков. Для принятия проекта необходимо, чтобы все
сальдо накопленных средств было положительным.
Таблица 67 - Данные по операционной деятельности (план доходов и
расходов)
|
Показатели
|
Распределение
по кварталам, млн. руб.
|
|
1
|
2
|
3
|
4
|
5
|
6
|
|
1 . Объем
производства, тыс. т
|
|
|
2,3
|
4,5
|
4,5
|
4,5
|
|
2. Цена
продукции, тыс.руб.
|
|
|
133
|
133
|
133
|
133
|
|
3. Доход от
продаж, млн.руб.
|
|
|
299,7
|
599,4
|
599,4
|
599,4
|
|
4. Налог на
добавленную стоимость, млн.руб.
|
|
|
59,94
|
119,88
|
119,88
|
119,88
|
|
5. Налоги и
сборы, млн. руб.,
|
|
|
4,5
|
9,0
|
9,0
|
9,0
|
|
6. Валовые
затраты с учетом отчислений по процентной ставке за кредит, млн.руб
|
|
|
41,0
|
100,4
|
100,4
|
100,4
|
|
7. Валовая
прибыль, млн.руб
|
|
|
198,7
|
379,1
|
379,1
|
379,1
|
|
8. Резервный
фонд, млн.руб.
|
|
|
18,9
|
36,0
|
35,5
|
35,1
|
|
9. Резервный
фонд нарастающим итогом, млн.руб.
|
|
|
18,9
|
55,0
|
90,4
|
125,6
|
|
10. Фонд
развития, млн.руб.
|
|
|
170,2
|
324,4
|
319,4
|
316,1
|
|
11.Налог на
прибыль, млн.руб.
|
|
|
1,8
|
3,4
|
5,3
|
6,6
|
|
11.Налогооблогаемая
прибыль, млн.руб
|
|
5,1
|
9,7
|
15,3
|
18,9
|
|
12. Чистая
прибыль, млн.руб.
|
|
|
192,5
|
366,7
|
364,8
|
363,5
|
|
13. Фонд
потребления, млн. руб.
|
|
|
19,2
|
36,7
|
36,5
|
36,4
|
|
14. Фонд
накопления, млн. руб.
|
|
|
170,2
|
324,4
|
319,4
|
316,1
|
|
15. Фонд
накопления нарастающим итогом, млн. руб.
|
|
|
170,2
|
494,6
|
814,0
|
1130,1
|
Таблица 68 - Расчет чистых денежных потоков (план доходов и расходов)
|
Наименование
денежных потоков
|
Денежные потоки
в кварталы инвестиционного периода, млн.руб.
|
|
1
|
2
|
3
|
4
|
5
|
6
|
|
|
|
|
|
|
|
|
1. Операционная
деятельность
|
|
1 . Приток
наличности
|
|
|
167,5
|
319,2
|
314,3
|
311,1
|
|
2. Погашение
задолженности за кредит
|
|
|
|
|
|
164,43
|
|
3. Расходы на
основные и оборотные средства
|
42,4
|
142,1
|
89,8
|
0,0
|
0,0
|
0,0
|
|
4. Чистый
денежный поток
|
-42,4
|
-142,1
|
77,8
|
319,2
|
314,3
|
311,1
|
|
2. Финансовая
деятельность
|
|
Приток
|
|
5. Собственный
капитал
|
42,4
|
59,8
|
7,5
|
0
|
0
|
0
|
|
6. Заемные
средства
|
0
|
82,3
|
82,3
|
0
|
0
|
0
|
|
7. Чистый
денежный поток
|
42,4
|
142,1
|
89,8
|
0,0
|
0,0
|
0,0
|
|
3.
Инвестиционная деятельность
|
|
8. Поступление
от продажи активов
|
|
|
|
|
|
|
|
9. Чистый
денежный поток
|
|
|
|
|
|
|
|
10. Излишек
средств
|
0,0
|
0
|
167,5
|
319,2
|
314,3
|
311,1
|
|
11. Суммарная
потребность
|
0,0
|
0
|
0,0
|
0
|
0
|
0
|
|
12. Сальдо на
конец квартала
|
0,0
|
0
|
168
|
486,8
|
801,1
|
1112,1
|
Для приведения разновременных затрат и эффектов к
ценности вначальном периоде (1-й этап), т.е. дисконтирование, применяется норма
дисконта Е, равная приемлемой для инвестора норме расхода на капитал.
Норму дисконта рассчитываем по формуле [29]:
E = (Emin +J)·K,
где Emin - минимальная норма доходности;
J - ежегодный темп инфляции;
К - степень риска.
Принимаем Emin = 0,33 (ставка 33% на капитал), J =10%, К=1,5 и рассчитываем
Егод = (0,33+0,10)1,5 = 0,64.
(1+Екв)=(1+Егод)1/4
Екв= (1+0,64)1/4 - 1=0,13
Для проведения расходов к начальному периоду
необходимо умножить на коэффициент дисконта at, который рассчитываем по формуле:
At =
где
t - норма расчетного, равная (п-1),
п
- номер квартала.
В
таблице 69 приведены данные по чистому дисконтированному эффекту без учета
капиталовложений.
В
таблице 70 приведены дисконтированные данные по инвестициям.
Таблица 69 - Расчет чистого дисконтированного эффекта
|
Наименование
|
Квартал
|
|
1
|
2
|
3
|
4
|
5
|
6
|
|
1. Чистый
денежный поток, млн.руб.
|
0,0
|
0,0
|
170,2
|
324,4
|
319,4
|
316,1
|
|
2.Коэффициент
дисконта
|
1
|
0,9
|
0,8
|
0,7
|
0,6
|
0,5
|
|
3. Чистый
дисконтированный поток, млн.руб.
|
0
|
0,0
|
132,7
|
223,3
|
194,1
|
169,7
|
|
4. Чистый
дисконтированный поток, нарастающим итогом, млн.руб.
|
0
|
0,0
|
132,7
|
356,0
|
550,2
|
719,9
|
Таблица 70 - Дисконтированные значения инвестиций
|
Наименование показателя
|
Инвестиции по кварталам
|
|
1
|
2
|
3
|
|
1 . Суммарные инвестиции,
млн.руб.
|
71,9
|
171,5
|
90,4
|
|
2. Дисконтирующий
множитель, at
|
1,0
|
0,9
|
0,8
|
|
3. Дисконтированные
инвестиции, млн.руб.
|
71,9
|
151,4
|
70,5
|
|
4. Дисконтированные
инвестиции нарастающими, млн.руб.
|
71,9
|
223,3
|
293,7
|
4.11 Показатели эффективности
Показателями эффективности проекта являются:
1. Чистый дисконтированный доход (ЧДД) в конце
периода (9-12 кварталы). ЧДД определяется как разность данных по чистому
дисконтированному эффекту и данных по дисконтированным значениям инвестиций на
конец периода К [29]:
ЧДД = S - K,
ЧДД=719,9 - 293,7 =
426,1 млн. руб.
2. Индекс доходности (ИД) определяется по формуле:
ИД=S/K
ИД= 719,9 / 293,7= 2,45.
При ИД > 1 проект считается эффективным
3. Срок окупаемости проекта составляет
1,5 года.
4. Доля собственных средств:
 = 50 %
5. Точка безубыточности рассчитывается по формуле:
Qкр =
где FC -
постоянные затраты, млн.руб.
Р - цена одной тонны годного литья, млн.руб.
AVC - средние удельные переменные расходы, млн.руб.
Точка безубыточности - это значение, при котором
достигается "нулевая прибыли", т.е. доход от продажи равен издержкам
производства.
QKp =
 т <
18000 т.
Финансовый
профиль проекта
Таблица 71 - Технико-экономические показатели проекта
|
Показатели
|
Единица измерения
|
Базовый цех Проектируемый
цех
|
|
|
Величина показателей
|
|
Годовой выпуск продукции
|
т тыс.руб.
|
18000 2325000
|
|
Выход годного
|
%
|
64
|
|
Общая численность
работающих в цехе
|
чел.
|
272
|
|
Основных рабочих
|
чел.
|
125
|
|
Вспомогательных рабочих
|
чел.
|
100
|
|
ИТР
|
чел.
|
27
|
|
Служащих
|
чел.
|
8
|
|
МОП
|
чел.
|
12
|
|
Выпуск продукции - на 1
работающего
|
т/г
|
66,2
|
|
- на 1 производственного
рабочего
|
т/г
|
144
|
|
Фонд заработной платы
|
тыс.руб.
|
101002,6
|
|
Капитальные вложения
|
тыс.руб.
|
667526
|
|
Себестоимость 1 т отливок
|
тыс.руб.
|
69,78
|
|
Прибыль
|
тыс.руб.
|
1127742
|
|
Рентабельность
|
%
|
89
|
|
ЧДД
|
млн.руб.
|
426,1
|
|
Срок окупаемости
|
год
|
0,9
|
5. Безопасность труда и экологичность проекта
5.1
Безопасность труда
Здоровый и производительный труд возможен только при
хорошем содержании рабочего места, его правильной организации.
Стандарты на общие требования безопасности к
производственному оборудованию устанавливают требования безопасности к
конструкции оборудования в целом и его отдельным элементам. Методы контроля
выполнения требований безопасности содержат требования безопасности размещения
элементов технологических систем, режимов работы производственного
оборудования, систем управления и режима труда персонала, требования по
применению средств защиты, стандарты на нормы и общие требования по видам
опасности, устанавливают предельно допустимые концентрации, уровни или дозы
вредных веществ и требования безопасности при работе с веществами, которые
выделяют опасные и вредные пары. Работа по обеспечению безопасности трудящихся
является важнейшей задачей охраны труда.
Нарушение требований безопасности в таких условиях
создает опасные ситуации, приводящие к несчастным случаям, обусловленные
воздействием на трудящихся опасных и вредных производственных факторов.
.1.1 Характеристика производства
Вредные факторы:
пыль в производственных помещениях образуется большей частью через
сырьевые промежуточные материалы и готовую продукцию, при их перегрузке и
выпуске продуктов плавки и других технологических процессов переработки и
обработки металла;
используются как топливо или образуются вследствие производственной
деятельности разные газы. Наиболее распространенные доменный, коксовый,
природный, сопутствующий и т.п.. Горючая часть этих газов состоит из метана
(СН4), этана (С2Н6), пропана (С3Н8), бутана (С4Н10), водорода (Н2), окиси
углерода (СО) и некоторых тяжелых углеводородов, которые обозначаются общей
формулой Ln Hm. К негорючей части газов относятся азот (N), углекислый газ
(СО2), водные пары (Н2О), а также кислород (О2), который, хотя и поддерживает
горение, но является для газового топлива вредной примесью;
температура воздуха выше от комфортной неблагоприятна для организма
человека, у которого, чтобы сохранить нормальную температуру, перестраиваются
функции теплоотдачи. Так же неблагоприятная для организма температура воздуха в
рабочей зоне ниже от комфортной, поскольку в таком случае усиливается
теплоотдача организма и человек ощущает холод;
- шум - это совокупность беспорядочных колебаний
материальных частичек или тел, которые передаются твердыми, жидкими или
газообразными средам и воспринимаются человеческим органом слуха.С
физиологической точки зрения шум - вредный раздражающий фактор, который
действует на органы слуха человека и на весь его организм, мешает нормально
выполнять рабочие функции и нормально воспринимать необходимые звуковые сигналы
и речь. Шум , как физическое явление - совокупность звуков разной частоты
(высоты) и интенсивности (громкости).
Гигиенические аспекты технологического процесса
1. Название цеха
Название цеха - литейный цех,342 м2, без окон, высота 10 м.
2. Описание рабочего процесса. Распорядок рабочего дня
(длительность работы до обеденного перерыва, длительность последнего, наличие
кратковременных перерывов в процессе работы).
Начало рабочего дня - 8.00.
Обеденный перерыв - 12.00 - 13.00.
Окончание рабочего дня - 17.00.
В течение рабочего дня 2 краткосрочных перерыва: 10.30
- 10.45 и 15.00 - 15.15.
Объемно-планировочные решения и эргономические
требования к рабочему месту
Рабочее место - это часть производственной
площади цеха, участка, мастерской, закрепленная за определенным рабочим (или
бригадой рабочих). Рабочее место предназначено для выполнения конкретной работы
и должно быть оснащено оборудованием, приспособлениями, инструментами и материалами,
необходимыми для этого.
Рационально организованное рабочее место позволяет при
минимальных затратах сил и средств труда обеспечить безопасные условия работы,
максимальную производительность и высокое качество продукции.
Одним из основных элементов организации рабочего места
является его планировка, при выполнении которой учитывают требования научной
организации труда (расположение рабочего места по отношению к другим рабочим
местам в мастерской, к оборудованию, местоположению рабочего, размещению
оснастки, инструментов и приспособлений).
От планировки, т.е. характера размещения на рабочем
месте основного и вспомогательного оборудования, заготовок, изготовленных
деталей, инструментов и приспособлений, зависит создание условий для
высокопроизводительного труда.
При планировке рабочих мест необходимо учитывать
удобные и неудобные зоны расположения инструментов и материалов, необходимых
для выполнения заданной операции.
5.1.2
Вентиляция
Промышленная вентиляция является эффективным средством
обеспечения допустимых показателей микроклимата воздуха рабочей зоны. По
способу перемещения воздуха различают системы естественной и механической
вентиляции. При естественной вентиляции перемещение воздушных масс
осуществляется благодаря возникающей разности давлений снаружи и внутри здания.
При механической вентиляции воздух подается в производственные помещения или
удаляется из них по системам вентиляционных каналов с использованием
специальных механических побудителей.
Системы механической вентиляции подразделяются на
общеобменные, местные, аварийные, смешанные и системы кондиционирования.
Механическая вентиляция по сравнению с естественной
имеет ряд преимуществ: большой радиус действия; возможность изменять или
сохранять необходимый воздухообмен независимо от температуры наружного воздуха
и скорости ветра; подвергать вводимый в помещение воздух предварительной
очистке, осушке или увлажнению, подогреву или охлаждению; улавливать вредные
выделения непосредственно на местах их образования; очищать загрязненный воздух
перед выбросом его в атмосферу.
К недостаткам механической вентиляции следует отнести
значительную стоимость ее сооружения и эксплуатации, а также необходимость
проведения мероприятий по снижению шума.
Здоровый и производительный труд возможен только при
хорошем содержании рабочего места, его правильной организации.
Удобная рабочая поза, отсутствие суеты, лишних
движений, уют в помещении важны для производительности труда, для борьбы с
преждевременным утомлением.
На работоспособность человека существенное влияние
оказывает микроклимат рабочего помещения.
Отрицательное влияние на здоровье и работоспособность
оказывает шум. Воздействие длительного и очень интенсивного шума (свыше 80 дБ)
неблагоприятно отражается на нервной системе, может развиваться так называемая
тугоухость и глухота.
Стандарты на общие требования безопасности к
производственному оборудованию устанавливают требования безопасности к
конструкции оборудования в целом и его отдельным элементам. Методы контроля
выполнения требований безопасности содержат требования безопасности размещения
элементов технологических систем, режимов работы производственного
оборудования, систем управления и режима труда персонала, требования по
применению средств защиты, стандарты на нормы и общие требования по видам
опасности, устанавливают предельно допустимые концентрации, уровни или дозы
вредных веществ и требования безопасности при работе с веществами, которые
выделяют опасные и вредные пары.
Таблица 72 - Наличия вредных веществ в воздухе ,сравнение с нормативом ГН
2.2.5.1313-03 Предельно допустимые концентрации вредных веществ в воздухе
рабочей зоны.
|
Вредные вещества
|
Норма мг/м3
|
Наличие мг/м3
|
|
Пыль нетоксичная
|
6
|
4
|
|
Диоксид серы
|
0,5
|
0,4
|
|
Диоксид азота
|
2
|
2
|
|
Оксид углерода
|
10
|
10
|
Нормативные показатели производственного микроклимата
установлены ГОСТ 12.1.005-88 и СанПиН 2.2.4.584-96. Этими нормами
регламентированы показатели микроклимата в рабочей зоне производственного
помещения: температура, относительная влажность, скорость движения воздуха в
зависимости от способности организма человека к акклиматизации в разное время
года, характера одежды, интенсивности производимой работы и характера
тепловыделений в рабочем помещении.
В рабочей зоне производственных помещений должны быть
созданы оптимальные и допустимые микроклиматические условия. Контроль
микроклимата проводят в рабочей зоне на высоте 1,5 м от пола, повторяя эту
процедуру в различное время дня и года, в разные периоды технологического
процесса. Принято измерять в рабочей зоне помещений температуру, относительную
влажность и скорость движения воздуха. Для измерения температуры и
относительной влажности воздуха используют аспирационный психометр Асмана.
Скорость движения воздуха измеряется с помощью анемометров.
5.1.3
Производственный микроклимат
Таблица 73-Параметры микроклимата цеха (по ГОСТ 12.1.005-88) (хол./тёпл.)
|
Наименование профессии
|
Категория тяжести работы
|
Температура, °С
|
Относительная влажность, %
|
Скорость воздуха, м/с
|
|
Токарь -карусельщик
|
2а
|
18-20/21-23
|
40-60
|
0,2-0,3
|
|
Наладчик станков
|
2а
|
18-20/21-23
|
40-60
|
0,2-0,3
|
|
Оператор станков с ЧПУ.
|
2а
|
18-20/21-23
|
40-60
|
0,2-0,3
|
|
Токарь
|
2а
|
18-20/21-23
|
40-60
|
0,2-0,3
|
|
Слесарь
|
2а
|
18-20
|
40-60
|
0,2-0,3
|
5.1.4
Производственное освещение
Свет - сильный стимулятор
работоспособности.
Освещение считается достаточным,
если оно позволяет длительное время без напряжения работать и не
вызывает при этом утомления глаз.
Таким нормальным освещением является
настольная лампа в 50-60 Вт. Свет не должен резать и слепить глаза. При
пользовании люминесцентными лампами ("лампами дневного света")
зрительное утомление наступает позже, чем при обычных лампах накаливания, а
производительность труда повышается.
Освещение имеет важное гигиеническое
значение. Важно не просто освещать помещение или отдельное рабочее место, а
создавать освещение, которое соответствовало бы характеру выполняемой работы.
Недостаточное освещение снижает работоспособность и производительность труда,
вызывает утомление глаз, способствует развитию близорукости, увеличению
производственного травматизма, приводит к транспортным авариям на улицах и
дорогах. Освещение бывает естественным, искусственным и смешанным.
Естественное освещение обусловливается
солнечными лучами и рассеянным светом небосвода и меняется в зависимости от
географической широты, высоты стояния солнца, степени облачности и прозрачности
атмосферы. Естественный свет имеет спектр, к которому глаз человека наиболее
привычен.
Нормы естественного освещения
устанавливаются в зависимости от назначения здания и отдельных помещений.
Лучшая освещенность помещений достигается окраской стен и потолков в светлые
тона, а также периодической очисткой оконных стекол, загрязнение которых
приводит к потере 50 % светового потока. Для оценки естественного освещения
используется коэффициент естественного освещения, показывающий, во сколько раз
освещенность внутри помещения меньше наружной. В средней полосе в наиболее
удаленных от окон точках коэффициент естественного освещения должен быть не
менее 2,5 %, а в северных широтах - 2,9 %. Оптимальная ориентация окон жилых помещений
-юг и юго-восток.
Различают два вида искусственного
освещения: общее, при котором свет распространяется равномерно по всему
помещению, и комбинированное, создаваемое лампами общего и местного освещения
одновременно и которое в гигиеническом отношении наиболее целесообразно.
Работать только при местном освещении не рекомендуется, так как, переводя
взгляд с ярко освещенной поверхности на темные окружающие предметы, мы создаем
дополнительную нагрузку на глаза.
Настольную лампу или другой переносной
светильник устанавливают непосредственно на рабочем месте так, чтобы свет от
нее падал спереди с левой стороны, тогда тень от руки не будет заслонять
работу. Лампа должна быть защищена абажуром, который скрывает от взора яркую
нить накаливания лампы. В настольной лампе или бра лампочка должна быть не
менее 40-60 Вт для людей с нормальным зрением, а пожилым и тем, у кого зрение
ослаблено, лучше приобрести лампочки мощностью 75-100 Вт. Мощность ламп в
светильниках общего освещения определяется из расчета 10-15 Вт на 1 м3
площади помещения.
5.1.5 Производственный шум
Защита от шума.
Шум - колебание молекул воздушной среды. Источником шума в цехе являются
двигатели станков, подвижные части оборудования, инструмент, вентиляция,
подъемно-транспортные устройства, краны, кары.
Шум оказывает негативное влияние на отдельные системы, особенно сильно он
влияет на центральную нервную и сердечно-сосудистую системы. Все это приводит к
снижению производительности, ухудшению внимания и повышает вероятность травм.
Уровень шума станка составляет 60-80 дБА (паспорт станка), норма составляет
80дБА. При нормировании шума пользуются ГОСТ 12.1.003-83 [16].
.1.6 Производственная вибрация
Защита от вибраций.
Источниками вибрации являются находящиеся в работе станки и оборудование,
краны, возникающие при работе машин неуравновешенные вращающиеся массы, удары.
Различают общую и локальную вибрации.
При обработке на оборудовании общая вибрация мала, так как она гасится за
счет его конструкции. Уровень локальной вибрации при работе на станке
составляет 76 ДБ. Допустимые значения вибрации для производственных помещений
установлены в ГОСТ 12.1.012-90 [17] и составляет 92 ДБ (общая) и 108 ДБ
(локальная) при среднегеометрической частоте 63 Гц.
Для уменьшения общей вибрации проектом предусмотрена
жесткая связка оборудования с фундаментом.
Несчастные случаи на производстве
(промышленный травматизм) - ушибы, ранения и т.д. Чаще всего происходят
вследствие недостаточного освоения работающими производственных навыков и
отсутствия необходимого опыта в обращении с инструментом и оборудованием, а также
в результате невнимательного отношения к выполнению инструкций по безопасности
труда и правил внутреннего распорядка.
Все вращающиеся части станков и
механизмов, а также обрабатываемые заготовки с выступающими частями должны
иметь защитные ограждения.
Для внутризаводского автомобильного и
безрельсового электротранспорта, ручных вагонеток, тележек, а также на путях,
где работает грузоподъемный транспорт, устанавливают различные сигналы:
звуковые (звонки, сирены) и световые (лампы красного, желтого и зеленого
цвета), которые нужно знать и соблюдать.
В местах, где имеются электрические
установки, вывешивают предупредительные надписи (например, "Опасно!",
"Под током!" и др.).
При работе с электроинструментами следует
применять индивидуальные средства защиты: резиновые перчатки и калоши,
резиновые коврики, изолирующие подставки и т. п.
Для обеспечения безопасного выполнения
работ следует соблюдать ряд правил.
Обязательные рекомендации.
До начала работы необходимо:
- надеть спецодежду и головной убор. Рукава одежды должны быть
застегнуты или закатаны выше локтя; свисающие концы одежды не допускаются;
проверить исправность приспособлений, индивидуального освещения и
механизмов, используемых в работе.
отрегулировать высоту приспособлений по своему росту;
подготовить рабочее место, удалив все посторонние предметы; разложить в
соответствующем порядке требуемые для работы инструмент, приспособления,
материалы и т.п.;
проверить исправность инструмента, Молотки должны иметь ровную, слегка
выпуклую поверхность, быть хорошо насажены на ручки и закреплены клином; зубила
не должны иметь зазубрин на рабочей части и острых ребер на гранях; напильники
и шаберы должны быть прочно насажены на ручки;
проверить исправность оборудования, на котором придется работать, и его
ограждение;
проверить исправность подъемных приспособлений (блоки, домкраты и др.);
все подъемные механизмы должны иметь надежные тормозные устройства, а масса
поднимаемого груза не должна превышать грузоподъемность механизма.
Запрещается оставлять груз в подвешенном
состоянии после работы, стоять и проходить под поднятым грузом, превышать
предельные нормы массы для переноски вручную, установленные Федеральным законом
от 17.07.99 № 181-ФЗ "Об основах охраны труда в Российской
Федерации".
Во время работы необходимо:
- прочно зажимать в тисках деталь или заготовку, а во время установки или
снятия ее соблюдать осторожность, так как при падении деталь может нанести
травму;
- возвращать использованный инструмент на исходное место;
не сдувать опилки с верстака или обрабатываемой заготовки, не
смахивать стружку рукой, а использовать для этого щетку-сметку;
при рубке металла зубилом учитывать, в какую сторону
безопаснее для окружающих направить отлетающие частицы и установить с этой
стороны защитную сетку; работать только в защитных очках. Если по условиям
работы нельзя применять защитные очки, то рубку выполняют так, чтобы отрубаемые
частицы отлетали в ту сторону, где нет людей;
не допускать загрязнения одежды керосином, бензином, маслом.
По окончании работы необходимо:
- убрать с верстака заготовки и обработанные детали;
тщательно убрать рабочее место;
очистить инструмент и приспособления от стружки и уложить их, а также
материалы на соответствующие места;
во избежание самовозгорания промасленных тряпок и концов и возникновения
пожара убрать промасленные концы и тряпки в специальные металлические ящики;
выключить индивидуальное освещение.
5.1.7
Пожарная безопасность
Источником возникновения пожара могут
быть: токи короткого замыкания, образующие электрическую дугу; перегрев
электрических сетей и электрооборудования; теплота, образующаяся при трении
дисков, подшипников, ременных передач.
Основное предупредительное мероприятие
против пожаров - это постоянное содержание в чистоте и порядке рабочего места,
осторожное обращение с огнем, нагревательными приборами и
легковоспламеняющимися веществами. Нельзя допускать скопления у рабочего места
большого количества легковоспламеняющегося производственного сырья и
полуфабрикатов.
После окончания работы должны быть
выключены электроприборы и осветительные точки, за исключением дежурных ламп.
Простейшие противопожарные средства и
инвентарь - пожарный кран, насосы, огнетушители, ящики с песком и лопатами -
должны быть всегда исправны.
При возникновении пожара необходимо
выключить все электроустановки, немедленно по телефону или специальным сигналом
вызвать пожарную команду и до ее прибытия принять меры к тушению пожара
собственными силами.
Горящие материалы, небольшие количества
жидкостей тушат песком; керосин, бензин, лаки, спирты, ацетон - пеной;
смазочные масла, олифу, скипидар - распыленной водой или пеной.
Для тушения пожаров и возгораний применяют
ручные пенные огнетушители ОП-3 или ОП-5.
Для тушения пожаров можно применять
углекислотные огнетушители ОУ-2, ОУ-5 и ОУ-8.
При пожаре нельзя выбивать окна, так как
приток воздуха способствует усилению огня. В случае пожара необходимо сохранять
спокойствие и беспрекословно выполнять распоряжения руководителей.
5.1.8 Требования к организации технологического процесса в условиях
чрезвычайных ситуаций
1. При несчастном случае на производстве
необходимо:
а) оказать пострадавшему первую помощь;
б) поставить в известность администрацию
цеха;
в) обратиться за медицинской помощью в
ближайший здравпункт.
2. При возникновении пожара
немедленно должны быть приняты меры к тушению с помощью огнетушителя, песка и
др. имеющихся средств, а также должна быть вызвана пожарная охрана по телефону
или по извещателю пожарной сигнализации.
3. В случае попадания искры и
возгорания шлангов следует быстро перегнуть шланг возле горящего места со
стороны редуктора и закрыть вентиль баллона.
4. В случае направления пламени и
искры в сторону источников питания газами должны быть приняты меры по защите их
от искр или воздействия тепла пламени путем установки металлических ширм.
5. При обнаружении пропуска газа
через сальник ацетиленового вентиля после присоединения редуктора подтягивание
сальниковой гайки производить только после закрытия вентиля баллона.
6. В случае обнаружения выявленных
неисправностей поставьте в известность администрацию и не приступайте к работе
до их устранения.
7. При загорании редуктора, вентиля на
ацетиленовом баллоне немедленно перекрыть вентиль на баллоне и вывезти баллон в
безопасное место, приняв при этом меры предосторожности.
8. В случае замерзания редуктора или запорного
вентиля кислородного баллона отогревать их разрешается только чистой горячей
водой, не имеющей следов масла.
9. При возникновении пожара
немедленно должны быть приняты меры к тушению с помощью огнетушителя, песка и
др. имеющихся средств, а также должна быть вызвана пожарная охрана по телефону
или по извещателю пожарной сигнализации.
10. При загорании газа в местах утечки
его из вентиля, баллона, шлангов или газопроводов - тушить пламя нужно песком,
спец. одеждой, огнетушителямии др. средствами, преграждая доступ воздуха к
огню. Гасить пламя водой запрещается. Струю огнетушителя следует направлять
вдоль пламени, а не навстречу ему.
Современный уровень развития цивилизации требует разработки
мер, а значит, все усилия должны быть направлены на начало процесса, на
предриски. Поэтому так важно заниматься изучением природы рисков и его
первоистоков, а это можно сделать только на основе общих подходов к изучению
процессов возникновения и реализации рисков любого происхождения, то есть на
основе общей единой теории всех видов риска. Именно этим и пытается заниматься
такая новая область знаний, как БЖД.
Задачи безопасности жизнедеятельности, в принципе, не могут
быть окончательно решены, так как системы, для которых решаются эти задачи, находятся
в постоянном развитии, движении, изменении.
Каждый новый день будет ставить новые задачи перед БЖД.
Тем важнее заниматься изучением и разработкой таких общих закономерностей
поведения изучаемых систем, которые могут послужить научной основой для оперативной
выработки новых решений в изменяющихся условиях.
5.2
Экологичность проекта
5.2.1
Глобальные экологические проблемы современности
Важнейшие глобальные экологические проблемы, стоящие перед современным
человеком, следующие: загрязнение окружающей среды, парниковый эффект,
истощение "озонового слоя", кислотные дожди, деградация почв,
проблемы отходов.
Парниковый эффект возникает из-за наличия в атмосфере
Земли газов, которые обладают способностью задерживать длинные волны. Они
получили название "парниковых" или "тепличных" газов. Все это приводит к разрушению
озонового слоя, таянию ледников и как последствие приведет к глобальному
потеплению.
Озоновый слой защищает поверхность Земли от
разрушительного эффекта солнечных ультрафиолетовых лучей. Истощение озонового
слоя вызвано действием озоноразрушающих веществ, попадающих в стратосферу.
Это техногенные газы, прежде всего, хлорфторуглероды
(ХФУ) - стойкие химические соединения, которые могут диффундировать к озоновому
слою десятки лет. Все техногенные газы приводят к утончению слоя, в результате
поверхность Земли будет менее защищена от лучей ультрофиолета, что приведет к
гибели клеток и мутации. Кислотный дождь образуется в
результате реакции между водой и такими загрязняющими веществами, как оксид серы
(SO2) и различными оксидами азота (NO).
Кислотные дожди возникают при , выбросе
веществ в атмосферу автомобильным транспортом, в результате деятельности
металлургических предприятий и электростанций, а также при сжигании угля и
древесины. Вступая в реакцию с водой атмосферы, они превращаются в растворы
кислот - серной, сернистой, азотистой и азотной. Затем, вместе со снегом или
дождем, они выпадают на землю, это приводит к гибели урожая, лесов и остальной
растительности, понижается плодородие почвы, в водоемах погибает фауна и флора. Неправильное применение удобрений и
пестицидов. Внесение высоких доз азотных удобрений иногда отрицательно влияет
на почвенную структуру и снижает противоэрозионную устойчивость почв, приводит
к деградации почвы. Предприятия машиностроительного
комплекса имеют в своем составе различные виды производства с высоким уровнем
загрязнения окружающей среды. К ним относятся:
- металлообработка;
металлургическое производство;
внутризаводское энергетическое производство;
сварочное производство;
лакокрасочное производство
гальваническое производство;
Машиностроительные предприятия выбрасывают такие загрязнители
в атмосферу, как сернистый ангидрид, оксид углерода, диоксид азота, пыль
различного химического состава. В водоемы выбрасываются сульфаты, хлориды,
металлическая пыль, стружка, минеральные масла, отработанная
смазывающе-охлаждающая смесь.
5.2.2 Анализ
связи литейного процесса с экологическими системами
Технологический процесс состоит в получении стали в
индукционных и электродуговых печах.
Схема технологического процесса (ТП) приводится на
рис.1
Рисунок 7- Схема технологического процесса
В качестве исходного сырья используется лом, отходы стали, феросплавы, вода.
Энергоресурсами являются: электроэнергия и
природный газ.
Электроэнергия используется для питания оборудования
цеха, а так же его освещения. Природный газ применяется в металлургическом
оборудовании в качестве топлива.
В процессе получения отливки из стали
образуются материальные отходы: твердые (шлак, угар, скрап); жидкие (сточные
воды); газообразные (оксид углерода).
В качестве энергетических отходов ,можно
выделить электромагнитное излучение (электрическое поле), шум, вибрации,
тепловые выбросы (тепло отходящих газов).
Источником сточных вод являются
технологические процессы (термическая обработка, очистной станок). Вода
используется для очистки литых деталей от смеси, а так же на
санитарно-гигиенические нужды.
Источником образования шлака, угара, являются
плавильные печи. Под действием высоких температур в результате плавления пустой
породы железосодержащих материалов и флюса образуется шлак. В результате
образования окалины при плавке металла образуется угар. Оксид углерода появляется в результате плавления шихты в печах.
Основными источниками шума и вибрации, являются
дробеметные и галтовочные барабаны.
Тепловые выбросы возникают при обработки отливки в
термических печах, а так же при плавке металла.
Электромагнитное излучение ( электромагнитное поле) ,
возникает в результате работ электрических печей и остального оборудования
работающего на электричестве.
Анализ ТП свидетельствует о его незамкнутом характере, поскольку
существуют связи с внешней средой при использовании исходного сырья, энергии,
выходе готовой продукции и получении различных видов отходов.
Основные характеристики ТП приведены в табл. 74 .
Анализ технологического процесса свидетельствует о его
незамкнутом характере, так как существуют связи с внешней средой при
использовании исходного сырья, энергии, при выходе готовой продукции и
получении различных отходов.
Таблица 74 -. Основные материально-энерегетические показатели
технологического процесса
|
Показатели
|
Количество
|
Единицы измерения
|
|
Сырье: Лом и отходы
Ферросплавы Добавочные материалы (известь и другие) Кислород Сжатый воздух
|
50 60 43 2,8 2,9
|
кг/год кг/год кг/год мг/м3
мг/м3
|
|
Энергетические отходы Шум
Вибрации Тепло отходящих газов-пар
Электромагнитное излучение
|
9-15 10- 16 60-80 60
|
кВ/м
кВ/м дБА кВт/час
|
|
Отходы материальные: Скрап
Угар и потери Шлак Оксид углерода Формальдегид Сточные воды:
|
900 2000 1000 2,89 0,2
5000
|
кг/год кг/год
кг/год мг/м3 мг/м3 л
|
|
Продукция: Сталь в слитках
|
18000
|
т/год
|
5.2.3
Основные требования экологизации проекта
Экологичность производственных процессов можно привести с
помощью предельно-допустимых концентраций вредных веществ и предельно
допустимый уровень (ПДУ)
Таблица 75 - Предельно допустимые концентрации вредных веществ и
предельно допустимые уровни.
|
Вещество
|
ПДК
|
|
В атмосферном воздухе:
Металлическая пыль Оксид углерода Формальдегид
|
(мг/м3) 2 20 0,5
|
|
В воде водоемов Взвешенные
вещества
|
(г/м3) 20
|
|
Шум Вибрации
Электромагнитные излучения Тепло отходящих газов
|
ПДУ
|
|
50-80 дБ 20-63 Гц 10-60кГц
0-5,5 кДж/кг
|
5.2.4 Пути экологизации производства
Соблюдение санитарно-гигиенических норм,
обеспечивающих охрану атмосферы, гидросферы от вредного воздействия
промышленности, требует систематической количественной и качественной оценки
производственных загрязнений.
Экологизация технологического процесса представляет собой
принятие мер по снижению уровня концентрации опасных и токсичных веществ и
предусматривает меры по ведению малоотходного и безотходного производства.
Таблица 76
|
Вещество
|
Выбрасываемое
|
|
|
|
|
Образующееся
|
Улавливаемое
|
|
Выбросы в атмосферу:
Металлическая пыль Оксид углерода Формальдегид
|
0,7мг/м3 12
мг/м3 0,2 мг/м3
|
2 мг/м3 20 мг/м3
0,5 мг/м3
|
1,3 мг/м3 8
мг/м3 0,3 мг/м3
|
|
Выбросы в водоемы:
Взвешенные вещества
|
12г/м3
|
20 г/м3
|
8 г/м3
|
|
Тепло отходящих газов Шум
Вибрация Электромагнитные излучения
|
3 кДж/м3 20 дБ
25 Гц 50 кГц
|
5,5кДж/м3 50 дБ
55 Гц 60 кГц
|
2,5 кДж/м3 30 дБ
20 Гц 10 кГц
|
|
|
|
|
|
Методом экологизации производства является снижение уровня
токсичных веществ в помещении цеха путем их отсоса и фильтрации.
В настоящее время для снижения запыленности помещения в цехе
используется приточная и вытяжная вентиляция, она осуществляется механически,
путем использования вентиляционных установок.
В механическом цехе при обработке металлов и сплавов
происходит загрязнение воздуха металлической пылью. Для предотвращения данного
загрязнения предлагается использовать специальную систему кондиционирования и
вентиляции на базе центрального кондиционера с утилизацией тепла вытяжного
воздуха в перекрестно-точном теплообменнике (рекуператоре). Выбор системы
обоснован тем, что обработка по вновь введенной технологии будет вестись на
современном оборудовании с ЧПУ, для оптимальной работы которой необходима
определенная температура. Кроме того, закрытая зона резания также будет
обеспечивать меньшую концентрацию металлической пыли и других вредных веществ,
так как обработка будет вестись в обрабатывающем центре.
Центральный кондиционер включает в свой состав дополнительную
секцию вытяжного вентилятора, а также систему утилизации тепла вытяжного
воздуха в перекрестно-точном теплообменнике. При этом секции самого
кондиционера и вытяжной вентиляции размещаются в два яруса. Источником
холодоснабжения центрального кондиционера служит чиллер (холодильник),
установленный на кровле.
Насосная станция, также установленная на кровле здания,
перекачивает хладоноситель по системе холодильник-теплообменник кондиционера.
Воздух поступает в выставочный зал через напольные воздухораспределители и
удаляется через потолочные плафоны по системе воздуховодов с помощью вытяжной
вентиляционной установки. Удаляемый из помещения воздух отдает свое тепло
приточному воздуху в перекрестно-точном теплообменнике (рекуператоре).
Установлена для очистки от газов электропечей, очистка
электрофильтрами и тканевыми фильтрами. Увеличение доли рукавных фильтров
связано с улучшением свойств фильтровальных материалов.
На канализационные насосы установлены фильтровальный
пакет HUBER, он выполняет очистку сточных вод, обрабатывают осадки при помощи
многослойной конструкции с угольным составом.
Наибольшая радикальная мера охраны воздушного бассейна от
загрязнений - экологизация технологических процессов и в первую очередь
создание замкнутых технологических циклов, безотходных и малоотходных
технологий, исключающих попадание в атмосферу вредных загрязняющих веществ.
Уменьшение выбросов тепла, пыли, и испарение СОЖ в атмосферу
достигается тем, что вместо большого количества универсальных станков и
устаревших моделей станков с ЧПУ будет использоваться существенно меньшее
количество современных многоцелевых обрабатывающих центров, которые существенно
сокращают количество вредных выбросов.
Технология предусматривает утилизацию твердых отходов, пыль,
улавливаемая газоочистными устройствами, затаривается в контейнеры и
отправляется потребителю.
Для защиты атмосферы от выбросов предусматривается следующее мероприятие:
замена фильтров и очистка неорганизованных выбросов в высокопроизводительных
тканевых фильтрах марки ФРИР-700.
Разработанный технологический процесс
реконструкции цеха не оказывает существенного влияния на окружающую среду.
Концентрации вредных веществ в рабочей зоне не превышает предельно допустимых
концентраций.
Рекомендуемые мероприятия позволят сделать данный
технологический процесс изготовления отливок из стали более экологичным и
ресурсосберегающим, поскольку внедрение некоторых мер по экологизации, резко
снизит объем вредных выбросов.
Заключение
В данном проекте был разработан цех стального литья производительностью
18 тонн в год. Проведен расчет технологического оборудования, стержневых и
формовочных материалов, а так же расчет шихты. По результатам проведенных
вычислений было выбрано оборудование и технологические материалы,
обеспечивающие качественный результат. Современное оборудование и технологии
позволили увеличить производительность, повысить качество, снизить затраты на
ремонт, улучшить условия труда и сократить срок окупаемости.
Кроме этого была посчитана экономическая часть проекта, а именно
проведены следующие расчеты: расчет численности рабочих, расчет заработной
платы, отчисления на социальные нужды, основных производственных фондов
(здания, сооружения, технологическое оборудование , транспортное оборудование.
Произведен расчет калькуляции себестоимости 1 тонны годных отливок и
технико-экономических показателей. Исходя из данных вычислений, можно сказать,
что проектируемый литейный цех экономически эффективен.
Так же были рассмотрены вопросы по экологии, безопасности труда и
безопасности жизнедеятельности в чрезвычайных ситуациях. В результате снижения
расхода основных материалов, минимизирования вредных выбросов, получилось
обезопасить окружающую среду от вредных факторов и сделать данный проект
экологичным. Были разработаны мероприятия по безопасности труда работающих в
проектируемом цехе, внедрить современные средства техники безопасности,
обезопасить трудящихся от влияния на них вредных факторов, что привело к
снижению травматизма и профессиональных заболеваний.
Список
использованных источников
1. ГОСТ Р
53464-2009. Отливки из металлов и сплавов. Допуски размеров, массы и припуски
на механическую обработку. Введ. 01.07.2010 М.: Изд-во стандартов, 2010. 48 с.
. Миляев
В.М., Гофман Э.Б. Проектирование литейных цехов: Учеб. Пособие. Екатеринбург:
Изд-во Урал. гос. проф.-пед. ун-та, 1994. 52 с.
. ЛГМ-групп:
бизнес-сайт [Электронный ресурс]. - Режим доступа:
http://www.lgm.com.ua/foundry_equipment.aspx. Дата обращения: 01.09.2009.
.
Методические указания по дипломному проектированию для студентов специализации
03.01.09-металлургия в машиностроении и приборостроении./ Сост. Б.С. Чуркин,
Э.Б. Гофман, А.И. Новиков и др. Свердл.: Изд-во Свердловский
инженерно-педагогический институт, 1989. Ч. I. 88 с.
. Технология
литейного производства: Виды литья: Учебник для студ. высш. учеб. Заведений /
Э.И. Гини, А.М. Зарубин, В.А. Рыбкин. М.: Академия, 2005. 352 с.
. ГОСТ
3212-92. Комплекты модельные. Уклоны формовочные, стержневые знаки, допуски
размеров. Введ. 01.07.93 М.: Изд-во стандартов, 1993. 16 с.
. Чуркин
Б.С., Категоренко Ю.И. Способы литья: учебник для вузов. Екатеринбург: Изд-во
Рос. гос. проф.-пед. ун-т, 2010. 730 с.
.
Методические указания к лабораторным работам по дисциплине "Металлургия
сплавов на основе цветных металлов"./Сост. Б.С. Чуркин, Ю.И. Категоренко,
Э.Б. Гофман. Екатеринбург: Рос. гос. проф.-пед. ун-т, 2008. 36 с.
. ГОСТ
1412-85.Сталь жаропрочная. Марки. Введ. 01.01.2003 М.: Изд-во стандартов, 2004.
8 с.
. ГОСТ
1412-85. Сплавы стали жаропрочной литейные. Технические условия. Введ. 01.01.97
М.: Изд-во стандартов, 2003. 28 с.
. Шуляк В.С.
Литьё по газифицируемым моделям. СПб., НПО Профессионал, 2007. 408 с.
. Гуреева
М.А. Экономика машиностроения: учебник. М.: Академия, 2010. 237 с.
. Федеральный
государственный стандарт начального профессионального образования по профессии
150406.01 Модельщик.
14. Стройплан.ру: портал
[Электронный ресурс]. - Режим доступа:
<http://www.stroyplan.ru/docs.php?showitem=48231>. Дата обращения:
27.06.2013.
. Информационно-справочная
онлайн система "Технорма.ру" [Электронный ресурс].
Режим доступа:
<http://tehnorma.ru/normativbase/48/48276/index.htm>. Дата обращения:
27.06.2013.
. DocMe публикация, хранение
и обмен текстовыми документам: портал [Электронный ресурс]. - Режим доступа:
<http://www.docme.ru/doc/134170/instrukcionno-tehnologicheskie-karty-po-professii--master-...>.
Дата обращения: 01.09.2009.
. СанПиН 2.2.4.548-96.
Гигиенические требования к микроклимату производственных помещений. Введ.
01.10.96 М.: Информационно-издательский центр Минздрава России, 1997. 11 с.
. ГОСТ Р 2.2.2006-2005.
Руководство. Гигиенические критерии оценки условий труда по показателям
вредности и опасности факторов производственной среды, тяжести и напряжённости
трудового процесса. Введ. 01.11.2005 М.: Изд-во стандартов, 2005. 103 с.
. ГН 2.2.5.1313-03. Предельно
допустимые концентрации (ПДК) вредных веществ в воздухе рабочей зоны. Введ.
01.01.2003 М.: Информационно-издательский центр Минздрава России, 2003. 201 с.
. ГОСТ 12.4.005-85. Система
стандартов безопасности труда. Средства индивидуальной защиты органов дыхания.
Метод определения величины сопротивления дыханию Введ. 18.12.85 М.:
Государственный комитет СССР по стандартам, 1986. 16 с.
. СНиП 23-05-95 Естественное
и искусственное освещение. Введ. 01.01.1996. Изд-во стандартов, 1996. 50 с.
. СН 2.2.4/2.1.8.566-96.
Производственная вибрация, вибрация в помещениях жилых и общественных зданий.
Введ. 31.10.96. 1997. 20 с.
. ГОСТ 12.4.011-89. Средства
защиты работающих. Введ. 01.07.90 М.: Изд-во стандартов, 1996. 7 с.
. ГОСТ 12.1.030-81 ССБТ.
Электробезопасность. Защитное зазаемление и зануление. Введ. 01.07.82 М.:
Государственный комитет СССР по стандартам, 1987. 7 с.
. ГОСТ 12.1.004-91 ССБТ.
Пожарная безопасность. Общие требования. Введ. 01.07.92 М.: Стандартинформ,
2006. 68 с.
. ГОСТ 12.0.003-74 ССБТ
Опасные и вредные производственные факторы. Введ. 01.01.76 М.: Изд-во
стандартов, 1978. 3 с.
литейный машиностроение цех плавильный
Похожие работы на - Обоснование и расчет производственных отделений литейного цеха
|